JP2016005293A - 保護部材、ワイヤーハーネス製造方法及びワイヤーハーネス - Google Patents

保護部材、ワイヤーハーネス製造方法及びワイヤーハーネス Download PDF

Info

Publication number
JP2016005293A
JP2016005293A JP2014122069A JP2014122069A JP2016005293A JP 2016005293 A JP2016005293 A JP 2016005293A JP 2014122069 A JP2014122069 A JP 2014122069A JP 2014122069 A JP2014122069 A JP 2014122069A JP 2016005293 A JP2016005293 A JP 2016005293A
Authority
JP
Japan
Prior art keywords
outer peripheral
peripheral surface
molded
inner peripheral
molding
Prior art date
Legal status (The legal status is an assumption and is not a legal conclusion. Google has not performed a legal analysis and makes no representation as to the accuracy of the status listed.)
Granted
Application number
JP2014122069A
Other languages
English (en)
Other versions
JP6149808B2 (ja
Inventor
芳正 水野
Yoshimasa Mizuno
芳正 水野
平井 宏樹
Hiroki Hirai
宏樹 平井
泰行 山本
Yasuyuki Yamamoto
泰行 山本
学 上里
Manabu Kamisato
学 上里
Current Assignee (The listed assignees may be inaccurate. Google has not performed a legal analysis and makes no representation or warranty as to the accuracy of the list.)
Sumitomo Wiring Systems Ltd
AutoNetworks Technologies Ltd
Sumitomo Electric Industries Ltd
Original Assignee
Sumitomo Wiring Systems Ltd
AutoNetworks Technologies Ltd
Sumitomo Electric Industries Ltd
Priority date (The priority date is an assumption and is not a legal conclusion. Google has not performed a legal analysis and makes no representation as to the accuracy of the date listed.)
Filing date
Publication date
Application filed by Sumitomo Wiring Systems Ltd, AutoNetworks Technologies Ltd, Sumitomo Electric Industries Ltd filed Critical Sumitomo Wiring Systems Ltd
Priority to JP2014122069A priority Critical patent/JP6149808B2/ja
Publication of JP2016005293A publication Critical patent/JP2016005293A/ja
Application granted granted Critical
Publication of JP6149808B2 publication Critical patent/JP6149808B2/ja
Expired - Fee Related legal-status Critical Current
Anticipated expiration legal-status Critical

Links

Images

Landscapes

  • Details Of Indoor Wiring (AREA)

Abstract

【課題】ワイヤーハーネスの組立て作業にかかる時間の増加及びワイヤーハーネスの組立て作業の煩雑化を抑制し、不織材料で形成される保護部材において、他部材との接触時の音の発生を抑制すること及び電線の保護性能を向上させること。
【解決手段】保護部材5は、不織材料で形成された筒状の部材であり、周方向に沿って形成され外周面51側で凸状を成し内周面52側で凹状を成す山部2と、周方向に沿い山部2よりも硬く形成され外周面51側で凹状を成し内周面52側で凸状を成す谷部3と、が長手方向において交互に連なった凹凸部1を備える。
【選択図】図1

Description

本発明は、電線を保護する技術及び保護部材を備えるワイヤーハーネスの製造方法に関する。
自動車等の車両に搭載されるワイヤーハーネスは、例えば、特許文献1に示されるように、不織布がホットプレスされることにより形成される保護部材を備えることがある。
特開2012−253866号公報
不織布がより高熱でホットプレスされた保護部材は、より硬くなり、電線の保護性能に優れる。しかしながら、この場合、他部材との接触時の音が発生しやすくなる。
そこで、ワイヤーハーネスが、音の発生を抑制する程軟らかい保護部材とコルゲートチューブとを備える構成が考えられる。この場合、中に電線が通されたコルゲートチューブの周囲を、保護部材が覆うことにより、電線の保護性能の向上及び他部材との接触時の音の発生の抑制が図られる。
しかしながら、上記の場合、ワイヤーハーネスを構成する部品点数が増加する。そのため、ワイヤーハーネスの組立て作業にかかる時間の増加及びワイヤーハーネスの組立て作業の煩雑化が懸念される。
本発明は、ワイヤーハーネスの組立て作業にかかる時間の増加及びワイヤーハーネスの組立て作業の煩雑化を抑制し、不織材料で形成される保護部材において、他部材との接触時の音の発生を抑制すること及び電線の保護性能を向上させることを目的とする。
第1態様に係る保護部材は、不織材料で形成された筒状の部材であり、周方向に沿って形成され外周面側で凸状を成し内周面側で凹状を成す山部と、前記周方向に沿い前記山部よりも硬く形成され前記外周面側で凹状を成し前記内周面側で凸状を成す谷部と、が長手方向において交互に連なった凹凸部を備える。
第2態様に係る保護部材は、第1態様に係る保護部材の一態様である。第2態様に係る保護部材においては、前記凹凸部の前記谷部は、前記周方向において分割された第一谷部と第二谷部とを含み、前記周方向において、前記第一谷部の一端部と前記第二谷部の一端部とを繋ぎ前記第一谷部及び前記第二谷部よりも柔らかく形成された連結部をさらに備える。
第3態様に係るワイヤーハーネス製造方法は、不織材料で形成された筒状の部材であり、周方向に沿って形成され外周面側で凸状を成し内周面側で凹状を成す山部と、前記周方向に沿い前記山部よりも硬く形成され前記外周面側で凹状を成し前記内周面側で凸状を成し前記周方向において分割された第一谷部と第二谷部とを含む谷部と、が長手方向において交互に連なった凹凸部と、前記第一谷部の前記周方向の一端部と前記第二谷部の前記周方向の一端部とを繋ぎ前記第一谷部及び前記第二谷部よりも柔らかく形成された連結部と、を備える保護部材と、少なくとも1本の電線と、を備えるワイヤーハーネス製造方法であって、前記凹凸部の前記第一谷部を含む部分の前記内周面側の形状に応じた第一内周成形部と、前記凹凸部の前記第二谷部を含む部分の前記内周面側の形状に応じた第二内周成形部と、前記凹凸部の前記第一谷部を含む部分の前記外周面側の形状に応じた第一外周成形部と、前記凹凸部の前記第二谷部を含む部分の前記外周面側の形状に応じた第二外周成形部と、を含む金型を用い、前記第一内周成形部と前記第一外周成形部との間にシート状の不織部材が介在した状態で、前記第一内周成形部と前記第一外周成形部とを接近させ、前記不織部材のうち前記第一内周成形部と前記第一外周成形部とに挟まれる第一加工対象部分を、前記凹凸部の一部に応じた形状に成形する第一プレス工程と、前記第二内周成形部と前記第二外周成形部との間に前記不織部材が介在した状態で、前記第二内周成形部と前記第二外周成形部とを接近させ、前記不織部材のうち前記第二内周成形部と前記第二外周成形部とに挟まれ前記第一加工対象部分の隣に第三加工対象部分を介して並ぶ第二加工対象部分を、前記凹凸部の残りの部分に応じた形状に成形する第二プレス工程と、前記第一プレス工程及び前記第二プレス工程の後に行われ、前記第一加工対象部分又は前記第二加工対象部分の内側に前記電線を配設した状態で、前記第一加工対象部分と前記第二加工対象部分との間の部分である前記第三加工対象部分を中心に曲げることにより、前記不織部材を筒状に形成する曲げ工程と、を含む。
第4態様に係るワイヤーハーネス製造方法は、第3態様に係るワイヤーハーネス製造方法の一態様である。第4態様に係るワイヤーハーネス製造方法においては、前記金型は、前記第一内周成形部と前記第二内周成形部との間に設けられ前記連結部の成形用の第三内周成形部と、前記第一外周成形部と前記第二外周成形部との間に設けられ前記連結部の成形用の第三外周成形部と、を含み、前記曲げ工程の前に行われ、前記第三内周成形部と前記第三外周成形部との間に前記不織部材が介在した状態で、前記第三内周成形部と前記第三外周成形部とを接近させ、前記第三加工対象部分にプレス加工を行う第三プレス工程を含む。
上記の各態様において、周方向に沿って形成され外周面側で凸状を成し内周面側で凹状を成す山部と、前記周方向に沿い前記山部よりも硬く形成され前記外周面側で凹状を成し前記内周面側で凸状を成す谷部と、が長手方向において交互に連なった凹凸部を備える。この場合、比較的軟らかい凸状の山部が、他部材との接触時の音の発生を抑制する。また、比較的硬い凹状の谷部により、電線の保護性能の向上が図れる。即ち、上記の各態様においては、優れた電線の保護性能を得ること及び他部材との接触時の音の発生を抑制することができる。また、上記の各態様において、1つの保護部材により、優れた電線の保護性能を得ること及び他部材との接触時の音の発生を抑制することができるため、ワイヤーハーネスを構成する部品点数の増加を抑制できる。その結果、ワイヤーハーネスの組立て作業にかかる時間の増加及びワイヤーハーネスの組立て作業の煩雑化を抑制できる。
また、上記の第2態様において、凹凸部の谷部は、周方向において分割された第一谷部と第二谷部とを含む。そして、保護部材が、周方向において、第一谷部の一端部と第二谷部の一端部とを繋ぎ第一谷部及び第二谷部よりも柔らかく形成された連結部をさらに備える。この場合、保護部材の周方向において、第一谷部と第二谷部との間に、比較的軟らかい部分を設けることにより、不織材料を含むシート状の不織部材を筒状に曲げる作業を容易に行うことが可能となる。
また、上記の第3態様において、ワイヤーハーネス製造方法は、第一プレス工程、第二プレス工程及び曲げ工程を含む。第一プレス工程において、第一内周成形部と第一外周成形部との間にシート状の不織部材が介在した状態で、第一内周成形部と第一外周成形部とを接近させ、不織部材のうち第一内周成形部と第一外周成形部とに挟まれる第一加工対象部分が、凹凸部の一部に応じた形状に成形される。また、第二プレス工程において、第二内周成形部と第二外周成形部との間に不織部材が介在した状態で、第二内周成形部と第二外周成形部とを接近させ、不織部材のうち第二内周成形部と第二外周成形部とに挟まれ第一加工対象部分の隣に第三加工対象部分を介して並ぶ第二加工対象部分が、凹凸部の残りの部分に応じた形状に成形される。また、曲げ工程は、第一プレス工程及び第二プレス工程の後に行われる。曲げ工程において、第一加工対象部分又は第二加工対象部分の内側に電線を配設した状態で、第一加工対象部分と第二加工対象部分との間の部分である第三加工対象部分を中心に曲げることにより、不織部材が筒状に形成される。この場合、不織材料を含むシート状の不織部材で形成される保護部材と少なくとも1本の電線とを含むワイヤーハーネスを簡易に作ることができる。
また、上記の第4態様において、ワイヤーハーネス製造方法は、曲げ工程の前に行われ、第三内周成形部と第三外周成形部との間に不織部材が介在した状態で、第三内周成形部と第三外周成形部とを接近させ、第三加工対象部分にプレス加工を行う第三プレス工程を含む。この場合、筒状の保護部材における連結部の強度がより向上する。
保護部材の斜視図である。 保護部材の断面図である。 第1実施形態のワイヤーハーネス製造方法に用いられる金型の斜視図である。 金型の断面図である。 金型の断面図である。 金型の正面図である。 不織部材の正面図である。 第2実施形態のワイヤーハーネス製造方法に用いられる金型の断面図である。 第3実施形態のワイヤーハーネス製造方法に用いられる金型の正面図である。
以下、添付の図面を参照しながら、実施形態について説明する。以下の実施形態は、本発明を具現化した一例であり、本発明の技術的範囲を限定する事例ではない。
<第1実施形態>
図1,2を参照しつつ、第1実施形態の保護部材5について説明する。図1は、保護部材5の斜視図である。図2は、保護部材5の断面図である。
本実施形態において、保護部材5は、不織材料で形成された筒状の部材である。保護部材5は、その中空部50に電線9が通される。電線9及び保護部材5を備えるワイヤーハーネス100は、例えば、自動車等の車両に搭載される。
図1では、保護部材5が、複数の電線9の周囲を覆い保護する様子が示されている。なお、保護部材5が1本の電線9を保護する場合も考えられる。また、図1において、電線9は、仮想線で描かれている。
保護部材5は、山部2と山部2よりも硬く形成された谷部3とが保護部材5の長手方向において交互に連なった凹凸部1を備える。また、本実施形態において、保護部材5は、さらに連結部4を備えている。また、本実施形態では、保護部材5には、長手方向に沿うスリットを閉じた合わせ部6も形成されている。
<保護部材:谷部>
谷部3は、保護部材5の周方向に沿って形成されている。谷部3は、外周面51側で凹状を成し内周面52側で凸状を成す部分である。
即ち、保護部材5の外周面51側において、谷部3は、保護部材5の周方向に沿う溝を形成している。また、保護部材5の内周面52側において、谷部3は、保護部材5の周方向に沿う凸状の部分を形成している。
また、図2に示すように、本実施形態は、長手方向における谷部3の寸法、即ち、谷部3の幅は、保護部材5の内周面52側ほど小さくなっている場合の事例である。以下、谷部3における最も内周面52側の部分を最内周部39と称する。また、最内周部39に長手方向において連なる部分を立ち上がり部230と称する。
本実施形態において、最内周部39と立ち上がり部230とは、角度を成して連なっている。なお、最内周部39と立ち上がり部230とが、角度を成さず湾曲しつつ連なっている場合も考えられる。本実施形態において、谷部3における最内周部39は、山部2よりも硬く形成されている。
また、本実施形態において、立ち上がり部230は、最内周部39と後述する山部2の最外周部29とを繋ぐ部分である。
また、本実施形態において、谷部3は、周方向において分断された第一谷部31と第二谷部32とを含んでいる。
本実施形態では、第一谷部31は、保護部材5の周方向における半分の領域、即ち、保護部材5の半周程度に亘って形成されている。
また、第二谷部32は、保護部材5の周方向において、第一谷部31に対する残りの領域に形成されている。本実施形態においては、第二谷部32も保護部材5の半周程度に亘って形成されている。
第一谷部31と第二谷部32とは、連結部4によって連結されている。図1,2に示されるように、本実施形態では、第一谷部31の一端部と第二谷部32の一端部とが連結部4により連結されている。一方、本実施形態において、第一谷部31の他端部と第二谷部32の他端部との間には、合わせ部6が形成されている。
<保護部材:山部>
山部2は、筒状の保護部材5の周方向に沿って形成された部分である。本実施形態においては、谷部3と同様、山部2は、周方向において、連結部4及び合わせ部6によって離れて形成された第一山部21と第二山部22とを含んでいる。即ち、本実施形態において、山部2は、それぞれ保護部材5の半周程度の領域に形成された第一山部21と第二山部22とを含んでいる。
山部2は、保護部材5の外周面51側で凸状を成し内周面52側で凹状を成す部分である。即ち、保護部材5の内周面52側において、山部2は、保護部材5の周方向に沿う溝を形成している。また、保護部材5の外周面51側において、山部2は、保護部材5の周方向に沿う凸状の部分を形成している。
また、本実施形態において、長手方向における山部2の寸法、即ち、山部2の幅は、保護部材5の外周面51側ほど小さくなっている。以下、山部2における最も外周面51側の部分を最外周部29と称する。
本実施形態において、最外周部29と立ち上がり部230とは、角度を成して連なっている。なお、最外周部29と立ち上がり部230とが、角度を成さず湾曲しつつ連なっている場合も考えられる。
山部2の最外周部29は、谷部3よりも軟らかく形成されている部分である。本実施形態において、山部2の最外周部29は、谷部3の最内周部39よりも軟らかく形成されている。
即ち、本実施形態においては、山部2の最外周部29と谷部3の最内周部39とを繋ぐ立ち上がり部230のうち保護部材5の径方向(内周面52側から外周面51側に向かう方向)において山部2の最外周部29と谷部3の最内周部39との間の中間位置よりも外周面51側の部分と最外周部29とを含む部分が、比較的軟らかく形成されている。本実施形態においては、最外周部29が比較的軟らかく形成されていることにより、保護部材5と他部材との接触時に発生する音が抑制される。
また、谷部3の最内周部39と上記中間位置よりも内周面52側の部分とが比較的硬く形成されている。これにより、保護部材5の中空部50に通された電線9は、保護部材5のうち比較的硬い部分により保護される。
<保護部材:連結部>
連結部4は、保護部材5の周方向において、第一谷部31の一端部と第二谷部32の一端部とを繋いでいる。また、本実施形態において、連結部4は、保護部材5の周方向において、第一山部21の一端部と第二山部22の一端部とも繋いでいる。
本実施形態において、連結部4は、保護部材5の長手方向に沿って形成されており、保護部材5の全長に亘って形成されている。
また、連結部4は、第一谷部31及び第二谷部32よりも軟らかく形成されている部分である。例えば、連結部4は、山部2と同じ或いは山部2よりも軟らかく形成されている部分であることが考えられる。
また、本実施形態において、連結部4は、保護部材5の外周面51側に張り出して折り返されて形成されている。例えば、図1に示すように、連結部4が、折り返されて重なった部分を含む場合が考えられる。
<保護部材:合わせ部>
本実施形態において、合わせ部6は、保護部材5の長手方向に沿って形成されている。合わせ部6は、第一谷部31と第二谷部32とを分離させるスリットの接合部である。また、合わせ部6は、第一山部21と第二山部22とを分離させるスリットの接合部でもある。
例えば、上記スリットから電線9が、保護部材5の中空部50に挿通される。そして、電線9が保護部材5の中空部50に挿通された状態で、スリットが接合されることにより合わせ部6が形成される。
保護部材5の不織材料は、例えば、絡み合う基本繊維とバインダと称される接着樹脂とを含む。接着樹脂は、基本繊維の融点よりも低い融点(例えば、約110度から約150度の融点)を有する熱可塑性樹脂である。このような不織材料は、基本繊維の融点よりも低く、かつ、接着樹脂の融点よりも高い温度に加熱されることにより、接着樹脂が溶融して基本繊維の隙間に溶け込む。その後、不織材料の温度が、接着樹脂の融点よりも低い温度まで下がると、接着樹脂は、周囲に存在する基本繊維を結合した状態で硬化する。これにより、不織材料は、加熱前の状態よりも硬くなり、加熱後の冷却時に型枠によって規定された形状に成形される。
接着樹脂は、例えば、粒状の樹脂又は繊維状の樹脂などである。また、接着樹脂は、芯繊維の周囲を覆うように形成されることも考えられる。このように、芯繊維が接着樹脂で被覆された構造を有する繊維は、バインダ繊維などと称される。芯繊維の材料は、例えば、基本繊維と同じ材料が採用される。
また、基本繊維は、接着樹脂の融点において繊維状態が維持されればよく、樹脂繊維の他、各種の繊維が採用され得る。また、接着樹脂は、例えば、基本繊維の融点よりも低い融点を有する熱可塑性樹脂繊維が採用される。
保護部材5に含まれる不織材料としては、ウレタン系樹脂、PVC(ポリ塩化ビニル)又はPET(ポリエチレンテレフタレート)などの熱可塑性樹脂が考えられる。不織材料を構成する基本繊維と接着樹脂との組合せとしては、例えば、PET(ポリエチレンテレフタレート)を主成分とする樹脂繊維が基本繊維として採用され、PET及びPEI(ポリエチレンイソフタレート)の共重合樹脂が接着樹脂として採用されることが考えられる。そのような不織材料において、基本繊維の融点は概ね250度であり、接着樹脂の融点は約110度から約150度の間の温度である。
<ワイヤーハーネス製造方法>
次に、図3〜7を参照しつつ、本実施形態に係るワイヤーハーネス製造方法について説明する。ワイヤーハーネス製造方法は、不織材料で形成された筒状の部材であり、周方向に沿って形成され外周面51側で凸状を成し内周面52側で凹状を成す山部2と、周方向に沿い山部2よりも硬く形成され外周面51側で凹状を成し内周面52側で凸状を成し周方向において分割された第一谷部31と第二谷部32とを含む谷部3と、が長手方向において交互に連なった凹凸部1と、第一谷部31の周方向の一端部と第二谷部32の周方向の一端部とを繋ぎ第一谷部31及び第二谷部32よりも柔らかく形成された連結部4と、を備える保護部材5と、少なくとも1本の電線9と、を備えるワイヤーハーネス100の製造方法である。
ワイヤーハーネス製造方法は、第一プレス工程、第二プレス工程及び曲げ工程を含む。また、本実施形態では、ワイヤーハーネス製造方法は、さらに第三プレス工程も含んでいる。
<ワイヤーハーネス製造方法:不織部材>
本実施形態においては、不織材料を含むシート状の不織部材5Zに対し、上記の第一プレス工程、第二プレス工程、曲げ工程及び第三プレス工程が行われることにより、保護部材5が得られる。
不織部材5Zは、第一加工対象部分51Z、第二加工対象部分52Z及び第三加工対象部分53Zを有する。
第一加工対象部分51Zは、不織部材5Zのうち後述する第一内周成形部711と第一外周成形部721とに挟まれる部分である。
第二加工対象部分52Zは、不織部材5Zのうち後述する第二内周成形部712と第二外周成形部722とに挟まれる部分である。
第三加工対象部分53Zは、第一加工対象部分51Zと第二加工対象部分52Zとの間の部分である。第三加工対象部分53Zは、不織部材5Zのうち後述する第三内周成形部713と第三外周成形部723とに挟まれる部分でもある。
なお、第二加工対象部分52Zは、第一加工対象部分51Zの隣に第三加工対象部分53Zを介して並んでいる。
本実施形態において、第一加工対象部分51Z、第三加工対象部分53Z及び第二加工対象部分52Zがその順番で並ぶ方向を不織部材5Zの横方向と称する。第一加工対象部分51Z、第二加工対象部分52Z及び第三加工対象部分53Zは、シート状の不織部材5Zの長手方向に沿って形成されている。なお、不織部材5Zの長手方向は、上記横方向に直交する方向を意味する。
<ワイヤーハーネス製造方法:金型>
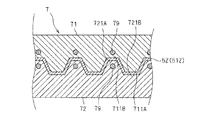
また、本実施形態のワイヤーハーネス製造方法においては、例えば、図3〜6に示されるような金型7が用いられる。図3は、金型7の斜視図である。図4,5は、金型7の断面図である。図6は、金型7の正面図である。
本実施形態において、金型7は、上金型71と下金型72とを含む。上金型71には、第一内周成形部711及び第二内周成形部712が形成されている。本実施形態では、上金型71には、さらに、第三内周成形部713が形成されている。また、下金型72には、第一外周成形部721及び第二外周成形部722が形成されている。本実施形態では、下金型72には、さらに、第三外周成形部723が形成されている。
本実施形態のワイヤーハーネス製造方法において、上金型71及び下金型72は、それぞれが有する第一内周成形部711、第二内周成形部712及び第三内周成形部713と第一外周成形部721、第二外周成形部722及び第三外周成形部723とが対向した状態でセットされる。そして、上金型71及び下金型72は、それぞれが有する第一内周成形部711、第二内周成形部712及び第三内周成形部713と第一外周成形部721、第二外周成形部722及び第三外周成形部723とが対向した状態で、一方を他方に接近させることが可能な支持機構によって支持されている。なお、図3〜6において、支持機構は、省略されている。
第一内周成形部711は、保護部材5の凹凸部1の第一谷部31を含む部分の内周面52側の形状に対応する部分である。
本実施形態において、保護部材5の第一谷部31を含む部分の内周面52側の形状は、内周面52側において凸状を成す第一谷部31と内周面52側において凹状を成す第一山部21とが交互に並ぶ形状である。
第一谷部31は、保護部材5の内周面52側において、保護部材5における半周程度の領域に形成された先端側に向かうにつれ徐々に幅が狭くなる凸状の部分を形成している。また、第一山部21は、保護部材5の内周面52側において、保護部材5の周方向に沿い保護部材5における半周程度の領域に形成された溝を形成している。この溝部は、底に向かうにつれ徐々に幅が狭くなるように形成されている。
従って、本実施形態において、第一内周成形部711は、一方向に沿って交互に並んで形成され底に向かうにつれ徐々に幅が狭くなるように形成された凹部711B及び先端側に向かうにつれ徐々に幅が狭くなるように形成された凸部711Aを有する。なお、この凹部711Bと凸部711Aとが、交互に並ぶ方向を、以下、第一方向Xと称する。
第二内周成形部712は、凹凸部1の第二谷部32を含む部分の内周面52側の形状に対応する部分である。本実施形態では、第一谷部31及び第二谷部32が、それぞれ保護部材5の半周程度の領域に形成されている。そのため、保護部材5の第二谷部32を含む部分の内周面52側の形状は、保護部材5の第一谷部31を含む部分の内周面52側の形状と同じ形状である。従って、第二内周成形部712は、第一内周成形部711と同様の形状を有する。即ち、第二内周成形部712は、第一方向Xに沿って交互に並んで形成された底に向かうにつれ徐々に幅が狭くなるように形成された凹部712B及び先端側に向かうにつれ徐々に幅が狭くなるように形成された凸部712Aを有する。
第一外周成形部721は、保護部材5の凹凸部1の第一谷部31を含む部分の外周面51側の形状に対応する部分である。
本実施形態において、保護部材5の第一谷部31を含む部分の外周面51側の形状は、外周面51側において凹状を成す第一谷部31と外周面51側において凸状を成す第一山部21とが交互に並ぶ形状である。第一谷部31は、保護部材5の外周面51側において、保護部材5の周方向に沿い保護部材5における半周程度の領域に形成された溝を形成している。この溝は、底に向かうにつれ徐々に幅が狭くなるように形成されている。また、第一山部21は、保護部材5の外周面51側において、保護部材5における半周程度の領域に形成された先端側に向かうにつれ徐々に幅が狭くなる凸状の部分を形成している。
従って、本実施形態において、第一外周成形部721は、先端側に向かうにつれ徐々に幅が狭くなるように形成された凸部721Aと、底に向かうにつれ徐々に幅が狭くなるように形成された凹部721Bと、が第一方向Xに沿って交互に並んで形成された構造を有する。
第二外周成形部722は、凹凸部1の第二谷部32を含む部分の外周面51側の形状に対応する部分である。本実施形態では、第一谷部31及び第二谷部32が、それぞれ保護部材5の半周程度の領域に形成されている。そのため、保護部材5の第二谷部32を含む部分の外周面51側の形状は、保護部材5の第一谷部31を含む部分の外周面51側の形状と同じ形状である。従って、第二外周成形部722は、第一外周成形部721と同様の形状を有する。即ち、第二外周成形部722は、第一方向Xに沿って交互に並んで形成された先端側に向かうにつれ徐々に幅が狭くなるように形成された凸部722A及び底に向かうにつれ徐々に幅が狭くなるように形成された凹部722Bを有する。
第一内周成形部711の凸部711Aは、第一外周成形部721の凹部721Bに挿入可能である。上金型71と下金型72とが最接近した状態において、第一内周成形部711の凸部711Aは、第一外周成形部721の凹部721Bに間隔を空けて対向する。
また、第一内周成形部711の凹部711Bには、第一外周成形部721の凸部721Aが挿入される。上金型71と下金型72とが最接近した状態において、第一内周成形部711の凹部711Bは、第一外周成形部721の凸部721Aに間隔を空けて対向する。
不織部材5Zは、第一内周成形部711の凸部711Aと第一外周成形部721の凹部721Bとの間の隙間及び第一内周成形部711の凹部711Bと第一外周成形部721の凸部721Aとの間の隙間の形状に応じた形状に成形される。本実施形態において、その形状は、保護部材5の第一山部21及び第一谷部31の形状に相当する。
また、上記と同様に第二内周成形部712の凸部712Aは、第二外周成形部722の凹部722Bに挿入可能である。上金型71と下金型72とが最接近した状態において、第二内周成形部712の凸部712Aは、第二外周成形部722の凹部722Bに間隔を空けて対向する。
また、第二内周成形部712の凹部712Bには、第二外周成形部722の凸部722Aが挿入される。上金型71と下金型72とが最接近した状態において、第二内周成形部712の凹部712Bは、第二外周成形部722の凸部722Aに間隔を空けて対向する。
不織部材5Zは、第二内周成形部712の凸部712Aと第二外周成形部722の凹部722Bとの間の隙間及び第二内周成形部712の凹部712Bと第二外周成形部722の凸部722Aとの間の隙間の形状に応じた形状に成形される。本実施形態において、その形状は、保護部材5の第二山部22及び第二谷部32の形状に相当する。
即ち、第一内周成形部711の凸部711A及び第二内周成形部712の凸部712Aの先端に形成された面は、第二方向Yに沿って湾曲する弧状の湾曲面を成す。また、第一内周成形部711の凹部711B及び第二内周成形部712の凹部712Bの底面も、第二方向Yに沿って湾曲する弧状の湾曲面を成す。第一外周成形部721及び第二外周成形部722も同様である。なお、第二方向Yは、上金型71と下金型72とが対向する方向と第一方向Xとに直交する方向である。
なお、第一内周成形部711の凸部711A及び第二内周成形部712の凸部712Aの先端に形成された面と第一内周成形部711の凹部711B及び第二内周成形部712の凹部712Bの底面とが、湾曲面を成さない場合も考えられる。例えば、第二方向Yに沿って角度を成して連なる複数の平坦な面が、第一内周成形部711の凸部711A及び第二内周成形部712の凸部712Aの先端に形成された面と第一内周成形部711の凹部711B及び第二内周成形部712の凹部712Bの底面とを成す場合等が考えられる。
また、本実施形態では、図4,5に示されるように、第一内周成形部711の凹部711B及び第一外周成形部721の凸部721Aには、ヒーター79が内蔵されている。図4,5では、ヒーター79は、凸部721Aの先端側及び凹部711Bの底面側に内蔵されている。なお、第一内周成形部711の凸部711A及び第一外周成形部721の凹部721Bには、ヒーター79が内蔵されていない。
ヒーター79は、第一内周成形部711の凹部711Bと第一外周成形部721の凸部721Aとの間の隙間に存在する不織部材5Zを加熱するための構成の一例である。不織部材5Zにおける第一内周成形部711の凹部711Bと第一外周成形部721の凸部721Aとの間の隙間に存在する部分は、ヒーター79により、熱せられて圧縮が行われる。この場合、不織部材5Zにおける第一内周成形部711の凹部711Bと第一外周成形部721の凸部721Aとの間の隙間に存在する部分は、不織部材5Zにおける第一内周成形部711の凸部711Aと第一外周成形部721の凹部721Bとの間の隙間に存在する部分よりも硬く形成される。不織部材5Zにおける第一内周成形部711の凸部711Aと第一外周成形部721の凹部721Bとの間の隙間に存在する部分は、保護部材5における第一山部21を形成する。また、不織部材5Zにおける第一内周成形部711の凹部711Bと第一外周成形部721の凸部721Aとの間の隙間に存在する部分は、保護部材5における第一谷部31を形成する。
なお、ヒーター79は、第二内周成形部712の凹部712B及び第二外周成形部722の凸部722Aにも内蔵されている。
第三内周成形部713は、第一内周成形部711と第二内周成形部712との間に設けられた部分である。また、第三外周成形部723は、第一外周成形部721と第二外周成形部722との間に設けられた部分である。第三内周成形部713及び第三外周成形部723は、保護部材5の連結部4の成形用の部分である。
より具体的には、第三内周成形部713は、第二方向Yにおいて、第一内周成形部711と第二内周成形部712との間に設けられた部分である。また、第三外周成形部723は、第二方向Yにおいて、第一外周成形部721と第二外周成形部722との間に設けられた部分である。
本実施形態において、第三内周成形部713及び第三外周成形部723には、相互に対向する平坦な面が形成されている。
例えば、上金型71と下金型72とが最接近した状態において、この平坦な面間の間隔が、第一内周成形部711の凹部711Bと第一外周成形部721の凸部721Aとの間の間隔よりも大きくなるように、第三内周成形部713及び第三外周成形部723が形成されている場合が考えられる。この場合、不織部材5Zのうち第三内周成形部713及び第三外周成形部723に挟まれる部分は、不織部材5Zにおける第一内周成形部711の凹部711Bと第一外周成形部721の凸部721Aとの間の隙間に存在する部分よりも弱い力で圧縮される。
<ワイヤーハーネス製造方法:第一プレス工程>
図4,5に示されるように、第一プレス工程においては、第一内周成形部711と第一外周成形部721との間に不織材料を含むシート状の不織部材5Zが介在した状態で、第一内周成形部711と第一外周成形部721とが接近させられる。これにより、不織部材5Zのうち第一内周成形部711と第一外周成形部721とに挟まれる第一加工対象部分51Zが、凹凸部1の一部に応じた形状に成形される。
本実施形態においては、下金型72に対し上金型71が近付けられる。そして、上金型71と下金型72とが最接近した状態において、不織部材5Zの第一加工対象部分51Zのうち第一内周成形部711の凸部711Aと第一外周成形部721の凹部721Bとの間の隙間に存在する部分が、保護部材5における第一山部21の形状に形成される。また、不織部材5Zの第一加工対象部分51Zのうち第一内周成形部711の凹部711Bと第一外周成形部721の凸部721Aとの間の隙間に存在する部分が、保護部材5における第一谷部31の形状に形成される。
また、シート状の不織部材5Zが、上金型71と下金型72とに挟まれることにより、湾曲した形状に成形される。例えば、第一プレス工程では、シート状の不織部材5Zは、上金型71と下金型72とに挟まれることにより、断面が弧状(半環状)に成形される。
また、第一内周成形部711の凹部711B及び第一外周成形部721の凸部721Aに内蔵されたヒーター79により、不織部材5Zの第一加工対象部分51Zのうち第一内周成形部711の凹部711Bと第一外周成形部721の凸部721Aとの間の隙間に存在する部分が、保護部材5における第一谷部31の形状に形成されると共に、不織部材5Zの第一加工対象部分51Zのうち第一内周成形部711の凸部711Aと第一外周成形部721の凹部721Bとの間の隙間に存在する部分よりも硬く形成される。
即ち、本実施形態において、第一プレス工程は、不織部材5Zの第一加工対象部分51Zを、第二方向Yに沿う断面が弧状(半環状)で、かつ、凹凸部1の第一山部21及び第一谷部31に応じた形状に成形する工程である。
<ワイヤーハーネス製造方法:第二プレス工程>
図4,5に示されるように、第二プレス工程においては、第二内周成形部712と第二外周成形部722との間に不織材料を含むシート状の不織部材5Zが介在した状態で、第二内周成形部712と第二外周成形部722とが接近させられる。これにより、不織部材5Zのうち第二内周成形部712と第二外周成形部722とに挟まれ第一加工対象部分51Zの隣に第三加工対象部分53Zを介して並ぶ第二加工対象部分52Zが、凹凸部1の残りの部分に応じた形状に成形される。なお、凹凸部1の残りの部分とは、第一プレス工程における凹凸部1の一部に対する凹凸部1の残りの部分を意味する。
本実施形態では、上金型71と下金型72とが最接近した状態において、不織部材5Zの第二加工対象部分52Zのうち第二内周成形部712の凸部712Aと第二外周成形部722の凹部722Bとの間の隙間に存在する部分が、保護部材5における第二山部22の形状に形成される。また、不織部材5Zの第二加工対象部分52Zのうち第二内周成形部712の凹部712Bと第二外周成形部722の凸部722Aとの間の隙間に存在する部分が、保護部材5における第二谷部32の形状に形成される。
また、第一プレス工程と同様、シート状の不織部材5Zが、上金型71と下金型72とに挟まれることにより、湾曲した形状に成形される。
また、本実施形態では、第一内周成形部711及び第一外周成形部721と同様、第二内周成形部712の凹部712B及び第二外周成形部722の凸部722Aにもヒーター79が内蔵されている。これにより、不織部材5Zの第二加工対象部分52Zのうち第二内周成形部712の凹部712Bと第二外周成形部722の凸部722Aとの間の隙間に存在する部分が、保護部材5における第二谷部32の形状に形成されると共に、不織部材5Zの第二加工対象部分52Zのうち第二内周成形部712の凸部712Aと第二外周成形部722の凹部722Bとの間の隙間に存在する部分よりも硬く形成される。
即ち、本実施形態において、第二プレス工程は、不織部材5Zの第二加工対象部分52Zを、第二方向Yに沿う断面が弧状(半環状)で、且つ、凹凸部1の第二山部22及び第二谷部32に対応する形状に成形する工程である。
<ワイヤーハーネス製造方法:第三プレス工程>
図6に示されるように、第三プレス工程においては、第三内周成形部713と第三外周成形部723との間に不織部材5Zが介在した状態で、第三内周成形部713と第三外周成形部723とが接近させられ、第三加工対象部分53Zにプレス加工が行われる。
本実施形態では、上金型71と下金型72とが最接近した状態において、不織部材5Zの第三加工対象部分53Zが、折り返される前の連結部4の形状に成形される。
本実施形態においては、上金型71と下金型72とが最接近した状態において、第三内周成形部713及び第三外周成形部723に形成された平坦な面の間隔が、第一内周成形部711の凹部711Bと第一外周成形部721の凸部721Aとの間の間隔よりも大きくなるように設計されている。この場合、例えば、不織部材5Zのうち第三内周成形部713及び第三外周成形部723に挟まれる部分は、不織部材5Zにおける第一内周成形部711の凹部711Bと第一外周成形部721の凸部721Aとの間の隙間に存在する部分よりも弱い力で圧縮される。即ち、第三加工対象部分53Zは、第一加工対象部分51Zにおける第一内周成形部711の凹部711Bと第一外周成形部721の凸部721Aとの間の隙間に存在する部分よりも軟らかく形成される。これにより、次の曲げ工程を容易に行うことが可能となる。
また、本実施形態において、第一プレス工程、第二プレス工程及び第三プレス工程は、同時に行われる。金型7が、第一内周成形部711、第二内周成形部712及び第三内周成形部713が形成された上金型71と、第一外周成形部721、第二外周成形部722及び第三外周成形部723が形成された下金型72と、を含むためである。従って、本実施形態のワイヤーハーネス製造方法においては、第一プレス工程、第二プレス工程及び第三プレス工程が同時に行われ、その後に曲げ工程が行われる。即ち、第三プレス工程は、後述の曲げ工程の前に行われる。なお、第三加工対象部分53Zに対する第三プレス工程が行われない場合も考えられる。
<ワイヤーハーネス製造方法:曲げ工程>
曲げ工程は、第一プレス工程及び第二プレス工程の後に行われる。本実施形態において、曲げ工程は、同時に行われる第一プレス工程、第二プレス工程及び第三プレス工程の後に行われる。
曲げ工程においては、図7に示されるように、第一加工対象部分51Z又は第二加工対象部分52Zの内側に電線9を配設した状態で、第一加工対象部分51Zと第二加工対象部分52Zとの間の部分である第三加工対象部分53Zを中心に曲げることにより、不織部材5Zを筒状に形成する工程である。
本実施形態において、曲げ工程の開始時には、既に、第一加工対象部分51Z及び第二加工対象部分52Zは、断面が弧状(半環状)に形成されている。本実施形態では、3本の電線9が第一加工対象部分51Zの凹状の面側に配設された状態で、第一加工対象部分51Zの凹状の面に第二加工対象部分52Zの凹状の面が対向するように、不織部材5Zが第三加工対象部分53Zを中心に曲げられる。なお、本実施形態においては、比較的軟らかい第三加工対象部分53Zにより、容易に不織部材5Zを、第三加工対象部分53Zを中心に曲げることが可能となる。
本実施形態においては、不織部材5Zが筒状に曲げられることにより、第一加工対象部分51Zにおける第三加工対象部分53Z側に対し反対側の縁部と第二加工対象部分52Zにおける第三加工対象部分53Z側に対し反対側の縁部との間には、スリットが形成される。
そして、本実施形態においては、上記のスリットを塞ぐように超音波溶接或いは熱溶接等が行われる。これにより、第一加工対象部分51Zにおける第三加工対象部分53Z側に対し反対側の縁部と第二加工対象部分52Zにおける第三加工対象部分53Z側に対し反対側の縁部とが溶着して接合された合わせ部6が形成される。これにより、電線9を覆った状態の保護部材5を得ることができる。
また、本実施形態では、保護部材5における連結部4は、保護部材5の外周面51側に張り出して折り返されて形成されている。例えば、保護部材5の中空部50に通される電線9と保護部材5の内径とを合わせるために、連結部4が折り返されて形成されていることが考えられる。この場合、電線9が通された保護部材5の中空部50における隙間を小さくすることができる。これにより、保護部材5をより小型化できる。しかしながら、連結部4が折り返されていない場合も考えられる。例えば、保護部材5の中空部50に挿通される電線9の数が多い場合又は電線9が太い場合が考えられる。この場合、連結部4は、折り返されず、例えば、保護部材5の断面が真円状であることが考えられる。
<効果>
本実施形態において、周方向に沿って形成され外周面51側で凸状を成し内周面52側で凹状を成す山部2と、周方向に沿い山部2よりも硬く形成され外周面51側で凹状を成し内周面52側で凸状を成す谷部3と、が長手方向において交互に連なった凹凸部1を備える。この場合、比較的軟らかい凸状の山部2が、他部材との接触時の音の発生を抑制する。また、比較的硬い凹状の谷部3により、電線9の保護性能の向上が図れる。即ち、本実施形態においては、優れた保護性能を得ること及び他部材との接触時の音の発生を抑制することができる。また、本実施形態において、1つの保護部材5により、優れた保護性能を得ること及び他部材との接触時の音の発生を抑制することができるため、ワイヤーハーネス100を構成する部品点数の増加を抑制できる。その結果、ワイヤーハーネス100の組立て作業にかかる時間の増加及びワイヤーハーネス100の組立て作業の煩雑化を抑制できる。
また、本実施形態において、凹凸部1の谷部3は、周方向において分割された第一谷部31と第二谷部32とを含む。そして、保護部材5が、周方向において、第一谷部31の一端部と第二谷部32の一端部とを繋ぎ第一谷部31及び第二谷部32よりも柔らかく形成された連結部4をさらに備える。この場合、保護部材5の周方向において、第一谷部31と第二谷部32との間に、比較的軟らかい部分を設けることにより、シート状の不織部材5Zを筒状に曲げる作業を容易に行うことが可能となる。
また、本実施形態において、連結部4は、保護部材5の外周面51側に張り出して折り返されて形成されている。シート状の不織部材5Zを筒状に曲げる作業を容易に行うことが可能となる。また、保護部材5は、様々な径又は本数の電線9を保護可能である。
また、本実施形態において、ワイヤーハーネス製造方法は、第一プレス工程、第二プレス工程及び曲げ工程を含む。第一プレス工程において、第一内周成形部711と第一外周成形部721との間に不織材料を含むシート状の不織部材5Zが介在した状態で、第一内周成形部711と第一外周成形部721とを接近させ、不織部材5Zのうち第一内周成形部711と第一外周成形部721とに挟まれる第一加工対象部分51Zが、凹凸部1の一部に応じた形状に成形される。また、第二プレス工程において、第二内周成形部712と第二外周成形部722との間に不織部材5Zが介在した状態で、第二内周成形部712と第二外周成形部722とを接近させ、不織部材5Zのうち第二内周成形部712と第二外周成形部722とに挟まれ第一加工対象部分51Zの隣に第三加工対象部分53Zを介して並ぶ第二加工対象部分52Zが、凹凸部1の残りの部分に応じた形状に成形される。また、曲げ工程は、第一プレス工程及び第二プレス工程の後に行われる。曲げ工程において、第一加工対象部分51Z又は第二加工対象部分52Zの内側に電線9を配設した状態で、第一加工対象部分51Zと第二加工対象部分52Zとの間の部分である第三加工対象部分53Zを中心に曲げることにより、不織部材5Zが筒状に形成される。この場合、不織材料を含むシート状の不織部材5Zで形成される保護部材5と少なくとも1本の電線9とを含むワイヤーハーネス100を簡易に作ることができる。
また、本実施形態において、ワイヤーハーネス製造方法は、曲げ工程の前に行われ、第三内周成形部713と第三外周成形部723との間に不織部材5Zが介在した状態で、第三内周成形部713と第三外周成形部723とを接近させ、第三加工対象部分53Zにプレス加工を行う第三プレス工程を含む。この場合、筒状の保護部材5における連結部4の強度がより向上する。
また、本実施形態では、保護部材5を単体で製造することが可能である。そのため、例えば、組立図板上に配設されたワイヤーハーネスに対して後付可能である。この場合、組立図板上の電線の周囲に不織材料を巻いた状態で、ホットプレスする工程が不要となる。
<第2実施形態>
次に、図8を参照しつつ、第2実施形態のワイヤーハーネス製造方法について説明する。図8は、第2実施形態のワイヤーハーネス製造方法に用いられる金型7Xの断面図である。なお、図8において、図1〜7に示される構成要素と同じ構成要素は、同じ参照符号が付されている。以下、金型7Xにおける金型7と異なる点について説明する。
金型7Xにおいては、第一内周成形部711の凹部711Bと第一外周成形部721の凸部721Aとの間の間隔が、第一内周成形部711の凸部711Aと第一外周成形部721の凹部721Bとの間の間隔よりも狭く形成されている。
本実施形態においては、第一プレス工程及び第二プレス工程の前に、予め、不織部材5Zが加熱される。例えば、不織部材5Zの第一加工対象部分51Z及び第二加工対象部分52Zが加熱される場合が考えられる。また、不織部材5Z全体が加熱される場合も考えられる。
そして、第一プレス工程において、不織部材5Zのうち第一内周成形部711の凸部711Aと第一外周成形部721の凹部721Bとに挟まれる部分は、比較的弱い力で圧縮される。第一内周成形部711の凸部711Aと第一外周成形部721の凹部721Bとの間の間隔が、第一内周成形部711の凹部711Bと第一外周成形部721の凸部721Aとの間の間隔よりも広く形成されているためである。この部分は、比較的軟らかく形成され、また、保護部材5における第一山部21に応じた形状に形成される。
また、不織部材5Zのうち第一内周成形部711の凹部711Bと第一外周成形部721の凸部721Aとに挟まれる部分は、比較的強い力で圧縮される。第一内周成形部711の凹部711Bと第一外周成形部721の凸部721Aとの間の間隔が、第一内周成形部711の凸部711Aと第一外周成形部721の凹部721Bとの間の間隔よりも狭く形成されているためである。この部分は、比較的硬く形成され、また、保護部材5における第一谷部31に応じた形状に形成される。
第二プレス工程においても、第一プレス工程と同様に、不織部材5Zのうち第二内周成形部712の凸部712Aと第二外周成形部722の凹部722Bとに挟まれる部分が、比較的弱い力で圧縮される。この部分は、比較的軟らかく形成され、保護部材5における第二山部22に応じた形状に形成される。また、不織部材5Zのうち第二内周成形部712の凹部712Bと第二外周成形部722の凸部722Aとに挟まれる部分が、比較的強い力で圧縮される。この部分は、比較的硬く形成され、保護部材5における第二谷部32に応じた形状に形成される。
本実施形態においても、不織材料で形成された筒状の部材であり、周方向に沿って形成され外周面51側で凸状を成し内周面52側で凹状を成す山部2と、周方向に沿い山部2よりも硬く形成され外周面51側で凹状を成し内周面52側で凸状を成し周方向において分割された第一谷部31と第二谷部32とを含む谷部3と、が長手方向において交互に連なった凹凸部1と、第一谷部31の周方向の一端部と第二谷部32の周方向の一端部とを繋ぎ第一谷部31及び第二谷部32よりも柔らかく形成された連結部4と、を備える保護部材5と、少なくとも1本の電線9と、を備えるワイヤーハーネス100を簡易に作ることができる。
<第3実施形態>
次に、図9を参照しつつ、第3実施形態のワイヤーハーネス製造方法について説明する。図9は、第3実施形態のワイヤーハーネス製造方法に用いられる金型7Yの断面図である。なお、図9において、図1〜8に示される構成要素と同じ構成要素は、同じ参照符号が付されている。以下、金型7Yにおける金型7と異なる点について説明する。
本実施形態において、金型7Yは、第一内周成形部711が形成された第一上金型711Yと第二内周成形部712が形成された第二上金型712Yと第一外周成形部721が形成された第一下金型721Yと第二外周成形部722が形成された第二下金型722Yとを含む。
本実施形態においては、第一プレス工程及び第二プレス工程が、同時に行われる場合と同時に行われない場合とが考えられる。
また、本実施形態では、第三加工対象部分53Zに対する第三プレス工程が行われない。この場合、保護部材5における連結部4は、シート状の不織部材5Zと同じ硬さで形成される。
本実施形態においても、不織材料で形成された筒状の部材であり、周方向に沿って形成され外周面51側で凸状を成し内周面52側で凹状を成す山部2と、周方向に沿い山部2よりも硬く形成され外周面51側で凹状を成し内周面52側で凸状を成し周方向において分割された第一谷部31と第二谷部32とを含む谷部3と、が長手方向において交互に連なった凹凸部1と、第一谷部31の周方向の一端部と第二谷部32の周方向の一端部とを繋ぎ第一谷部31及び第二谷部32よりも柔らかく形成された連結部4と、を備える保護部材5と、少なくとも1本の電線9と、を備えるワイヤーハーネス100を簡易に作ることができる。
<応用例>
上金型71と下金型72とが相互に接近可能に支持されている場合も考えられる。
また、第一内周成形部及び第二内周成形部が下金型に形成され、第一外周成形部及び第二外周成形部が上金型に形成されている場合も考えられる。
また、第三プレス工程によって、第三加工対象部分53Zに薄肉の部分を設けることも考えられる。この場合、曲げ工程をより容易に行うことが可能となる。
なお、本発明に係る保護部材及びワイヤーハーネス製造方法は、各請求項に記載された発明の範囲において、以上に示された各実施形態及び応用例を自由に組み合わせること、或いは各実施形態及び応用例を適宜、変形する又は一部を省略することによって構成されることも可能である。
1 凹凸部
100 ワイヤーハーネス
2 山部
3 谷部
31 第一谷部
32 第二谷部
4 連結部
5 保護部材
51 外周面
51Z 第一加工対象部分
52 内周面
52Z 第二加工対象部分
53Z 第三加工対象部分
5Z 不織部材
7 金型
711 第一内周成形部
712 第二内周成形部
713 第三内周成形部
721 第一外周成形部
722 第二外周成形部
723 第三外周成形部
9 電線
本発明は、電線を保護する技術保護部材を備えるワイヤーハーネスの製造方法及びワイヤーハーネスに関する。
第4態様に係るワイヤーハーネス製造方法は、第3態様に係るワイヤーハーネス製造方法の一態様である。第4態様に係るワイヤーハーネス製造方法においては、前記金型は、前記第一内周成形部と前記第二内周成形部との間に設けられ前記連結部の成形用の第三内周成形部と、前記第一外周成形部と前記第二外周成形部との間に設けられ前記連結部の成形用の第三外周成形部と、を含み、前記曲げ工程の前に行われ、前記第三内周成形部と前記第三外周成形部との間に前記不織部材が介在した状態で、前記第三内周成形部と前記第三外周成形部とを接近させ、前記第三加工対象部分にプレス加工を行う第三プレス工程を含む。
第5態様に係るワイヤーハーネスは、第1態様又は第2態様に係る保護部材と、前記保護部材の内側に挿通された少なくとも1本の電線と、を備える。
また、上記の第4態様において、ワイヤーハーネス製造方法は、曲げ工程の前に行われ、第三内周成形部と第三外周成形部との間に不織部材が介在した状態で、第三内周成形部と第三外周成形部とを接近させ、第三加工対象部分にプレス加工を行う第三プレス工程を含む。この場合、筒状の保護部材における連結部の強度がより向上する。
また、上記の第5態様において、ワイヤーハーネスは、周方向に沿って形成され外周面側で凸状を成し内周面側で凹状を成す山部と、前記周方向に沿い前記山部よりも硬く形成され前記外周面側で凹状を成し前記内周面側で凸状を成す谷部と、が長手方向において交互に連なった凹凸部を備える保護部材を備える。この場合、比較的軟らかい凸状の山部が、他部材との接触時の音の発生を抑制する。また、比較的硬い凹状の谷部により、電線の保護性能の向上が図れる。即ち、1つの保護部材によって、優れた電線の保護性能を得ること及び他部材との接触時の音の発生を抑制することができるため、ワイヤーハーネスを構成する部品点数の増加を抑制できる。その結果、ワイヤーハーネスの組立て作業にかかる時間の増加及びワイヤーハーネスの組立て作業の煩雑化を抑制できる。

Claims (4)

  1. 不織材料で形成された筒状の部材であり、
    周方向に沿って形成され外周面側で凸状を成し内周面側で凹状を成す山部と、前記周方向に沿い前記山部よりも硬く形成され前記外周面側で凹状を成し前記内周面側で凸状を成す谷部と、が長手方向において交互に連なった凹凸部を備える、保護部材。
  2. 請求項1に記載の保護部材であって、
    前記凹凸部の前記谷部は、前記周方向において分割された第一谷部と第二谷部とを含み、
    前記周方向において、前記第一谷部の一端部と前記第二谷部の一端部とを繋ぎ前記第一谷部及び前記第二谷部よりも柔らかく形成された連結部をさらに備える、保護部材。
  3. 不織材料で形成された筒状の部材であり、周方向に沿って形成され外周面側で凸状を成し内周面側で凹状を成す山部と、前記周方向に沿い前記山部よりも硬く形成され前記外周面側で凹状を成し前記内周面側で凸状を成し前記周方向において分割された第一谷部と第二谷部とを含む谷部と、が長手方向において交互に連なった凹凸部と、前記第一谷部の前記周方向の一端部と前記第二谷部の前記周方向の一端部とを繋ぎ前記第一谷部及び前記第二谷部よりも柔らかく形成された連結部と、を備える保護部材と、
    少なくとも1本の電線と、を備えるワイヤーハーネス製造方法であって、
    前記凹凸部の前記第一谷部を含む部分の前記内周面側の形状に応じた第一内周成形部と、前記凹凸部の前記第二谷部を含む部分の前記内周面側の形状に応じた第二内周成形部と、前記凹凸部の前記第一谷部を含む部分の前記外周面側の形状に応じた第一外周成形部と、前記凹凸部の前記第二谷部を含む部分の前記外周面側の形状に応じた第二外周成形部と、を含む金型を用い、
    前記第一内周成形部と前記第一外周成形部との間にシート状の不織部材が介在した状態で、前記第一内周成形部と前記第一外周成形部とを接近させ、前記不織部材のうち前記第一内周成形部と前記第一外周成形部とに挟まれる第一加工対象部分を、前記凹凸部の一部に応じた形状に成形する第一プレス工程と、
    前記第二内周成形部と前記第二外周成形部との間に前記不織部材が介在した状態で、前記第二内周成形部と前記第二外周成形部とを接近させ、前記不織部材のうち前記第二内周成形部と前記第二外周成形部とに挟まれ前記第一加工対象部分の隣に第三加工対象部分を介して並ぶ第二加工対象部分を、前記凹凸部の残りの部分に応じた形状に成形する第二プレス工程と、
    前記第一プレス工程及び前記第二プレス工程の後に行われ、前記第一加工対象部分又は前記第二加工対象部分の内側に前記電線を配設した状態で、前記第一加工対象部分と前記第二加工対象部分との間の部分である前記第三加工対象部分を中心に曲げることにより、前記不織部材を筒状に形成する曲げ工程と、を含むワイヤーハーネス製造方法。
  4. 請求項3に記載のワイヤーハーネス製造方法であって、
    前記金型は、前記第一内周成形部と前記第二内周成形部との間に設けられ前記連結部の成形用の第三内周成形部と、前記第一外周成形部と前記第二外周成形部との間に設けられ前記連結部の成形用の第三外周成形部と、を含み、
    前記曲げ工程の前に行われ、前記第三内周成形部と前記第三外周成形部との間に前記不織部材が介在した状態で、前記第三内周成形部と前記第三外周成形部とを接近させ、前記第三加工対象部分にプレス加工を行う第三プレス工程を含む、ワイヤーハーネス製造方法。
JP2014122069A 2014-06-13 2014-06-13 保護部材、ワイヤーハーネス製造方法及びワイヤーハーネス Expired - Fee Related JP6149808B2 (ja)

Priority Applications (1)

Application Number Priority Date Filing Date Title
JP2014122069A JP6149808B2 (ja) 2014-06-13 2014-06-13 保護部材、ワイヤーハーネス製造方法及びワイヤーハーネス

Applications Claiming Priority (1)

Application Number Priority Date Filing Date Title
JP2014122069A JP6149808B2 (ja) 2014-06-13 2014-06-13 保護部材、ワイヤーハーネス製造方法及びワイヤーハーネス

Publications (2)

Publication Number Publication Date
JP2016005293A true JP2016005293A (ja) 2016-01-12
JP6149808B2 JP6149808B2 (ja) 2017-06-21

Family

ID=55224226

Family Applications (1)

Application Number Title Priority Date Filing Date
JP2014122069A Expired - Fee Related JP6149808B2 (ja) 2014-06-13 2014-06-13 保護部材、ワイヤーハーネス製造方法及びワイヤーハーネス

Country Status (1)

Country Link
JP (1) JP6149808B2 (ja)

Cited By (2)

* Cited by examiner, † Cited by third party
Publication number Priority date Publication date Assignee Title
CN106448963A (zh) * 2016-09-26 2017-02-22 成都捷科菲友信息技术有限公司 一种智能家居用插线保护设备
CN114731032A (zh) * 2019-11-22 2022-07-08 住友电装株式会社 配线部件

Citations (4)

* Cited by examiner, † Cited by third party
Publication number Priority date Publication date Assignee Title
JPS60114521U (ja) * 1984-01-05 1985-08-02 日産自動車株式会社 ハ−ネス把持用コルゲ−ト管
JP2003027362A (ja) * 2001-07-13 2003-01-29 Aoyama Kk 防音用不織布及びその製造方法
JP2013089486A (ja) * 2011-10-19 2013-05-13 Sumitomo Wiring Syst Ltd ワイヤーハーネス
JP2015520338A (ja) * 2012-04-11 2015-07-16 フェデラル−モーグル パワートレイン インコーポレイテッドFederal−Mogul Powertrain, Inc. 自己巻き不織布スリーブとその作製方法

Patent Citations (4)

* Cited by examiner, † Cited by third party
Publication number Priority date Publication date Assignee Title
JPS60114521U (ja) * 1984-01-05 1985-08-02 日産自動車株式会社 ハ−ネス把持用コルゲ−ト管
JP2003027362A (ja) * 2001-07-13 2003-01-29 Aoyama Kk 防音用不織布及びその製造方法
JP2013089486A (ja) * 2011-10-19 2013-05-13 Sumitomo Wiring Syst Ltd ワイヤーハーネス
JP2015520338A (ja) * 2012-04-11 2015-07-16 フェデラル−モーグル パワートレイン インコーポレイテッドFederal−Mogul Powertrain, Inc. 自己巻き不織布スリーブとその作製方法

Cited By (3)

* Cited by examiner, † Cited by third party
Publication number Priority date Publication date Assignee Title
CN106448963A (zh) * 2016-09-26 2017-02-22 成都捷科菲友信息技术有限公司 一种智能家居用插线保护设备
CN114731032A (zh) * 2019-11-22 2022-07-08 住友电装株式会社 配线部件
US12081001B2 (en) 2019-11-22 2024-09-03 Sumitomo Wiring Systems, Ltd. Wiring member having a buffer member

Also Published As

Publication number Publication date
JP6149808B2 (ja) 2017-06-21

Similar Documents

Publication Publication Date Title
US20130056240A1 (en) Wire protection member
JP5935709B2 (ja) 保護部材及びワイヤーハーネス
JP6767361B2 (ja) 電磁シールド管、電磁シールド構造
JP5446855B2 (ja) ワイヤーハーネスの製造方法
JP6662311B2 (ja) シールド導電路
US20180330847A1 (en) Flat cable and production method therefor
US20130161092A1 (en) Wire harness
WO2018155135A1 (ja) ワイヤーハーネス
JP2014068458A (ja) ワイヤーハーネス、ワイヤーハーネスの製造方法及び保護部材
JP6149808B2 (ja) 保護部材、ワイヤーハーネス製造方法及びワイヤーハーネス
JP5884620B2 (ja) ワイヤーハーネス、ワイヤーハーネスの製造方法及び保護部材
JP5803473B2 (ja) ワイヤーハーネス及びその製造方法
WO2013132729A1 (ja) ワイヤーハーネス及びワイヤーハーネスの製造方法
JP2010136556A (ja) 電線保護管
JP5601213B2 (ja) ワイヤハーネス
WO2016158455A1 (ja) 外装ワイヤーハーネス
US9177694B2 (en) Wire harness
US10886038B2 (en) Exterior member-equipped wire
JP2010154604A (ja) 電線保護管
WO2013186952A1 (ja) 経路維持保護部材及びワイヤーハーネス
WO2013046769A1 (ja) ワイヤーハーネスの製造方法及びワイヤーハーネス
JP2016135006A (ja) 電線保護部材及び保護部材付電線
JP5404282B2 (ja) ダクト
JP6170819B2 (ja) 絶縁被覆電線及びその製造方法
JP2016131449A (ja) 保護部材付電線及び電線保護部材

Legal Events

Date Code Title Description
A621 Written request for application examination

Free format text: JAPANESE INTERMEDIATE CODE: A621

Effective date: 20160727

A977 Report on retrieval

Free format text: JAPANESE INTERMEDIATE CODE: A971007

Effective date: 20170411

TRDD Decision of grant or rejection written
A01 Written decision to grant a patent or to grant a registration (utility model)

Free format text: JAPANESE INTERMEDIATE CODE: A01

Effective date: 20170425

A61 First payment of annual fees (during grant procedure)

Free format text: JAPANESE INTERMEDIATE CODE: A61

Effective date: 20170508

R150 Certificate of patent or registration of utility model

Ref document number: 6149808

Country of ref document: JP

Free format text: JAPANESE INTERMEDIATE CODE: R150

LAPS Cancellation because of no payment of annual fees