JP2015515213A - 埋込誘電体及び金属導波路を用いるチップ間通信 - Google Patents

埋込誘電体及び金属導波路を用いるチップ間通信 Download PDF

Info

Publication number
JP2015515213A
JP2015515213A JP2015504734A JP2015504734A JP2015515213A JP 2015515213 A JP2015515213 A JP 2015515213A JP 2015504734 A JP2015504734 A JP 2015504734A JP 2015504734 A JP2015504734 A JP 2015504734A JP 2015515213 A JP2015515213 A JP 2015515213A
Authority
JP
Japan
Prior art keywords
ground plane
microstrip line
package substrate
circuit board
electrically coupled
Prior art date
Legal status (The legal status is an assumption and is not a legal conclusion. Google has not performed a legal analysis and makes no representation as to the accuracy of the status listed.)
Pending
Application number
JP2015504734A
Other languages
English (en)
Inventor
エイ ハーブソマー ジュアン
エイ ハーブソマー ジュアン
エフ ペイン ロバート
エフ ペイン ロバート
コルシ マルコ
コルシ マルコ
エス ハルーン バヘル
エス ハルーン バヘル
アリ ハッサン
アリ ハッサン
Original Assignee
日本テキサス・インスツルメンツ株式会社
テキサス インスツルメンツ インコーポレイテッド
テキサス インスツルメンツ インコーポレイテッド
Priority date (The priority date is an assumption and is not a legal conclusion. Google has not performed a legal analysis and makes no representation as to the accuracy of the date listed.)
Filing date
Publication date
Application filed by 日本テキサス・インスツルメンツ株式会社, テキサス インスツルメンツ インコーポレイテッド, テキサス インスツルメンツ インコーポレイテッド filed Critical 日本テキサス・インスツルメンツ株式会社
Publication of JP2015515213A publication Critical patent/JP2015515213A/ja
Pending legal-status Critical Current

Links

Images

Classifications

    • GPHYSICS
    • G02OPTICS
    • G02BOPTICAL ELEMENTS, SYSTEMS OR APPARATUS
    • G02B6/00Light guides; Structural details of arrangements comprising light guides and other optical elements, e.g. couplings
    • G02B6/10Light guides; Structural details of arrangements comprising light guides and other optical elements, e.g. couplings of the optical waveguide type
    • G02B6/12Light guides; Structural details of arrangements comprising light guides and other optical elements, e.g. couplings of the optical waveguide type of the integrated circuit kind
    • G02B6/12004Combinations of two or more optical elements
    • HELECTRICITY
    • H01ELECTRIC ELEMENTS
    • H01PWAVEGUIDES; RESONATORS, LINES, OR OTHER DEVICES OF THE WAVEGUIDE TYPE
    • H01P3/00Waveguides; Transmission lines of the waveguide type
    • H01P3/12Hollow waveguides
    • H01P3/121Hollow waveguides integrated in a substrate
    • HELECTRICITY
    • H01ELECTRIC ELEMENTS
    • H01PWAVEGUIDES; RESONATORS, LINES, OR OTHER DEVICES OF THE WAVEGUIDE TYPE
    • H01P3/00Waveguides; Transmission lines of the waveguide type
    • H01P3/12Hollow waveguides
    • H01P3/122Dielectric loaded (not air)
    • HELECTRICITY
    • H01ELECTRIC ELEMENTS
    • H01PWAVEGUIDES; RESONATORS, LINES, OR OTHER DEVICES OF THE WAVEGUIDE TYPE
    • H01P5/00Coupling devices of the waveguide type
    • H01P5/08Coupling devices of the waveguide type for linking dissimilar lines or devices
    • H01P5/10Coupling devices of the waveguide type for linking dissimilar lines or devices for coupling balanced lines or devices with unbalanced lines or devices
    • H01P5/107Hollow-waveguide/strip-line transitions
    • HELECTRICITY
    • H05ELECTRIC TECHNIQUES NOT OTHERWISE PROVIDED FOR
    • H05KPRINTED CIRCUITS; CASINGS OR CONSTRUCTIONAL DETAILS OF ELECTRIC APPARATUS; MANUFACTURE OF ASSEMBLAGES OF ELECTRICAL COMPONENTS
    • H05K1/00Printed circuits
    • H05K1/02Details
    • H05K1/0213Electrical arrangements not otherwise provided for
    • H05K1/0237High frequency adaptations
    • H05K1/0239Signal transmission by AC coupling
    • HELECTRICITY
    • H05ELECTRIC TECHNIQUES NOT OTHERWISE PROVIDED FOR
    • H05KPRINTED CIRCUITS; CASINGS OR CONSTRUCTIONAL DETAILS OF ELECTRIC APPARATUS; MANUFACTURE OF ASSEMBLAGES OF ELECTRICAL COMPONENTS
    • H05K1/00Printed circuits
    • H05K1/02Details
    • H05K1/0213Electrical arrangements not otherwise provided for
    • H05K1/0237High frequency adaptations
    • H05K1/025Impedance arrangements, e.g. impedance matching, reduction of parasitic impedance
    • HELECTRICITY
    • H05ELECTRIC TECHNIQUES NOT OTHERWISE PROVIDED FOR
    • H05KPRINTED CIRCUITS; CASINGS OR CONSTRUCTIONAL DETAILS OF ELECTRIC APPARATUS; MANUFACTURE OF ASSEMBLAGES OF ELECTRICAL COMPONENTS
    • H05K1/00Printed circuits
    • H05K1/02Details
    • H05K1/0274Optical details, e.g. printed circuits comprising integral optical means
    • GPHYSICS
    • G02OPTICS
    • G02BOPTICAL ELEMENTS, SYSTEMS OR APPARATUS
    • G02B6/00Light guides; Structural details of arrangements comprising light guides and other optical elements, e.g. couplings
    • G02B6/10Light guides; Structural details of arrangements comprising light guides and other optical elements, e.g. couplings of the optical waveguide type
    • G02B6/12Light guides; Structural details of arrangements comprising light guides and other optical elements, e.g. couplings of the optical waveguide type of the integrated circuit kind
    • G02B6/122Basic optical elements, e.g. light-guiding paths
    • G02B6/1228Tapered waveguides, e.g. integrated spot-size transformers
    • GPHYSICS
    • G02OPTICS
    • G02BOPTICAL ELEMENTS, SYSTEMS OR APPARATUS
    • G02B6/00Light guides; Structural details of arrangements comprising light guides and other optical elements, e.g. couplings
    • G02B6/24Coupling light guides
    • G02B6/42Coupling light guides with opto-electronic elements
    • G02B6/43Arrangements comprising a plurality of opto-electronic elements and associated optical interconnections
    • HELECTRICITY
    • H01ELECTRIC ELEMENTS
    • H01LSEMICONDUCTOR DEVICES NOT COVERED BY CLASS H10
    • H01L2223/00Details relating to semiconductor or other solid state devices covered by the group H01L23/00
    • H01L2223/58Structural electrical arrangements for semiconductor devices not otherwise provided for
    • H01L2223/64Impedance arrangements
    • H01L2223/66High-frequency adaptations
    • H01L2223/6605High-frequency electrical connections
    • H01L2223/6627Waveguides, e.g. microstrip line, strip line, coplanar line
    • HELECTRICITY
    • H01ELECTRIC ELEMENTS
    • H01LSEMICONDUCTOR DEVICES NOT COVERED BY CLASS H10
    • H01L2224/00Indexing scheme for arrangements for connecting or disconnecting semiconductor or solid-state bodies and methods related thereto as covered by H01L24/00
    • H01L2224/01Means for bonding being attached to, or being formed on, the surface to be connected, e.g. chip-to-package, die-attach, "first-level" interconnects; Manufacturing methods related thereto
    • H01L2224/10Bump connectors; Manufacturing methods related thereto
    • H01L2224/15Structure, shape, material or disposition of the bump connectors after the connecting process
    • H01L2224/16Structure, shape, material or disposition of the bump connectors after the connecting process of an individual bump connector
    • H01L2224/161Disposition
    • H01L2224/16151Disposition the bump connector connecting between a semiconductor or solid-state body and an item not being a semiconductor or solid-state body, e.g. chip-to-substrate, chip-to-passive
    • H01L2224/16221Disposition the bump connector connecting between a semiconductor or solid-state body and an item not being a semiconductor or solid-state body, e.g. chip-to-substrate, chip-to-passive the body and the item being stacked
    • H01L2224/16225Disposition the bump connector connecting between a semiconductor or solid-state body and an item not being a semiconductor or solid-state body, e.g. chip-to-substrate, chip-to-passive the body and the item being stacked the item being non-metallic, e.g. insulating substrate with or without metallisation
    • H01L2224/16227Disposition the bump connector connecting between a semiconductor or solid-state body and an item not being a semiconductor or solid-state body, e.g. chip-to-substrate, chip-to-passive the body and the item being stacked the item being non-metallic, e.g. insulating substrate with or without metallisation the bump connector connecting to a bond pad of the item
    • HELECTRICITY
    • H01ELECTRIC ELEMENTS
    • H01LSEMICONDUCTOR DEVICES NOT COVERED BY CLASS H10
    • H01L2924/00Indexing scheme for arrangements or methods for connecting or disconnecting semiconductor or solid-state bodies as covered by H01L24/00
    • H01L2924/15Details of package parts other than the semiconductor or other solid state devices to be connected
    • H01L2924/151Die mounting substrate
    • H01L2924/153Connection portion
    • H01L2924/1531Connection portion the connection portion being formed only on the surface of the substrate opposite to the die mounting surface
    • H01L2924/15311Connection portion the connection portion being formed only on the surface of the substrate opposite to the die mounting surface being a ball array, e.g. BGA
    • HELECTRICITY
    • H05ELECTRIC TECHNIQUES NOT OTHERWISE PROVIDED FOR
    • H05KPRINTED CIRCUITS; CASINGS OR CONSTRUCTIONAL DETAILS OF ELECTRIC APPARATUS; MANUFACTURE OF ASSEMBLAGES OF ELECTRICAL COMPONENTS
    • H05K1/00Printed circuits
    • H05K1/02Details
    • H05K1/0213Electrical arrangements not otherwise provided for
    • H05K1/0237High frequency adaptations
    • H05K1/0243Printed circuits associated with mounted high frequency components
    • HELECTRICITY
    • H05ELECTRIC TECHNIQUES NOT OTHERWISE PROVIDED FOR
    • H05KPRINTED CIRCUITS; CASINGS OR CONSTRUCTIONAL DETAILS OF ELECTRIC APPARATUS; MANUFACTURE OF ASSEMBLAGES OF ELECTRICAL COMPONENTS
    • H05K2201/00Indexing scheme relating to printed circuits covered by H05K1/00
    • H05K2201/01Dielectrics
    • H05K2201/0183Dielectric layers
    • H05K2201/0187Dielectric layers with regions of different dielectrics in the same layer, e.g. in a printed capacitor for locally changing the dielectric properties
    • HELECTRICITY
    • H05ELECTRIC TECHNIQUES NOT OTHERWISE PROVIDED FOR
    • H05KPRINTED CIRCUITS; CASINGS OR CONSTRUCTIONAL DETAILS OF ELECTRIC APPARATUS; MANUFACTURE OF ASSEMBLAGES OF ELECTRICAL COMPONENTS
    • H05K2201/00Indexing scheme relating to printed circuits covered by H05K1/00
    • H05K2201/03Conductive materials
    • H05K2201/0332Structure of the conductor
    • H05K2201/0364Conductor shape
    • H05K2201/037Hollow conductors, i.e. conductors partially or completely surrounding a void, e.g. hollow waveguides
    • HELECTRICITY
    • H05ELECTRIC TECHNIQUES NOT OTHERWISE PROVIDED FOR
    • H05KPRINTED CIRCUITS; CASINGS OR CONSTRUCTIONAL DETAILS OF ELECTRIC APPARATUS; MANUFACTURE OF ASSEMBLAGES OF ELECTRICAL COMPONENTS
    • H05K2201/00Indexing scheme relating to printed circuits covered by H05K1/00
    • H05K2201/09Shape and layout
    • H05K2201/09209Shape and layout details of conductors
    • H05K2201/095Conductive through-holes or vias
    • H05K2201/09618Via fence, i.e. one-dimensional array of vias
    • HELECTRICITY
    • H05ELECTRIC TECHNIQUES NOT OTHERWISE PROVIDED FOR
    • H05KPRINTED CIRCUITS; CASINGS OR CONSTRUCTIONAL DETAILS OF ELECTRIC APPARATUS; MANUFACTURE OF ASSEMBLAGES OF ELECTRICAL COMPONENTS
    • H05K2201/00Indexing scheme relating to printed circuits covered by H05K1/00
    • H05K2201/10Details of components or other objects attached to or integrated in a printed circuit board
    • H05K2201/10007Types of components
    • H05K2201/10098Components for radio transmission, e.g. radio frequency identification [RFID] tag, printed or non-printed antennas

Landscapes

  • Engineering & Computer Science (AREA)
  • Microelectronics & Electronic Packaging (AREA)
  • Physics & Mathematics (AREA)
  • General Physics & Mathematics (AREA)
  • Optics & Photonics (AREA)
  • Structure Of Printed Boards (AREA)
  • Waveguides (AREA)

Abstract

パッケージ基板(304−A)及び集積回路(IC)(302−A)を備える回路アセンブリ(206−A1)を含む装置が提供される。パッケージ基板はマイクロストリップライン(208−A1)を有し、ICは、パッケージ基板に固定され、マイクロストリップラインに電気的に結合される。また、回路ボード(202−A)もパッケージ基板に固定される。誘電性導波路(204−A)が回路ボードに固定される。誘電性導波路は誘電体コア(310−A)を有し、誘電体コアは誘電性導波路とマイクロストリップラインとの間に位置する遷移領域(314−A)の中に延びる。マイクロストリップラインは、誘電性導波路を用いて通信リンクを形成するように構成される。

Description

本願は、全般的にチップ・ツー・チップ通信に関し、より特定的に、誘電性導波路を用いるチップ・ツー・チップ通信に関する。
最も広く用いられている相互接続システム(これは多くの電子デバイスに採用されている)は、印刷回路ボード(PCB)又はバックプレーンに統合された金属トレースを用いる。このタイプのシステムでは、トレースの1つ又は複数に電気的に結合されるように、集積回路(IC)がPCBに固定され、チップ間又はチップ・ツー・チップ通信が可能となる。この配置の問題は、データレート又はデータ送信のための物理的な限界に到達することであり、そのため、結果として、光学又はワイヤレスリンク等の幾つかの異なるタイプの通信リンクが開発されているか、或いは開発中である。これらの開発技術の各々は、伝送媒体、即ち、光学リンクのための光ファイバー及びワイヤレスリンクのための金属導波路、を用いる。
図1及び図2を参照すると、ワイヤレスリンク又は光学リンクを用いる相互接続システム100の例が示されている。この例では、伝送媒体104(これは金属導波路又は光ファイバーである)がPCB102の中に統合されている。IC106−1及び102−6は、PCB102に固定され、伝送媒体104のそれぞれ各端部の近隣に位置する。論理的には、その後、トランシーバ108−1及び108−2(これらは、光学リンクのための光学トランシーバ、及びワイヤレスリンクのための無線周波数(RF)トランシーバである)はIC106−1と106−2との間のチップ間通信を可能にし得る。しかしながら、実際には、このチップ間通信は単純なタスクではない。例えば、システム100が光学リンクを用いると想定すると、光学トランシーバ108−1及び108−2は、光軸を有するオン・ダイ発光ダイオード(LED)及び/又はフォトダイオードを有することになろう(これは現在のプロセス技術では難しい)。通常は、LED(送信用)は、特定の波長又は周波数を有するレーザダイオードであり、伝送媒体104(この例では光ファイバー)は、LEDから出される光の波長に適応するように寸法が定められる。典型的に、伝送媒体104(この例では光ファイバー)は帯域を改善するようにモノモードファイバーであり、それは、LEDから出される波長に関連する直径を有する。例えば、近赤外(即ち、波長が約0.7μm〜約3μm)の場合、モノモード光ファイバーは、一般的に、約8μm〜約10μmの直径を有する。このように、伝送媒体104(この例では光ファイバー)の光軸と、LED(又はフォトダイオード)の光軸の不整合(たとえ数ミクロンであっても)が、相互接続不良となるか又は相互接続しなくなるという結果になり得る。従って、精密機械加工、又は他の更に特殊なマイクロ光学構造が一般的に必要となるであろう。金属導波路の場合も同様である。即ち、正しい整合のためには、精密機械加工が一般的に必要となるであろう。また、サブミリメートル波のための金属製導波路は、非常に損失が多く、導波路が機能し得る距離を実質的に制限する。
従って、改善された相互接続システムのための需要が存在する。
従来のシステムの他の幾つかの例は、米国特許第5,754,948号、米国特許第7,768,457号、米国特許第7,379,713号、米国特許第7,330,702号、米国特許第6,967,347号、及び米国公開特許第2009/0009408号である。
米国特許第5,754,948号 米国特許第7,768,457号 米国特許第7,379,713号 米国特許第7,330,702号 米国特許第6,967,347号 米国特許公開番号2009/0009408
従って、本発明の実施形態は或る装置を提供する。この装置は、回路ボード、パッケージ基板、集積回路(IC)、及び誘電性導波路を含む。回路ボードは、第1の側、第2の側、及び第1の接地平面を有し、第1の接地平面が回路ボードの第1の側に形成される。パッケージ基板は、回路ボードの第1の側に固定され、第2の接地平面と、マイクロストリップラインとを含む。第2の接地平面は、第1の接地平面に電気的に結合される。マイクロストリップラインは、第1及び第2の接地平面に実質的に平行であり、第1の部分及び第2の部分を有する。第1の部分は、第2の接地平面の少なくとも一部に重なり、第2の接地平面から第1の距離離れている。マイクロストリップラインの第1の部分は、或る波長を有する放射を伝播するためのインピーダンスを有するように寸法が定められる。第2の部分は、第1の接地平面の少なくとも一部に重なり、第1の接地平面から第2の距離離れ、第2の距離は第1の距離より大きい。マイクロストリップラインの第2の部分は、前記波長を有する放射を伝播するためのインピーダンスをを有するように寸法が定められる。マイクロストリップラインの第2の部分は遷移領域内に位置する。集積回路(IC)は、パッケージ基板に固定され、マイクロストリップラインの第1の部分に電気的に結合される。誘電性導波路は、回路ボードに固定され、コアを含む。コアは、第1の接地平面の少なくとも一部に重なり、遷移領域の中に延びる。
幾つかの特定の実装において、波長は約lmm以下である。
幾つかの特定の実装において、誘電性導波路はクラッディングを更に含み、コアは第1の誘電率を有し、クラッディングは第2の誘電率を有し、第1の誘電率は第2の誘電率より大きい。
幾つかの特定の実装において、パッケージ基板は第1及び第2の側を有し、マイクロストリップラインはパッケージ基板の第1の側に形成され、ICはパッケージ基板の第1の側に固定され、第1の接地平面はパッケージ基板の第2の側に形成される。
幾つかの特定の実装において、第1及び第2の接地平面に少なくとも1つのはんだボールが固定される。
幾つかの特定の実装において、インピーダンスは約50Ωである。
幾つかの特定の実装において、マイクロストリップラインの第1の部分は概して、約25μmの幅を有する矩形であり、マイクロストリップラインの第2の部分は概して、約50μmの幅を有する矩形である。
別の態様において、或る装置が提供される。この装置は、回路ボード、複数のパッケージ基板、複数のIC、及び誘電導波路ネットワークを含む。回路ボードは、第1の側、第2の側、及び複数の回路ボード接地平面を有し、各回路ボード接地平面は、回路ボードの第1の側に形成される。複数のパッケージ基板は、各パッケージ基板が、回路ボードの第1の側に固定され、各々が回路ボード接地平面の少なくとも1つとコロケート(collocate)される。各パッケージ基板は、パッケージ基板接地平面、及びマイクロストリップラインを含む。パッケージ基板接地平面は、その回路ボード接地平面に電気的に結合される。マイクロストリップラインは、そのパッケージ基板接地平面及びその回路ボード接地平面に実質的に平行である。マイクロストリップラインは、第1の部分及び第2の部分を有する。第1の部分は、そのパッケージ基板接地平面の少なくとも一部に重なり、そのパッケージ基板接地平面から第1の距離離れている。マイクロストリップラインの第1の部分は、或る波長を有する放射を伝播するためのインピーダンスを有するように寸法が定められる。第2の部分は、その回路ボード接地平面の少なくとも一部に重なり、その回路ボード接地平面から第2の距離離れ、第2の距離は第1の距離より大きい。マイクロストリップラインの第2の部分は、前記波長を有する放射を伝播するためのインピーダンスを有するように寸法が定められ、遷移領域内に位置する。複数のICは、各ICが、パッケージ基板の少なくとも1つに固定され、そのマイクロストリップラインの第1の部分に電気的に結合される。誘電導波路ネットワークは、回路ボードに固定され、誘電導波路ネットワークからのコアが、各回路ボード接地平面の少なくとも一部に重なり、その遷移領域の中に延びる。
幾つかの特定の実装において、誘電導波路ネットワークは、クラッディングを有する複数の誘電導波路を更に含み、コアは第1の誘電率を有し、クラッディングは第2の誘電率を有し、第1の誘電率は第2の誘電率より大きい。
幾つかの特定の実装において、各パッケージ基板が第1及び第2の側を有し、マイクロストリップラインはパッケージ基板の第1の側に形成され、ICはパッケージ基板の第1の側に固定され、パッケージ基板接地平面はパッケージ基板の第2の側に形成される。
幾つかの特定の実装において、各パッケージ基板のための回路ボード接地平面及びパッケージ基板接地平面に、少なくとも1つのはんだボールが固定される。
別の態様において、或る装置が提供される。この装置は、回路ボード、第1のパッケージ基板、第1のIC、第2のパッケージ基板、第2のIC、及び誘電性導波路を含む。回路ボードは、第1の側、第2の側、第1の接地平面、及び第2の接地平面を有する。第1及び第2の接地平面は、回路ボードの第1の側に形成され、第1及び第2の接地平面は互いに離れている。第1のパッケージ基板は、回路ボードの第1の側に固定され、第3の接地平面、及び第1のマイクロストリップラインを含む。第3の接地平面は、第1の接地平面に電気的に結合される。第1のマイクロストリップラインは、第1及び第3の接地平面と実質的に平行であり、第1のマイクロストリップラインは、第1の部分及び第2の部分を有する。第1の部分は、第3の接地平面の少なくとも一部に重なり、第3の接地平面から第1の距離離れている。第1のマイクロストリップラインの第1の部分は、或る波長を有する放射を伝播するためのインピーダンスを有するように寸法が定められる。第2の部分は、第1の接地平面の少なくとも一部に重なり、第1の接地平面から第2の距離離れ、第2の距離は第1の距離より大きい。第1のマイクロストリップラインの第2の部分は、前記波長を有する放射を伝播するためのインピーダンスを有するように寸法が定められ、第1の遷移領域内に位置する。第1のICは、パッケージ基板に固定され、第1のマイクロストリップラインの第1の部分に電気的に結合される。第2のパッケージ基板は、回路ボードの第1の側に固定され、第4の接地平面、及び第2のマイクロストリップラインを含む。第4の接地平面は、第2の接地平面に電気的に結合される。第2のマイクロストリップラインは、第2及び第4の接地平面と実質的に平行であり、第2のマイクロストリップラインは、第1の部分及び第2の部分を有する。第1の部分は、第4の接地平面の少なくとも一部に重なり、第4の接地平面から第3の距離離れている。第2のマイクロストリップラインの第1の部分は、前記波長を有する放射を伝播するためのインピーダンスを有するように寸法が定められる。第2の部分は第2の接地平面の少なくとも一部に重なり、第2の接地平面から第4の距離離れ、第4の距離は第3の距離より大きい。第2のマイクロストリップラインの第2の部分は、前記波長を有する放射を伝播するためのインピーダンスを有するように寸法が定められ、第2の遷移領域内に位置する。第2のICは、パッケージ基板に固定され、第2のマイクロストリップラインの第1の部分に電気的に結合される。誘電性導波路は、第1及び第2の端部を備えるコア、及びクラッディングを有する。コアは、回路ボードに固定され、第1及び第2の接地平面の少なくとも一部に重なり、コアの第1の端部が第1の遷移領域の中に延びる。コアの第2の端部は、第2の遷移領域の中に延びる。コアは第1の誘電率を有する。クラッディングは、コアに固定され、クラッディングが第2の誘電率を有し、第1の誘電率は第2の誘電率より大きい。
幾つかの特定の実装において、第1及び第2のパッケージ基板の各々は、第1及び第2の側を有し、そのマイクロストリップラインがパッケージ基板の第1の側に形成され、そのICがパッケージ基板の第1の側に固定され、その第1の接地平面がパッケージ基板の第2の側に形成される。
幾つかの特定の実装において、第1及び第3の接地平面に少なくとも1つのはんだボールが固定され、第2及び第4の接地平面に少なくとも1つのはんだボールが固定される。
幾つかの特定の実装において、第1及び第2のマイクロストリップラインの各々の第1の部分は概して矩形であり、第1及び第2のマイクロストリップラインの各々の第2の部分は概して矩形である。
別の態様において、或る装置が提供される。この装置は、回路ボード、チャネル、パッケージ基板、集積回路(IC)、及び誘電体コアを含む。回路ボードは、第1の側、第2の側、及び第1の接地平面を有する。チャネルは、回路ボードの第1の側に形成され、第1の接地平面がチャネルの少なくとも一部の下にある。パッケージ基板は、回路ボードの第1の側に固定され、第2の接地平面、及びマイクロストリップラインを含む。第2の接地平面は、第1の接地平面に電気的に結合される。マイクロストリップラインは、第1及び第2の接地平面に実質的に平行であり、第1の部分及び第2の部分を有する。第1の部分は、第2の接地平面の少なくとも一部に重なり、第2の接地平面から第1の距離離れている。マイクロストリップラインの第1の部分は、或る波長を有する放射を伝播するためのインピーダンスを有するように寸法が定められる。第2の部分は、第1の接地平面の少なくとも一部に重なり、第1の接地平面から第2の距離離れ、第2の距離は第1の距離より大きい。マイクロストリップラインの第2の部分は、前記波長を有する放射を伝播するためのインピーダンスを有するように寸法が定められ、遷移領域内に位置する。集積回路(IC)は、パッケージ基板に固定され、マイクロストリップラインの第1の部分に電気的に結合される。誘電体コアは、第1の接地平面の少なくとも一部に重なり、遷移領域の中に延び、チャネルに固定される。
幾つかの特定の実装において、この装置はクラッディングを更に含み、コアは第1の誘電率を有し、クラッディングは第2の誘電率を有し、第1の誘電率は第2の誘電率より大きい。
幾つかの特定の実装において、回路ボードはバイアを更に含む。バイアは、第1の接地平面から回路ボードの第1の側まで延び、第2の接地平面及びバイアに、少なくとも1つのはんだボールが固定される。
幾つかの特定の実装において、マイクロストリップラインの第1の部分は概して矩形である。
別の態様において、或る装置が提供される。この装置は、回路ボード、チャネルネットワーク、複数のパッケージ基板、複数のIC、及び誘電体コアネットワークを含む。回路ボードは、第1の側、第2の側、及び複数の回路ボード接地平面を有する。チャネルネットワークは、回路ボードの第1の側に形成され、各回路ボード接地平面は、チャネルネットワークの少なくとも一部の下にある。複数のパッケージ基板は、各パッケージ基板が、回路ボードの第1の側に固定され、各々が回路ボード接地平面の少なくとも1つとコロケートされる。各パッケージ基板は、パッケージ基板接地平面、及びマイクロストリップラインを含む。パッケージ基板接地平面は、その回路ボード接地平面に電気的に結合される。マイクロストリップラインは、パッケージ基板接地平面及びその回路ボード接地平面と実質的に平行である。マイクロストリップラインは、第1の部分及び第2の部分を有する。第1の部分は、そのパッケージ基板接地平面の少なくとも一部に重なり、そのパッケージ基板接地平面から第1の距離離れている。マイクロストリップラインの第1の部分は、或る波長を有する放射を伝播するためのインピーダンスを有するように寸法が定められる。第2の部分は、その回路ボード接地平面の少なくとも一部に重なり、その回路ボード接地平面から第2の距離離れ、第2の距離は第1の距離より大きく、マイクロストリップラインの第2の部分は、前記波長を有する放射を伝播するためのインピーダンスを有するように寸法が定められ、遷移領域内に位置する。複数のICは、各ICが、パッケージ基板の少なくとも1つに固定され、そのマイクロストリップラインの第1の部分に電気的に結合される。誘電体コアネットワークは、チャネルネットワークに固定され、複数の端部を有し、誘電導波路ネットワークからの各端部が、回路ボード接地平面の少なくとも1つの少なくとも一部に重なり、その遷移領域の中に延びる。
幾つかの特定の実装において、誘電導波路ネットワークは、クラッディングを有する複数の誘電導波路を更に含み、コアは第1の誘電率を有し、クラッディングは第2の誘電率を有し、第1の誘電率は第2の誘電率より大きい。
幾つかの特定の実装において、回路ボードは複数のバイアを更に含み、各バイアが回路ボードの第1の側と回路ボード接地平面の少なくとも1つとの間に延び、少なくとも1つのバイア及び少なくとも1つのパッケージ基板接地平面に、少なくとも1つのはんだボールが固定される。
別の態様において、或る装置が提供される。この装置は、回路ボード、チャネル、第1のパッケージ基板、第1のIC、第2のパッケージ基板、第2のIC、及び誘電体コアを含む。回路ボードは、第1の側、第2の側、第1の接地平面、及び第2の接地平面を有する。チャネルは、回路ボードの第1の側に形成され、第1の端部及び第2の端部を有し、チャネルの第1の端部が第1の接地平面の少なくとも一部に重なり、チャネルの第2の端部が、第2の接地平面の少なくとも一部の上にある。第1のパッケージ基板は、回路ボードの第1の側に固定され、第3の接地平面、及び第1のマイクロストリップラインを含む。第3の接地平面は、第1の接地平面に電気的に結合される。第1のマイクロストリップラインは、第1及び第3の接地平面と実質的に平行である。第1のマイクロストリップラインは、第1の部分及び第2の部分を有する。第1の部分は、第3の接地平面の少なくとも一部に重なり、第3の接地平面から第1の距離離れている。第1のマイクロストリップラインの第1の部分は、或る波長を有する放射を伝播するためのインピーダンスを有するように寸法が定められる。第2の部分は、第1の接地平面の少なくとも一部に重なり、第1の接地平面から第2の距離離れ、第2の距離は第1の距離より大きい。第1のマイクロストリップラインの第2の部分は、前記波長を有する放射を伝播するためのインピーダンスを有するように寸法が定められ、第1の遷移領域内に位置する。第1のICは、パッケージ基板に固定され、第1のマイクロストリップラインの第1の部分に電気的に結合される。第2のパッケージ基板は、回路ボードの第1の側に固定され、第4の接地平面、及び第2のマイクロストリップラインを含む。第4の接地平面は、第2の接地平面に電気的に結合される。第2のマイクロストリップラインは、第2及び第4の接地平面に実質的に平行である。第2のマイクロストリップラインは、第1の部分及び第2の部分を有する。第1の部分は、第4の接地平面の少なくとも一部に重なり、第4の接地平面から第3の距離離れている。第2のマイクロストリップラインの第1の部分は、前記波長を有する放射を伝播するためのインピーダンスを有するように寸法が定められる。第2の部分は、第2の接地平面の少なくとも一部に重なり、第2の接地平面から第4の距離離れ、第4の距離は第3の距離より大きい。第2のマイクロストリップラインの第2の部分は、前記波長を有する放射を伝播するためのインピーダンスを有するように寸法が定められ、第2の遷移領域内に位置する。第2のICは、パッケージ基板に固定され、第2のマイクロストリップラインの第1の部分に電気的に結合される。誘電体コアは、第1及び第2の端部を備え、コアがチャネルに固定され、誘電体コアの第1の端部が、第1の接地平面の少なくとも一部に重なり、誘電体コアの第2の端部が、第2の接地平面の少なくとも一部に重なり、コアの第1の端部が第1の遷移領域の中に延び、コアの第2の端部が第2の遷移領域の中に延び、誘電体コアは、回路ボードの誘電率より大きい誘電率を有する。
別の態様において、或る装置が提供される。この装置は、回路ボード、チャネル、パッケージ基板、集積回路(IC)、金属導波路、及び誘電体コアを含む。回路ボードは、第1の側、第2の側、第1の接地平面、及び第1のマイクロストリップラインを有し、第1のマイクロストリップラインは、第1の接地平面に概して平行である。チャネルは、回路ボードの第1の側に形成され、第1の接地平面が、チャネルの少なくとも一部の下にある。パッケージ基板は、回路ボードの第1の側に固定され、第2の接地平面、及び第2のマイクロストリップラインを含む。第2の接地平面は、第1の接地平面に電気的に結合される。第2のマイクロストリップラインは、第1及び第2の接地平面に実質的に平行であり、第1の部分及び第2の部分を有する。第1の部分は、第2の接地平面の少なくとも一部に重なり、第2の接地平面から第1の距離離れている。第2のマイクロストリップラインの第1の部分は、或る波長を有する放射を伝播するためのインピーダンスを有するように寸法が定められる。第2の部分は、第1の接地平面の少なくとも一部に重なり、第1の接地平面から第2の距離離れ、第2の距離は第1の距離より大きい。第2のマイクロストリップラインの第2の部分は、前記波長を有する放射を伝播するためのインピーダンスを有するように寸法が定められ、遷移領域内に位置する。第2のマイクロストリップラインの第2の部分は第1のマイクロストリップラインに電気的に結合される。集積回路(IC)は、パッケージ基板に固定され、第2のマイクロストリップラインの第1の部分に電気的に結合される。金属導波路は、チャネルに固定され、遷移領域に位置し、第1のマイクロストリップラインに電気的に結合される。誘電体コアは、第1の接地平面の少なくとも一部に重なり、金属導波路の中に延び、チャネルに固定される。
幾つかの特定の実装において、パッケージ基板は第1及び第2の側を有し、第2のマイクロストリップラインはパッケージ基板の第1の側に形成され、ICはパッケージ基板の第1の側に固定され、第1の接地平面はパッケージ基板の第2の側に形成され、パッケージ基板は、第2のマイクロストリップラインの第2の部分からパッケージ基板の第2の側まで延びるバイアを更に含み、バイア及び第1のマイクロストリップラインに、少なくとも1つのはんだボールが固定される。
幾つかの特定の実装において、バイアは第1のバイアを更に含み、回路ボードは、第1の接地平面から回路ボードの第1の側まで延びる第2のバイアを更に含み、第2の接地平面及び第2のバイアに、少なくとも1つのはんだボールが固定される。
幾つかの特定の実装において、金属導波路は、第1のプレート、第2のプレート、及び複数の導波路バイアを更に含む。第1のプレートは、第1のマイクロストリップラインと同一平面にあり、第1のマイクロストリップラインに電気的に結合される。第2のプレートは、第1のプレートと同一平面にあり、第1のプレートに電気的に結合される。複数の導波路バイアは第2のプレートと第1の接地平面との間に延びる。
別の態様において、或る装置が提供される。この装置は、回路ボード、チャネルネットワーク、複数のパッケージ基板、複数のIC、複数の金属導波路、及び誘電体コアネットワークを含む。回路ボードは、第1の側、第2の側、複数の回路ボード接地平面、及び複数の回路ボードマイクロストリップラインを有する。チャネルネットワークは、回路ボードの第1の側に形成され、各回路ボード接地平面が、チャネルネットワークの少なくとも一部の下にある。複数のパッケージ基板は、各パッケージ基板が回路ボードの第1の側に固定され、各々が、回路ボード接地平面の少なくとも1つ及び回路ボードマイクロストリップラインの少なくとも1つとコロケートされ、各パッケージ基板が、パッケージ基板接地平面、及びパッケージ基板マイクロストリップラインを含む。パッケージ基板接地平面は、その回路ボード接地平面に電気的に結合される。パッケージ基板マイクロストリップラインは、そのパッケージ基板接地平面及びその回路ボード接地平面と実質的に平行であり、第1の部分及び第2の部分を有する。第1の部分は、そのパッケージ基板接地平面の少なくとも一部に重なり、そのパッケージ基板接地平面から第1の距離離れている。パッケージ基板マイクロストリップラインの第1の部分は、或る波長を有する放射を伝播するためのインピーダンスを有するように寸法が定められる。第2の部分は、その回路ボード接地平面の少なくとも一部に重なり、その回路ボード接地平面から第2の距離離れ、第2の距離は第1の距離より大きい。パッケージ基板マイクロストリップラインの第2の部分は、前記波長を有する放射を伝播するためのインピーダンスを有するように寸法が定められ、遷移領域内に位置する。複数のICは、各ICが、パッケージ基板の少なくとも1つに固定され、そのマイクロストリップラインの第1の部分に電気的に結合される。複数の金属導波路は、各金属導波路が、チャネルネットワークに固定され、パッケージ基板の少なくとも1つのための遷移領域に位置し、回路ボードマイクロストリップラインの少なくとも1つに電気的に結合される。誘電体コアネットワークは、チャネルネットワークに固定され、複数の端部を有し、誘電導波路ネットワークからの各端部が、回路ボード接地平面の少なくとも1つの少なくとも一部に重なり、その金属導波路の中に延びる。
幾つかの特定の実装において、誘電導波路ネットワークは、クラッディングを有する複数の誘電導波路を更に含み、コアは第1の誘電率を有し、クラッディングは第2の誘電率を有し、第1の誘電率は第2の誘電率より大きい。
幾つかの特定の実装において、各パッケージ基板が第1及び第2の側を有し、マイクロストリップラインはパッケージ基板の第1の側に形成され、ICはパッケージ基板の第1の側に固定され、パッケージ基板接地平面はパッケージ基板の第2の側に形成され、各パッケージ基板がパッケージ基板バイアを更に含む。パッケージ基板バイアは、そのパッケージ基板マイクロストリップラインの第2の部分からそのパッケージ基板の第2の側まで延び、パッケージ基板バイア及びその回路ボードマイクロストリップラインに、少なくとも1つのはんだボールが固定される。
別の態様において、或る装置が提供される。この装置は、回路ボード、チャネル、第1のパッケージ基板、第1のIC、第2のパッケージ基板、第2のIC、第1の金属導波路、第2の金属導波路、及び誘電体コアを含む。回路ボードは、第1の側、第2の側、第1の接地平面、第2の接地平面、第1のマイクロストリップライン、及び第2のマイクロストリップラインを有し、第1及び第2のマイクロストリップラインが回路ボードの第1の側に形成され、第1のマイクロストリップラインが、第1の接地平面にコロケートされ、第1の接地平面に概して平行であり、第2のマイクロストリップラインが第2の接地平面にコロケートされ、第2の接地平面に概して平行である。チャネルは、回路ボードの第1の側に形成され、第1の端部及び第2の端部を有し、チャネルの第1の端部が第1の接地平面の少なくとも一部に重なり、チャネルの第2の端部が第2の接地平面の少なくとも一部の上にある。第1のパッケージ基板は、回路ボードの第1の側に固定され、第3の接地平面、及び第3のマイクロストリップラインを含む。第3の接地平面は、第1の接地平面に電気的に結合される。第3のマイクロストリップラインは、第1及び第3の接地平面に実質的に平行であり、第1の部分及び第2の部分を有する。第1の部分は、第3の接地平面の少なくとも一部に重なり、第3の接地平面から第1の距離離れている。第3のマイクロストリップラインの第1の部分は、或る波長を有する放射を伝播するためのインピーダンスを有するように寸法が定められる。第2の部分は、第1の接地平面の少なくとも一部に重なり、第1の接地平面から第2の距離離れ、第2の距離は第1の距離より大きい。第3のマイクロストリップラインの第2の部分は、前記波長を有する放射を伝播するためのインピーダンスを有するように寸法が定められ、第1の遷移領域内に位置する。第1のICは、パッケージ基板に固定され、第3のマイクロストリップラインの第1の部分に電気的に結合される。第2のパッケージ基板は、回路ボードの第1の側に固定され、第4の接地平面、及び第4のマイクロストリップラインを含む。第4の接地平面は、第2の接地平面に電気的に結合される。第4のマイクロストリップラインは、第2及び第4の接地平面に実質的に平行であり、第1の部分及び第2の部分を有する。第1の部分は、第4の接地平面の少なくとも一部に重なり、第4の接地平面から第3の距離離れている。第4のマイクロストリップラインの第1の部分は、前記波長を有する放射を伝播するためのインピーダンスを有するように寸法が定められる。第2の部分は、第2の接地平面の少なくとも一部に重なり、第2の接地平面から第4の距離離れ、第4の距離は第3の距離より大きい。第4のマイクロストリップラインの第2の部分は、前記波長を有する放射を伝播するためのインピーダンスを有するように寸法が定められる。第4のマイクロストリップラインの第2の部分は、第2の遷移領域内に位置する。第2のICは、パッケージ基板に固定され、第4のマイクロストリップラインの第1の部分に電気的に結合される。第1の金属導波路は、チャネルに固定され、第1の遷移領域に位置し、第1のマイクロストリップラインに電気的に結合される。第2の金属導波路は、チャネルに固定され、第2の遷移領域に位置し、第2のマイクロストリップラインに電気的に結合される。誘電体コアは、第1及び第2の端部を備え、誘電体コアはチャネルに固定され、誘電体コアの第1の端部が第1の接地平面の少なくとも一部に重なり、誘電体コアの第2の端部が第2の接地平面の少なくとも一部に重なり、誘電体コアの第1の端部が第1の金属導波路の中に延び、誘電体コアの第2の端部が第2の金属導波路の中に延び、誘電体コアが回路ボードの誘電率より大きい誘電率を有する。
幾つかの特定の実装において、パッケージ基板は第1及び第2の側を有し、マイクロストリップラインはパッケージ基板の第1の側に形成され、ICはパッケージ基板の第1の側に固定され、第1の接地平面はパッケージ基板の第2の側に形成され、第1のパッケージ基板は、第1のバイアを更に含む。第1のバイアは、第3のマイクロストリップラインの第2の部分から第1のパッケージ基板の第2の側まで延び、第1のバイア及び第1のマイクロストリップラインに、少なくとも1つのはんだボールが固定され、第2のパッケージ基板は第2のバイアを更に含む。第2のバイアは、第4のマイクロストリップラインの第2の部分から第2のパッケージ基板の第2の側まで延び、第2のバイア及び第2のマイクロストリップラインに、少なくとも1つのはんだボールが固定される。
幾つかの特定の実装において、第1及び第2の金属導波路の各々が、第1のプレート、第2のプレート、及び複数の導波路バイアを更に含む。第1のプレートは、そのマイクロストリップラインと同一平面にあり、そのマイクロストリップラインに電気的に結合される。第2のプレートは、第1のプレートと同一平面にあり、第1のプレートに電気的に結合される。複数の導波路バイアは、第2のプレートとその回路ボード接地平面との間に延びる。
従来の相互接続システムの例の図である。
図1の相互接続システムの、切断線I−Iに沿った断面図である。
本発明に従った相互接続システムの例の図である。
図3の相互接続システムの、切断線II−IIに沿った、例示の断面図である。 図3の相互接続システムの、切断線III−IIIに沿った、例示の断面図である。
図3及び図4のマイクロストリップラインのための例示の配置を示す等角投影図である。
本発明に従った相互接続システムの例の図である。
図7の相互接続システムの、切断線IV−IVに沿った例示の断面図である。
本発明に従った相互接続システムの例の図である。
図9の相互接続システムの、切断線VI−VIに沿った例示の断面図である。
図7及び図9の相互接続システムの、それぞれ切断線V−V、及びVII−VIIに沿った例示の断面図である。
図10及び図11の金属導波路の等角投影図である。
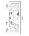
図3〜図6を参照すると、本発明に従った相互接続システム200−Aの例が示されている。この例示のシステム200−Aでは、回路アセンブリ206−A1及び206−A2が、PCB202−Aに固定された(即ち、接着された)誘電性導波路204−Aを介して互いに通信することができる。回路アセンブリ206−1及び206−2は、ボールグリッドアレイ(BGA)又ははんだボール(破線で示されている)を介してパッケージ基板304−A(例えば、PCBであり得る)に固定されたIC302−Aで形成され得る。パッケージ基板304−Aは、その後、BGA又ははんだボール(即ち、はんだボール301−A)を用いて、PCB202−Aに固定され得、それにより、IC302−Aが少なくとも1つのはんだボールに電気的に結合され得る。また、回路アセンブリ206−1及び206−2に付加的な機械的サポートを提供するように、パッケージ基板304−AとPCB202−Aとの間にアンダーフィル層303−Aも含まれ得る。パッケージ基板304−AとPCB202−Aは、例えば約0.25mm、離され得る。誘電性導波路システムの他の例は、同時継続中の2010年9月21日出願の米国特許出願番号12/887,270、発明の名称「高速デジタル相互接続及び方法」、及び同時継続中の2010年9月21日出願の米国特許出願番号12/887,323、発明の名称「サブミリメートル波通信リンクのためのチップと誘電性導波路間のインタフェース」に見出され得る。各同時継続中の出願は、あらゆる目的のための参照として本明細書に組み込まれる。
米国特許出願番号12/887,270 米国特許出願番号12/887,323
チップ間リンクを提供するために、パッケージ基板304−A及びPCB202−Aは、アンテナシステムを含む。この例(これは回路アセンブリ206−A1を示す)のためのアンテナシステムは、概して、マイクロストリップライン(パッケージ基板304−Aに統合された導電層)、接地平面306−A(パッケージ基板304−Aに統合された導電層)、及び接地平面308−A(パッケージ基板308−Aに統合された導電層)を含む。接地平面308−Aは、図示されるように及び例として、はんだボール301−Aを介して、接地平面306−Aに結合される(これにより、接地平面306−A及び308−Aが共に電気的に結合される)。この例で示すように、誘電性導波路204−Aは、回路アセンブリ206−A1及び206−A2と同じ側又は面に固定され、遷移領域314−Aの中に延びる。遷移領域314−Aは、コア310−Aの一部が、接地平面308−Aと、マイクロストリップライン208−A1の一部との間に位置するところである。典型的に、マイクロストリップライン208−A1(これは、パッケージ基板304−Aを介してIC302−Aに電気的に結合される)は、サブミリメートル(即ち、約0.5mm〜約1mm、又は約1mm未満の波長)又はテラヘルツ放射(即ち、約100GHz〜約1THz)を送信するように、寸法が定められる。この例の場合、RF又はワイヤレス信号を誘電性導波路204−Aに送信させるために、マイクロストリップライン208−A1は、遷移領域314−Aにおける境界により2つの部分を有する。マイクロストリップライン208−A1の1つの部分(これは、IC302−Aから遷移領域314−Aまで延びるように図示されている)は、接地平面306−A1に概して平行であり、そのため、電界がマイクロストリップライン208−A1とパッケージ基板304−A内の接地平面306−A1との間に延びる。マイクロストリップライン208−A1と接地平面306−A1との間の距離が相対的に短い(即ち、約0.2mm)ため、マイクロストリップライン208−A1のこの部分は、所望のインピーダンス(即ち、約50Ω)を達成するように狭くし得る。遷移領域では、マイクロストリップライン208−A1とその接地平面(接地平面308−A)との間の分離において、段階的増加(即ち、約0.25mm)がある。増加により、マイクロストリップライン208−A1のこの部分が、整合するインピーダンス(即ち、約50Ω)を有するようにより広くなる。これにより、RF信号が回路アセンブリ206−A1及び206−A2から直接的に伝播可能となる。遷移領域314−Aにおける境界が急であっても、IC302−A内で信号処理(即ち、事前歪み)を用いることによって、多くの問題(即ち、反射)が相殺又はフィルタされ得る。
マイクロストリップライン208−A1は、他の形状も有し得る。図5には、マイクロストリップライン208−A1のための例示の構成が示されている。この構成では、マイクロストリップライン208−A1は、2つの部分209及び211を有する。図示されるように、部分209は、IC302−Aに電気的に結合されたフィードラインとして機能し得、部分211は、部分209の幅からより広くなる。この幅を広くすることは、テーパにより達成され得るが、図示されるように、部分209に電気的に結合された部分211の端部が丸くされている。
更に効率を改善するために、誘電性導波路204−A及びPCB202−Aが適切に構成され得る。典型的に及びこの例で示されるように、コア310−A(例えば、ポリアミド、ポリエステル、Rogers CorporationのRO3006(商標)又はRO3010(商標)で形成され得、例えば、約0.5mmの高さを有し得る)は、コア310−Aの残部を実質的に囲むクラッディング312−Aを用いて、PCB202−A(例えば、Rogers CorporationのRO3003(商標)で形成され得る)に固定される。クラッディング312−A及びPCB202−Aはいずれも、コア310−Aより低い誘電率を有し、クラッディング312−Aは、PCB202−Aと同じ又は同程度の誘電率を有し得る。これにより、電界がコア310−Aに閉じ込められる。また、誘電性導波路204−Aは、アンテナシステムから出された放射の波長(即ち、サブミリメートル波長)に適応するように寸法が定められ得る。
或いは、図7〜図12に示すように、誘電性導波路312−B、Cは、PCB202−B、Cに統合され得る。これらの例では、チャネルがPCB202−B、C、にルーティングされ得、誘電性導波路204−B、Cは、チャネル内のPCB202−B、Cに固定され得る。図示されるように及びコア310−Aと同様に、コア310−B、Cは、遷移領域314−B、Cの中に延びる。また、PCB202−B、Cは、図11の例に示されるように、クラッディング312−B、Cとしても用いられ得るが、代わりに、クラッディング材料がチャネルに含まれてもよい。また、PCB202−B、Cの上に延びる(破線で示される)クラッディング312−B、Cの部分は省かれ得る。チャネルに固定されたコア310−B、Cの端部も、テーパされ得(例えば、図8に示すように)、又は「矩形」に(例えば、図10に示すように)され得る。テーパされる場合、各段は、例えば、約5ミリメートル毎の深度で増分され得る。
図7及び図8に、アンテナシステム及び遷移領域314−Bのための、1つの例示の構成(システム200−B)が示されている。回路アセンブリ206−B1(例えば)のためのアンテナシステムは概して、マイクロストリップライン208−B1(これは、パッケージ基板304−Bに位置し、IC302−Bに電気的に結合される)、及び接地平面306−B(これは、パッケージ基板304−B内に位置し、マイクロストリップライン208−B1の一部に概して平行であり、マイクロストリップライン208−B1の一部から離れている)で構成される。例えば、マイクロストリップライン208−B1の一部(これは、IC302−Bから遷移領域314−Bとの境界まで延びるように図示されている)と接地平面306−Bは、約0.2mm離され得る。接地平面308−B(これは、図示されるように及び例として、PCB202−Bに位置する)は、遷移領域314−B内のマイクロストリップライン208−B1の一部に平行であり、遷移領域314−B内のマイクロストリップライン208−B1の一部から離れている。マイクロストリップライン208−B1は、例えば、接地平面308−Bから約1mmの距離離され得る。この構成を有することによって、所望のインピーダンス(即ち、約50Ω)を提供するように、マイクロストリップライン208−B1の幅、及びマイクロストリップライン208−B1と接地平面308−Bとの間の距離、の寸法が定められ得る。典型的に、この例のためには、マイクロストリップライン208−B1の部分は、概して矩形であり、遷移領域における部分の幅が広い。例えば、これらの幅は、約50Ωの所望のインピーダンスを達成するための幅を有し得る。この例において示されるように、接地平面308−Bの1つの側から延びるバイア316があり、これにより、接地平面308−Bが(即ち、はんだボール301−Bを介して)接地平面306−Bに電気的に結合される。
図9及び図10には、アンテナシステム及び遷移領域314−Cのための、他の例示の構成(システム200−C)が示されている。回路アセンブリ206−C1(例えば)のためのアンテナシステムは概して、マイクロストリップライン208−C1(これは、パッケージ基板304−Cに位置し、IC302−Bに電気的に結合される)、マイクロストリップライン320−1(これはPCB202−Cに位置する)、接地平面306−C(これは、パッケージ基板304−C内に位置し、マイクロストリップライン208−C1の一部に概して平行である)、及びバイア318(これは、パッケージ基板304−Cの1つの側とマイクロストリップライン208−C1との間に延び、これにより、マイクロストリップライン208−C1が、はんだボール301−C”を介して、マイクロストリップライン320−1に電気的に結合される)で構成される。例えば、マイクロストリップライン208−C1の一部(これは、IC302−Cから、遷移領域314−Cとの境界まで延びるように示されている)と接地平面306−Cは、約0.2mm離され得る。接地平面308−B(これは、図示されるように及び例として、PCB202−Bに位置する)は、遷移領域314−C内のマイクロストリップライン208−C1の一部に平行であり、遷移領域314−C内のマイクロストリップライン208−C1の一部から離れている。マイクロストリップライン208−B1は、例えば、接地平面308−Bから、約1mmの距離離され得る。この構成を有することにより、所望のインピーダンス(即ち、約50Ω)を提供するように、マイクロストリップライン208−C1の幅、及びマイクロストリップライン208−B1と接地平面306−Cとの間の距離、の寸法が定められ得る。典型的に、この例では、マイクロストリップライン208−C1の1つの部分(図ではIC302−Cから遷移領域314−Cまで延びるように示されている)は、所望のインピーダンス(即ち、約50Ω)を提供するように寸法が定められた幅(即ち、約25μm)を有し、もう別の部分(図では遷移領域314−Cの境界からパッケージ基板304−Cのエッジまで延びるように示されている)は、遷移がマイクロストリップライン320−1(これも、この放射を搬送するように寸法が定められる)と接地平面308−Bとの間の領域になるように定められる。典型的に、302−Cから遷移領域314−Cまで延びるように示されているマイクロストリップライン208−C1の一部は、一般的に、遷移領域314−Cの境界からパッケージ基板304−Cのエッジまで延びるように示されているマイクロストリップライン208−C1の部分より幅広い。この例に示すように、接地平面308−Bの1つの側から延びるバイア316が存在し、これにより、接地平面308−Cが、(即ち、はんだボール301−Cを介して)接地平面306−Cに電気的に結合され得る。
遷移領域314−Cの一部として、中に誘電性導波路204−Cのコア310−Cが延びる金属導波路322がある。金属導波路322の例が図12に示される。誘電性導波路204−Cとの所望の結合を達成するために(システム200−Bのいずれかのための)、金属導波路322が、プレート402及び404、接地平面308−C、及びバイア408で形成され得る。この例に示すように、プレート404(これは、例えば、銅で形成され得、マイクロストリップライン320−1に電気的に結合される)は、狭い部分及びテーパされた部分を含み、プレート406(これは、例えば、銅で形成され得る)に概して平行である。プレート404の狭い部分の幅は、所望のインピーダンスを達成するように(例えば、システム200−Cのアンテナシステムからのインピーダンスに整合させるように)選択される。また、プレート402は概して、プレート404と同一平面にあり得、プレート404に電気的に結合され得る。また、バイア408は、この例では、プレート402及び404と接地平面308−Cが共に電気的に結合されるようにプレート402と接地平面308−Cとの間に延びるように示されている。また、誘電性導波路204−Cが金属導波路322の中に延び得るように、バイア408は離間される。更に、誘電性導波路204−Cの端部の形状は、遷移領域314−Cの特性に影響を与え得、この例では、誘電性導波路の端部(これは、金属導波路322の中に延びる)はテーパされる。しかしながら、他の形状も可能である。
当業者であれば、本発明の請求の範囲内で、多くの変更が行なわれ得ること、また他の多くの実施形態が可能であることが理解されるであろう。

Claims (19)

  1. 装置であって、
    回路ボード、
    チャネル、
    パッケージ基板、
    集積回路(IC)、
    金属導波路、及び
    誘電体コア、
    を含み、
    前記回路ボードが、第1の側、第2の側、第1の接地平面、及び第1のマイクロストリップラインを有し、前記第1のマイクロストリップラインが前記第1の接地平面に概して平行であり、
    前記チャネルが、前記回路ボードの前記第1の側に形成され、前記第1の接地平面が前記チャネルの少なくとも一部の下にあり、
    前記パッケージ基板が、前記回路ボードの前記第1の側に固定され、
    前記パッケージ基板が、
    前記第1の接地平面に電気的に結合された第2の接地平面と、
    前記第1及び第2の接地平面に実質的に平行である第2のマイクロストリップラインと、
    を含み、
    前記マイクロストリップラインが、第1の部分及び第2の部分を有し、
    前記第1の部分が、前記第2の接地平面の少なくとも一部に重なり、且つ、前記第2の接地平面から第1の距離離れ、前記第2のマイクロストリップラインの前記第1の部分が、或る波長を有する放射を伝播するためのインピーダンスを有するように寸法が定められ、
    前記第2の部分が、前記第1の接地平面の少なくとも一部に重なり、且つ、前記第1の接地平面から第2の距離離れ、前記第2の距離が前記第1の距離より大きく、前記第2のマイクロストリップラインの前記第2の部分が、前記波長を有する前記放射を伝播するための前記インピーダンスを有するように寸法が定められ、前記マイクロストリップラインの前記第2の部分が遷移領域内に位置し、前記第2のマイクロストリップラインの前記第2の部分が前記第1のマイクロストリップラインに電気的に結合され、
    前記集積回路(IC)が、前記パッケージ基板に固定され、前記第2のマイクロストリップラインの前記第1の部分に電気的に結合され、
    前記金属導波路が、前記チャネルに固定され、前記遷移領域に位置し、前記第1のマイクロストリップラインに電気的に結合され、
    前記誘電体コアが、前記第1の接地平面の少なくとも一部に重なり、前記金属導波路の中に延び、前記チャネルに固定される、
    装置。
  2. 請求項1に記載の装置であって、前記波長が約lmm以下である、装置。
  3. 請求項2に記載の装置であって、前記装置がクラッディングを更に含み、前記コアが第1の誘電率を有し、前記クラッディングが第2の誘電率を有し、前記第1の誘電率が前記第2の誘電率より大きい、装置。
  4. 請求項2に記載の装置であって、前記パッケージ基板が第1及び第2の側を有し、前記第2のマイクロストリップラインが前記パッケージ基板の前記第1の側上に形成され、前記ICが前記パッケージ基板の前記第1の側に固定され、前記第1の接地平面が前記パッケージ基板の前記第2の側に形成され、前記パッケージ基板が、前記第2のマイクロストリップラインの前記第2の部分から前記パッケージ基板の前記第2の側まで延びるバイアを更に含み、前記バイア及び前記第1のマイクロストリップラインに、少なくとも1つのはんだボールが固定される、装置。
  5. 請求項4に記載の装置であって、前記バイアが第1のバイアを更に含み、前記回路ボードが、前記第1の接地平面から前記回路ボードの前記第1の側まで延びる第2のバイアを更に含み、前記第2の接地平面及び前記第2のバイアに、少なくとも1つのはんだボールが固定される、装置。
  6. 請求項5に記載の装置であって、前記インピーダンスが約50Ωである装置。
  7. 請求項6に記載の装置であって、前記金属導波路が、
    前記第1のマイクロストリップラインと同一平面にあり、前記第1のマイクロストリップラインに電気的に結合された第1のプレート、
    前記第1のプレートと同一平面にあり、前記第1のプレートに電気的に結合された第2のプレート、及び、
    前記第2のプレートと前記第1の接地平面との間に延びる複数の導波路バイア、
    を更に含む、装置。
  8. 装置であって、
    回路ボード、
    チャネルネットワーク、
    複数のパッケージ基板、
    複数のIC、
    複数の金属導波路、及び
    誘電体コアネットワーク、
    を含み、
    前記回路ボードが、第1の側、第2の側、複数の回路ボード接地平面、及び複数の回路ボードマイクロストリップラインを有し、
    前記チャネルネットワークが前記回路ボードの前記第1の側に形成され、各回路ボード接地平面が前記チャネルネットワークの少なくとも一部の下にあり、
    前記複数のパッケージ基板の各パッケージ基板が前記回路ボードの前記第1の側に固定され、各々が、前記回路ボード接地平面の少なくとも1つ及び前記回路ボードマイクロストリップラインの少なくとも1つとコロケートされ(collocated)、各パッケージ基板が、パッケージ基板接地平面とパッケージ基板マイクロストリップラインとを含み、
    前記パッケージ基板接地平面が、その回路ボード接地平面に電気的に結合され、
    前記パッケージ基板マイクロストリップラインが、そのパッケージ基板接地平面及びその回路ボード接地平面に実質的に平行であり、
    前記パッケージ基板マイクロストリップラインが、第1の部分及び第2の部分を有し、
    前記第1の部分が、そのパッケージ基板接地平面の少なくとも一部に重なり、且つ、そのパッケージ基板接地平面から第1の距離離れ、前記パッケージ基板マイクロストリップラインの前記第1の部分が、或る波長を有する放射を伝播するためのインピーダンスを有するように寸法が定められ、
    前記第2の部分が、その回路ボード接地平面の少なくとも一部に重なり、且つ、その回路ボード接地平面から第2の距離離れ、前記第2の距離が前記第1の距離より大きく、前記パッケージ基板マイクロストリップラインの前記第2の部分が、前記波長を有する前記放射を伝播するための前記インピーダンスを有するように寸法が定められ、前記パッケージ基板マイクロストリップラインの前記第2の部分が遷移領域内に位置し、
    前記複数のICの各ICが、前記パッケージ基板の少なくとも1つに固定され、そのマイクロストリップラインの前記第1の部分に電気的に結合され、
    前記複数の金属導波路の各金属導波路が、前記チャネルネットワークに固定され、前記パッケージ基板の少なくとも1つのための前記遷移領域に位置し、前記回路ボードマイクロストリップラインの少なくとも1つに電気的に結合され、
    前記誘電体コアネットワークが、前記チャネルネットワークに固定され、且つ、複数の端部を有し、誘電導波路ネットワークからの各端部が、前記回路ボード接地平面の少なくとも1つのの少なくとも一部に重なり、その金属導波路内に延びる、
    装置。
  9. 請求項8に記載の装置であって、前記波長が約lmm以下である装置。
  10. 請求項9に記載の装置であって、前記誘電導波路ネットワークが、クラッディングを有する複数の誘電導波路を更に含み、前記コアが第1の誘電率を有し、前記クラッディングが第2の誘電率を有し、前記第1の誘電率が前記第2の誘電率より大きい、装置。
  11. 請求項9に記載の装置であって、各パッケージ基板が第1及び第2の側を有し、前記マイクロストリップラインが前記パッケージ基板の前記第1の側に形成され、前記ICが前記パッケージ基板の前記第1の側に固定され、前記パッケージ基板接地平面が前記パッケージ基板の前記第2の側に形成され、各パッケージ基板が、そのパッケージ基板マイクロストリップラインの前記第2の部分からそのパッケージ基板の前記第2の側まで延びるパッケージ基板バイアを更に含み、前記パッケージ基板バイア及びその回路ボードマイクロストリップラインに、少なくとも1つのはんだボールが固定される、装置。
  12. 請求項11に記載の装置であって、前記回路ボードが、複数の回路ボードバイアを更に含み、各バイアが、前記回路ボードの前記第1の側と前記回路ボード接地平面の少なくとも1つとの間に延び、少なくとも1つの回路ボードバイア及び少なくとも1つのパッケージ基板接地平面に、少なくとも1つのはんだボールが固定される、装置。
  13. 請求項12に記載の装置であって、前記インピーダンスが約50Ωである装置。
  14. 請求項13に記載の装置であって、各金属導波路が、
    第1のプレートであって、その回路ボードマイクロストリップラインと同一平面にあり、その回路ボードマイクロストリップラインに電気的に結合された前記第1のプレート、
    第2のプレートであって、前記第1のプレートと同一平面にあり、前記第1のプレートに電気的に結合された、前記第2のプレート、及び
    複数の導波路バイアであって、前記第2のプレートとその回路ボード接地平面との間に延びる前記複数の導波路バイア、
    を更に含む装置。
  15. 装置であって、
    回路ボード、
    チャネル、
    第1のパッケージ基板、
    第1のIC、
    第2のパッケージ基板、
    第2のIC、
    第1の金属導波路、
    第2の金属導波路、及び
    誘電体コア、
    を含み、
    前記回路ボードが、第1の側、第2の側、第1の接地平面、第2の接地平面、第1のマイクロストリップライン、及び第2のマイクロストリップラインを有し、前記第1及び第2のマイクロストリップラインが前記回路ボードの前記第1の側に形成され、前記第1のマイクロストリップラインが、前記第1の接地平面とコロケートされ、前記第1の接地平面に概して平行であり、前記第2のマイクロストリップラインが、前記第2の接地平面とコロケートされ、前記第2の接地平面に概して平行であり、
    前記チャネルが、前記回路ボードの前記第1の側に形成され、第1の端部及び第2の端部を有し、前記チャネルの前記第1の端部が前記第1の接地平面の少なくとも一部に重なり、前記チャネルの前記第2の端部が前記第2の接地平面の少なくとも一部に重なり、
    前記第1のパッケージ基板が前記回路ボードの前記第1の側に固定され、前記第1のパッケージ基板が、第3の接地平面及び第3のマイクロストリップラインを含み、
    前記第3の接地平面が前記第1の接地平面に電気的に結合され、
    前記第3のマイクロストリップラインが前記第1及び第3の接地平面に実質的に平行であり、
    前記第3のマイクロストリップラインが第1の部分及び第2の部分を有し、
    前記第1の部分が、前記第3の接地平面の少なくとも一部に重なり、且つ、前記第3の接地平面から第1の距離離れ、前記第3のマイクロストリップラインの前記第1の部分が、或る波長を有する放射を伝播するためのインピーダンスを有するように寸法が定められ、
    前記第2の部分が、前記第1の接地平面の少なくとも一部に重なり、且つ、前記第1の接地平面から第2の距離離れ、前記第2の距離が前記第1の距離より大きく、前記第3のマイクロストリップラインの前記第2の部分が、前記波長を有する前記放射を伝播するための前記インピーダンスを有するように寸法が定められ、前記第3のマイクロストリップラインの前記第2の部分が第1の遷移領域内に位置し、
    前記第1のICが、前記パッケージ基板に固定され、前記第3のマイクロストリップラインの前記第1の部分に電気的に結合され、
    前記第2のパッケージ基板が前記回路ボードの前記第1の側に固定され、前記第2のパッケージ基板が、第4の接地平面及び第4のマイクロストリップラインを含み、
    前記第4の接地平面が前記第2の接地平面に電気的に結合され、
    前記第4のマイクロストリップラインが、前記第2及び第4の接地平面に実質的に平行であり、
    前記第4のマイクロストリップラインが第1の部分及び第2の部分を有し、
    前記第4のマイクロストリップラインの前記第1の部分が、前記第4の接地平面の少なくとも一部に重なり、且つ、前記第4の接地平面から第3の距離離れ、前記第4のマイクロストリップラインの前記第1の部分が、前記波長を有する前記放射を伝播するための前記インピーダンスを有するように寸法が定められ、
    前記第4のマイクロストリップラインの前記第2の部分が、前記第2の接地平面の少なくとも一部に重なり、且つ、前記第2の接地平面から第4の距離離れ、前記第4の距離が前記第3の距離より大きく、前記第4のマイクロストリップラインの前記第2の部分が、前記波長を有する前記放射を伝播するための前記インピーダンスを有するように寸法が定められ、前記第2のマイクロストリップラインの前記第2の部分が第2の遷移領域内に位置し、
    前記第2のICが、前記パッケージ基板に固定され、前記第4のマイクロストリップラインの前記第1の部分に電気的に結合され、
    前記第1の金属導波路が、前記チャネルに固定され、前記第1の遷移領域に位置し、前記第1のマイクロストリップラインに電気的に結合され、
    前記第2の金属導波路が、前記チャネルに固定され、前記第2の遷移領域内に位置し、前記第2のマイクロストリップラインに電気的に結合され、
    前記誘電体コアが、第1及び第2の端部を備え、前記誘電体コアが前記チャネルに固定され、前記誘電体コアの前記第1の端部が前記第1の接地平面の少なくとも一部に重なり、前記誘電体コアの前記第2の端部が前記第2の接地平面の少なくとも一部に重なり、前記誘電体コアの前記第1の端部が前記第1の金属導波路の中に延び、前記誘電体コアの前記第2の端部が前記第2の金属導波路の中に延び、前記誘電体コアが、前記回路ボードの前記誘電率より大きい誘電率を有する、
    装置。
  16. 請求項15に記載の装置であって、前記波長が約lmm以下である装置。
  17. 請求項16に記載の装置であって、前記パッケージ基板が第1及び第2の側を有し、前記マイクロストリップラインが前記パッケージ基板の前記第1の側に形成され、前記ICが前記パッケージ基板の前記第1の側に固定され、前記第1の接地平面が前記パッケージ基板の前記第2の側に形成され、前記第1のパッケージ基板が、前記第3のマイクロストリップラインの前記第2の部分から前記第1のパッケージ基板の前記第2の側まで延びる第1のバイアを更に含み、前記第1のバイア及び前記第1のマイクロストリップラインに少なくとも1つのはんだボールが固定され、前記第2のパッケージ基板が、前記第4のマイクロストリップラインの前記第2の部分から前記第2のパッケージ基板の前記第2の側まで延びる第2のバイアを更に含み、前記第2のバイア及び前記第2のマイクロストリップラインに少なくとも1つのはんだボールが固定される、装置。
  18. 請求項17に記載の装置であって、前記インピーダンスが約50Ωである装置。
  19. 請求項18に記載の装置であって、前記第1及び第2の金属導波路の各々が、
    第1のプレートであって、そのマイクロストリップラインと同一平面にあり、そのマイクロストリップラインに電気的に結合された前記第1のプレート、
    前記第1のプレートと同一平面にあり、前記第1のプレートに電気的に結合された第2のプレート、及び
    前記第2のプレートとその回路ボード接地平面との間に延びる複数の導波路バイア、
    を更に含む装置。
JP2015504734A 2012-04-04 2013-04-04 埋込誘電体及び金属導波路を用いるチップ間通信 Pending JP2015515213A (ja)

Applications Claiming Priority (3)

Application Number Priority Date Filing Date Title
US13/439,646 US20130265734A1 (en) 2012-04-04 2012-04-04 Interchip communication using embedded dielectric and metal waveguides
US13/439,646 2012-04-04
PCT/US2013/035322 WO2013152226A1 (en) 2012-04-04 2013-04-04 Interchip communication using embedded dielectric and metal waveguides

Publications (1)

Publication Number Publication Date
JP2015515213A true JP2015515213A (ja) 2015-05-21

Family

ID=49292154

Family Applications (1)

Application Number Title Priority Date Filing Date
JP2015504734A Pending JP2015515213A (ja) 2012-04-04 2013-04-04 埋込誘電体及び金属導波路を用いるチップ間通信

Country Status (4)

Country Link
US (1) US20130265734A1 (ja)
JP (1) JP2015515213A (ja)
CN (1) CN104220910B (ja)
WO (1) WO2013152226A1 (ja)

Cited By (1)

* Cited by examiner, † Cited by third party
Publication number Priority date Publication date Assignee Title
US10199335B2 (en) 2016-03-10 2019-02-05 Fujitsu Limited Electronic device including coupling structure along with waveguide, and electronic equipment

Families Citing this family (16)

* Cited by examiner, † Cited by third party
Publication number Priority date Publication date Assignee Title
US20130265733A1 (en) * 2012-04-04 2013-10-10 Texas Instruments Incorporated Interchip communication using an embedded dielectric waveguide
US9405064B2 (en) * 2012-04-04 2016-08-02 Texas Instruments Incorporated Microstrip line of different widths, ground planes of different distances
US9601819B2 (en) * 2013-02-27 2017-03-21 Texas Instruments Incorporated Dielectric waveguide with extending connector and affixed deformable material
US9219296B2 (en) * 2013-03-19 2015-12-22 Texas Instruments Incorporated Coupler to launch electromagnetic signal from microstrip to dielectric waveguide
US9515368B2 (en) 2014-03-11 2016-12-06 Nxp B.V. Transmission line interconnect
US9715131B2 (en) 2014-09-11 2017-07-25 Taiwan Semiconductor Manufacturing Co., Ltd. Integrated fan-out package including dielectric waveguide
CN104767103B (zh) 2015-03-30 2017-12-19 青岛海信宽带多媒体技术有限公司 一种激光器用连接结构及激光器组件
CN104836619B (zh) 2015-03-30 2017-08-29 青岛海信宽带多媒体技术有限公司 一种光器件
US10319689B2 (en) * 2015-12-01 2019-06-11 Nxp Usa, Inc. Antenna assembly for wafer level packaging
DE102016102109A1 (de) * 2016-01-29 2017-08-03 Taiwan Semiconductor Manufacturing Company, Ltd. Integriertes fan-out-gehäuse mit dielektrischem wellenleiter
WO2018236336A1 (en) * 2017-06-19 2018-12-27 Intel Corporation RF WAVEGUIDES IN A HOUSING AS INTERCONNECTIONS BETWEEN BANDWIDTH OF BAND AND METHODS OF USING THE SAME
KR102678311B1 (ko) * 2018-08-30 2024-06-25 삼성전자주식회사 패키지 볼을 갖는 반도체 패키지를 포함하는 전자 소자
DE102019101276A1 (de) * 2019-01-18 2020-07-23 Rosenberger Hochfrequenztechnik Gmbh & Co. Kg Wellenleiteranordnung, Wellenleiterübergang und Verwendung einer Wellenleiteranordnung
US11581272B2 (en) 2019-03-22 2023-02-14 Intel Corporation Contactless high-frequency interconnect
CN113078431B (zh) * 2021-03-26 2022-03-15 电子科技大学 一种宽带高平坦度太赫兹片间互连结构
CN115308850B (zh) * 2021-05-08 2024-10-15 鹏鼎控股(深圳)股份有限公司 光电复合电路板以及光电复合电路板的制作方法

Family Cites Families (17)

* Cited by examiner, † Cited by third party
Publication number Priority date Publication date Assignee Title
US3932823A (en) * 1975-04-23 1976-01-13 The United States Of America As Represented By The Secretary Of The Navy Microstrip to waveguide adapter
US5757989A (en) * 1992-09-10 1998-05-26 Fujitsu Limited Optical circuit system capable of producing optical signal having a small fluctuation and components of same
JPH09289404A (ja) * 1996-04-24 1997-11-04 Honda Motor Co Ltd リボンとボンディングワイヤとマイクロ波回路用パッケージ
US6175287B1 (en) * 1997-05-28 2001-01-16 Raytheon Company Direct backside interconnect for multiple chip assemblies
JP3209183B2 (ja) * 1998-07-08 2001-09-17 日本電気株式会社 高周波信号用集積回路パッケージ及びその製造方法
JP4540275B2 (ja) * 2000-12-22 2010-09-08 イビデン株式会社 Icチップ実装用基板、および、icチップ実装用基板の製造方法
US20030057544A1 (en) * 2001-09-13 2003-03-27 Nathan Richard J. Integrated assembly protocol
US6646526B2 (en) * 2002-03-14 2003-11-11 M/A-Com, Inc. Surface mountable microwave filter configuration and method of fabricating same
JP2004153367A (ja) * 2002-10-29 2004-05-27 Tdk Corp 高周波モジュール、ならびにモード変換構造および方法
US7327022B2 (en) * 2002-12-30 2008-02-05 General Electric Company Assembly, contact and coupling interconnection for optoelectronics
US7276988B2 (en) * 2004-06-30 2007-10-02 Endwave Corporation Multi-substrate microstrip to waveguide transition
WO2010013819A1 (ja) * 2008-07-31 2010-02-04 京セラ株式会社 整合回路、配線基板、整合回路を備える送信器、受信器、送受信器およびレーダ装置
KR101225038B1 (ko) * 2009-06-16 2013-01-23 전북대학교산학협력단 마이크로스트립라인을 이용한 태그 안테나 및 그 제작방법, 알에프아이디 태그
US8019187B1 (en) * 2009-08-17 2011-09-13 Banpil Photonics, Inc. Super high-speed chip to chip interconnects
JP5412372B2 (ja) * 2010-04-30 2014-02-12 株式会社フジクラ 半導体実装装置
US9405064B2 (en) * 2012-04-04 2016-08-02 Texas Instruments Incorporated Microstrip line of different widths, ground planes of different distances
US20130265733A1 (en) * 2012-04-04 2013-10-10 Texas Instruments Incorporated Interchip communication using an embedded dielectric waveguide

Cited By (1)

* Cited by examiner, † Cited by third party
Publication number Priority date Publication date Assignee Title
US10199335B2 (en) 2016-03-10 2019-02-05 Fujitsu Limited Electronic device including coupling structure along with waveguide, and electronic equipment

Also Published As

Publication number Publication date
WO2013152226A1 (en) 2013-10-10
US20130265734A1 (en) 2013-10-10
CN104220910B (zh) 2017-11-28
CN104220910A (zh) 2014-12-17

Similar Documents

Publication Publication Date Title
JP6427626B2 (ja) 誘電性導波路を用いたチップ間通信
CN104204878B (zh) 通过电介质波导在集成电路之间进行通信的装置
JP2015515213A (ja) 埋込誘電体及び金属導波路を用いるチップ間通信
JP5580994B2 (ja) 光モジュール
KR101512816B1 (ko) 플렉시블 인쇄회로기판 및 이를 포함하는 광통신 모듈
US8989531B2 (en) Optical-electrical wiring board and optical module
US10103418B2 (en) First EM-tunnel embedded in a first PCB and free space coupled to a second EM-tunnel embedded in a second PCB
CN111308620B (zh) 一种光模块
US10879575B2 (en) Embedded filtering in PCB integrated ultra high speed dielectric waveguides using photonic band gap structures
US10622695B2 (en) Multi-width waveguide including first and second waveguide regions of differing widths and heights for providing impedance matching to an integrated circuit
US8861917B2 (en) Opto-electric circuit board including metal-slotted optical waveguide and opto-electric simultaneous communication system
CN115236808B (zh) 一种电路板和光模块
CN111954954A (zh) 用于联接波导和基板的连接器
JP2007207803A (ja) 光送信モジュール
JP7769265B2 (ja) 光モジュール
JP5855956B2 (ja) 光配線基板および光配線モジュール
CN117434659A (zh) 光模块结构
Kim et al. 12-Channel optical transmitter on an organic substrate for optical interconnections