JP2015505995A - 波長を選択的に切り替える方法および装置 - Google Patents

波長を選択的に切り替える方法および装置 Download PDF

Info

Publication number
JP2015505995A
JP2015505995A JP2014547708A JP2014547708A JP2015505995A JP 2015505995 A JP2015505995 A JP 2015505995A JP 2014547708 A JP2014547708 A JP 2014547708A JP 2014547708 A JP2014547708 A JP 2014547708A JP 2015505995 A JP2015505995 A JP 2015505995A
Authority
JP
Japan
Prior art keywords
cell
liquid crystal
optical switch
spg
crystal cell
Prior art date
Legal status (The legal status is an assumption and is not a legal conclusion. Google has not performed a legal analysis and makes no representation as to the accuracy of the status listed.)
Granted
Application number
JP2014547708A
Other languages
English (en)
Other versions
JP6027628B2 (ja
Inventor
マオ,チョンチャン
リ,ミンチュン
チェン,ボ
ファン,ヤン
Current Assignee (The listed assignees may be inaccurate. Google has not performed a legal analysis and makes no representation or warranty as to the accuracy of the list.)
Huawei Technologies Co Ltd
Original Assignee
Huawei Technologies Co Ltd
Priority date (The priority date is an assumption and is not a legal conclusion. Google has not performed a legal analysis and makes no representation as to the accuracy of the date listed.)
Filing date
Publication date
Application filed by Huawei Technologies Co Ltd filed Critical Huawei Technologies Co Ltd
Publication of JP2015505995A publication Critical patent/JP2015505995A/ja
Application granted granted Critical
Publication of JP6027628B2 publication Critical patent/JP6027628B2/ja
Active legal-status Critical Current
Anticipated expiration legal-status Critical

Links

Images

Classifications

    • GPHYSICS
    • G02OPTICS
    • G02FOPTICAL DEVICES OR ARRANGEMENTS FOR THE CONTROL OF LIGHT BY MODIFICATION OF THE OPTICAL PROPERTIES OF THE MEDIA OF THE ELEMENTS INVOLVED THEREIN; NON-LINEAR OPTICS; FREQUENCY-CHANGING OF LIGHT; OPTICAL LOGIC ELEMENTS; OPTICAL ANALOGUE/DIGITAL CONVERTERS
    • G02F1/00Devices or arrangements for the control of the intensity, colour, phase, polarisation or direction of light arriving from an independent light source, e.g. switching, gating or modulating; Non-linear optics
    • G02F1/29Devices or arrangements for the control of the intensity, colour, phase, polarisation or direction of light arriving from an independent light source, e.g. switching, gating or modulating; Non-linear optics for the control of the position or the direction of light beams, i.e. deflection
    • G02F1/31Digital deflection, i.e. optical switching
    • GPHYSICS
    • G02OPTICS
    • G02BOPTICAL ELEMENTS, SYSTEMS OR APPARATUS
    • G02B17/00Systems with reflecting surfaces, with or without refracting elements
    • G02B17/08Catadioptric systems
    • G02B17/0864Catadioptric systems having non-imaging properties
    • GPHYSICS
    • G02OPTICS
    • G02BOPTICAL ELEMENTS, SYSTEMS OR APPARATUS
    • G02B27/00Optical systems or apparatus not provided for by any of the groups G02B1/00 - G02B26/00, G02B30/00
    • G02B27/28Optical systems or apparatus not provided for by any of the groups G02B1/00 - G02B26/00, G02B30/00 for polarising
    • G02B27/286Optical systems or apparatus not provided for by any of the groups G02B1/00 - G02B26/00, G02B30/00 for polarising for controlling or changing the state of polarisation, e.g. transforming one polarisation state into another
    • GPHYSICS
    • G02OPTICS
    • G02BOPTICAL ELEMENTS, SYSTEMS OR APPARATUS
    • G02B6/00Light guides; Structural details of arrangements comprising light guides and other optical elements, e.g. couplings
    • G02B6/24Coupling light guides
    • G02B6/26Optical coupling means
    • G02B6/28Optical coupling means having data bus means, i.e. plural waveguides interconnected and providing an inherently bidirectional system by mixing and splitting signals
    • G02B6/293Optical coupling means having data bus means, i.e. plural waveguides interconnected and providing an inherently bidirectional system by mixing and splitting signals with wavelength selective means
    • G02B6/29379Optical coupling means having data bus means, i.e. plural waveguides interconnected and providing an inherently bidirectional system by mixing and splitting signals with wavelength selective means characterised by the function or use of the complete device
    • G02B6/2938Optical coupling means having data bus means, i.e. plural waveguides interconnected and providing an inherently bidirectional system by mixing and splitting signals with wavelength selective means characterised by the function or use of the complete device for multiplexing or demultiplexing, i.e. combining or separating wavelengths, e.g. 1xN, NxM
    • G02B6/29382Optical coupling means having data bus means, i.e. plural waveguides interconnected and providing an inherently bidirectional system by mixing and splitting signals with wavelength selective means characterised by the function or use of the complete device for multiplexing or demultiplexing, i.e. combining or separating wavelengths, e.g. 1xN, NxM including at least adding or dropping a signal, i.e. passing the majority of signals
    • G02B6/29383Adding and dropping
    • GPHYSICS
    • G02OPTICS
    • G02BOPTICAL ELEMENTS, SYSTEMS OR APPARATUS
    • G02B6/00Light guides; Structural details of arrangements comprising light guides and other optical elements, e.g. couplings
    • G02B6/24Coupling light guides
    • G02B6/26Optical coupling means
    • G02B6/35Optical coupling means having switching means
    • G02B6/354Switching arrangements, i.e. number of input/output ports and interconnection types
    • G02B6/356Switching arrangements, i.e. number of input/output ports and interconnection types in an optical cross-connect device, e.g. routing and switching aspects of interconnecting different paths propagating different wavelengths to (re)configure the various input and output links
    • GPHYSICS
    • G02OPTICS
    • G02BOPTICAL ELEMENTS, SYSTEMS OR APPARATUS
    • G02B6/00Light guides; Structural details of arrangements comprising light guides and other optical elements, e.g. couplings
    • G02B6/24Coupling light guides
    • G02B6/26Optical coupling means
    • G02B6/35Optical coupling means having switching means
    • G02B6/3594Characterised by additional functional means, e.g. means for variably attenuating or branching or means for switching differently polarized beams
    • GPHYSICS
    • G02OPTICS
    • G02FOPTICAL DEVICES OR ARRANGEMENTS FOR THE CONTROL OF LIGHT BY MODIFICATION OF THE OPTICAL PROPERTIES OF THE MEDIA OF THE ELEMENTS INVOLVED THEREIN; NON-LINEAR OPTICS; FREQUENCY-CHANGING OF LIGHT; OPTICAL LOGIC ELEMENTS; OPTICAL ANALOGUE/DIGITAL CONVERTERS
    • G02F1/00Devices or arrangements for the control of the intensity, colour, phase, polarisation or direction of light arriving from an independent light source, e.g. switching, gating or modulating; Non-linear optics
    • G02F1/01Devices or arrangements for the control of the intensity, colour, phase, polarisation or direction of light arriving from an independent light source, e.g. switching, gating or modulating; Non-linear optics for the control of the intensity, phase, polarisation or colour 
    • G02F1/0136Devices or arrangements for the control of the intensity, colour, phase, polarisation or direction of light arriving from an independent light source, e.g. switching, gating or modulating; Non-linear optics for the control of the intensity, phase, polarisation or colour  for the control of polarisation, e.g. state of polarisation [SOP] control, polarisation scrambling, TE-TM mode conversion or separation
    • GPHYSICS
    • G02OPTICS
    • G02FOPTICAL DEVICES OR ARRANGEMENTS FOR THE CONTROL OF LIGHT BY MODIFICATION OF THE OPTICAL PROPERTIES OF THE MEDIA OF THE ELEMENTS INVOLVED THEREIN; NON-LINEAR OPTICS; FREQUENCY-CHANGING OF LIGHT; OPTICAL LOGIC ELEMENTS; OPTICAL ANALOGUE/DIGITAL CONVERTERS
    • G02F1/00Devices or arrangements for the control of the intensity, colour, phase, polarisation or direction of light arriving from an independent light source, e.g. switching, gating or modulating; Non-linear optics
    • G02F1/01Devices or arrangements for the control of the intensity, colour, phase, polarisation or direction of light arriving from an independent light source, e.g. switching, gating or modulating; Non-linear optics for the control of the intensity, phase, polarisation or colour 
    • G02F1/13Devices or arrangements for the control of the intensity, colour, phase, polarisation or direction of light arriving from an independent light source, e.g. switching, gating or modulating; Non-linear optics for the control of the intensity, phase, polarisation or colour  based on liquid crystals, e.g. single liquid crystal display cells
    • G02F1/133Constructional arrangements; Operation of liquid crystal cells; Circuit arrangements
    • G02F1/1333Constructional arrangements; Manufacturing methods
    • G02F1/1335Structural association of cells with optical devices, e.g. polarisers or reflectors
    • G02F1/133528Polarisers
    • GPHYSICS
    • G02OPTICS
    • G02FOPTICAL DEVICES OR ARRANGEMENTS FOR THE CONTROL OF LIGHT BY MODIFICATION OF THE OPTICAL PROPERTIES OF THE MEDIA OF THE ELEMENTS INVOLVED THEREIN; NON-LINEAR OPTICS; FREQUENCY-CHANGING OF LIGHT; OPTICAL LOGIC ELEMENTS; OPTICAL ANALOGUE/DIGITAL CONVERTERS
    • G02F1/00Devices or arrangements for the control of the intensity, colour, phase, polarisation or direction of light arriving from an independent light source, e.g. switching, gating or modulating; Non-linear optics
    • G02F1/01Devices or arrangements for the control of the intensity, colour, phase, polarisation or direction of light arriving from an independent light source, e.g. switching, gating or modulating; Non-linear optics for the control of the intensity, phase, polarisation or colour 
    • G02F1/13Devices or arrangements for the control of the intensity, colour, phase, polarisation or direction of light arriving from an independent light source, e.g. switching, gating or modulating; Non-linear optics for the control of the intensity, phase, polarisation or colour  based on liquid crystals, e.g. single liquid crystal display cells
    • G02F1/133Constructional arrangements; Operation of liquid crystal cells; Circuit arrangements
    • G02F1/1333Constructional arrangements; Manufacturing methods
    • G02F1/1337Surface-induced orientation of the liquid crystal molecules, e.g. by alignment layers
    • G02F1/13378Surface-induced orientation of the liquid crystal molecules, e.g. by alignment layers by treatment of the surface, e.g. embossing, rubbing or light irradiation
    • G02F1/133788Surface-induced orientation of the liquid crystal molecules, e.g. by alignment layers by treatment of the surface, e.g. embossing, rubbing or light irradiation by light irradiation, e.g. linearly polarised light photo-polymerisation
    • GPHYSICS
    • G02OPTICS
    • G02FOPTICAL DEVICES OR ARRANGEMENTS FOR THE CONTROL OF LIGHT BY MODIFICATION OF THE OPTICAL PROPERTIES OF THE MEDIA OF THE ELEMENTS INVOLVED THEREIN; NON-LINEAR OPTICS; FREQUENCY-CHANGING OF LIGHT; OPTICAL LOGIC ELEMENTS; OPTICAL ANALOGUE/DIGITAL CONVERTERS
    • G02F1/00Devices or arrangements for the control of the intensity, colour, phase, polarisation or direction of light arriving from an independent light source, e.g. switching, gating or modulating; Non-linear optics
    • G02F1/01Devices or arrangements for the control of the intensity, colour, phase, polarisation or direction of light arriving from an independent light source, e.g. switching, gating or modulating; Non-linear optics for the control of the intensity, phase, polarisation or colour 
    • G02F1/13Devices or arrangements for the control of the intensity, colour, phase, polarisation or direction of light arriving from an independent light source, e.g. switching, gating or modulating; Non-linear optics for the control of the intensity, phase, polarisation or colour  based on liquid crystals, e.g. single liquid crystal display cells
    • G02F1/133Constructional arrangements; Operation of liquid crystal cells; Circuit arrangements
    • G02F1/1333Constructional arrangements; Manufacturing methods
    • G02F1/1347Arrangement of liquid crystal layers or cells in which the final condition of one light beam is achieved by the addition of the effects of two or more layers or cells
    • G02F1/13471Arrangement of liquid crystal layers or cells in which the final condition of one light beam is achieved by the addition of the effects of two or more layers or cells in which all the liquid crystal cells or layers remain transparent, e.g. FLC, ECB, DAP, HAN, TN, STN, SBE-LC cells
    • GPHYSICS
    • G02OPTICS
    • G02FOPTICAL DEVICES OR ARRANGEMENTS FOR THE CONTROL OF LIGHT BY MODIFICATION OF THE OPTICAL PROPERTIES OF THE MEDIA OF THE ELEMENTS INVOLVED THEREIN; NON-LINEAR OPTICS; FREQUENCY-CHANGING OF LIGHT; OPTICAL LOGIC ELEMENTS; OPTICAL ANALOGUE/DIGITAL CONVERTERS
    • G02F1/00Devices or arrangements for the control of the intensity, colour, phase, polarisation or direction of light arriving from an independent light source, e.g. switching, gating or modulating; Non-linear optics
    • G02F1/29Devices or arrangements for the control of the intensity, colour, phase, polarisation or direction of light arriving from an independent light source, e.g. switching, gating or modulating; Non-linear optics for the control of the position or the direction of light beams, i.e. deflection
    • G02F1/292Devices or arrangements for the control of the intensity, colour, phase, polarisation or direction of light arriving from an independent light source, e.g. switching, gating or modulating; Non-linear optics for the control of the position or the direction of light beams, i.e. deflection by controlled diffraction or phased-array beam steering
    • HELECTRICITY
    • H04ELECTRIC COMMUNICATION TECHNIQUE
    • H04QSELECTING
    • H04Q3/00Selecting arrangements
    • GPHYSICS
    • G02OPTICS
    • G02BOPTICAL ELEMENTS, SYSTEMS OR APPARATUS
    • G02B26/00Optical devices or arrangements for the control of light using movable or deformable optical elements
    • G02B26/08Optical devices or arrangements for the control of light using movable or deformable optical elements for controlling the direction of light
    • G02B26/0808Optical devices or arrangements for the control of light using movable or deformable optical elements for controlling the direction of light by means of one or more diffracting elements
    • GPHYSICS
    • G02OPTICS
    • G02BOPTICAL ELEMENTS, SYSTEMS OR APPARATUS
    • G02B27/00Optical systems or apparatus not provided for by any of the groups G02B1/00 - G02B26/00, G02B30/00
    • G02B27/28Optical systems or apparatus not provided for by any of the groups G02B1/00 - G02B26/00, G02B30/00 for polarising
    • G02B27/283Optical systems or apparatus not provided for by any of the groups G02B1/00 - G02B26/00, G02B30/00 for polarising used for beam splitting or combining
    • G02B27/285Optical systems or apparatus not provided for by any of the groups G02B1/00 - G02B26/00, G02B30/00 for polarising used for beam splitting or combining comprising arrays of elements, e.g. microprisms
    • GPHYSICS
    • G02OPTICS
    • G02BOPTICAL ELEMENTS, SYSTEMS OR APPARATUS
    • G02B3/00Simple or compound lenses
    • G02B3/0006Arrays
    • G02B3/0037Arrays characterized by the distribution or form of lenses
    • G02B3/005Arrays characterized by the distribution or form of lenses arranged along a single direction only, e.g. lenticular sheets
    • GPHYSICS
    • G02OPTICS
    • G02BOPTICAL ELEMENTS, SYSTEMS OR APPARATUS
    • G02B5/00Optical elements other than lenses
    • G02B5/12Reflex reflectors
    • GPHYSICS
    • G02OPTICS
    • G02FOPTICAL DEVICES OR ARRANGEMENTS FOR THE CONTROL OF LIGHT BY MODIFICATION OF THE OPTICAL PROPERTIES OF THE MEDIA OF THE ELEMENTS INVOLVED THEREIN; NON-LINEAR OPTICS; FREQUENCY-CHANGING OF LIGHT; OPTICAL LOGIC ELEMENTS; OPTICAL ANALOGUE/DIGITAL CONVERTERS
    • G02F1/00Devices or arrangements for the control of the intensity, colour, phase, polarisation or direction of light arriving from an independent light source, e.g. switching, gating or modulating; Non-linear optics
    • G02F1/01Devices or arrangements for the control of the intensity, colour, phase, polarisation or direction of light arriving from an independent light source, e.g. switching, gating or modulating; Non-linear optics for the control of the intensity, phase, polarisation or colour 
    • G02F1/13Devices or arrangements for the control of the intensity, colour, phase, polarisation or direction of light arriving from an independent light source, e.g. switching, gating or modulating; Non-linear optics for the control of the intensity, phase, polarisation or colour  based on liquid crystals, e.g. single liquid crystal display cells
    • G02F1/133Constructional arrangements; Operation of liquid crystal cells; Circuit arrangements
    • G02F1/1333Constructional arrangements; Manufacturing methods
    • G02F1/1335Structural association of cells with optical devices, e.g. polarisers or reflectors
    • G02F1/133528Polarisers
    • G02F1/133538Polarisers with spatial distribution of the polarisation direction
    • GPHYSICS
    • G02OPTICS
    • G02FOPTICAL DEVICES OR ARRANGEMENTS FOR THE CONTROL OF LIGHT BY MODIFICATION OF THE OPTICAL PROPERTIES OF THE MEDIA OF THE ELEMENTS INVOLVED THEREIN; NON-LINEAR OPTICS; FREQUENCY-CHANGING OF LIGHT; OPTICAL LOGIC ELEMENTS; OPTICAL ANALOGUE/DIGITAL CONVERTERS
    • G02F1/00Devices or arrangements for the control of the intensity, colour, phase, polarisation or direction of light arriving from an independent light source, e.g. switching, gating or modulating; Non-linear optics
    • G02F1/01Devices or arrangements for the control of the intensity, colour, phase, polarisation or direction of light arriving from an independent light source, e.g. switching, gating or modulating; Non-linear optics for the control of the intensity, phase, polarisation or colour 
    • G02F1/13Devices or arrangements for the control of the intensity, colour, phase, polarisation or direction of light arriving from an independent light source, e.g. switching, gating or modulating; Non-linear optics for the control of the intensity, phase, polarisation or colour  based on liquid crystals, e.g. single liquid crystal display cells
    • G02F1/133Constructional arrangements; Operation of liquid crystal cells; Circuit arrangements
    • G02F1/1333Constructional arrangements; Manufacturing methods
    • G02F1/1335Structural association of cells with optical devices, e.g. polarisers or reflectors
    • G02F1/133528Polarisers
    • G02F1/133541Circular polarisers
    • GPHYSICS
    • G02OPTICS
    • G02FOPTICAL DEVICES OR ARRANGEMENTS FOR THE CONTROL OF LIGHT BY MODIFICATION OF THE OPTICAL PROPERTIES OF THE MEDIA OF THE ELEMENTS INVOLVED THEREIN; NON-LINEAR OPTICS; FREQUENCY-CHANGING OF LIGHT; OPTICAL LOGIC ELEMENTS; OPTICAL ANALOGUE/DIGITAL CONVERTERS
    • G02F1/00Devices or arrangements for the control of the intensity, colour, phase, polarisation or direction of light arriving from an independent light source, e.g. switching, gating or modulating; Non-linear optics
    • G02F1/01Devices or arrangements for the control of the intensity, colour, phase, polarisation or direction of light arriving from an independent light source, e.g. switching, gating or modulating; Non-linear optics for the control of the intensity, phase, polarisation or colour 
    • G02F1/13Devices or arrangements for the control of the intensity, colour, phase, polarisation or direction of light arriving from an independent light source, e.g. switching, gating or modulating; Non-linear optics for the control of the intensity, phase, polarisation or colour  based on liquid crystals, e.g. single liquid crystal display cells
    • G02F1/133Constructional arrangements; Operation of liquid crystal cells; Circuit arrangements
    • G02F1/1333Constructional arrangements; Manufacturing methods
    • G02F1/1335Structural association of cells with optical devices, e.g. polarisers or reflectors
    • G02F1/133528Polarisers
    • G02F1/13355Polarising beam splitters [PBS]
    • GPHYSICS
    • G02OPTICS
    • G02FOPTICAL DEVICES OR ARRANGEMENTS FOR THE CONTROL OF LIGHT BY MODIFICATION OF THE OPTICAL PROPERTIES OF THE MEDIA OF THE ELEMENTS INVOLVED THEREIN; NON-LINEAR OPTICS; FREQUENCY-CHANGING OF LIGHT; OPTICAL LOGIC ELEMENTS; OPTICAL ANALOGUE/DIGITAL CONVERTERS
    • G02F1/00Devices or arrangements for the control of the intensity, colour, phase, polarisation or direction of light arriving from an independent light source, e.g. switching, gating or modulating; Non-linear optics
    • G02F1/01Devices or arrangements for the control of the intensity, colour, phase, polarisation or direction of light arriving from an independent light source, e.g. switching, gating or modulating; Non-linear optics for the control of the intensity, phase, polarisation or colour 
    • G02F1/13Devices or arrangements for the control of the intensity, colour, phase, polarisation or direction of light arriving from an independent light source, e.g. switching, gating or modulating; Non-linear optics for the control of the intensity, phase, polarisation or colour  based on liquid crystals, e.g. single liquid crystal display cells
    • G02F1/133Constructional arrangements; Operation of liquid crystal cells; Circuit arrangements
    • G02F1/1333Constructional arrangements; Manufacturing methods
    • G02F1/1337Surface-induced orientation of the liquid crystal molecules, e.g. by alignment layers
    • G02F1/133753Surface-induced orientation of the liquid crystal molecules, e.g. by alignment layers with different alignment orientations or pretilt angles on a same surface, e.g. for grey scale or improved viewing angle
    • G02F1/133757Surface-induced orientation of the liquid crystal molecules, e.g. by alignment layers with different alignment orientations or pretilt angles on a same surface, e.g. for grey scale or improved viewing angle with different alignment orientations
    • GPHYSICS
    • G02OPTICS
    • G02FOPTICAL DEVICES OR ARRANGEMENTS FOR THE CONTROL OF LIGHT BY MODIFICATION OF THE OPTICAL PROPERTIES OF THE MEDIA OF THE ELEMENTS INVOLVED THEREIN; NON-LINEAR OPTICS; FREQUENCY-CHANGING OF LIGHT; OPTICAL LOGIC ELEMENTS; OPTICAL ANALOGUE/DIGITAL CONVERTERS
    • G02F1/00Devices or arrangements for the control of the intensity, colour, phase, polarisation or direction of light arriving from an independent light source, e.g. switching, gating or modulating; Non-linear optics
    • G02F1/29Devices or arrangements for the control of the intensity, colour, phase, polarisation or direction of light arriving from an independent light source, e.g. switching, gating or modulating; Non-linear optics for the control of the position or the direction of light beams, i.e. deflection
    • G02F1/31Digital deflection, i.e. optical switching
    • G02F1/311Cascade arrangement of plural switches
    • GPHYSICS
    • G02OPTICS
    • G02FOPTICAL DEVICES OR ARRANGEMENTS FOR THE CONTROL OF LIGHT BY MODIFICATION OF THE OPTICAL PROPERTIES OF THE MEDIA OF THE ELEMENTS INVOLVED THEREIN; NON-LINEAR OPTICS; FREQUENCY-CHANGING OF LIGHT; OPTICAL LOGIC ELEMENTS; OPTICAL ANALOGUE/DIGITAL CONVERTERS
    • G02F2201/00Constructional arrangements not provided for in groups G02F1/00 - G02F7/00
    • G02F2201/30Constructional arrangements not provided for in groups G02F1/00 - G02F7/00 grating
    • G02F2201/305Constructional arrangements not provided for in groups G02F1/00 - G02F7/00 grating diffraction grating
    • GPHYSICS
    • G02OPTICS
    • G02FOPTICAL DEVICES OR ARRANGEMENTS FOR THE CONTROL OF LIGHT BY MODIFICATION OF THE OPTICAL PROPERTIES OF THE MEDIA OF THE ELEMENTS INVOLVED THEREIN; NON-LINEAR OPTICS; FREQUENCY-CHANGING OF LIGHT; OPTICAL LOGIC ELEMENTS; OPTICAL ANALOGUE/DIGITAL CONVERTERS
    • G02F2203/00Function characteristic
    • G02F2203/05Function characteristic wavelength dependent
    • GPHYSICS
    • G02OPTICS
    • G02FOPTICAL DEVICES OR ARRANGEMENTS FOR THE CONTROL OF LIGHT BY MODIFICATION OF THE OPTICAL PROPERTIES OF THE MEDIA OF THE ELEMENTS INVOLVED THEREIN; NON-LINEAR OPTICS; FREQUENCY-CHANGING OF LIGHT; OPTICAL LOGIC ELEMENTS; OPTICAL ANALOGUE/DIGITAL CONVERTERS
    • G02F2203/00Function characteristic
    • G02F2203/07Polarisation dependent
    • HELECTRICITY
    • H04ELECTRIC COMMUNICATION TECHNIQUE
    • H04QSELECTING
    • H04Q11/00Selecting arrangements for multiplex systems
    • H04Q11/0001Selecting arrangements for multiplex systems using optical switching
    • H04Q11/0005Switch and router aspects
    • H04Q2011/0007Construction
    • H04Q2011/0015Construction using splitting combining
    • HELECTRICITY
    • H04ELECTRIC COMMUNICATION TECHNIQUE
    • H04QSELECTING
    • H04Q2213/00Indexing scheme relating to selecting arrangements in general and for multiplex systems
    • H04Q2213/1301Optical transmission, optical switches

Landscapes

  • Physics & Mathematics (AREA)
  • Nonlinear Science (AREA)
  • General Physics & Mathematics (AREA)
  • Optics & Photonics (AREA)
  • Crystallography & Structural Chemistry (AREA)
  • Chemical & Material Sciences (AREA)
  • Mathematical Physics (AREA)
  • Engineering & Computer Science (AREA)
  • Computer Networks & Wireless Communication (AREA)
  • Spectroscopy & Molecular Physics (AREA)
  • Liquid Crystal (AREA)
  • Optical Modulation, Optical Deflection, Nonlinear Optics, Optical Demodulation, Optical Logic Elements (AREA)
  • Signal Processing (AREA)

Abstract

波長選択スイッチ(WSS)を実現する装置および方法の実施形態が提供される。前記実施形態は、切り替え可能な偏光回折格子(SPG)セルおよびLCセルの複合素子、ならびにポリマー液晶偏光回折格子(PPG)セルおよびLCセルの複合素子を用いて1?N型WSSシステムを実現する。具体的な光スイッチは、液晶セルと、前記液晶セルに隣接するSPGセルとを含む。前記SPGは、2つの光配向層間の液晶材料と、各光配向層を覆う電極層と、各電極層を覆うガラス基板とを含む。具体的な方法は、偏光回折格子で回折させる前に、入射光ビームを円偏光に偏光させる工程を有する。前記の偏光した入射光ビームは、、前記入射光ビームの前記円偏光に応じた回折次数及びかつ前記偏光回折格子の内部に形成されるホログラムパターン方向に対応する所定の角度に回折される。

Description

本発明は、光スイッチに関するものであり、特に波長を選択的に切り替える装置および方法に関するものである。
光伝送ネットワーク機器の場合、再構築可能な光挿入/分岐マルチプレクサ(ROADM)を使用すると、ネットワーク能力を柔軟に拡張することができ、運用コストを低減することができる。波長選択スイッチ(WSS)は、現在のROADM技術を用いる場合の1つの選択肢である。1×N型WSS(波長選択スイッチ)の場合、1は共通(COM)ポートであり、Nは分岐ポート数を表している。WSS(波長選択スイッチ)が動作すると、WDM信号群がCOMポートから入力されると、これらの信号は光波長ごとに分離され、次いで、システム要件に従って、各波長はN個の分岐ポートのうちの1つの分岐ポートにルーティングされる。逆に、これらの光信号は、N個の分岐ポートからの入力として受信することができ、COMポートからの出力として送信することができる。
ROADMは、コストが高く付き、かつサービスを中断する「フォークリフト)」アップグレードに頼ることなく、容量を必要に応じて柔軟に増加させる自動機構を提供する。ROADMネットワークの利点は、ROADMネットワークが、必要なときにどの場所でも、かつ如何なるときでも、下層ネットワークが、増大したトラフィックを自動的に補償する状態を確保しながら、容量を動的に増加させることができることである。これにより、手動調整または大規模なアップグレードが不要となる。ROADMは、挿入/分岐機能を複数の方向に複数の波長チャネルについて提供することができるので、ネットワークリング群間の多方向相互接続を実現し、メッシュ型ネットワークを構築するのに適している。
1つの実施形態によれば、光スイッチは、液晶セルと、前記液晶セルに隣接する切り替え可能な偏光回折格子(SPG)セルとを含む。前記SPGは、第1のガラス基板と、前記第1のガラス基板を覆う第1の電極層と、前記第1の電極層を覆う光配向層と、前記光配向層を覆う液晶材料と、前記液晶材料を覆う第2の光配向層とを含む。前記第1の光配向層および前記第2の光配向層は、円偏光の回転方向が互いに反対である2つの干渉光ビームを使用して露光されることにより物理的に変化した感光性ポリマーを含む。前記SPGは更に、前記第2の光配向層を覆う第2の電極層と、前記第2の電極層を覆う第2のガラス基板とを含む。
別の実施形態によれば、光スイッチは、液晶セルと、前記液晶セルに隣接するポリマー液晶偏光回折格子(PPG)セルとを含む。前記PPGは、ガラス基板と、前記ガラス基板を覆い、かつ円偏光の回転方向が互いに反対である2つの干渉光ビームを使用して露光されることにより物理的に変化している感光性ポリマーを含む光配向層と、前記光配向層を前記ガラス基板の反対側で覆い、かつ均一光ビームを用いる照射により物理的に変化した重合液晶層とを含む。
更に別の実施形態によれば、偏光回折格子を含む光スイッチを動作させる方法は、入射光ビームを円偏光に偏光させる工程と、前記偏光光ビームを前記偏光回折格子に誘導する工程と、前記偏光回折格子で、前記偏光入射光ビームを、前記入射光ビームの前記円偏光に応じた回折次数及び2つの干渉光ビームを用いて形成される、前記偏光回折格子の内部に形成されるホログラムパターン方向に対応する所定の角度で、回折させる工程とを含む。
本発明および本発明の利点を更に完全に理解するために、次に以下の説明を添付の図面と併せて参照する。
切り替え可能な偏光回折格子(SPG)セルの形成プロセスを示している。 切り替え可能な偏光回折格子(SPG)セルの形成プロセスを示している。 電圧が印加されていない状態のSPGセルを示している。 電圧が印加されている状態のSPGセルを示している。 SPGセルの異なる動作モードを示している。 SPGセルの異なる動作モードを示している。 SPGセルの異なる動作モードを示している。 ポリマー液晶偏光回折格子(PPG)セルの形成プロセスを示している。 ポリマー液晶偏光回折格子(PPG)セルの形成プロセスを示している。 ポリマー液晶偏光回折格子(PPG)セルの形成プロセスを示している。 ポリマー液晶偏光回折格子(PPG)セルの形成プロセスを示している。 PPGセルの異なる動作モードを示している。 PPGセルの異なる動作モードを示している。 波長選択スイッチ(WSS)の具体的な光学系を示している。 液晶(LC)セルおよびSPGセルの複合素子の異なる動作モードを示している。 液晶(LC)セルおよびSPGセルの複合素子の異なる動作モードを示している。 液晶(LC)セルおよびSPGセルの複合素子の異なる動作モードを示している。 液晶(LC)セルおよびSPGセルの複合素子の異なる動作モードを示している。 液晶(LC)セルおよびSPGセルの複合素子の異なる動作モードを示している。 液晶(LC)セルおよびSPGセルの複合素子の異なる動作モードを示している。 液晶(LC)セルおよびSPGセルの複合素子の異なる動作モードを示している。 液晶(LC)セルおよびSPGセルの複合素子の異なる動作モードを示している。 LCセルおよびSPGセルの複合素子を用いる具体的な光スイッチエンジンを示している。 LCセルおよびSPGセルの複合素子を用いる別の具体的な光スイッチエンジンを示している。 LCセルおよびSPGセルの複合素子を用いる更に別の具体的な光スイッチエンジンを示している。 LCセルおよびPPGセルの複合素子の異なる動作モードを示している。 LCセルおよびPPGセルの複合素子の異なる動作モードを示している。 LCセルおよびPPGセルの複合素子の異なる動作モードを示している。 LCセルおよびPPGセルの複合素子の異なる動作モードを示している。 LCセルおよびPPGセルの複合素子を用いる具体的な光スイッチエンジンを示している。 光スイッチエンジンを、LCセルおよびSPGセルを用いて動作させる具体的な方法を示している。 光スイッチエンジンを、LCセルおよびPPGセルを用いて動作させる具体的な方法を示している。
現時点で好適な実施形態を構成し、使用する手法について以下に詳細に説明する。しかしながら、本発明は、非常に多岐に亘る特定の状況で具体化することができる多くの適用可能な革新的なコンセプトを提供することを理解されたい。説明する特定の実施形態は、本発明を構成し、使用するための特定のやり方を単に例示しているに過ぎず、本発明の範囲を限定するものではない。
波長選択スイッチ(WSS)製品に現在使用されている技術として、微小電気機械システム(MEMS)、液晶オンシリコン(LCOS)、くさび型結晶を備える液晶(LC)、およびデジタルマイクロミラー素子(DMD)を挙げることができる。これらの技術の場合、これらの光学系は、光スイッチエンジンが異なる以外は、互いに同様とすることができる。
MEMS(微小電気機械システム)では、これらの波長は、回折格子によりそれぞれ異なるチャネルへ向かうように回折されて、次いで、各波長は、対応するMEMS反射ミラーに入射する。各MEMS反射ミラーに加わる電圧を制御することにより、ミラーの回転角を制御して、光反射角を制御することができる。ネットワークの要件に従って、各波長を所定の角度に反射することができる。複数のチャネルから同じ角度に反射される波長ビームは、回折格子を2回目に通過した後に、回折されて1つのビームになることができ、次いで、出力ポートへ入射して結合することができる。切り替え時に光減衰量を制御し、かつヒットレス機能を実現するために、各MEMSミラーは、2つの回転方向を有し、一の回転でポート切り替えを行い、他の回転で減衰量およびヒットレス機能を制御する。MEMS系WSSは、光学系が単純であり、性能が良好であるという利点を有する。しかしながら、MEMS系WSSは、比較的低い歩留まりに起因するMEMSチップ形成に要する高コスト、MEMSミラーに対する高電圧駆動要件に起因する電子素子に要する高コスト、非常に多くのポートを実現する難しさ、および柔軟なグリッド(Flexgrid)機能を設計する難しさといった幾つかの不具合を有する。
LCOSは、WSS(波長選択スイッチ)システムに使用される別の技術である。LCOSは、ガラス基板とシリコン背面との間に配置されるLC層から成る。LCOS系WSSでは、回折格子により分離される各波長光は、LCOSパネルに入射し、M×N画素に照射される。これらの画素に加わる電圧を制御することにより、入射光ビームが所定の角度に回折されるようなLC(液晶)位相回折格子を形成することができる。LC(液晶)回折格子ピッチを変えることにより、異なる回折角度が得られる。従って、ある波長光についてLC(液晶)位相回折格子ピッチを制御することにより、光ビームを所定の出力ポートにルーティングすることができる。LCOS系WSSは、光学系が単純である、多くのポート数が容易に実現される、柔軟なグリッド機能が容易に実現されるといった幾つかの利点を有する。不具合としては、電子駆動方式が複雑であること、制御ソフトウェアが極めて複雑であること、低クロストークを実現することが困難であること、および温度に対する感度が非常に高いことを挙げることができる。
WSS(波長選択スイッチ)に使用される別の技術が、結晶ウェッジを備えるLCである。結晶ウェッジを備えるLCを用いたWSS設計は、2009年3月3日に発行され、「Apparatus And Method for Optical Switching with Liquid Crystals And Birefringent Wedges(液晶および複屈折結晶ウェッジを用いた光スイッチング装置および方法)」と題する米国特許第7,499,608号明細書に記載されている。このようなWSSのスイッチエンジンは、出力ポートの必要数によって異なるが、数段のLCセルおよびウェッジプレート複合素子から成る。各段では、LCセルは、偏光を切り替えるのに使用され、またウェッジプレートは、光を、入射光の偏光によって異なるように2つの方向に屈折させるのに用いられる。その結果、1×2型光スイッチが得られる。従って、N段を積層すると、1×2型光スイッチが得られる。使用するLCセルは、必要な光チャネル数によって定義されるM個の画素に分離される。LC画素に印加される電圧を制御することにより、対応する波長光を所定の出力ポート群にルーティングすることができる。このようなWSSは、駆動用電子素子が簡単であり、高い耐振動性を示し、高い信頼性を示すという利点を有する。不具合として、高い材料コストに起因する高コスト、複雑な素子組み立てプロセスに起因する比較的低い歩留まり、および非常に多いポート数を実現する難しさを挙げることができる。
DMD(デジタルマイクロミラー素子)技術も、WSSシステムに使用される。このようなシステムでは、各波長光は、幾つかのDMD/MEMSミラーに入射する。これらのミラーの回転角を制御することにより、光ビームを所定の角度に誘導することができる。これらのミラーは、2つしか偏向位置を有しないので、1つのDMDチップ系WSSは、1×2型スイッチしか実現できない。WSSのスイッチポート数を増やすためには、より多くのDMDチップが必要になり、光学系設計が高コストになり、かつ非常に難しくなる。
上に説明したように、既存の技術を用いるWSSシステムは、駆動用電子素子が複雑なソフトウェアを備えること、材料が高コストであること、振動耐性が低いこと、および非常に多くのポートに拡張することが困難であることを含む不具合を有している。本明細書において記載されるのは、WSS(波長選択スイッチ)を実現する具体的なシステムおよび方法である。異なる実施形態では、切り替え可能な偏光回折格子(SPG)セルおよびLCセルの複合素子、ならびにポリマー液晶偏光回折格子(PPG)セルおよびLCセルの複合素子を用いて、上に挙げたシステムの不具合のうちの少なくとも幾つかの不具合を解決する1×N型WSSシステムを実現する。
図1aおよび図1bは、SPGセルの形成プロセス100を示している。従来のLCセルを形成する際、LC配向層は、当該LCを挟み込むために使用される2枚の基板を被覆する2つのポリマー層をラビングまたは露光することにより形成される。SPGセルの形成プロセス100は、LC配向層を形成する工程に関して異なっている。SPGセルの形成プロセス100の第1の工程(図1a)では、2つの感光性ポリマー層102が2つのガラス基板106をそれぞれ被覆し、次いで、2枚のガラス基板を合体させて、LCを充填するためのギャップを残す。電極(導体)層104が更に、各感光性ポリマー層102と各感光性ポリマー層102に対応するガラス基板106との間に付加される。次に(図1b)、円偏光の回転方向が互いに反対である(それぞれ、右円偏光および左円偏光を有する)2つの干渉紫外(UV)光ビーム192が、(適切な入射角で)2つのポリマー層102を露光するのに用いられ(例えば、これらのガラス基板106を介して)、ホログラフィックパターンがこれらのポリマー層102に形成される。この干渉ビーム露光がSPGセルの各面に対して行われることで、配向層が感光性ポリマー層102から形成される。LC108がギャップに充填され、2枚のガラス基板の間に挟み込まれる場合、LC108の分子は、この段階でLC配向層として機能するこれらの感光性ポリマー層102の上に形成されたホログラムパターンと位置合わせされるように配向される。
図2aおよび図2bはそれぞれ、電圧が印加されている状態および電圧が印加されていない状態のSPGセル200を示している。SPGセル200は、形成プロセス100を使用して形成することができる。電圧が電極層204に印加されていない状態(図2a)では、SPGセル200のLC208は回折格子を形成し、この回折格子によって、ガラス基板206のいずれの部分への入射光も、これらの配向層202を形成するための2本の露光ビームの角度で決まる方向(形成プロセス100中に決まる方向)に回折される。ゼロではない電圧がこれらの電極層204に電圧が印加されると(図2b)、LC208分子は、印加電圧によって生じる電界に位置合わせされるように配向するようになるので、LC回折格子の影響(配向層202によって生じる)が打ち消されてなくなり、ガラス基板206のいずれの部分への入射光も、回折されなくなる。LC回折格子の影響を打ち消すためには、十分大きな電圧が、例えば閾値電圧(Vth)を超える電圧が必要になる。
上に説明したSPGセルは、普通の回折格子とは異なる0次および±1次の3つの回折次数を有する。図3a〜図3cは、SPGセルのそれぞれ異なる動作モード300を示している。各動作モードは、1つの回折次数に対応し、各次数の光は、異なる角度に回折される。十分大きな電圧がSPGセルに印加されている状態(図3a)では、光は、入射光の偏光が如何なる状態であっても回折されて0次数光となる。電圧が印加されていない状態、または低い電圧が印加されている状態(図3bおよび図3c)では、回折光方向は、入射光の偏光によって異なる。右円偏光された入射光ビームは、回折されて+1次数光(図3a)となるのに対し、左円偏光された入射光ビームは、回折されて−1次数光(図3c)となる。SPGセルによって回折された後、光の円偏光が、図3bおよび図3cに示すように反転する(右円偏光と左円偏光との間で切り替わる)。
図4a〜図4dは、PPGセルの形成プロセス400を示している。PPGセルの形成プロセス400の第1の工程(図4a)では、光配向層402でガラス基板406を被覆する。第2の工程(図4b)では、ポリマー層402が、円偏光の回転方向が互いに反対である2つの干渉UVビーム(492)で露光される。第3の工程(図4c)では、重合性LC層403で光配向層402の上面を被覆する。第4の工程(図4d)では、均一なUVビーム494を用いて、重合性LC層403を照射して、当該層のLC組成物(分子)を重合させる。このようにして、ポリマー回折格子がガラス基板406に形成される。
結果として得られるPPGセルは、当該PPGセルの回折特性を、電圧を印加することによって変化させる(上に説明したSPGセルの場合におけるように)ことができないという点で、特性が一定の回折格子である。図5aおよび図5bは、PPGセルの異なる動作モード500を示している。各動作モードは、1つの回折次数に対応し、各次数光は、異なる角度に回折される。入射光ビームは、2つの方向のうちの一方の方向に回折される。詳細には、右円偏光を有する入射光ビームは、回折されて+1次光(図5a)となるのに対し、左円偏光を有する入射光ビームは、回折されて−1次光(図5b)となる。いずれの場合においても、回折後、ビームの偏光の回転方向が、反対の回転方向に変化、すなわち切り替わる。
図6は、WSS(波長選択スイッチ)の具体的な光学系600を示している。WSS光学系600は、ファイバアレイ601と、マイクロレンズアレイ602と、ビーム偏向アレイ603と、1/2波長板アレイ604と、シリンドリカルレンズ605と、シリンドリカル反射ミラー606と、回折格子607と、光スイッチエンジン608とを含む。WSS光学系600のこれらの構成素子は、図6に示す通りに配置することができる、または同じ機能または同様の機能を実現する任意の他の適切な配置となるように配置することができる。他の実施形態では、上に説明した構成素子と同様であって良いし、または上に説明した構成素子とは異なる更に別の構成素子を用いることもできる。これらの構成素子のうちの幾つかの構成素子の代わりに、同じ機能を実現する同じ構成素子、または他の構成素子の組み合わせを用いることもできる。
ファイバアレイ601は、入力ポートおよび出力ポートに使用される。1つのファイバ601からの入力光ビームまたは入射光ビームは、マイクロレンズアレイ602、ビーム偏向アレイ603、および1/2波長板アレイ604を通過すると、当該ビームは、同じ直線偏光を有する2本の平行ビームに分離される。次に、2本の光ビームは、シリンドリカルレンズ605およびシリンドリカル反射ミラー606を通過した後にコリメートされたビームになる。次に、これらの光ビームは、回折格子607によって回折されて、複数の波長に分離される。次いで、各波長光は、光スイッチエンジン608に集光される。光スイッチエンジン608は、各波長光を所定のポートにルーティングする。対応する光ビームは、光学系600を(複数の構成素子を逆の順番で)再び通過し、所定の出力ファイバに入射して結合される。
WSS光学系600の光スイッチエンジン608は、以下に説明するSPGセルおよびLCセルの複合素子、またはPPGセルおよびLCセルの複合素子を含む適切なWSS(波長選択スイッチ)システムを用いて実現することができる。使用されている他のWSS(波長選択スイッチ)技術(例えば、MEMS,LCOS,LC,ウェッジプレート、DMD)と比較すると、SPGまたはPPGを用いるWSSシステムは、光学系が単純である、電子駆動回路が簡単である、信頼性が高い、高性能である、多くのポート数を容易に実現できる、また製品コストを低く抑えることができるといった利点を有する。
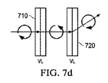
図7a〜図7hは、LCセルおよびSPGセルの複合素子のそれぞれ異なる動作モード700を示している。LCセル710は、SPGセル720の手前に配置される(入射光から見た場合)。LCセル710は、光の偏光を制御すなわち切り替えるのに用いられる。またSPGセル720は、光ビームを所定の方向に回折させるのに用いられる。
図7a,7c,7e,および図7hに示すように、比較的大きな電圧(VH)(例えば、閾値を上回る電圧)をLCセル710に印加すると、入射光ビームの偏光は、LCセルを通過しても変化しない。図7b,7d,7f,および図7gに示すように、電圧をLCセル710に印加しない状態、または比較的小さな電圧(VL)(例えば、閾値を下回る電圧)をLCセル710に印加した状態では、入射光ビームの偏光の回転方向が切り替わる。図7a,7b,7e,および図7fに示すように、比較的大きな電圧(VH)(例えば、閾値を上回る電圧)をSPGセル720に印加すると、入力光の偏光が如何なる状態であっても、光ビームは回折されて0次光となる。図7c,7d,7g、および図7hに示すように、電圧をSPGセル720に印加しない状態、または比較的小さな電圧(VL)(例えば、閾値を下回る電圧)をSPGセル720に印加した状態では、LCセル710によって制御される入射光の偏光によって異なるが、光ビームは、+1次光または−1次光のいずれかとなるように回折されうる。入力光が右円偏光または左円偏光であるか否かに関係なく、LCセル710およびSPGセル720の複合素子は、光ビームを3つの方向にルーティングして、1×3型光スイッチを形成する。N個のグループのLCセルおよびSPGセルは、1×3型光スイッチを実現することができる。
図8は、LCセルおよびSPGセルの複合素子を用いる具体的な光スイッチエンジン800の断面を示している。光スイッチエンジン800は、WSS光学系600の光スイッチエンジン608として使用することができる。光スイッチエンジン800は、偏光板815に接続されるLCセル810を含む可変光減衰器(VOA)805と、1/4波長板(QWP)840と、2つの連続するLCセル810およびSPGセル820からなる対を含む1×9型光スイッチ830と、プリズムまたはミラー890とを備える。これらの構成素子は、図8に示す通りに、または別の適切な順番で配置することができる。LCセル810およびSPGセル820は、M個の画素を、N=9本のビームと直交する方向(図8の紙面に垂直な方向)に有することができる。図8では、Nはポート数に対応するビームの本数であり、Mは波長チャネル数に対応する画素の個数である。光エンジン800に使用されるLCセルは、電気制御複屈折(ECB)セル、ツイステッドネマチック(TN)セル、および垂直配向(VA)セルであって良い。
簡潔性を期して、スイッチエンジンの動作原理は、図8のエンジン800の断面に図示されているように1つの波長について説明される。しかしながら、同じ動作原理は全てのM個の画素に適用される。
入力光は最初に、光出力の減衰を制御するために使用されるVOA805を通過する。LCセル810に加わる電圧を制御することにより、VOA805の光出力量を制御することができる。QWP840を使用して、光の直線偏光を円偏光に変化させる。次に、光ビームは、2グループのLCセル810およびSPGセル820(1×9型光スイッチ830)を通過する。従って、出力ビームは、光軸に対して9通りの角度をとりうる。次に、当該ビームは、プリズムまたはミラー890で反射され、スイッチ830を通過した後に、光軸に平行になる。光スイッチエンジン800は、適正に設計されて、任意の2つの隣接光路(9通りの切り替え角度)間の距離をほぼ等しくすることができる。従って、基準ファイバアレイは、光出力ポート(例えば、9個の出力ポートを備える)として使用することができる。
図9は、LCセルおよびSPGセルの複合素子を用いる具体的な別の光スイッチエンジン900の断面を示している。光スイッチエンジン900は、WSS光学系600の光スイッチエンジン608として使用することができる。光スイッチエンジン900は、偏光板915に接続されるLCセル910を含むVOA905と、1対のLCセル910およびSPGセル920、および後段の第2のSPGセル920を含む1×7型光スイッチ930と、プリズムまたはミラー890とを備える。これらの構成素子は、図9に示す通りに、または別の適切な順番で配置することができる。LCセル910およびSPGセル920は更に、M個の画素を、N=7本のビームと直交する方向(図9の紙面に垂直な方向)に有することができる。光スイッチエンジン900と光スイッチエンジン800との1つの違いは、光スイッチエンジン900が、1つのLCセル910および2つのSPGセル920を使用して、1×7型光スイッチを実現していることである。1×7型光スイッチでは、LCセル910を使用して、光の偏光を制御し、2つのSPGセル920を使用して、光を所定の角度に回折させる。更に、光スイッチエンジン900はQWPを含んでいない。その代わり、VOA905のLCセル910が、切り替え可能な1/4波長板(λ/4と3λ/4との間で切り替わる)として設計されて、入射光の直線偏光を円偏光に変化させる。光出力ポート数を増やすために、更に多くのSPGセル920を光スイッチエンジン900に、例えばミラーまたはプリズム990の前方に追加することができる。例えば、SPGセル920がN個の場合、1×(2N+1−1)型光スイッチエンジンが実装されて良い。
図10は、LCセルおよびSPGセルの複合素子を用いる具体的な更に別の光スイッチエンジン1000の断面を示している。光スイッチエンジン1000は、WSS光学系600の光スイッチエンジン608として使用することができる。光スイッチエンジン1000は、偏光板1015に接続されるLCセル1010を含むVOA1005と、QWP1040と、3つのSPGセル1020を含む1×8型光スイッチ1030と、プリズムまたはミラー1090とを備える。これらの構成素子は、図10に示す通りに、または別の適切な順番で配置することができる。これらのSPGセル1020は更に、M個の画素を、N=8本のビームと直交する方向(図10の紙面に垂直な方向)に有することができる。上に説明した光スイッチエンジン800および900とは異なり、光スイッチエンジン1000は、LCセルを用いることなくSPGセル群1020のみを使用して光回折角を制御する。光ビームがVOA1005およびQWP1040を通過した後、入力ビームの直線偏光は円偏光に変化する。各SPGセル1020は、光ビームを2通りの角度に回折させることができる。従って、SPGセルがN個ある場合、1×2型光スイッチエンジンを形成することができる。
図11a〜図11dは、LCセルおよびSPGセルの複合素子の異なる動作モード1100を示している。LCセル1110は、SPGセル1150の手前に配置される(入射光から見た場合)。LCセル1110を用いて、光の偏光を制御する、または切り替え、またPPGセル1150を用いて光ビームを、入力光の偏光によって異なるが、2通りの方向のうちの一方の方向に回折させる。従って、LCセルおよびPPGセルからなるN個の群は、1×2型光スイッチを構成することができる。
図11aおよび図11dに示すように、VH(例えば、閾値を上回る電圧)をLCセル1110に印加すると、入射光ビームの偏光は、LCセルを通過することにより変化することはない。図11bおよび図11cに示すように、電圧をLCセル1110に印加しない状態、またはVL(例えば、閾値を下回る電圧)をLCセル1110に印加した状態では、入射光ビームの偏光の左右が切り替わる。図11aおよび図11cに示すように、PPGセル1150への入射光が、右円偏光を有する場合、光ビームは回折されて+1次数光となる。図11bおよび図11dに示すように、PPGセル1150への入射光が、左円偏光されている場合、光ビームは回折されて−1次数光となる。
図12は、LCセルおよびSPGセルの複合素子を用いる具体的な光スイッチエンジン1200の断面を示している。光スイッチエンジン1200は、WSS光学系600の光スイッチエンジン608として使用することができる。光スイッチエンジン1200は、偏光板1215に接続されるLCセル1210を含むVOA1205と、2つの連続するLCセル1210およびPPGセル1250からなる対を含む1×4型光スイッチ1230と、プリズムまたはミラー1290とを備える。これらの構成素子は、図12に示す通りに、または別の適切な順番で配置することができる。これらのLCセル1210およびPPGセル1250は、M個の画素を、N=4本のビームと直交する方向(図12の紙面に垂直な方向)に有することができる。同様の光スイッチは、必要数のLCおよびPPGペアを積層して合体させることにより、任意の数の出力ポートを有するように設計することができる。
図13は、光スイッチエンジンを、LCセルおよびSPGセルを用いて動作させる具体的な方法1300を示している。例えば、方法1300は、光スイッチエンジン800,900,および1000のうちのいずれかの光スイッチエンジンを用いて実施される。工程1310では、入射光ビームを、左円偏光または右円偏光に偏光させる。例えば、QWP840または1040、或いは電気的に切り替え可能な(電圧を印加することにより)LCを用いて、直線偏光する入射光ビームを円偏光する光に変換する。工程1320では、円偏光する光ビームが、少なくとも1つのSPGセルを用いて回折される。回折光ビームの偏光の回転方向が更に切り替えられる。例えば、円偏光する光が、左回り方向と右回り方向との間で、1×9型光スイッチ830の電気的に切り替え可能な第1のLC810(または、1×7型光スイッチ930のLC910)を用いて切り替えられ、続いて、電気的に切り替え可能な次段のSPG820(または、920)により、対応する角度に回折される。別の例では、円偏光する光が、1×8型光スイッチ1030の電気的に切り替え可能な第1のSPG1020により、対応する角度に直接回折される。
図14は、LCセルおよびPPGセルを用いて光スイッチエンジンを動作させる具体的な方法1400を示している。例えば、方法1400は、光スイッチエンジン1200を用いて実施される。工程1410では、入射光ビームが、左円偏光または右円偏光に偏光される。例えば、電気的に切り替え可能なLCを用いて、直線偏光する入射光ビームが円偏光する光に変換される。工程1420では、円偏光する光ビームが、少なくとも1対のLCセルおよびPPGセルを用いて回折される。回折光ビームの偏光の回転方向が更に切り替えられる。例えば、円偏光光は、左回り方向と右回り方向との間で、1×4型光スイッチ1230の電気的に切り替え可能な第1のLC1210を用いて切り替えられ、続いて、電気的に切り替え可能な次段のSPG1250により、対応する角度に回折される。
本発明について、例示的な実施形態を参照して説明してきたが、この説明は、限定的な意味に解釈されてはならない。例示の実施形態の種々の変形および組み合わせ、ならびに本発明の他の実施形態は、当業者には、説明を参照することにより明らかになる。従って、添付の請求項は、このような変形または実施形態の全てを包含する。
本発明は、光スイッチに関するものであり、特に波長を選択的に切り替える装置および方法に関するものである。
光伝送ネットワーク機器の場合、再構築可能な光挿入/分岐マルチプレクサ(ROADM)を使用すると、ネットワーク能力を柔軟に拡張することができ、運用コストを低減することができる。波長選択スイッチ(WSS)は、現在のROADM技術を用いる場合の1つの選択肢である。1×N型WSS(波長選択スイッチ)の場合、1は共通(COM)ポートであり、Nは分岐ポート数を表している。WSS(波長選択スイッチ)が動作すると、WDM信号群がCOMポートから入力されると、これらの信号は光波長ごとに分離され、次いで、システム要件に従って、各波長はN個の分岐ポートのうちの1つの分岐ポートにルーティングされる。逆に、これらの光信号は、N個の分岐ポートからの入力として受信することができ、COMポートからの出力として送信することができる。
ROADMは、コストが高く付き、かつサービスを中断する「フォークリフト)」アップグレードに頼ることなく、容量を必要に応じて柔軟に増加させる自動機構を提供する。ROADMネットワークの利点は、ROADMネットワークが、必要なときにどの場所でも、かつ如何なるときでも、下層ネットワークが、増大したトラフィックを自動的に補償する状態を確保しながら、容量を動的に増加させることができることである。これにより、手動調整または大規模なアップグレードが不要となる。ROADMは、挿入/分岐機能を複数の方向に複数の波長チャネルについて提供することができるので、ネットワークリング群間の多方向相互接続を実現し、メッシュ型ネットワークを構築するのに適している。
1つの実施形態によれば、光スイッチは、液晶セルと、前記液晶セルに隣接する切り替え可能な偏光回折格子(SPG)セルとを含む。前記SPGは、第1のガラス基板と、前記第1のガラス基板を覆う第1の電極層と、前記第1の電極層を覆う光配向層と、前記光配向層を覆う液晶材料と、前記液晶材料を覆う第2の光配向層とを含む。前記第1の光配向層および前記第2の光配向層は、円偏光の回転方向が互いに反対である2つの干渉光ビームを使用して露光されることにより物理的に変化した感光性ポリマーを含む。前記SPGは更に、前記第2の光配向層を覆う第2の電極層と、前記第2の電極層を覆う第2のガラス基板とを含む。
別の実施形態によれば、光スイッチは、液晶セルと、前記液晶セルに隣接するポリマー液晶偏光回折格子(PPG)セルとを含む。前記PPGは、ガラス基板と、前記ガラス基板を覆い、かつ円偏光の回転方向が互いに反対である2つの干渉光ビームを使用して露光されることにより物理的に変化している感光性ポリマーを含む光配向層と、前記光配向層を前記ガラス基板の反対側で覆い、かつ均一光ビームを用いる照射により物理的に変化した重合液晶層とを含む。
更に別の実施形態によれば、偏光回折格子を含む光スイッチを動作させる方法は、入射光ビームを円偏光に偏光させる工程と、前記偏光光ビームを前記偏光回折格子に誘導する工程と、前記偏光回折格子で、前記偏光入射光ビームを、前記入射光ビームの前記円偏光に応じた回折次数及び2つの干渉光ビームを用いて形成される、前記偏光回折格子の内部に形成されるホログラムパターン方向に対応する所定の角度で、回折させる工程とを含む。
本発明および本発明の利点を更に完全に理解するために、次に以下の説明を添付の図面と併せて参照する。
切り替え可能な偏光回折格子(SPG)セルの形成プロセスを示している。 切り替え可能な偏光回折格子(SPG)セルの形成プロセスを示している。 電圧が印加されていない状態のSPGセルを示している。 電圧が印加されている状態のSPGセルを示している。 SPGセルの異なる動作モードを示している。 SPGセルの異なる動作モードを示している。 SPGセルの異なる動作モードを示している。 ポリマー液晶偏光回折格子(PPG)セルの形成プロセスを示している。 ポリマー液晶偏光回折格子(PPG)セルの形成プロセスを示している。 ポリマー液晶偏光回折格子(PPG)セルの形成プロセスを示している。 ポリマー液晶偏光回折格子(PPG)セルの形成プロセスを示している。 PPGセルの異なる動作モードを示している。 PPGセルの異なる動作モードを示している。 波長選択スイッチ(WSS)の具体的な光学系を示している。 液晶(LC)セルおよびSPGセルの複合素子の異なる動作モードを示している。 液晶(LC)セルおよびSPGセルの複合素子の異なる動作モードを示している。 液晶(LC)セルおよびSPGセルの複合素子の異なる動作モードを示している。 液晶(LC)セルおよびSPGセルの複合素子の異なる動作モードを示している。 液晶(LC)セルおよびSPGセルの複合素子の異なる動作モードを示している。 液晶(LC)セルおよびSPGセルの複合素子の異なる動作モードを示している。 液晶(LC)セルおよびSPGセルの複合素子の異なる動作モードを示している。 液晶(LC)セルおよびSPGセルの複合素子の異なる動作モードを示している。 LCセルおよびSPGセルの複合素子を用いる具体的な光スイッチエンジンを示している。 LCセルおよびSPGセルの複合素子を用いる別の具体的な光スイッチエンジンを示している。 LCセルおよびSPGセルの複合素子を用いる更に別の具体的な光スイッチエンジンを示している。 LCセルおよびPPGセルの複合素子の異なる動作モードを示している。 LCセルおよびPPGセルの複合素子の異なる動作モードを示している。 LCセルおよびPPGセルの複合素子の異なる動作モードを示している。 LCセルおよびPPGセルの複合素子の異なる動作モードを示している。 LCセルおよびPPGセルの複合素子を用いる具体的な光スイッチエンジンを示している。 光スイッチエンジンを、LCセルおよびSPGセルを用いて動作させる具体的な方法を示している。 光スイッチエンジンを、LCセルおよびPPGセルを用いて動作させる具体的な方法を示している。
現時点で好適な実施形態を構成し、使用する手法について以下に詳細に説明する。しかしながら、本発明は、非常に多岐に亘る特定の状況で具体化することができる多くの適用可能な革新的なコンセプトを提供することを理解されたい。説明する特定の実施形態は、本発明を構成し、使用するための特定のやり方を単に例示しているに過ぎず、本発明の範囲を限定するものではない。
波長選択スイッチ(WSS)製品に現在使用されている技術として、微小電気機械システム(MEMS)、液晶オンシリコン(LCOS)、くさび型結晶を備える液晶(LC)、およびデジタルマイクロミラー素子(DMD)を挙げることができる。これらの技術の場合、これらの光学系は、光スイッチエンジンが異なる以外は、互いに同様とすることができる。
MEMS(微小電気機械システム)では、これらの波長は、回折格子によりそれぞれ異なるチャネルへ向かうように回折されて、次いで、各波長は、対応するMEMS反射ミラーに入射する。各MEMS反射ミラーに加わる電圧を制御することにより、ミラーの回転角を制御して、光反射角を制御することができる。ネットワークの要件に従って、各波長を所定の角度に反射することができる。複数のチャネルから同じ角度に反射される波長ビームは、回折格子を2回目に通過した後に、回折されて1つのビームになることができ、次いで、出力ポートへ入射して結合することができる。切り替え時に光減衰量を制御し、かつヒットレス機能を実現するために、各MEMSミラーは、2つの回転方向を有し、一の回転でポート切り替えを行い、他の回転で減衰量およびヒットレス機能を制御する。MEMS系WSSは、光学系が単純であり、性能が良好であるという利点を有する。しかしながら、MEMS系WSSは、比較的低い歩留まりに起因するMEMSチップ形成に要する高コスト、MEMSミラーに対する高電圧駆動要件に起因する電子素子に要する高コスト、非常に多くのポートを実現する難しさ、および柔軟なグリッド(Flexgrid)機能を設計する難しさといった幾つかの不具合を有する。
LCOSは、WSS(波長選択スイッチ)システムに使用される別の技術である。LCOSは、ガラス基板とシリコン背面との間に配置されるLC層から成る。LCOS系WSSでは、回折格子により分離される各波長光は、M×N画素を網羅するLCOSパネルに入射する。これらの画素に加わる電圧を制御することにより、入射光ビームが所定の角度に回折されるようなLC(液晶)位相回折格子を形成することができる。LC(液晶)回折格子ピッチを変えることにより、異なる回折角度が得られる。従って、ある波長光についてLC(液晶)位相回折格子ピッチを制御することにより、光ビームを所定の出力ポートにルーティングすることができる。LCOS系WSSは、光学系が単純である、多くのポート数が容易に実現される、柔軟なグリッド機能が容易に実現されるといった幾つかの利点を有する。不具合としては、電子駆動方式が複雑であること、制御ソフトウェアが極めて複雑であること、低クロストークを実現することが困難であること、および温度に対する感度が非常に高いことを挙げることができる。
WSS(波長選択スイッチ)に使用される別の技術が、結晶ウェッジを備えるLCである。結晶ウェッジを備えるLCを用いたWSS設計は、2009年3月3日に発行され、「Apparatus And Method for Optical Switching with Liquid Crystals And Birefringent Wedges(液晶および複屈折結晶ウェッジを用いた光スイッチング装置および方法)」と題する米国特許第7,499,608号明細書に記載されている。このようなWSSのスイッチエンジンは、出力ポートの必要数によって異なるが、数段のLCセルおよびウェッジプレート複合素子から成る。各段では、LCセルは、偏光を切り替えるのに使用され、またウェッジプレートは、光を、入射光の偏光によって異なるように2つの方向に屈折させるのに用いられる。その結果、1×2型光スイッチが得られる。従って、N段を積層すると、1×2型光スイッチが得られる。使用するLCセルは、必要な光チャネル数によって定義されるM個の画素に分離される。LC画素に印加される電圧を制御することにより、対応する波長光を所定の出力ポート群にルーティングすることができる。このようなWSSは、駆動用電子素子が簡単であり、高い耐振動性を示し、高い信頼性を示すという利点を有する。不具合として、高い材料コストに起因する高コスト、複雑な素子組み立てプロセスに起因する比較的低い歩留まり、および非常に多いポート数を実現する難しさを挙げることができる。
DMD(デジタルマイクロミラー素子)技術も、WSSシステムに使用される。このようなシステムでは、各波長光は、幾つかのDMD/MEMSミラーに入射する。これらのミラーの回転角を制御することにより、光ビームを所定の角度に誘導することができる。これらのミラーは、2つしか偏向位置を有しないので、1つのDMDチップ系WSSは、1×2型スイッチしか実現できない。WSSのスイッチポート数を増やすためには、より多くのDMDチップが必要になり、光学系設計が高コストになり、かつ非常に難しくなる。
上に説明したように、既存の技術を用いるWSSシステムは、駆動用電子素子が複雑なソフトウェアを備えること、材料が高コストであること、振動耐性が低いこと、および非常に多くのポートに拡張することが困難であることを含む不具合を有している。本明細書において記載されるのは、WSS(波長選択スイッチ)を実現する具体的なシステムおよび方法である。異なる実施形態では、切り替え可能な偏光回折格子(SPG)セルおよびLCセルの複合素子、ならびにポリマー液晶偏光回折格子(PPG)セルおよびLCセルの複合素子を用いて、上に挙げたシステムの不具合のうちの少なくとも幾つかの不具合を解決する1×N型WSSシステムを実現する。
図1aおよび図1bは、SPGセルの形成プロセス100を示している。従来のLCセルを形成する際、LC配向層は、当該LCを挟み込むために使用される2枚の基板上に堆積される2つのポリマー層をラビングまたは露光することにより形成される。SPGセルの形成プロセス100は、LC配向層を形成する工程に関して異なっている。SPGセルの形成プロセス100の第1の工程(図1a)では、2つの感光性ポリマー層102が2つのガラス基板106上にそれぞれ堆積され、次いで、2枚のガラス基板を合体させて、LCを充填するためのギャップを残す。電極(導体)層104が更に、各感光性ポリマー層102と各感光性ポリマー層102に対応するガラス基板106との間に付加される。次に(図1b)、円偏光の回転方向が互いに反対である(それぞれ、右円偏光および左円偏光を有する)2つの干渉紫外(UV)光ビーム192が、(適切な入射角で)2つのポリマー層102を露光するのに用いられ(例えば、これらのガラス基板106を介して)、ホログラフィックパターンがこれらのポリマー層102に形成される。この干渉ビーム露光がSPGセルの各面に対して行われることで、配向層が感光性ポリマー層102から形成される。LC108がギャップに充填され、2枚のガラス基板の間に挟み込まれる場合、LC108の分子は、この段階でLC配向層として機能するこれらの感光性ポリマー層102の上に形成されたホログラムパターンと位置合わせされるように配向される。
図2aおよび図2bはそれぞれ、電圧が印加されている状態および電圧が印加されていない状態のSPGセル200を示している。SPGセル200は、形成プロセス100を使用して形成することができる。電圧が電極層204に印加されていない状態(図2a)では、SPGセル200のLC208は回折格子を形成し、この回折格子によって、ガラス基板206のいずれの部分への入射光も、これらの配向層202を形成するための2本の露光ビームの角度で決まる方向(形成プロセス100中に決まる方向)に回折される。ゼロではない電圧がこれらの電極層204に電圧が印加されると(図2b)、LC208分子は、印加電圧によって生じる電界に位置合わせされるように配向するようになるので、LC回折格子の影響(配向層202によって生じる)が打ち消されてなくなり、ガラス基板206のいずれの部分への入射光も、回折されなくなる。LC回折格子の影響を打ち消すためには、十分大きな電圧が、例えば閾値電圧(Vth)を超える電圧が必要になる。
上に説明したSPGセルは、普通の回折格子とは異なる0次および±1次の3つの回折次数を有する。図3a〜図3cは、SPGセルのそれぞれ異なる動作モード300を示している。各動作モードは、1つの回折次数に対応し、各次数の光は、異なる角度に回折される。十分大きな電圧がSPGセルに印加されている状態(図3a)では、光は、入射光の偏光が如何なる状態であっても回折されて0次数光となる。電圧が印加されていない状態、または低い電圧が印加されている状態(図3bおよび図3c)では、回折光方向は、入射光の偏光によって異なる。右円偏光された入射光ビームは、回折されて+1次数光(図3a)となるのに対し、左円偏光された入射光ビームは、回折されて−1次数光(図3c)となる。SPGセルによって回折された後、光の円偏光が、図3bおよび図3cに示すように反転する(右円偏光と左円偏光との間で切り替わる)。
図4a〜図4dは、PPGセルの形成プロセス400を示している。PPGセルの形成プロセス400の第1の工程(図4a)では、光配向層402ガラス基板406上に堆積される。第2の工程(図4b)では、ポリマー層402が、円偏光の回転方向が互いに反対である2つの干渉UVビーム(492)で露光される。第3の工程(図4c)では、重合性LC層403光配向層402の上面に堆積される。第4の工程(図4d)では、均一なUVビーム494を用いて、重合性LC層403を照射して、当該層のLC組成物(分子)を重合させる。このようにして、ポリマー回折格子がガラス基板406に形成される。
結果として得られるPPGセルは、当該PPGセルの回折特性を、電圧を印加することによって変化させる(上に説明したSPGセルの場合におけるように)ことができないという点で、特性が一定の回折格子である。図5aおよび図5bは、PPGセルの異なる動作モード500を示している。各動作モードは、1つの回折次数に対応し、各次数光は、異なる角度に回折される。入射光ビームは、2つの方向のうちの一方の方向に回折される。詳細には、右円偏光を有する入射光ビームは、回折されて+1次光(図5a)となるのに対し、左円偏光を有する入射光ビームは、回折されて−1次光(図5b)となる。いずれの場合においても、回折後、ビームの偏光の回転方向が、反対の回転方向に変化、すなわち切り替わる。
図6は、WSS(波長選択スイッチ)の具体的な光学系600を示している。WSS光学系600は、ファイバアレイ601と、マイクロレンズアレイ602と、ビーム偏向アレイ603と、1/2波長板アレイ604と、シリンドリカルレンズ605と、シリンドリカル反射ミラー606と、回折格子607と、光スイッチエンジン608とを含む。WSS光学系600のこれらの構成素子は、図6に示す通りに配置することができる、または同じ機能または同様の機能を実現する任意の他の適切な配置となるように配置することができる。他の実施形態では、上に説明した構成素子と同様であって良いし、または上に説明した構成素子とは異なる更に別の構成素子を用いることもできる。これらの構成素子のうちの幾つかの構成素子の代わりに、同じ機能を実現する同じ構成素子、または他の構成素子の組み合わせを用いることもできる。
ファイバアレイ601は、入力ポートおよび出力ポートに使用される。1つのファイバ601からの入力光ビームまたは入射光ビームは、マイクロレンズアレイ602、ビーム偏向アレイ603、および1/2波長板アレイ604を通過すると、当該ビームは、同じ直線偏光を有する2本の平行ビームに分離される。次に、2本の光ビームは、シリンドリカルレンズ605およびシリンドリカル反射ミラー606を通過した後にコリメートされたビームになる。次に、これらの光ビームは、回折格子607によって回折されて、複数の波長に分離される。次いで、各波長光は、光スイッチエンジン608に集光される。光スイッチエンジン608は、各波長光を所定のポートにルーティングする。対応する光ビームは、光学系600を(複数の構成素子を逆の順番で)再び通過し、所定の出力ファイバに入射して結合される。
WSS光学系600の光スイッチエンジン608は、以下に説明するSPGセルおよびLCセルの複合素子、またはPPGセルおよびLCセルの複合素子を含む適切なWSS(波長選択スイッチ)システムを用いて実現することができる。使用されている他のWSS(波長選択スイッチ)技術(例えば、MEMS,LCOS,LC,ウェッジプレート、DMD)と比較すると、SPGまたはPPGを用いるWSSシステムは、光学系が単純である、電子駆動回路が簡単である、信頼性が高い、高性能である、多くのポート数を容易に実現できる、また製品コストを低く抑えることができるといった利点を有する。
図7a〜図7hは、LCセルおよびSPGセルの複合素子のそれぞれ異なる動作モード700を示している。LCセル710は、SPGセル720の手前に配置される(入射光から見た場合)。LCセル710は、光の偏光を制御すなわち切り替えるのに用いられる。またSPGセル720は、光ビームを所定の方向に回折させるのに用いられる。
図7a,7c,7e,および図7hに示すように、比較的大きな電圧(VH)(例えば、閾値を上回る電圧)をLCセル710に印加すると、入射光ビームの偏光は、LCセルを通過しても変化しない。図7b,7d,7f,および図7gに示すように、電圧をLCセル710に印加しない状態、または比較的小さな電圧(VL)(例えば、閾値を下回る電圧)をLCセル710に印加した状態では、入射光ビームの偏光の回転方向が切り替わる。図7a,7b,7e,および図7fに示すように、比較的大きな電圧(VH)(例えば、閾値を上回る電圧)をSPGセル720に印加すると、入力光の偏光が如何なる状態であっても、光ビームは回折されて0次光となる。図7c,7d,7g、および図7hに示すように、電圧をSPGセル720に印加しない状態、または比較的小さな電圧(VL)(例えば、閾値を下回る電圧)をSPGセル720に印加した状態では、LCセル710によって制御される入射光の偏光によって異なるが、光ビームは、+1次光または−1次光のいずれかとなるように回折されうる。入力光が右円偏光または左円偏光であるか否かに関係なく、LCセル710およびSPGセル720の複合素子は、光ビームを3つの方向にルーティングして、1×3型光スイッチを形成する。N個のグループのLCセルおよびSPGセルは、1×3型光スイッチを実現することができる。
図8は、LCセルおよびSPGセルの複合素子を用いる具体的な光スイッチエンジン800の断面を示している。光スイッチエンジン800は、WSS光学系600の光スイッチエンジン608として使用することができる。光スイッチエンジン800は、偏光板815に接続されるLCセル810を含む可変光減衰器(VOA)805と、1/4波長板(QWP)840と、2つの連続するLCセル810およびSPGセル820からなる対を含む1×9型光スイッチ830と、プリズムまたはミラー890とを備える。これらの構成素子は、図8に示す通りに、または別の適切な順番で配置することができる。LCセル810およびSPGセル820は、M個の画素を、N=9本のビームと直交する方向(図8の紙面に垂直な方向)に有することができる。図8では、Nはポート数に対応するビームの本数であり、Mは波長チャネル数に対応する画素の個数である。光エンジン800に使用されるLCセルは、電気制御複屈折(ECB)セル、ツイステッドネマチック(TN)セル、および垂直配向(VA)セルであって良い。
簡潔性を期して、スイッチエンジンの動作原理は、図8のエンジン800の断面に図示されているように1つの波長について説明される。しかしながら、同じ動作原理は全てのM個の画素に適用される。
入力光は最初に、光出力の減衰を制御するために使用されるVOA805を通過する。LCセル810に加わる電圧を制御することにより、VOA805の光出力量を制御することができる。QWP840を使用して、光の直線偏光を円偏光に変化させる。次に、光ビームは、2グループのLCセル810およびSPGセル820(1×9型光スイッチ830)を通過する。従って、出力ビームは、光軸に対して9通りの角度をとりうる。次に、当該ビームは、プリズムまたはミラー890で反射され、スイッチ830を通過した後に、光軸に平行になる。光スイッチエンジン800は、適正に設計されて、任意の2つの隣接光路(9通りの切り替え角度)間の距離をほぼ等しくすることができる。従って、基準ファイバアレイは、光出力ポート(例えば、9個の出力ポートを備える)として使用することができる。
図9は、LCセルおよびSPGセルの複合素子を用いる具体的な別の光スイッチエンジン900の断面を示している。光スイッチエンジン900は、WSS光学系600の光スイッチエンジン608として使用することができる。光スイッチエンジン900は、偏光板915に接続されるLCセル910を含むVOA905と、1対のLCセル910およびSPGセル920、および後段の第2のSPGセル920を含む1×7型光スイッチ930と、プリズムまたはミラー890とを備える。これらの構成素子は、図9に示す通りに、または別の適切な順番で配置することができる。LCセル910およびSPGセル920は更に、M個の画素を、N=7本のビームと直交する方向(図9の紙面に垂直な方向)に有することができる。光スイッチエンジン900と光スイッチエンジン800との1つの違いは、光スイッチエンジン900が、1つのLCセル910および2つのSPGセル920を使用して、1×7型光スイッチを実現していることである。1×7型光スイッチでは、LCセル910を使用して、光の偏光を制御し、2つのSPGセル920を使用して、光を所定の角度に回折させる。更に、光スイッチエンジン900はQWPを含んでいない。その代わり、VOA905のLCセル910が、切り替え可能な1/4波長板(λ/4と3λ/4との間で切り替わる)として設計されて、入射光の直線偏光を円偏光に変化させる。光出力ポート数を増やすために、更に多くのSPGセル920を光スイッチエンジン900に、例えばミラーまたはプリズム990の前方に追加することができる。例えば、SPGセル920がN個の場合、1×(2N+1−1)型光スイッチエンジンが実装されて良い。
図10は、LCセルおよびSPGセルの複合素子を用いる具体的な更に別の光スイッチエンジン1000の断面を示している。光スイッチエンジン1000は、WSS光学系600の光スイッチエンジン608として使用することができる。光スイッチエンジン1000は、偏光板1015に接続されるLCセル1010を含むVOA1005と、QWP1040と、3つのSPGセル1020を含む1×8型光スイッチ1030と、プリズムまたはミラー1090とを備える。これらの構成素子は、図10に示す通りに、または別の適切な順番で配置することができる。これらのSPGセル1020は更に、M個の画素を、N=8本のビームと直交する方向(図10の紙面に垂直な方向)に有することができる。上に説明した光スイッチエンジン800および900とは異なり、光スイッチエンジン1000は、LCセルを用いることなくSPGセル群1020のみを使用して光回折角を制御する。光ビームがVOA1005およびQWP1040を通過した後、入力ビームの直線偏光は円偏光に変化する。各SPGセル1020は、光ビームを2通りの角度に回折させることができる。従って、SPGセルがN個ある場合、1×2型光スイッチエンジンを形成することができる。
図11a〜図11dは、LCセルおよびSPGセルの複合素子の異なる動作モード1100を示している。LCセル1110は、SPGセル1150の手前に配置される(入射光から見た場合)。LCセル1110を用いて、光の偏光を制御する、または切り替え、またPPGセル1150を用いて光ビームを、入力光の偏光によって異なるが、2通りの方向のうちの一方の方向に回折させる。従って、LCセルおよびPPGセルからなるN個の群は、1×2型光スイッチを構成することができる。
図11aおよび図11dに示すように、VH(例えば、閾値を上回る電圧)をLCセル1110に印加すると、入射光ビームの偏光は、LCセルを通過することにより変化することはない。図11bおよび図11cに示すように、電圧をLCセル1110に印加しない状態、またはVL(例えば、閾値を下回る電圧)をLCセル1110に印加した状態では、入射光ビームの偏光の左右が切り替わる。図11aおよび図11cに示すように、PPGセル1150への入射光が、右円偏光を有する場合、光ビームは回折されて+1次数光となる。図11bおよび図11dに示すように、PPGセル1150への入射光が、左円偏光されている場合、光ビームは回折されて−1次数光となる。
図12は、LCセルおよびSPGセルの複合素子を用いる具体的な光スイッチエンジン1200の断面を示している。光スイッチエンジン1200は、WSS光学系600の光スイッチエンジン608として使用することができる。光スイッチエンジン1200は、偏光板1215に接続されるLCセル1210を含むVOA1205と、2つの連続するLCセル1210およびPPGセル1250からなる対を含む1×4型光スイッチ1230と、プリズムまたはミラー1290とを備える。これらの構成素子は、図12に示す通りに、または別の適切な順番で配置することができる。これらのLCセル1210およびPPGセル1250は、M個の画素を、N=4本のビームと直交する方向(図12の紙面に垂直な方向)に有することができる。同様の光スイッチは、必要数のLCおよびPPGペアを積層して合体させることにより、任意の数の出力ポートを有するように設計することができる。
図13は、光スイッチエンジンを、LCセルおよびSPGセルを用いて動作させる具体的な方法1300を示している。例えば、方法1300は、光スイッチエンジン800,900,および1000のうちのいずれかの光スイッチエンジンを用いて実施される。工程1310では、入射光ビームを、左円偏光または右円偏光に偏光させる。例えば、QWP840または1040、或いは電気的に切り替え可能な(電圧を印加することにより)LCを用いて、直線偏光する入射光ビームを円偏光する光に変換する。工程1320では、円偏光する光ビームが、少なくとも1つのSPGセルを用いて回折される。回折光ビームの偏光の回転方向が更に切り替えられる。例えば、円偏光する光が、左回り方向と右回り方向との間で、1×9型光スイッチ830の電気的に切り替え可能な第1のLC810(または、1×7型光スイッチ930のLC910)を用いて切り替えられ、続いて、電気的に切り替え可能な次段のSPG820(または、920)により、対応する角度に回折される。別の例では、円偏光する光が、1×8型光スイッチ1030の電気的に切り替え可能な第1のSPG1020により、対応する角度に直接回折される。
図14は、LCセルおよびPPGセルを用いて光スイッチエンジンを動作させる具体的な方法1400を示している。例えば、方法1400は、光スイッチエンジン1200を用いて実施される。工程1410では、入射光ビームが、左円偏光または右円偏光に偏光される。例えば、電気的に切り替え可能なLCを用いて、直線偏光する入射光ビームが円偏光する光に変換される。工程1420では、円偏光する光ビームが、少なくとも1対のLCセルおよびPPGセルを用いて回折される。回折光ビームの偏光の回転方向が更に切り替えられる。例えば、円偏光光は、左回り方向と右回り方向との間で、1×4型光スイッチ1230の電気的に切り替え可能な第1のLC1210を用いて切り替えられ、続いて、電気的に切り替え可能な次段のSPG1250により、対応する角度に回折される。
本発明について、例示的な実施形態を参照して説明してきたが、この説明は、限定的な意味に解釈されてはならない。例示の実施形態の種々の変形および組み合わせ、ならびに本発明の他の実施形態は、当業者には、説明を参照することにより明らかになる。従って、添付の請求項は、このような変形または実施形態の全てを包含する。

Claims (15)

  1. 液晶セルと、
    前記液晶セルに隣接する切り替え可能な偏光回折格子(SPG)セルと
    を備え、
    該SPGは、
    第1のガラス基板と、
    前記第1のガラス基板を覆う第1の電極層と、
    前記第1の電極層を覆う光配向層と、
    前記光配向層を覆う液晶材料と、
    前記液晶材料を覆う第2の光配向層と、
    前記第2の光配向層を覆う第2の電極層と、
    前記第2の電極層を覆う第2のガラス基板と
    を含む、
    前記第1の光配向層および前記第2の光配向層は、円偏光の回転方向が互いに反対である2つの干渉光ビームを使用して露光されることにより物理的に変化した感光性ポリマーを含む、
    光スイッチ。
  2. 第2の液晶セルおよび偏光板を含む可変光減衰器(VOA)と、
    前記VOAと前記液晶セルとの間に配置される1/4波長板と、
    前記SPGセルの後段側に配置され、かつ前記液晶セルの反対側にあるプリズムまたはミラーと、
    前記SPGセルと前記プリズムまたはミラーとの間に配置される1ペア以上の更に別の液晶セルおよび更に別の対応するSPGセルと
    を更に備え、
    前記光スイッチは、1つの共通ポートを3個の個別ポートに光接続するように構成される1×3型光スイッチで、
    ここでNは前記光スイッチの液晶セルおよび対応するSPGセルからなる対の数である、
    請求項1に記載の光スイッチ。
  3. 第2の液晶セルおよび偏光板を含む可変光減衰器(VOA)と、
    前記SPGセルの後段側に配置され、かつ前記液晶セルの反対側にあるプリズムまたはミラーと、
    前記SPGセルと前記プリズムまたはミラーとの間に配置される1つ以上の更に別のSPGセルと
    を更に備え、
    前記光スイッチは、1つの共通ポートを2N+1−1個の個別ポートに光接続するように構成される1×(2N+1−1)型光スイッチで、
    ここでNは前記光スイッチのSPGセルの数である、
    請求項1に記載の光スイッチ。
  4. 前記液晶セルは、入射光偏光を直線偏光から右円偏光または左円偏光に変換する切り替え可能な1/4波長板として構成される、請求項3に記載の光スイッチ。
  5. 前記液晶セルおよび偏光板を含む可変光減衰器(VOA)と、
    前記VOAと前記SPGセルとの間に配置される1/4波長板と、
    前記SPGセルの後段側に配置され、かつ前記VOAの反対側にあるプリズムまたはミラーと、
    前記SPGセルと前記プリズムまたはミラーとの間に配置される1つ以上の更に別のSPGセルと
    を更に備え、
    前記光スイッチは、1つの共通ポートを2個の個別ポートに光接続するように構成される1×2型光スイッチで、
    ここでNは前記光スイッチのSPGセルの数である、
    請求項1に記載の光スイッチ。
  6. 前記液晶セルおよび前記SPGセルは共に、波長チャネル数に対応する複数の画素を含み、
    該複数の画素は、かつ光スイッチポートに対応する光スイッチを通過する複数の平行ビーム光路の方向に対して垂直に配列され、
    前記光スイッチは、等しい距離を、前記光スイッチからの平行出力光ビームの間に有するように設計される、
    請求項1に記載の光スイッチ。
  7. 1つ以上の入射光ビームを前記液晶セルおよび前記SPGセルに送信するとともに前記液晶セルおよび前記SPGセルから受信するファイバアレイと、
    前記光路上にあって、前記ファイバアレイの後段側に配置されるマイクロレンズアレイと、
    前記光路上であって前記マイクロレンズアレイの後段側に配置されるビーム偏向器と、
    前記光路上であって前記ビーム偏向器の後段側に配置される1/2波長板アレイと、
    前記光路上であって前記1/2波長板アレイと前記SPGセルを有する前記液晶セルとの間に配置されるシリンドリカルレンズと、
    前記光路上で前記シリンドリカルレンズの後方に位置する前記液晶セルおよび前記SPGセルに対向し、かつ前記シリンドリカルレンズを通過する光ビームを反対方向に反射して前記シリンドリカルレンズを通過させるように配置されるシリンドリカル反射ミラーと、
    前記光路上で前記シリンドリカルレンズの後方に位置する前記シリンドリカル反射ミラーに対向し、かつ前記シリンドリカルレンズを通過する光ビームを前記シリンドリカルレンズへ戻るように回折させるように配置される回折格子と
    を更に備える、請求項1に記載の光スイッチ。
  8. 前記SPGセルは、電圧が印加されていない状態または第1の電圧が前記第1の電極層と前記第2の第1の電極層との間に印加されている状態で、円偏光を所定方向に有する入射光ビームを回折させ、かつ前記回折入射光ビームの円偏光の回転方向を反転させるように構成される、請求項1に記載の光スイッチ。
  9. 前記SPGセルは、第2の電圧が前記第1の電極層と前記第2の第1の電極層との間に印加されている状態で、回折も偏光の変化も起こすことなく入射光ビームに前記SPGセルを通過させるように構成される、請求項8に記載の光スイッチ。
  10. 前記液晶セルは、電圧が印加されていない状態または第1の電圧が前記液晶セルの両端に印加されている状態で、円偏光の回転方向を反転させた後に、前記円偏光を有する入射光ビームを通過させて前記SPGセルに到達させるか、あるいはそのかわりに、第2の電圧が前記液晶セルの両端に印加されている状態で、前記円偏光の回転方向を変化させることなく前記入射光ビームを通過させるように構成される、請求項1に記載の光スイッチ。
  11. 液晶セルと、
    前記液晶セルに隣接するポリマー液晶偏光回折格子(PPG)セルと
    を備え、該PPGは、
    ガラス基板と、
    前記ガラス基板を覆い、かつ円偏光の回転方向が互いに反対である2つの干渉光ビームを使用して露光されることにより物理的に変化している感光性ポリマーを含む光配向層と、
    前記光配向層を前記ガラス基板の反対側で覆い、かつ均一光ビームを用いる照射により物理的に変化した重合液晶層と
    を含む、光スイッチ。
  12. 第2の液晶セルおよび偏光板を含む可変光減衰器(VOA)と、
    前記SPGセルの後段側に配置され、かつ前記液晶セルの反対側にあるプリズムまたはミラーと、
    前記PPGセルと前記プリズムまたはミラーとの間に配置される1対以上の更に別の液晶セルおよび更に別の対応するPPGセルからなる対と
    を更に備え、
    前記光スイッチは、1つの共通ポートを2個の個別ポートに光接続するように構成される1×2型光スイッチで、
    ここでNは前記光スイッチの液晶セル群および対応するPPGセルからなる対の数である、
    請求項11に記載の光スイッチ。
  13. 前記液晶セルおよび前記PPGセルは共に、波長チャネル数に対応する複数の画素を含み、
    該複数の画素は、光スイッチポートに対応する前記光スイッチを通過する複数の平行ビーム光路の方向に対して垂直に配列され、
    前記光スイッチは、等しい距離を、前記光スイッチからの平行出力光ビーム群間に有するように設計される、請求項11に記載の光スイッチ。
  14. 1つ以上の入射光ビームを前記液晶セルおよび前記PPGセルに送信するとともに、前記液晶セルおよび前記PPGセルから受信するファイバアレイと、
    前記光路上であって前記ファイバアレイの後段に配置されるマイクロレンズアレイと、
    前記光路上であって前記マイクロレンズアレイの後段側に配置されるビーム偏向器と、
    前記光路上であって前記ビーム偏向器の後段側に配置される1/2波長板アレイと、
    前記光路上であって前記1/2波長板アレイと前記PPGセルを有する前記液晶セルとの間に配置されるシリンドリカルレンズと、
    前記光路上で前記シリンドリカルレンズの後方に位置する前記液晶セルおよび前記SPGセルに対向し、かつ前記シリンドリカルレンズを通過する光ビームを反対方向に反射して前記シリンドリカルレンズを通過させるように配置されるシリンドリカル反射ミラーと、
    前記光路上で前記シリンドリカルレンズの後方に位置する前記シリンドリカル反射ミラーに対向し、かつ前記シリンドリカルレンズを通過する光ビームを前記シリンドリカルレンズへ戻るように回折させるように配置される回折格子と
    を更に備える、請求項11に記載の光スイッチ。
  15. 前記液晶セルは、電圧が印加されていない状態、または第1の電圧が前記液晶セルの両端に印加されている状態で、前記円偏光の回転方向を反転させた後に、円偏光を有する入射光ビームを通過させて前記PPGセルに到達させるか、あるいはその代わりに、第2の電圧が前記液晶セルの両端に印加されている状態で、前記円偏光の回転方向を反転させることなく前記入射光ビームを通過させるように構成される、請求項11に記載の光スイッチ。
JP2014547708A 2012-01-30 2013-01-30 波長を選択的に切り替える方法および装置 Active JP6027628B2 (ja)

Applications Claiming Priority (2)

Application Number Priority Date Filing Date Title
US201261592573P 2012-01-30 2012-01-30
PCT/CN2013/071130 WO2013113278A1 (en) 2012-01-30 2013-01-30 Method and apparatus for wavelength selective switch

Publications (2)

Publication Number Publication Date
JP2015505995A true JP2015505995A (ja) 2015-02-26
JP6027628B2 JP6027628B2 (ja) 2016-11-16

Family

ID=48869931

Family Applications (1)

Application Number Title Priority Date Filing Date
JP2014547708A Active JP6027628B2 (ja) 2012-01-30 2013-01-30 波長を選択的に切り替える方法および装置

Country Status (5)

Country Link
US (2) US9008470B2 (ja)
EP (1) EP2766766A4 (ja)
JP (1) JP6027628B2 (ja)
CN (1) CN103703405B (ja)
WO (1) WO2013113278A1 (ja)

Cited By (6)

* Cited by examiner, † Cited by third party
Publication number Priority date Publication date Assignee Title
WO2016175071A1 (ja) * 2015-04-27 2016-11-03 国立研究開発法人産業技術総合研究所 光ビーム偏向素子およびそれを用いた波長選択クロスコネクト装置、光クロスコネクト装置
JP2017516159A (ja) * 2014-05-09 2017-06-15 華為技術有限公司Huawei Technologies Co.,Ltd. 液晶格子に基づく光スイッチ
WO2017119362A1 (ja) * 2016-01-07 2017-07-13 国立研究開発法人産業技術総合研究所 円偏光入出力装置
JP2019082518A (ja) * 2017-10-30 2019-05-30 有限会社オートクローニング・テクノロジー 光マトリクススイッチ
WO2021161994A1 (ja) * 2020-02-14 2021-08-19 富士フイルム株式会社 光結合システムおよび光通信デバイス
JP2023508817A (ja) * 2020-01-02 2023-03-06 メタ プラットフォームズ テクノロジーズ, リミテッド ライアビリティ カンパニー 瞳孔ステアリングのための偏光選択性要素と切替え可能半波長板とを含む光コンバイナ

Families Citing this family (49)

* Cited by examiner, † Cited by third party
Publication number Priority date Publication date Assignee Title
RU2629550C2 (ru) 2011-12-23 2017-08-29 Джонсон Энд Джонсон Вижн Кэа, Инк. Изменяемое оптическое офтальмологическое устройство, содержащее жидкокристаллические элементы
US9369783B2 (en) * 2012-02-17 2016-06-14 Alcatel Lucent Wavelength-selective cross-connect device having astigmatic optics
US9188831B2 (en) 2012-02-17 2015-11-17 Alcatel Lucent Compact wavelength-selective cross-connect device having multiple input ports and multiple output ports
US10386653B2 (en) 2012-12-21 2019-08-20 Johnson & Johnson Vision Care, Inc. Variable optic ophthalmic device including liquid crystal elements
US9268154B2 (en) * 2013-09-17 2016-02-23 Johnson & Johnson Vision Care, Inc. Method and apparatus for ophthalmic devices including hybrid alignment layers and shaped liquid crystal layers
US9366881B2 (en) 2013-09-17 2016-06-14 Johnson & Johnson Vision Care, Inc. Method and apparatus for ophthalmic devices including shaped liquid crystal polymer networked regions of liquid crystal
US9442309B2 (en) 2013-09-17 2016-09-13 Johnson & Johnson Vision Care, Inc. Method and apparatus for ophthalmic devices comprising dielectrics and nano-scaled droplets of liquid crystal
US9869885B2 (en) 2013-09-17 2018-01-16 Johnson & Johnson Vision Care, Inc. Method and apparatus for ophthalmic devices including gradient-indexed liquid crystal layers and shaped dielectric layers
US9500882B2 (en) 2013-09-17 2016-11-22 Johnson & Johnson Vision Care, Inc. Variable optic ophthalmic device including shaped liquid crystal elements with nano-scaled droplets of liquid crystal
US9592116B2 (en) 2013-09-17 2017-03-14 Johnson & Johnson Vision Care, Inc. Methods and apparatus for ophthalmic devices including cycloidally oriented liquid crystal layers
US9541772B2 (en) 2013-09-17 2017-01-10 Johnson & Johnson Vision Care, Inc. Methods and apparatus for ophthalmic devices including cycloidally oriented liquid crystal layers
US9880398B2 (en) 2013-09-17 2018-01-30 Johnson & Johnson Vision Care, Inc. Method and apparatus for ophthalmic devices including gradient-indexed and shaped liquid crystal layers
CN105446048B (zh) * 2014-05-27 2017-06-20 华为技术有限公司 可调光衰减器
WO2016071777A2 (en) * 2014-11-03 2016-05-12 INLC Technology, Inc. Wavelength selection switch including a switching module having a liquid crystal phase array, a polarizer and a liquid crystal on silicon
CN104460020B (zh) * 2014-11-29 2018-04-10 华为技术有限公司 光束处理器件、光束衰减切换器件及光波长选择开关系统
WO2016106521A1 (zh) * 2014-12-29 2016-07-07 华为技术有限公司 一种波长选择开关
CN104993870B (zh) * 2015-07-22 2018-10-26 北京邮电大学 一种射频交换装置
CN105182474B (zh) 2015-10-29 2018-02-09 武汉光迅科技股份有限公司 一种波长选择开关
US9632253B1 (en) * 2015-11-12 2017-04-25 Alliance Fiber Optic Products, Inc. Variable optical attenuator with a transmitting non-attenuating diffracting prism
US10324355B2 (en) 2016-04-21 2019-06-18 Ohio State Innovation Foundation Devices and methods for implementing an optical switching engine
CN105739213A (zh) * 2016-05-10 2016-07-06 中国工程物理研究院流体物理研究所 一种液晶光学相控阵角度放大器
CN106199841B (zh) * 2016-08-30 2019-02-01 武汉光迅科技股份有限公司 一种液晶型波长选择开关
EP3291000B1 (en) * 2016-08-30 2020-12-16 Accelink Technologies Co., Ltd. Wavelength selective switch
US10367596B1 (en) 2017-05-23 2019-07-30 Ii-Vi Delaware, Inc. Multiple wavelength selective switch with shared switch
US10761391B2 (en) 2017-05-23 2020-09-01 The United States Of America As Represented By The Secretary Of The Air Force Optical attenuator
WO2019059891A1 (en) * 2017-09-19 2019-03-28 Ohio State Innovation Foundation DEVICES AND METHODS FOR OPERATING AN OPTICAL SWITCHING MOTOR
EP3677959B1 (en) * 2017-09-26 2024-09-25 Huawei Technologies Co., Ltd. Wavelength selective switch including a liquid crystal on silicon device and manufacturing method
WO2019109214A1 (zh) 2017-12-04 2019-06-13 华为技术有限公司 光波导装置、光波导装置的控制方法和存储介质
JP2021511553A (ja) * 2018-01-24 2021-05-06 プレジデント・アンド・フェロウズ・オブ・ハーバード・カレッジ メタサーフェスを用いる偏光状態の生成方法
CN108401447B (zh) * 2018-03-02 2020-10-20 香港应用科技研究院有限公司 具有快速响应和提高的转向分辨率的束转向设备
US10816939B1 (en) 2018-05-07 2020-10-27 Zane Coleman Method of illuminating an environment using an angularly varying light emitting device and an imager
US11184967B2 (en) 2018-05-07 2021-11-23 Zane Coleman Angularly varying light emitting device with an imager
CN112673299B (zh) * 2018-09-14 2023-06-02 奇跃公司 用于外部光管理的系统和方法
CN109375426B (zh) * 2018-12-14 2021-06-25 中国科学院长春光学精密机械与物理研究所 一种单侧取向有源液晶偏振光栅结构及其制备方法
CN109633953B (zh) * 2019-02-15 2021-11-12 天马微电子股份有限公司 一种液晶光栅驱动电路、光阀及显示装置
CN110208999B (zh) * 2019-05-18 2023-03-24 深圳市麓邦技术有限公司 图像采集方法及系统
CN120255032A (zh) 2019-07-26 2025-07-04 梅特兰兹股份有限公司 孔隙-超表面和混合折射-超表面成像系统
CN110596944B (zh) * 2019-09-19 2022-11-04 京东方科技集团股份有限公司 显示装置及其制作方法
CN110646992B (zh) * 2019-09-26 2020-12-29 中国科学院长春光学精密机械与物理研究所 一种双周期复合液晶偏振光栅
CN110928081B (zh) * 2019-12-03 2022-10-11 东南大学 一种基于液晶偏转体光栅的可控角度偏转方法
CN113156728B (zh) * 2020-01-22 2023-03-03 华为技术有限公司 一种可调液晶组件以及波长选择开关
US11798816B2 (en) * 2020-06-25 2023-10-24 University Of Central Florida Research Foundation, Inc. Method for isolating a conductive via from a glass substrate
US11442314B2 (en) 2020-08-11 2022-09-13 Chongchang Mao Polarization insensitive liquid crystal on silicon (LCOS) phase modulators and related devices and methods
CN112327415A (zh) * 2020-10-12 2021-02-05 易锐光电科技(安徽)有限公司 波分复用结构
CN116804798A (zh) * 2022-03-18 2023-09-26 华为技术有限公司 投影装置和交通工具
CA3246660A1 (en) 2022-03-31 2025-02-03 Metalenz, Inc. Polarization sorting metasurface microlens array device
US11722236B1 (en) * 2022-04-05 2023-08-08 Ii-Vi Delaware, Inc. Polarization-maintaining wavelength selective switch for free-space optical communication
US12345998B2 (en) * 2022-06-03 2025-07-01 Ii-Vi Delaware, Inc. Tunable optical wedge for reducing crosstalk in wavelength selective switch
CN117348161A (zh) * 2022-06-28 2024-01-05 华为技术有限公司 一种波长选择器件及相应交换设备

Citations (7)

* Cited by examiner, † Cited by third party
Publication number Priority date Publication date Assignee Title
JP2007510957A (ja) * 2003-11-12 2007-04-26 エンガナ ピーティーワイ リミテッド 波長操作システムおよび方法
WO2008130559A2 (en) * 2007-04-16 2008-10-30 North Carolina State University Methods of fabricating switchable liquid crystal polarization gratings on reflective substrates and related devices
JP2009042557A (ja) * 2007-08-09 2009-02-26 Nippon Telegr & Teleph Corp <Ntt> 波長選択スイッチ
JP2009258438A (ja) * 2008-04-17 2009-11-05 Nippon Telegr & Teleph Corp <Ntt> 波長選択スイッチ
JP2010026273A (ja) * 2008-07-22 2010-02-04 Dainippon Printing Co Ltd ヘッドマウントディスプレイ
WO2011014743A2 (en) * 2009-07-31 2011-02-03 North Carolina State University Beam steering devices including stacked liquid crystal polarization gratings and related methods of operation
JP2011248196A (ja) * 2010-05-28 2011-12-08 Sanyo Engineer & Construction Inc 光可変フィルタアレイ装置

Family Cites Families (17)

* Cited by examiner, † Cited by third party
Publication number Priority date Publication date Assignee Title
US6249364B1 (en) 1997-02-14 2001-06-19 Photonetics Optical wave-guide wavelength multiplexer and demultiplexer
US6625346B2 (en) 2001-03-19 2003-09-23 Capella Photonics, Inc. Reconfigurable optical add-drop multiplexers with servo control and dynamic spectral power management capabilities
US6707959B2 (en) 2001-07-12 2004-03-16 Jds Uniphase Inc. Wavelength switch
WO2003032071A1 (en) 2001-10-09 2003-04-17 Xtellus Inc. Wavelength selective optical switch
WO2004019124A1 (en) * 2002-08-20 2004-03-04 Avanex Corporation High extinction ratio and low crosstalk compact optical switches
US7196758B2 (en) 2003-12-30 2007-03-27 3M Innovative Properties Company Method of alignment of liquid crystals comprising exposing an alignment material to an interference pattern
JP2005331757A (ja) * 2004-05-20 2005-12-02 Ricoh Co Ltd 偏光選択性ホログラム素子・光ピックアップ装置
US7787720B2 (en) 2004-09-27 2010-08-31 Optium Australia Pty Limited Wavelength selective reconfigurable optical cross-connect
US7492986B1 (en) 2004-12-23 2009-02-17 Coadna Photonics, Inc. Apparatus and method for optical switching with liquid crystals and birefringent wedges
US7499608B1 (en) 2004-12-23 2009-03-03 Coadna Photonics, Inc. Apparatus and method for optical switching with liquid crystals and birefringent wedges
WO2006092758A2 (en) 2005-03-01 2006-09-08 Dutch Polymer Institute Polarization gratings in mesogenic films
US8537310B2 (en) 2005-03-01 2013-09-17 North Carolina State University Polarization-independent liquid crystal display devices including multiple polarization grating arrangements and related devices
JP4875087B2 (ja) * 2005-09-08 2012-02-15 オクラロ(ニュージャージー)インコーポレイテッド 光波長選択ルータ
US8081875B2 (en) 2007-02-08 2011-12-20 Jds Uniphase Corporation Wavelength switch
US8531646B2 (en) * 2007-09-11 2013-09-10 Kent State University Tunable liquid crystal devices, devices using same, and methods of making and using same
JP5299209B2 (ja) 2009-10-14 2013-09-25 富士通株式会社 波長選択スイッチおよび光伝送装置
JP6248296B2 (ja) * 2012-06-21 2017-12-20 マクセル株式会社 光学素子、光学素子の製造方法および光学装置

Patent Citations (7)

* Cited by examiner, † Cited by third party
Publication number Priority date Publication date Assignee Title
JP2007510957A (ja) * 2003-11-12 2007-04-26 エンガナ ピーティーワイ リミテッド 波長操作システムおよび方法
WO2008130559A2 (en) * 2007-04-16 2008-10-30 North Carolina State University Methods of fabricating switchable liquid crystal polarization gratings on reflective substrates and related devices
JP2009042557A (ja) * 2007-08-09 2009-02-26 Nippon Telegr & Teleph Corp <Ntt> 波長選択スイッチ
JP2009258438A (ja) * 2008-04-17 2009-11-05 Nippon Telegr & Teleph Corp <Ntt> 波長選択スイッチ
JP2010026273A (ja) * 2008-07-22 2010-02-04 Dainippon Printing Co Ltd ヘッドマウントディスプレイ
WO2011014743A2 (en) * 2009-07-31 2011-02-03 North Carolina State University Beam steering devices including stacked liquid crystal polarization gratings and related methods of operation
JP2011248196A (ja) * 2010-05-28 2011-12-08 Sanyo Engineer & Construction Inc 光可変フィルタアレイ装置

Cited By (13)

* Cited by examiner, † Cited by third party
Publication number Priority date Publication date Assignee Title
US10284931B2 (en) 2014-05-09 2019-05-07 Huawei Technologies Co., Ltd. Liquid crystal grating-based optical switch
JP2017516159A (ja) * 2014-05-09 2017-06-15 華為技術有限公司Huawei Technologies Co.,Ltd. 液晶格子に基づく光スイッチ
US10613412B2 (en) 2015-04-27 2020-04-07 National Institute Of Advanced Industrial Science Light beam deflecting element, wavelength-selective cross-connect device using same, and optical cross-connect device
JPWO2016175071A1 (ja) * 2015-04-27 2017-12-07 国立研究開発法人産業技術総合研究所 光ビーム偏向素子およびそれを用いた波長選択クロスコネクト装置、光クロスコネクト装置
WO2016175071A1 (ja) * 2015-04-27 2016-11-03 国立研究開発法人産業技術総合研究所 光ビーム偏向素子およびそれを用いた波長選択クロスコネクト装置、光クロスコネクト装置
WO2017119362A1 (ja) * 2016-01-07 2017-07-13 国立研究開発法人産業技術総合研究所 円偏光入出力装置
JP2019082518A (ja) * 2017-10-30 2019-05-30 有限会社オートクローニング・テクノロジー 光マトリクススイッチ
JP7101954B2 (ja) 2017-10-30 2022-07-19 株式会社フォトニックラティス 光マトリクススイッチ
JP2023508817A (ja) * 2020-01-02 2023-03-06 メタ プラットフォームズ テクノロジーズ, リミテッド ライアビリティ カンパニー 瞳孔ステアリングのための偏光選択性要素と切替え可能半波長板とを含む光コンバイナ
WO2021161994A1 (ja) * 2020-02-14 2021-08-19 富士フイルム株式会社 光結合システムおよび光通信デバイス
JPWO2021161994A1 (ja) * 2020-02-14 2021-08-19
JP7470775B2 (ja) 2020-02-14 2024-04-18 富士フイルム株式会社 光結合システムおよび光通信デバイス
US11988880B2 (en) 2020-02-14 2024-05-21 Fujifilm Corporation Optical coupling system and optical communication device

Also Published As

Publication number Publication date
US20150185583A1 (en) 2015-07-02
US20130194537A1 (en) 2013-08-01
JP6027628B2 (ja) 2016-11-16
WO2013113278A1 (en) 2013-08-08
US9201286B2 (en) 2015-12-01
US9008470B2 (en) 2015-04-14
EP2766766A1 (en) 2014-08-20
CN103703405A (zh) 2014-04-02
EP2766766A4 (en) 2015-02-11
CN103703405B (zh) 2016-10-05

Similar Documents

Publication Publication Date Title
JP6027628B2 (ja) 波長を選択的に切り替える方法および装置
JP6150146B2 (ja) ビーム処理装置、ビーム減衰および切り替え装置、ならびに光波長選択スイッチシステム
CN102590953B (zh) 一种波长选择光开关
US7014326B2 (en) Wavelength blocker
JP6598389B2 (ja) 光ビーム偏向素子およびそれを用いた波長選択クロスコネクト装置、光クロスコネクト装置
EP3677959B1 (en) Wavelength selective switch including a liquid crystal on silicon device and manufacturing method
US7092594B2 (en) Wavelength selector switch
JPH08510564A (ja) 偏光回転を用いた周波数選択光スイッチ
WO2012125722A1 (en) Wavelength selective switch
EP1202091B1 (en) A polarization-independent, configurable optical multiplexer
JP4949355B2 (ja) 波長選択スイッチ
JP5861130B2 (ja) 波長選択光クロスコネクト装置
US9521474B2 (en) Wavelength selective switch having multi-layer reflector
JP2009042557A (ja) 波長選択スイッチ
CN105182473A (zh) 一种波长选择光阻塞器
JP4544828B2 (ja) 波長選択スイッチ
WO2010146590A1 (en) Liquid crystal wavelength selective router
US20240365028A1 (en) Wavelength selective switch and optical cross-connect device including wavelength selective switch
CN120831820A (zh) 硅基液晶器件、波长选择开关、光交换设备及光网络系统

Legal Events

Date Code Title Description
A131 Notification of reasons for refusal

Free format text: JAPANESE INTERMEDIATE CODE: A131

Effective date: 20150609

A601 Written request for extension of time

Free format text: JAPANESE INTERMEDIATE CODE: A601

Effective date: 20150909

A521 Request for written amendment filed

Free format text: JAPANESE INTERMEDIATE CODE: A523

Effective date: 20151009

A02 Decision of refusal

Free format text: JAPANESE INTERMEDIATE CODE: A02

Effective date: 20160308

A521 Request for written amendment filed

Free format text: JAPANESE INTERMEDIATE CODE: A523

Effective date: 20160708

A911 Transfer to examiner for re-examination before appeal (zenchi)

Free format text: JAPANESE INTERMEDIATE CODE: A911

Effective date: 20160715

TRDD Decision of grant or rejection written
A01 Written decision to grant a patent or to grant a registration (utility model)

Free format text: JAPANESE INTERMEDIATE CODE: A01

Effective date: 20160927

A61 First payment of annual fees (during grant procedure)

Free format text: JAPANESE INTERMEDIATE CODE: A61

Effective date: 20161014

R150 Certificate of patent or registration of utility model

Ref document number: 6027628

Country of ref document: JP

Free format text: JAPANESE INTERMEDIATE CODE: R150

R250 Receipt of annual fees

Free format text: JAPANESE INTERMEDIATE CODE: R250

R250 Receipt of annual fees

Free format text: JAPANESE INTERMEDIATE CODE: R250

R250 Receipt of annual fees

Free format text: JAPANESE INTERMEDIATE CODE: R250

R250 Receipt of annual fees

Free format text: JAPANESE INTERMEDIATE CODE: R250

R250 Receipt of annual fees

Free format text: JAPANESE INTERMEDIATE CODE: R250

R250 Receipt of annual fees

Free format text: JAPANESE INTERMEDIATE CODE: R250