JP2015073727A - 遊技機 - Google Patents

遊技機 Download PDF

Info

Publication number
JP2015073727A
JP2015073727A JP2013211768A JP2013211768A JP2015073727A JP 2015073727 A JP2015073727 A JP 2015073727A JP 2013211768 A JP2013211768 A JP 2013211768A JP 2013211768 A JP2013211768 A JP 2013211768A JP 2015073727 A JP2015073727 A JP 2015073727A
Authority
JP
Japan
Prior art keywords
display
effect
successful
period
progress status
Prior art date
Legal status (The legal status is an assumption and is not a legal conclusion. Google has not performed a legal analysis and makes no representation as to the accuracy of the status listed.)
Pending
Application number
JP2013211768A
Other languages
English (en)
Inventor
拓也 三木
Takuya Miki
拓也 三木
Current Assignee (The listed assignees may be inaccurate. Google has not performed a legal analysis and makes no representation or warranty as to the accuracy of the list.)
Fujishoji Co Ltd
Original Assignee
Fujishoji Co Ltd
Priority date (The priority date is an assumption and is not a legal conclusion. Google has not performed a legal analysis and makes no representation as to the accuracy of the date listed.)
Filing date
Publication date
Application filed by Fujishoji Co Ltd filed Critical Fujishoji Co Ltd
Priority to JP2013211768A priority Critical patent/JP2015073727A/ja
Publication of JP2015073727A publication Critical patent/JP2015073727A/ja
Pending legal-status Critical Current

Links

Images

Landscapes

  • Display Devices Of Pinball Game Machines (AREA)

Abstract

【課題】遊技者が操作手段を操作した後にその操作タイミングについて遊技者自ら検証することが可能な遊技機を提供する。【解決手段】外部から操作可能な操作手段12と、操作有効期間中の操作手段12の操作に基づく演出を行う操作演出手段36と、操作有効期間の経過状況を表示する経過状況表示手段42とを備えた遊技機で、操作有効期間中に操作手段12が所定の操作態様で操作された場合に操作成功と判定する操作判定手段を設け、操作演出手段36は、操作判定手段により操作成功と判定された場合に所定の確率で特定演出結果を出力するように構成し、操作判定手段により操作成功と判定された場合、その後に表示終了条件が成立するまで、操作成功のタイミングを示した状態で経過状況表示手段42による表示を継続する。【選択図】図9

Description

本発明は、パチンコ機、アレンジボール機、スロットマシン等の遊技機に関するものである。
パチンコ機等の遊技機では、遊技者の遊技への関与意識を高めて興趣を増大させるため、発射ハンドル等とは別に押しボタン式、その他の操作手段を1又は複数設け、図柄変動中等に設定された所定の操作有効期間中に遊技者に対して操作手段の操作を促すと共にその操作手段の操作に基づく演出(操作演出)を行うようにしたものが多い。
この種の遊技機のうち、例えば特許文献1に記載の遊技機では、操作有効期間中、演出ボタン(操作手段)の操作を遊技者に報知するための演出ボタン画像と、操作有効期間の残り時間を報知するゲージ画像とを表示し、操作有効期間が終了した時点でゲージ画像の表示を終了させ、演出ボタン画像の表示については例えばフェードアウトにより所定時間経過後に終了させるようになっている。これにより、演出ボタンの操作有効期間が終了したことを遊技への興趣を持たせつつ適切なタイミングで遊技者に報知できるとしている。
特開2011−125550号公報
以上のように従来の遊技機では、操作有効期間中に遊技者が操作手段を操作することによって操作有効期間が終了すると、操作有効期間の残り時間を報知するゲージ画像の表示はその時点で終了するようになっている。従って、例えば操作有効期間中における操作タイミングに応じて異なる演出結果を出力するように構成された遊技機の場合、遊技者は自分が意図したタイミングで操作できたか否かを後で検証することができず、従って次の操作演出に向けて遊技者の遊技意欲を維持することが難しいという問題があった。
本発明は上記事情に鑑みてなされたものであり、遊技者が操作手段を操作した後にその操作タイミングについて遊技者自ら検証することが可能な遊技機を提供することを目的とする。
本発明は、外部から操作可能な操作手段12と、操作有効期間中の前記操作手段12の操作に基づく演出を行う操作演出手段36と、前記操作有効期間の経過状況を表示する経過状況表示手段42とを備えた遊技機において、前記操作有効期間中に前記操作手段12が所定の操作態様で操作された場合に操作成功と判定する操作判定手段83を備え、前記操作演出手段36は、前記操作判定手段83により操作成功と判定された場合に所定の確率で特定演出結果を出力するように構成し、前記操作判定手段83により操作成功と判定された場合、その後に表示終了条件が成立するまで、前記操作成功のタイミングを示した状態で前記経過状況表示手段42による表示を継続するように構成したものである。
また、所定抽選で当選することに基づいて利益状態を発生させる利益状態発生手段66を備え、前記操作演出手段36は、前記所定抽選で当選し且つ前記操作有効期間中の特定期間内に前記操作判定手段83により操作成功と判定された場合に所定の確率で前記特定演出結果を出力するように構成してもよい。この場合、前記経過状況表示手段42は、前記操作有効期間中における前記特定期間を表示するように構成してもよい。また、前記操作判定手段83により操作成功と判定された場合の前記経過状況表示手段42による表示態様を、その操作成功のタイミングが前記特定期間中であったか否かに応じて異ならせてもよい。
また、前記操作手段12の操作を促す操作誘導表示を行う操作誘導表示手段41を備え、前記操作判定手段83により操作成功と判定された場合、前記操作誘導表示手段41による前記操作誘導表示はその時点で、又はその時点から徐々に終了させるように構成してもよい。
また、前記経過状況表示手段42は、前記操作有効期間の残り時間又は経過時間の減少又は増加に応じて、所定のレベル表示領域に占めるレベル表示部の割合を減少又は増加させるように構成してもよい。
また、前記操作判定手段83により操作成功と判定されてから所定時間が経過した時点で前記表示終了条件が成立したものと判定するように構成してもよい。
本発明によれば、遊技者が操作手段を操作した後にその操作タイミングについて遊技者自ら検証することが可能となる。
本発明の一実施形態におけるパチンコ機の全体正面図である。 同パチンコ機の操作有効期間表示手段による操作誘導画像及び経過状況表示画像の一例を示す図である。 同パチンコ機の操作演出手段による操作演出画像の一例を示す図である。 同パチンコ機の制御系のブロック図である。 同パチンコ機の操作演出制御処理のフローチャートである。 同パチンコ機の操作有効期間報知開始処理のフローチャートである。 同パチンコ機の操作有効期間報知停止処理のフローチャートである。 同パチンコ機の操作成功時演出画像表示処理のフローチャートである。 同パチンコ機の操作有効期間中に演出ボタンが操作された場合の演出図柄表示手段、操作誘導表示手段、経過状況表示手段及び予告演出表示手段による画像表示の一例を示すタイムチャートである。 経過状況表示画像のその他の例を示す図である。
以下、本発明の実施形態を図面に基づいて詳述する。図1〜図9は本発明をパチンコ機に採用した一実施形態を例示している。図1において、遊技機本体1は、矩形状の外枠2と、この外枠2の前側に左右一側、例えば左側のヒンジ3により開閉自在に枢着された前枠4とを備えている。前枠4の前側には、ガラス扉5と前面板6とが上下に配置され、夫々ヒンジ3と同じ側のヒンジ7により前枠4に開閉自在に枢支されている。
前面板6の前側には、払い出し手段(図示省略)から払い出された遊技球を貯留して発射手段(図示省略)に供給する上皿8が上部側に配置され、またその上皿8の下側には、例えば上皿8が満杯のときにその余剰球を貯留する下皿9が左端側に、発射手段を作動させるための発射ハンドル10が右端側に夫々配置されている。更に、上皿8等を前側から覆う上皿カバー11上には、例えば左右方向の略中央に演出ボタン(操作手段)12が例えば前斜め上向きに配置されている。
演出ボタン12は、遊技者の押圧操作を検出可能な押しボタン式の操作手段で、平坦な略楕円形、その他の操作部12aを有し、操作部12aが内部の弾性部材による付勢力に抗して押圧操作されたとき、その操作部12aの移動によって内部の検出スイッチ(図示省略)がONに切り替わるように構成されている。この演出ボタン12は、後述する操作演出で用いられるもので、操作演出が開始されてその操作有効期間中に操作された場合に、その操作タイミングに応じた演出結果が出力されるようになっている。
また、例えば操作部12aの内部には、操作有効期間の報知手段等として機能するLED13が1又は複数配置されており、操作有効期間中にLED13が点灯又は点滅することによって演出ボタン12の操作が有効である旨を報知するようになっている。
ガラス扉5の後側には遊技盤21が配置され、前枠4に対して例えば前側から着脱自在に装着されている。遊技盤21の前面側には、発射手段から発射された遊技球を案内するガイドレール22が環状に装着されると共に、そのガイドレール22の内側の遊技領域23に、センターケース24、普通図柄始動手段25、特別図柄始動手段26、大入賞手段27、普通入賞手段28等の各種遊技部品が配置されている。
センターケース24には、液晶式等の画像表示装置29の他、普通図柄表示手段30、特別図柄表示手段31、普通保留個数表示手段32、可動体33等が設けられている。画像表示装置29は、演出図柄表示手段34、特別保留個数表示手段35、予告演出表示手段36、操作有効期間表示手段37等を構成している。
普通図柄始動手段25は、普通図柄表示手段30による図柄変動を開始させるためのもので、例えば遊技球が通過可能な通過ゲート25aと、この通過ゲート25aを通過する遊技球を検出する遊技球検出手段(図示省略)とを備えており、例えばセンターケース24の左側に配置されている。
普通図柄表示手段30は、普通図柄を変動表示するためのもので、例えば「○」「×」の2種類の普通図柄に対応する2個の発光体(例えばLED)により構成されており、普通図柄始動手段25が遊技球を検出することを条件にそれら2つの発光体が所定時間交互に点滅して、普通図柄始動手段25による遊技球検出時に取得された当たり判定乱数値が予め定められた当たり判定値と一致する場合には当たり態様(所定態様)に対応する「○」側の発光体が発光した状態で、それ以外の場合には外れ態様に対応する「×」側の発光体が発光した状態で、点滅が終了するようになっている。
また、普通図柄表示手段30の変動表示中、又は後述する普通利益状態中に普通図柄始動手段25が遊技球を検出した場合には、その検出時に取得された当たり判定乱数値が予め定められた上限保留個数、例えば4個を限度として記憶されると共に、例えば上限保留個数と同数の発光体よりなる普通保留個数表示手段32がその発光個数により当たり判定乱数値の記憶個数(以下、普通保留個数という)を表示して、その時点での普通保留個数を遊技者に報知するようになっている。
特別図柄始動手段26は、特別図柄表示手段31による図柄変動を開始させるためのもので、上下2つの特別始動口26a,26bと、下特別始動口26bを開閉する開閉手段38と、特別始動口26a,26bに入賞した遊技球をそれぞれ検出する遊技球検出手段(図示省略)とを備え、例えばセンターケース24の下側に配置されている。
上特別始動口26aは、開閉手段等を有しない非開閉式入賞口である。下特別始動口26bは、開閉手段38により遊技球が入賞可能な開状態と入賞不可能な閉状態とに切り換え可能な開閉式入賞口で、普通図柄表示手段30の変動後の停止図柄が当たり態様となって普通利益状態が発生したときに、開閉手段38が所定時間、所定回数だけ閉状態から開状態に変化するように構成されている。
特別図柄表示手段31は、1個又は複数個、例えば1個の特別図柄を変動表示可能な7セグメント式等の表示手段により構成されており、特別図柄始動手段26が遊技球を検出すること、即ち上下2つの特別始動口26a,26bの何れかに遊技球が入賞することを条件に特別図柄を所定時間変動表示して、特別始動口26a,26bへの入賞時に取得された大当たり判定乱数値が予め定められた大当たり判定値と一致する場合には所定の大当たり態様(特定態様)で、それ以外の場合には外れ態様で停止するようになっている。
特別図柄には、例えば大当たり態様及び外れ態様が夫々1又は複数種類ずつ設けられている。なお、それら各態様には夫々数字図柄等を割り当ててもよいし、遊技者がその特別図柄の種類を容易に区別できないように、任意の線や点の組み合わせのようなそれ自体としては特別な意味を持たない図柄を割り当ててもよい。
また、特別図柄の変動表示中、又は後述する特別利益状態中に特別始動口26a,26bに遊技球が入賞した場合には、その入賞時に取得された大当たり判定乱数値等が夫々所定の上限保留個数、例えば各4個を限度として記憶されると共に、特別保留個数表示手段35が大当たり判定乱数値の記憶個数(以下、特別保留個数という)を表示して、その時点での特別保留個数を遊技者に報知するようになっている。
演出図柄表示手段34は、例えば特別図柄表示手段31による特別図柄の変動表示と並行して演出図柄を変動表示するもので、1個又は複数個、例えば左右方向に3個の演出図柄を例えば各種の演出画像と共に画像表示装置29の表示画面29aに変動表示可能に構成されており、特別図柄始動手段26が遊技球を検出すること、即ち上下2つの特別始動口26a,26bの何れかに遊技球が入賞することを条件に特別図柄の変動開始と同時に所定の変動パターンに従って演出図柄の変動を開始すると共に、特別図柄の変動停止と同時に最終停止するように、演出図柄を左、右、中等の所定の順序で停止させるようになっている。
演出図柄には、例えば「0」〜「9」の10種類の数字図柄が用いられ、「6・6・6」「7・7・7」等、3つの図柄が全て同じ図柄で揃ったものが大当たり態様、少なくとも1つの図柄が異なるものが外れ態様となっている。なお、本実施形態では、特別図柄が大当たり態様となる場合には演出図柄も大当たり態様となり、特別図柄が外れ態様となる場合には演出図柄も外れ態様となるものとする。
予告演出表示手段(操作演出手段)36は、演出図柄表示手段34による演出図柄の図柄変動中に所定の予告演出表示を行うもので、予告演出の際にその予告演出に対応する演出画像を画像表示装置29の表示画面29aに表示するように構成されている。
操作有効期間表示手段37は、後述する操作演出において、演出ボタン12の操作が有効となる操作有効期間中にその操作有効期間に関する表示を行うもので、操作誘導表示手段41、経過状況表示手段42等を備えている。
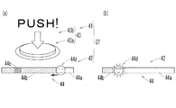
操作誘導表示手段41は、演出ボタン12の操作を遊技者に促すための操作誘導画像43を画像表示装置29の表示画面29a上に表示する(操作誘導表示を行う)ものである。操作誘導画像43は、図2(a)に示すように、例えば操作対象である演出ボタン12の外観を表す操作手段報知画像43aと、操作手段報知画像43aで示された操作対象に対する操作態様を例えば操作手段報知画像43aに向かう下向き矢印と「PUSH!」の文字とで表す操作態様報知画像43bとで構成されている。
なお、本実施形態では操作演出時の操作対象は演出ボタン12のみであるが、例えば複数の操作対象が存在する場合には、操作対象に応じて複数種類の操作手段報知画像43aの何れかを用いればよい。また、本実施形態では演出ボタン12を一回だけ操作する「一回押し」の操作態様のみとするが、例えば演出ボタン12を連続的に複数回操作する「連打」、演出ボタン12を操作した状態を所定時間以上維持する「長押し」等の複数種類の操作態様を設ける場合には、「PUSH!」の文字に代えて「連打!」、「長押し!」等の文字を用いるなど、操作態様に応じて複数種類の操作態様報知画像43bの何れかを用いればよい。
経過状況表示手段42は、操作有効期間の残り時間の目安を示す経過状況表示画像44を画像表示装置29の表示画面29a上に表示する(経過状況を表示する)ものである。経過状況表示画像44は、図2(a),(b)に示すように、例えば左右方向の細長状に形成されたレベル表示領域44aと、そのレベル表示領域44a上に表示される帯状のレベル表示部44bとを備え、レベル表示領域44aに占めるレベル表示部44bの割合によって操作有効期間の残り時間を表示するようになっている。即ち、経過状況表示手段42は、例えば操作有効期間の開始時にレベル表示部44bが最大長さ(例えばレベル表示領域44aに占めるレベル表示部44bの割合が100%)となり、操作有効期間の満了時にレベル表示部44bの長さが最小(同0%)となるように、レベル表示部44bを一端側(例えば右端側)から他端側(例えば左端側)に向けて一定速度で略無段階に(又は段階的に)短縮表示するようになっている。
ここで、本実施形態の経過状況表示手段42は、操作有効期間の長短に拘わらずレベル表示領域44aの長さ等を共通とし、レベル表示部44bの変化速度を操作有効期間の長短に応じて異ならせるものとするが、例えば操作有効期間の長短に拘わらずレベル表示部44bの変化速度を共通とし、レベル表示領域44aの長さ等を操作有効期間の長短に応じて異ならせてもよい。
また、レベル表示領域44a上には、操作有効期間中における特定期間に対応する部分を示す特定期間表示部44cが設けられている。この特定期間表示部44cは、レベル表示領域44aの全体を操作有効期間とした場合の特定期間に対応する範囲を、例えば他の範囲とは異なる表示態様(例えば色)で示している。この特定期間については後述するが、遊技者が演出ボタン12を操作する際に狙うべき期間である。従って、遊技者はレベル表示部44bのレベル表示位置がこの特定期間表示部44c上に存在するタイミングを狙って演出ボタン12を操作すればよい。
また経過状況表示手段42は、操作有効期間中に演出ボタン12が操作された場合にその操作タイミングが特定期間中であったか否かを報知する操作結果報知画像44dを表示するようになっている。この操作結果報知画像44dは、通常表示態様と特定表示態様との二種類の表示態様に切り換え可能であり、例えば演出ボタン12の操作タイミングが特定期間中であった場合に例えば図2(a)に示す通常表示態様から図2(b)に示す特定表示態様に切り換えられ、それ以外の場合には通常表示態様のまま変化しないようになっている。なお、操作結果報知画像44dは、例えばレベル表示部44bの減少表示に伴ってレベル表示領域44a上を移動するようになっている。
なお、操作有効期間中は、操作有効期間表示手段37による表示とは別に、演出ボタン12内のLED13が点灯又は点滅することによって演出ボタン12の操作が有効である旨を報知するようになっている。
大入賞手段27は、大入賞口27aを遊技球が入賞可能な開状態と入賞不可能な閉状態とに切り換え可能な開閉板39を備えた開閉式入賞手段で、特別図柄表示手段31の変動後の停止図柄が大当たり態様となることに基づいて特別利益状態が発生したときに、開閉板39が所定の開放パターンに従って前側に開放して、その上に落下した遊技球を大入賞口27aの内部へと入賞させるようになっている。
図4は本パチンコ機の制御系のブロック図である。図4において、45は主制御基板、46は演出制御基板で、これら各制御基板45,46は、遊技盤21に装着されたセンターケース24、その他の複数個の遊技部品を裏側から一括して覆う裏カバーの裏側等、前枠4及び遊技盤21を含む遊技機本体1の裏側の適宜箇所に着脱自在に装着された基板ケースに夫々収納されている。なお、図4では演出制御基板46以外のサブ制御基板、例えば払い出し制御基板等は省略している。
主制御基板45は、遊技動作を統括的に制御するもので、CPU,ROM,RAM等により構成される普通乱数作成処理手段51、普通始動口チェック処理手段52、普通乱数記憶手段53、普通図柄処理手段54、普通図柄表示制御手段55、普通利益状態発生手段56、特別乱数作成処理手段61、特別始動口チェック処理手段62、特別乱数記憶手段63、特別図柄処理手段64、特別図柄表示制御手段65、特別利益状態発生手段66、特別遊技状態発生手段67、制御コマンド送信手段68等を備えている。
普通乱数作成処理手段51は、変動後の普通図柄を当たり態様とするか否かの判定に用いる当たり判定乱数等を所定時間毎に繰り返し発生するように構成されている。普通始動口チェック処理手段52は、普通図柄始動手段25による遊技球の検出に基づく処理を行うもので、普通図柄始動手段25が遊技球を検出することに基づいて、普通乱数作成処理手段51で作成された当たり判定乱数値を1個取得し、その当たり判定乱数値を予め定められた上限保留個数(例えば4個)を限度として先入れ先出し式の普通乱数記憶手段53に記憶させるように構成されている。
普通図柄処理手段54は、普通図柄の変動表示に関する処理を行うもので、普通図柄表示手段30が変動表示可能な状態となり且つ普通乱数記憶手段53に1個以上の当たり判定乱数値が記憶されていること(普通保留個数が1以上であること)を条件に、普通乱数記憶手段53に記憶されている当たり判定乱数値の待ち行列から先頭の当たり判定乱数値を取り出し、その当たり判定乱数値が予め定められた当たり判定値と一致するか否かに応じて当たり/外れの判定を行う当たり判定機能、当たり/外れの判定結果に基づいて普通図柄の変動後の停止図柄の種類を選択する普通停止図柄選択機能、普通図柄の変動時間を選択する変動時間選択機能等を備えている。
普通図柄表示制御手段55は、普通図柄処理手段54による普通図柄処理に基づいて普通図柄表示手段30の表示制御を行うもので、普通図柄表示手段30が変動表示可能な状態となり且つ普通乱数記憶手段53に1個以上の当たり判定乱数値が記憶されていること(普通保留個数が1以上であること)を条件に普通図柄表示手段30による普通図柄の変動を開始させ、普通図柄処理手段54で選択された変動時間が経過することに基づいて、同じく普通図柄処理手段54で選択された停止図柄で普通図柄の変動を停止させるようになっている。
普通利益状態発生手段56は、普通図柄処理手段54による判定結果が当たり判定となり、普通図柄表示手段30の変動後の停止図柄が当たり態様(所定態様)となった場合に、特別図柄始動手段26を構成する下特別始動口26bの開閉手段38を複数種類の開閉パターンの何れかに従って開状態に変化させる普通利益状態を発生させるようになっている。
特別乱数作成処理手段61は、変動後の特別図柄を大当たり態様、外れ態様の何れにするかについての判定に用いる大当たり判定乱数の他、変動後の特別図柄が大当たり態様となる場合の停止図柄の選択に用いる大当たり図柄乱数、変動後の特別図柄が外れ態様となる場合の停止図柄の選択に用いる外れ図柄乱数、演出図柄の変動パターンの選択に用いる変動パターン乱数、その他の所定の乱数を繰り返し発生する特別乱数作成処理を行うように構成されている。
特別始動口チェック処理手段62は、特別図柄始動手段26への遊技球の入賞に基づく処理を行うもので、特別図柄始動手段26が遊技球を検出すること、即ち特別始動口26a,26bに遊技球が入賞することに基づいて、特別乱数作成処理手段61で作成された大当たり判定乱数値及び大当たり図柄乱数値を1個ずつ取得し、それら当たり判定乱数値及び当たり図柄乱数値を予め定められた上限保留個数(例えば各4個)を限度として先入れ先出し式の特別乱数記憶手段63に記憶させるように構成されている。
特別図柄処理手段64は、特別図柄の変動表示に関する処理を行うもので、特別図柄表示手段31が変動表示可能な状態となり且つ特別乱数記憶手段63に1個以上の大当たり判定乱数値が記憶されていること(特別保留個数が1以上であること)を条件に、特別乱数記憶手段63に記憶されている大当たり判定乱数値の待ち行列から先頭の大当たり判定乱数値を取り出し、その大当たり判定乱数値が予め定められた大当たり判定値と一致するか否かに応じて大当たり/外れの判定(所定抽選)を行う大当たり判定機能、大当たり/外れの判定結果と、特別乱数記憶手段63に大当たり判定乱数値と共に記憶されている大当たり図柄乱数値とに基づいて、特別図柄の変動後の停止図柄を選択する特別停止図柄選択機能、大当たり/外れの判定結果に基づいて、演出図柄の変動パターンとして複数種類の特別図柄変動パターンの中から1つを選択する変動パターン選択機能等を備えている。
なお、演出図柄の変動パターンには、リーチ状態を経ることなく外れ態様となる通常変動パターン、リーチ状態を経て外れ態様となるリーチ外れ変動パターン、リーチ状態を経て大当たり態様となるリーチ大当たり変動パターン等の種類があり、それら各種類毎に1又は複数種類の変動パターンが設けられている。
特別図柄表示制御手段65は、特別図柄表示手段31の表示制御を行うもので、特別図柄処理手段64による特別図柄処理に基づいて、特別図柄表示手段31による特別図柄の変動を開始させると共に所定の変動パターンに対応する変動時間が経過することに基づいて所定の停止図柄で特別図柄の変動を停止させるようになっている。
特別利益状態発生手段(利益状態発生手段)66は、特別図柄処理手段64による大当たり/外れの判定結果が大当たり判定となり(所定抽選で当選)、特別図柄表示手段31による特別図柄の変動後の停止図柄が大当たり態様(特定態様)となった場合に、大入賞手段27を所定の開放パターンに従って開放する特別利益状態(利益状態)を発生させるようになっている。本実施形態の開放パターンは、大入賞手段27の開放から所定時間(例えば28秒)経過するか、それまでに所定個数(例えば9個)の遊技球が入賞することを条件に大入賞手段27を閉鎖する動作を、所定ラウンド数(例えば15ラウンド)繰り返すように設定されているものとするが、複数種類の開放パターンを設け、例えば大当たり図柄乱数値に基づいてそれらの何れかを選択するように構成してもよい。
特別遊技状態発生手段67は、特別利益状態の終了後に遊技者に有利な特別遊技状態を発生させるもので、例えば特別乱数記憶手段63に記憶された大当たり判定乱数値が大当たり判定値と一致した場合の大当たり図柄乱数値に応じて、例えば時短状態と確変状態との何れかの特別遊技状態を発生させるように構成されている。
時短状態中は、特別図柄に関して特別図柄表示手段31の変動時間が通常変動時間よりも短い短縮変動時間に切り換えられる他、普通図柄に関して、当たり確率が通常確率(例えば1/10)から高確率(例えば1/1.3)へ、変動時間が通常変動時間(例えば27秒)から短縮変動時間(例えば2.7秒)へ、下特別始動口26bの開閉パターンが通常開閉パターン(例えば0.2秒×1回開放)から特別開閉パターン(例えば2秒×3回開放)へ、夫々切り換えられるようになっている。なお、時短状態は例えばその開始後に特別図柄が所定回数(例えば50回)変動するか、それまでに次の特別利益状態が発生した時点で終了する。
確変状態中は、それ以外の通常確率状態中よりも大当たり判定値の数が例えば1個から10個へ増加されることにより、特別図柄が大当たり態様となる確率が通常確率(例えば1/350)よりも高い高確率(例えば1/35)に切り換えられると共に、例えば時短状態と同様の処理も併せて行われるようになっている。なお、確変状態は例えば次の特別利益状態が発生した時点で終了する。
制御コマンド送信手段68は、所定の制御コマンドを一方向通信により演出制御基板46等のサブ制御基板側に送信して制御指令を与えるためのもので、特別図柄処理手段64による特別図柄処理に基づいて、特別図柄の変動開始時に、特別保留個数の減少を示す保留減少コマンド、演出図柄の変動パターンを指定する変動パターンコマンド、演出図柄の変動後の停止図柄の抽選を指示する停止図柄コマンドをこの順序で演出制御基板46側に送信し、特別図柄の変動終了時に演出図柄の変動停止を指示する変動停止コマンドを演出制御基板46側に送信する機能、特別図柄始動手段26による遊技球検出時に増加後の特別保留個数等を示す保留増加コマンドを演出制御基板46側に送信する機能、遊技状態が変化する際に遊技状態コマンドを演出制御基板46側に送信する機能等を備えている。
演出制御基板46は、主制御基板45から送信される制御コマンド等に基づいて各種演出手段を制御するもので、演出図柄制御手段71、特別保留個数表示制御手段72、予告演出制御手段73等を備えている。
演出図柄制御手段71は、演出図柄表示手段34の表示制御及びそれに伴う音声出力手段74、電飾手段75等の制御を行うもので、主制御基板45から保留減少コマンド及び変動パターンコマンドを受信し、その後所定時間内に停止図柄コマンドを受信することを条件に、演出図柄の変動後の停止図柄を抽選により決定すると共に変動パターンコマンドで指定された変動パターンに基づいて演出図柄表示手段34により演出図柄の変動を開始させ、変動停止コマンドを受信したときに、抽選により決定された停止図柄で演出図柄の変動を停止させ、またその演出図柄の変動表示に合わせて音声出力手段74から所定の効果音を出力し、電飾手段75を所定のパターンで発光させるようになっている。
特別保留個数表示制御手段72は、特別保留個数表示手段35による特別保留個数の表示制御を行うもので、特別図柄始動手段26により新たに遊技球が検出され、主制御基板45から保留増加コマンドを受信したときに、その保留増加コマンドが第何番目の保留記憶に対応するものであるかに基づいて、特別保留個数表示手段35により保留表示画像X(図1参照)を1個追加的に表示し、また特別図柄の変動開始時に主制御基板45から保留減少コマンドを受信したときに、第1番目の保留に対応する保留表示画像Xを例えば消去すると共に第2番目以降の保留に対応する保留表示画像Xを前側にシフトさせるようになっている。
予告演出制御手段73は、例えば特別図柄表示手段31及び演出図柄表示手段34による図柄変動中に行われる予告演出を制御するもので、予告演出決定手段73a、操作演出制御手段73b、ステップアップ演出制御手段73c、可動体演出制御手段73d等を備えている。
予告演出決定手段73aは、予告演出を行うか否か、及び予告演出を行う場合にはその種類を決定するもので、例えば主制御基板45から変動パターンコマンドを受信した場合に、その変動パターンコマンドで指定された変動パターンに対して予め設定された予告演出を選択するようになっている。なお、変動パターンコマンドで指定された変動パターンに対して予告演出を行うか否か、及び行う場合にはその予告演出の種類を抽選により決定するようにしてもよい。
本実施形態では、「操作演出」、「ステップアップ演出」、「可動体演出」の3種類の予告演出が設けられ、夫々操作演出制御手段73b、ステップアップ演出制御手段73c、可動体演出制御手段73dによって制御されるものとする。「操作演出」は、操作有効期間中の演出ボタン12の操作に基づく演出であって,例えば操作有効期間中における演出ボタン12の操作と大当たりとなる信頼度とに基づいて予告演出表示手段36に表示する演出画像が変化するようになっている。また、「ステップアップ演出」は例えば予告演出表示手段36に大当たりとなる信頼度に応じて発展する予告演出画像を表示するものであり、「可動体演出」は例えば大当たりとなる信頼度に応じて可動体33を動作させるものである。
以下、操作演出を制御する操作演出制御手段73bについて詳細に説明する。なお、本実施形態の操作演出は、いわゆる的当てゲームであって、予告演出表示手段36により、的に向かって矢が飛んでゆく状態を示す操作演出画像76が画像表示装置29上に表示され(図3(a))、例えば矢が的の中心に当たった場合(図3(b))には大当たり確定となるように構成されている。また、遊技者は操作有効期間中に演出ボタン12を操作することにより矢が的に当たるタイミングを変化させることができるようになっており、演出ボタン12が操作有効期間中の特定期間内に所定の操作態様(ここでは一回押し)で操作され、且つ特別図柄処理手段64による大当たり判定において大当たりの判定結果が得られている場合に、矢が的の中心に当たるように制御される。なお、演出ボタン12が操作有効期間中の特定期間内に所定の操作態様で操作された場合であっても、大当たり判定において外れの判定結果が得られている場合には、矢は的から若干外れる(図3(c))ように制御される。
操作演出制御手段73bは、操作有効期間報知制御手段81、操作演出画像表示制御手段82、操作判定手段83等を備え、例えば図5に示す操作演出制御処理を、演出図柄表示手段34による図柄変動中に所定時間間隔(ここでは4ms間隔)で実行するようになっている。この操作演出制御処理(図5)では、まず操作有効期間中であるか否かを判定し(S1)、操作有効期間中でない場合には(S1:No)、既に当該図柄変動における操作有効期間が終了したか否かを判定する(S2)。そして、操作有効期間が未だ終了していない場合には(S2:No)、操作有効期間の開始タイミングが到来したか否かを判定し(S3)、操作有効期間の開始タイミングが到来したと判定した場合に(S3:Yes)、操作有効期間報知制御手段81により操作有効期間報知開始処理(S4)を、操作演出画像表示制御手段82により演出画像表示開始処理(S5)をそれぞれ実行する(図9のT1)。
操作有効期間報知開始処理(S4)は、例えば図6に示すような手順で行う。即ち、予め設定された操作有効時間(操作有効期間の長さ)に基づいて、経過状況表示手段42におけるレベル表示部44bの減少速度を算出する(S31)。本実施形態では、演出図柄表示手段34の変動パターンに対応して、例えば操作有効期間の開始時期とその長さ(操作有効時間)、及びその操作有効期間中における特定期間の開始時期とその長さが予め設定されているものとする。本実施形態の経過状況表示手段42におけるレベル表示領域44aは、図2に示すように左右方向の細長状に形成されているため、レベル表示部44bの減少速度はレベル表示領域44aの長さを操作有効時間で割った値となる。
また、操作有効期間中における特定期間の開始時期及びその長さに基づいて、レベル表示領域44a上における特定期間表示部44cの範囲を設定し(S32)、操作結果報知画像44dを通常表示態様と特定表示態様とのうちの通常表示態様に設定する(S33)。そして、操作有効期間表示手段37(操作誘導表示手段41及び経過状況表示手段42)により、画像表示装置29上で操作誘導画像43及び経過状況表示画像44の表示を開始する(S34)。即ち、図2(a)に示すように、演出ボタン12の押圧操作を促す操作誘導画像43を表示し、またレベル表示領域44aに占めるレベル表示部44bの割合が100%の状態で、また操作結果報知画像44dが通常表示態様の状態で経過状況表示画像44を表示すると共にS31で算出した速度でレベル表示部44bの減少表示を開始する。更に、演出ボタン12内のLED13の点滅を開始する(S35)。
また、演出画像表示開始処理(S5)では、操作演出画像76、即ち的に向かって矢が飛んでゆく状態を示す動画像を例えば複数種類の中から選択し、その選択した操作演出画像76の表示を予告演出表示手段36によって画像表示装置29上で開始する。操作演出画像76には、例えば最終的に矢が的の中心に当たるものと中心を外れるものとが存在し、特別図柄処理手段64による大当たり判定の結果、即ち変動パターンコマンドの種類に応じてそのどちらかを選択し、操作有効期間中に演出ボタン12が操作されなかった場合にはその操作演出画像76を最後まで表示するものとする。なお、操作有効期間中に演出ボタン12が操作されなかった場合には、大当たり判定の結果に拘わらず矢が的の中心を外れるように、このS5では矢が的の中心を外れる操作演出画像76のみを選択するようにしてもよい。
操作有効期間の開始タイミングの到来によってS4,S5を実行した後は、次回の操作演出制御処理ではS1において操作有効期間中であると判定されるため(S1:Yes)、続いて操作有効期間が満了したか否かを判定する(S6)。操作有効期間が満了していない場合には(S6:No)、続いて操作判定手段83により操作判定処理(S7)を実行する。この操作判定処理は、演出ボタン12が所定の操作態様(ここでは一回押し)で操作されたか否かを判定するもので、例えば演出ボタン12の一回目の操作が検出された時点で操作成功と判定する。なお、「連打」、「長押し」等の複数の操作態様を設ける場合には、それぞれの操作態様に応じた操作成功条件が満たされた時点で操作成功と判定するようにすればよい。
S7において操作成功と判定されなかった場合には(S8:No)、操作有効期間報知制御手段81により操作有効期間報知継続処理(S9)を、操作演出画像表示制御手段82により演出画像表示継続処理(S10)を夫々実行し、操作誘導画像43、経過状況表示画像44、及び操作演出画像76の表示を継続する。これにより、操作誘導画像43による表示はそのまま継続され、経過状況表示画像44は時間経過に伴ってレベル表示部44bが一定速度で減少表示され、操作演出画像76は時間経過に伴って矢が徐々に的に近づいていく。
その後、S7において操作成功と判定されることなく、即ち例えば演出ボタン12が一度も操作されることなく、操作有効期間が満了した場合には(S6:Yes)、操作有効期間報知制御手段81による操作有効期間報知終了処理(S11)によって操作誘導画像43及び経過状況表示画像44の表示は例えばその時点で終了する。また、操作演出画像表示制御手段82による演出画像表示終了処理(S12)によって操作演出画像76は例えば矢が的の中心に当たった状態、又は中心から外れた状態で確定表示される。その操作演出画像76の確定表示は例えば一定時間後に終了する。
一方、操作有効期間が満了するまでにS7において操作成功と判定された場合には(S8:Yes)、操作有効期間報知制御手段81により操作有効期間報知停止処理(S13)を、操作演出画像表示制御手段82により操作成功時演出画像表示処理(S14)を夫々実行する(図9のT2)。
操作有効期間報知停止処理(S13)では、例えば図7に示すように、操作誘導画像43の表示及びLED13の点滅についてはその時点で終了させ(S41a,S41b)、経過状況表示画像44についてはその時点でレベル表示部44bの減少表示を停止させた上で、即ち演出ボタン12が操作されたタイミング(操作成功のタイミング)を示した状態(図2(b))で表示を継続する(S42)。また、その時点(操作成功時点)が特定期間中であるか否かを判定し(S43)、特定期間中であることを条件に(S43:Yes)、操作結果報知画像44dを通常表示態様から特定表示態様に変更する(S44)。
このように、操作判定手段83により操作成功と判定された場合の経過状況表示手段42による表示態様、即ち操作結果報知画像44dを、その操作成功のタイミングが特定期間中であったか否かに応じて異ならせることにより、遊技者は自分の操作が的確であったか否かを容易に判断できる。また、操作誘導画像43については操作成功時点でその表示を終了することにより、操作有効期間の終了を遊技者に確実に認識させることができる。
また、操作成功時演出画像表示処理(S14)では、例えば図8に示すように、その時点(操作成功時点)が特定期間中であるか否か(S51)、また特定期間中である場合には特別図柄処理手段64による大当たり判定の結果が大当たりであるか否か(S52)を判定し、特定期間中でない場合(S51:No)、及び特定期間中であるが大当たり判定結果が外れである場合(S52:No)には、表示中の操作演出画像76を非特定演出結果画像76bに切り換え(S53a,S53b)、特定期間中であって大当たり判定結果が大当たりである場合(S52:Yes)には、表示中の操作演出画像76を特定演出結果画像76aに切り換える(S53c)。
ここで、特定演出結果画像76aは、図3(b)に示すように矢が的の中心に当たる場面を示す画像であり、非特定演出結果画像76bは、図3(c)に示すように矢が的の中心から外れる場面を示す画像である。
また、操作成功時終了期間の経過時間を計時するための終了期間タイマに、操作成功時終了期間の長さ(所定時間)に対応する初期値をセットし(S15)、また操作成功時終了期間中フラグに、操作成功時終了期間中を示す1をセットする(S16)。これにより、操作有効期間は終了し、操作成功時終了期間が開始される。ここで、操作成功時終了期間は、操作成功によって停止した経過状況表示画像44をそのまま継続表示する期間であって、本実施形態ではその開始から所定時間が経過(表示終了条件の一例)した時点で終了する。
操作成功時終了期間に入ると、次回の操作演出制御処理ではS1において操作有効期間中でないと判定され(S1:No)、S2において操作有効期間は既に終了したと判定され(S2:Yes)、続くS17において操作成功時終了期間中フラグが1であると判定される(S17:Yes)。この場合、続いて終了期間タイマの値を1減算し(S18)、その減算後の終了期間タイマの値が0であるか否か、即ち操作成功時終了期間の開始から所定時間が経過したか否かを判定する(S19)。
そして、終了期間タイマの値が0でない場合、即ち操作成功時終了期間の開始から未だ所定時間が経過していない場合には(S19:No)、操作有効期間報知制御手段81により経過状況表示画像44の停止表示を継続し(S20)、また操作演出画像表示制御手段82により特定演出結果画像76a又は非特定演出結果画像76bの表示を継続する(S21)。
一方、S19において終了期間タイマの値が0の場合、即ち操作成功時終了期間の開始から所定時間が経過(表示終了条件が成立)した場合には(S19:Yes)(図2のT3)、操作有効期間報知制御手段81により経過状況表示画像44の停止表示を終了し(S22)、また操作演出画像表示制御手段82により特定演出結果画像76a又は非特定演出結果画像76bの表示を終了する(S23)と共に、操作成功時終了期間中フラグに操作成功時終了期間中でないことを示す0をセットする(S24)。これにより操作成功時終了期間は終了する。
このように、操作有効期間中に演出ボタン12の操作が成功した場合には、その時点で経過状況表示画像44におけるレベル表示部44bの減少表示を停止させた上で、即ち演出ボタン12が操作されたタイミングを示した状態で、所定時間が経過するまでそのまま経過状況表示画像44の表示を継続することにより、遊技者は演出ボタン12を操作した後にその操作タイミングが的確であったか否かについて遊技者自ら検証することが可能である。またそれにより、次の操作演出に向けて遊技者の遊技意欲を維持することが可能である。
以上、本発明の実施形態について詳述したが、本発明はこれらの実施形態に限定されるものではなく、本発明の趣旨を逸脱しない範囲で種々の変更が可能である。例えば、実施形態では、操作成功時終了期間の開始(演出ボタン12の操作成功)から所定時間が経過した時点で、表示終了条件が成立したものとして操作成功時終了期間(経過状況表示画像44による表示)を終了させるように構成したが、その所定時間は変動パターン等に応じて異ならせるなど一定でなくてもよい。また、表示終了条件はこれに限られるものではなく、例えば演出図柄表示手段34の変動停止、演出ボタン12が操作されなかったと仮定した場合の操作有効期間の満了時、或いはその満了時から所定時間経過時等に表示終了条件が成立したものと判定してもよい。
また、経過状況表示画像44による表示は、演出ボタン12の操作成功からしばらくの時間、遊技者が認識可能な状態であればよく、例えば演出ボタン12の操作成功時、又はその後の所定時点からその表示をフェードアウトさせてもよい。
実施形態では演出ボタン12の操作成功時に操作誘導画像43の表示を終了させるように構成したが、演出ボタン12の操作成功時から所定時間をかけて操作誘導画像43の表示をフェードアウトさせてもよい。
経過状況表示手段42の構成は任意であり、例えば図10(a)に示すようにレベル表示領域44aを略環状に配置してレベル表示部44bをそのレベル表示領域44aに沿う帯状とする経過状況表示画像44を表示するもの、図10(b)に示すようにレベル表示領域44aを略円形としてレベル表示部44bを略扇形とした経過状況表示画像44を表示するもの、図10(c)に示すように操作有効期間の残り時間をデジタルで表示するもの等を採用してもよい。また、経過状況表示手段42は画像表示装置29以外の表示手段を用いて操作有効期間の経過状況を表示するように構成してもよい。例えば図10(c)に示すようなデジタル表示を行う場合には画像表示装置29とは別の7セグメント式表示手段を用いてもよい。
また、経過状況表示手段42は、操作有効期間の残り時間ではなく経過時間を表示するように構成してもよい。即ち、例えば実施形態と同様の経過状況表示画像44を用いる場合、操作有効期間の開始時にレベル表示部44bの長さが最小(例えばレベル表示領域44aに占めるレベル表示部44bの割合が0%)となり、操作有効期間の満了時にレベル表示部44bが最大長さ(同100%))となるように、レベル表示部44bを一端側(例えば左端側)から他端側(例えば右端側)に向けて一定速度で略無段階に(又は段階的に)伸長表示するようにしてもよい。
特定期間表示部44cは常に表示する必要はなく、例えば特定期間表示部44cを表示させるか否かを抽選により決定してもよい。また、操作結果報知画像44dは、操作成功のタイミングが特定期間中であったか否かによって表示態様が異なっていればよく、例えばレベル表示部44bの表示態様(例えば色)を、操作成功のタイミングが特定期間中であったか否かによって異ならせてもよい。
また本発明は、アレンジボール機、雀球遊技機等の各種弾球遊技機の他、スロットマシン等の弾球遊技機以外の遊技機においても同様に実施することが可能である。
12 演出ボタン(操作手段)
36 予告演出表示手段(操作演出手段)
41 操作誘導表示手段
42 経過状況表示手段
66 特別利益状態発生手段(利益状態発生手段)
83 操作判定手段

Claims (7)

  1. 外部から操作可能な操作手段と、
    操作有効期間中の前記操作手段の操作に基づく演出を行う操作演出手段と、
    前記操作有効期間の経過状況を表示する経過状況表示手段と
    を備えた遊技機において、
    前記操作有効期間中に前記操作手段が所定の操作態様で操作された場合に操作成功と判定する操作判定手段を備え、
    前記操作演出手段は、前記操作判定手段により操作成功と判定された場合に所定の確率で特定演出結果を出力するように構成し、
    前記操作判定手段により操作成功と判定された場合、その後に表示終了条件が成立するまで、前記操作成功のタイミングを示した状態で前記経過状況表示手段による表示を継続するように構成した
    ことを特徴とする遊技機。
  2. 所定抽選で当選することに基づいて利益状態を発生させる利益状態発生手段を備え、
    前記操作演出手段は、前記所定抽選で当選し且つ前記操作有効期間中の特定期間内に前記操作判定手段により操作成功と判定された場合に所定の確率で前記特定演出結果を出力するように構成した
    ことを特徴とする請求項1に記載の遊技機。
  3. 前記経過状況表示手段は、前記操作有効期間中における前記特定期間を表示するように構成した
    ことを特徴とする請求項2に記載の遊技機。
  4. 前記操作判定手段により操作成功と判定された場合の前記経過状況表示手段による表示態様を、その操作成功のタイミングが前記特定期間中であったか否かに応じて異ならせた
    ことを特徴とする請求項2又は3に記載の遊技機。
  5. 前記操作手段の操作を促す操作誘導表示を行う操作誘導表示手段を備え、
    前記操作判定手段により操作成功と判定された場合、前記操作誘導表示手段による前記操作誘導表示はその時点で、又はその時点から徐々に終了させるように構成した
    ことを特徴とする請求項1〜4の何れかに記載の遊技機。
  6. 前記経過状況表示手段は、前記操作有効期間の残り時間又は経過時間の減少又は増加に応じて、所定のレベル表示領域に占めるレベル表示部の割合を減少又は増加させるように構成した
    ことを特徴とする請求項1〜5の何れかに記載の遊技機。
  7. 前記操作判定手段により操作成功と判定されてから所定時間が経過した時点で前記表示終了条件が成立したものと判定するように構成した
    ことを特徴とする請求項1〜6の何れかに記載の遊技機。
JP2013211768A 2013-10-09 2013-10-09 遊技機 Pending JP2015073727A (ja)

Priority Applications (1)

Application Number Priority Date Filing Date Title
JP2013211768A JP2015073727A (ja) 2013-10-09 2013-10-09 遊技機

Applications Claiming Priority (1)

Application Number Priority Date Filing Date Title
JP2013211768A JP2015073727A (ja) 2013-10-09 2013-10-09 遊技機

Publications (1)

Publication Number Publication Date
JP2015073727A true JP2015073727A (ja) 2015-04-20

Family

ID=52999055

Family Applications (1)

Application Number Title Priority Date Filing Date
JP2013211768A Pending JP2015073727A (ja) 2013-10-09 2013-10-09 遊技機

Country Status (1)

Country Link
JP (1) JP2015073727A (ja)

Cited By (10)

* Cited by examiner, † Cited by third party
Publication number Priority date Publication date Assignee Title
JP2015208610A (ja) * 2014-04-30 2015-11-24 株式会社ニューギン 遊技機
JP2017000471A (ja) * 2015-06-11 2017-01-05 株式会社三共 遊技機
JP2018099320A (ja) * 2016-12-20 2018-06-28 株式会社大一商会 遊技機
JP2019037841A (ja) * 2017-08-22 2019-03-14 株式会社大一商会 遊技機
JP2019130138A (ja) * 2018-01-31 2019-08-08 株式会社大一商会 遊技機
JP2019150446A (ja) * 2018-03-06 2019-09-12 株式会社サンセイアールアンドディ 遊技機
JP2019181274A (ja) * 2018-01-19 2019-10-24 株式会社大一商会 遊技機
JP2019181273A (ja) * 2018-01-19 2019-10-24 株式会社大一商会 遊技機
JP2020028758A (ja) * 2018-01-19 2020-02-27 株式会社大一商会 遊技機
JP2020058856A (ja) * 2018-01-19 2020-04-16 株式会社大一商会 遊技機

Citations (5)

* Cited by examiner, † Cited by third party
Publication number Priority date Publication date Assignee Title
JP2007307163A (ja) * 2006-05-18 2007-11-29 Aruze Corp 遊技機
JP2011125550A (ja) * 2009-12-18 2011-06-30 Kyoraku Sangyo Kk 遊技機、遊技機の演出方法及び演出プログラム
JP2012011040A (ja) * 2010-07-01 2012-01-19 Newgin Co Ltd 遊技機
JP2012223472A (ja) * 2011-04-22 2012-11-15 Sophia Co Ltd 遊技機
JP2013056266A (ja) * 2012-12-27 2013-03-28 Kyoraku Sangyo Kk 遊技機

Patent Citations (5)

* Cited by examiner, † Cited by third party
Publication number Priority date Publication date Assignee Title
JP2007307163A (ja) * 2006-05-18 2007-11-29 Aruze Corp 遊技機
JP2011125550A (ja) * 2009-12-18 2011-06-30 Kyoraku Sangyo Kk 遊技機、遊技機の演出方法及び演出プログラム
JP2012011040A (ja) * 2010-07-01 2012-01-19 Newgin Co Ltd 遊技機
JP2012223472A (ja) * 2011-04-22 2012-11-15 Sophia Co Ltd 遊技機
JP2013056266A (ja) * 2012-12-27 2013-03-28 Kyoraku Sangyo Kk 遊技機

Cited By (10)

* Cited by examiner, † Cited by third party
Publication number Priority date Publication date Assignee Title
JP2015208610A (ja) * 2014-04-30 2015-11-24 株式会社ニューギン 遊技機
JP2017000471A (ja) * 2015-06-11 2017-01-05 株式会社三共 遊技機
JP2018099320A (ja) * 2016-12-20 2018-06-28 株式会社大一商会 遊技機
JP2019037841A (ja) * 2017-08-22 2019-03-14 株式会社大一商会 遊技機
JP2019181274A (ja) * 2018-01-19 2019-10-24 株式会社大一商会 遊技機
JP2019181273A (ja) * 2018-01-19 2019-10-24 株式会社大一商会 遊技機
JP2020028758A (ja) * 2018-01-19 2020-02-27 株式会社大一商会 遊技機
JP2020058856A (ja) * 2018-01-19 2020-04-16 株式会社大一商会 遊技機
JP2019130138A (ja) * 2018-01-31 2019-08-08 株式会社大一商会 遊技機
JP2019150446A (ja) * 2018-03-06 2019-09-12 株式会社サンセイアールアンドディ 遊技機

Similar Documents

Publication Publication Date Title
JP2015073727A (ja) 遊技機
JP5608691B2 (ja) 遊技機
JP5166476B2 (ja) 遊技機
JP5623327B2 (ja) 遊技機
JP5227689B2 (ja) 遊技機
JP5719285B2 (ja) 遊技機
JP2015019948A (ja) 遊技機
JP4744255B2 (ja) パチンコ遊技機
JP2003220204A (ja) 弾球遊技機
JP2007275433A (ja) 弾球遊技機
JP5631341B2 (ja) 遊技機
JP5829233B2 (ja) 遊技機
JP2012075501A (ja) 弾球遊技機
JP5073780B2 (ja) 遊技機
JP2014057630A (ja) 遊技機
JP2007275432A (ja) 弾球遊技機
JP5331438B2 (ja) 遊技機
JP5651159B2 (ja) 遊技機
JP5955361B2 (ja) 遊技機
JP2006068092A (ja) 遊技機
JP6109283B2 (ja) 遊技機
JP5986148B2 (ja) 遊技機
JP2014223372A (ja) 遊技機
JP5696166B2 (ja) 遊技機
JP6434458B2 (ja) 遊技機

Legal Events

Date Code Title Description
A621 Written request for application examination

Free format text: JAPANESE INTERMEDIATE CODE: A621

Effective date: 20160715

A977 Report on retrieval

Free format text: JAPANESE INTERMEDIATE CODE: A971007

Effective date: 20170531

A131 Notification of reasons for refusal

Free format text: JAPANESE INTERMEDIATE CODE: A131

Effective date: 20170606

A521 Request for written amendment filed

Free format text: JAPANESE INTERMEDIATE CODE: A523

Effective date: 20170802

A131 Notification of reasons for refusal

Free format text: JAPANESE INTERMEDIATE CODE: A131

Effective date: 20171128

A02 Decision of refusal

Free format text: JAPANESE INTERMEDIATE CODE: A02

Effective date: 20180605