JP2015073710A - 遊技機 - Google Patents

遊技機 Download PDF

Info

Publication number
JP2015073710A
JP2015073710A JP2013211398A JP2013211398A JP2015073710A JP 2015073710 A JP2015073710 A JP 2015073710A JP 2013211398 A JP2013211398 A JP 2013211398A JP 2013211398 A JP2013211398 A JP 2013211398A JP 2015073710 A JP2015073710 A JP 2015073710A
Authority
JP
Japan
Prior art keywords
game
big hit
determination
game ball
symbol
Prior art date
Legal status (The legal status is an assumption and is not a legal conclusion. Google has not performed a legal analysis and makes no representation as to the accuracy of the status listed.)
Granted
Application number
JP2013211398A
Other languages
English (en)
Other versions
JP5862634B2 (ja
Inventor
後藤 孝
Takashi Goto
孝 後藤
康平 田中
Kohei Tanaka
康平 田中
Current Assignee (The listed assignees may be inaccurate. Google has not performed a legal analysis and makes no representation or warranty as to the accuracy of the list.)
Taiyo Elecs Co Ltd
Original Assignee
Taiyo Elecs Co Ltd
Priority date (The priority date is an assumption and is not a legal conclusion. Google has not performed a legal analysis and makes no representation as to the accuracy of the date listed.)
Filing date
Publication date
Application filed by Taiyo Elecs Co Ltd filed Critical Taiyo Elecs Co Ltd
Priority to JP2013211398A priority Critical patent/JP5862634B2/ja
Publication of JP2015073710A publication Critical patent/JP2015073710A/ja
Application granted granted Critical
Publication of JP5862634B2 publication Critical patent/JP5862634B2/ja
Expired - Fee Related legal-status Critical Current
Anticipated expiration legal-status Critical

Links

Images

Landscapes

  • Pinball Game Machines (AREA)
  • Display Devices Of Pinball Game Machines (AREA)

Abstract

【課題】特定遊技の選択に係る遊技興趣をより向上させる。【解決手段】2つのゲート56,58を備え、特別図柄が大当り図柄で停止された後、2つのゲートのうちいずれかを遊技球が通過すると、実行パターンを設定して大当り遊技を開始する。そして、大当り遊技中の特定ラウンドにて第2大入賞口60を開放させ、遊技球が特定領域を通過すると、大当り遊技後に特別状態を発生させる。実行パターンの設定は、ゲート56を遊技球が通過した場合には第1抽選テーブルを用いて行い、ゲート58を遊技球が通過した場合には第2抽選テーブルを用いて行うものとし、特定ラウンドでの特定領域への遊技球の通過可能性は第1抽選テーブルの方を第2抽選テーブルよりも高くし、且つ、1回の大当り遊技で獲得可能な遊技利益が最も多いパターンを選択する可能性は第2抽選テーブルの方を第1抽選テーブルよりも高くする。【選択図】図2

Description

本発明は、パチンコ機やアレンジボールなどの弾球式の遊技機に関する。
従来、この種の遊技機としては、特別図柄が大当り図柄で停止表示された後に、遊技球が所定のゲートを通過したことに基づいて大当り遊技(特定遊技)を開始するものが知られている。例えば、特許文献1には、2つのゲートA,Bを備え、遊技球が通過するゲートによって、異なる決定処理により大当り遊技のラウンド数を決定するものが開示されている。具体的には、ゲートAを遊技球が通過すると、8ラウンドの大当り遊技を常に実行し、ゲートBを遊技球が通過すると、4ラウンドの大当り遊技と15ラウンドの大当り遊技のいずれかを選択して実行することとしている。
特開2013−31532号公報
しかしながら、上述した遊技機では、遊技者が遊技球を通過させるゲートを選択することで、ラウンド数、即ち獲得可能な遊技利益量が異なる特定遊技を実行することができるものの、単に遊技利益量を異ならせるだけでは、遊技性が単調となり、遊技興趣を向上させるには不十分である。
本発明の遊技機は、特定遊技の選択に係る遊技興趣をより向上させることを主目的とする。
本発明の遊技機は、上述の主目的を達成するために以下の手段を採った。
本発明の遊技機は、
所定の判定条件の成立に基づいて判定を行う判定手段と、
前記判定の結果として特定結果が導出されたことに基づいて所定の遊技利益を付与する特定遊技を実行可能とすると共に、該特定遊技後に前記判定に係る遊技条件を遊技者にとって有利とする特別状態を発生可能な遊技機であって、
前記判定の結果を報知する報知手段と、
遊技球を検知する検知手段と、
前記報知手段により前記特定結果が報知された後に、前記検知手段により遊技球が検知されたことに基づいて、特定遊技で付与する遊技利益量および特定遊技後の前記判定に係る遊技条件を決定するための決定条件を設定する条件設定手段と、
前記設定された決定条件に基づいて特定遊技の実行および特定遊技後の前記判定に係る遊技条件に応じた遊技状態の発生に係る処理を行う処理手段と、
を備え、
前記条件設定手段は、少なくとも、第1条件設定手段と、第2条件設定手段とを有し、
前記第1条件設定手段と前記第2条件設定手段のうち選択された条件設定手段によって、前記特定遊技で付与する遊技利益量および特定遊技後の前記判定に係る遊技条件の少なくとも一方に差異が生じるように異なる決定条件を設定する
ことを要旨とする。
この本発明の遊技機では、所定の判定条件の成立に基づいて行われる判定の結果を報知し、判定の結果として特定結果が報知された後に、遊技球が検知されたことに基づいて、第1条件設定手段と第2条件設定手段とを少なくとも有する条件設定手段によって、特定遊技で付与する遊技利益量および特定遊技後の判定に係る遊技条件を決定するための決定条件を設定し、設定された決定条件に基づいて特定遊技の実行および特定遊技後の判定に係る遊技条件に応じた遊技状態の発生に係る処理を行う。そして、第1条件設定手段と第2条件設定手段のうち選択された条件設定手段によって、特定遊技で付与する遊技利益量および特定遊技後の判定に係る遊技条件の少なくとも一方に差異が生じるように異なる決定条件を設定することとしている。
これにより、第1条件設定手段および第2条件設定手段のいずれか選択されるかによって、遊技性のバリエーションをもたせることができるため、特定遊技の選択に係る遊技興趣をより向上させることができる。
こうした本発明の遊技機において、
前記検知手段は、それぞれ遊技球を検知する第1検知手段および第2検知手段を有し、
前記報知手段により前記特定結果が報知された後に、前記第1検知手段により遊技球が検知されると、前記第1条件設定手段により決定条件を設定し、前記第2検知手段により遊技球が検知されると、前記第2条件設定手段により決定条件を設定する
ものとすることもできる。
こうすれば、遊技者は、第1検知手段と第2検知手段のうち遊技球を検知させる検知手段を選択することで、第1条件設定手段により決定条件を設定するか第2条件設定手段により決定条件を設定するかを選択することができる。
あるいは、本発明の遊技機において、
時間を計測する計時手段を備え、
前記報知手段により前記特定結果が報知された後に、前記検出手段により遊技球が検知されると、前記計時手段により計時される時間が第1時間内にあるときに前記検知手段により遊技球が検知された場合には前記第1条件設定手段により決定条件を設定し、前記計時手段により計時される時間が第1時間とは異なる第2時間内にあるときに前記検知手段により遊技球が検知された場合には前記第2条件設定手段により決定条件を設定する
ものとすることもできる。
こうすれば、1の検知手段を用いて第1条件設定手段により決定条件を設定するか第2条件設定手段により決定条件を設定するかを選択させることができる。
また、本発明の遊技機において、
前記第1条件設定手段と前記第2条件設定手段とのうちいずれかの選択を遊技者に促す選択演出を行う選択演出実行手段と、
前記選択された条件設定手段によって設定される決定条件を遊技者に報知する報知演出を行う報知演出実行手段と、
を備えるものとすることもできる。
こうすれば、第1条件設定手段および第2条件設定手段のいずれかの選択を遊技者に促す選択演出と、選択された条件設定手段によって設定される決定条件を遊技者に報知する報知演出とによって、特定遊技での遊技利益量と判定に係る遊技条件とが変化し得る遊技性を効果的に盛り上げることができ、遊技興趣をさらに向上させることができる。
本発明の遊技機によれば、特定遊技の選択に係る遊技興趣をより向上させることができる。
本発明の本実施例であるパチンコ機10の外観を示す外観斜視図である。 本実施例のパチンコ機10の遊技盤30の構成の概略を示す構成図である。 本実施例のパチンコ機10の制御回路の構成を示すブロック図である。 開始ゲート振分装置50の構成の概略を示す構成図である。 第1大入賞口46と第2大入賞口60の構成の概略を示す構成図である。 第2大入賞口60の内部を含む構成の概略を示す構成図である。 特定領域振分装置67が遊技球を振り分ける様子を示す説明図である。 図柄表示装置40の構成を説明する説明図である。 普通図柄表示装置41の表示態様の一例を示す説明図である。 大当り時における特別図柄表示装置42の表示態様の一例を示す説明図である。 演出表示装置34の画面構成を説明する説明図である。 サブ制御基板90の構成の概略を示すブロック図である。 実施例のパチンコ機10における遊技の流れの概略を示す説明図である。 主制御基板70のCPU70aにより実行される主制御処理の一例を示すフローチャートである。 主制御基板70のCPU70aにより実行される特別図柄遊技処理の一例を示すフローチャートである。 主制御基板70のCPU70aにより実行される特別図柄遊技処理の一例を示すフローチャートである。 主制御基板70のCPU70aにより実行される特別図柄遊技処理の一例を示すフローチャートである。 主制御基板70のCPU70aにより実行される変動表示関連処理の一例を示すフローチャートである。 大当り判定テーブルの一例を示す説明図である。 主制御基板70のCPU70aにより実行される役物連続作動装置作動処理の一例を示すフローチャートである。 抽選テーブルの一例を示す説明図である。 主制御基板70のCPU70aにより実行される大当り遊技処理の一例を示すフローチャートである。 主制御基板70のCPU70aにより実行される特定領域入球遊技処理の一例を示すフローチャートである。 主制御基板70のCPU70aにより実行される大当り遊技終了時処理の一例を示すフローチャートである。 サブ制御基板90のCPU90aにより実行される演出制御処理の一例を示すフローチャートである。 サブ制御基板90のCPU90aにより実行される図柄変動演出処理の一例を示すフローチャートである。 サブ制御基板90のCPU90aにより実行される大当り遊技演出処理の一例を示すフローチャートである。 変形例の抽選テーブルを示す説明図である。 変形例の遊技盤30Bの構成の概略を示す構成図である。 変形例のパチンコ機の制御回路の構成を示すブロック図である。 変形例の役物連続作動装置作動処理を示すフローチャートである。
次に、本発明の実施の形態を実施例を用いて説明する。なお、以下では、特別図柄の変動表示の終了に伴い大当り図柄が停止表示され、これを契機に大当り遊技が開始されるタイプ(いわゆるセブン機タイプ)のパチンコ機に本発明を適用した例を説明する。
図1は本発明の本実施例のパチンコ機10(遊技機)の外観を示す外観斜視図であり、図2は本実施例のパチンコ機10の遊技盤30の構成の概略を示す構成図であり、図3は本実施例のパチンコ機10の制御回路の構成の概略を示すブロック図である。
[パチンコ機10の全体構成]
本実施例のパチンコ機10は、図1に示すように、前面枠11に嵌め込まれたガラス板12(透明板)を介して盤面が視認可能に配置された遊技盤30(図2参照)と、遊技球を貯留する上受け皿14および下受け皿16と、上受け皿14に貯留されている遊技球を遊技盤30へ発射するための発射ハンドル18と、を備える。
前面枠11は、本体枠21に嵌め込まれており、左辺を回動軸として本体枠21に対して回動できるようになっている。本体枠21は、外枠22に嵌め込まれており、左辺を回動軸として外枠22に対して回動できるようになっている。なお、前面枠11と本体枠21は、略長方形状のプラスティック製の枠体として構成されている。また、外枠22は、略長方形状の木製の枠体として構成されており、パチンコホールの島設備の島枠に固定される。
また、前面枠11の左上部と右上部には、遊技の進行に伴って種々の効果音を鳴らしたり遊技者に遊技状態を報知したりするためのスピーカ28a,28bが設けられており、右端部には、前面枠11を本体枠21に対して施錠するための施錠装置29が設けられている。また、前面枠11の左側には、図示しないプリペイドカード式の球貸装置(CRユニット)が設けられている。
上受け皿14は、その上面部に、CRユニットに挿入されたカードの価値残高(有価残高)の範囲内で遊技球の貸し出しを指示するための球貸ボタン24aと、CRユニットに挿入されているカードの返却を指示するための返却ボタン24bとが配設されている。また、上受け皿14は、その上面中央部に、遊技者の操作に応じて各種演出を行うための演出ボタン26が配設されている。
発射ハンドル18は、前面枠11の右下部に設けられており、遊技者がハンドルに触れていることを検知するタッチセンサ18a(図3参照)や遊技球の発射を一時的に停止する発射停止スイッチ18b(図3参照)が設けられている。発射ハンドル18の回転軸には、上受け皿14に貯留されている遊技球を1球ずつ打ち出すための図示しない発射装置が接続されており、発射ハンドル18が回転操作されると、発射装置が備える発射モータ19(図3参照)が回転し、これに伴って発射ハンドル18の操作量に応じた強さの打撃力で遊技球を打ち出す。
[遊技盤30の構成]
遊技盤30は、図2に示すように、外レール31aと内レール31bとによって囲まれる遊技領域31が形成されている。この遊技盤30は、遊技領域31の左部に配置され遊技球の通過を検知するゲートスイッチ32a(図3参照)を有する普通図柄作動ゲート32と、遊技領域31の右下部に配置された図柄表示装置40と、遊技領域31の中央部に配置された演出表示装置34と、演出表示装置34の周囲を囲むように配置されたセンター役物49と、センター役物49の下側に配置され遊技球の入球を検知する第1始動口スイッチ36a(図3参照)を有する第1始動口36と、センター役物49の左部に形成され遊技球の入球を検知する第2始動口スイッチ38a(図3参照)を有する第2始動口38と、遊技領域31の左下部に配置された一般入賞口スイッチ45a(図3参照)を有する一般入賞口45と、遊技領域31の右下部に開閉可能に配置され遊技球の入球を検知する第1大入賞口スイッチ46a(図3参照)を有する第1大入賞口46と、同じく遊技領域31の右下部に開閉可能に配置され遊技球の入球を検知する第2大入賞口スイッチ60a(図3参照)を有する第2大入賞口60と、センター役物49の右部に配置され遊技球の通過を検知する第1開始ゲートスイッチ56a(図3参照)を有する第1大当り遊技開始ゲート56と、第1大当り遊技開始ゲート56と隣接配置され遊技球の通過を検知する第2開始ゲートスイッチ58a(図3参照)を有する第2大当り遊技開始ゲート58と、第1大当り遊技開始ゲート56および第2大当り遊技開始ゲート58の上部に設けられた開始ゲート振分装置50と、いずれの入賞口にも入らなかった遊技球を回収するためのアウト口48と、を備える。また、遊技盤30は、上述した各入賞口の周辺には遊技球をガイドしたり弾いたりする図示しない多数の釘が設けられている。
第2始動口38は、普通電動役物として設けられる可変式の入球口であり、翼片部38cと、翼片部38cを作動させる第2始動口ソレノイド38b(図3参照)と、を備える。この第2始動口38は、翼片部38cが直立しているときには遊技球の入球の可能性が比較的低い通常状態となり(図2の点線参照)、翼片部38cが左側に開いているときには遊技球の入球の可能性が通常状態よりも高い開放状態となる(図2の実線参照)。なお、本実施例では、翼片部38cが直立した通常状態においては、第2始動口38への遊技球の入球が不可能となるように構成されている。
開始ゲート振分装置50は、上部に入球口51が形成されており、入球口51に入球した遊技球を第1大当り遊技開始ゲート56および第2大当り遊技開始ゲート58のいずれかに選択的に振り分ける装置として構成されている。図4は、開始ゲート振分装置50の構成の概略を示す構成図である。開始ゲート振分装置50は、図4に示すように、遊技球が入球可能な入球口51と、入球口51に連通する導入通路52aと第1大当り遊技開始ゲート56に連通する第1案内通路52bと第2大当り遊技開始ゲート58に連通する第2案内通路52cとを有し導入通路52aに対して第1案内通路52bと第2案内通路52cとが逆Y字型に分岐された遊技球通路52と、遊技球通路52の分岐点に設けられ導入通路52aに導入された遊技球を第1案内通路52bおよび第2案内通路52cのいずれかに振り分ける振分部材54とを備える。
振分部材54は、回転可能な円形の本体54aと、本体54aから径方向に突出された突出部54bと、本体54aを駆動する振分ソレノイド54c(図3参照)とを備える。この振分部材54では、振分ソレノイド54cを非駆動状態とすると、突出部54bが右側に傾くことで突出部54bによって第2案内通路52cを塞ぐ(図4(a)参照)。これにより、入球口51を介して導入通路52aに導入された遊技球は、第1案内通路52bに導かれ、第1大当り遊技開始ゲート56を通過することとなる。一方、振分ソレノイド54cを駆動状態とすると、突出部54bが左側に傾くことで突出部54bによって第1案内通路52bを塞ぐ(図4(b)参照)。これにより、入球口51を介して導入通路52aに導入された遊技球は、第2案内通路52cに導かれ、第2大当り遊技開始ゲート58を通過することとなる。振分部材54は、本実施例では、電源投入を契機に、非駆動状態(入球口51に入球した遊技球を第1大当り遊技開始ゲート56に振り分ける状態)と駆動状態(入球口51に入球した遊技球を第2大当り遊技開始ゲート58に振り分ける状態)とを所定時間毎(例えば20秒毎)に交互に切り替えるものとした。これにより、遊技者は、振分部材54の現在位置を確認しつつ入球口51に向けて遊技球を打ち出すことで、遊技球を第1大当り遊技開始ゲート56を通過させるか第2大当り遊技開始ゲート58を通過させるかを自由に選択することができる。なお、振分部材54が駆動状態および非駆動状態のいずれの状態にあるかを判定し、第1大当り遊技通過ゲート56および第2大当り遊技通過ゲート58のうち遊技球が現在通過可能なゲートがどちらであるかを遊技者に報知するものとしてもよい。
第1大入賞口46と第2大入賞口60の構成の概略を図5に示す。図示するように、第1大入賞口46は、特別電動役物として設けられる可変式の入球口であり、開閉板46cと、開閉板46cを作動させる第1大入賞口ソレノイド46bと、を備える。この第1大入賞口46は、通常は開閉板46cによって塞がれて遊技球を受け入れない閉状態(閉鎖状態:入球不能状態)とされており、大当り遊技(特定遊技)の通常ラウンドにおいて、第1大入賞口ソレノイド46bによって開閉板46cが作動して手前側に開くことで、遊技球を受け入れやすい開状態(開放状態:入球可能状態)となる。また、第1大入賞口46は、その開放パターンとして、第1所定時間(例えば25秒)に亘って開放する長開放の態様と、第1所定時間よりも短い第2所定時間(例えば0.2秒)に亘って開放する短開放の態様とがある。なお、第1大入賞口46には、遊技球の入球を検知すると共にその入球数をカウントするための第1大入賞口スイッチ46aが取り付けられている。本実施例では、大当り遊技の処理として、第1大入賞口スイッチ46aが遊技球の入球を10個カウントするか10個カウントする前に所定時間(例えば、25秒)が経過するまでを1ラウンドとして第1大入賞口46を開放し、規定ラウンドまで第1大入賞口46の開放動作を繰り返す。なお、各ラウンドの間には、所定時間(例えば、2秒間)だけ第1大入賞口46を閉状態とする。
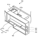
第2大入賞口60は、特別電動役物として設けられる可変式の入球口であり、開閉板60cと、開閉板60cを作動させる第2大入賞口ソレノイド60bと、を備える。この第2大入賞口60は、通常は開閉板60cによって塞がれて遊技球を受け入れない閉状態(閉鎖状態:入球不能状態)とされており、大当り遊技(特定遊技)中の特定ラウンド(特定領域入球遊技)において、第2大入賞口ソレノイド60bによって開閉板60cが作動して手前側に開くことで、遊技球を受け入れやすい開状態(開放状態:入球可能状態)となる。また、第2大入賞口60は、その開放パターンとして、第1所定時間(例えば5秒)に亘って開放する長開放の態様と、第1所定時間よりも短い第2所定時間(例えば0.2秒)に亘って開放する短開放の態様とがある。なお、第2大入賞口60には、遊技球の入球を検知すると共にその入球数をカウントするための第2大入賞口スイッチ60a(図3参照)が取り付けられている。
この第2大入賞口60の内部を含む構成の概略を図6に示す。図示するように、第2大入賞口60内には、遊技球の通過を検知する特定領域通過スイッチ63a(図3参照)を有する特定領域63(いわゆるV領域)と、遊技球の通過を検知する非特定領域通過スイッチ64a(図3参照)を有する非特定領域64(いわゆる外れ領域)と、遊技球を特定領域63に誘導するよう特定領域63側に向かってわずかに傾斜した特定領域用誘導部65と、第2大入賞口60のフレームの一部(下端)を構成すると共に遊技球を非特定領域64に誘導するよう非特定領域64側に向かってわずかに傾斜した非特定領域用誘導部66と、第2大入賞口60内に入球した遊技球を平板状の振分板67aで受けて特定領域用誘導部65か非特定領域用誘導部66のいずれかに振り分ける特定領域振分装置67とが設けられている。特定領域振分装置67は、振分ソレノイド67bの駆動によって、振分板67aがその一端の回転軸67cを中心として下方に回動可能となっている。
特定領域振分装置67が遊技球を振り分ける様子を図7に示す。図示するように、特定領域振分装置67は、振分ソレノイド67bが駆動してない非駆動状態では、振分板67aで受けた遊技球を特定領域63側(特定領域用誘導部65)に振り分け(図7(a)参照)、振分ソレノイド67bが駆動している駆動状態では、振分板67aが下方に回動することにより振分板67aで受けた遊技球を非特定領域64側(非特定領域用誘導部66)に振り分ける(図7(b)参照)。即ち、第2大入賞口60に入球した遊技球は、特定領域振分装置67による振分を経て、特定領域63か非特定領域64のいずれかを通過することになる。本実施例では、特定領域振分装置67は、所定周期で、非駆動状態(第2大入賞口60に入球した遊技球を特定領域63側に振り分ける状態)と駆動状態(第2大入賞口60に入球した遊技球を非特定領域64側に振り分ける状態)とを交互に切り替えるものとした。非駆動状態の期間および駆動状態の期間としては、それぞれ同一の期間としてもよいし、異なる期間としてもよい。なお、本実施例では、第2大入賞口60に入球した遊技球を特定領域振分装置67により特定領域63および非特定領域64のいずれかに振り分ける構成を採用したが、これに限られず、振分装置の構成を他の如何なる構成によるものとしてもよいし、特定領域振分装置67を備えない構成、即ち第2大入賞口60に入球した遊技球の全てが特定領域63を通過する構成を採用するものとしてもよい。
図柄表示装置40は、図8の構成図に例示するように、普通図柄の変動表示および停止表示が可能な普通図柄表示装置41と、特別図柄の変動表示および停止表示が可能な特別図柄表示装置42と、大当り遊技の規定ラウンド数(最大ラウンド数)を示す図柄を表示するラウンド表示装置43と、を備える。普通図柄表示装置41は、発光ダイオード(LED)を用いて構成された左普通図柄表示部41aおよび右普通図柄表示部41bを備える。図9に、普通図柄表示装置41の表示態様の一例を示す。普通図柄表示装置41は、図示するように、左普通図柄表示部41aと右普通図柄表示部41bとが共に消灯した表示態様(図9の上から1段目参照)と、左普通図柄表示部41aが点灯し右普通図柄表示部41bが消灯した表示態様(図9の上から2段目参照)と、左普通図柄表示部41aが消灯し右普通図柄表示部41bが点灯した表示態様(図9の上から3段目参照)と、左普通図柄表示部41aと右普通図柄表示部41bとが共に点灯した表示態様(図9の上から4段目参照)の4通りの表示態様がある。普通図柄表示装置41は、遊技球が普通図柄作動ゲート32を通過するのを検知したときに、4通りの表示態様を順次切り替えることにより普通図柄を変動表示させ、変動表示の実行時間が経過すると、上記表示態様のうちのいずれかの表示態様で普通図柄を停止表示させる。このとき、停止表示された普通図柄の表示態様が特定の表示態様(例えば、図9の上から4段目に示す表示態様)であるときに、当りとして第2始動口38を一定時間(例えば、0.5秒)に亘って開放する。なお、普通図柄の変動表示中に、遊技球が普通図柄作動ゲート32を通過したときには、普通図柄の変動表示を最大4回まで保留し、現在の変動表示が終了したときに、保留されている変動表示が順次消化される。
特別図柄表示装置42は、図8に示すように、7セグメント表示器を用いて構成された第1特別図柄表示部42aと第2特別図柄表示部42bとを備えており、各セグメントの点灯と消灯との組み合わせにより複数通りの表示態様(最大128通り)を表現している。特別図柄表示装置42は、第1始動口36か第2始動口38かのいずれかの入球が検知されたときに、第1特別図柄表示部42aと第2特別図柄表示部42bのうち対応する特別図柄表示部の表示状態を順次切り替えることにより特別図柄を変動表示させ、変動表示の実行時間が経過すると、表現可能な表示態様のうちのいずれかの表示態様で特別図柄を停止表示させる。このとき、停止表示された特別図柄の表示態様が特定の表示態様(当り特別図柄)である場合に、大当りが確定する。本実施例では、第1特別図柄表示部42aが第1始動口36への遊技球の入球に基づき特別図柄を変動表示させる第1始動口対応表示部となっており、第2特別図柄表示部42bが第2始動口38への遊技球の入球に基づき特別図柄を変動表示させる第2始動口対応表示部となっている。以下、特に、第1特別図柄表示部42aで表示される特別図柄を第1特別図柄(特図1)とも呼び、第2特別図柄表示部42bで表示される特別図柄を第2特別図柄(特図2)とも呼ぶ。図10に、大当り時における特別図柄表示装置42の表示態様の一例を示す。図示するように、第1特別図柄の大当り図柄としては、第1特別図柄表示部42aにおける右上,右下,左下の縦棒セグメントが点灯する表示態様(図10の左側1段目参照)と、第1特別図柄表示部42aにおける上段の横棒セグメントと右下および左下の縦棒セグメントとが点灯する表示態様(図10の左側2段目参照)とがある。また、第2特別図柄の大当り図柄としては、第2特別図柄表示部42bにおける中段の横棒セグメントと右上および左下の縦棒セグメントとが点灯する表示態様(図10の右側1段目参照)と、第2特別図柄表示部42bにおける上段の横棒セグメントと左上および左下の縦棒セグメントとが点灯する表示態様(図10の右側2段目参照)とがある。なお、大当り時における特別図柄の表示態様は、上記態様に限られることはなく、如何なる態様で表示するものとしてもよいし、大当り時における特別図柄の表示態様の種類も各2種類ずつに限られず、1種類であってもよいし、3種類以上用意するものとしてもよい。特別図柄の変動表示中に、遊技球が第1始動口36および第2始動口38のいずれかに入球したときには、それぞれの始動口毎に特別図柄の変動表示を最大4回まで保留し、現在の変動表示が終了したときに、保留されている特別図柄の変動表示が順次消化される。なお、後述するが、第1特別図柄の変動表示の保留数は第1保留図柄35aによって表示され、第2特別図柄の変動表示の保留数は第2保留図柄35bによって表示される。
ここで、特別図柄が大当り図柄で停止表示されると、大当り遊技を開始するための特定条件が成立(条件装置作動フラグがオン)し、特定条件成立中に第1大当り遊技開始ゲート56および第2大当り遊技開始ゲート58のいずれかを遊技球が通過すると、大当り遊技が開始される。なお、特定条件成立中に第1大当り遊技開始ゲート56および第2大当り遊技開始ゲート58のいずれかに遊技球を通過させる遊技を「ゲート選択遊技」と呼ぶ。大当り遊技は、第1大入賞口46の開閉動作(通常ラウンドとも呼ぶ)または第2大入賞口60の開閉動作(特定ラウンドとも呼ぶ)を規定回数(規定ラウンド数)繰り返すことにより行われる。大当り遊技が終了すると、特定ラウンドで遊技球が第2大入賞口60に入球し且つ特定領域63を通過したことを条件として、特別図柄の変動表示に係る遊技(図柄変動遊技)を「低確率時短なし電サポなし状態(通常遊技状態)」とは異なる特別な態様(遊技者にとって有利な態様)で進めることができる状態である特別状態を発生させる。特別状態としては、特別図柄の当否判定の結果が大当りとなる確率(特図当り確率)が低確率状態よりも高くなる特図高確率状態(確率変動状態:以下、「高確率状態」と呼ぶ)と、特別図柄の変動時間が短縮される特図時短状態(変動短縮状態:以下、「時短あり状態」と呼ぶ)と、普通図柄の当否判定の結果が当りとなる確率(普図当り確率)が低確率状態よりも高くなると共に普通図柄の変動時間が短縮され且つ普通図柄が当り図柄で停止表示されたときに第2始動口38の開放時間が延長される電サポあり状態(高頻度状態)とが含まれ、本実施例では、高確率状態と時短あり状態と電サポあり状態の全てを含む「高確率時短あり電サポあり状態」を発生させる。なお、特定ラウンドで遊技球が特定領域63を通過しなかった場合には、「低確率時短あり電サポあり状態」を発生させる。なお、「大当り遊技(特定遊技)」が行われる状態や、「高確率状態」「時短あり状態」「電サポあり状態」は、いずれも通常遊技状態に比べ遊技者にとって有利な状態(有利状態)といえる。
大当り遊技は、異なる複数の実行パターンが設けられており、抽選によっていずれかの実行パターンを選択して実行する。複数の実行パターンは、いずれも第1大入賞口46または第2大入賞口60の開放回数(規定ラウンド数)が同一(本実施例では15ラウンド)とされ、それぞれ長開放の実行回数と短開放の実行回数とが異なっている。本実施例では、全15Rのうち第1R〜第8Rで長開放が選択され第9R〜第15Rで短開放が選択される第1実行パターンと、第1R〜第10Rで長開放が選択され第11R〜第15Rで短開放が選択される第2実行パターンと、第1R〜第11Rで長開放が選択され第12R〜第15Rで短開放が選択される第3実行パターンと、全15Rのうちの全て(第1R〜第15R)で長開放が選択される第4実行パターンとが設けられている。前述したように、短開放における第1大入賞口46や第2大入賞口60の開放時間は、極短時間(0.2秒)としているから、第1大入賞口46や第2大入賞口60が開放されている間に遊技球が入球することはほとんどない。したがって、実質的には、第1実行パターンのラウンド数は8R(以下「8R大当り遊技」という)であり、第2実行パターンのラウンド数は10R(以下「10R大当り遊技」という)であり、第3実行パターンのラウンド数は11R(以下「11R大当り遊技」という)であり、第4実行パターンのラウンド数は15R(以下「15R大当り遊技」という)である。特定ラウンドは、前述の規定ラウンド数のうち所定ラウンド目、本実施例では、第11ラウンド(第11R)に設定されている。したがって、抽選によって「8R大当り遊技」または「10R大当り遊技」が選択されると、特定ラウンドは短開放の態様で実行され、「11R大当り遊技」または「15R大当り遊技」が選択されると、特定ラウンドは長開放の態様で実行されることとなる。特定ラウンドが短開放の態様で実行されると、第2大入賞口60への遊技球の入球可能性が低く、特定領域63への遊技球の通過可能性が低いから、「8R大当り遊技」および「10R大当り遊技」は「高確率時短あり電サポあり状態」が発生し難い大当り遊技であるといえる。また、特定ラウンドが長開放の態様で実行されると、第2大入賞口60への遊技球の入球可能性が高く、特定領域63への遊技球の通過可能性が高いから、「11R大当り遊技」および「15R大当り遊技」は「高確率時短あり電サポあり状態」が発生し易い大当り遊技であるといえる。
演出表示装置34は、液晶ディスプレイなどの表示装置として構成されており、表示画面上で演出図柄の変動表示やリーチ演出や予告演出などの様々な演出表示が行われる。本実施例の演出表示装置34は、図11に例示する画面構成に示すように、横方向に並んで配置されキャラクタや数字により構成される左,中,右の3つの演出図柄(疑似特別図柄)34L,34M,34Rと、図示しない背景図柄とを有している。この演出表示装置34は、遊技球が第1始動口36に入球した場合と、遊技球が第2始動口38に入球した場合に、3つの演出図柄34L,34M,34Rを変動表示させる。演出図柄34L,34M,34Rは、変動表示が開始されると、それぞれ上から下に向かって高速でスクロールするように変動表示され、変動表示の実行時間(変動時間)が経過すると、左の演出図柄34L,右の演出図柄34R,中の演出図柄34Mの順に停止表示される。このとき、左の演出図柄34Lと右の演出図柄34Rとが一致しなかったときにはリーチなしの単純な外れとなり(例えば、「358」)、左の演出図柄34Lと右の演出図柄34Rとが一致したときにはリーチとなる。そして、所定のリーチ演出を伴って中の演出図柄34Mが停止したときに、中の演出図柄34Mと左右の演出図柄34L,34Rとが一致しなかった場合には、リーチありの外れとなるが(例えば、「393」)、中の演出図柄34Mと左右の演出図柄34L,34Rのすべてが一致した場合には、大当りとなる(例えば、「777」)。この演出表示装置34で表示される演出図柄の当否の結果は、基本的には、上述した特別図柄表示装置42により表示される特別図柄(第1特別図柄,第2特別図柄)の当否の結果と対応する。
また、本実施例では、演出表示装置34の表示画面内に第1保留図柄35aと第2保留図柄35bも表示されている。第1保留図柄35aは、第1特別図柄または第2特別図柄の変動表示中に第1始動口36に遊技球が入球するごとに左側から順に一つずつ表示され、第1特別図柄の変動表示が開始されるごとに始動入球時とは逆の順に消去される。第2保留図柄35bも、第1特別図柄または第2特別図柄の変動表示中に第2始動口38に遊技球が入球するごとに左側から順に一つずつ表示され、第2特別図柄の変動表示が開始されるごとに始動入球時とは逆の順に消去される。
こうして構成された実施例のパチンコ機10では、第1始動口36が演出表示装置34(センター役物49)の下側に配置されており、遊技者は、遊技球を遊技領域31の左側(演出表示装置34の左側領域)に流下させるように発射ハンドル18を回転操作(所謂左打ち)することにより、遊技球を第1始動口36に入球させることができる。また、普通図柄作動ゲート32および第2始動口38が演出表示装置34の左側に配置されており、遊技者は左打ちをすることにより、遊技球を普通図柄作動ゲート32に通過させることができ、普通図柄が当りとなって第2始動口38が開放すると、遊技者は左打ちを継続することにより、遊技球を第2始動口38に入球させることができる。さらに、第1大当り遊技開始ゲート56および第2大当り遊技開始ゲート58が遊技領域31の右部に配置されており、演出図柄(特別図柄)が大当り図柄で停止表示された後(大当り遊技を開始させるための特定条件の成立中)に、遊技者は発射ハンドル18を最大限右回転させて遊技球を発射させる所謂右打ちすることにより、遊技球を遊技領域31の右側(演出表示装置34の右側領域)に流下させて、遊技球を第1大当り遊技開始ゲート56および第2大当り遊技開始ゲート58のいずれかに通過させることができる。また、第1大入賞口46および第2大入賞口60が遊技領域31の右下部に配置されており、遊技球が第1大当り遊技開始ゲート56および第2大当り遊技開始ゲート58のいずれかを通過したことを契機に大当り遊技が開始されると、遊技者は右打ちすることにより、遊技球を遊技領域31の右側(演出表示装置34の右側領域)に流下させて、開状態となった第1大入賞口46や第2大入賞口60に入球させることができる。
[制御回路の構成]
次に、実施例のパチンコ機10の制御回路の構成について主として図3を参照しながら説明する。パチンコ機10の制御回路は、図3に示すように、遊技の基本的な進行の制御を司る主制御基板70と、賞球や球貸の払い出しに関する制御を司る払出制御基板80と、遊技の進行に伴って行われる各種演出の全体的な制御を司るサブ制御基板90と、遊技球の発射に関する制御を司る発射制御基板100などの制御基板により構成されている。これらの制御基板は、各種論理演算や算出演算を実行するCPUや、CPUで実行される各種プログラムやデータが記憶されているROM,プログラムの実行に際してデータを一時的に記憶するRAM,各種制御に必要な時間を計るタイマ(システムタイマ),周辺機器との間でデータをやり取りするための周辺機器インターフェース(PIO),CPUが演算を行うためのクロックを出力する発振器,CPUの暴走を監視するウォッチドッグタイマ,定期的に割り込み信号を発生させるCTC(カウンター・タイマー・サーキット
)などの種々の周辺LSIがバスにより相互に接続されている。なお、図3では、各制御基板に搭載された各種デバイスのうち主制御基板70のCPU70a,ROM70b,RAM70cのみを図示し、その他については図示を省略した。また、制御回路の一部をなすサブ制御基板90の構成の概略を示すブロック図を図12に示す。
主制御基板70は、遊技の基本的な進行の制御を行うために必要な信号として、図3に示すように、第1始動口スイッチ36aからの入球信号や第2始動口スイッチ38aからの入球信号が直接に入力されると共に、ゲートスイッチ32aからの通過信号や第1大入賞口スイッチ46aからの入球信号,第2大入賞口スイッチ60aからの入球信号,一般入賞口スイッチ45aからの入球信号,特定領域通過スイッチ63aからの通過信号,非特定領域通過スイッチ64aからの通過信号、第1開始ゲートスイッチ56aからの通過信号,第2開始ゲートスイッチ58aからの通過信号などが中継端子板72を介して入力されている。主制御基板70からは、図柄表示装置40の表示制御を司る図柄表示基板40aへの制御信号や第2始動口ソレノイド38bへの駆動信号,第1大入賞口ソレノイド46bへの駆動信号,第2大入賞口ソレノイド60bへの駆動信号,振分ソレノイド67bへの駆動信号などが中継端子板72を介して出力されている。また、主制御基板70は、払出制御基板80やサブ制御基板90,発射制御基板100(払出制御基板80を介して通信)と通信しており、各種指令信号(コマンドや駆動信号など)やデータのやり取りを行っている。
払出制御基板80は、賞球や球貸の払い出しに関する制御を行うために必要な信号として、図3に示すように、前面枠11の開放を検知する枠開放スイッチ81からの検知信号が直接に入力され、球貸ボタン24aや返却ボタン24bからの操作信号が球貸表示基板82,中継端子板83を介して入力され、賞球の払い出しを検知する払出前スイッチ84および払出後スイッチ85からの検知信号が中継端子板87を介して入力されている。払出制御基板80からは、賞球の払い出しを行う払出モータ86への駆動信号などが中継端子板87を介して出力されている。また、払出制御基板80は、主制御基板70や発射制御基板100と通信しており、各種指令信号やデータのやり取りを行っている。
サブ制御基板90は、図12に示すように、CPU90aやROM90b,RAM90cなどを備えており、主制御基板70から各種指令信号を受信してその指令に応じた遊技の演出を行う。サブ制御基板90は、演出表示装置34の制御を行う演出表示制御基板91や各種スピーカ28a,28bを駆動するアンプ基板92、各種LEDランプ93aを駆動したり可動演出役物を動作させるための装飾モータ93bを駆動したりする装飾駆動基板93,演出ボタン26に設けられ演出ボタン26の操作を検知する操作検知スイッチ27からの操作信号を入力する演出ボタン基板94などが接続されている。
発射制御基板100は、タッチセンサ18aからの検知信号や発射停止スイッチ18bからの操作信号,下受け皿16に遊技球が満タン状態となるのを検知する下受け皿満タンスイッチ102からの検知信号などを入力しており、発射モータ19へ駆動用のパルス信号などを出力している。発射制御基板100は、発射ハンドル18が回転操作されてタッチセンサ18aがオンで発射停止スイッチ18bがオフで下受け皿満タンスイッチ102がオフのときに発射モータ19を駆動して遊技球を発射し、タッチセンサ18aがオフか発射停止スイッチ18bがオンか下受け皿満タンスイッチ102がオンかのいずれかが成立したときに発射モータ19の駆動を停止して遊技球の発射を停止する。また、発射制御基板100は、払出制御基板80を介して主制御基板70と通信しており、タッチセンサ18aからの検知信号などの発射ハンドル18の操作状態に関するデータを払出制御基板80を介して主制御基板70に送信する。
次に、こうして構成された実施例のパチンコ機10における遊技の流れについて説明する。図13は、実施例のパチンコ機10の遊技の流れの概略を示す説明図である。図13に示すように、始動口(第1始動口36または第2始動口38)に遊技球が入球するとS10)、特別図柄(第1特別図柄または第2特別図柄)の変動表示が開始される(S12)。特別図柄(第1特別図柄または第2特別図柄)が外れ図柄で停止表示されると(S14)、外れが確定する(S16)。一方、特別図柄(第1特別図柄または第2特別図柄)が大当り図柄で停止表示されると(S18)、条件装置が作動することで、大当り遊技を開始するための特定条件が成立する(S20)。ここで、特別図柄が大当り図柄で停止表示されても、直ちに大当り遊技が開始されるわけではなく、大当り遊技を開始させるためには、特定条件成立中(条件装置作動中)に第1大当り遊技開始ゲート56および第2大当り遊技開始ゲート58のいずれかに遊技球を通過させることが必要とされる。なお、特定条件が成立していない場合には、遊技球が第1大当り遊技開始ゲート56および第2大当り遊技開始ゲート58のいずれかを通過しても、大当り遊技が実行されることはない。また、本実施例では、一旦、大当り遊技を開始させるための特定条件が成立すると、大当り遊技が開始されるまで、特定条件成立の効力が維持される。勿論、所定時間が経過すると、特定条件成立の効力がなくなり、大当り遊技開始ゲート(第1大当り遊技開始ゲート56または第2大当り遊技開始ゲート58)を遊技球が通過しても、大当り遊技が開始されない通常状態とするものとしてもよい。
特定条件の成立中に遊技球が開始ゲート振分装置50の入球口51に入球し(S22)、入球した遊技球が開始ゲート振分装置50を介して第1大当り遊技開始ゲート56を通過すると(S24)、第1抽選テーブルを設定し(S26)、設定した抽選テーブルを用いて大当り遊技の実行パターン(ラウンド数)を設定し(S28)、設定した実行パターンにしたがって大当り遊技を開始する(S30)。一方、入球口51に入球した遊技球が開始ゲート振分装置50を介して第2大当り遊技開始ゲート58を通過すると(S32)、第2抽選テーブルを設定し(S34)、設定した抽選テーブルを用いて大当り遊技の実行パターン(ラウンド数)を設定し(S36)、設定した実行パターンにしたがって大当り遊技を開始する(S38)。ここで、第1抽選テーブルは、「11R大当り遊技」(第3実行パターン)および「10R大当り遊技」(第2実行パターン)のいずれかが抽選によって選択され、第2抽選テーブルは、「15R大当り遊技」(第4実行パターン)および「8R大当り遊技」(第1実行パターン)のいずれかが抽選によって選択される。したがって、2つの大当り遊技開始ゲート(第1大当り遊技開始ゲート56および第2大当り遊技開始ゲート58)のうち遊技球が通過したゲートによって、選択される大当り遊技の実行パターン(ラウンド数)が変化し得るものとなっている。
[主制御処理]
次に、実施例のパチンコ機10の動作の詳細について説明する。図14は、主制御基板70のCPU70aにより実行される主制御処理の一例を示すフローチャートである。この処理は、パチンコ機10の電源が投入されたときに実行される。主制御処理は、初期化処理などの電源投入に必要な電源投入処理を実行した後(S100)、遊技開始処理(S110)と、普通図柄遊技処理(S120)と、普通図柄当り遊技処理(S130)と、特別図柄遊技処理(S140)と、役物連続作動装置作動処理(S150)と、大当り遊技処理(S160)とを繰り返し実行することにより行われる。なお、本実施例では、S110〜S160の処理に要する時間は約4msecとなっているため、これらの処理は約4msecの間隔で繰り返し実行されることになる。主制御基板70は、これらの処理の実行に伴って、各種コマンドを担当する制御基板に送信してコマンドに応じた処理を実行させることにより、パチンコ機10の全体の遊技を進行させている。
[遊技開始処理]
S110の遊技開始処理では、主制御基板70のCPU70aは、まず、各種センサ(ゲートスイッチ32aや第1始動口スイッチ36a,第2始動口スイッチ38a,第1大入賞口スイッチ46a,第2大入賞口スイッチ60a,一般入賞口スイッチ45aなど)の状態を検出してRAM70cの所定の状態記憶領域に保存したり、各種判定用情報(後述する大当り判定用乱数や大当り図柄決定用乱数,リーチ用乱数,変動パターン決定用乱数、普通図柄当否判定用乱数など)を更新したりする。続いて、遊技球の入球に関わるスイッチ(第1始動口スイッチ36aや第2始動口スイッチ38a,第1大入賞口スイッチ46a,第2大入賞口スイッチ60a,一般入賞口スイッチ45aなど)により遊技球が検知されたか否かを判定し、検知されたと判定すると、払い出すべき賞球数を演算して賞球情報としてRAM70cの所定の賞球情報記憶領域に保存し、賞球情報が値0でないときには賞球数指定コマンド(賞球情報)を払出制御基板80に送信して遊技開始処理を終了する。払出制御基板80は、賞球数指定コマンドを受信すると、払出モータ86を駆動制御して遊技球を1球ずつ払い出すと共に払出前スイッチ84および払出後スイッチ85により払い出した遊技球が検知される度に賞球情報(未払いの遊技球数)を値1ずつデクリメントする賞球払出処理を実行する。この賞球払出処理は、賞球情報が値0となるまで繰り返し実行されるが、遊技球の入球が検知されて主制御基板70から新たな賞球数指定コマンドを受信すると、その賞球情報も値0となるまで処理が繰り返される。遊技開始処理が終了すると、主制御処理に戻って次のS120の普通図柄遊技処理に進む。
[普通図柄遊技処理]
S120の普通図柄遊技処理では、主制御基板70のCPU70aは、まず、普通図柄の保留が値0でない即ち値1以上あるか否かを判定し、保留が値1以上あるときには保留数を値1だけデクリメントして普通図柄の当否判定を行うと共に当否判定の結果に基づいて停止表示させる普通図柄(図9参照)を決定する。普通図柄の当否判定は、普通図柄作動ゲート32を遊技球が通過することに基づき取得される普通図柄当否判定用乱数と、普通図柄当り判定テーブルを用いて行われるもので、電サポなし状態(開放延長フラグがオフ)にあるときには当り確率の低い(例えば、約0.8%)低確率用の普通図柄当り判定テーブルが用いられ、電サポあり状態(開放延長フラグがオン)にあるときには当り確率の高い(例えば、約99.2%)高確率用の普通図柄当り判定テーブルが用いられる。また、当否判定の結果が当りのときには、当り図柄を停止表示させる図柄に決定し、当否判定の結果が外れのときには、外れ図柄のうちのいずれかを停止表示させる図柄に決定する。そして、普通図柄の変動時間を設定して普通図柄の変動表示を開始し、変動時間が経過するのを待つ。変動時間の設定は、電サポなし状態(開放延長フラグがオフ)にあるときには長時間(例えば、30秒)に設定され、電サポあり状態(開放延長フラグがオン)にあるときには短時間(例えば、1秒)に短縮される。変動時間が経過すると、決定した図柄で普通図柄を停止表示し、停止表示した図柄が当り図柄のときには、第2始動口38の開放時間を設定し、第2始動口38の開放を開始して普通図柄遊技処理を一旦終了し、停止表示した図柄が外れ図柄のときには、何もせずに普通図柄遊技処理を終了する。第2始動口38の開放時間は、電サポなし状態(開放延長フラグがオフ)にあるときには短時間(例えば0.5秒)に設定され、電サポあり状態(開放延長フラグがオン)にあるときには長時間(例えば5秒)に延長される。また、第2始動口38の開放は、上述したように、第2始動口ソレノイド38bを駆動制御することによって、翼片部38cを左に開くことにより行う。普通図柄遊技処理を終了すると、主制御処理に戻って次のS130の普通図柄当り遊技処理に進む。このように、電サポあり状態においては、普通図柄の変動時間を短縮する普図変動時間短縮機能を作動させると共に普通図柄の当否判定の結果が当りとなる確率(普図当り確率)を高くする普図確率変動機能を作動させ、且つ、第2始動口38の開放時間を延長する開放延長機能を作動させる。このため、本実施例の電サポあり状態を、開放延長機能作動状態、普図時短状態または普図確変状態ともいう。また、これら3つの機能を同時に作動させる形態のみを例示したが、いずれか1つの機能またはいずれか2つの機能を作動させる形態とすることもできる。
[普通図柄当り遊技処理]
S130の普通図柄当り遊技処理では、主制御基板70のCPU70aは、第2始動口38が開放を開始してからの経過時間(開放経過時間)が普通図柄遊技処理で設定された設定時間に達しているか否か、規定数(例えば、8個)の遊技球が第2始動口38に入球しているか否かを判定する。開放経過時間が設定時間に達しておらず規定数の遊技球が第2始動口38に入球してもいないと判定すると、第2始動口38の開放を維持したまま普通図柄当り遊技処理を一旦終了する。一方、開放経過時間が設定時間に達していると判定したり、開放経過時間が設定時間に達する前であっても既に規定数の遊技球が第2始動口38に入球していると判定すると、第2始動口ソレノイド38bの駆動を停止して、普通図柄当り遊技処理を終了する。普通図柄当り遊技処理を終了すると、主制御処理に戻って次のS140の特別図柄遊技処理に進む。
[特別図柄遊技処理]
S140の特別図柄遊技処理は、図15〜図17に示すフローチャートに従って実行される。特別図柄遊技処理が実行されると、主制御基板70のCPU70aは、まず、第1始動口スイッチ36aからの検知信号を入力して第1始動口36に遊技球が入球したか否かを判定する(S200)。第1始動口36に遊技球が入球したと判定すると、現在の第1特別図柄の保留数がその上限値(本実施例では、値4)よりも少ないか否かを判定する(S202)。第1特別図柄の保留数が上限値よりも少ないと判定したときには、第1特別図柄の保留数を値1だけインクリメントすると共に(S204)、判定用情報を取得してRAM70cの所定の判定用情報記憶領域に格納し(S206)、第1特別図柄保留発生時コマンドをサブ制御基板90に送信する(S208)。ここで、S206で取得される判定用情報としては、第1始動口36への遊技球の入球に基づいて行われる大当り判定の際に用いられる大当り判定用乱数や、大当り判定の結果が大当りのときに第1特別図柄表示部42aに停止表示させる大当り図柄を決定するための大当り図柄決定用乱数,第1特別図柄の変動パターンを決定するための変動パターン決定用乱数などの図柄変動遊技の進行に関する情報が例示できる。なお、大当り判定は、特別図柄の当否判定に相当するものである。また、第1特別図柄保留発生時コマンドには、保留数を演出表示装置34の表示画面内の第1保留図柄35aで表示するための第1特別図柄の保留数指定コマンドが含まれる。なお、S200で第1始動口36に遊技球が入球していないと判定したり、S202で第1特別図柄の保留数が上限値に達していると判定すると、S204〜S208の処理をスキップして次のS210の処理に進む。
続いて、第2始動口スイッチ38aからの検知信号を入力して第2特別図柄を変動表示させるための第2始動口38に遊技球が入球したか否かを判定する(S210)。第2始動口38に遊技球が入球したと判定すると、現在の第2特別図柄の保留数がその上限値(本実施例では、値4)よりも少ないか否かを判定する(S212)。第2特別図柄の保留数が上限値よりも少ないと判定したときには、第2特別図柄の保留数を値1だけインクリメントすると共に(S214)、判定用情報を取得してRAM70cの所定の判定用情報記憶領域に格納し(S216)、第2特別図柄保留発生時コマンドをサブ制御基板90に送信する(S218)。ここで、S216で取得される判定用情報としては、第2始動口38への遊技球の入球に基づいて行われる大当り判定の際に用いられる大当り判定用乱数や、大当り判定の結果が大当りのときに第2特別図柄表示手段42bに停止表示させる大当り図柄を決定するための大当り図柄決定用乱数,第2特別図柄の変動パターンを決定するための変動パターン決定用乱数などの図柄変動遊技の進行に関する情報が例示できる。また、第2特別図柄保留発生時コマンドには、保留数を演出表示装置34の表示画面内の第2保留図柄35bで表示するための第2特別図柄の保留数指定コマンドが含まれる。なお、S210で第2始動口38に遊技球が入球していないと判定したり、S212で第2特別図柄の保留数が上限値に達していると判定すると、S214〜S218の処理をスキップして次のS220の処理に進む。
次に、条件装置作動フラグがオン(条件装置が作動中)であるか否か(S220)、第1特別図柄および第2特別図柄のいずれかが変動表示中であるか否か(S222)、第1特別図柄および第2特別図柄のいずれかが停止表示時間中であるか否か(S224)をそれぞれ判定する。条件装置作動フラグがオンであると判定すると、特別図柄遊技処理を終了し、主制御処理に戻って次のS150の役物連続作動装置作動処理に進む。一方、条件装置作動フラグがオンでなく、第1特別図柄および第2特別図柄のいずれもが変動表示中でなく、第1特別図柄および第2特別図柄のいずれもが停止表示時間中でないと判定すると、第2特別図柄の保留数が値0であるか否かを判定する(S226)。第2特別図柄の保留数が値0でないと判定すると、判定用情報記憶領域(RAM70c)に記憶されている第2特別図柄の判定用情報(大当り判定用乱数)のうち最も古い判定用情報を読み出し(S228)、第2特別図柄の変動表示関連処理を実行して(S230)、特別図柄遊技処理を一旦終了する。なお、条件装置が作動中であると、特別図柄遊技処理を終了するため、一旦大当り遊技を開始させるための特定条件が成立すると、大当り遊技を開始させるまで図柄変動関連処理を行われることはない。もっとも、遊技機を初期化(リセット)することにより、特定条件成立を解除することは可能である。
一方、第2特別図柄の保留数が値0と判定すると、第1特別図柄の保留数が値0であるか否かを判定する(S232)。第1特別図柄の保留数が値0でないと判定すると、判定用情報記憶領域(RAM70c)に記憶されている第1特別図柄の判定用情報(大当り判定用乱数)のうち最も古い判定用情報を読み出し(S234)、第1特別図柄の変動表示関連処理を実行して(S236)、特別図柄遊技処理を一旦終了する。第1特別図柄の保留数も値0のときには、これで特別図柄遊技処理を終了する。S226〜S236では、第1特別図柄の保留数と第2特別図柄の保留数がいずれも値0でないときには第2特別図柄の変動表示(保留の消化)が優先して実行される(特図2優先変動)。勿論、第1始動
口36や第2始動口38に遊技球が入球した順に特別図柄を変動させるもの(入球順変動)としてもよいし、第1特別図柄の変動表示と第2特別図柄の変動表示とを並行して行うもの(同時変動)としてもよい。以下、変動表示関連処理の詳細について説明する。なお、第1特別図柄の変動表示関連処理と第2特別図柄の変動表示関連処理はいずれも共通の処理が実行されるため、共通のフローチャート(図18のフローチャート)を用いて説明する。
変動表示関連処理では、まず、確変フラグがオンか否か、即ち現在の遊技状態が高確率状態および低確率状態のいずれであるかを判定する(S300)。確変フラグがオフのとき、即ち現在の遊技状態が低確率状態のときにはS228またはS234で読み出した大当り判定用乱数と低確率用大当り判定テーブルとを用いて大当り判定を行い(S302)、確変フラグがオンのとき、即ち現在の遊技状態が高確率状態のときには読み出した大当り判定用乱数と高確率用大当り判定テーブルとを用いて大当り判定を行って(S304)、その判定結果が大当りか否かを判定する(S306)。大当り判定テーブルの一例を図19に示す。なお、図19(a)に低確率用大当り判定テーブルを示し、図19(b)に高確率用大当り判定テーブルを示す。低確率用大当り判定テーブルでは大当り判定用乱数が値0〜399のうち値60,61のときに大当りとし(1/200の大当り確率)、高確率用大当り判定テーブルでは当り判定用乱数が値0〜399のうち値60〜79のときに大当りとするものとした(1/20の大当り確率)。なお、本実施例では、第1特別図柄と第2特別図柄とで共通の大当り判定テーブルが用いられる。
S306で大当り判定の結果が大当り(特定結果)と判定されたときには、判定用情報記憶領域(RAM70c)から大当り図柄決定用乱数を読み出し(S308)、読み出した大当り図柄決定用乱数に基づいて停止表示させる大当り図柄を選択して決定する(S310)。ここで、第1特別図柄の大当り図柄の決定と第2特別図柄の大当り図柄の決定には、それぞれ図示しない大当り図柄決定テーブルが用いられる。
また、S306で大当り判定の結果が大当りでないと判定すると、外れであるから、外れ図柄を決定する(S312)。なお、外れ図柄は、例えば、大当り図柄決定用乱数と図示しない外れ図柄決定用テーブルとを用いて設定することができる。勿論、大当り図柄決定用乱数とは別に外れ図柄決定用乱数を取得するものとすれば、この外れ図柄決定用乱数と外れ図柄決定用テーブルとを用いて設定することもできる。
こうして停止図柄を決定すると、変動パターンテーブルを設定する(S314)。なお、変動パターンテーブルは、図示しないが、大当り判定の結果が大当りである場合には、大当り変動パターンテーブルを設定し、大当り判定の結果が外れである場合には、外れ変動パターンテーブルを設定することにより行う。各変動パターンテーブルは、現在の遊技状態(電サポあり状態か否か)と保留数と変動パターン決定用乱数とに対応付けて各種の変動パターンが規定されており、特別図柄を変動表示させる際には、これらの変動パターンテーブルを用いて一の変動パターンが選択される。なお、特別図柄の変動パターンとは、特別図柄の変動時間を示すものである。
変動パターンテーブルを設定すると、変動パターン決定用乱数を読み出し(S316)、読み出した変動パターン決定用乱数と設定した変動パターンテーブルとを用いて変動パターンを設定する(S318)。そして、特別図柄の変動表示を開始すると共に(S320)、特別図柄の保留数を値1だけデクリメントし(S322)、図柄変動開始時コマンドをサブ制御基板90に送信して(S324)、変動表示関連処理を終了する。S320〜S324の処理は、現在の変動表示関連処理の対象が第1特別図柄の場合には、第1特別図柄の変動表示を開始すると共に、第1特別図柄の保留数を値1だけデクリメントする処理となる。一方、現在の変動表示関連処理の対象が第2特別図柄の場合には、第2特別図柄の変動表示を開始すると共に、第2特別図柄の保留数を値1だけデクリメントする処理となる。また、S324で送信する図柄変動開始時コマンドには、大当り判定の結果が大当りのときには大当り変動パターンおよびそのパターンにおける変動時間(変動パターン指定コマンド)と大当り停止図柄(特別図柄停止情報指定コマンド)とが含まれ、大当り判定の結果が外れのときには外れ変動パターンおよびそのパターンにおける変動時間(変動パターン指定コマンド)と外れ停止図柄(特別図柄停止情報指定コマンド)とが含まれている。図柄変動開始時コマンドを受信したサブ制御基板90は、コマンドを解析し、その解析結果に基づいて演出表示装置34の画面上で行う演出内容を決定し、その決定に応じた制御信号(演出コマンド)を演出表示制御基板91に出力して演出表示装置34の制御を行う。
図15〜図17の特別図柄遊技処理に戻って、特別図柄(第1特別図柄または第2特別図柄)の変動表示が開始された後に特別図柄遊技処理が実行されると、S222で第1特別図柄および第2特別図柄のいずれかが変動表示中と判定するため、主制御基板70のCPU70aは、変動時間が経過したか否かを判定する(S238)。変動時間は特別図柄の変動パターンに応じて決定されるから、変動時間が経過したか否かは、特別図柄の変動表示が開始されてからの経過時間と、変動パターンに対応する変動時間とを比較することにより行うことができる。変動時間が経過していないと判定すると、特別図柄遊技処理を一旦終了する。変動時間が経過していると判定すると、変動中の特別図柄の変動表示を停止し(S240)、図柄停止コマンドをサブ制御基板90に送信する(S242)。この図柄停止コマンドを受信したサブ制御基板90(演出表示制御基板91)は、演出表示装置34での図柄変動演出を終了させる。そして、停止表示時間を設定し(S244)、停止表示時間が経過したか否かを判定する(S246)。ここで、停止表示時間は、特別図柄の変動表示を停止してから次に変動表示を開始するまでのインターバルであり、例えば0.6秒に設定される。停止表示時間が経過していないと判定すると、特別図柄遊技処理を一旦終了する。特別図柄の停止表示がなされた後に、特別図柄遊技処理が実行されると、S224で停止表示時間中と判定するため、再びS246で停止表示時間が経過したか否かを判定し、停止表示時間が経過していると判定すると、停止表示している特別図柄が大当り図柄であるか否かを判定する(S248)。
S248で大当り図柄と判定すると、条件装置を作動させるために条件装置作動フラグをオンとすると共に(S250)、ゲート選択遊技指定コマンドをサブ制御基板90に送信する(S252)。ここで、条件装置作動フラグがオンとされても、直ちに大当り遊技が開始されない。大当り遊技の開始には、後述するゲート選択遊技を経て、条件装置作動フラグに加えて役物連続作動装置作動フラグもオンとされることが必要である。大当り遊技中には確変機能や変動時間短縮機能,開放延長機能を停止させるために、確変フラグがオンのときには確変フラグをオフとし(S254,S256)、変動短縮フラグがオンのときには変動短縮フラグをオフとすると共に開放延長フラグをオフとして(S258〜S262)、特別図柄遊技処理を終了し、主制御処理に戻って次のS150の役物連続作動装置作動処理に進む。
なお、本実施例では、特別図柄が大当り図柄で停止表示しても大当り遊技が直ちに開始されるわけではなく、ゲート選択遊技を経由して大当り遊技を開始するものとしたが、この遊技性を全ての大当り図柄について適用する必要はなく、例えば、一部の大当り図柄(大当り態様)についてはゲート選択遊技を経由して大当り遊技を開始するものとし、他の大当り図柄(大当り態様)についてはゲート選択遊技を経由することなく、特別図柄が大当り図柄で停止表示されたときに、条件装置作動フラグおよび役物連続作動装置作動フラグの両方をオンとして、直ちに大当り遊技を開始するものとしてもよい。これにより、遊技者が大当り遊技開始ゲート(第1大当り遊技開始ゲート56,第2大当り遊技開始ゲート58)に遊技球を通過させて大当り遊技の実行パターン(ラウンド数)を選択する遊技性と、遊技者が選択することなく大当り遊技の実行パターンが確定する遊技性とを混在させることができ、遊技性を多様化して、遊技興趣を高めることができる。
一方、S248で大当り図柄でないと判定すると、変動短縮フラグがオンであるか否かを判定し(S264)、変動短縮フラグがオンでないときにはそのまま特別図柄遊技処理を一旦終了する。変動短縮フラグがオンのときには変動短縮カウンタを値1だけデクリメントし(S266)、変動短縮カウンタが値0であるか否かを判定する(S268)。ここで、変動短縮カウンタは、特別図柄の変動時間短縮機能の作動状態を維持する特別図柄の変動回数の上限値を示すものであり、大当り遊技の終了に際して大当り態様に応じた値がセットされる。変動短縮カウンタが値0でないときには、電サポあり状態を維持したまま特別図柄遊技処理を一旦終了し、変動短縮カウンタが値0のときには、電サポあり状態を終了させるために、変動短縮フラグをオフとすると共に(S270)、開放延長フラグをオフとし(S272)、遊技状態指定コマンドをサブ制御基板90に送信して(S274)、特別図柄遊技処理を一旦終了する。これにより、パチンコ機10の遊技状態は、電サポあり状態から電サポなし状態に変更されることになる。なお、遊技状態指定コマンドには、パチンコ機10の現在の遊技状態を示す変動短縮フラグや開放延長フラグの設定状況などが含まれる。遊技状態指定コマンドを受信したサブ制御基板90は、例えば、演出表示制御基板91に遊技状態を示す演出コマンドを送信して演出表示装置34の背景画面などの表示を電サポあり状態用から電サポなし状態用に変更する等の処理を行う。
[役物連続作動装置作動処理]
S150の役物連続作動装置作動処理は、図20に示すフローチャートに従って実行される。図20の役物連続作動装置作動処理が実行されると、主制御基板70のCPU70aは、まず、条件装置作動フラグがオンであるか否か(S400)、役物連続作動装置作動フラグがオフであるか否か(S402)、をそれぞれ判定する。条件装置作動フラグがオンでないと判定したり、役物連続作動装置作動フラグがオフでないと判定すると、役物連続作動装置作動処理を終了する。一方、条件装置作動フラグがオンであり且つ役物連続作動装置作動フラグがオフであると判定すると、遊技球が第1大当り遊技開始ゲート56を通過したか否か(S404)、第2大当り遊技開始ゲート58を通過したか否か(S406)、をそれぞれ判定する。遊技球が第1大当り遊技開始ゲート56および第2大当り遊技開始ゲート58のいずれにも通過していないと判定すると、役物連続作動装置作動処理を一旦終了する。一方、遊技球が第1大当り遊技開始ゲート56を通過したと判定すると、抽選テーブルとして第1抽選テーブルを設定し(S408)、遊技球が第2大当り遊技開始ゲート58を通過したと判定すると、抽選テーブルとして第2抽選テーブルを設定する(S410)。
こうして抽選テーブルを設定すると、設定した抽選テーブルに基づいて大当り遊技の実行パターンとしての実行ラウンド数と各ラウンドの開放パターンとを設定する(S412)。図21に、抽選テーブルの一例を示す。なお、図21(a)は第1抽選テーブルを示し、図21(b)は第2抽選テーブルを示す。第1抽選テーブルは、図21(a)に示すように、大当り遊技実行パターン決定用乱数が値0〜99のうち値0〜79の場合に、「11R大当り遊技」(第3実行パターン)が設定され(振り分け確率80%)、大当り遊技実行パターン決定用乱数が値80〜99の場合に、「10R大当り遊技」(第2実行パターン)が設定される(振り分け確率20%)。この第1抽選テーブルは、実行ラウンド数は15Rであるが、実質的なラウンド数(長開放が選択されるラウンド数)の平均値(期待値)が10.8Rである。また、「11R大当り遊技」では、特定ラウンド(第11R)で長開放が選択されるため、特定領域63への遊技球の通過可能性が高く、「10R大当り遊技」では、特定ラウンドで短開放が選択されるため、特定領域63への遊技球の通過可能性が低い。したがって、第1抽選テーブルは、略80%の確率で、大当り遊技後に高確率状態(「高確率時短あり電サポあり状態」)を発生するテーブルであるといえる。第2抽選テーブルは、図21(b)に示すように、大当り遊技実行パターン決定用乱数が値0〜39の場合に、「15R大当り遊技」(第4実行パターン)が設定され(振り分け確率40%)、大当り遊技実行パターン決定用乱数が値40〜99の場合に、「8R大当り遊技」(第1実行パターン)が設定される(振り分け確率60%)。この第2抽選テーブルも、実行ラウンド数は15Rであるが、実質的なラウンド数(長開放が選択されるラウンド数)の平均値(期待値)が10.8Rであり、第1抽選テーブルと同一である。また、「15R大当り遊技」では、特定ラウンド(第11R)で長開放が選択されるため、特定領域63への遊技球の通過可能性が高く、「8R大当り遊技」では、特定ラウンドで短開放が選択されるため、特定領域63への遊技球の通過可能性が低い。したがって、第2抽選テーブルは、第1抽選テーブルよりも低い略40%の確率で、大当り遊技後に高確率状態(「高確率時短あり電サポあり状態」)を発生するテーブルであるといえる。
このように、第1抽選テーブルは第2抽選テーブルに比して大当り遊技後に高確率状態(「高確率時短あり電サポあり状態」)が発生する可能性が高く、第2抽選テーブルには実質的なラウンド数(長開放が選択されるラウンド数)が最も多い「15R大当り遊技」が含まれている。したがって、第1抽選テーブルが設定されると、複数回の大当りが連続して発生(いわゆる「大当りの連荘」が発生)する可能性が高い遊技性となり、第2抽選テーブルが設定されると、1回の大当り遊技において少ない遊技利益(賞球)しか獲得できないリスクはあるものの大量の遊技利益(賞球)を獲得可能な遊技性となる。第1抽選テーブルは第1大当り遊技開始ゲート56に対応付けられると共に第2抽選テーブルは第2大当り遊技開始ゲート58に対応付けられており、第1大当り遊技開始ゲート56および第2大当り遊技開始ゲート58のいずれに遊技球を通過させるのかは、遊技者が自由に選択できるようになっているから、遊技者は、2つの遊技性のうち希望する方を選択して大当り遊技を実行させることができる。
こうして実行パターンを設定すると、大当り遊技を開始させるために役物連続作動装置作動フラグをオンとし(S414)、大当り遊技開始指定コマンドをサブ制御基板90に送信して(S416)、役物連続作動装置作動処理を終了する。ここで、大当り遊技開始指定コマンドには、S408またはS410で設定した抽選テーブルやS412で設定した大当り遊技の実行パターン(実行ラウンド数,各ラウンドの開放パターン)などが含まれる。
[大当り遊技処理]
S160の大当り遊技処理は、図22に示すフローチャートに従って実行される。図22の大当り遊技処理が実行されると、主制御基板70のCPU70aは、まず、条件装置作動フラグがオンであり且つ役物連続作動装置作動フラグがオンであるか否か、即ち大当り遊技中であるか否かを判定する(S500,S502)。条件装置作動フラグがオフであると判定したり、条件装置作動フラグがオンであっても役物連続作動装置作動フラグがオフである(大当り遊技を開始させるための特定条件成立中)と判定すると、そのまま大当り遊技処理を終了する。一方、条件装置作動フラグがオンであり且つ役物連続作動装置作動フラグがオンであると判定すると、遊技開始タイミングであるか否かを判定し(S504)、遊技開始タイミングであると判定すると、残りラウンド数の初期値として役物連続作動装置作動処理のS412で設定した実行ラウンド数を設定すると共に、開放回数の初期値として値1を設定する(S506)。なお、遊技開始タイミングでないと判定すると、残りラウンド数および開放回数を初期化済みであるからS506をスキップする。
次に、第1大入賞口46が開放中であるか否かを判定する(S508)。第1大入賞口46が開放中でない(閉鎖中である)と判定すると、開放回数に基づいて今回のラウンドが特定ラウンドであるか否かを判定する(S510)。開放回数は後述するS522またはS568で大入賞口(第1大入賞口46,第2大入賞口60)の開閉動作が行われる度に値1ずつインクリメントされる。また、本実施例では、特定ラウンドを第11Rとしているから、S510の処理は、開放回数が値11であるかを判定することにより行うことができる。S510で今回のラウンドが特定ラウンドでない、即ち通常ラウンドと判定すると、第1大入賞口46の開放タイミングであるか否かを判定する(S512)。この判定は、規定の閉鎖時間(本実施例では、2秒)が経過したか否かを判定することにより行われる。第1大入賞口46の開放タイミングではないと判定すると、そのまま大当り遊技処理を一旦終了する。
S512で第1大入賞口46の開放タイミングであると判定すると、今回のラウンドの開放パターンが長開放であるか否かを判定し(S514)、長開放であると判定すると、第1大入賞口46の開放パターンとして長開放パターン(本実施例では25秒間開放するパターン)を設定し(S516)、今回のラウンドの開放パターンが短開放であると判定すると、第1大入賞口46の開放パターンとして短開放パターン(本実施例では0.2秒間開放するパターン)を設定する(S518)。そして、設定した開放パターンにしたがって第1大入賞口46が開放されるよう第1大入賞口ソレノイド50bを駆動制御すると共に(S520)、通常ラウンド開始指定コマンドをサブ制御基板90のCPU90に送信して(S522)、大当り遊技処理を一旦終了する。通常ラウンド開始指定コマンドを受信したサブ制御基板90は、後述する大当り遊技演出処理にて通常ラウンド開始演出を行う。
第1大入賞口46を開放して大当り遊技処理を一旦終了した後は、次に大当り遊技処理を実行したときに、S508で第1大入賞口46が開放中であると判定し、第1大入賞口46の閉鎖タイミングか否かを判定する(S524)。第1大入賞口46の閉鎖タイミングは、開放パターンとして長開放パターンが設定されている場合には、開放開始から25秒間の開放時間が経過するか当該開放時間が経過する前に第1大入賞口46に入球した遊技球の数が規定数(本実施例では、10個)に達したタイミングであり、開放パターンとして短開放パターンが設定されている場合には、開放開始から0.2秒間が経過したタイミングである。第1大入賞口46の閉鎖タイミングでないと判定すると、第1大入賞口46の開放を維持したまま大当り遊技処理を一旦終了する。一方、第1大入賞口46の閉鎖タイミングであると判定すると、第1大入賞口46が閉鎖されるよう第1大入賞口ソレノイド50bを駆動制御し(S526)、開放回数を値1だけインクリメントすると共に残りラウンド数を値1だけデクリメントし(S528)、残りラウンド数が値0であるか否かを判定する(S530)。残りラウンド数が値0でないと判定すると、大当り遊技処理を一旦終了する。
第1大入賞口46を閉鎖すると、次に大当り遊技処理が実行されたときに、S508で第1大入賞口46が閉鎖中と判定するため、S510で今回のラウンドが特定ラウンドであるか否かを判定する。今回のラウンドが通常ラウンドであると判定すると、前述したS512〜S530の処理を繰り返し、今回のラウンドが特定ラウンドであると判定すると、特定領域入球遊技処理を実行して(S534)、大当り遊技処理を一旦終了する。ここで、S534の特定領域入球遊技処理は、図23に示すフローチャートに従って実行され、この処理によって特定領域入球遊技(特定ラウンド)が行われる。
特定領域入球遊技処理では、主制御基板70のCPU70aは、まず、第2大入賞口60が開放中であるか否かを判定する(S550)。第2大入賞口60が開放中でない(閉鎖中である)と判定すると、第2大入賞口60の開放タイミングであるか否かを判定する(S552)。この判定は、規定の閉鎖時間(本実施例では、2秒)が経過したか否かを判定することにより行われる。第2大入賞口60の開放タイミングではないと判定すると、そのまま特定領域入球遊技を一旦終了する。第2大入賞口60の開放タイミングであると判定すると、今回のラウンド(特定ラウンド)の開放パターンが長開放であるか否かを判定する(S554)。長開放であると判定すると、第2大入賞口60の開放パターンとして長開放パターン(本実施例では5秒間開放するパターン)を設定し(S556)、短開放であると判定すると、第2大入賞口60の開放パターンとして短開放パターン(本実施例では0.2秒間開放するパターン)を設定する(S558)。そして、設定した開放パターンにしたがって第2大入賞口60が開放されるよう第2大入賞口ソレノイド60bを駆動制御し(S560)、特定ラウンド開始指定コマンドをサブ制御基板90に送信して(S562)、特定領域入球遊技処理を終了する。特定領域入球遊技処理を終了すると、大当り遊技処理も終了する。なお、特定ラウンド開始指定コマンドを受信したサブ制御基板90は、大当り遊技演出処理にて特定ラウンド開始演出を行う。
第2大入賞口60を開放して特定領域入球遊技(大当り遊技処理)を一旦終了した後は、次に特定領域入球遊技(大当り遊技処理)を実行したときに、S550で第2大入賞口60が開放中であると判定し、第2大入賞口60の閉鎖タイミングか否かを判定する(S564)。ここで、第2大入賞口60の閉鎖タイミングは、開放パターンとして長開放パターンが設定されている場合には、開放開始から5秒間が経過したタイミングであり、開放パターンとして短開放パターンが設定されている場合には、開放開始から0.2秒間が経過したタイミングである。第2大入賞口60の閉鎖タイミングでないと判定すると、第2大入賞口60の開放状態を維持したまま特定領域入球遊技を一旦終了する。一方、第2大入賞口60の閉鎖タイミングであると判定すると、第2大入賞口60が閉鎖されるよう第2大入賞口ソレノイド60bを駆動制御し(S566)、開放回数を値1だけインクリメントすると共に残りラウンド数を値1だけデクリメントする(S568)。こうして特定ラウンドを行うと、遊技球が特定領域63を通過したか否かを判定し(S570)、特定領域63を通過したと判定すると、特定ラウンドで遊技球が特定領域63を通過したことを示す特定領域通過フラグをオンとして(S572)、残りラウンド数が値0であるか否かを判定するS530の処理に進み、遊技球が特定領域63を通過していないと判定すると、特定領域通過フラグをオンとすることなく、S530の処理に進む。
こうして、通常ラウンド(大当り遊技処理のS512〜S528)または特定ラウンド(大当り遊技処理のS534:特定領域入球遊技処理)が図20の役物連続作動装置作動処理のS412で設定したラウンド数(15R)まで繰り返し実行されると、S530で残りラウンド数が値0であると判定するため、図24に示す大当り遊技終了時処理を実行して(S532)、大当り遊技処理を終了する。
図24の大当り遊技終了時処理では、主制御基板70のCPU70aは、まず、条件装置作動フラグをオンからオフとすると共に役物連続作動装置作動フラグをオンからオフとし(S580,S582)、特定領域通過フラグがオンであるか否かを判定する(S584)。特定領域通過フラグがオンであると判定すると、特定領域通過フラグをオフとして(S586)、高確率状態を発生させるために確変フラグをオンとして(S588)、電サポあり状態を発生させるために、変動短縮カウンタを10,000回に設定し(S590)、変動短縮フラグをオンとすると共に(S592)、開放延長フラグをオンとする(S594)。なお、変動短縮カウンタを10,000回に設定することは、実質的に次回の大当りが発生するまで電サポあり状態を発生させることになる。一方、特定領域通過フラグがオンでない、即ちオフであると判定すると、確変フラグをオンとすることなく、変動短縮カウンタを50回に設定し(S596)、変動短縮フラグをオンとすると共に開放延長フラグをオンとする(S592,S594)。こうして大当り遊技後の遊技状態を設定すると、大当り遊技終了指定コマンドと遊技状態指定コマンドとをサブ制御基板90に送信して(S598)、大当り遊技終了時処理を終了する。以上の確変フラグや変動短縮フラグ、開放延長フラグの設定状況によって、特別図柄の変動表示が行われる際の遊技条件、すなわち特別図柄の当否判定(大当り判定)に係る遊技条件が定まることとなる。なお、大当り遊技時を除いて、確変フラグと変動短縮フラグと開放延長フラグのすべてがオフとなっている遊技条件(第1遊技条件)の下で特別図柄の変動表示(特別図柄の当否判定)が行われる状態が通常の遊技状態であり、それらフラグのうちの少なくとも1つがオンとなっている遊技条件(第2遊技条件)の下で特別図柄の変動表示(特別図柄の当否判定)が行われる状態が特別状態となる。そして、サブ制御基板90は、大当り遊技終了指定コマンドを受信すると、大当り遊技演出処理にて大当り遊技終了演出を行い、遊技状態指定コマンドを受信すると、例えば、演出表示制御基板91に遊技状態を示す演出コマンドを送信して演出表示装置34の背景画面をそのときの遊技状態に応じた背景に設定する処理等を行う。
[演出制御処理]
次に、サブ制御基板90により実行される動作について説明する。図25は、サブ制御基板90のCPU90により実行される演出制御処理の一例を示すフローチャートである。演出制御処理は、保留発生時演出処理(S600)と、図26の図柄変動演出処理(S610)と、図27の大当り遊技演出処理(S620)とを繰り返し実行することにより行われる。なお、保留発生時演出処理は、詳細な説明は省略するが、図15の特別図柄遊技処理のS208またはS218で主制御基板70により送信される保留発生時コマンドを受信したときに、保留図柄の追加表示を指示する演出コマンドを演出表示制御基板91に送信することにより行う。
[図柄変動演出処理]
図26の図柄変動演出処理では、サブ制御基板90のCPU90aは、まず、図18の変動表示関連処理のS324の処理で主制御基板70により送信される図柄変動開始時コマンドを受信したか否かを判定する(S700)。図柄変動開始時コマンドを受信したと判定すると、その受信したコマンドに基づき今回の大当り判定の結果が大当りか否かを判定し(S702)、大当りのときには、演出パターンを大当り演出パターンに設定すると共に(S704)、停止図柄を大当り図柄に設定する(S706)。前述したように、大当りのときの図柄変動開始時コマンドには、特別図柄の変動時間を示す大当り変動パターン(当り用の変動パターン指定コマンド)と大当り停止図柄(特別図柄停止情報指定コマンド)とが含まれているから、演出表示装置34に表示される大当り演出パターンや大当り図柄の選択は、ROM90bに予め記憶されている大当り演出パターンや大当り図柄のうち、受信した変動パターン指定コマンドに対応する演出パターンと受信した特別図柄停止情報指定コマンドに対応する停止図柄とを読み出すことにより行うことができる。一方、S702で今回の大当り判定の結果が大当りでないと判定すると、演出パターンを外れ演出パターンに設定すると共に(S708)、停止図柄を外れ図柄に設定する(S710)。大当り判定の結果が大当りでないとき(外れのとき)の図柄変動開始時コマンドには、特別図柄の変動時間を示す外れ変動パターン(外れ用の変動パターン指定コマンド)と外れ停止図柄(特別図柄停止情報指定コマンド)とが含まれているから、外れ演出パターンや外れ図柄の設定は、ROM90bに予め記憶されている外れ演出パターンや外れ図柄のうち、受信した変動パターン指定コマンドに対応する演出パターンと受信した特別図柄停止情報指定コマンドに対応する停止図柄とを読み出すことにより行うことができる。
こうして演出図柄の演出パターンと停止図柄とを設定すると、図柄変動演出を開始する(S712)。この処理は、演出図柄の停止図柄と演出パターンとに基づく図柄変動演出の開始を指示する演出コマンド(図柄変動演出開始コマンド)を演出表示制御基板91に送信することによって行われる。演出コマンドを受信した演出表示制御基板91は、演出表示装置34の表示画面上で図柄変動演出(演出図柄の変動表示)が開始されるよう表示制御する。
S700で図柄変動開始時コマンドを受信していないと判定した場合またはS712で図柄変動演出を開始した後には、図16の特別図柄遊技処理のS242の処理で主制御基板70により送信される図柄停止コマンドを受信したか否かを判定する(S714)。図柄停止コマンドを受信したと判定すると、図柄変動演出を終了し(S716)、図柄停止コマンドを受信していないと判定すると、S716の処理をスキップする。S716の処理は、図柄変動演出の終了を指示する演出コマンド(図柄変動演出終了コマンド)を演出表示制御基板91に送信することによって行われる。演出コマンドを受信した演出表示制御基板91は、演出表示装置34では図柄変動演出(演出図柄の変動表示)が終了して、S706あるいはS710で設定された演出図柄の停止図柄が停止表示されるよう表示制御する。
S714で図柄停止コマンドを受信していないと判定した場合またはS716で図柄変動演出を終了した後には、図17の特別図柄遊技処理のS252の処理で主制御基板70により送信されるゲート選択遊技指定コマンドを受信したか否かを判定する(S718)。ゲート選択遊技指定コマンドを受信したと判定すると、ゲート選択演出を行って(S720)、図柄変動演出処理を終了し、ゲート選択遊技指定コマンドを受信していないと判定すると、S720の処理をスキップして、図柄変動演出処理を終了する。ゲート選択演出は、ゲート選択演出の開始を指示する演出コマンド(ゲート選択演出開始コマンド)を演出表示制御基板91に送信することによって行われる。演出コマンドを受信した演出表示制御基板91は、演出表示装置34の表示画面上でゲート選択演出が開始されるよう表示制御する。本実施例では、ゲート選択演出は、第1大当り遊技開始ゲート56および第2大当り遊技開始ゲート58のいずれかを選択して選択したゲートに遊技球を通過させるように遊技者に促す演出であり、例えば、「第1大当り遊技開始ゲート通過→11Ror10R 第2大当り遊技開始ゲート通過→15Ror8R」等のように、遊技球を第1大当り遊技開始ゲート56に通過させた場合と第2大当り遊技開始ゲート58に通過させた場合とに対してそれぞれ設定され得る大当り遊技の実行パターン(実質的なラウンド数)を報知する。また、第1大当り遊技開始ゲート56および第2大当り遊技開始ゲート58のうち遊技球を通過させるゲートによって、大当り遊技後の特別状態(「高確率時短あり電サポあり状態」)の発生確率が異なるから、例えば、「第1大当り遊技開始ゲート通過→確変突入率80% 第2大当り遊技開始ゲート通過→確変突入率40%」等のように、大当り遊技後の特別状態の発生確率を報知するものとしてもよい。
[大当り遊技演出処理]
大当り遊技演出処理は、図27に例示するフローチャートに従って実行される。図27の大当り遊技演出処理では、サブ制御基板90のCPU90aは、まず、図20の役物連続作動装置作動処理のS416で主制御基板70により送信される大当り遊技開始指定コマンドを受信したか否かを判定する(S800)。大当り遊技開始指定コマンドを受信したと判定すると、大当り遊技実行パターン報知演出を実行して(S802)、大当り遊技開始演出(大当りファンファーレ演出)を実行する(S804)。大当り遊技実行パターン報知演出は、役物連続作動装置作動処理のS412で設定された大当り遊技の実行パターンに基づいて第1大入賞口46または第2大入賞口60の開放パターンとして長開放が選択されるラウンド数(実質的なラウンド数)を報知することにより行われる。具体的には、大当り遊技実行パターンとして「11R大当り遊技」(第3実行パターン)が設定されると、「11R」と表示し、大当り遊技実行パターンとして「10R大当り遊技」(第2実行パターン)が設定されると、「10R」と表示し、大当り遊技実行パターンとして「15R大当り遊技」(第4実行パターン)が設定されると、「15R」と表示し、大当り遊技実行パターンとして「8R大当り遊技」(第1実行パターン)が設定されると、「8R」と表示する。大当り遊技実行パターン報知演出(ラウンド数報知演出)は、大当り遊技実行パターン報知演出の開始を指示する演出コマンド(大当り遊技実行パターン報知演出開始コマンド)を演出表示制御基板91に送信することによって行われる。演出コマンドを受信した演出表示制御基板91は、演出表示装置34の表示画面上で大当り遊技実行パターン報知演出が開始されるよう表示制御する。なお、本実施例では、大当り遊技実行パターン報知演出として、実質的なラウンド数を報知するものとしたが、ラウンド数に代えて或はラウンド数に加えて大当り遊技で獲得可能な遊技利益(獲得賞球)を報知するものとしてもよい。この場合、例えば、「11R(1100発)」や「10R(1000発)」「15R(1500発)」「8R(800発)」等と報知するものとしてもよい。また、大当りファンファーレ演出は、大当りの発生を示す大当りファンファーレ画面が演出表示装置34に表示されるよう演出表示制御基板91に演出コマンドを送信し、画面表示に対応する音声がスピーカ28a,28bから出力されるようアンプ基板92に駆動信号を出力し、画面表示に対応する点灯態様によりLED93aが点灯するよう装飾駆動基板93に駆動信号を出力することにより行われる。なお、S800で大当り遊技指定コマンドを受信していないと判定すると、S802,S804の処理をスキップして次のS806の処理に進む。
次に、図22の大当り遊技処理のS522で主制御基板70により送信される通常ラウンド開始指定コマンドを受信したか否かを判定する(S806)。通常ラウンド開始指定コマンドを受信したと判定すると、通常ラウンド開始演出を実行する(S808)。通常ラウンド開始演出は、通常ラウンドの実行(第1大入賞口46の開放)を示す演出画面が演出表示装置34に表示されるよう演出表示制御基板91に演出コマンドを送信し、画面表示に対応する音声がスピーカ28a,28bから出力されるようアンプ基板92に駆動信号を出力し、画面表示に対応する点灯態様によりLED93aが点灯するよう装飾駆動基板93に駆動信号を出力することにより行われる。S806で通常ラウンド開始指定コマンドを受信していないと判定すると、S808の処理をスキップして次のS810の処理に進む。
続いて、図23の特定領域入球遊技処理のS562で主制御基板70により送信される特定ラウンド開始指定コマンドを受信したか否かを判定する(S810)、特定ラウンド開始指定コマンドを受信したと判定すると、特定ラウンド開始演出を実行する(S812)。特定ラウンド開始演出は、特定ラウンドの実行(第2大入賞口60の開放)を示す演出画面が演出表示装置34に表示されるよう演出表示制御基板91に演出コマンドを送信し、画面表示に対応する音声がスピーカ28a,28bから出力されるようアンプ基板92に駆動信号を出力し、画面表示に対応する点灯態様によりLED93aが点灯するよう装飾駆動基板93に駆動信号を出力することにより行われる。特定ラウンド開始指定コマンドを受信していないと判定すると、S812の処理をスキップして次のS814の処理に進む。
次に、図24の大当り遊技終了時処理のS598で主制御基板70により送信される大当り遊技終了指定コマンドを受信したか否かを判定する(S814)。大当り遊技終了指定コマンドを受信したと判定すると、大当り遊技終了演出(大当りエンディング演出)を実行して(S816)、大当り遊技演出処理を終了し、大当り遊技終了指定コマンドを受信していないと判定すると、S816の処理をスキップして大当り遊技演出処理を終了する。大当り遊技終了演出は、大当り遊技の終了を示す大当りエンディング画面が演出表示装置34に表示されるよう演出表示制御基板91に演出コマンドを送信し、画面表示に対応する音声がスピーカ28a,28bから出力されるようアンプ基板92に駆動信号を出力し、画面表示に対応する点灯態様によりLED93aが点灯するよう装飾駆動基板93に駆動信号を出力することにより行われる。
以上説明した本実施例のパチンコ機10によれば、大当り遊技を開始させるための第1大当り遊技開始ゲート56および第2大当り遊技開始ゲート58を備え、特別図柄が大当り図柄で停止表示された後(大当り遊技を開始させるための特定条件が成立した後)に、第1大当り遊技開始ゲート56および第2大当り遊技開始ゲート58のうちいずれかを遊技球が通過したことに基づいて、大当り遊技実行パターンを設定して設定したパターンにしたがって大当り遊技を開始する。そして、大当り遊技中の特定ラウンドにて第2大入賞口60を開放させる特定領域入球遊技を行い、第2大入賞口60に入球した遊技球が特定領域63を通過したことに基づいて、大当り遊技後に遊技者にとって有利な特別状態(「高確率時短あり電サポあり状態」)を発生させる。大当り遊技実行パターンの設定は、第1大当り遊技開始ゲート56を遊技球が通過した場合には第1抽選テーブルを用いて行い、第2大当り遊技開始ゲート58を遊技球が通過した場合には第2抽選テーブルを用いて行うものとし、特定ラウンドでの特定領域63への遊技球の通過可能性が第1抽選テーブルの方が第2抽選テーブルよりも高くなるようにし、且つ、1回の大当り遊技で獲得可能な遊技利益(賞球)が最も多いパターン(「15R大当り遊技」)を選択する可能性が第2抽選テーブルの方が第1抽選テーブルよりも高くなるようにする。遊技者は、遊技球を通過させるゲートを選択することで、大当り遊技後に特別状態(「高確率時短あり電サポあり状態」)が発生する可能性が高い(「大当りの連荘」が発生する可能性が高い)方か、1回の大当り遊技で大量の遊技利益(賞球)を獲得できる可能性が高い方かを自由に選択することができる。この結果、ゲート選択に係る遊技興趣をより向上させることができる。
また、本実施例のパチンコ機10によれば、大当り遊技の所定ラウンド目(第11R)を特定ラウンドとして第2大入賞口60を開放させる特定領域入球遊技を実行するものとし、大当り遊技の各ラウンドにおける第1大入賞口46または第2大入賞口60の開放パターン(長開放,短開放)を選択することで大当り遊技実行パターンを設定する。これにより、大当り遊技実行パターンによって特定領域63への遊技球の通過可能性を変化させることができるから、特別状態(「高確率時短あり電サポあり状態」)の発生可能性を変化させることができる。この結果、複数の大当り遊技開始ゲートのいずれに遊技球を通過させるかによって特別状態の発生可能性を変化させることができ、ゲート選択に係る遊技興趣をさらに向上させることができる。
また、本実施例のパチンコ機10によれば、特別図柄が大当り図柄で停止表示されて大当り遊技を開始させるための特定条件が成立(条件装置が作動)すると、遊技者に対して第1大当り遊技開始ゲート56および第2大当り遊技開始ゲート58のいずれかの選択を促すゲート選択演出を行い、第1大当り遊技開始ゲート56および第2大当り遊技開始ゲート58のいずれかに遊技球が通過して大当り遊技実行パターンが設定されると、設定した大当り遊技実行パターンを報知する演出を行うから、演出効果によってゲート選択遊技を盛り上げることができ、遊技興趣を一層向上させることができる。
本実施例のパチンコ機10では、第1大当り遊技開始ゲート56に対応付けられた第1抽選テーブルと、第2大当り遊技開始ゲート58に対応付けられた第2抽選テーブルとで、第1大入賞口46または第2大入賞口60の開放パターンとして長開放が選択されるラウンド数(実質的なラウンド数)の平均値(期待値)を同一としたから、第1大当り遊技開始ゲート56および第2大当り遊技開始ゲート58のうち一方を選択した遊技者が有利となり(遊技利益量が多くなり)、他方を選択した遊技者が不利となる(遊技利益量が少なくなる)不公平が生じないようにすることができる。
本実施例のパチンコ機10では、特定ラウンドでの特定領域63への遊技球の通過可能性が第1抽選テーブルの方が第2抽選テーブルよりも高くなるようにすると共に、大当り遊技で獲得可能な遊技利益(賞球)が最も多いパターンを選択する可能性が第2抽選テーブルの方が第1抽選テーブルよりも高くなるよう抽選テーブルを作成したが、これに限定されるものではない。図28は、変形例の抽選テーブルを示す説明図である。なお、図28(a)は変形例の第1抽選テーブルを示し、図28(b)は変形例の第2抽選テーブルを示す。
変形例の第1抽選テーブルは、図28(a)に示すように、大当り遊技実行パターン決定用乱数が値0〜99のうち値0〜79の場合に、第1R〜第10Rで長開放の開放パターンが選択されると共に第11R〜第15Rで短開放の開放パターンが選択される「10R大当り遊技」が設定され(振り分け確率80%)、大当り遊技実行パターン決定用乱数が値80〜99の場合に、第1Rで短開放の開放パターンが選択されると共に第2R〜第15Rで長開放の開放パターンが選択される「14R大当り遊技」が設定される(振り分け確率20%)。この変形例の第1抽選テーブルは、実行ラウンド数は15Rであるが、実質的なラウンド数(長開放が選択されるラウンド数)の平均値(期待値)が10.8Rである。また、変形例では、第1Rを特定ラウンドとしており、「10R大当り遊技」では、特定ラウンドで長開放が選択されるため、特定領域63への遊技球の通過可能性が高く、「14R大当り遊技」では、特定ラウンドで短開放が選択されるため、特定領域63への遊技球の通過可能性が低い。即ち、「10R大当り遊技」は、大当り遊技で獲得可能な遊技利益(賞球)が少ないものの大当り遊技後に特別状態が発生し易い実行パターンであり、「14R大当り遊技」は大当り遊技後に特別状態が発生し難いものの大当り遊技で獲得可能な遊技利益(賞球)が多い実行パターンであるといえる。
一方、変形例の第2抽選テーブルは、図28(b)に示すように、大当り遊技実行パターン決定用乱数が値0〜39の場合に、第1R〜第5Rで長開放の開放パターンが選択されると共に第6R〜第15Rで短開放の開放パターンが選択される「5R大当り遊技」が設定され(振り分け確率40%)、大当り遊技実行パターン決定用乱数が値40〜99の場合に、第1Rで短開放の開放パターンが選択されると共に第2R〜第15Rで長開放の開放パターンが選択される「14R大当り遊技」が設定される(振り分け確率60%)。この変形例の第2抽選テーブルも、実行ラウンド数は15Rであるが、実質的なラウンド数(長開放が選択されるラウンド数)の平均値(期待値)が10.4Rである。また、「5R大当り遊技」では、特定ラウンド(第1R)で長開放が選択されるため、特定領域63への遊技球の通過可能性が高く、「14R大当り遊技」では、特定ラウンドで短開放が選択されるため、特定領域63への遊技球の通過可能性が低い。即ち、「5R大当り遊技」は、大当り遊技で獲得可能な遊技利益(賞球)が少ないものの大当り遊技後に特別状態が発生し易い実行パターンであり、「14R大当り遊技」は大当り遊技後に特別状態が発生し難いものの大当り遊技で獲得可能な遊技利益(賞球)が多い実行パターンであるといえる。
このように、変形例では、第1抽選テーブルと第2抽選テーブルとに、それぞれ大当り遊技で獲得可能な遊技利益(賞球)が少ないものの大当り遊技後に特別状態が発生し易い実行パターン(第1特定遊技)と、大当り遊技後に特別状態が発生し難いものの大当り遊技で獲得可能な遊技利益(賞球)が多い実行パターン(第2特定遊技)とを設け、第1抽選テーブルでは第1特定遊技を選択する確率を第2特定遊技よりも高くし、第2抽選テーブルでは第1特定遊技を選択する確率を第2特定遊技よりも低くするのである。これにより、遊技者は2つの異なる遊技性のうち希望する方を選択して遊技を進めることができるため、ゲート選択に係る遊技興趣をより向上させることができる。
本実施例のパチンコ機10では、大当り遊技実行パターンとして、大当り遊技の実行ラウンド数を一定(15R)としつつ各ラウンドの開放パターン(通常ラウンドでの第1大入賞口46の開放パターン(開放時間)と特定ラウンドでの第2大入賞口60の開放パターン)を変化させることで、遊技球が通過したゲート(第1大当り遊技開始ゲート56,第2大当り遊技開始ゲート58)によって、大当り遊技で獲得可能な遊技利益(賞球)と特定ラウンドでの特定領域63への遊技球の通過可能性とを変化させるものとしたが、これに限定されるものではなく、各ラウンドの開放パターンを一定としつつ実行ラウンド数を変化させてもよいし、各ラウンドの開放パターンと実行ラウンド数の両方を変化させてもよい。前者の変形例を図21の抽選テーブルに適用する場合、第1抽選テーブルおよび第2抽選テーブルにおいて、実質的なラウンド数を実行ラウンド数に置き換え、各ラウンドの開放パターンの全てを長開放とすればよい。
本実施例のパチンコ機10では、特定ラウンドでの第2大入賞口60の開放パターンを変化させることで、特定領域63への遊技球の通過可能性を変化させるものとしたが、これに限定されるものではなく、特定領域振分装置67の振分パターン(特定領域63に遊技球を振り分ける割合)を変化させてもよい。この場合、特定領域63に遊技球を振り分ける割合が異なる複数の振分パターン(特定領域63に遊技球を振り分ける割合が高いほど特定領域63を遊技球が通過し易い)を設け、特別図柄が大当り図柄で停止表示された後に、遊技球が第1大当り遊技開始ゲート56を通過した場合には、第2大当り遊技開始ゲート58を通過した場合に比して、特定領域63を遊技球が通過し易い振り分けパターンが選択される確率を高くするものとしてもよい。
本実施例のパチンコ機10では、大当り図柄の種別に拘わらず、遊技球が通過したゲート(第1大当り遊技開始ゲート56,第2大当り遊技開始ゲート58)によって、大当り遊技で獲得可能な遊技利益(賞球)と大当り遊技後の特別状態の発生可能性とを変化させるものとしたが、これに限定されるものではなく、複数の大当り図柄のうち第1の大当り図柄で停止表示された場合には、遊技球が通過したゲートによって、大当り遊技で獲得可能な遊技利益(賞球)と大当り遊技後の特別状態の発生可能性とを変化させ、第2の大当り図柄で停止表示された場合には、遊技球が通過したゲートに拘わらず、大当り遊技で獲得可能な遊技利益(賞球)を所定量とし、大当り遊技後に特別状態を発生させるものとしてもよい。
本実施例のパチンコ機10では、大当り遊技中の特定領域入球遊技(特定ラウンド)にて遊技球が第2大入賞口60に入球し且つ特定領域63を通過した場合に、特別状態として「高確率時短あり電サポあり状態」を発生させるものとしたが、発生させる特別状態はこれらに限定されるものではない。大当り遊技中の特定領域入球遊技にて遊技球が第2大入賞口60に入球し且つ特定領域63を通過した場合に、遊技球が特定領域63を通過しなかった場合に比して、遊技者にとって有利な状態を発生させるものであれば、特別状態として、例えば、「高確率時短なし電サポあり状態」や「高確率時短あり電サポなし状態」、「低確率時短なし電サポあり状態」、「低確率時短あり電サポなし状態」を発生させるものとしてもよい。なお、「時短なし電サポあり状態」を発生させる場合、図24の大当り終了時処理で変動短縮フラグをオフとし開放延長フラグをオンとすればよく、「時短あり電サポなし状態」を発生させる場合、大当り終了時処理で変動短縮フラグをオンとし開放延長フラグをオフとすればよい。
本実施例のパチンコ機10では、特別状態として、大当り遊技後に高確率状態が発生すると、次に大当りを引くまで高確率状態(「高確率時短あり電サポあり状態」)を維持するものとしたが、これに限定されるものではなく、大当り遊技後に特別図柄の変動表示(図柄変動遊技)が所定回数実行されると、高確率状態を終了させて低確率状態に変化させるものとしてもよい。時短あり状態についても、大当り遊技後に特別図柄の変動表示(図柄変動遊技)が所定回数実行されると、時短あり状態を終了させて時短なし状態に変化させるものとしてもよいし、電サポあり状態についても、大当り遊技後に特別図柄の変動表示(図柄変動遊技)が所定回数実行されると、電サポあり状態を終了させて電サポなし状態に変化させるものとしてもよい。これらの場合、遊技球が第1大当り遊技開始ゲート56を通過した場合と第2大当り遊技開始ゲート58が通過した場合とで、大当り遊技後の特別状態の継続回数に差異が生じるように、第1抽選テーブル(第1決定条件)と第2抽選テーブル(第2決定条件)とを設定するものとしてもよい。
本実施例のパチンコ機10では、電源投入を契機に、振分部材54が入球口51に入球した遊技球を第1大当り遊技開始ゲート56に振り分ける状態と第2大当り遊技開始ゲート58に振り分ける状態とを交互に切り替えるものとしたが、これに限定されるものではなく、通常時には、振分部材54が遊技球を第1大当り遊技開始ゲート56に振り分ける状態(あるいは第2大当り遊技開始ゲート58に振り分ける状態)に固定しておき、大当り遊技を開始させるための特定条件が成立したことを契機に、振分部材54が入球口51に入球した遊技球を第1大当り遊技開始ゲート56に振り分ける状態と第2大当り遊技開始ゲート58に振り分ける状態とを交互に切り替えるものとしてもよい。
本実施例のパチンコ機10では、開始ゲート振分装置50によって入球口51に入球した遊技球を第1大当り遊技開始ゲート56および第2大当り遊技開始ゲート58のいずれかに振り分けるものとしたが、これに限定されるものではなく、例えば、第1発射態様(左打ち)によって遊技球が流下する遊技領域31の第1領域(左部)に第1大当り遊技開始ゲートを設け、第2発射態様(右打ち)によって遊技球が流下する遊技領域31の第2領域(右部)に第2大当り遊技開始ゲートを設けるものとしてもよい。この場合、開始ゲート振分装置を備えないものとしてもよい。
本実施例のパチンコ機10では、第1大当り遊技開始ゲート56および第2大当り遊技開始ゲート58の2つの大当り遊技開始ゲートを備えるものとしたが、ゲートの数は2つに限られず、3つ以上備えるものとしてもよいし、1つであっても構わない。この変形例のパチンコ機における遊技盤30Bの構成の概略を図29に示し、変形例のパチンコ機の制御回路の構成を示すブロック図を図30に示す。変形例のパチンコ機は、第1大当り遊技開始ゲート56および第2大当り遊技開始ゲート58に代えて遊技盤30Bの遊技領域31の右部に遊技球の通過を検知する開始ゲートスイッチ57aを有する1つの大当り遊技開始ゲート57が配置されている点と、主制御基板70に計時手段としてのタイマ70dを備えている点と、図20の役物連続作動装置作動処理に代えて図31の役物連続作動装置作動処理を実行する点とが、実施例のパチンコ機10と異なる。ここで、タイマ70dは、電源投入のタイミングや特別図柄が大当り図柄で停止表示されたタイミング等の所定のタイミングで計時を開始し、計時開始からの経過時間を計測する。以下、役物連続作動装置作動処理について説明する。なお、図31の役物連続作動装置作動処理の各処理のうち、図20の役物連続作動装置作動処理と同一の処理については同一のステップ番号を付し、その説明は重複するから省略する。図31の役物連続作動装置作動処理では、S400で条件装置作動フラグがオンであると判定すると共にS402で役物連続作動装置作動フラグがオフであると判定すると、開始ゲートスイッチ57aが大当り遊技開始ゲート57への遊技球の通過を検知したか否かを判定し(S420)、開始ゲートスイッチ57aが遊技球の通過を検知したと判定すると、タイマ70dにより計測される経過時間が第1期間内(第1時間内)にあるか否か(S422)、第2期間内(第2時間内)にあるか否か(S424)、をそれぞれ判定する。ここで、第1期間(第1時間)および第2期間(第2時間)とは、例えば第1期間を0〜20秒,40〜60秒,・・・とすると共に第2期間を20〜40秒,60〜80秒,・・・とする等のように、所定時間毎に交互に切り替るようになっている。経過時間が第1期間内にあると判定すると、第1抽選テーブルを設定し(S408)、経過時間が第2期間内にあると判定すると、第2抽選テーブルを設定する(S410)。このように、大当り遊技開始ゲート57に遊技球が通過したタイミングによって、第1抽選テーブルおよび第2抽選テーブルのいずれかを選択するのである。これにより、大当り遊技開始ゲートの数を減らしつつ実施例と同様の機能をもたせることができる。なお、第1期間と第2期間との間に無効期間(無効時間)を設けてもよい。この場合、無効期間内に開始ゲートスイッチ57aが遊技球の通過を検知しても、タイマ70dにより計測される経過時間が無効期間内にあると判定すると、役物連続作動装置作動フラグをオンとすることなく、役物連続作動装置作動処理を終了するものとすればよい。
本実施例のパチンコ機10では、大当り遊技の通常ラウンドと特定ラウンド(特定領域入球遊技)とで異なる大入賞口を開放させるものとしたが、同一の大入賞口を開放させるものとしてもよい。この場合、通常ラウンドでも内部に特定領域を有する大入賞口を開放させることとなるが、通常ラウンドでは大入賞口に入球した遊技球が特定領域を通過しても、特別状態を発生させないものとしてもよいし、通常ラウンドでは大入賞口に入球した遊技球が特定領域を通過しないように特定領域振分装置を構成するものとしてもよい。また、この場合、パチンコ機10が備える大入賞口を1つだけとしてもよい。
本実施例のパチンコ機10では、第1大入賞口46と内部に特定領域63を有する第2大入賞口60とを備え、大当り遊技中に開放された第2大入賞口60に遊技球が入球し且つ特定領域63を通過すると、大当り遊技後に特別状態(「高確率時短あり電サポあり状態」)を発生させるタイプのパチンコ機に適用したが、これに限定されるものではなく、第2大入賞口60を備えないパチンコ機に適用するものとしてもよい。この変形例を図21の抽選テーブルに適用する場合、「11R大当り遊技」または「15R大当り遊技」が選択されると、大当り遊技後に特別状態(「高確率時短あり電サポあり状態」)を発生させる確変大当りとし、「10R大当り遊技」または「8R大当り遊技」が選択されると、大当り遊技後に特別状態を発生させない通常大当りとすればよい。
また、実施例では、遊技ホールの島設備から供給される遊技球を「貸球」や「賞球」として利用し、遊技盤に設けられた各種入賞口(第1始動口、第2始動口、大入賞口等)への遊技球の入球に応じて所定数の賞球を払い出すことによって、遊技上の利益(遊技価値)を遊技者に付与する遊技機(パチンコ機)に本発明を適用した例を説明したが、「賞球の払い出し」とは異なる形態で遊技上の利益を付与するタイプの遊技機にも、本発明を適用することができる。例えば、各種入賞口への遊技球の入球が発生することで、その入球に対応する利益の量(遊技価値の大きさ)を示すデータを主制御部あるいは払出制御部のRAM(遊技価値管理制御部)に記憶することによって、遊技上の利益(遊技価値)を遊技者に付与するタイプの遊技機にも本発明を適用することができ、この場合にも、上記実施例と同様の効果を得ることができる。もちろん、遊技価値管理制御部が管理する遊技価値として、遊技の結果得られた遊技価値と、現金等を投入することで得られた遊技価値とを別に管理(別途に表示)してもよいし、一緒に管理(加減算して表示)してもよい(別表示と加減算表示の両方をしてもよい)。なお、遊技上の利益(遊技価値)をデータ化して遊技者に付与するタイプの遊技機としては、遊技機に内蔵された複数個の遊技球を循環させて使用する遊技機、具体的には、各種入賞口あるいはアウト口を経て遊技盤の裏面に排出された遊技球を、再度、発射位置に戻して発射するように構成された遊技機(いわゆる封入式遊技機)を例示できる。
実施例の主要な要素と課題を解決するための手段の欄に記載した発明の主要な要素との対応関係について説明する。実施例では、パチンコ機10が「遊技機」に相当し、図18の変動表示関連処理のS300〜S304の処理を実行する主制御基板70のCPU70aが「判定手段」に相当し、図26の図柄変動演出処理のS700〜S716の処理を実行するサブ制御基板90のCPU90aが「報知手段」に相当し、第1開始ゲートスイッチ56aおよび第2開始ゲートスイッチ58aや、開始ゲートスイッチ57aが「検知手段」に相当し、図20の役物連続作動装置作動処理のS400〜S404,S408〜S414の処理を実行する主制御基板70のCPU70aが「第1条件設定手段」に相当し、役物連続作動装置作動処理のS400〜S406,S410〜S414の処理を実行する主制御基板70のCPU70aが「第2条件設定手段」に相当し、図22の大当り遊技処理と図23の特定領域入球遊技処理と図24の大当り遊技終了時処理とを実行する主制御基板70のCPU70aが「処理手段」に相当する。また、第1開始ゲートスイッチ56aが「第1検知手段」に相当し、第2開始ゲートスイッチ58aが「第2検知手段」に相当する。また、タイマ70dが「計時手段」に相当し、図31の役物連続作動装置作動処理のS400,S402,S420,S422,S408,S412〜S416の処理を実行する主制御基板70のCPU70aが「第1条件設定手段」に相当し、役物連続作動装置作動処理のS400,S402,S420〜S424,S410〜S416の処理を実行する主制御基板70のCPU70aが「第2条件設定手段」に相当する。また、図26の図柄変動演出処理のS718,S720の処理を実行するサブ制御基板90のCPU90aが「選択演出実行手段」に相当し、図27の大当り遊技演出処理のS802の処理を実行するサブ制御基板90のCPU90aが「報知演出実行手段」に相当する。なお、実施例の主要な要素と課題を解決するための手段の欄に記載した発明の主要な要素との対応関係は、実施例が課題を解決するための手段の欄に記載した発明を実施するための形態を具体的に説明するための一例であることから、課題を解決するための手段の欄に記載した発明の要素を限定するものではない。即ち、課題を解決するための手段の欄に記載した発明についての解釈はその欄の記載に基づいて行われるべきものであり、実施例は課題を解決するための手段の欄に記載した発明の具体的な一例に過ぎないものである。
以上、本発明の実施の形態について実施例を用いて説明したが、本発明はこうした実施例に何等限定されるものではなく、本発明の要旨を逸脱しない範囲内において、種々なる形態で実施し得ることは勿論である。
10 パチンコ機、11 前面枠、12 ガラス板、14 上受け皿、16 下受け皿、18 発射ハンドル、18a タッチセンサ、18b 発射停止スイッチ、19 発射モータ、21 本体枠、22 外枠、24a 球貸ボタン、24b 返却ボタン、26 演出ボタン、27 操作検知スイッチ、28a,28b スピーカ、29 施錠装置、30,30B 遊技盤、31a 外レール、31b 内レール、32 普通図柄作動ゲート、32a ゲートスイッチ、34 演出表示装置、34L,34M,34R 演出図柄、35a 第1保留図柄、35b 第2保留図柄、36 第1始動口、36a 第1始動口スイッチ、38 第2始動口、38a 第2始動口スイッチ、38b 第2始動口ソレノイド、38c 翼片部、40 図柄表示装置、40a 図柄表示基板、41 普通図柄表示装置、41a 左普通図柄表示部、41b 右普通図柄表示部、42 特別図柄表示装置、42a 第1特別図柄表示部、42b 第2特別図柄表示部、43 ラウンド表示部、45 一般入賞口、45a 一般入賞口スイッチ、46 第1大入賞口、46a 第1大入賞口スイッチ、46b 第1大入賞口ソレノイド、46c 開閉板、48 アウト口、49 センター役物、50 開始ゲート振分装置、51 入球口、52 遊技球通路、52a 導入通路、52b 第1案内通路、52c 第2案内通路、54 振分部材、54a 本体、54b 突出部、54c 振分ソレノイド、56 第1大当り遊技開始ゲート、56a 第1開始ゲートスイッチ、57 大当り遊技開始ゲート、57a 開始ゲートスイッチ、58 第2大当り遊技開始ゲート、58a 第2開始ゲートスイッチ、60 第2大入賞口、60a 第2大入賞口スイッチ、60b 第2大入賞口ソレノイド 、60c 開閉板、63 特定領域、63a 特定領域通過スイッチ、64 非特定領域、64a 非特定領域通過スイッチ、65 特定領域用誘導部、66 非特定領域用誘導部、67 特定領域振分装置、67a 振分板、67b 振分ソレノイド、67c 回転軸、70 主制御基板、70a CPU、70b ROM、70c RAM、70d タイマ、72 中継端子板、80 払出制御基板、81 枠開放スイッチ、82 球貸表示基板、83 中継端子板、84 払出前スイッチ、85 払出後スイッチ、86 払出モータ、87 中継端子板、90 サブ制御基板、90a CPU、90b ROM、90c RAM、91 演出表示制御基板、92 アンプ基板、93 装飾駆動基板、93a LEDランプ、93b 装飾モータ、94 演出ボタン基板、100 発射制御基板、102 下受け皿満タンスイッチ。

Claims (4)

  1. 所定の判定条件の成立に基づいて判定を行う判定手段と、
    前記判定の結果として特定結果が導出されたことに基づいて所定の遊技利益を付与する特定遊技を実行可能とすると共に、該特定遊技後に前記判定に係る遊技条件を遊技者にとって有利とする特別状態を発生可能な遊技機であって、
    前記判定の結果を報知する報知手段と、
    遊技球を検知する検知手段と、
    前記報知手段により前記特定結果が報知された後に、前記検知手段により遊技球が検知されたことに基づいて、特定遊技で付与する遊技利益量および特定遊技後の前記判定に係る遊技条件を決定するための決定条件を設定する条件設定手段と、
    前記設定された決定条件に基づいて特定遊技の実行および特定遊技後の前記判定に係る遊技条件に応じた遊技状態の発生に係る処理を行う処理手段と、
    を備え、
    前記条件設定手段は、少なくとも、第1条件設定手段と、第2条件設定手段とを有し、
    前記第1条件設定手段と前記第2条件設定手段のうち選択された条件設定手段によって、前記特定遊技で付与する遊技利益量および特定遊技後の前記判定に係る遊技条件の少なくとも一方に差異が生じるように異なる決定条件を設定する
    ことを特徴とする遊技機。
  2. 請求項1記載の遊技機であって、
    前記検知手段は、それぞれ遊技球を検知する第1検知手段および第2検知手段を有し、
    前記報知手段により前記特定結果が報知された後に、前記第1検知手段により遊技球が検知されると、前記第1条件設定手段により決定条件を設定し、前記第2検知手段により遊技球が検知されると、前記第2条件設定手段により決定条件を設定する
    ことを特徴とする遊技機。
  3. 請求項1記載の遊技機であって、
    時間を計測する計時手段を備え、
    前記報知手段により前記特定結果が報知された後に、前記検出手段により遊技球が検知されると、前記計時手段により計時される時間が第1時間内にあるときに前記検知手段により遊技球が検知された場合には前記第1条件設定手段により決定条件を設定し、前記計時手段により計時される時間が第1時間とは異なる第2時間内にあるときに前記検知手段により遊技球が検知された場合には前記第2条件設定手段により決定条件を設定する
    ことを特徴とする遊技機。
  4. 請求項1ないし3いずれか1項に記載の遊技機であって、
    前記第1条件設定手段と前記第2条件設定手段とのうちいずれかの選択を遊技者に促す選択演出を行う選択演出実行手段と、
    前記選択された条件設定手段によって設定される決定条件を遊技者に報知する報知演出を行う報知演出実行手段と、
    を備えることを特徴とする遊技機。
JP2013211398A 2013-10-08 2013-10-08 遊技機 Expired - Fee Related JP5862634B2 (ja)

Priority Applications (1)

Application Number Priority Date Filing Date Title
JP2013211398A JP5862634B2 (ja) 2013-10-08 2013-10-08 遊技機

Applications Claiming Priority (1)

Application Number Priority Date Filing Date Title
JP2013211398A JP5862634B2 (ja) 2013-10-08 2013-10-08 遊技機

Publications (2)

Publication Number Publication Date
JP2015073710A true JP2015073710A (ja) 2015-04-20
JP5862634B2 JP5862634B2 (ja) 2016-02-16

Family

ID=52999043

Family Applications (1)

Application Number Title Priority Date Filing Date
JP2013211398A Expired - Fee Related JP5862634B2 (ja) 2013-10-08 2013-10-08 遊技機

Country Status (1)

Country Link
JP (1) JP5862634B2 (ja)

Cited By (2)

* Cited by examiner, † Cited by third party
Publication number Priority date Publication date Assignee Title
JP2017070340A (ja) * 2015-10-05 2017-04-13 株式会社サンセイアールアンドディ 遊技機
JP2017164100A (ja) * 2016-03-15 2017-09-21 株式会社三共 遊技機

Citations (2)

* Cited by examiner, † Cited by third party
Publication number Priority date Publication date Assignee Title
JP2008022904A (ja) * 2006-07-18 2008-02-07 Daiichi Shokai Co Ltd 遊技機
JP2013192823A (ja) * 2012-03-21 2013-09-30 Okumura Yu-Ki Co Ltd パチンコ遊技機

Patent Citations (2)

* Cited by examiner, † Cited by third party
Publication number Priority date Publication date Assignee Title
JP2008022904A (ja) * 2006-07-18 2008-02-07 Daiichi Shokai Co Ltd 遊技機
JP2013192823A (ja) * 2012-03-21 2013-09-30 Okumura Yu-Ki Co Ltd パチンコ遊技機

Cited By (2)

* Cited by examiner, † Cited by third party
Publication number Priority date Publication date Assignee Title
JP2017070340A (ja) * 2015-10-05 2017-04-13 株式会社サンセイアールアンドディ 遊技機
JP2017164100A (ja) * 2016-03-15 2017-09-21 株式会社三共 遊技機

Also Published As

Publication number Publication date
JP5862634B2 (ja) 2016-02-16

Similar Documents

Publication Publication Date Title
JP5482812B2 (ja) 遊技機
JP2015080576A (ja) 遊技機
JP6299706B2 (ja) 遊技機
JP2015080577A (ja) 遊技機
JP2017042285A (ja) 遊技機
JP2015066055A (ja) 遊技機
JP5825309B2 (ja) 遊技機
JP2015195979A (ja) 遊技機
JP2015208338A (ja) 遊技機
JP5494638B2 (ja) 遊技機
JP5979172B2 (ja) 遊技機
JP5482811B2 (ja) 遊技機
JP5765385B2 (ja) 遊技機
JP5482810B2 (ja) 遊技機
JP5617832B2 (ja) 遊技機
JP5862634B2 (ja) 遊技機
JP5874708B2 (ja) 遊技機
JP2015208339A (ja) 遊技機
JP5831531B2 (ja) 遊技機
JP2015100386A (ja) 遊技機
JP6217713B2 (ja) 遊技機
JP5862633B2 (ja) 遊技機
JP5862632B2 (ja) 遊技機
JP6757543B2 (ja) 遊技機
JP5825308B2 (ja) 遊技機

Legal Events

Date Code Title Description
A131 Notification of reasons for refusal

Free format text: JAPANESE INTERMEDIATE CODE: A131

Effective date: 20150331

A521 Written amendment

Free format text: JAPANESE INTERMEDIATE CODE: A523

Effective date: 20150527

TRDD Decision of grant or rejection written
A01 Written decision to grant a patent or to grant a registration (utility model)

Free format text: JAPANESE INTERMEDIATE CODE: A01

Effective date: 20151201

A61 First payment of annual fees (during grant procedure)

Free format text: JAPANESE INTERMEDIATE CODE: A61

Effective date: 20151214

R150 Certificate of patent or registration of utility model

Ref document number: 5862634

Country of ref document: JP

Free format text: JAPANESE INTERMEDIATE CODE: R150

LAPS Cancellation because of no payment of annual fees