JP2014528362A - 小型化されたインサート - Google Patents

小型化されたインサート Download PDF

Info

Publication number
JP2014528362A
JP2014528362A JP2014533914A JP2014533914A JP2014528362A JP 2014528362 A JP2014528362 A JP 2014528362A JP 2014533914 A JP2014533914 A JP 2014533914A JP 2014533914 A JP2014533914 A JP 2014533914A JP 2014528362 A JP2014528362 A JP 2014528362A
Authority
JP
Japan
Prior art keywords
insert
tightening
recess
convex portion
tip
Prior art date
Legal status (The legal status is an assumption and is not a legal conclusion. Google has not performed a legal analysis and makes no representation as to the accuracy of the status listed.)
Granted
Application number
JP2014533914A
Other languages
English (en)
Other versions
JP6138139B2 (ja
Inventor
ベン アモーア ラオウフ
ベン アモーア ラオウフ
Current Assignee (The listed assignees may be inaccurate. Google has not performed a legal analysis and makes no representation or warranty as to the accuracy of the list.)
Ceramtec GmbH
Original Assignee
Ceramtec GmbH
Priority date (The priority date is an assumption and is not a legal conclusion. Google has not performed a legal analysis and makes no representation as to the accuracy of the date listed.)
Filing date
Publication date
Application filed by Ceramtec GmbH filed Critical Ceramtec GmbH
Publication of JP2014528362A publication Critical patent/JP2014528362A/ja
Application granted granted Critical
Publication of JP6138139B2 publication Critical patent/JP6138139B2/ja
Expired - Fee Related legal-status Critical Current
Anticipated expiration legal-status Critical

Links

Images

Classifications

    • BPERFORMING OPERATIONS; TRANSPORTING
    • B23MACHINE TOOLS; METAL-WORKING NOT OTHERWISE PROVIDED FOR
    • B23BTURNING; BORING
    • B23B27/00Tools for turning or boring machines; Tools of a similar kind in general; Accessories therefor
    • B23B27/14Cutting tools of which the bits or tips or cutting inserts are of special material
    • B23B27/16Cutting tools of which the bits or tips or cutting inserts are of special material with exchangeable cutting bits or cutting inserts, e.g. able to be clamped
    • B23B27/1625Cutting tools of which the bits or tips or cutting inserts are of special material with exchangeable cutting bits or cutting inserts, e.g. able to be clamped with plate-like cutting inserts of special shape clamped by a clamping member acting almost perpendicularly on the chip-forming plane
    • BPERFORMING OPERATIONS; TRANSPORTING
    • B23MACHINE TOOLS; METAL-WORKING NOT OTHERWISE PROVIDED FOR
    • B23BTURNING; BORING
    • B23B27/00Tools for turning or boring machines; Tools of a similar kind in general; Accessories therefor
    • B23B27/14Cutting tools of which the bits or tips or cutting inserts are of special material
    • B23B27/16Cutting tools of which the bits or tips or cutting inserts are of special material with exchangeable cutting bits or cutting inserts, e.g. able to be clamped
    • B23B27/1644Cutting tools of which the bits or tips or cutting inserts are of special material with exchangeable cutting bits or cutting inserts, e.g. able to be clamped with plate-like cutting inserts of special shape clamped by a clamping member acting almost perpendicularly on the chip-forming plane and at the same time upon the wall of a hole in the cutting insert
    • B23B27/1651Cutting tools of which the bits or tips or cutting inserts are of special material with exchangeable cutting bits or cutting inserts, e.g. able to be clamped with plate-like cutting inserts of special shape clamped by a clamping member acting almost perpendicularly on the chip-forming plane and at the same time upon the wall of a hole in the cutting insert characterised by having a special shape
    • BPERFORMING OPERATIONS; TRANSPORTING
    • B23MACHINE TOOLS; METAL-WORKING NOT OTHERWISE PROVIDED FOR
    • B23BTURNING; BORING
    • B23B2200/00Details of cutting inserts
    • B23B2200/08Rake or top surfaces
    • B23B2200/086Rake or top surfaces with one or more grooves
    • B23B2200/088Rake or top surfaces with one or more grooves for clamping
    • BPERFORMING OPERATIONS; TRANSPORTING
    • B23MACHINE TOOLS; METAL-WORKING NOT OTHERWISE PROVIDED FOR
    • B23BTURNING; BORING
    • B23B2226/00Materials of tools or workpieces not comprising a metal
    • B23B2226/12Boron nitride
    • B23B2226/125Boron nitride cubic [CBN]
    • BPERFORMING OPERATIONS; TRANSPORTING
    • B23MACHINE TOOLS; METAL-WORKING NOT OTHERWISE PROVIDED FOR
    • B23BTURNING; BORING
    • B23B27/00Tools for turning or boring machines; Tools of a similar kind in general; Accessories therefor
    • B23B27/14Cutting tools of which the bits or tips or cutting inserts are of special material
    • B23B27/16Cutting tools of which the bits or tips or cutting inserts are of special material with exchangeable cutting bits or cutting inserts, e.g. able to be clamped
    • BPERFORMING OPERATIONS; TRANSPORTING
    • B23MACHINE TOOLS; METAL-WORKING NOT OTHERWISE PROVIDED FOR
    • B23BTURNING; BORING
    • B23B27/00Tools for turning or boring machines; Tools of a similar kind in general; Accessories therefor
    • B23B27/22Cutting tools with chip-breaking equipment
    • BPERFORMING OPERATIONS; TRANSPORTING
    • B23MACHINE TOOLS; METAL-WORKING NOT OTHERWISE PROVIDED FOR
    • B23BTURNING; BORING
    • B23B29/00Holders for non-rotary cutting tools; Boring bars or boring heads; Accessories for tool holders
    • YGENERAL TAGGING OF NEW TECHNOLOGICAL DEVELOPMENTS; GENERAL TAGGING OF CROSS-SECTIONAL TECHNOLOGIES SPANNING OVER SEVERAL SECTIONS OF THE IPC; TECHNICAL SUBJECTS COVERED BY FORMER USPC CROSS-REFERENCE ART COLLECTIONS [XRACs] AND DIGESTS
    • Y10TECHNICAL SUBJECTS COVERED BY FORMER USPC
    • Y10TTECHNICAL SUBJECTS COVERED BY FORMER US CLASSIFICATION
    • Y10T407/00Cutters, for shaping
    • Y10T407/22Cutters, for shaping including holder having seat for inserted tool
    • Y10T407/2272Cutters, for shaping including holder having seat for inserted tool with separate means to fasten tool to holder
    • YGENERAL TAGGING OF NEW TECHNOLOGICAL DEVELOPMENTS; GENERAL TAGGING OF CROSS-SECTIONAL TECHNOLOGIES SPANNING OVER SEVERAL SECTIONS OF THE IPC; TECHNICAL SUBJECTS COVERED BY FORMER USPC CROSS-REFERENCE ART COLLECTIONS [XRACs] AND DIGESTS
    • Y10TECHNICAL SUBJECTS COVERED BY FORMER USPC
    • Y10TTECHNICAL SUBJECTS COVERED BY FORMER US CLASSIFICATION
    • Y10T407/00Cutters, for shaping
    • Y10T407/22Cutters, for shaping including holder having seat for inserted tool
    • Y10T407/2272Cutters, for shaping including holder having seat for inserted tool with separate means to fasten tool to holder
    • Y10T407/2282Cutters, for shaping including holder having seat for inserted tool with separate means to fasten tool to holder including tool holding clamp and clamp actuator

Landscapes

  • Engineering & Computer Science (AREA)
  • Mechanical Engineering (AREA)
  • Cutting Tools, Boring Holders, And Turrets (AREA)
  • Clamps And Clips (AREA)

Abstract

本発明は、切削工具に用いられるインサート(4)であって、インサート上面(9)およびインサート下面(10)と、1つ以上の側面(13)と、該側面(13)へのインサート上面(9)の移行部に設けられたカッティングエッジ(6)と、インサート上面(9)に設けられた、外径d1を有する円形の緊締窪み(1)とを備えた、切削工具に用いられるインサートに関する。本発明によれば、製造コストを削減するために、緊締窪み(1)の外径d1が、2mm<d1≰6mm、好適には2mm<d1<5mmに設定されていることが提案される。

Description

本発明は、切削工具に用いられるインサートであって、インサート上面およびインサート下面と、1つ以上の側面と、該側面へのインサート上面の移行部に設けられたカッティングエッジと、インサート上面に設けられた、外径d1を有する円形の緊締窪みとを備えた、切削工具に用いられるインサートに関する。
このようなインサートは、スローアウェイチップとも呼ばれ、欧州特許第1414607号明細書に記載されている。このインサートは切削工具に使用される。この切削工具は、主として、インサートを載置させるためのインサートシートを有する支持工具から成っている。インサートは、突起を備えた緊締駒によって支持工具に保持される。緊締駒は緊締ねじを介して支持工具に固定されている。緊締駒は、インサートに向けられた下面に直接的にまたは押圧片を介して突起を備えている。この突起は緊締窪み内に係合し、インサートを固定する。緊締窪みは円形に形成されており、中心には、凸部が位置している。この凸部の先端部は、窪みの底部よりは上側でインサート上面/インサート下面よりは下側に配置されている。
高脆性の工具材から成るインサートは、好適には、上述した、いわゆる「窪み緊締」を介して支持工具に緊締される。これによって、一般的に横断面の弱化に結び付けられる孔緊締を回避することができる。この弱化は、相応の荷重が加えられた際にインサートの破壊を招く。
中実に形成されたPcBN(多結晶立方晶窒化ホウ素)インサートの場合には、インサートの体積が製造コストに対して特に重要となる。小さなインサートは、大幅なコスト削減ひいては経済性向上を意味する。PcBNは、制限された靭性を有するセラミック系の工具材に属している。より小さなインサートに孔を加工することは、通常、プロセス確実性における損失を意味する。その結果、インサートが頻繁に破壊される。規定の切削作業、たとえば伝動装置構成部材および軸受け構成部材のハードターニング加工の場合には、セラミック工具材だけでなく、PcBN工具材も使用することができる。上述した工具材から成るインサートの安全な交換可能性を提供する形状接続的な窪み緊締システムは知られていない。インサートシートへのインサートの確実な固定は、工具システムの安全な機能性に対する根本的な前提条件である。交換可能性を保証する工具システムに対する緊締窪みの設計時には、セラミックス内への窪みの押付け可能性だけでなく、超硬のPcBNから手間をかけて除去加工されなければならない最小限の体積にも注意を払わなければならない。PcBNとは、多結晶立方晶窒化ホウ素を意味している。
本発明の課題は、請求項1の上位概念部に記載のインサートを改良して、インサートの製造コストが減じられているようにすることである。
この課題は、本発明によれば、小型化されたインサートによって達成される。本発明によれば、前述した課題は、緊締窪みの外径d1が、2mm<d1≦6mm、好適には2mm<d1<5mmに設定されていることによって解決される。驚くべきことに、このように小さな緊締窪みを備えたインサートは、工具に確実にかつ不動に挟着することができ、切削加工時にインサートシートから引き出されないことが判った。小さな緊締窪みを備えたインサートは小さく製造することができる。なぜならば、緊締が緊締窪みを介して行われるからである。より小さなインサートによって、材料がより少なくなる。これによって、製造コストが最小限に抑えられている。
クランプを改善するためには、緊締窪みに、内部に位置する円形の凸部が配置されており、この凸部の先端部が、緊締窪みの底部よりは上側でインサート上面よりは下側に位置しており、凸部が、外径d2と、緊締窪みの底部から凸部の先端部までの高さhとを有しており、凸部の外径d2が、凸部の半分の高さhにおいて測定されており、凸部の外径d2が、0.8mm<d2<3.5mmに設定されている。凸部と、緊締窪みのサイズに関連した凸部のサイズとによって、クランプが最適化されている。
好適には、インサートが、そのインサート下面にインサート上面と同じ緊締窪みを有していて、ひいては、スローアウェイチップとして形成されている。
好適な態様では、インサートが、PcBN(多結晶立方晶窒化ホウ素)から成っている。この材料は極めて高価である。これによって、より小さなインサートが大幅なコスト削減に繋がる。
好適な態様では、緊締窪みが、V<8mm、好適にはV<6mmの容積Vを有している。公知先行技術、たとえば欧州特許第1414607号明細書に記載の緊締窪みの容積は、数倍だけ高く設定されている。
インサートの挟着された状態で凸部に対する緊締駒の突起のスリップを阻止しかつ押付け可能性を高めるために、好適には、凸部の先端部が、インサート上面の垂線に対して凸部角α1を成して傾けられた側面を介して、緊締窪みの底部に移行しており、凸部角α1が、7°<α1<55°、好適には7°<α1<35°に設定されている。
特殊な態様では、凸部角α1に対して、27°<α1<28°が選択されている。凸部に対する緊締駒の突起のスリップは、いかなる用途でも生じない。
前述した全ての角度によって、α1<7°の時に比べて、押付け可能性が大幅に改善される。中心に配置された隆起部を介した公知先行技術に係る公知の緊締は、著しく低い位置で行われる。公知先行技術によれば、角度α1が、α1>>45°であり、60°以上である。このような低い隆起部では、押付け可能性は最適であるものの、引掛り効果ひいては確実な引込みならびに使用中のμm運動に対するインサートの位置固定が付与されていない。また、緊締駒5の突起11も低い隆起部に対して滑ってしまう。
凸部は支持要素であり、スペース不足に基づき、極めて小さな直径d2を有しているので、幾何学的な設計は、力F1の伝達に対する剛性が十分であるように行われなければならない。特に高さh(図1参照)に対する直径d2の比が要求に適合されなければならない。好適には、凸部の高さh、すなわち、底部から凸部の先端部までの間隔が、2×d2≧h≧0.4×d2に設定されている。
好適には、凸部の先端部が、曲率半径r1を有する移行部を介して、側面に移行しており、この側面が、曲率半径r2を有する移行部を介して、緊締窪みの底部に移行しており、この緊締窪みの底部が、曲率半径r3を有する移行部を介して、緊締窪みの底部をインサート上面/インサート下面に接続する側面に移行しており、曲率半径r1、r2,r3が、0.05mm〜0.6mm、好適には0.2mm〜0.3mmに設定されている。
このことは、強度を高めるために有利である。移行部の曲率半径r1〜r3は、ある程度のサイズに達していなければならない。さもないと、目標破断箇所が生じてしまう。特に曲率半径r1は、緊締駒に設けられた突起と、緊締窪みに設けられた凸部との間に緊締面を形成することができるように選択されなければならない。緊締線または緊締点でさえ、増加させられた荷重を招いてしまう恐れがある。曲率半径r1〜r3は、0.05〜0.6mm、好適には0.2〜0.3mmに設定されている。こうして、緊締駒の突起の押圧面と協働して十分な強度を提供する十分に高い剛性を得ることができる。幾何学形状は、脆性のセラミックスに圧縮荷重が加えられるように設計されている。
前述したインサートの本発明に係る使用は、緊締窪み内に係合する突起が配置された緊締駒と、この緊締駒に設けられた、インサートのカッティングエッジから見て緊締窪みの手前でインサート上面/インサート下面に載置されるノーズとによるクランプである。
好適な使用では、カッティングエッジから緊締駒のノーズまでの間隔aが、12.7mmの内接円を有するインサートでは少なくとも2.2mmに設定されていて、12.7mmよりも小さな内接円を有するインサートでは少なくとも1.3mmに設定されている。
好適には、インサートが、焼入れ鋼を切削加工するために使用される。
以下、本明細書において用いられる概念の定義である。
角度α1は、インサート表面の垂線に対する凸部の側面の傾きを説明している。
角度α2は、インサート表面の垂線に対して測定された、緊締窪みの縁部から緊締窪みの底部までの緊締窪みの傾きを説明している。
文字hは、緊締窪みの底部から凸部の最も高い点、すなわち、凸部の先端部までの凸部の高さを表している。
r1は、凸部の頭部もしくは先端部が(角度α1によって説明した)凸部の側面に移行する部分の曲率半径である。
r2は、(角度α1によって説明した)凸部の側面が緊締窪みの底部に移行する部分の曲率半径である。
r3は、緊締窪みの底部が、角度α2によって説明した緊締窪みの側面に移行する部分の曲率半径である。
中心を通る本発明に係るインサートの断面図である。 本発明に係るインサートの組付け状態を示す図である。 本発明に係るインサートの種々異なる実施の形態の平面図である。
以下に、本発明を2つの図面に基づき説明する。両図には、それぞれ本発明に係るインサートの横断面図が示してある。
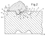
図1には、本発明に係るインサート4の中心8を通る断面図が示してあり、図2には、このインサート4が組付け状態、すなわち、緊締駒5によって係合された状態で示してある。
インサート4(図1および図2参照)が小さければ小さいほど、緊締窪み1を形成するための利用可能なスペースも小さくなる。この利用可能なスペースは、緊締駒5のノーズ12とカッティングエッジ6との間に形成される間隔aが考慮される場合に一層減少させられる(図2参照)。さらに、高精度の構成部材の場合には、数μm範囲のインサート4の運動も許容不能である。確実な固定には、緊締駒5によるインサート4の形状接続的な結合が必要となる。緊締面7がインサート4の中心8よりも前方に配置されていると、いわゆる「ずれ滑り」のリスクが減少させられる。「ずれ滑り」とは、緊締駒5に設けられた突起11(図2参照)がワークピースの加工時に凸部2に対してスリップすることを意味している。これに関連して、「中心8よりも前方」とは、突起11が、緊締窪み1の、カッティングエッジ6に近い方の側で緊締窪み1内に係合していることを意味している。凸部2の特別な構造によって、ずれ滑りを本発明により減少させることができる。凸部2は隆起部とも呼ばれる。
したがって、本発明の対象は、本発明における緊締窪み1を備えた小型化されたインサート4である。緊締窪み1は、d1≦6mm(「≦」は「以下」を意味している)、好適には2mm<d1<5mmの直径d1を有している(図1参照)。確実なクランプを保証するためには、凸部2の角度α1が、α1<55°に選択される。好適には、角度が7°<α1<35°に設定されている。図1および図2の特殊な形態では、角度が27°<α1<28°に規定されている。これによって、凸部2に対する緊締駒5の突起11のスリップが阻止される。緊締駒5に設けられた突起11は、力F2(図2参照)で引っ掛かっている。セラミックスの場合には、α1<7°の時に比べて、押付け可能性が大幅に改善されている。中心に配置された隆起部を介した公知先行技術に係る公知の緊締は、著しく低い位置で行われている。公知先行技術によれば、角度α1が、α1>>45°であり、60°以上である。このような低い隆起部では、押付け可能性は最適であるものの、引掛り効果ひいては確実な引込みならびに使用中のμm運動に対するインサート4の位置固定が付与されていない。また、緊締駒5の突起11も低い隆起部に対して滑ってしまう。
本発明における緊締窪み1の小さな直径d1によって、除去加工すべき体積が減じられる。PcBNの場合には、このような緊締窪み1が、大抵、手間のかかるレーザ加工法によって形成される。従来の緊締窪み1に比べて、体積を40%よりも多く減らすことができる。これによって、付加的な経済的な利点が得られる。凸部2は支持要素であり、スペース不足に基づき、極めて小さな直径d2を有しているので、幾何学的な設計は、力F1の伝達に対する剛性が十分であるように行われなければならない。特に高さh(図1参照)に対する直径d2の比が要求に適合されなければならない。比d/hは、最大で高さ2に対して直径1であってよい。好適には、d/hの比が1:1に設定されている。この特殊な形態では、比d/hが、高さ0.5に対して直径1である。強度を高めるためには、移行部の曲率半径r1〜r3(図1参照)が、ある程度のサイズに達していなければならない。さもないと、目標破断箇所が生じてしまう。特に曲率半径r1は、緊締駒5に設けられた突起11と凸部2との間に緊締面7を形成することができるように選択されなければならない。緊締線または緊締点でさえ、増加させられた荷重を招いてしまう恐れがある。曲率半径r1〜r3は、0.05〜0.6mm、好適には0.2〜0.3mmに設定されている。こうして、緊締駒5の突起11の押圧面と協働して十分な強度を提供する十分に高い剛性を得ることができる。幾何学形状は、脆性のセラミックスに圧縮荷重が加えられるように設計されている。こうして、(ここでは、この特殊で好適な形態において)d1=3mmの窪みサイズを確実に実現することが達成される。これによって、カッティングエッジ6に対する臨界的な間隔aを受け入れる必要なく、スローアウェイチップの中心8よりも前方の緊締駒5のノーズ12の支持面(図1参照)が可能となる。
緊締窪み1の容積Vは、好適にはV<8mm、特に好適にはV<6mmに設定されている。
図3a、図3bおよび図3cには、本発明に係るインサート4の種々異なる形態が平面図で示してある。図3aには、円形の緊締窪み1と、この緊締窪み1内に配置された凸部2とを備えた三角形のインサート4が示してある。図3bには、円形の緊締窪み1と、この緊締窪み1内に配置された凸部2とを備えた正方形のインサート4が示してある。図3cには、円形の緊締窪み1と、この緊締窪み1内に配置された凸部2とを備えた円筒形のインサート4が示してある。

Claims (12)

  1. 切削工具に用いられるインサート(4)であって、インサート上面(9)およびインサート下面(10)と、1つ以上の側面(13)と、該側面(13)へのインサート上面(9)の移行部に設けられたカッティングエッジ(6)と、インサート上面(9)に設けられた、外径d1を有する円形の緊締窪み(1)とを備えた、切削工具に用いられるインサートにおいて、緊締窪み(1)の外径d1が、2mm<d1≦6mm、好適には2mm<d1<5mmに設定されていることを特徴とする、切削工具に用いられるインサート。
  2. 緊締窪み(1)が、内部に位置する円形の凸部(2)を有しており、該凸部(2)の先端部(14)が、緊締窪み(1)の底部(15)よりは上側でインサート上面(9)よりは下側に位置しており、凸部(2)が、外径d2と、緊締窪み(1)の底部(15)から凸部(2)の先端部(14)までの高さhとを有しており、凸部(2)の外径d2が、凸部(2)の半分の高さhにおいて測定されており、凸部(2)の外径d2が、0.8mm<d2<3.5mmに設定されている、請求項1記載のインサート。
  3. インサート(4)が、そのインサート下面(10)にインサート上面(9)と同じ緊締窪み(1)を有していて、ひいては、スローアウェイチップとして形成されている、請求項1または2記載のインサート。
  4. インサート(4)が、PcBN(多結晶立方晶窒化ホウ素)から成っている、請求項1から3までのいずれか1項記載のインサート。
  5. 緊締窪み(1)が、V<8mm、好適にはV<6mmの容積を有している、請求項1から4までのいずれか1項記載のインサート。
  6. 凸部(2)の先端部(14)が、インサート上面(9)の垂線(16)に対して凸部角α1を成して傾けられた側面(17)を介して、緊締窪み(1)の底部(15)に移行しており、凸部角α1が、7°<α1<55°、好適には7°<α1<35°に設定されている、請求項2から5までのいずれか1項記載のインサート。
  7. 凸部角α1が、27°<α1<28°に設定されている、請求項6記載のインサート。
  8. 凸部(2)の高さh、すなわち、底部(15)から凸部(2)の先端部(14)までの間隔が、2×d2≧h≧0.4×d2に設定されている、請求項2から7までのいずれか1項記載のインサート。
  9. 凸部(2)の先端部(14)が、曲率半径r1を有する移行部を介して、側面(17)に移行しており、該側面(17)が、曲率半径r2を有する移行部を介して、緊締窪み(1)の底部(15)に移行しており、該緊締窪み(1)の底部(15)が、曲率半径r3を有する移行部を介して、緊締窪み(1)の底部(15)をインサート上面(9)/インサート下面(10)に接続する側面(3)に移行しており、曲率半径r1、r2,r3が、0.05mm〜0.6mm、好適には0.2mm〜0.3mmに設定されている、請求項2から8までのいずれか1項記載のインサート。
  10. 緊締窪み(1)内に係合する突起(11)が配置された緊締駒(5)と、該緊締駒(5)に設けられた、インサート(4)のカッティングエッジ(6)から見て緊締窪み(1)の手前でインサート上面(9)/インサート下面(10)に載置されるノーズ(12)とによってクランプする、請求項1から9までのいずれか1項記載のインサート(4)の使用。
  11. カッティングエッジ(6)から緊締駒(5)のノーズ(12)までの間隔aが、12.7mmの内接円を有するインサート(4)では少なくとも2.2mmに設定されていて、12.7mmよりも小さな内接円を有するインサート(4)では少なくとも1.3mmに設定されている、請求項10記載の使用。
  12. 焼入れ鋼を切削加工するための請求項1から9までのいずれか1項記載のインサート(4)の使用。
JP2014533914A 2011-10-06 2012-10-05 小型化されたインサート Expired - Fee Related JP6138139B2 (ja)

Applications Claiming Priority (3)

Application Number Priority Date Filing Date Title
DE102011084091.5 2011-10-06
DE102011084091 2011-10-06
PCT/EP2012/069705 WO2013050520A1 (de) 2011-10-06 2012-10-05 Miniaturisierte schneidplatte

Publications (2)

Publication Number Publication Date
JP2014528362A true JP2014528362A (ja) 2014-10-27
JP6138139B2 JP6138139B2 (ja) 2017-05-31

Family

ID=47018993

Family Applications (1)

Application Number Title Priority Date Filing Date
JP2014533914A Expired - Fee Related JP6138139B2 (ja) 2011-10-06 2012-10-05 小型化されたインサート

Country Status (13)

Country Link
US (1) US9770762B2 (ja)
EP (1) EP2763809B1 (ja)
JP (1) JP6138139B2 (ja)
KR (1) KR101990608B1 (ja)
CN (1) CN103987480B (ja)
DE (1) DE102012218193A1 (ja)
DK (1) DK2763809T3 (ja)
ES (1) ES2817782T3 (ja)
HU (1) HUE051769T2 (ja)
PL (1) PL2763809T3 (ja)
PT (1) PT2763809T (ja)
SI (1) SI2763809T1 (ja)
WO (1) WO2013050520A1 (ja)

Families Citing this family (3)

* Cited by examiner, † Cited by third party
Publication number Priority date Publication date Assignee Title
DE102014104886A1 (de) 2014-04-07 2015-10-08 Mas Gmbh Schneidplatte, Zerspanungswerkzeug und Verfahren zur Herstellung einer Schneidplatte
HUE057756T2 (hu) * 2015-01-09 2022-06-28 Ceram Gmbh Hordozószerszám
US11241747B2 (en) * 2017-10-16 2022-02-08 Iscar, Ltd. Cutting tool and undersized bore-less indexable insert therefor

Citations (8)

* Cited by examiner, † Cited by third party
Publication number Priority date Publication date Assignee Title
DE1602817A1 (de) * 1967-09-20 1970-05-06 Hans Heinlein Wendeplattenanordnung
JPH1177408A (ja) * 1997-09-09 1999-03-23 Sumitomo Electric Ind Ltd セラミックチップクランプ型切削工具
JP2002508260A (ja) * 1997-12-03 2002-03-19 サンドビック アクティエボラーグ セラミック製切断用インサート
US20030086766A1 (en) * 2001-11-08 2003-05-08 Andras Linn R Dimpled insert with retaining clamp
US20030219319A1 (en) * 2002-03-21 2003-11-27 Sandvik Aktiebolag Tool for chip removing machining and rotatable cutting insert for such tools
JPWO2003015968A1 (ja) * 2001-08-10 2004-12-02 住友電気工業株式会社 くぼみ又は溝を有する超高圧焼結体切削工具とその保持機構及びその製造方法
JP2009101513A (ja) * 2001-07-26 2009-05-14 Ceramtec Ag Innov Ceramic Eng 切削板
WO2010069541A1 (de) * 2008-12-19 2010-06-24 MAPAL Fabrik für Präzisionswerkzeuge Dr. Kress KG Reibahle, messerplatten dafür und verfahren zum einstellen des bearbeitungsdurchmessers einer solchen reibahle

Family Cites Families (14)

* Cited by examiner, † Cited by third party
Publication number Priority date Publication date Assignee Title
DE4240295A1 (en) * 1991-12-03 1993-06-09 Ursula 7310 Plochingen De Groeschel Clamp for securing throw-away tooltips in turning tool holder - has pulling ball clamp between depression in top face of tooltip and opposing thrust plate to seat tooltip in recess
DE4430171C2 (de) * 1994-08-25 1996-08-14 Walter Ag Formschlüssig gesicherte Schneidplatte
DE19524945A1 (de) * 1995-07-08 1997-01-09 Cerasiv Gmbh Spanabhebendes Schneidwerkzeug
DE19854873A1 (de) * 1998-11-27 2000-05-31 Widia Gmbh Schneideinsatz und Schneidwerkzeug
WO2000064615A1 (en) * 1999-04-26 2000-11-02 Sandvik Aktiebolag A tool holder and a clamp plate for holding a cutting insert
US6379087B1 (en) * 2000-02-07 2002-04-30 Kennametal Inc. Cutting insert with split face clamping surfaces and toolholder therefor
DE10208266A1 (de) * 2001-07-26 2003-02-13 Ceram Tec Ag Innovative Cerami Spanabhebendes Schneidwerkzeug und Schneidplatte in Donut-Form
DE10239451A1 (de) * 2002-08-28 2004-03-11 Ceramtec Ag Innovative Ceramic Engineering Schneidplatte mit Doppelmulde
US7429152B2 (en) * 2003-06-17 2008-09-30 Kennametal Inc. Uncoated cutting tool using brazed-in superhard blank
SE530289C2 (sv) * 2006-10-13 2008-04-22 Seco Tools Ab Negativt svarvskär med en fas mellan skäregg och släppningssida
DE102008001857A1 (de) 2007-05-22 2008-11-27 Ceramtec Ag Plattensitz mit Einlegestücken
US7547163B2 (en) * 2007-07-16 2009-06-16 Kennametal Inc. Clamping tool holder
US8236411B2 (en) * 2008-03-26 2012-08-07 Kyocera Corporation Cutting tool
CN201432116Y (zh) * 2009-06-29 2010-03-31 株洲钻石切削刀具股份有限公司 用于可转位刀片的固定刀夹

Patent Citations (8)

* Cited by examiner, † Cited by third party
Publication number Priority date Publication date Assignee Title
DE1602817A1 (de) * 1967-09-20 1970-05-06 Hans Heinlein Wendeplattenanordnung
JPH1177408A (ja) * 1997-09-09 1999-03-23 Sumitomo Electric Ind Ltd セラミックチップクランプ型切削工具
JP2002508260A (ja) * 1997-12-03 2002-03-19 サンドビック アクティエボラーグ セラミック製切断用インサート
JP2009101513A (ja) * 2001-07-26 2009-05-14 Ceramtec Ag Innov Ceramic Eng 切削板
JPWO2003015968A1 (ja) * 2001-08-10 2004-12-02 住友電気工業株式会社 くぼみ又は溝を有する超高圧焼結体切削工具とその保持機構及びその製造方法
US20030086766A1 (en) * 2001-11-08 2003-05-08 Andras Linn R Dimpled insert with retaining clamp
US20030219319A1 (en) * 2002-03-21 2003-11-27 Sandvik Aktiebolag Tool for chip removing machining and rotatable cutting insert for such tools
WO2010069541A1 (de) * 2008-12-19 2010-06-24 MAPAL Fabrik für Präzisionswerkzeuge Dr. Kress KG Reibahle, messerplatten dafür und verfahren zum einstellen des bearbeitungsdurchmessers einer solchen reibahle

Also Published As

Publication number Publication date
US20140234041A1 (en) 2014-08-21
PT2763809T (pt) 2020-09-04
EP2763809A1 (de) 2014-08-13
CN103987480A (zh) 2014-08-13
CN103987480B (zh) 2017-09-12
DK2763809T3 (da) 2020-09-07
ES2817782T3 (es) 2021-04-08
WO2013050520A1 (de) 2013-04-11
HUE051769T2 (hu) 2021-03-29
KR101990608B1 (ko) 2019-06-18
JP6138139B2 (ja) 2017-05-31
EP2763809B1 (de) 2020-06-24
SI2763809T1 (sl) 2020-10-30
KR20140078727A (ko) 2014-06-25
DE102012218193A1 (de) 2013-04-11
US9770762B2 (en) 2017-09-26
PL2763809T3 (pl) 2020-10-19

Similar Documents

Publication Publication Date Title
JP5115148B2 (ja) インサート着脱式切削工具のヘッド部材およびインサート着脱式切削工具
JP5231396B2 (ja) 側方係止インサートおよび側方係止インサートを用いた材料除去工具
JP5396539B2 (ja) 両面インデックサブル切削インサート及び補強材の組立体
CN108602130B (zh) 用于金属切削的面切槽刀具主体
CN212793066U (zh) 用于切削加工的工具
CN103998166B (zh) 刀具系统
CN105142833A (zh) 铣刀
JP5040591B2 (ja) インサート着脱式切削工具のヘッド部材およびインサート着脱式切削工具
JP5488374B2 (ja) ヘッド交換式切削工具
WO2013057778A1 (ja) ヘッド交換式切削工具用ホルダおよびヘッド交換式切削工具
JP6138139B2 (ja) 小型化されたインサート
US9782841B2 (en) Cutting tool
CN107206505A (zh) 切削刀具
US10415385B2 (en) Pick, in particular a round-shank pick
US10286459B2 (en) Machining tool
WO2013057776A1 (ja) ヘッド交換式切削工具
JP6496744B2 (ja) ワークピースを機械加工するためのツール
US20190001419A1 (en) Carrier tool, cutting insert, and clamping element
CN109715327A (zh) 端面铣削刀具及其切向切削刀片
US20100158621A1 (en) Cutting tool for recessing and grooving, comprising a replaceable abutment for the cutting element
JP2003145320A (ja) スローアウェイチップおよびそのクランプ機構
CN104741472A (zh) 热压成型工艺中板料的全方位定位结构及定位方法
JP2007290057A (ja) 超高圧焼結体切削工具
JP5071048B2 (ja) インサート着脱式切削工具のヘッド部材およびインサート着脱式切削工具
JP4741646B2 (ja) スローアウェイエンドミルおよびその製造方法

Legal Events

Date Code Title Description
A621 Written request for application examination

Free format text: JAPANESE INTERMEDIATE CODE: A621

Effective date: 20150925

A977 Report on retrieval

Free format text: JAPANESE INTERMEDIATE CODE: A971007

Effective date: 20160818

A131 Notification of reasons for refusal

Free format text: JAPANESE INTERMEDIATE CODE: A131

Effective date: 20160829

A521 Request for written amendment filed

Free format text: JAPANESE INTERMEDIATE CODE: A523

Effective date: 20161115

TRDD Decision of grant or rejection written
A01 Written decision to grant a patent or to grant a registration (utility model)

Free format text: JAPANESE INTERMEDIATE CODE: A01

Effective date: 20170403

A61 First payment of annual fees (during grant procedure)

Free format text: JAPANESE INTERMEDIATE CODE: A61

Effective date: 20170425

R150 Certificate of patent or registration of utility model

Ref document number: 6138139

Country of ref document: JP

Free format text: JAPANESE INTERMEDIATE CODE: R150

R250 Receipt of annual fees

Free format text: JAPANESE INTERMEDIATE CODE: R250

R250 Receipt of annual fees

Free format text: JAPANESE INTERMEDIATE CODE: R250

R250 Receipt of annual fees

Free format text: JAPANESE INTERMEDIATE CODE: R250

R250 Receipt of annual fees

Free format text: JAPANESE INTERMEDIATE CODE: R250

R250 Receipt of annual fees

Free format text: JAPANESE INTERMEDIATE CODE: R250

LAPS Cancellation because of no payment of annual fees