JP2014216215A - 照明器具 - Google Patents

照明器具 Download PDF

Info

Publication number
JP2014216215A
JP2014216215A JP2013093278A JP2013093278A JP2014216215A JP 2014216215 A JP2014216215 A JP 2014216215A JP 2013093278 A JP2013093278 A JP 2013093278A JP 2013093278 A JP2013093278 A JP 2013093278A JP 2014216215 A JP2014216215 A JP 2014216215A
Authority
JP
Japan
Prior art keywords
lamp
led lamp
straight tube
tube led
support spring
Prior art date
Legal status (The legal status is an assumption and is not a legal conclusion. Google has not performed a legal analysis and makes no representation as to the accuracy of the status listed.)
Pending
Application number
JP2013093278A
Other languages
English (en)
Inventor
浩和 三枝
Hirokazu Saegusa
浩和 三枝
Current Assignee (The listed assignees may be inaccurate. Google has not performed a legal analysis and makes no representation or warranty as to the accuracy of the list.)
Panasonic Corp
Original Assignee
Panasonic Corp
Priority date (The priority date is an assumption and is not a legal conclusion. Google has not performed a legal analysis and makes no representation as to the accuracy of the date listed.)
Filing date
Publication date
Application filed by Panasonic Corp filed Critical Panasonic Corp
Priority to JP2013093278A priority Critical patent/JP2014216215A/ja
Publication of JP2014216215A publication Critical patent/JP2014216215A/ja
Pending legal-status Critical Current

Links

Images

Classifications

    • FMECHANICAL ENGINEERING; LIGHTING; HEATING; WEAPONS; BLASTING
    • F21LIGHTING
    • F21SNON-PORTABLE LIGHTING DEVICES; SYSTEMS THEREOF; VEHICLE LIGHTING DEVICES SPECIALLY ADAPTED FOR VEHICLE EXTERIORS
    • F21S2/00Systems of lighting devices, not provided for in main groups F21S4/00 - F21S10/00 or F21S19/00, e.g. of modular construction
    • FMECHANICAL ENGINEERING; LIGHTING; HEATING; WEAPONS; BLASTING
    • F21LIGHTING
    • F21SNON-PORTABLE LIGHTING DEVICES; SYSTEMS THEREOF; VEHICLE LIGHTING DEVICES SPECIALLY ADAPTED FOR VEHICLE EXTERIORS
    • F21S8/00Lighting devices intended for fixed installation
    • F21S8/04Lighting devices intended for fixed installation intended only for mounting on a ceiling or the like overhead structures
    • FMECHANICAL ENGINEERING; LIGHTING; HEATING; WEAPONS; BLASTING
    • F21LIGHTING
    • F21VFUNCTIONAL FEATURES OR DETAILS OF LIGHTING DEVICES OR SYSTEMS THEREOF; STRUCTURAL COMBINATIONS OF LIGHTING DEVICES WITH OTHER ARTICLES, NOT OTHERWISE PROVIDED FOR
    • F21V19/00Fastening of light sources or lamp holders
    • FMECHANICAL ENGINEERING; LIGHTING; HEATING; WEAPONS; BLASTING
    • F21LIGHTING
    • F21VFUNCTIONAL FEATURES OR DETAILS OF LIGHTING DEVICES OR SYSTEMS THEREOF; STRUCTURAL COMBINATIONS OF LIGHTING DEVICES WITH OTHER ARTICLES, NOT OTHERWISE PROVIDED FOR
    • F21V23/00Arrangement of electric circuit elements in or on lighting devices

Landscapes

  • Engineering & Computer Science (AREA)
  • General Engineering & Computer Science (AREA)
  • Arrangement Of Elements, Cooling, Sealing, Or The Like Of Lighting Devices (AREA)
  • Non-Portable Lighting Devices Or Systems Thereof (AREA)
  • Fastening Of Light Sources Or Lamp Holders (AREA)

Abstract

【課題】直管LEDランプの全長が相対的に長い場合における装着の作業性低下を抑えることができる照明器具を提供する。【解決手段】天井に配設される器具本体1と、円筒形状からなる管部86の両端に口金82,83を有する直管LEDランプ8と、口金82,83それぞれが着脱自在に装着されるランプソケット2,3と、弧状に形成されて管部86を弾性挟持する一対の保持片52を有するランプ支持ばね5とを備え、ランプソケット2は、口金82から突出されるL形ピン820が挿抜可能な挿抜位置と、L形ピン820が挿抜不可能であり且つ電極21に接触する取付位置との間で、直管LEDランプ8を周方向に回動自在に保持するように構成され、直管LEDランプ8は、管部86に凹部810が形成され、ランプ支持ばね5は、直管LEDランプ8が取付位置にあるとき、凹部810に嵌合する凸部55を有する。【選択図】図1

Description

本発明は、直管LEDランプ用の照明器具に関するものである。
近年、直管形蛍光ランプ及び直管形蛍光ランプ用の照明器具に代えて、直管LEDランプ及び直管LEDランプ用の照明器具が普及しつつある(例えば、特許文献1参照)。特許文献1記載の照明器具は、天井に埋込配設される矩形箱状の器具本体と、器具本体の内底面に取り付けられる反射板と、一対のランプソケットと、ランプ支持ばねとを備える。
ランプソケットは、反射板の長手方向の両端にそれぞれ設けられている。直管LEDランプは、両端の口金から突出するピンを、ランプソケットの下面に設けられた溝に挿入した後、軸の周方向に約90度回転させる。これにより、直管LEDランプは、挿抜位置から取付位置に移動し、ピンがランプソケット内の電極に電気的且つ機械的に接続され、ランプソケットに装着される。また、ランプソケットの電極は、弾性を有する板材が曲げ加工されてなる。そして、直管LEDランプを取り付ける際、ピンが電極を圧接して撓ませながら摺動し、電極に形成された凹部にピンが嵌り込むことで、直管LEDランプが取付位置に位置決めされる。このとき、ピンが電極の凹部に嵌り込むことによって得られるクリック感によって、作業者は直管LEDランプが取付位置にあると判断する。
ランプ支持ばねは、金属製の板材が略Ω形状に曲げ加工されてなり、直管LEDランプの管部を嵌め込んで支持している。
特開2013−26032号公報
ところで、直管LEDランプをランプソケットに装着する際、全長が長くなるほど、作業者は直管LEDランプの中央付近を持って作業する場合が多くなる。この場合、直管LEDランプの口金と作業者との距離が遠くなる。そのため、直管LEDランプの装着時において、ピンが電極の凹部に嵌り込むことによって作業者が得られるクリック感が弱くなり、どこまで回転させれば良いか判り難い。その結果、直管LEDランプを装着する作業性が低下するという問題がある。
本発明は、上記事由に鑑みてなされたものであり、その目的は、直管LEDランプの全長が相対的に長い場合における装着の作業性低下を抑えることができる照明器具を提供することにある。
本発明の照明器具は、天井に配設される器具本体と、円筒形状からなる管部の両端に口金を有する直管LEDランプと、前記器具本体に取り付けられ、前記直管LEDランプの前記口金それぞれが着脱自在に装着される一対のランプソケットと、前記器具本体に取り付けられ、弧状に形成されて前記直管LEDランプの前記管部を弾性挟持する一対の保持片を有するランプ支持ばねとを備え、少なくとも一方の前記ランプソケットは、前記直管LEDランプに点灯電力を供給する電極を有し、前記ランプソケットは、前記口金から突出されるピンが挿抜可能な挿抜位置と、前記ピンが挿抜不可能であり且つ給電用の前記ピンが前記電極に接触する取付位置との間で、前記直管LEDランプを周方向に回動自在に保持するように構成され、前記直管LEDランプは、前記管部に凹部が形成され、前記ランプ支持ばねは、前記直管LEDランプが前記取付位置にあるとき、前記凹部に嵌合する凸部を有することを特徴とする。
この照明器具において、前記凹部は、前記管部の周方向に複数形成されることが好ましい。
この照明器具において、前記直管LEDランプの前記管部は、LED素子が実装された基板が取り付けられる半円柱形状の金属からなる放熱部材と、前記基板を覆う円弧状のカバーとで構成され、前記凹部は、前記放熱部材に形成されることが好ましい。
この照明器具において、前記ランプ支持ばねは、導電性を有し、前記器具本体のアースに接地されることが好ましい。
以上説明したように、本発明では、直管LEDランプの管部に凹部を形成し、直管LEDランプが取付位置にあるとき、凹部に勘合する凸部をランプ支持ばねに形成することで、直管LEDランプの全長が相対的に長い場合における装着の作業性低下を抑えることができるという効果がある。
本発明の実施形態1の照明器具の一部断面図である。 同上の照明器具の一部外観図である。 同上の照明器具の分解斜視図である。 同上の照明器具の外観斜視図である。 同上のランプ支持ばねの外観斜視図である。 同上の別構成の照明器具の一部断面図である。 同上の別構成の照明器具の外観斜視図である。 同上の別構成の照明器具の外観斜視図である。 実施形態2の照明器具の一部断面図である。 同上のランプソケットの一部分解図である。 同上の別構成の照明器具の一部断面図である。
以下、本発明の実施の形態を図面に基づいて説明する。
(実施形態1)
以下、本発明に係る照明器具の実施形態について図面を参照して詳細に説明する。本実施形態は、日本電球工業会規格JEL801「L形ピン口金GX16t−5付直管形LEDランプシステム(一般照明用)」に準拠した直管LEDランプ(以下、ランプと略す。)8を光源とする。ただし、前記規格に準拠しない直管LEDランプを光源とする照明器具にも本発明の技術思想は適用可能である。
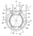
ランプ8は、図1,図2に示すように円筒状の管部86と、管部86の両端に設けられる一対の口金82,83とを有する。管部86は、透光性を有する合成樹脂(例えば、ポリカーボネート)からなる半円筒形状のカバー80と、熱伝導度が相対的に高く且つ軽量な金属(例えば、アルミ)からなる半円柱形状の放熱部材81とで構成される。放熱部材81は、カバー80と対向する内面に形成された凹部の底面に、多数のLED素子84を直線上に並べて実装した長尺の基板85が取り付けられており、多数のLED素子84が発する熱を管部86の外に放熱している。
本実施形態の照明器具は、図3及び図4に示すように器具本体1と、二組のランプソケット2,3と、反射板4と、ランプ支持ばね5とを備える。器具本体1は、金属板を折り曲げ加工することにより、下面側が開放された箱状に形成され、天井に設けられた取付ボルト100が挿通される一対の挿通孔(図示せず)が穿孔されている。すなわち、器具本体1を天井に取り付ける際には、挿通孔に挿通された取付ボルト100に座金101を介装してナット102を締め付ければよい。
また、器具本体1は、長手方向の略中央に、商用電源よりなる交流電源に接続され天井裏に先行配線されている電源線103を引き込むための電源線挿通孔10が穿孔されている。さらに、器具本体1の下面には、長手方向において電源線挿通孔10を挟むように端子台7及び電源装置6が取り付けられている。ここに、電源線挿通孔10を通して引き込まれた電源線103が端子台7に接続される。なお、電源装置6は、商用電源から供給される交流電力を直流電力に変換する電力変換回路(AC/DCコンバータ)等が実装されたプリント配線板(図示せず)を金属製のケースに収納して構成されている。ただし、このような電源装置6は従来周知であるから、詳細な構成及び動作の図示並びに説明を省略する。
対を為す2種類のランプソケット2,3は、一方のランプソケット2が給電用であり、他方のランプソケット3が接地用である。すなわち、給電用のランプソケット2は、片側の口金82に設けられた一対のL形ピン820が接続され、これら一対のL形ピン820間に直流電圧を印加するように構成されている。また、接地用のランプソケット3は、もう片側の口金83に設けられた接地ピン830が接続され、当該接地ピン830を機械的に保持するとともに、グランドに接地されている器具本体1と電気的に接続する。ただし、ランプソケット3に接続される接地ピン830は、器具本体1と電気的に接続されず、機械的な保持のみに用いられる場合もある。
ランプ8を装着する際、接地ピン830をランプソケット3に接続した後、ランプソケット2の溝(図示せず)にL形ピン820を下方から挿入する。その後、ランプ8を略90度回転させて挿抜位置から取付位置に移動させれば、L形ピン820がランプソケット2の電極と電気的且つ機械的に接続される。一方、ランプ8を外す際は、装着時の反対向きにランプ8を回転させて取付位置から挿抜位置に移動させた後、ランプソケット2の溝からL形ピン820を抜けばよい。このようなランプソケット2,3は、日本電球工業会規格JEL801「L形ピン口金GX16t−5付直管形LEDランプシステム(一般照明用)」に準拠したランプソケットとして従来周知である。
反射板4は、金属板を折り曲げ加工することで断面略V字形に形成され、下面開口を覆うように器具本体1に取り付けられる。なお、反射板4は、器具本体1の長手方向の両端及び中央に設けられた3つの固定具11に、それぞれつまみねじ12をねじ止めすることで器具本体1に取り付けられる。また、反射板4は、長手方向の両端部において、それぞれランプソケット2,3が挿通されるソケット挿通孔40が設けられている。さらに、反射板4の長手方向における中央付近には、ランプ支持ばね5を取り付けるための取付孔41が設けられている。
ランプ支持ばね(以下、支持ばねと略す。)5は、図5に示すように取付片50、一対の腕片51、一対の保持片52、一対の案内片53が、ばね性を有する金属板を打ち抜き加工及び曲げ加工することで略Ω形に一体に形成されてなる。なお、以下の説明では、特に断りのない限り、図5において上下左右前後の各方向を規定する。
取付片50は、全体が矩形平板状であって、前後方向中央の左右両端部分に第1係合片500及び第2係合片501が切り起こして形成されている。第1係合片500は、先端部分が外向き(右向き)に略直角に曲げられている。一方、第2係合片501は、先端部分が内向き(右斜め下向き)に鋭角に曲げられている。つまり、一方の取付孔41に第1係合片500を挿入係止した後、他方の取付孔41に第2係合片501を挿入係止することによって、取付片50(支持ばね5)が反射板4に取り付けられる。
各腕片51は、矩形平板状であり、取付片50の左右両端より下向きに曲げ起こされている。ただし、各腕片51は、下端に向かうほど互いの間隔を狭くするように僅かに傾斜している。
各保持片52は、取付片50の下端より下方に垂下し、且つ外向きに凸となる円弧状に形成されている。また、各保持片52は、管部86に対向する面にランプ8の周方向(上下方向)に沿った突条54が形成されている。つまり、一対の保持片52の間にランプ8の管部86が弾性的に挟持されるとき、突条54の先端部分のみがランプ8の管部86と接触することになる(図1参照)。
各案内片53は、保持片52の下端から外向き且つ下向きに突出している。なお、突条54は保持片52だけでなく案内片53にも形成されている。
さらに、保持片52に形成された突条54の上下方向の中央部には、前後方向に連続した凸部55が形成されている。一方、ランプ8の放熱部材81は、外周面における短手方向(左右方向)の端部近傍に凹部811が180°間隔で形成されている(図1参照)。
したがって、ランプ8を装着する際、接地ピン830をランプソケット3に接続した後、ランプソケット2の溝(図示せず)にL形ピン820を下方から挿入する。その後、ランプ8を略90度回転させて挿抜位置から取付位置に移動させれば、L形ピン820がランプソケット2の電極と電気的且つ機械的に接続される。このとき、ランプ8が取付位置に移動し、支持ばね5の凸部55とランプ8の凹部811とが嵌合することによって得られるクリック感によって、作業者はランプ8が取付位置にあると判断することができる。したがって、ランプ8の全長が相対的に長い場合においても装着の作業性低下を抑制することができる。
なお、凹部811の形状は、ランプ8の軸方向に沿った長尺の溝状に形成されていてもよい。凹部811を溝状に形成することによって、放熱部材81の表面積が増加し、放熱性を向上させることができる。さらに、凹部811を溝状に形成することによって、ランプ8に対する支持ばね5の前後方向の位置の制限がなくなる。
また、凸部55及び凹部811の位置は、ランプ8が取付位置にあるとき、凸部55と凹部811とが嵌合する位置に形成されていればよく、上記位置に限定するものではない。例えば、図6に示すように、放熱部材81の外周面における短手方向(左右方向)の中央部に凹部811を形成し、一方の保持片52に形成された突条54をランプ8の周方向に沿って延設した延設部56に凸部55を形成してもよい。
また、本実施形態の支持ばね5は、器具本体1のアースに接地されている。したがって、導電性を有する支持ばね5を介して、ランプ8の放熱部材81が器具本体1のアースに接地されるので、安全性を向上させることができる。
なお、本実施形態では、器具本体1に2本のランプ8を装着する2灯式の照明器具を例示したが、図7に示すように1本のランプ8のみを装着する1灯式の照明器具であっても構わない。あるいは、図8に示すような構造の照明器具であっても構わない。図8に示す照明器具は、例えば、博物館又は美術館の展示室の壁に掛けられた展示物(例えば、絵画)を照明したり、講義室や教室の壁に設置された黒板を照明するものである。
(実施形態2)
本実施形態の照明器具は、図9に示すように、ランプ8の放熱部材81に、複数の凹部811が周方向に沿って形成されている。他の構成は、実施形態1と同様の構成であるので、説明を省略する。
ランプ8の取付位置とは、給電用のランプソケット2が有する電極21と一対のL形ピン820それぞれとが接触する位置であればよい。図10に、ランプソケット2の分解図を示す。
ランプソケット2は、一対のL形ピン820それぞれが接触接続される一対の電極21を備えている。電極21は、弾性を有する金属材料からなる板材が曲げ加工されてなり、L形ピン820に接圧するピン接続部22を有する。ピン接続部22は、外向きに凸となるV字状に形成されており、凹面側がL形ピン820に対する接触面として利用される。ランプ8の装着時において、ランプ8が挿抜位置から取付位置に移動する際、L形ピン820がピン接続部22を圧接して外方向に撓ませながらピン接続部22の凹面側を摺動する。そして、ランプ8を挿抜位置から略90度回転させることで、ピン接続部22の凹面側の谷部23にL形ピン820が嵌り込むことで、L形ピン820が位置決めされる。
したがって、一対のL形ピン820が上下方向に対向する位置P1(挿抜位置P1)を基準として、ランプ8を角度θ1回転させた位置P2にL形ピン820があることによって、L形ピン820がピン接続部22に接触してランプ8に点灯電力を供給することができる。そして、ランプ8を角度θ1より大きい角度θ2回転させた位置P3にL形ピン820があると、L形ピン820とピン接続部22との接触圧が安定する。
そこで、本実施形態では、ランプ8の放熱部材81に、ランプ8を挿抜位置P1から角度θ2回転させたとき、凸部55が嵌合する位置に凹部811aを形成している。さらに、本実施形態では、ランプ8が位置P3にあるときに凸部55が嵌合する凹部811aと、ランプ8が挿抜位置P1から90°回転させた位置P4にあるとき凸部55に嵌合する凹部811との間に、等間隔で凹部811b,811cを形成している。凹部811a〜811cは、ランプ8をいずれの方向に回転させた場合であっても、一対の凸部55のいずれか一方が嵌合するように、左右対称となる位置に形成されている。なお、凹部811a〜811cを区別しない場合、凹部811と称す。
したがって、ランプ8を装着する際、一対の凸部55のうちいずれか一方が複数ある凹部811のいずれかに嵌り込むことによって得られるクリック感によって、作業者はランプ8のL形ピン820とランプソケット2の電極21とが接触している取付位置であると判断することができる。さらに、凸部55と凹部811とが嵌合している位置であればランプ8を点灯させることができるので、ランプ8を回転させて、LED素子84の照射方向を調節することができる。このとき、凸部55と凹部811とが嵌合しているので、LED素子84の照射方向を固定することができる。
また、本実施形態では、放熱部材81に複数の凹部811が形成されているので、放熱部材81の表面積がさらに増加し、放熱性をより向上させることができる。なお、本実施形態においても、放熱部材81の表面積を増加させて放熱性を向上させるために、凹部811の形状を、ランプ8の軸方向に沿った長尺の溝状に形成してもよい。また、凹部811を溝状に形成することによって、ランプ8に対する支持ばね5の前後方向の位置の制限がなくなる。
また、図11に示すように、凹部811a〜811cが形成された放熱部材81と同様にカバー80にも凹部801a〜801cを形成してもよい。凹部801a〜801cは、ランプ8をいずれの方向に回転させた場合であっても、一対の凸部55のいずれか一方が嵌合するように、左右対称となる位置に形成されている。さらに、凹部801aは凹部811aと180°離間し、凹部801bは凹部811bと180°離間し、凹部801cは凹部811cと180°離間している。これにより、ランプ8をいずれかの方向に回転させて、LED素子84の照射方向を直下以外に調節した場合であっても、一対の凸部55の一方が凹部811a〜811cのいずれかに嵌合し、他方の凸部55が凹部801a〜801cのいずれかに嵌合するので、LED素子84の照射方向をより確実に固定することができる。
1 器具本体
2,3 ランプソケット
5 ランプ支持ばね
52 保持片
55 凸部
8 直管LEDランプ
80 カバー
81 放熱部材
811 凹部
82,83 口金
820 L形ピン
84 LED素子
85 基板
86 管部

Claims (4)

  1. 天井に配設される器具本体と、
    円筒形状からなる管部の両端に口金を有する直管LEDランプと、
    前記器具本体に取り付けられ、前記直管LEDランプの前記口金それぞれが着脱自在に装着される一対のランプソケットと、
    前記器具本体に取り付けられ、弧状に形成されて前記直管LEDランプの前記管部を弾性挟持する一対の保持片を有するランプ支持ばねとを備え、
    少なくとも一方の前記ランプソケットは、前記直管LEDランプに点灯電力を供給する電極を有し、
    前記ランプソケットは、前記口金から突出されるピンが挿抜可能な挿抜位置と、前記ピンが挿抜不可能であり且つ給電用の前記ピンが前記電極に接触する取付位置との間で、前記直管LEDランプを周方向に回動自在に保持するように構成され、
    前記直管LEDランプは、前記管部に凹部が形成され、
    前記ランプ支持ばねは、前記直管LEDランプが前記取付位置にあるとき、前記凹部に嵌合する凸部を有する
    ことを特徴とする照明器具。
  2. 前記凹部は、前記管部の周方向に複数形成される
    ことを特徴とする請求項1記載の照明器具。
  3. 前記直管LEDランプの前記管部は、LED素子が実装された基板が取り付けられる半円柱形状の金属からなる放熱部材と、前記基板を覆う円弧状のカバーとで構成され、
    前記凹部は、前記放熱部材に形成される
    ことを特徴とする請求項1または2記載の照明器具。
  4. 前記ランプ支持ばねは、導電性を有し、前記器具本体のアースに接地される
    ことを特徴とする請求項3に記載の照明器具。
JP2013093278A 2013-04-26 2013-04-26 照明器具 Pending JP2014216215A (ja)

Priority Applications (1)

Application Number Priority Date Filing Date Title
JP2013093278A JP2014216215A (ja) 2013-04-26 2013-04-26 照明器具

Applications Claiming Priority (1)

Application Number Priority Date Filing Date Title
JP2013093278A JP2014216215A (ja) 2013-04-26 2013-04-26 照明器具

Publications (1)

Publication Number Publication Date
JP2014216215A true JP2014216215A (ja) 2014-11-17

Family

ID=51941796

Family Applications (1)

Application Number Title Priority Date Filing Date
JP2013093278A Pending JP2014216215A (ja) 2013-04-26 2013-04-26 照明器具

Country Status (1)

Country Link
JP (1) JP2014216215A (ja)

Cited By (2)

* Cited by examiner, † Cited by third party
Publication number Priority date Publication date Assignee Title
JP2020024806A (ja) * 2018-08-06 2020-02-13 三菱電機株式会社 照明装置
JP2022526261A (ja) * 2019-03-14 2022-05-24 フォルマ ライティング (エイチケー) リミテッド 柔軟に変形可能な硬質線状ランプ

Cited By (4)

* Cited by examiner, † Cited by third party
Publication number Priority date Publication date Assignee Title
JP2020024806A (ja) * 2018-08-06 2020-02-13 三菱電機株式会社 照明装置
JP7076330B2 (ja) 2018-08-06 2022-05-27 三菱電機株式会社 照明装置
JP2022526261A (ja) * 2019-03-14 2022-05-24 フォルマ ライティング (エイチケー) リミテッド 柔軟に変形可能な硬質線状ランプ
JP7296473B2 (ja) 2019-03-14 2023-06-22 フォルマ ライティング (エイチケー) リミテッド 柔軟に変形可能な硬質線状ランプ

Similar Documents

Publication Publication Date Title
JP2014038853A (ja) Ledランプ
CN102128372A (zh) 一种led日光灯
JP5520107B2 (ja) 照明器具
JP2019016432A (ja) ダクトレール用の電気プラグ
JP6414775B2 (ja) 照明器具及び照明器具のリニューアル方法
JP2014216215A (ja) 照明器具
JP2012169146A (ja) ソケット及び照明器具
JP6279333B2 (ja) 照明用ユニット
JP5455951B2 (ja) ランプ及びランプを用いた照明装置
JP5756906B2 (ja) 照明器具
CN210462743U (zh) 一种具有导电快捷安装的吸顶构件
JP2012150968A (ja) マイナスイオン発生電極内臓のledユニットを有する照明器具
JP6059854B2 (ja) Ledランプ
JP5610612B2 (ja) 照明器具
JP2017097998A (ja) 照明器具
JP6074850B2 (ja) 照明器具
KR200404093Y1 (ko) 등기구용 전선연결구
CN101802489B (zh) 周围边缘具有接触构件的灯以及灯座
JP5884091B2 (ja) 照明器具
JP2014191930A (ja) 照明器具
JP5686909B2 (ja) ランプ及びランプを用いた照明装置
JP2025130611A (ja) 給電ソケット及び照明装置
JP2014191929A (ja) 照明器具
JP2016115683A (ja) ソケット及び照明器具
JP2025130609A (ja) 給電ソケット及び照明装置

Legal Events

Date Code Title Description
A711 Notification of change in applicant

Free format text: JAPANESE INTERMEDIATE CODE: A711

Effective date: 20150312