JP2014123771A - 固体撮像装置および撮像システム - Google Patents

固体撮像装置および撮像システム Download PDF

Info

Publication number
JP2014123771A
JP2014123771A JP2014052329A JP2014052329A JP2014123771A JP 2014123771 A JP2014123771 A JP 2014123771A JP 2014052329 A JP2014052329 A JP 2014052329A JP 2014052329 A JP2014052329 A JP 2014052329A JP 2014123771 A JP2014123771 A JP 2014123771A
Authority
JP
Japan
Prior art keywords
substrate
imaging device
solid
state imaging
disposed
Prior art date
Legal status (The legal status is an assumption and is not a legal conclusion. Google has not performed a legal analysis and makes no representation as to the accuracy of the status listed.)
Granted
Application number
JP2014052329A
Other languages
English (en)
Other versions
JP5784167B2 (ja
Inventor
Nobuyuki Endo
信之 遠藤
Tetsuya Itano
哲也 板野
Kazuo Yamazaki
和男 山崎
Kyohei Watanabe
杏平 渡辺
Takeshi Ichikawa
武史 市川
Current Assignee (The listed assignees may be inaccurate. Google has not performed a legal analysis and makes no representation or warranty as to the accuracy of the list.)
Canon Inc
Original Assignee
Canon Inc
Priority date (The priority date is an assumption and is not a legal conclusion. Google has not performed a legal analysis and makes no representation as to the accuracy of the date listed.)
Filing date
Publication date
Application filed by Canon Inc filed Critical Canon Inc
Priority to JP2014052329A priority Critical patent/JP5784167B2/ja
Publication of JP2014123771A publication Critical patent/JP2014123771A/ja
Application granted granted Critical
Publication of JP5784167B2 publication Critical patent/JP5784167B2/ja
Active legal-status Critical Current
Anticipated expiration legal-status Critical

Links

Images

Landscapes

  • Solid State Image Pick-Up Elements (AREA)
  • Transforming Light Signals Into Electric Signals (AREA)

Abstract

【課題】 光電変換素子の特性の低下を抑制しつつ、周辺回路部のトランジスタの動作を高速にすることが可能となる。
【解決手段】 本発明の固体撮像装置は、光電変換素子および転送トランジスタのゲート電極とを有する第1の基板と、周辺回路部を有する第2の基板とを積層して構成され、第1の基板には高融点金属化合物層が設けられておらず、第2の基板には高融点金属化合物層が配される。
【選択図】 図1

Description

本発明は、裏面照射型の固体撮像装置に関する。
近年の固体撮像装置の高速化に伴い、トランジスタに高融点金属の半導体化合物層を設けた構成が提案されている。
特許文献1には、光電変換部の受光部上には高融点金属の半導体化合物層を設けず、周辺回路部に高融点金属の半導体化合物層を設けた固体撮像装置が記載されている。
特許文献2には、光電変換素子の感度を向上させるべく、光電変換素子や信号読み出し用の回路を設けた画素部を含む基板と、画素部の回路を駆動し読み出した信号を処理するための周辺回路を含む基板とを貼り合わせた裏面照射型の固体撮像装置が記載されている。
特開2001−111022号 特開2009−170448号
特許文献1に記載の周辺回路部に高融点金属の半導体化合物層を設けた構造では同一基板上に高融点金属が設けられるため、光電変換素子へ高融点金属が拡散してしまう可能性がある。光電変換素子の表面を絶縁膜で保護していたとしても、絶縁膜上に高融点金属を形成する工程などがあり絶縁膜中を拡散してしまう可能性がある。そして、光電変換素子が高融点金属によって汚染されることによってリーク電流が生じ、画像に白傷等が発生してしまう。また、特許文献1に記載の構成を形成するためには、同一基板上にて高融点金属の半導体化合物層の作り分けが必要であり、工程が煩雑であった。
そこで、本発明では、簡易な構成で、白傷等の原因となる光電変換素子の特性の低下を抑制しつつ、周辺回路部に高融点金属化合物層を配置した固体撮像装置を提供することを目的とする。
本発明の固体撮像装置は、光電変換素子と前記光電変換素子からの電荷を転送するためのゲート電極が配された第1の基板と、前記光電変換素子にて生じた電荷に基づく信号を読み出すための周辺回路部が配された第2の基板とを積層した固体撮像装置において、前記第2の基板に高融点金属化合物層が配され、前記第1の基板には高融点金属化合物層が配されていない。
本発明は、簡易な構成で、光電変換素子の特性の低下を抑制しつつ、周辺回路部に高融点金属化合物層を配置した固体撮像装置を提供することが可能となる。
実施例1を説明する固体撮像装置の断面図 実施例2を説明する固体撮像装置の断面図 実施例3を説明する固体撮像装置の断面図 実施例3の固体撮像装置の製造方法 実施例3の固体撮像装置の製造方法 実施例5を説明する固体撮像装置の断面図 実施例4の固体撮像装置の製造方法 実施例4の固体撮像装置の製造方法 実施例4の固体撮像装置の製造方法 実施例5の実施形態を説明する固体撮像装置の断面図 実施例6の実施形態を説明する固体撮像装置の断面図 本発明の固体撮像装置の回路の一例 実施例7の撮像システムを説明するブロック図
本発明の固体撮像装置は、光電変換素子および転送のためのゲート電極とを有する第1の基板と、周辺回路部を有する第2の基板とを積層して構成されている。そして、第1の基板には高融点金属化合物層が配されておらず、第2の基板には高融点金属化合物層が配される。このような構成によって、作り分けが容易であり、光電変換素子の特性の低下を抑制しつつ、周辺回路部のトランジスタの動作が高速になり、信号の読み出し動作を高速にすることが可能となる。
以下、本発明について図面を用いて詳細に説明を行う。
本発明の実施例1について、図1および図12を用いて説明する。
まず、図12を用いて実施例1の固体撮像装置の回路の一例を説明する。図12の固体撮像装置300は、複数の光電変換素子が配列した画素部301と、画素部301からの信号を読み出す駆動のための制御回路や読み出した信号を処理する信号処理回路を有する周辺回路部302とを有する。
画素部301は、光電変換素子303と、転送トランジスタ304と、増幅トランジスタ306と、リセットトランジスタ307が複数配置されている。少なくとも1つの光電変換素子303を含む構成を画素とする。本実施例の1つの画素は、光電変換素子303と、転送トランジスタ304と、増幅トランジスタ306と、リセットトランジスタ307を含む。転送トランジスタ304のソースは光電変換素子303と接続しており、転送トランジスタ304のドレイン領域は増幅トランジスタ306のゲート電極と接続している。この増幅トランジスタ306のゲート電極と同一のノードをノード305とする。リセットトランジスタはノード305に接続し、ノード305の電位を任意の電位(例えば、リセット電位)に設定する。ここで、増幅トランジスタ306はソースフォロア回路の一部であり、ノード305の電位に応じた信号を信号線RLに出力する。
周辺回路部302は、画素部301のトランジスタのゲート電極へ制御信号を供給するための垂直走査回路VSRを有する。また、周辺回路部302は、画素部301から出力された信号を保持し、増幅や加算やAD変換などの信号処理回路を含む読み出し回路RCを有する。そして、周辺回路部302は、読み出し回路RCから信号を順次出力するタイミングを制御する制御回路の水平走査回路HSRを有する。
ここで、実施例1の固体撮像装置300は2つのチップが積層されることによって構成されている。2つのチップとは、画素部301の光電変換素子303と、転送トランジスタ304とが配された第1のチップ308と、画素部301の増幅トランジスタ306と、リセットトランジスタ307と、周辺回路部302とが配された第2のチップ309である。このような構成において、第2のチップ309の周辺回路部302から第1のチップ308の転送トランジスタ304のゲート電極へと制御信号が接続部310を介して供給される。また、第1のチップ308の光電変換素子303にて生じた信号は転送トランジスタ304のドレイン領域に接続する接続部311を介して、ノード305に読み出される。このようにリセットトランジスタ307や増幅トランジスタ306を別のチップに設けることで、光電変換素子303の面積を大きくすることが可能となり感度の向上させることが可能となる。また、面積を同一とするならば、光電変換素子303を多く設けることが可能となり、多画素化が可能となる。
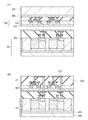
次に、図1を用いて本実施例の固体撮像装置を説明する。図1は、図12の固体撮像装置300に対応した固体撮像装置100の断面図である。図1は、図12の光電変換素子303、転送トランジスタ304、増幅トランジスタ306に対応する断面図であり、その他の部分については記載を省略する。図1は2画素分の構成を示している。
図1において、第1のチップ101と、第2のチップ102と、第1のチップと第2のチップとの接合面103とが示されている。第1のチップ101は図12の第1のチップ308と、第2のチップ102は図12の第2のチップ309と対応している。
第1のチップ101は第1の基板104を有する。第1の基板104において、トランジスタが形成される面を主面105とし、その反対の面を裏面106とする。第1の基板104には、図12における光電変換素子303、転送トランジスタ304を構成する部位が配されている。そして、第1のチップ101の第1の基板104の主面105側の上部には、例えばアルミニウムを主成分とした配線(アルミニウム配線)からなる第1の配線層122と第2の配線層123とを含む多層配線構造107を有する。ここでは、多層配線構造107の複数の層間絶縁膜を一体の絶縁膜として記載している。
第2のチップ102は第2の基板108を有する。第2の基板108において、トランジスタが形成される面を主面109とし、その反対の面を裏面110とする。第2の基板108の主面109の上部には、例えばアルミニウム配線からなる第1の配線層128と第2の配線層129とを含む多層配線構造111が形成されている。ここでも、多層配線構造111の複数の層間絶縁膜を一体の絶縁膜として示している。そして、第2の基板108には、図12における増幅トランジスタ306が配されている。なお、説明において、各チップにおいて、基板の主面から裏面に向う方向を下方向もしくは深い方向とし、裏面から主面に向う方向を上方向もしくは浅い方向とする。
ここで、本実施例の固体撮像装置においては、第1のチップ101と第2のチップ102のそれぞれの基板の主面105および主面109とが対向して積層されている。図1では、第1のチップ101と第2のチップ102の接続部の構成は、第1のチップ101のフローティングディフュージョン領域(FD領域)113と第2のチップ102の増幅トランジスタのゲート電極126との接続のみ示している。具体的には、第1のチップ101のFD領域113は多層配線構造107、接続部311、多層配線構造111を介して、増幅トランジスタのゲート電極126と接続している。なお、転送トランジスタのゲート電極114への制御信号を供給する図12に示す接続部310は図1においては不図示である。そして、本実施例の固体撮像装置においては、第1の基板104の裏面106側から光が入射する裏面入射型の固体撮像装置である。
各チップについて詳細に説明する。まず、第1のチップ101の第1の基板104には、ウエル115と、光電変換素子を形成するN型の電荷蓄積領域112と、転送トランジスタを構成する、ゲート電極114が配されている。更に、光電変換素子を形成するP型の表面保護層が電荷蓄積領域112の上部に配されている。更に、第1の基板104には、転送トランジスタのドレイン領域113と、素子分離領域117と、P型の半導体領域116とが配されている。ウエル115は、トランジスタや光電変換素子が配される半導体領域であり、ここではN型でもP型でもどちらでもよい。P型の半導体領域116は、第1の基板104の裏面106のシリコンとシリコン酸化膜界面にて生じる暗電流の抑制が可能であり、また光電変換素子の一部としても機能可能である。電荷蓄積領域112は、光電変換素子にて生じた電荷(電子)を蓄積し、図1では転送トランジスタのゲート電極側にP型の保護層を有している。素子分離領域117は、P型の半導体領域からなり、図示していないがLOCOS分離やSTI分離といった絶縁膜を含む素子分離構造を有していてもよい。転送トランジスタのドレイン領域113はFD領域であり、図12のノード305を構成する。そして、第1のチップ101は、第1の基板104の裏面106側に、反射防止膜118、遮光膜119、平坦化層などを含むカラーフィルタ層120、マイクロレンズ121を有する。
次に、第2のチップ102の第2の基板108には、ウエル124と、図12における増幅トランジスタ306を構成するソース領域およびドレイン領域125と、増幅トランジスタのゲート電極126と、素子分離領域127と、が配されている。ウエル124はP型の半導体領域である。ここで、本実施例の固体撮像装置の第2のチップ102に配されたトランジスタ(図12の増幅トランジスタ306)のソース領域およびドレイン領域125とゲート電極126とは高融点金属化合物層130を有する。また、同じく第2のチップ102に配される図12の周辺回路部302を構成する領域にも高融点金属化合物を含むトランジスタが配される(不図示)。高融点金属化合物とは、例えば、半導体基板にシリコンを用いた場合には、高融点金属であるコバルトやチタンなどを用いたシリサイドである。
一方、第1の基板104のトランジスタなどには高融点金属化合物層は形成されておらず、第1の基板104の主面105の上部には、多層配線構造を構成する絶縁膜が配されている。このように、第1の基板104には高融点金属化合物層は形成されておらず、第2の基板に配された周辺回路部のトランジスタが高融点金属化合物を有することで、ノイズを低減しつつ、トランジスタの動作の高速化が可能となる。また、このような高融点金属化合物を有するトランジスタを第2のチップ102にのみ有することで、光電変換素子への高融点金属の混入を低減することが可能となり、高融点金属の混入によって生じるノイズを低減することが可能となる。また、同一基板上に高融点金属化合物を設ける領域と設けない領域とを作り分ける必要がないため高融点金属化合物が形成しないように保護する膜などが不要となり、すなわち各基板は簡易な構成となり、簡易な工程での製造が可能である。
なお、本実施例では光電変換素子に加えてFD領域を第1の基板104に形成している。それは、光電変換素子で生じた信号電荷が保持される光電変換素子やFD領域を構成する半導体領域に高融点金属化合物層を設けると、高融点金属が半導体領域に混入して生じたノイズが信号電荷に混入してしまうためである。なお、増幅トランジスタが第1の基板に配された場合には、増幅トランジスタに高融点金属化合物層は形成しない。
本実施形態では、各配線層はアルミニウム配線からなるとしたが、銅を主成分とした配線(銅配線)によって構成されていてもよい。銅配線の上部には銅に対する拡散防止膜が設けられていてもよく、銅に対する拡散防止膜はパターニングされていてもよい。
本実施例の固体撮像装置を図2を用いて説明する。本実施例の固体撮像装置は、実施例1の固体撮像装置とは、図12に示すような回路は等しく、チップの積層構造が異なる。以下、回路については説明を省略し、図2に示す構成について説明を行う。
図2は、図12の回路に対応した固体撮像装置200の断面図である。図2は、図12の光電変換素子303、転送トランジスタ304、増幅トランジスタ306に対応する、2画素分の断面図であり、その他の部分については記載を省略する。
図2には、第1のチップ201と、第2のチップ202と、第1のチップと第2のチップとの接合面203とが示されている。第1のチップ201は図12の第1のチップ308と、第2のチップ202は図12の第2のチップ309と対応している。
第1のチップ201は第1の基板204を有する。第1の基板204において、トランジスタが配される面を主面205とし、その反対の面を裏面206とする。第1の基板204には、図12における光電変換素子303、転送トランジスタ304を構成する部位が配されている。そして、第1の基板204の主面205の上部には、アルミニウム配線からなる第1の配線層222と第2の配線層223とを含む多層配線構造207が配されている。ここでは、多層配線構造207の複数の層間絶縁膜を一体の絶縁膜として記載している。
第2のチップ202は第2の基板208を有する。第2の基板208において、トランジスタが形成される面を主面209とし、その反対の面を裏面210とする。第2の基板208の主面209の上部には、アルミニウム配線からなる第1の配線層228と第2の配線層229とを含む多層配線構造211が配されている。ここでも、多層配線構造211の複数の層間絶縁膜を一体の絶縁膜として示している。そして、第2の基板208には、図12における増幅トランジスタ306を構成する部位が配されている。
ここで、本実施例の固体撮像装置においては、第1の基板204の主面205と第2の基板208の裏面210とが対向して積層されている。図2では、第1のチップ201と第2のチップ202の接続部の構成は、第1のチップ201のFD領域213と第2のチップ202の増幅トランジスタのゲート電極226との接続のみ示している。具体的には、第1のチップ201のFD領域213は、多層配線構造207、接続部311、多層配線構造211を介して、増幅トランジスタのゲート電極226と接続している。ここで、接続部311の一部を構成する、第2の基板208を関する貫通電極235が配されている。この貫通電極によって、FD領域213と増幅トランジスタのゲート電極226とが接続される。なお、転送トランジスタのゲート電極214への制御信号を供給する、図12における接続部310は図2においては不図示である。そして、本実施例の固体撮像装置においては、第1の基板204の裏面206側から光が入射する裏面入射型の固体撮像装置である。
次に、各チップについて詳細に説明する。第1のチップ201の第1の基板204には、ウエル215と、光電変換素子を形成するN型の電荷蓄積領域212と、転送トランジスタのゲート電極214とが配されている。更に、第1の基板204には転送トランジスタのドレイン領域213と、素子分離領域217と、P型の半導体領域216とが配されている。そして、第1のチップ201は、第1の基板204の裏面206側に、反射防止膜218、遮光膜219、平坦化層などを含むカラーフィルタ層220、マイクロレンズ221を有する。次に、第2のチップ202の第2の基板208には、ウエル224と、図12の増幅トランジスタ306を構成するソース領域、ドレイン領域225およびゲート電極226と、素子分離領域227と、が配されている。更に、第2の基板208の上部に第1の配線層228、第2の配線層229を有し、第2の基板208の最深部に絶縁層234を有する。これら第1のチップ201と第2のチップ202の構成について、実施例1と同様な構成については説明を省略する。
実施例2においては、更に、第2のチップ202の上部に接着層232と支持基板233とを有している。実施例2における絶縁層、接着層232、支持基板233については後述する。
ここで、本実施例の固体撮像装置の第2のチップ202に配されたトランジスタ(図12の増幅トランジスタ306)のソース領域およびドレイン領域225とゲート電極226とは高融点金属化合物層230を有する。また、同じく第2のチップ202に配される図12に示す周辺回路部302を構成する領域にも高融点金属化合物を含むトランジスタが配される(不図示)。高融点金属化合物とは、例えば、半導体基板にシリコンを用いた場合には、高融点金属であるコバルトやチタンなどを用いたシリサイドである。第2の基板に配された周辺回路部などのトランジスタが高融点金属化合物を有することで、トランジスタの動作の高速化が可能となる。また、このような高融点金属化合物を有するトランジスタを第2のチップ202にのみ有することで、第1のチップ201の光電変換素子の特性の低下を抑制しつつ、光電変換素子の高融点金属の混入を低減することが可能となる。また、同一基板上に高融点金属化合物を設ける領域と設けない領域とを作り分ける必要がないため高融点金属化合物が形成しないように保護する膜などが不要となり、すなわち各基板は簡易な構成となり、簡易な工程での製造が可能である。
本実施例の固体撮像装置を図3を用いて説明する。本実施例の固体撮像装置は、実施例1の固体撮像装置100に対応し、実施例1の固体撮像装置100に対して拡散防止膜を有する点が異なる。以下、図3に示す構成について説明を行う。なお、実施例1と等しい構成については説明を省略する。
図3の固体撮像装置400において、拡散防止膜131が第1のチップ101と第2のチップ102との間に配されている。このような拡散防止膜131を有することで、第2のチップに配された高融点金属化合物層の高融点金属が、多層配線構造111と107を拡散し、第1のチップの光電変換素子やFD領域を構成する半導体領域に混入することを抑制することが可能となる。従って、高融点金属が半導体領域に混入することによって生じる暗電流や(画像の)白傷の原因となるリーク電流の発生を、より抑制することが可能となる。
図3に示した固体撮像装置400の製造方法を図4および図5を用いて説明する。まず、図4(a)では、図3の第1の基板104となるフォトダイオード形成部材(以下PD形成部材)401と、図3の第2の基板108となる回路形成部材402とを準備する。これら部材は、例えばシリコン半導体基板であり、導電型は任意である。PD形成部材401は、P型半導体領域116と絶縁層403とを含む。このPD形成部材401は、SOI基板を使用しており、P型半導体領域116はイオン注入でもエピタキシャル成長によって形成されていてもよい。
次に、図4(b)に示すように、PD形成部材401に、電荷蓄積領域112や転送トランジスタのゲート電極114などの素子を形成する。そして、PD形成部材401の上部に多層配線構造107を形成する。多層配線構造107は、第1の配線層122および第2の配線層123を有する。第1の配線層122と第2の配線層123はそれぞれ複数の配線を含む。本実施例において各配線は、アルミニウム配線である。また、多層配線構造107は、配線同士を絶縁するための層間絶縁膜を有する。層間絶縁膜は、例えば、転送トランジスタのゲート電極と第1の配線層122との間や、第1の配線層122と第2の配線層123との間に配される。この多層配線構造107の形成には一般的な半導体プロセスが使用可能である。最後に、第2の配線層123を覆う層間絶縁膜を形成し、第2の配線層123の一部の配線が露出するように層間絶縁膜を除去する。露出した第2の配線層123は接続部311を構成する。PD形成部材401の転送トランジスタのゲート電極が配された面が、後の第1の基板104の主面105となる。
図4(b)においては、回路形成部材402に、ウエル124を形成し、増幅トランジスタ306を含むトランジスタ等の周辺回路部を形成する。その後、トランジスタのソース領域、ドレイン領域125およびゲート電極126など所望の位置に、高融点金属を堆積し、熱処理を行うことで高融点金属化合物層130を形成する。その後、回路形成部材402の上部に多層配線構造111を形成する。多層配線構造111は、第1の配線層128および第2の配線層129を有する。この多層配線構造111の構成や製造方法については、PD形成部材401の多層配線構造107と同様である。次に、第2の配線層129まで形成した後、第2の配線層129を覆う拡散防止膜131を形成する。拡散防止膜131はシリコンナイトライドやシリコンカーバイドなどで形成される。この拡散防止膜131は、高融点金属のPD形成部材401への拡散を抑制するための膜である。その後、接続部311を構成する第2の配線層129の一部の配線が露出するように拡散防止膜131を除去する。拡散防止膜の除去はエッチングやCMP技術を使用することが可能である。ここで、回路形成部材402は第2の基板108となる。第2の基板108の主面109が図4(b)に示すように定まる。
次に、図5(c)に示すように、PD形成部材401と回路形成部材402の基板の主面(105、109)が互いに対向するように配置し、例えば、マイクロバンプによって接合する。
最後に、図5(d)に示したように、PD形成部材401の不要部分404および絶縁層403をCMPやエッチングなどによって除去し、PD形成部材401の薄膜化をはかり、第1の基板104を構成する。その後、第1の基板104の裏面106の上部にシリコンナイトライドなどからなる反射防止膜118を形成する。反射防止膜118の形成後に、反射防止膜118の上部に、タングステン膜を形成しパターニングをすることで、遮光膜119を形成する。その後、平坦化層やカラーフィルタ層120を形成し、マイクロレンズ121を形成する。このような製造方法によって、図3に示した固体撮像装置400を製造することが可能である。
ここで、本実施例の構成によれば、多層配線構造107の層間絶縁膜を形成した後に、光電変換素子の欠陥回復を含む特性向上のための高温あるいは長時間の熱処理を行うことが可能となる。仮に、高融点金属化合物層を第1の基板が有している場合には、層間絶縁膜を形成する前に高融点金属の半導体化合物層を形成することになる。そして、層間絶縁膜を形成した後には、高融点金属の拡散などの問題により高温、長時間の熱処理を行うことが困難となってしまう。よって、本実施例の構成によれば、光電変換素子の欠陥回復のための熱処理を任意の工程で行うことが可能となるため、光電変換素子の特性の低下を抑制することが可能となる。
また、好ましい形態として、FD領域に設けられたコンタクトの接続抵抗を向上させるために、プラグと接続する半導体領域にイオン注入および熱処理を行うことが好ましい。しかし、先に述べたように、仮に、高融点金属化合物層を第1の基板が有している場合には、層間絶縁膜を形成した後に行われるコンタクト形成工程における熱処理を行うことが難しくなってしまう。よって、本実施例の構成によれば、周辺回路部に高融点金属化合物層を設けつつ、高融点金属化合物層を設けていないFD領域のコンタクトの形成工程において十分な熱処理を行うことが可能となる。従って、FD領域での高融点金属の汚染を抑制しつつ、FD領域のコンタクトの接続を良好にすることが可能となる。
以上述べてきたように、本実施例の固体撮像装置によれば、周辺回路部のトランジスタの動作が高速になり、信号の読み出し動作を高速にしつつ、更に、光電変換素子での暗電流の発生を抑制することが可能となる。
本実施例の固体撮像装置を図6を用いて説明する。本実施例の固体撮像装置500は、実施例2の固体撮像装置300に対応する構成であり、実施例2の固体撮像装置に比べて拡散防止膜を有する点が異なる。以下、図6に示す構成について説明を行う。なお、実施例2と等しい構成については説明を省略する。
図6の固体撮像装置500において、高融点金属に対する拡散防止膜231が第1のチップ201と第2のチップ202との間に配されている。拡散防止膜231を有することで、第2のチップに配された高融点金属化合物層の高融点金属が第1のチップの光電変換素子やFD領域を構成する半導体領域に混入することを、より抑制することが可能となる。よって、暗電流や(画像の)白傷の発生を抑制することが可能となる。なお、拡散防止膜231は、例えば、シリコンナイトライドやシリコンカーバイドからなる膜である。
次に、図6に示した固体撮像装置500の製造方法を図7から図9を用いて説明する。まず、図7(a)において、図6の第1の基板204となるフォトダイオード形成基板(以下、PD形成部材)501と、図6の第2の基板208となる回路形成部材502とを準備する。PD形成部材501は、P型半導体領域216と絶縁層503とが配されている。PD形成部材501は、SOI基板を使用しており、P型半導体領域216はイオン注入でもエピタキシャル成長によって形成されていてもよい。回路形成部材502は、SOI基板を使用し、絶縁層234が配されている。
次に、図7(b)のPD形成部材501において、ウエル215や電荷蓄積領域212や転送トランジスタのゲート電極214などの素子を形成する。そして、PD形成部材501の上部に多層配線構造207を形成する。多層配線構造207は、第1の配線層222および第2の配線層223を有する。多層配線構造207の構成や製造方法については、実施例3と同様であるため省略する。次に、第2の配線層223を覆う層間絶縁膜を形成し、第2の配線層223の配線が露出するように層間絶縁膜を除去する。第2の配線層223は接続部311を構成する。そして、第2の配線層223を覆う、シリコンナイトライドやシリコンカーバイドなどからなる拡散防止膜231を形成する。なお、第2の配線層223と拡散防止膜231との間に、第2の配線層223を覆う層間絶縁膜が配されていてもよい。
また、図7(b)の回路形成部材502において、ウエル224や増幅トランジスタを含むトランジスタを形成する。その後、トランジスタのソース領域、ドレイン領域およびゲート電極など所望の位置に、高融点金属を堆積し、熱処理を行うことで高融点金属化合物層230を形成する。その後、回路形成部材502の上部に多層配線構造211を形成する。多層配線構造211は第1の配線層228を有する。この第1の配線層228の構成や製造方法については、実施例3と同様である。
次に、図8(c)において、回路形成部材502の第1の配線層228の上部に接着層506と支持基板507を形成する。そして、回路形成部材502の不要部分504を研磨やエッチングによって除去し、第2の基板208を形成する。
図8(d)において、図6の第1の基板204となるPD形成部材501の主面205と第2の基板208の裏面210とが対向するように配置し、例えば、マイクロバンプによって接合する。その後、第1の接着層506と第1の支持基板507を除去する。そして、第2の基板208の第1の配線層228の上部に層間絶縁膜を形成し、第1の基板204との導通を取るための貫通電極235を形成する。この貫通電極235の製造方法については、一般の半導体プロセスが利用できる。そして、貫通電極235を覆って、第2の配線層229を形成する。
次に、図9に示すように、第2の基板208の第2の配線層229の上部に接着層232と支持基板233を設ける。そして、PD形成部材501の不要部分505をエッチングやCMPなどによって除去し、第1の基板204が形成される。その後、第1の基板204の裏面206の上部に例えばシリコンナイトライドからなる反射防止膜218を形成する。その後、反射防止膜218の上部に例えばタングステンからなる遮光膜219を形成する。更に、遮光膜219の上部に平坦化層やカラーフィルタ層120を形成し、マイクロレンズ121を形成する。以上の製造方法によって、図6に示す固体撮像装置500が形成できる。
なお、本実施例の構成においても、光電変換素子やコンタクトの熱処理を任意の工程で行えるため、光電変換素子の特性の低下やコンタクトの接続抵抗の増大を抑制することが可能となる。
以上、述べてきたように、本実施例の固体撮像装置によれば、周辺回路部のトランジスタの動作が高速になり、信号の読み出し動作を高速にしつつ、更に、光電変換素子での暗電流の発生を抑制することが可能となる。
本実施例の固体撮像装置を、図10を用いて説明する。図10に示す本実施例の固体撮像装置600、610、620は、実施例3の固体撮像装置400に対応する構成であり、拡散防止膜131の配置の変形例を示す。以下、実施例3と等しい構成については説明を省略する。
図10(a)に示す固体撮像装置600において、拡散防止膜131は、第1の基板104と第2の基板108との間に配され、更に、第1の基板104の上部に配された多層配線構造107に含まれる層間絶縁膜を兼ねている。このような構成によって、層間絶縁膜を形成する工程を削減することが可能となり、固体撮像装置の薄膜化が可能となる。また、固体撮像装置600は裏面照射型なので、例えばシリコンナイトライドからなる拡散防止膜131を光電変換素子の上部に全面に設けたとしても、層間絶縁膜として一般的なシリコン酸化膜と拡散防止膜131との屈折率差による反射等は生じない。よって、光学特性の低下を抑制しつつ、第2基板108からの高融点金属の拡散を抑制することが可能となる。なお、拡散防止膜131を層間絶縁膜として兼ねる構成は、図10(a)の構成に限らず、例えば、第2の基板108の上部に配される多層配線構造111中の層間絶縁膜であってもよい。
次に、図10(b)に示す固体撮像装置610において、拡散防止膜131は、第1の基板104と第2の基板108との間に配される。そして、拡散防止膜131は、第2の基板108のソース領域およびドレイン領域125とゲート電極126上の高融点金属化合物層130に接して形成されている。このような構成にすることで、拡散防止膜131は第2の基板108のコンタクトホール形成時のエッチングストップ層としても使用することが可能となる。
次に、図10(c)に示す固体撮像装置620において、拡散防止膜131は、第1の基板104と第2の基板108との間に配され、第2の基板108の第1の配線層228の上部に接して配されている。第1の配線層228は銅配線からなり、拡散防止膜131は銅に対する拡散防止膜としても機能する。このような構成を有することで、銅に対する拡散防止膜とを形成する工程が削減でき、また固体撮像装置の薄膜化が可能となる。なお、拡散防止膜131を銅に対する拡散防止膜と兼ねる構成は図10(c)の構成に限られない。例えば、第1の基板104の上部に配された多層配線構造107が銅配線で構成され、拡散防止膜131を各配線層に対して設けてもよい。
本実施例の固体撮像装置を、図11を用いて説明する。図11に示す本実施例の固体撮像装置700、710、720は、実施例4の固体撮像装置500に対応する構成であり、拡散防止膜231の配置の変形例を示す。以下、実施例4と等しい構成については説明を省略する。
図11(a)に示す固体撮像装置700において、拡散防止膜231は、第1の基板204と第2の基板208との間に配され、更に、第1の基板204の上部に配された多層配線構造207に含まれる層間絶縁膜を兼ねている。このような構成によって、層間絶縁膜を形成する工程を削減することが可能となり、固体撮像装置の薄膜化が可能となる。また、固体撮像装置700は裏面照射型である。よって、例えばシリコンナイトライドからなる拡散防止膜231を光電変換素子の上部に全面に設けたとしても、層間絶縁膜として一般的なシリコン酸化膜と拡散防止膜231との屈折率差による入射光の反射について検討が不要である。よって、第2基板208からの高融点金属の拡散を抑制することが可能となる。
また、図11(b)に示す固体撮像装置710においては、拡散防止膜231は、第1の基板204と第2の基板208との間に配され、第1の基板208の第1の配線層222の上部に接して配されている。第1の配線層222は銅配線からなり、拡散防止膜231は銅に対する拡散防止膜としても機能する。このような構成を有することで、銅に対する拡散防止膜を形成する工程が削減でき、また固体撮像装置の薄膜化が可能となる。なお、拡散防止膜231を銅に対する拡散防止膜と兼ねる構成は図11(b)の構成に限られない。例えば、図11(c)に示すように、第1の基板204の上部に配された多層配線構造207のうち、第2の配線層223が銅配線で構成され、拡散防止膜231が第2の配線層223の上部に配されていてもよい。このとき、第1の配線層222の上部に拡散防止膜231が配されていても良い。また、配線層間の容量を低減するために、第1の配線層222の上部には銅に対する拡散防止膜が配線の形状に沿ってパターニングされ、一部除去されていてもよい。また、図11(c)のように、第2の基板208の上部に配された多層配線構造211が銅配線によって構成されていてもよく、更に、銅の拡散防止膜901を有していてもよい。
本実施例では、本発明の光電変換装置を撮像装置として撮像システムに適用した場合について詳述する。撮像システムとして、デジタルスチルカメラやデジタルカムコーダーなどがあげられる。図13に、撮像システムの例としてデジタルスチルカメラに光電変換装置を適用した場合のブロック図を示す。
図13において、1はレンズの保護のためのバリア、2は被写体の光学像を撮像装置4に結像させるレンズ、3はレンズ2を通った光量を可変するための絞りである。4は上述の各実施例で説明した固体撮像装置である撮像装置である。撮像装置4は、レンズ2により結像された光学像を画像データとして変換する。ここで、撮像装置4にはAD変換器が配され、具体的には第2のチップにAD変換器が形成されている。7は撮像装置4より出力された撮像データに各種の補正やデータを圧縮する信号処理部である。そして、図13において、8は撮像装置4および信号処理部7に、各種タイミング信号を出力するタイミング発生部、9は各種演算とデジタルスチルカメラ全体を制御する全体制御・演算部である。10は画像データを一時的に記憶する為のメモリ部、11は記録媒体に記録または読み出しを行うためのインターフェース部、12は撮像データの記録または読み出しを行う為の半導体メモリ等の着脱可能な記録媒体である。そして、13は外部コンピュータ等と通信する為のインターフェース部である。ここで、タイミング信号などは撮像システムの外部から入力されてもよく、撮像システムは少なくとも撮像装置4と、撮像装置から出力された撮像信号を処理する信号処理部7とを有すればよい。本実施例では、撮像装置4にAD変換器が設けられている場合を説明したが、撮像装置とAD変換器とが別のチップであってもよい。また、撮像装置4に信号処理部7などが設けられていてよい。撮像装置4の第2のチップには高融点金属化合物層が形成されているため、信号処理などを高速に行うことが可能である。以上のように、本発明の光電変換装置を撮像システムに適用することが可能である。本発明の光電変換装置を撮像システムに適用することにより、高速な撮影が可能となる。
以上述べてきたように、本発明の固体撮像装置によって、高速な動作が可能な固体撮像装置を提供することが可能となる。更に、拡散防止膜を設けることで、暗電流を低減することが可能となり、画像に白傷が生じることを抑制することが可能となる。各実施例は説明した構成に限定されず、また各実施例は適宜組み合わせ可能である。例えば、固体撮像装置は高融点金属に対する拡散防止膜を複数有していてもよい。
なお、高融点金属化合物層は、トランジスタのソース領域、ドレイン領域およびゲート電極の他に、ウエルコンタクトなどの半導体領域に電位を供給する部分に形成されていてもよい。
本発明は、デジタルスチルカメラやデジタルカムコーダーなどの撮像システムに用いられる固体撮像装置に適用可能である。
101 第1のチップ
102 第2のチップ
103 接合面
104 第1の基板
107 多層配線構造
108 第2の基板
111 多層配線構造
112 光電変換素子
124 ウエル
125 ソース・ドレイン領域
126 増幅トランジスタのゲート電極
130 高融点金属化合物層

Claims (17)

  1. 光電変換素子と前記光電変換素子からの電荷を転送するための転送トランジスタのゲート電極が配された第1の基板と、
    前記光電変換素子にて生じた電荷に基づく信号を読み出すための周辺回路部が配された第2の基板とを積層した固体撮像装置において、
    前記第2の基板に高融点金属化合物層が配され、
    前記第1の基板には高融点金属化合物層が配されていない固体撮像装置。
  2. 前記第1の基板の上部に、アルミニウム配線あるいは銅配線からなる配線層が配され、
    前記第2の基板の上部に、アルミニウム配線あるいは銅配線からなる配線層が配されていることを特徴とする請求項1に記載の固体撮像装置。
  3. 前記第1の基板と前記第2の基板との間に、前記高融点金属に対する拡散防止膜を有する請求項1あるいは2のいずれかに記載の固体撮像装置。
  4. 前記転送トランジスタのゲート電極が配された前記第1の基板の主面と、前記周辺回路部のトランジスタが形成された前記第2の基板の主面と、を対向して積層した請求項1あるいは2のいずれかに記載の固体撮像装置。
  5. 前記第1の基板と前記第2の基板との間に、前記高融点金属に対する拡散防止膜を有する請求項4項に記載の固体撮像装置。
  6. 前記第1の基板の上部に配線層と、層間絶縁膜とが配され、
    前記高融点金属に対する拡散防止膜は、前記第1の基板に配された層間絶縁膜であることを特徴とする請求項5に記載の固体撮像装置。
  7. 前記第2の基板の上部に配線層と、層間絶縁膜とが配され、
    前記高融点金属に対する拡散防止膜は、前記第2の基板に配された前記層間絶縁膜であることを特徴とする請求項5に記載の固体撮像装置。
  8. 前記高融点金属に対する拡散防止膜は、前記第2の基板に配された高融点金属化合物層を有するトランジスタの前記高融点金属化合物層に接して配されていることを特徴とする請求項5に記載の固体撮像装置。
  9. 少なくとも前記第1の基板あるいは前記第2の基板の上部に銅配線からなる配線層が配され、
    前記銅配線からなる配線層の上部に、銅に対する拡散防止膜が配され、
    前記銅に対する拡散防止膜が、前記高融点金属に対する拡散防止膜を兼ねることを特徴とする請求項5に記載の固体撮像装置。
  10. 前記転送トランジスタのゲート電極とが配された前記第1の基板の主面と、前記周辺回路部においてトランジスタが形成された前記第2の基板の主面と反対の面と、が対向して積層された請求項1あるいは2のいずれかに記載の固体撮像装置。
  11. 前記第1の基板と前記第2の基板との間に、前記高融点金属に対する拡散防止膜を有する請求項10項に記載の固体撮像装置。
  12. 前記第1の基板の上部に配線層と、前記配線層に接して配される層間絶縁膜とが配され、
    前記高融点金属に対する拡散防止膜は、前記第1の基板に配された層間絶縁膜であることを特徴とする請求項11に記載の固体撮像装置。
  13. 前記高融点金属に対する拡散防止膜は、前記第2の基板の裏面に接して配されていることを特徴とする請求項11に記載の固体撮像装置。
  14. 少なくとも前記第1の基板の上部に銅配線からなる配線層が配され、
    前記銅配線からなる配線層の上部に、銅に対する拡散防止膜が配され、
    前記銅に対する拡散防止膜が、前記高融点金属に対する拡散防止膜を兼ねることを特徴とする請求項11に記載の固体撮像装置。
  15. 前記第1の基板に、前記転送トランジスタのゲート電極によって前記光電変換素子からの前記電荷が転送されるフローティングディフュージョン領域とが配され、
    前記第2の基板に、前記フローティングディフュージョン領域の電位に基づく信号が入力されるゲート電極を有する増幅トランジスタと、前記増幅トランジスタのゲート電極をリセット電位に設定するためのリセットトランジスタとが配され、前記第2の基板の上部には前記増幅トランジスタのゲート電極に基づく信号が出力される信号線とが配されることを特徴とする請求項1乃至14のいずれか1項に記載の固体撮像装置。
  16. 前記第1の基板に、前記転送トランジスタのゲート電極によって前記光電変換素子からの前記電荷が転送されるフローティングディフュージョン領域と、前記フローティングディフュージョン領域の電位に基づく信号が入力されるゲート電極を有する増幅トランジスタと、前記増幅トランジスタのゲート電極をリセット電位に設定するためのリセットトランジスタとが配され、
    前記第2の基板の上部に、前記増幅トランジスタのゲート電極に基づく信号が出力される信号線が配されることを特徴とする請求項1乃至14のいずれか1項に記載の固体撮像装置。
  17. 請求項1乃至16のいずれか1項に記載の固体撮像装置と、
    前記固体撮像装置から出力される信号を処理する信号処理部とを有する撮像システム。
JP2014052329A 2014-03-14 2014-03-14 固体撮像装置の製造方法 Active JP5784167B2 (ja)

Priority Applications (1)

Application Number Priority Date Filing Date Title
JP2014052329A JP5784167B2 (ja) 2014-03-14 2014-03-14 固体撮像装置の製造方法

Applications Claiming Priority (1)

Application Number Priority Date Filing Date Title
JP2014052329A JP5784167B2 (ja) 2014-03-14 2014-03-14 固体撮像装置の製造方法

Related Parent Applications (1)

Application Number Title Priority Date Filing Date
JP2011547189A Division JP5501379B2 (ja) 2009-12-26 2009-12-26 固体撮像装置および撮像システム

Publications (2)

Publication Number Publication Date
JP2014123771A true JP2014123771A (ja) 2014-07-03
JP5784167B2 JP5784167B2 (ja) 2015-09-24

Family

ID=51403965

Family Applications (1)

Application Number Title Priority Date Filing Date
JP2014052329A Active JP5784167B2 (ja) 2014-03-14 2014-03-14 固体撮像装置の製造方法

Country Status (1)

Country Link
JP (1) JP5784167B2 (ja)

Cited By (12)

* Cited by examiner, † Cited by third party
Publication number Priority date Publication date Assignee Title
KR20170129447A (ko) * 2016-05-17 2017-11-27 에스케이하이닉스 주식회사 수직 채널을 갖는 전달 트랜지스터 및 박막 채널을 갖는 픽셀 트랜지스터들을 포함하는 이미지 센서
JPWO2016136488A1 (ja) * 2015-02-27 2017-12-07 ソニー株式会社 半導体装置、固体撮像素子、撮像装置、並びに電子機器
WO2019130702A1 (ja) * 2017-12-27 2019-07-04 ソニーセミコンダクタソリューションズ株式会社 撮像装置
WO2020075583A1 (ja) * 2018-10-12 2020-04-16 ソニーセミコンダクタソリューションズ株式会社 半導体装置、固体撮像素子
WO2020241717A1 (ja) * 2019-05-31 2020-12-03 ソニーセミコンダクタソリューションズ株式会社 固体撮像装置
WO2020262199A1 (ja) * 2019-06-26 2020-12-30 ソニーセミコンダクタソリューションズ株式会社 半導体装置および撮像装置
WO2020262643A1 (ja) * 2019-06-26 2020-12-30 ソニーセミコンダクタソリューションズ株式会社 固体撮像装置
WO2020261817A1 (ja) * 2019-06-25 2020-12-30 ソニーセミコンダクタソリューションズ株式会社 固体撮像素子、固体撮像素子の製造方法
JP2021093397A (ja) * 2019-12-06 2021-06-17 キヤノン株式会社 半導体装置および機器
WO2023106308A1 (ja) * 2021-12-10 2023-06-15 ソニーセミコンダクタソリューションズ株式会社 受光装置
JP2024056782A (ja) * 2015-07-17 2024-04-23 株式会社半導体エネルギー研究所 撮像装置
JP2024100871A (ja) * 2015-06-19 2024-07-26 株式会社半導体エネルギー研究所 撮像装置

Citations (5)

* Cited by examiner, † Cited by third party
Publication number Priority date Publication date Assignee Title
JP2004023107A (ja) * 2002-06-20 2004-01-22 Samsung Electronics Co Ltd イメージセンサ及びその製造方法
US20070018075A1 (en) * 2005-07-21 2007-01-25 Stmicroelectronics S.A. Image sensor
JP2007228460A (ja) * 2006-02-27 2007-09-06 Mitsumasa Koyanagi 集積センサを搭載した積層型半導体装置
JP2009302565A (ja) * 2009-09-16 2009-12-24 Sony Corp 固体撮像素子及び固体撮像素子の製造方法
JP5501379B2 (ja) * 2009-12-26 2014-05-21 キヤノン株式会社 固体撮像装置および撮像システム

Patent Citations (5)

* Cited by examiner, † Cited by third party
Publication number Priority date Publication date Assignee Title
JP2004023107A (ja) * 2002-06-20 2004-01-22 Samsung Electronics Co Ltd イメージセンサ及びその製造方法
US20070018075A1 (en) * 2005-07-21 2007-01-25 Stmicroelectronics S.A. Image sensor
JP2007228460A (ja) * 2006-02-27 2007-09-06 Mitsumasa Koyanagi 集積センサを搭載した積層型半導体装置
JP2009302565A (ja) * 2009-09-16 2009-12-24 Sony Corp 固体撮像素子及び固体撮像素子の製造方法
JP5501379B2 (ja) * 2009-12-26 2014-05-21 キヤノン株式会社 固体撮像装置および撮像システム

Cited By (37)

* Cited by examiner, † Cited by third party
Publication number Priority date Publication date Assignee Title
JP2021052210A (ja) * 2015-02-27 2021-04-01 ソニー株式会社 半導体装置、固体撮像装置、撮像装置、および電子機器
JPWO2016136488A1 (ja) * 2015-02-27 2017-12-07 ソニー株式会社 半導体装置、固体撮像素子、撮像装置、並びに電子機器
JP7131602B2 (ja) 2015-02-27 2022-09-06 ソニーグループ株式会社 半導体装置、固体撮像装置、撮像装置、および電子機器
US11004879B2 (en) 2015-02-27 2021-05-11 Sony Corporation Semiconductor device, solid-state image pickup element, imaging device, and electronic apparatus
JP7742455B2 (ja) 2015-06-19 2025-09-19 株式会社半導体エネルギー研究所 撮像装置
JP2024100871A (ja) * 2015-06-19 2024-07-26 株式会社半導体エネルギー研究所 撮像装置
JP2024056782A (ja) * 2015-07-17 2024-04-23 株式会社半導体エネルギー研究所 撮像装置
KR20170129447A (ko) * 2016-05-17 2017-11-27 에스케이하이닉스 주식회사 수직 채널을 갖는 전달 트랜지스터 및 박막 채널을 갖는 픽셀 트랜지스터들을 포함하는 이미지 센서
KR102467872B1 (ko) 2016-05-17 2022-11-16 에스케이하이닉스 주식회사 수직 채널을 갖는 전달 트랜지스터 및 박막 채널을 갖는 픽셀 트랜지스터들을 포함하는 이미지 센서
WO2019130702A1 (ja) * 2017-12-27 2019-07-04 ソニーセミコンダクタソリューションズ株式会社 撮像装置
US11798972B2 (en) 2017-12-27 2023-10-24 Sony Semiconductor Solutions Corporation Imaging element
US11600651B2 (en) 2017-12-27 2023-03-07 Sony Semiconductor Solutions Corporation Imaging element
US12266675B2 (en) 2017-12-27 2025-04-01 Sony Semiconductor Solutions Corporation Imaging element
JPWO2019131965A1 (ja) * 2017-12-27 2021-01-14 ソニーセミコンダクタソリューションズ株式会社 撮像素子
WO2019131965A1 (ja) * 2017-12-27 2019-07-04 ソニーセミコンダクタソリューションズ株式会社 撮像素子
WO2020075583A1 (ja) * 2018-10-12 2020-04-16 ソニーセミコンダクタソリューションズ株式会社 半導体装置、固体撮像素子
US12243884B2 (en) 2018-10-12 2025-03-04 Sony Semiconductor Solutions Corporation Semiconductor device and solid-state imaging sensor
WO2020241717A1 (ja) * 2019-05-31 2020-12-03 ソニーセミコンダクタソリューションズ株式会社 固体撮像装置
US12009381B2 (en) 2019-05-31 2024-06-11 Sony Semiconductor Solutions Corporation Solid-state imaging device
CN113841229A (zh) * 2019-06-25 2021-12-24 索尼半导体解决方案公司 固态摄像元件和固态摄像元件的制造方法
JP7558164B2 (ja) 2019-06-25 2024-09-30 ソニーセミコンダクタソリューションズ株式会社 固体撮像素子、固体撮像素子の製造方法
JPWO2020261817A1 (ja) * 2019-06-25 2020-12-30
WO2020261817A1 (ja) * 2019-06-25 2020-12-30 ソニーセミコンダクタソリューションズ株式会社 固体撮像素子、固体撮像素子の製造方法
US12272703B2 (en) 2019-06-25 2025-04-08 Sony Semiconductor Solutions Corporation Solid-state imaging element and solid-state imaging element manufacturing method
JPWO2020262199A1 (ja) * 2019-06-26 2020-12-30
TWI853040B (zh) * 2019-06-26 2024-08-21 日商索尼半導體解決方案公司 半導體裝置及攝像裝置
JP7541977B2 (ja) 2019-06-26 2024-08-29 ソニーセミコンダクタソリューションズ株式会社 固体撮像装置
KR20220022905A (ko) * 2019-06-26 2022-02-28 소니 세미컨덕터 솔루션즈 가부시키가이샤 고체 촬상 장치
US12136640B2 (en) 2019-06-26 2024-11-05 Sony Semiconductor Solutions Corporation Solid-state imaging device
JP7600108B2 (ja) 2019-06-26 2024-12-16 ソニーセミコンダクタソリューションズ株式会社 半導体装置および撮像装置
JPWO2020262643A1 (ja) * 2019-06-26 2020-12-30
WO2020262643A1 (ja) * 2019-06-26 2020-12-30 ソニーセミコンダクタソリューションズ株式会社 固体撮像装置
KR102806487B1 (ko) * 2019-06-26 2025-05-13 소니 세미컨덕터 솔루션즈 가부시키가이샤 고체 촬상 장치
WO2020262199A1 (ja) * 2019-06-26 2020-12-30 ソニーセミコンダクタソリューションズ株式会社 半導体装置および撮像装置
JP7479830B2 (ja) 2019-12-06 2024-05-09 キヤノン株式会社 半導体装置および機器
JP2021093397A (ja) * 2019-12-06 2021-06-17 キヤノン株式会社 半導体装置および機器
WO2023106308A1 (ja) * 2021-12-10 2023-06-15 ソニーセミコンダクタソリューションズ株式会社 受光装置

Also Published As

Publication number Publication date
JP5784167B2 (ja) 2015-09-24

Similar Documents

Publication Publication Date Title
JP5501379B2 (ja) 固体撮像装置および撮像システム
JP5489705B2 (ja) 固体撮像装置および撮像システム
JP5784167B2 (ja) 固体撮像装置の製造方法
KR102133067B1 (ko) 반도체장치 및 전자기기
WO2015174296A1 (ja) 固体撮像素子および固体撮像素子の製造方法、並びに電子機器
CN102024831A (zh) 固体摄像装置及其制造方法
JP2010278472A (ja) 固体撮像装置の製造方法
CN105185801B (zh) 固态图像拾取装置和图像拾取系统
JP2014053431A (ja) 固体撮像装置の製造方法
JP2006066710A (ja) 固体撮像装置及びその製造方法

Legal Events

Date Code Title Description
A521 Request for written amendment filed

Free format text: JAPANESE INTERMEDIATE CODE: A523

Effective date: 20140414

A621 Written request for application examination

Free format text: JAPANESE INTERMEDIATE CODE: A621

Effective date: 20140414

A131 Notification of reasons for refusal

Free format text: JAPANESE INTERMEDIATE CODE: A132

Effective date: 20140624

A521 Request for written amendment filed

Free format text: JAPANESE INTERMEDIATE CODE: A523

Effective date: 20140825

A131 Notification of reasons for refusal

Free format text: JAPANESE INTERMEDIATE CODE: A131

Effective date: 20150224

A521 Request for written amendment filed

Free format text: JAPANESE INTERMEDIATE CODE: A523

Effective date: 20150427

TRDD Decision of grant or rejection written
A01 Written decision to grant a patent or to grant a registration (utility model)

Free format text: JAPANESE INTERMEDIATE CODE: A01

Effective date: 20150623

A61 First payment of annual fees (during grant procedure)

Free format text: JAPANESE INTERMEDIATE CODE: A61

Effective date: 20150721

R151 Written notification of patent or utility model registration

Ref document number: 5784167

Country of ref document: JP

Free format text: JAPANESE INTERMEDIATE CODE: R151