JP2014088721A - 用水路補修用止水壁部材及び用水路補修用仮締切工法 - Google Patents

用水路補修用止水壁部材及び用水路補修用仮締切工法 Download PDF

Info

Publication number
JP2014088721A
JP2014088721A JP2012239836A JP2012239836A JP2014088721A JP 2014088721 A JP2014088721 A JP 2014088721A JP 2012239836 A JP2012239836 A JP 2012239836A JP 2012239836 A JP2012239836 A JP 2012239836A JP 2014088721 A JP2014088721 A JP 2014088721A
Authority
JP
Japan
Prior art keywords
hull
dam plate
water
movable
channel
Prior art date
Legal status (The legal status is an assumption and is not a legal conclusion. Google has not performed a legal analysis and makes no representation as to the accuracy of the status listed.)
Granted
Application number
JP2012239836A
Other languages
English (en)
Other versions
JP5956908B2 (ja
Inventor
Shigeaki Sekine
繁明 関根
Current Assignee (The listed assignees may be inaccurate. Google has not performed a legal analysis and makes no representation or warranty as to the accuracy of the list.)
Meiwa Industry Co Ltd
Original Assignee
Meiwa Industry Co Ltd
Priority date (The priority date is an assumption and is not a legal conclusion. Google has not performed a legal analysis and makes no representation as to the accuracy of the date listed.)
Filing date
Publication date
Application filed by Meiwa Industry Co Ltd filed Critical Meiwa Industry Co Ltd
Priority to JP2012239836A priority Critical patent/JP5956908B2/ja
Publication of JP2014088721A publication Critical patent/JP2014088721A/ja
Application granted granted Critical
Publication of JP5956908B2 publication Critical patent/JP5956908B2/ja
Expired - Fee Related legal-status Critical Current
Anticipated expiration legal-status Critical

Links

Images

Landscapes

  • Bulkheads Adapted To Foundation Construction (AREA)

Abstract

【課題】用水路の擁壁補修工事における仮締切作業を簡素化・効率化する。
【解決手段】舷側に杭装着筒部2を縦設した細長船体1の船底全長に、底堰板部3を下方へ突設し、船首及び船尾に先縁をシール板とした可動堰板部4を突設し、補修対象用水路01に細長船体1を浮かべ、所定位置で杭装着筒部2を通して杭5を打ち込み錨止し、可動堰板部の先端シール板を擁壁02に当接させて水路内に区画を形成すると共に、当該状態で船体に注水する等の重量を付加して喫水を深くし、底堰板部3及び可動堰板部4の下端を水路底03に所定深さまで食い込ませた後、当該区画内の水を排出して、船体自体を止水壁として仮締切を行う。
【選択図】図5

Description

本発明は、土底の用水路擁壁の補修工事を行う際に仮締切に使用する用水路補修用止水壁及び用水路補修用仮締切工法に関するものである。
矢板鋼板を両岸に打ち込んで擁壁とし、矢板鋼板の上端に笠木コンクリートを打設して形成した構造の用水路は、灌漑用水路として使用されている。これらの用水路は特に経年変化によって矢板鋼板部分が腐食して補修が必要となる。
灌漑用水路の擁壁補修は、農作物の灌漑を考慮すると、補修すべき水路を全面的に止水して行うことができない場合がある。その対策として補修区間を区切って順次補修を行うために、所定区間を止水し、止水区間に別にバイパス水路を構築したり、バイパス管を配置すると、そのための隣接用地が必要となる。
このため水路内において用水路の水流を阻害することなく補修すべき擁壁範囲を区切って、当該範囲を止水壁で囲繞し、止水壁内を排水して補修工事を行なわなければならない。止水壁の例としては、土嚢を積み上げて止水壁を構築することが知られているが、作業能率が悪い。
作業性を考慮して特許文献1(特開平11−36318号公報)には、矢板鋼板で仮締切用の止水壁を構築する手法が開示されている。また特許文献2(特開2002−30669号公報)にはボックス型の仮締切用枠体を使用し、前記枠体を連続させると共に枠体内に土砂を投入して止水壁とすることが開示されている。
特開平11−36318号公報。 特開2002−30669号公報。
矢板鋼板を打設して止水壁を構築するには、矢板鋼板の打ち込み引抜に作業機械を必要とし、且つ灌漑用水路のような小規模水路では、必ずしも効率的な締切工法とはいえない。
また仮締切用枠体を使用して止水壁を構築したとしても、締切に使用する土砂がそのまま用水路内に残ると、水路床が浅くなってしまうので浚渫作業が必要となる。
そこで本発明は、新規な止水壁部材及び当該止水壁部材を使用した仮締切工法を提案したものである。
本発明(請求項1)に係る用水路補修用止水壁部材は、舷側に適宜間隔で杭装着筒部を縦設した適宜長さの細長船体の船底全長に、底堰板部を下方へ突設し、前記底堰板部の下縁と対応する下縁を備えると共に、前記細長船体の船首及び船尾にそれぞれ水密に枢結し、先縁にシール板を突設した可動堰板部を設けてなることを特徴とするものである。
また本発明(請求項3)に係る用水路補修用仮締切工法は、前記用水路補修用止水壁部材を使用するもので、補修対象用水路に細長船体を浮かべて補修対象擁壁に対向して添わせ、当該位置で杭装着筒部を通して水路底に杭打ちを行って、細長船体単体又は所定間隔で複数船体縦列させて水路内に錨止し、単体船体の船首及び船尾、或いは縦列船体全体の船首及び船尾の可動堰板部の先端シール材を擁壁に当接させ、縦列船体間の可動堰板部を重ね合わせて補修対象擁壁を水路内において区切り、当該状態で船体に重量を付加して喫水を深くし、底堰板部及び可動堰板部の下端を水路底に所定深さまで食い込ませた後、当該区切範囲の水を排出してなることを特徴とするものである。
従って止水壁部材は用水路に浮かべて移動させて所定位置に錨止し、船体に土嚢を投入し、或いは注水して沈下させて底堰板部及び可動堰板部の下端を水路床に食い込ませることで、底堰板部及び可動堰板部と共に船体自体が止水壁を構成することになり、仮締切を実現し、仮締切された範囲で露出した矢板鋼板の擁壁を適宜な工法で補修するもので、当該箇所の擁壁補修を終えると、船体を浮上させて、次の補修区間に移動して仮締切をなすものである。
また請求項2記載に係る用水路補修用止水壁部材は、特に底堰板部を、船底に設けた装着板部と前記装着板部に着脱可能に設けた底堰板体で構成し、可動堰板部を、船首及び船尾に設けた可動装着板部と先縁にシール板を突設した可動堰板体で構成したもので、底堰板体及び可動堰板体の装着位置の選択や高さの相違するものを選択的に装着することで、用水路の水流深さに対応できる。
本発明は上記のとおりで、細長船体自体をそのまま喫水を深く下げることで仮締切の止水壁として使用するもので、止水壁構築部材の設置作業及び解体作業並びに次補修区間への部材の移動運搬作業を容易に行うことができ、補修工事の作業能率を著しく高めるものである。
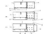
本発明の止水壁部材の要部分解斜視図。 同組立説明図。 本発明工法の作業手順の説明図(構築前・運搬時)。 同図(錨止時)。 同図(沈下時・止水壁構築時)。 同図(補修工事時)。 同図(平面図)。
次に本発明の実施形態について説明する。実施形態に示した用水路補修用止水壁部材は、細長船体1に、杭装着筒部2と、底堰板部3と、可動堰板部4を設けたものである。
細長船体1は、細幅で全長5〜20m程度の鋼船で、杭装着筒部2は、細長船体1の舷側に適宜間隔で縦設したものである。
底堰板部3は、細長船体1の船底全長で下方へ突設したもので、船底に設けた装着板部31と、前記装着板部31に着脱可能に設けた底堰板体32で構成したものである。尚底堰板体32は高さの相違するものを複数用意しておき、補修対象の用水路01の水量(水位)に対応して選択的に使用する。
可動堰板部4は、前記細長船体1の船首及び船尾に、用水路01の擁壁02の補修作業を行うことができる空間を確保できるに十分な長さ(前後長)を備えて、基部を回動可能に設けたもので、可動装着板部41と可動堰板体42で構成してなる。可動装着板部41は、細長船体1の船首及び船尾に水密に枢結して回動可能としたものである。
可動堰板体42は、前記可動装着板部41に着脱可能に設けたもので、先縁にゴム質体で形成したシール板43を突設し、装着時に船体底堰板部3の前後端部を覆う小シール板44を付設してなるものである。尚可動堰板体42は、前記底堰板体32と同様には高さの相違するものを複数用意しておき、底堰板体32と対応して選択的に装着するものである。また前記のシール板43及び小シール板44は、後述する底堰板体32及び可動堰板体42の下縁が水路底03に食い込む深さ分を、下縁から間隔を空けて設けておく。
次に前記用水路補修用止水壁部材を使用して用水路補修用仮締切を行う本発明工法について説明する。
実施形態として示す用水路補修用仮締切工法は、細長船体1を二艘使用する例を示すが、本発明工法は一艘でもまた多数艘でも使用できるものである。
使用する細長船体1a,1bには、予め用水路01の水位に合わせて所定の底堰板体32及び可動堰板体42を装着しておく。この細長船体1a,1bを縦列して用水路01に浮かべ、補修対象の擁壁02と補修工事の空間が確保できる分の距離をとって対向して添わせる(図3)。
次に当該位置で杭装着筒部2を通して杭5を水路底03に打ち込み、細長船体1a,1bを所定間隔で複数船体縦列させて用水路01内で錨止する(図4)。更に可動堰板部4を回動して所定位置とするもので、具体的には先方細長船体1aの船首の可動堰板部4と、後方細長船体1bの船尾の可動堰板部4は、それぞれ擁壁02に先端のシール板43が当接するようにし、前後細長船体1a,1bの間の可動堰板部4は、互いに重ね合わせて細長船体1a,1bと各可動堰板部4で、補修対象擁壁02を用水路01内において区切るように配置する(図7)。
そして前記の区切られた作業空間04となる範囲の用水05をポンプで汲み上げて、細長船体1a,1b内に注水する(図5)。細長船体1a,1bは、その注水量に応じて沈下するので、注水された細長船体1a,1bの重みで底堰板体32及び可動堰板体42の下縁が水路底03に食い込むまで注水する。
細長船体1a,1bが所定位置(底堰板体32及び可動堰板体42で作業空間04が他の部分から遮断される位置)まで沈下したら、作業空間04となる範囲の用水05の全てを用水路01の水流側に排出する(図6)。そうすると作業空間04は、細長船体1a,1b、底堰板体32及び可動堰板体42が止水壁となって仮締切が実現し、露出した矢板鋼板の擁壁02の補修作業が可能となる。
当該区間の擁壁02の補修作業が終了すると、細長船体1a,1bの船体内の用水05を作業空間04に排出し、更に作業空間04を満水にすると、細長船体1a,1bが浮上し、底堰板体32及び可動堰板体42が水路底03から引き抜かれる。更に杭5を引き抜いて細長船体1a,1bの移動を可能として、次の補修工事区間に移動させ、補修工事を続行するものである。
このように用水路01に浮かべた細長船体1自体を止水壁として仮締切を実現して、順次用水路の補修工事を行うようにしたものである。
尚前記実施形態は、底堰板部3及び可動堰板部4を、装着板部31と底堰板体32並びに可動装着板部41と可動堰板体42で構成し、複数の底堰板体32並びに可動堰板体42から用水路01の水位に合わせて選択装着する例を示したが、底堰板体32並びに可動堰板体42を上下位置調整自在に装着するようにしても良いし、また所定範囲の水位で使用するように着脱構造の底堰板体32並びに可動堰板体42を採用しなくとも良い。
1(1a,1b) 細長船体
2 杭装着筒部
3 底堰板部
31 装着板部
32 底堰板体
4 可動堰板部
41 可動装着板部
42 可動堰板体
43 シール板
44 小シール板
5 杭
01 用水路
02 擁壁
03 水路底
04 作業空間
05 用水

Claims (3)

  1. 舷側に適宜間隔で杭装着筒部を縦設した適宜長さの細長船体の船底全長に、底堰板部を下方へ突設し、前記底堰板部の下縁と対応する下縁を備えると共に、前記細長船体の船首及び船尾にそれぞれ水密に枢結し、先縁にシール板を突設した可動堰板部を設けてなることを特徴とする用水路補修用止水壁部材。
  2. 底堰板部を、船底に設けた装着板部と前記装着板部に着脱可能に設けた底堰板体で構成し、可動堰板部を、船首及び船尾に設けた可動装着板部と先縁にシール板を突設した可動堰板体で構成した請求項1記載の用水路補修用止水壁部材。
  3. 舷側に適宜間隔で杭装着筒部を縦設した適宜長さの細長船体の船底全長に、底堰板部を下方へ突設し、前記底堰板部の下縁と対応する下縁を備えると共に、前記細長船体の船首及び船尾にそれぞれ水密に枢結し、先縁にシール板を突設した可動堰板部を設けてなる用水路補修用止水壁部材を使用し、補修対象用水路に細長船体を浮かべて補修対象擁壁に対向して添わせ、当該位置で杭装着筒部を通して水路底に杭打ちを行って、細長船体単体又は所定間隔で複数船体縦列させて水路内に錨止し、単体船体の船首及び船尾、或いは縦列船体全体の船首及び船尾の可動堰板部の先端シール材を擁壁に当接させ、縦列船体間の可動堰板部を重ね合わせて補修対象擁壁を水路内において区切り、当該状態で船体に重量を付加して喫水を深くし、底堰板部及び可動堰板部の下端を水路底に所定深さまで食い込ませた後、当該区切範囲の水を排出してなることを特徴とする用水路補修用仮締切工法。
JP2012239836A 2012-10-31 2012-10-31 用水路補修用止水壁部材及び用水路補修用仮締切工法 Expired - Fee Related JP5956908B2 (ja)

Priority Applications (1)

Application Number Priority Date Filing Date Title
JP2012239836A JP5956908B2 (ja) 2012-10-31 2012-10-31 用水路補修用止水壁部材及び用水路補修用仮締切工法

Applications Claiming Priority (1)

Application Number Priority Date Filing Date Title
JP2012239836A JP5956908B2 (ja) 2012-10-31 2012-10-31 用水路補修用止水壁部材及び用水路補修用仮締切工法

Publications (2)

Publication Number Publication Date
JP2014088721A true JP2014088721A (ja) 2014-05-15
JP5956908B2 JP5956908B2 (ja) 2016-07-27

Family

ID=50790820

Family Applications (1)

Application Number Title Priority Date Filing Date
JP2012239836A Expired - Fee Related JP5956908B2 (ja) 2012-10-31 2012-10-31 用水路補修用止水壁部材及び用水路補修用仮締切工法

Country Status (1)

Country Link
JP (1) JP5956908B2 (ja)

Cited By (5)

* Cited by examiner, † Cited by third party
Publication number Priority date Publication date Assignee Title
CN108040821A (zh) * 2017-11-06 2018-05-18 深圳市晟祥知识产权有限公司 一种浮板式自动控制灌溉装置
CN110284511A (zh) * 2019-06-21 2019-09-27 河海大学 超长湖底隧道多仓滚动式的围堰明挖施工方法
CN110453706A (zh) * 2019-09-18 2019-11-15 河南省水利勘测设计研究有限公司 用于渠道边坡修复的水下蓬式围堰
CN114277818A (zh) * 2021-12-21 2022-04-05 中交三公局第三工程有限公司 一种深水承台矩形钢板桩围堰结构及其施工方法
CN114753389A (zh) * 2022-03-28 2022-07-15 南水北调(山东)机电维修有限责任公司 深水条件下渠道衬砌修复专用自沉式组合钢围堰

Citations (4)

* Cited by examiner, † Cited by third party
Publication number Priority date Publication date Assignee Title
JPS5217320B1 (ja) * 1971-03-15 1977-05-14
JPS61286417A (ja) * 1985-06-12 1986-12-17 Nippon Kokan Kk <Nkk> 仮締切構造物
JPH06257163A (ja) * 1993-03-04 1994-09-13 Ishikawajima Harima Heavy Ind Co Ltd 浅水深基礎工事用渇水台船
JP2003129454A (ja) * 2001-10-30 2003-05-08 Ishikawajima Harima Heavy Ind Co Ltd フローティングゲート

Patent Citations (4)

* Cited by examiner, † Cited by third party
Publication number Priority date Publication date Assignee Title
JPS5217320B1 (ja) * 1971-03-15 1977-05-14
JPS61286417A (ja) * 1985-06-12 1986-12-17 Nippon Kokan Kk <Nkk> 仮締切構造物
JPH06257163A (ja) * 1993-03-04 1994-09-13 Ishikawajima Harima Heavy Ind Co Ltd 浅水深基礎工事用渇水台船
JP2003129454A (ja) * 2001-10-30 2003-05-08 Ishikawajima Harima Heavy Ind Co Ltd フローティングゲート

Cited By (9)

* Cited by examiner, † Cited by third party
Publication number Priority date Publication date Assignee Title
CN108040821A (zh) * 2017-11-06 2018-05-18 深圳市晟祥知识产权有限公司 一种浮板式自动控制灌溉装置
CN108040821B (zh) * 2017-11-06 2020-07-07 李德良 一种浮板式自动控制灌溉装置
CN110284511A (zh) * 2019-06-21 2019-09-27 河海大学 超长湖底隧道多仓滚动式的围堰明挖施工方法
CN110453706A (zh) * 2019-09-18 2019-11-15 河南省水利勘测设计研究有限公司 用于渠道边坡修复的水下蓬式围堰
CN110453706B (zh) * 2019-09-18 2024-06-04 河南省水利勘测设计研究有限公司 用于渠道边坡修复的水下蓬式围堰
CN114277818A (zh) * 2021-12-21 2022-04-05 中交三公局第三工程有限公司 一种深水承台矩形钢板桩围堰结构及其施工方法
CN114277818B (zh) * 2021-12-21 2023-10-17 中交三公局第三工程有限公司 一种深水承台矩形钢板桩围堰结构及其施工方法
CN114753389A (zh) * 2022-03-28 2022-07-15 南水北调(山东)机电维修有限责任公司 深水条件下渠道衬砌修复专用自沉式组合钢围堰
CN114753389B (zh) * 2022-03-28 2023-11-28 南水北调(山东)机电维修有限责任公司 深水条件下渠道衬砌修复专用自沉式组合钢围堰

Also Published As

Publication number Publication date
JP5956908B2 (ja) 2016-07-27

Similar Documents

Publication Publication Date Title
JP5956908B2 (ja) 用水路補修用止水壁部材及び用水路補修用仮締切工法
CN107002376B (zh) 浮闸或岛及其制造方法
AU2017253505B2 (en) Sea wall structures, sea walls and methods of manufacture and assembly of the same
CN113931135A (zh) 一种用于封堵决口溃堤的柱笼石桩支撑笼型闸板及快速抢险的方法
JP6501547B2 (ja) 既設堤体補修用構造物及び既設堤体の補修方法
CN105887760B (zh) 一种生态型的破损护岸修复结构
JP6915844B2 (ja) 壁面補修用作業空間形成物及び壁面補修用作業空間形成方法
CN212335895U (zh) 一种改进型装配式山区河道护岸结构
CN212200477U (zh) 一种拦河堰闸抗冲沉井群及包含该沉井群的连接结构
JP2015031093A (ja) 護岸補修用防波壁体及び護岸の補修方法
JP6104138B2 (ja) 河川内構造物の改修方法
CN211080123U (zh) 一种河湖生态岸坡保护装置
CN116145623A (zh) 一种导流明渠与通航建筑物相结合结构的施工方法
JP7212660B2 (ja) 沿岸漂砂による堆積及び侵食を低減する沿岸構造物
Swatek Jr Cellular cofferdam design and practice
CN209584961U (zh) 一种锚固浮堤型河道整治结构
CN109281286B (zh) 一种山区消能导流渠的施工方法
JP5306885B2 (ja) 水中構造物の施工方法
CN212129043U (zh) 一种新型双排板桩型式混合堤
CN114150612A (zh) 一种适用于小型河道拓挖的施工方法
CN119465867B (zh) 河底坑洞透水混凝土填补结构及其施工方法
CN221118571U (zh) 一种用于地下连续墙的刚性接头
NZ714385A (en) Erosion prevention arrangement
JP6322560B2 (ja) 既設護岸または岸壁の更新方法および護岸または岸壁構造
JP2020133311A (ja) 補強された土構造物、及び土構造物補強方法

Legal Events

Date Code Title Description
A621 Written request for application examination

Free format text: JAPANESE INTERMEDIATE CODE: A621

Effective date: 20150918

TRDD Decision of grant or rejection written
A977 Report on retrieval

Free format text: JAPANESE INTERMEDIATE CODE: A971007

Effective date: 20160525

A01 Written decision to grant a patent or to grant a registration (utility model)

Free format text: JAPANESE INTERMEDIATE CODE: A01

Effective date: 20160531

A61 First payment of annual fees (during grant procedure)

Free format text: JAPANESE INTERMEDIATE CODE: A61

Effective date: 20160617

R150 Certificate of patent or registration of utility model

Ref document number: 5956908

Country of ref document: JP

Free format text: JAPANESE INTERMEDIATE CODE: R150

R250 Receipt of annual fees

Free format text: JAPANESE INTERMEDIATE CODE: R250

LAPS Cancellation because of no payment of annual fees