JP2014040766A - 手すり装置 - Google Patents

手すり装置 Download PDF

Info

Publication number
JP2014040766A
JP2014040766A JP2013034354A JP2013034354A JP2014040766A JP 2014040766 A JP2014040766 A JP 2014040766A JP 2013034354 A JP2013034354 A JP 2013034354A JP 2013034354 A JP2013034354 A JP 2013034354A JP 2014040766 A JP2014040766 A JP 2014040766A
Authority
JP
Japan
Prior art keywords
handrail
wall
floor
ceiling
pressing
Prior art date
Legal status (The legal status is an assumption and is not a legal conclusion. Google has not performed a legal analysis and makes no representation as to the accuracy of the status listed.)
Granted
Application number
JP2013034354A
Other languages
English (en)
Other versions
JP5640206B2 (ja
JP2014040766A5 (ja
Inventor
Tadao Obayashi
忠夫 大林
Current Assignee (The listed assignees may be inaccurate. Google has not performed a legal analysis and makes no representation or warranty as to the accuracy of the list.)
Individual
Original Assignee
Individual
Priority date (The priority date is an assumption and is not a legal conclusion. Google has not performed a legal analysis and makes no representation as to the accuracy of the date listed.)
Filing date
Publication date
Application filed by Individual filed Critical Individual
Priority to JP2013034354A priority Critical patent/JP5640206B2/ja
Publication of JP2014040766A publication Critical patent/JP2014040766A/ja
Publication of JP2014040766A5 publication Critical patent/JP2014040766A5/ja
Application granted granted Critical
Publication of JP5640206B2 publication Critical patent/JP5640206B2/ja
Expired - Fee Related legal-status Critical Current
Anticipated expiration legal-status Critical

Links

Images

Landscapes

  • Steps, Ramps, And Handrails (AREA)

Abstract

【課題】壁、床、天井等に釘、ビス等を打ち付けることなく設置可能な手すり装置において、手すりに水平方向の力が働いても、ぐらつきにくく、かつ、移動しにくいものを提供する。
【解決手段】複数の柱6と、柱6の間に架設された手すり7と、柱6の上方に設けられ、天井面に押し当てられる天井面押当部8と、柱の下方に設けられ、床面27に押し当てられる床面押当部10と、柱6、天井面押当部8および床面押当部10に、天井面および床面27に対する突張力を発生させる縦突張力発生手段11と、を有する手すり構造体を備える。前記柱6からそれぞれ側方へ延出して設けられた横軸材3と、横軸材3の端部に設けられ、壁面30に押し当てられる壁面押当部4と、壁面押当部4を壁面30に押し当てるための壁面押当手段と、をさらに備える。
【選択図】図1

Description

本発明は、壁、床、天井等に釘、ビス等を打ち付けることなく手すりを設置できるようにした手すり装置に関する。
この種の手すり装置として、特許文献1の第1図に縦手すりが開示されている。この縦手すりは、上下方向に延びた把持部の上下にそれぞれ天井側アタッチメントおよび床側アタッチメントを備えている。天井側アタッチメントは、把持部から天井に向かって拡径した拡径部を有し、上端面が天井面に接している。一方、床側アタッチメントは、把持部側から床に向かって拡径した拡径部を有し、下端面が床面に接している。天井側アタッチメントと把持部との間には、スプリングを含む弾性支持機構が介装されており、床側アタッチメントと把持部との間には、突張力調整機構が介装されている。これらにより、縦手すりは、天井と床の間で突張力を発生し、天井と床の間に固定される。
また、同文献の第9図には、上記縦手すりを天井と床の間に平行に2本立設し、これら2本の把持部の間に横手すりを取付けた手すり装置(以下「H型手すり装置」という。)が開示されている。
特開2000−314220号公報
特許文献1に開示されているH型手すり装置は、天井と床との間で突張力を発生することにより、それらの間に固定されるが、横手すりに水平方向の力(特に横手すりの長手方向に直交する方向の力)が働くと、横手すりを含むH型手すり装置全体がぐらついたり、移動してしまうおそれがあり、手すりを利用する人に不安感を与えてしまう。
本発明は、かかる課題に鑑みて創案されたものであり、手すりに水平方向の力が働いても、ぐらつきにくく、移動しにくい手すり装置を提供することを目的とする。
本発明の手すり装置は、複数の柱と、前記複数の柱の間に架設された手すりと、前記複数の柱の上方に設けられ、天井面に押し当てられる天井面押当部と、前記複数の柱の下方に設けられ、床面に押し当てられる床面押当部と、前記柱、前記天井面押当部および前記床面押当部に、天井面および床面に対する突張力を発生させる縦突張力発生手段と、を有する手すり構造体を備え、さらに、前記複数の柱のうち、何れかの柱又は全ての柱からそれぞれ側方へ延出して設けられた横軸材と、前記横軸材の端部に設けられ、壁面に押し当てられる壁面押当部と、前記壁面押当部を壁面に押し当てるための壁面押当手段と、を備えている。
かかる構成を備える手すり装置によれば、柱、天井面押当部および床面押当部に、天井面および床面に対する突張力を発生させるとともに、壁面押当部を壁面に押し当てて設置することで、手すりに水平方向壁面側への力が働いても、その力が、壁面と柱との間に設けられた横軸材および壁面押当部によって支持される。これにより、手すり装置(手すり)が上記水平方向へぐらつきにくく、かつ、移動しにくいものとなる。
上記構成を備える手すり装置において、前記手すり構造体は、対向した2つの壁面の少なくとも一方の壁面に沿って設置されたものとし、前記横軸材は、柱から両側方へ延出し、そのうちの一側方が前記2つの壁面間に形成される通路を横切って配置されたものとし、前記壁面押当部は、前記横軸材の両端部にそれぞれ設けられたものとすることが望ましい。
かかる構成を備える手すり装置によれば、横軸材および両側の壁面押当部に2つの壁面に対する突張力を発生させることができるので、手すりに対して水平方向手前側への力が働いてもぐらつきにくく、かつ、移動しにくいものとなる。
上記構成を備える手すり装置において、前記手すり構造体は、対向した2つの壁面の両方に沿ってそれぞれ設置されたものとし、前記横軸材は、前記2つの壁面間に形成される通路を横切って、同通路を挟んで配置された2本の柱に、その両側がそれぞれ取付けられたものとすることが望ましい。
かかる構成を備える手すり装置によれば、手すり構造体が対向した2つの壁面の両方に沿ってそれぞれ設置され、両側の手すり構造体の柱の間に横軸材が架設されているので、手すり構造体同士がより強固に連結され、更に手すり装置(手すり)の設置状態が安定する。
また、本発明の手すり装置は、複数の柱と、前記複数の柱の間に架設された手すりと、を有する手すり構造体を備え、該手すり構造体が対向した2つの壁面の少なくとも一方の壁面に沿って設置された、ものであって、さらに、横軸材と、壁面押当部と、壁面押当手段と、を備えるものであってもよい。ここで横軸材は、前記複数の柱のうち、何れかの柱又は全ての柱からそれぞれ両側方へ延出して設けられ、そのうちの一側方が前記2つの壁面間に形成される通路を横切って配置されたものである。また、壁面押当部は、前記横軸材の両端部にそれぞれ設けられ、前記壁面に押し当てられるものである。また、壁面押当手段は、前記壁面押当部を壁面に押し当てるためのものである。
かかる構成を備える手すり装置によれば、横軸材および両側の壁面押当部に2つの壁面に対する突張力を発生させることができるので、手すりに対して水平方向への力が働いてもぐらつきにくく、かつ、移動しにくいものとなる。
本発明によれば、壁、床、天井等に釘、ビス等を打ち付けることなく設置可能な手すり装置において、手すりに水平方向の力が働いても、ぐらつきにくく、かつ、移動しにくいものを実現できる。
第1の実施の形態に係る手すり装置を示す斜視図である。手前側の壁面および天井面の図示は省略している。 第1の実施の形態における、柱の上端部、天井面押当部等を示す部分断面図である。 第1の実施の形態における、柱の上部、壁面押当部、横軸材、横架材等を横架材の軸方向から見た部分断面図である。 第1の実施の形態における、柱の上部、壁面押当部、横軸材、横架材等を横軸材の軸方向から見た部分断面図である。 第2の実施の形態に係る手すり装置を示す斜視図である。手前側の壁面および天井面の図示は省略している。 第2の実施の形態における、柱の上部、壁面押当部、横軸材、横架材等を横架材の軸方向から見た部分断面図である。 第3の実施の形態に係る手すり装置を示す斜視図である。手前側の壁面および天井面の図示は省略している。 第3の実施の形態における、柱の下端部、床面押当部等を示す断面図であって、図9のA−A断面位置に対応する図である。 第3の実施の形態における床面押圧板を示す平面図である。 図9のA−A断面図である。 図9のB−B断面図である。 図8に示す各部材の分解図である。 第1の実施の形態の変形例に係る手すり装置を示す斜視図である。手前側の壁面および天井面の図示は省略している。 第2の実施の形態の変形例に係る手すり装置を示す斜視図である。手前側の壁面および天井面の図示は省略している。 第3の実施の形態の変形例に係る手すり装置を示す斜視図である。手前側の壁面および天井面の図示は省略している。 第3の実施の形態の変形例に係る手すり装置を示す斜視図である。手前側の壁面および天井面の図示は省略している。 第3の実施の形態の変形例に係る手すり装置を示す斜視図である。手前側の壁面および天井面の図示は省略している。 図14に示した第2の実施形態の変形例に係る手すり装置を、通路のコーナ部に設置した例を示す斜視図である。手前側の壁面および天井面の図示は省略している。 第2の実施の形態の変形例に係る手すり装置を示す斜視図である。手前側の壁面および天井面の図示は省略している。 第3の実施の形態の変形例に係る手すり装置を示す斜視図である。手前側の壁面および天井面の図示は省略している。
<第1の実施形態>
以下、本発明の第1の実施の形態に係る手すり装置について説明する。図1〜図3に示すように、本実施形態に係る手すり装置1は、略H型の手すり構造体2、横軸材3、壁面押当部4、壁面押当手段5(図3参照)等で構成されている。図1では、手すり装置1は、対向した2つの壁面(図1において手前側の壁面は不図示)の一方の壁面30に沿って設置されている。
手すり構造体2は、複数の柱6、手すり7、各柱6の上方に設けられた天井面押当部8、各柱6の下方に設けられた床面押当部10、横架材9、縦突張力発生手段11等で構成されている。
図1に示す例では、2本の柱6が平行に立設され、図2に示すように、各柱6の上端に後述のボルト13を螺着するための雌ねじ20が設けられている。柱6は、円筒材等の筒材からなる柱本体6a、この柱本体6aの上端開口を塞ぐように配設された蓋板6b、ナット21等で構成されている。蓋板6bの中心にはボルト13を挿通するための貫通孔17が形成され、蓋板6bの下面には上記貫通孔17と同芯上に、上記雌ねじ20を有するナット21が溶接されている。図2に示す蓋板6bは、その下面に形成された環状凸条16が柱本体6aの上端開口内に嵌め込まれ、柱本体6aに溶接されている。なお、蓋板6bと柱本体6aとの溶接を省略して蓋板6bの環状凸条16を柱本体6aへ差し込むだけで蓋板6、ボルト13等を柱本体6aに取り付け可能としてもよい。
手すり7は、その両端部が2本の柱6にそれぞれビス等により固定され、これにより当該2本の柱6の間に架設されている。図1に示す手すり7は、水平方向に延びたストレート状のものであるが、手すりとしての機能を果たすものであれば、形状、設置方向等はこれに限定されない。例えば、2本の柱6の間に湾曲ないし屈曲した手すりを架設したり、この手すり又は上記ストレート状の手すり7を、柱6の間に斜め方向に向けて架設してもよい。
天井面押当部8は、図2に示すように、天井面押圧板14、滑り止め部材15等で構成されている。
天井面押圧板14は、後述する縦突張力発生手段11によって滑り止め部材15を介して天井面25を押圧する。この天井面押圧板14としては、例えば矩形、円形等の平板を使用することができる。天井面押圧板14の板厚は、天井面25に与える押圧力を均等に分散できる程度に、十分なものとすることが望ましい。また、天井面押圧板14の面積は、天井面25に掛かる圧力を十分に低減できる程度に確保することが望ましい。
滑り止め部材15は、天井面押圧板14と天井面25との間に介設され、天井面押圧板14が天井面25に対して面方向に滑ることを防止するものであり、天井面25および天井面押圧板14の双方に対して滑りにくいものが採用される。この滑り止め部材15には、例えばシート状の発泡樹脂等の樹脂材を採用することができる。なお、滑り止め部材15は天井面押圧板14に対して接着剤等にて接着してもよい。
床面押当部10は、図1に示すように、柱6の下端に溶接等にて固定された平板26、滑り止め部材15等で構成されている。平板6の板厚は、床面27に与える押圧力を均等に分散できる程度に、十分なものとすることが望ましい。また、平板26の面積は、床面27に掛かる圧力を十分に低減できる程度に確保することが望ましい。滑り止め部材15は、平板26と床面27との間に介設され、平板26の下面が床面27に対して面方向に滑ることを防止する。この滑り止め部材15としては、既述した、天井面押圧板14と天井面25との間に介設されたものと同様のものを使用できる。なお、柱6の下端と平板26とは、溶接等にて固定せず、差し込み式にしてもよい。差し込み式とするために、例えば、柱6内に嵌入可能な形状をした所定高さの中実柱体、中空柱体等(柱6が円筒体の場合は、その内径サイズに対応した中実円柱体や中空円柱体)を平板26上に立設し、この柱体を柱6の下端開口から差し込んで取り付ければよい。
横架材9は、2本の柱6の間に架設され、当該2本の柱6同士の連結を強固にして、手すり構造体2の構造的剛性を高めるものである。この横架材9としては、例えば図3および図4に示すような直管材のほか、中実状の棒材等を用いることができる。本実施形態では、横架材9は、2本の柱6を水平方向に貫通し、柱6に形成された雌ねじ6c(図3参照)に螺着されたボルト6dの先端部に押圧されることで柱6に固定されている。
縦突張力発生手段11は、柱6、天井面押当部8および床面押当部10に、天井面25および床面27に対する突張力を発生させるものである。本実施形態では、図2に示すように、縦突張力発生手段11は、柱6の上部に設けられた前記雌ねじ20と、この雌ねじ20に軸方向を上下にして螺着され、その上端部に天井面押圧板14が接続されたボルト13と、で主に構成されている。
ボルト13は、その上端部が天井面押圧板14に相対回転自在に接続されている。このような接続を実現するため、ボルト13の上端に、座金付ナット22のナット部22aを相対回転不能に溶接し、座金付ナット22の座金部22bを天井面押圧板14の下面に溶接している。上記座金付ナット22は、ナット部22aの座面の周囲に形成された環状凹部23に座金部22bの内周部が相対回転自在に嵌め込まれ、互いに軸方向に係着されたものである。また、天井面押圧板14の下面とナット部22aの間には、隙間が確保されているため、ナット部22aは、天井面押圧板14に対して相対回転自在となっている。24は、ボルト13に螺着された締め付け用ナットである。この締め付け用ナット24を蓋板6b側に締め付けることで、ボルト13が蓋板6b(柱6)に対して廻らないように固定される。
天井面押当部8(天井面押圧板14等)が柱6に対して上方に移動するように、ボルト13が廻されると、天井面押当部8が天井面25を押圧して、この天井面押当部8、柱6、床面押当部10に上下方向への突張力が発生する。これにより、柱6が天井面25と床面27との間に固定され、その結果、2本の柱6間に架設された手すり7の位置も固定される。
横軸材3は、図3および図4に示すように、柱6から側方へ延出しており、壁面30に対して略垂直に配置されている。この横軸材3は、筒状部材31、座金付ナット34、ボルト33等で構成されている。
筒状部材31は、壁面30に対して略垂直な方向を向いて柱6を貫通しており、柱6に形成された雌ねじ6cに螺着されたボルト6dの先端に押圧されて軸方向へ移動不能に柱6に固定されている。
座金付ナット34は、天井面押圧板14に接続された既述の座金付ナット22と同様のものである。この座金付ナット34は、図3中の部分拡大図に示すように、そのナット部34aがボルト33に螺着され、その座金部34bが筒状部材31の端部に着座されている。ナット部34aを廻すことで、ボルト33の軸方向位置を調整することができる。
ボルト33は、その一端部が壁面押当部4に相対回転自在に接続されている。この接続は、天井面押圧板14とボルト13との接続と同様である。すなわち、図3中の部分拡大図に示すように、ボルト33の一端に、座金付ナット22のナット部22aを相対回転不能に溶接し、座金付ナット22の座金部22bを壁面押圧板28の片面(壁面30と反対側の面)に溶接する。
壁面押当部4は、後述する壁面押当手段5によって壁面30に押し当てられるものである。壁面押当部4は、壁面押圧板28、滑り止め部材15等で構成されている。壁面押圧板28としては、既述した天井面押圧板14と同様のものを採用することができる。壁面押圧板28の形状は特に限定されないが、壁面30を押圧する際に、壁面30に与える押圧力を均等に分散できる程度に、十分な板厚とすることが望ましい。また、壁面押圧板28の面積は、壁面30に掛かる圧力を十分に低減できる程度確保することが望ましい。滑り止め部材15としては、天井面押圧板14と天井面25との間に介設される滑り止め部材15と同様のものを採用できる。
壁面押当手段5は、柱6等が天井面25と床面27との間に固定された後、壁面押当部4を壁面30に押し当てるためのものであり、本実施形態では、筒状部材31の端部に配置された座金付ナット34と、この座金付ナット34のナット部34aに軸方向を、壁面30に対して直交する方向にして螺着されたボルト33とで主に構成されている。なお、本実施形態では、壁面押当手段5が座金付ナット34、ボルト33等で構成されているが、座金付ナット34に代えて、既述した蓋板6b、ナット21、締め付け用ナット24等からなる構成を採用してもよい。つまり、該構成によっても、ボルト33の端部に設けられた壁面押当部4を壁面30に押し当てることが可能である。
以上に説明した構成を備える手すり装置1を天井面25と床面27との間に設置するに当たっては、先ず、図2に示す締め付け用ナット24を緩めて、座金付ナット22のナット部22aを工具等を用いて廻して、天井面押当部8の上面高さを天井面25より低くなるように調整する。また、図3に示す座金付ナット34のナット部34a、座金付ナット22のナット部22a等を廻して、壁面押当部4を十分に柱6側に近づけておく。
つぎに、柱6、手すり7、天井面押当部8、床面押当部10等からなる手すり構造体2を天井25と床27との間の所望位置に配置し、図2に示す座金付ナット22のナット部22aを工具で廻しながら、天井面押当部8を上昇させ、天井面25に所定押圧力にて押圧させる。そして、締め付け用ナット24を締め付けてボルト13を柱6に対して廻らないように固定する。これにより、天井面押当部8、柱6、床面押当部10等に天井面25および床面27に対する突張力が発生し、これらが天井面25と床面27との間に固定される。その結果、2本の柱6間に架設された手すり7の位置も固定される。
その後、図3に示す座金付ナット34のナット部34a、座金付ナット22のナット部22a等を工具等を用いて廻しながら、壁面押当部4を壁面30側に移動させ、壁面30に押し当てる。なお、壁面押当部4を壁面30側に対して押し当てる際の押し当て力は、壁面押当部4が壁面30に対して接する程度の微小な力であってもよい。
以上の手順を実施することで、図1に示したように、手すり装置1が天井面25と床面27との間に設置される。この手すり装置1では、手すり7を握った際に手すり7に水平方向壁面30側への力が働いても、その力が、壁面30と手すり構造体2との間に設けられた横軸材3および壁面押当部4によって支持されるため、手すり装置(手すり7)は、上記水平方向へぐらつきにくく、かつ、移動しにくくなっている。なお、上記水平方向壁面30側への力には、手すり7に対し、壁面3に向かって斜め下方に働く力、斜め上方に働く力等の水平方向の分力も含まれる。
既述の実施形態では、横軸材3および壁面押当部4は、柱6の上部に設けられているが、これらは、柱6の下部、柱6の中間部などその他の位置に設けられていてもよい。また、既述の実施形態では、1本の柱6に、1つの壁面押当部4、横軸材3が取付けられているが、1本の柱6に、複数の壁面押当部4、横軸材3が取付けられていてもよい。
既述の実施形態では、横軸材3および壁面押当部4は、全ての柱6(図1の例では、2本の柱6)に設けられているが、横軸材3および壁面押当部4は必ずしも全ての柱6に設けられている必要はない。
既述の実施形態では、柱6に対して天井面押当部8をボルト13等により、上下方向に移動可能な構成として突張力を発生させているが、柱6に対して床面押当部10をボルト等により上下方向に移動可能として突張力を発生させてもよい。あるいは、柱6に対して天井面押当部8および床面押当部10の双方をボルト等により上下方向に移動可能として突張力を発生させてもよい。
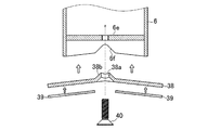
<第2の実施形態>
次に本発明の第2の実施の形態に係る手すり装置について説明する。以下では、第1の実施形態に係る手すり装置1と同様の構成については、同符号を付してその説明を省略し、第1の実施の形態に係る手すり装置1との相違点を主に説明する。
図5および図6に示すように、本実施形態に係る手すり装置1Aは、第1の実施の形態に係る手すり装置1において、横軸材3が柱6の両側方へ延出したもの(以下「横軸材3A」という。)となっており、そのうちの一方が、対向する2つの壁面30(図5において手前側の壁面は不図示)の間に形成される通路36を横切って配置されたものとなっている。
この横軸材3Aは、例えば図6に示すように、第1の実施の形態における筒状部材31を延長し、その筒状部材31の両端に座金付ナット34、ボルト33等を同様に設け、さらに、両ボルト33の先端部に、座金付ナット22を介して、壁面押当部4を相対回転自在に接続している。なお、横軸材3A(特に筒状部材31)の高さ位置は限定されるものではないが、この横軸材3Aは、通路36を横切るものであることから、一般人の通行の障害にならない程度に高い位置に配置することが望ましい。
本実施の形態に係る手すり装置1Aでは、両側のボルト33の先端にそれぞれ溶接されたナット部22a、あるいは、筒状部材31の両端に配設された座金付ナット34のナット部34aを工具で廻すなどして、壁面押当部4を筒状部材31から壁面30側へ移動させることで、横軸材3Aおよび両壁面押当部4に2つの壁面30に対する突張力を発生させることができる。これにより、本実施形態に係る手すり装置1Aは、手すり7に対して水平方向手前側への力が働いてもぐらつきにくく、かつ、移動しにくいものとなっている。
なお、本実施形態では、図6に示すように、横軸材3Aの両側に壁面押当手段5(ボルト33、座金付ナット34等)が設けられているが、片側の壁面押当手段5を省略してもよい。また、本実施形態では、壁面押当手段5がボルト33、座金付ナット34等で構成されているが、座金付ナット34に代えて、第1の実施形態で説明した蓋板6b、ナット21、締め付け用ナット24等からなる構成を採用してもよい。
<第3の実施形態>
次に本発明の第3の実施の形態に係る手すり装置について説明する。以下では、第2の実施形態に係る手すり装置1Aと同様の構成については、同符号を付して説明を省略し、第2の実施の形態に係る手すり装置1Aとの相違点を主に説明する。
図7および図8に示すように、本実施形態に係る手すり装置1Bは、第2の実施の形態に係る手すり装置1A(図5参照)において、対向した2つの壁面30(図7において手前側の壁面は不図示)の両方に沿って手すり構造体2が設置されている。横軸材3Aは、通路36を横切って配置され、同通路36を挟んで配置された2本の柱6に、その両側がそれぞれ貫通して取付けられている。通路36を挟んで配置された2本の柱6に対する横軸材3Aの取り付け構造(ボルト6dによる固定)は、何れも第1の実施の形態において図4に基づき説明したものと同様である。
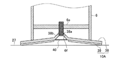
本実施形態に係る手すり装置1Bでは、第2の実施の形態に係る手すり装置1Aの床面押当部10とは異なる床面押当部10Aが採用されている。この床面押当部10Aは、通路36を挟んで配置された2本の柱6の下端部に架設されたものであり、例えば図8に示すように、柱6の下端と床面27との間に介設された床面押圧板38、滑り止め部材39等で構成される。
床面押圧板38は、平面視で長方形の平板が、座屈強度、曲げ剛性等を高めるために断面山型に折り曲げられ、さらに、ビス挿通用のスリット38aが山型頂上部において、長手方向(通路36を横切る方向)に形成されている。床面押圧板38のスリット38aには、下から上に向かってビス40が挿通され、その雄ねじ部が柱6の内部に設けられたビス取付部6eが有する雌ねじにねじ込まれて、上記床面押圧板38が柱6の下端に締結される。
また、図9〜図11に示すように、床面押圧板38には、両側部からスリット38aに向かう傾斜が、スリット38aの近傍で一段と大きくなって柱係合用凸部38bを形成している。この柱係合用凸部38bは、図12に示すように、柱6の下端に形成された床面押圧板係合用凹部6fに嵌まり込む形状となっている。これにより、床面押圧板38を柱6の下端にビス40にて締結した際に、床面押圧板38と柱6の周方向位置が自ずと定まり、柱6に設けられた各種ビス孔、取付孔が自然に所望の位置に配置され、組立作業の効率化が図られる。
なお、通路36を挟んで配置される柱6同士の距離を調整し易くするために、床面押圧板38に対するビス40の挿通孔としてスリット38aが採用されているが、上記調整が不要な場合は、スリット38aに代えて円孔を採用してもよい。また、柱6の下端と床面押圧板38とを、完全に固定せず、差し込み式にしてもよい。差し込み式とするために、例えば、床面押圧板38の上面に柱6内に嵌入可能な所定高さの中実柱体、中空柱体等(柱6が円筒体の場合は、その内径サイズに対応した中実円柱体、中空円柱体)をビス40にて床面押圧板38上に締結し、この柱体を柱6の下端開口に差し込んで取り付けるようにしてもよい。
滑り止め部材39は、床面押圧板38と床面27との間に介設され、床面押圧板38が床面27に対して面方向に滑ることを防止するものである。この滑り止め部材39としては、既述した、天井面押圧板14と天井面25との間に介設されている滑り止め部材15と同様のものを使用することができる。
本実施の形態に係る手すり装置1Bによれば、手すり構造体2が通路36を挟んで両側に設置され、両側の手すり構造体2の柱6の間に、横軸材3Aのほか、床面押当部10A(床面押圧板38)が架設されているので、手すり構造体2同士がより強固に連結され、第1、第2実施形態に係る手すり装置1,1Aよりも更に手すり装置1B(手すり7)の設置状態が安定する。
ところで、手すり7の使用状況によっては、左右両側に設けられた手すり7に、水平方向内側への力(左右両側の手すり7同士を近づける方向の力)が働く場合がある。この力は、通路36を挟んで配置された2本の柱6の下端部同士を接近させる力として作用し、この力に抗する部材がなければ、柱6の下端同士が接近し、手すり構造体2が傾くおそれがある。しかし、本実施形態に係る手すり装置1Bでは、上記2本の柱6の下端間に床面押圧板38が架設されているため、柱6の下端同士が接近しにくくなっている。しかも、上記床面押圧板38として、座屈強度や曲げ剛性を高めるために断面山型のものが採用されているので、当該床面押圧板38を、一定の座屈強度、曲げ剛性を確保しつつ、足元に設置されても通行の障害にならない薄いものとすることができる。
<その他の実施形態>
図13は第1の実施の形態に係る手すり装置1の変形例であり、柱6および柱6に取付けられた各種部材を増加するとともに、各柱6の間に手すり7を架設したものである。但し、2本の柱に対しては、第3の実施形態で説明した床面押当部10Aと同じ部材を通路36(壁面30)に沿って配置している。このようにして、手すり7の設置範囲を増加させることができる。なお、横架材9は、全柱6を貫通した1部材となっているが、各柱6間毎に架設したものとしてもよい。以下の横架材9も同様。
図14は第2の実施の形態に係る手すり装置1Aの変形例であり、柱6および柱6に取付けられた各種部材を増加するとともに、各柱6の間に手すり7を架設したものである。但し、2本の柱に対しては、第3の実施形態で説明した床面押当部10Aと同じ部材を通路36(壁面30)に沿って配置している。このようにして、第2の実施の形態に係る手すり装置1Aでも手すり7の設置範囲を増加させることができる。
図15は第3の実施の形態に係る手すり装置1Bの変形例であり、通路36の両側に設置された柱6を各2本から各3本へ増加し、各柱6に取付けられた各種部材を柱6の本数に応じて増加するとともに、各柱6の間に手すり7を架設したものである。このようにして、第3の実施の形態に係る手すり装置1Bでも手すり7の設置範囲を増加させることができる。
図16は、第3の実施の形態で説明した手すり装置1Bにおいて、1本の柱6および当該柱6に設けられていた手すり7を省略し、一部の床面押当部10Aを、第2の実施の形態における床面押当部10に変更した場合を示している。
図17は、第3の実施の形態で説明した手すり装置1Bにおいて、横軸材3Aを2本の柱6の間で分断して第1の実施形態における横軸材3と同様のものとし、当該2本の柱6の間に他の横架材41を架設したものである。この横架材41は、既述の横架材9と同様の取付構造により、柱6に固定されている。この図16に示すような手すり装置でも第3の実施の形態に係る手すり装置1Bと同程度に手すり7の設置状態が安定している。
図18は、図14に示した第2の実施形態の変形例に係る手すり装置1Aを、通路36のコーナ部に設置した場合を示している。この図18に示すように、通路36のコーナ部の柱6に取付けられる手すり7の取付方向を当該コーナ部に応じて設定することで、任意の湾曲ないし屈曲した壁面にも手すり7をほぼ沿わせて設置することができる。図18の例では、一部の横軸材3’の一方の壁面押当部4が省略され、横架材9と一体になっている。なお、ここでは、第2の実施形態の変形例に係る手すり装置1Aを通路のコーナ部に設置した場合を例に挙げて説明したが、既述したいずれの手すり装置および後述するいずれの手すり装置であっても、コーナ部の柱6に取付けられる手すり7の取付方向を当該コーナ部に合わせて設定することで、任意の湾曲ないし屈曲した壁面にも手すり7をほぼ沿わせて設置することができる。
図19は、第2の実施の形態に係る手すり装置1A(図5参照)において、手すり構造体2を、天井押当部8、縦突張力発生手段11(ボルト13等)を省略したものとし、さらに、床面押当部10(図5参照)を接地部41とした手すり構造体2Aを有する手すり装置1Cである。接地部41は、床面27に接地して、柱6の自重を床面27上で支えるものであり、例えば、第2の実施形態で説明した平板26、滑り止め部材15等で構成することができる。この手すり装置1Aでは、柱6の上端と天井面25とが離れており、柱6に突張力が発生しないものの、その柱6が、2つの壁面30に突っ張った状態で設置された横軸材3Aに取付けられていることから、この手すり装置1Cも、手すり7に対して水平方向の力が働いてもぐらつきにくく、かつ、移動しにくいものとなっている。
図20は、第3の実施の形態に係る手すり装置1B(図7参照)において、手すり構造体2を、天井押当部8、縦突張力発生手段11(ボルト13等)を省略したものとし、さらに、床面押当部10A(図7参照)を接地部41Aとした手すり構造体2Aを有する手すり装置1Dである。この接地部41Aは、例えば、第3の実施形態で説明した床面押圧板38と同様の板材、滑り止め部材39等で構成することができる。この手すり装置1Bでも、柱6の上端と天井面25とが離れており、柱6に突張力が発生しないものの、その柱6が、2つの壁面30に突っ張った状態で設置された横軸材3Aに取付けられている。このとから、この手すり装置1Dも、手すり7に対して水平方向の力が働いてもぐらつきにくく、かつ、移動しにくいものとなっている。
その他、図示しないが、図14、図15、図16、図17および図18に基づき説明した手すり装置において、天井押当部、縦突張力発生手段を省略し、床面押当部を接地部としたものとすることも可能である。
既述の実施形態においては、複数本の柱6の下端に架設される床面押当部10Aは、通路36を横切って配置されていたが、通路36(壁面30)に沿って配置(手すり7と同じ方向に配置)すれば、構造的に若干弱くなるものの、床面押当部10Aが足元の障害物になることを完全に防止することができる。
なお、既述の説明により明らかであるが、既述の実施形態において、各柱6の下方に設けられる床面押当部10と、複数本の柱6の下方に架設される状態で設けられる床面押当部10Aとは、任意に組み合わせて採用してもよい。
<壁面押当部等を設けない実施形態>
既述の実施形態に係る手すり装置は、何れも横軸材および壁面押当部を備えるものであるが、既述した手すり装置のうち、通路36の両側に柱6を配置したもの(例えば、図7、図15、図16等に示す手すり装置)において、横軸材および壁面押当部を省略し、さらに、通路36を挟んで配置された2本の柱6の間に図17に基づき説明したような横架材41を1本架設又は上下に間隔をおいて複数本架設したものとしてもよい。このような手すり装置でも、従来例に係るH型手すり装置と比較して一定の効果が認められる。
すなわち、特許文献1に開示されているH型手すり装置は、天井と床との間で突張力を発生することにより、当該天井と床との間に固定されているが、横手すりに水平方向の力(特に横手すりの長手方向に直交する方向の力)が働くと、横手すりを含むH型手すり装置全体がぐらついたり、傾いてしまうおそれがあり、手すりを利用する人に不安感を与えてしまう。
しかし、通路36の両側に手すり構造体2を配置し、通路36を挟んで配置された2本の柱6の間に前記横架材41を架設した手すり装置であれば、手すり構造体2同士が横架材41の連結作用により、構造的に安定するので、手すり7に水平方向の力が働いても、手すり装置全体がぐらつきにくくなり、また、手すり装置全体が傾いてしまうおそれもなくなる。
1 手すり装置
1A 手すり装置
1B 手すり装置
1C 手すり装置
1D 手すり装置
2 手すり構造体
2A 手すり構造体
3 横軸材
3A 横軸材
4 壁面押当部
5 壁面押当手段
6 柱
7 手すり
8 天井面押当部
10 床面押当部
10A 床面押当部
11 縦突張力発生手段
25 天井面
27 床面
30 壁面
36 通路

Claims (3)

  1. 複数の柱と、
    前記複数の柱の間に架設された手すりと、
    前記複数の柱の上方に設けられ、天井面に押し当てられる天井面押当部と、
    前記複数の柱の下方に設けられ、床面に押し当てられる床面押当部と、
    前記柱、前記天井面押当部および前記床面押当部に、天井面および床面に対する突張力を発生させる縦突張力発生手段と、
    を有する手すり構造体を備える手すり装置において、
    前記複数の柱のうち、何れかの柱又は全ての柱からそれぞれ側方へ延出して設けられた横軸材と、
    前記横軸材の端部に設けられ、壁面に押し当てられる壁面押当部と、
    前記壁面押当部を壁面に押し当てるための壁面押当手段と、
    を備えることを特徴とする手すり装置。
  2. 請求項1に記載の手すり装置において、
    前記手すり構造体は、対向した2つの壁面の少なくとも一方の壁面に沿って設置され、
    前記横軸材は、柱から両側方へ延出し、そのうちの一側方が前記2つの壁面間に形成される通路を横切って配置され、
    前記壁面押当部は、前記横軸材の両端部にそれぞれ設けられた、ことを特徴とする手すり装置。
  3. 複数の柱と、前記複数の柱の間に架設された手すりと、を有する手すり構造体を備え、該手すり構造体が対向した2つの壁面の少なくとも一方の壁面に沿って設置された、手すり装置であって、
    前記複数の柱のうち、何れかの柱又は全ての柱からそれぞれ両側方へ延出して設けられ、そのうちの一側方が前記2つの壁面間に形成される通路を横切って配置された横軸材と、
    前記横軸材の両端部にそれぞれ設けられ、前記壁面に押し当てられる壁面押当部と、
    前記壁面押当部を壁面に押し当てるための壁面押当手段と、
    を備えることを特徴とする手すり装置。
JP2013034354A 2013-02-25 2013-02-25 手すり装置 Expired - Fee Related JP5640206B2 (ja)

Priority Applications (1)

Application Number Priority Date Filing Date Title
JP2013034354A JP5640206B2 (ja) 2013-02-25 2013-02-25 手すり装置

Applications Claiming Priority (1)

Application Number Priority Date Filing Date Title
JP2013034354A JP5640206B2 (ja) 2013-02-25 2013-02-25 手すり装置

Related Parent Applications (1)

Application Number Title Priority Date Filing Date
JP2012182249A Division JP5264002B1 (ja) 2012-08-21 2012-08-21 手すり装置

Related Child Applications (1)

Application Number Title Priority Date Filing Date
JP2014159206A Division JP5987253B2 (ja) 2014-08-05 2014-08-05 手すり装置

Publications (3)

Publication Number Publication Date
JP2014040766A true JP2014040766A (ja) 2014-03-06
JP2014040766A5 JP2014040766A5 (ja) 2014-10-09
JP5640206B2 JP5640206B2 (ja) 2014-12-17

Family

ID=50393206

Family Applications (1)

Application Number Title Priority Date Filing Date
JP2013034354A Expired - Fee Related JP5640206B2 (ja) 2013-02-25 2013-02-25 手すり装置

Country Status (1)

Country Link
JP (1) JP5640206B2 (ja)

Also Published As

Publication number Publication date
JP5640206B2 (ja) 2014-12-17

Similar Documents

Publication Publication Date Title
JP2011163016A (ja) 交点支持フロアポスト
JP5264002B1 (ja) 手すり装置
JP5987253B2 (ja) 手すり装置
JP5640206B2 (ja) 手すり装置
JP5325858B2 (ja) 外壁パネルの取付構造
JP2014040766A5 (ja)
KR20150001626A (ko) 다기능 빔 클램프
JP2015151797A (ja) 二重床用の支持脚及び二重床設備
JP2015038295A (ja) 手すり装置
JP4547347B2 (ja) 壁パネルの取付構造およびパネル取付金具
KR101429985B1 (ko) 길이 및 각도조절이 동시에 가능한 프레임모듈 및 이를 구비하는 프레임구조물
JP2019019485A (ja) 法面ステップ及びこれを用いた法面階段
JP2012067518A (ja) 外壁パネルの取付構造
JP6643768B2 (ja) 突っ張り調整具
JP6748418B2 (ja) 耐力壁構造
JP4875890B2 (ja) 手摺支柱及び手摺装置
JP6719944B2 (ja) 支柱受け床下地構造および支持部材
JP6487806B2 (ja) 柱、柱の下部構造体との締結構造及び建物ユニット
JPH02128058A (ja) フロアパネルの支持装置
KR20150089198A (ko) 너트 체결장치
JP4569827B2 (ja) 部材同士の接合構造及びそれを用いたキャットウォーク
JP6315972B2 (ja) 手摺取付け構造
JP2018197429A (ja) 構造体の制振構造
KR20170143217A (ko) 이중바닥판용 지주 고정구
JP6420791B2 (ja) フェンス固定装置

Legal Events

Date Code Title Description
A711 Notification of change in applicant

Free format text: JAPANESE INTERMEDIATE CODE: A711

Effective date: 20140804

A521 Request for written amendment filed

Free format text: JAPANESE INTERMEDIATE CODE: A523

Effective date: 20140805

A621 Written request for application examination

Free format text: JAPANESE INTERMEDIATE CODE: A621

Effective date: 20140805

A871 Explanation of circumstances concerning accelerated examination

Free format text: JAPANESE INTERMEDIATE CODE: A871

Effective date: 20140805

A521 Request for written amendment filed

Free format text: JAPANESE INTERMEDIATE CODE: A821

Effective date: 20140805

TRDD Decision of grant or rejection written
A975 Report on accelerated examination

Free format text: JAPANESE INTERMEDIATE CODE: A971005

Effective date: 20140909

A01 Written decision to grant a patent or to grant a registration (utility model)

Free format text: JAPANESE INTERMEDIATE CODE: A01

Effective date: 20140924

A61 First payment of annual fees (during grant procedure)

Free format text: JAPANESE INTERMEDIATE CODE: A61

Effective date: 20140924

R150 Certificate of patent or registration of utility model

Ref document number: 5640206

Country of ref document: JP

Free format text: JAPANESE INTERMEDIATE CODE: R150

R250 Receipt of annual fees

Free format text: JAPANESE INTERMEDIATE CODE: R250

LAPS Cancellation because of no payment of annual fees