JP2013046292A - 複眼撮像装置 - Google Patents
複眼撮像装置 Download PDFInfo
- Publication number
- JP2013046292A JP2013046292A JP2011183830A JP2011183830A JP2013046292A JP 2013046292 A JP2013046292 A JP 2013046292A JP 2011183830 A JP2011183830 A JP 2011183830A JP 2011183830 A JP2011183830 A JP 2011183830A JP 2013046292 A JP2013046292 A JP 2013046292A
- Authority
- JP
- Japan
- Prior art keywords
- image
- image data
- shooting
- still
- release button
- Prior art date
- Legal status (The legal status is an assumption and is not a legal conclusion. Google has not performed a legal analysis and makes no representation as to the accuracy of the status listed.)
- Withdrawn
Links
Images
Classifications
-
- H—ELECTRICITY
- H04—ELECTRIC COMMUNICATION TECHNIQUE
- H04N—PICTORIAL COMMUNICATION, e.g. TELEVISION
- H04N23/00—Cameras or camera modules comprising electronic image sensors; Control thereof
- H04N23/60—Control of cameras or camera modules
- H04N23/63—Control of cameras or camera modules by using electronic viewfinders
- H04N23/633—Control of cameras or camera modules by using electronic viewfinders for displaying additional information relating to control or operation of the camera
- H04N23/635—Region indicators; Field of view indicators
-
- H—ELECTRICITY
- H04—ELECTRIC COMMUNICATION TECHNIQUE
- H04N—PICTORIAL COMMUNICATION, e.g. TELEVISION
- H04N23/00—Cameras or camera modules comprising electronic image sensors; Control thereof
- H04N23/60—Control of cameras or camera modules
- H04N23/67—Focus control based on electronic image sensor signals
- H04N23/673—Focus control based on electronic image sensor signals based on contrast or high frequency components of image signals, e.g. hill climbing method
-
- H—ELECTRICITY
- H04—ELECTRIC COMMUNICATION TECHNIQUE
- H04N—PICTORIAL COMMUNICATION, e.g. TELEVISION
- H04N23/00—Cameras or camera modules comprising electronic image sensors; Control thereof
- H04N23/60—Control of cameras or camera modules
- H04N23/67—Focus control based on electronic image sensor signals
- H04N23/675—Focus control based on electronic image sensor signals comprising setting of focusing regions
-
- H—ELECTRICITY
- H04—ELECTRIC COMMUNICATION TECHNIQUE
- H04N—PICTORIAL COMMUNICATION, e.g. TELEVISION
- H04N23/00—Cameras or camera modules comprising electronic image sensors; Control thereof
- H04N23/45—Cameras or camera modules comprising electronic image sensors; Control thereof for generating image signals from two or more image sensors being of different type or operating in different modes, e.g. with a CMOS sensor for moving images in combination with a charge-coupled device [CCD] for still images
-
- H—ELECTRICITY
- H04—ELECTRIC COMMUNICATION TECHNIQUE
- H04N—PICTORIAL COMMUNICATION, e.g. TELEVISION
- H04N23/00—Cameras or camera modules comprising electronic image sensors; Control thereof
- H04N23/60—Control of cameras or camera modules
- H04N23/667—Camera operation mode switching, e.g. between still and video, sport and normal or high- and low-resolution modes
Landscapes
- Engineering & Computer Science (AREA)
- Multimedia (AREA)
- Signal Processing (AREA)
- Studio Devices (AREA)
- Cameras In General (AREA)
- Stereoscopic And Panoramic Photography (AREA)
- Indication In Cameras, And Counting Of Exposures (AREA)
- Testing, Inspecting, Measuring Of Stereoscopic Televisions And Televisions (AREA)
Abstract
【課題】第1スルー画像および第2スルー画像のそれぞれが動画撮影及び静止画撮影のいずれに対応しているのかを容易に判別可能な複眼撮像装置を提供する。
【解決手段】被写体像を撮像して画像データを出力する第1撮像素子と、第2撮像素子と、動画レリーズ釦と、第2撮像素子における被写体のAF制御指示と、静止画レリーズ釦と、動画レリーズ釦が動画の撮影指示を受け付けたことに応じて、第1画像データに基づいて動画撮影を開始する画像処理部と、第1画像データに対応する第1スルー画像と、第2画像データに対応する第2スルー画像とを並べて表示可能なモニタと、動画撮影中において静止画レリーズ釦がAF制御指示を受け付けたことに応じて、第2スルー画像に対応する静止画が撮影されることを示す静止画対象表示を、第1スルー画像及び第2スルー画像とともにモニタに表示させる画像表示部と、を備える。
【選択図】図8
【解決手段】被写体像を撮像して画像データを出力する第1撮像素子と、第2撮像素子と、動画レリーズ釦と、第2撮像素子における被写体のAF制御指示と、静止画レリーズ釦と、動画レリーズ釦が動画の撮影指示を受け付けたことに応じて、第1画像データに基づいて動画撮影を開始する画像処理部と、第1画像データに対応する第1スルー画像と、第2画像データに対応する第2スルー画像とを並べて表示可能なモニタと、動画撮影中において静止画レリーズ釦がAF制御指示を受け付けたことに応じて、第2スルー画像に対応する静止画が撮影されることを示す静止画対象表示を、第1スルー画像及び第2スルー画像とともにモニタに表示させる画像表示部と、を備える。
【選択図】図8
Description
本発明は、2以上の光学系を備える複眼撮像装置に関する。
特許文献1には、互いに大きさの異なる第1撮像素子と第2撮像素子とを備えるデジタルカメラにおいて、第1撮像素子で撮像された第1スルー画像と第2撮像素子で撮像された第2スルー画像をモニタに並べて表示する手法が開示されている。
ここで、第1スルー画像に対応する動画を撮影しながら第2スルー画像に対応する静止画を撮影することが考えられる。しかしながら、この場合には、第1スルー画像と第2スルー画像とが並んで表示されているので、各スルー画像が動画撮影と静止画撮影のいずれに対応しているのかをユーザが判別しにくいという問題がある。
本発明は上記問題に鑑みてなされたものであり、第1スルー画像および第2スルー画像のそれぞれが動画撮影及び静止画撮影のいずれに対応しているのかを容易に判別可能な複眼撮像装置を提供することを目的とする。
本発明は上記問題に鑑みてなされたものであり、第1スルー画像および第2スルー画像のそれぞれが動画撮影及び静止画撮影のいずれに対応しているのかを容易に判別可能な複眼撮像装置を提供することを目的とする。
本発明に係る複眼撮像装置は、被写体像を撮像して第1画像データを出力する第1撮像素子と、被写体像を撮像して第2画像データを出力する第2撮像素子と、前記第1画像データに対応する動画の撮影指示を受け付ける動画レリーズ釦と、前記第2撮像素子における被写体のAF制御指示と、前記第2画像データに対応する静止画の撮影指示とを受け付ける静止画レリーズ釦と、前記動画レリーズ釦が前記動画の撮影指示を受け付けたことに応じて、前記第1画像データに基づいて動画撮影を開始する画像処理部と、前記第1画像データに対応する第1スルー画像と、前記第2画像データに対応する第2スルー画像とを並べて表示可能なモニタと、前記画像処理部が動画撮影中において前記静止画レリーズ釦が前記AF制御指示を受け付けたことに応じて、前記第2スルー画像に対応する静止画が撮影されることを示す静止画対象表示を、前記第1スルー画像及び前記第2スルー画像とともに前記モニタに表示させる画像表示部と、を備える。
本発明によれば、第1スルー画像および第2スルー画像のそれぞれが動画撮影及び静止画撮影のいずれに対応しているのかを容易に判別可能な複眼撮像装置を提供することができる。
以下、本発明をデジタルカメラに適用した場合について、図面を参照しながら説明する。
<1−1.デジタルカメラの構成>
まずは、デジタルカメラの構成に関して説明する。
図1は、本実施の形態におけるデジタルカメラ1の電気的構成を示すブロック図である。
本実施の形態にかかるデジタルカメラ1の電気的構成について、図1を用いて説明する。デジタルカメラ1は、光学系110(a)及び110(b)、ズームモータ120(a)及び120(b)、OISアクチュエータ130(a)及び130(b)、フォーカスモータ140(a)及び140(b)、CCDイメージセンサ150(a)及び150(b)、画像処理部160、メモリ200、コントローラ210、ジャイロセンサ220、カードスロット230、メモリカード240、操作部材250、ズームレバー260、液晶モニタ270(「モニタ」の一例)、内部メモリ280、モード設定スイッチ290を備える。
<1−1.デジタルカメラの構成>
まずは、デジタルカメラの構成に関して説明する。
図1は、本実施の形態におけるデジタルカメラ1の電気的構成を示すブロック図である。
本実施の形態にかかるデジタルカメラ1の電気的構成について、図1を用いて説明する。デジタルカメラ1は、光学系110(a)及び110(b)、ズームモータ120(a)及び120(b)、OISアクチュエータ130(a)及び130(b)、フォーカスモータ140(a)及び140(b)、CCDイメージセンサ150(a)及び150(b)、画像処理部160、メモリ200、コントローラ210、ジャイロセンサ220、カードスロット230、メモリカード240、操作部材250、ズームレバー260、液晶モニタ270(「モニタ」の一例)、内部メモリ280、モード設定スイッチ290を備える。
光学系110(a)は、ズームレンズ111(a)、OIS112(a)、フォーカスレンズ113(a)を含む。また、光学系110(b)は、ズームレンズ111(b)、OIS112(b)、フォーカスレンズ113(b)を含む。なお、光学系110(a)は、第1視点における被写体像を形成する。また、光学系110(b)は、第1視点とは異なる第2視点における被写体像を形成する。本実施形態において、第1視点はユーザの左眼の視点に対応し、第2視点はユーザの右眼の視点に対応している。
ズームレンズ111(a)及び111(b)は、光学系110(a)及び110(b)それぞれの光軸に沿って移動することにより、それぞれCCDイメージセンサ150(a)および150(b)の各々に結像する被写体像を拡大又は縮小可能である。ズームレンズ111(a)及び111(b)は、それぞれズームモータ120(a)および120(b)によって駆動制御される。
ズームレンズ111(a)及び111(b)は、光学系110(a)及び110(b)それぞれの光軸に沿って移動することにより、それぞれCCDイメージセンサ150(a)および150(b)の各々に結像する被写体像を拡大又は縮小可能である。ズームレンズ111(a)及び111(b)は、それぞれズームモータ120(a)および120(b)によって駆動制御される。
OIS112(a)及び112(b)は、それぞれ内部に光軸に垂直な面内で移動可能な補正レンズを有する。OIS112(a)及び112(b)は、それぞれデジタルカメラ1のブレを相殺する方向に補正レンズを駆動することにより、被写体像のブレを低減する。OIS112(a)及び112(b)は、それぞれOISアクチュエータ130(a)および130(b)によって駆動制御される。
フォーカスレンズ113(a)及び113(b)は、光学系110(a)及び110(b)それぞれの光軸に沿って移動することにより、それぞれCCDイメージセンサ150(a)および150(b)に結像する被写体像のピントを調整可能である。フォーカスレンズ113(a)及び113(b)は、それぞれフォーカスモータ140(a)および140(b)によって制御される。
フォーカスレンズ113(a)及び113(b)は、光学系110(a)及び110(b)それぞれの光軸に沿って移動することにより、それぞれCCDイメージセンサ150(a)および150(b)に結像する被写体像のピントを調整可能である。フォーカスレンズ113(a)及び113(b)は、それぞれフォーカスモータ140(a)および140(b)によって制御される。
なお、以下の説明では、光学系110(a)及び110(b)を総称して単に光学系110と記載することがある。ズームレンズ111、OIS112、フォーカスレンズ113、ズームモータ120、OISアクチュエータ130、フォーカスモータ140、CCDイメージセンサ150についても同様である。
ズームモータ120(a)および120(b)は、それぞれズームレンズ111(a)及び111(b)を駆動制御する。ズームモータ120(a)および120(b)は、パルスモータやDCモータ、リニアモータ、サーボモータなどで実現してもよい。ズームモータ120(a)および120(b)は、カム機構やボールネジなどの機構を介してズームレンズ111(a)及び111(b)それぞれを駆動するようにしてもよい。また、ズームレンズ111(a)とズームレンズ111(b)を同じ動作で制御する構成にしても良い。
ズームモータ120(a)および120(b)は、それぞれズームレンズ111(a)及び111(b)を駆動制御する。ズームモータ120(a)および120(b)は、パルスモータやDCモータ、リニアモータ、サーボモータなどで実現してもよい。ズームモータ120(a)および120(b)は、カム機構やボールネジなどの機構を介してズームレンズ111(a)及び111(b)それぞれを駆動するようにしてもよい。また、ズームレンズ111(a)とズームレンズ111(b)を同じ動作で制御する構成にしても良い。
OISアクチュエータ130(a)および130(b)は、それぞれOIS112(a)及び112(b)内の補正レンズを光軸と垂直な面内で駆動制御する。OISアクチュエータ130(a)および130(b)は、平面コイルや超音波モータなどで実現できる。
フォーカスモータ140(a)および140(b)は、それぞれフォーカスレンズ113(a)及び113(b)を駆動制御する。フォーカスモータ140(a)および140(b)は、パルスモータやDCモータ、リニアモータ、サーボモータなどで実現してもよい。フォーカスモータ140(a)および140(b)は、カム機構やボールネジなどの機構を介してフォーカスレンズ113(a)及び113(b)それぞれを駆動するようにしてもよい。
フォーカスモータ140(a)および140(b)は、それぞれフォーカスレンズ113(a)及び113(b)を駆動制御する。フォーカスモータ140(a)および140(b)は、パルスモータやDCモータ、リニアモータ、サーボモータなどで実現してもよい。フォーカスモータ140(a)および140(b)は、カム機構やボールネジなどの機構を介してフォーカスレンズ113(a)及び113(b)それぞれを駆動するようにしてもよい。
CCDイメージセンサ150(a)及び150(b)は、それぞれ光学系110(a)及び110(b)それぞれによって結像された被写体像を撮影して、第1画像データ及び第2画像データを生成する。CCDイメージセンサ150(a)と150(b)とは、左右方向において所定の間隔(例えば、3cm程度)だけ離間している。本実施形態において、第1画像データは左眼用画像を示す信号であり、第2画像データは右眼用画像を示す信号である。
CCDイメージセンサ150(a)及び150(b)は、露光、転送、電子シャッタなどの各種動作を行う。CCDイメージセンサ150(a)は、「第1撮像素子」の一例であり、CCDイメージセンサ150(b)は、「第2撮像素子」の一例である。
画像処理部160は、CCDイメージセンサ150(a)及び150(b)で生成された第1画像データ及び第2画像データに対して各種の処理(例えば、ガンマ補正、ホワイトバランス補正、傷補正など)を施す。これによって、画像処理部160は、液晶モニタ270に表示するための画像データを生成したり、メモリカード240に格納するための画像データを生成したりする。例えば、画像処理部160は、後述する動画レリーズ釦が動画の撮影指示を受け付けたことに応じて、第1画像データに基づいて動画用画像データの生成を開始し、再び動画レリーズ釦が押下されたことに応じて、動画用画像データの生成を終了する。本実施形態において、「動画撮影中」とは、画像処理部160による動画用画像データの生成開始から生成終了までを意味する。また、画像処理部160は、後述する静止画レリーズ釦が静止画の撮影指示を受け付けたことに応じて、第1及び第2画像データから静止画用画像データの生成を開始する。
CCDイメージセンサ150(a)及び150(b)は、露光、転送、電子シャッタなどの各種動作を行う。CCDイメージセンサ150(a)は、「第1撮像素子」の一例であり、CCDイメージセンサ150(b)は、「第2撮像素子」の一例である。
画像処理部160は、CCDイメージセンサ150(a)及び150(b)で生成された第1画像データ及び第2画像データに対して各種の処理(例えば、ガンマ補正、ホワイトバランス補正、傷補正など)を施す。これによって、画像処理部160は、液晶モニタ270に表示するための画像データを生成したり、メモリカード240に格納するための画像データを生成したりする。例えば、画像処理部160は、後述する動画レリーズ釦が動画の撮影指示を受け付けたことに応じて、第1画像データに基づいて動画用画像データの生成を開始し、再び動画レリーズ釦が押下されたことに応じて、動画用画像データの生成を終了する。本実施形態において、「動画撮影中」とは、画像処理部160による動画用画像データの生成開始から生成終了までを意味する。また、画像処理部160は、後述する静止画レリーズ釦が静止画の撮影指示を受け付けたことに応じて、第1及び第2画像データから静止画用画像データの生成を開始する。
また、画像処理部160は、コントローラ210からの制御信号に基づいて、第1画像データ及び第2画像データに対して、例えば、エッジ強調処理等のエンハンス処理を行う。
また、画像処理部160は、3D画像の処理において、第1画像データ及び第2画像データに対して切り出し処理を行う。具体的には、3D画像を構成する第1画像データ及び第2画像データの間に垂直方向のずれが存在することで観察者に違和感を与えないように、画像処理部160は、第1画像データ及び第2画像データそれぞれの垂直方向における切り出し位置を補正する。また、3D画像を再生した際の立体感を制御するために、画像処理部160は、第1画像データ及び第2画像データそれぞれの水平方向の切り出し位置を変化させることにより、両視点間の視差を調整可能である。なお、ここでの立体感とは、3D画像を視聴した際の被写体像の飛び出し(奥行き)度合いを指す。また、画像処理部160が切り出した画像データを、切り出し前の信号と区別して切り出し画像データと呼ぶことがある。
また、画像処理部160は、3D画像の処理において、第1画像データ及び第2画像データに対して切り出し処理を行う。具体的には、3D画像を構成する第1画像データ及び第2画像データの間に垂直方向のずれが存在することで観察者に違和感を与えないように、画像処理部160は、第1画像データ及び第2画像データそれぞれの垂直方向における切り出し位置を補正する。また、3D画像を再生した際の立体感を制御するために、画像処理部160は、第1画像データ及び第2画像データそれぞれの水平方向の切り出し位置を変化させることにより、両視点間の視差を調整可能である。なお、ここでの立体感とは、3D画像を視聴した際の被写体像の飛び出し(奥行き)度合いを指す。また、画像処理部160が切り出した画像データを、切り出し前の信号と区別して切り出し画像データと呼ぶことがある。
さらに、画像処理部160は、上記処理された第1画像データ及び第2画像データに対して、それぞれJPEG規格に準拠した圧縮形式等により圧縮処理を施す。第1画像データ及び第2画像データを圧縮して得られる2つの圧縮画像データは互いに関連付けられて、メモリカード240に記録される。なお、2つの圧縮画像データが記録される際、MPOファイルフォーマットを用いて記録されるのが望ましい。また、圧縮する画像データが動画の場合、H.264/MPEG4 AVC等の動画圧縮規格が適用されることになる。また、MPOファイルフォーマットと、JPEG画像若しくはMPEG動画と、を同時に記録する構成にしても構わない。
画像処理部160は、DSPやマイコンなどで実現可能である。なお、レビュー画像の解像度(画素数)は、液晶モニタ270の画面解像度に設定しても構わないし、JPEG規格に準拠した圧縮形式等により圧縮され形成される画像データの解像度に設定しても構わない。
画像処理部160は、DSPやマイコンなどで実現可能である。なお、レビュー画像の解像度(画素数)は、液晶モニタ270の画面解像度に設定しても構わないし、JPEG規格に準拠した圧縮形式等により圧縮され形成される画像データの解像度に設定しても構わない。
メモリ200は、画像処理部160及びコントローラ210のワークメモリとして機能する。メモリ200は、例えば、画像処理部160で処理された画像データ若しくは、画像処理部160で処理される前のCCDイメージセンサ150から入力される画像データを一時的に蓄積する。また、メモリ200は、撮影時における光学系110(a)及び110(b)、CCDイメージセンサ150(a)及び150(b)の撮影条件を一時的に蓄積する。撮影条件とは、被写体距離、画角情報、ISO感度、シャッタースピード、EV値、F値、レンズ間距離、撮影時刻、OISシフト量等を示す。メモリ200は、例えば、DRAM、強誘電体メモリなどで実現できる。
内部メモリ280は、フラッシュメモリや強誘電体メモリなどで構成される。内部メモリ280は、デジタルカメラ1全体を制御するための制御プログラム等を記憶している。
内部メモリ280は、フラッシュメモリや強誘電体メモリなどで構成される。内部メモリ280は、デジタルカメラ1全体を制御するための制御プログラム等を記憶している。
コントローラ210は、全体を制御する制御手段である。コントローラ210は、ハードウェアのみで構成してもよいし、ハードウェアとソフトウェアとを組み合わせることにより実現してもよい。コントローラ210は、マイコンなどで実現できる。コントローラ210の構成及び機能については後述する。
ジャイロセンサ220は、圧電素子等の振動材等で構成される。ジャイロセンサ220は、圧電素子等の振動材を一定周波数で振動させた場合に働くコリオリ力を電圧に変換することによって角速度情報を得る。ジャイロセンサ220から得られる角速度情報によって示される揺れを相殺する方向にOIS112内の補正レンズを駆動させることにより、使用者によりデジタルカメラ1に与えられる手振れは補正される。なお、ジャイロセンサ220は、少なくともピッチ角の角速度情報を計測可能なデバイスであればよい。また、ジャイロセンサ220がヨー角の角速度情報を計測可能な場合、デジタルカメラ1の略水平方向に移動した際の回転について考慮することが可能となる。
ジャイロセンサ220は、圧電素子等の振動材等で構成される。ジャイロセンサ220は、圧電素子等の振動材を一定周波数で振動させた場合に働くコリオリ力を電圧に変換することによって角速度情報を得る。ジャイロセンサ220から得られる角速度情報によって示される揺れを相殺する方向にOIS112内の補正レンズを駆動させることにより、使用者によりデジタルカメラ1に与えられる手振れは補正される。なお、ジャイロセンサ220は、少なくともピッチ角の角速度情報を計測可能なデバイスであればよい。また、ジャイロセンサ220がヨー角の角速度情報を計測可能な場合、デジタルカメラ1の略水平方向に移動した際の回転について考慮することが可能となる。
カードスロット230は、メモリカード240を着脱可能である。カードスロット230は、機械的及び電気的にメモリカード240と接続可能である。
メモリカード240は、フラッシュメモリや強誘電体メモリなどを内部に含み、データを格納可能である。
操作部材250は、使用者からの操作を受け付けるユーザーインターフェースの総称である。例えば、使用者からの操作を受け付ける十字釦、決定釦や動画レリーズ釦、静止画レリーズ釦を備える。動画レリーズ釦は、第1画像データに対応する動画の撮影指示を受け付ける。静止画レリーズ釦は、CCDイメージセンサ150(b)における被写体のAF制御(以下、AF制御という。)指示と、第2画像データに対応する静止画の撮影指示とをユーザから受け付ける。具体的には、静止画レリーズ釦を半押しした場合、コントローラ210を介したAF制御及びAE制御が実行される。また、レリーズ釦を全押しした場合、被写体の撮影が実行される。
メモリカード240は、フラッシュメモリや強誘電体メモリなどを内部に含み、データを格納可能である。
操作部材250は、使用者からの操作を受け付けるユーザーインターフェースの総称である。例えば、使用者からの操作を受け付ける十字釦、決定釦や動画レリーズ釦、静止画レリーズ釦を備える。動画レリーズ釦は、第1画像データに対応する動画の撮影指示を受け付ける。静止画レリーズ釦は、CCDイメージセンサ150(b)における被写体のAF制御(以下、AF制御という。)指示と、第2画像データに対応する静止画の撮影指示とをユーザから受け付ける。具体的には、静止画レリーズ釦を半押しした場合、コントローラ210を介したAF制御及びAE制御が実行される。また、レリーズ釦を全押しした場合、被写体の撮影が実行される。
ズームレバー260は、使用者からズーム倍率の変更指示を受け付ける部材である。
液晶モニタ270は、CCDイメージセンサ150で生成された第1画像データに対応する第1スルー画像TH1や第2画像データに対応する第2スルー画像TH2(図6〜図9参照)、或いは、メモリカード240から読み出した第1画像データ及び第2画像データを2D表示若しくは3D表示可能な表示デバイスである。また、液晶モニタ270は、デジタルカメラ1の各種の設定情報を表示可能である。例えば、液晶モニタ270は、撮影時における撮影条件である、EV値、F値、シャッタースピード、ISO感度等を表示可能である。なお、スルー画像とは、画像を順次表示することによって液晶モニタ270に映し出される動画である。このようなスルー画像は、使用者が被写体の構図を決めるために用いられるものであり、通常、スルー画像自体はメモリカード240に格納されない。
液晶モニタ270は、CCDイメージセンサ150で生成された第1画像データに対応する第1スルー画像TH1や第2画像データに対応する第2スルー画像TH2(図6〜図9参照)、或いは、メモリカード240から読み出した第1画像データ及び第2画像データを2D表示若しくは3D表示可能な表示デバイスである。また、液晶モニタ270は、デジタルカメラ1の各種の設定情報を表示可能である。例えば、液晶モニタ270は、撮影時における撮影条件である、EV値、F値、シャッタースピード、ISO感度等を表示可能である。なお、スルー画像とは、画像を順次表示することによって液晶モニタ270に映し出される動画である。このようなスルー画像は、使用者が被写体の構図を決めるために用いられるものであり、通常、スルー画像自体はメモリカード240に格納されない。
本実施形態に係る液晶モニタ270には、2D表示の場合、第1スルー画像TH1と第2スルー画像TH2とが左右に並んで表示されるが、これに限られるものではない。液晶モニタ270には、第1スルー画像TH1及び第2スルー画像TH2のうちコントローラ210によって選択されたスルー画像だけが表示されても構わないし、第1スルー画像TH1と第2スルー画像TH2とが上下に並んで表示されても構わない。また、第1スルー画像TH1と第2スルー画像TH2とをライン毎に交互に表示しても構わない。また、液晶モニタ270には、3D表示の場合、第1スルー画像TH1と第2スルー画像TH2とがフレームシーケンシャルに表示されたり、第1スルー画像TH1と第2スルー画像TH2とがオーバーレイして表示されてもよい。
モード設定スイッチ290は、デジタルカメラ1で2D撮影する際の2D撮影モードと、デジタルカメラ1で3D撮影する際の3D撮影モードと、撮影した画像を再生する再生モードとを切り替えるためのスイッチである。2D撮影モードでは、画角の異なる第1スルー画像TH1と第2スルー画像TH2を同時に撮影することができる。具体的に、2D撮影モードでは、第1スルー画像TH1の動画撮影中における第2スルー画像TH2の静止画撮影と、第1スルー画像TH1および第2スルー画像TH2の同時静止画撮影とを行うことができる。3D撮影モードでは、第1スルー画像TH1と第2スルー画像TH2を同時に動画撮影又は静止画撮影できる。デジタルカメラ1では、2D撮影モード及び3D撮影モードに切り換えられるたびに各モードに応じた適切な撮影パラメータが設定される。なお、以下の説明では、2D撮影モードと3D撮影モードとを「撮影モード」と総称する場合がある。
<1−2.コントローラの構成>
図2は、コントローラの電気的構成を示すブロック図である。コントローラ210は、釦押下判定部211、AF制御部212、画像表示部213、画像記録部214より構成されている。
モード設定スイッチ290は、デジタルカメラ1で2D撮影する際の2D撮影モードと、デジタルカメラ1で3D撮影する際の3D撮影モードと、撮影した画像を再生する再生モードとを切り替えるためのスイッチである。2D撮影モードでは、画角の異なる第1スルー画像TH1と第2スルー画像TH2を同時に撮影することができる。具体的に、2D撮影モードでは、第1スルー画像TH1の動画撮影中における第2スルー画像TH2の静止画撮影と、第1スルー画像TH1および第2スルー画像TH2の同時静止画撮影とを行うことができる。3D撮影モードでは、第1スルー画像TH1と第2スルー画像TH2を同時に動画撮影又は静止画撮影できる。デジタルカメラ1では、2D撮影モード及び3D撮影モードに切り換えられるたびに各モードに応じた適切な撮影パラメータが設定される。なお、以下の説明では、2D撮影モードと3D撮影モードとを「撮影モード」と総称する場合がある。
<1−2.コントローラの構成>
図2は、コントローラの電気的構成を示すブロック図である。コントローラ210は、釦押下判定部211、AF制御部212、画像表示部213、画像記録部214より構成されている。
釦押下判定部211は、操作部材250が備える各種ボタンのうちいずれの釦が押下されているかを判定し、判定結果を画像処理部160に通知する。画像処理部160は、釦押下判定部211からの通知に応じて第1画像データ及び第2画像データに対する圧縮処理などを実行する。
また、釦押下判定部211は、動画レリーズ釦が動画の撮影指示を受け付けたか否かを判定する。釦押下判定部211は、動画の撮影指示を受け付けたと判定した場合、その旨をAF制御部212に通知する。
また、釦押下判定部211は、動画レリーズ釦が動画の撮影指示を受け付けている間に静止画レリーズ釦が半押しされたか否か、すなわち、動画撮影中に静止画のAF制御指示を受け付けたか否かを判定する。釦押下判定部211は、動画撮影中に静止画のAF制御指示を受け付けたと判定した場合、その旨をAF制御部212に通知する。
また、釦押下判定部211は、動画レリーズ釦が動画の撮影指示を受け付けたか否かを判定する。釦押下判定部211は、動画の撮影指示を受け付けたと判定した場合、その旨をAF制御部212に通知する。
また、釦押下判定部211は、動画レリーズ釦が動画の撮影指示を受け付けている間に静止画レリーズ釦が半押しされたか否か、すなわち、動画撮影中に静止画のAF制御指示を受け付けたか否かを判定する。釦押下判定部211は、動画撮影中に静止画のAF制御指示を受け付けたと判定した場合、その旨をAF制御部212に通知する。
また、釦押下判定部211は、動画レリーズ釦が動画の撮影指示を受け付けていない間に静止画レリーズ釦が半押しされたか否かを判定する。釦押下判定部211は、動画撮影中でないときに静止画のAF制御指示を受け付けたと判定した場合、その旨をAF制御部212に通知する。
AF制御部212は、動画の撮影指示を受け付けた旨の通知を釦押下判定部211から受けた場合、フォーカスモータ140(a)を制御することによってCCDイメージセンサ150(a)に結像する被写体像のピント調整を継続して実行する。この場合、AF制御部212は、CCDイメージセンサ150(a)のAF制御を継続中であることを画像表示部213に通知する。
また、AF制御部212は、動画撮影中に静止画のAF制御指示を受け付けた旨の通知を釦押下判定部211から受けた場合、上述のCCDイメージセンサ150(a)のピント調整を継続しながら、フォーカスモータ140(b)を制御することによってCCDイメージセンサ150(b)に結像する被写体像のピント調整を実行する。この場合、AF制御部212は、CCDイメージセンサ150(a)のAF制御を継続中であり、かつ、CCDイメージセンサ150(b)のAF制御が完了したことを画像表示部213に通知する。
AF制御部212は、動画の撮影指示を受け付けた旨の通知を釦押下判定部211から受けた場合、フォーカスモータ140(a)を制御することによってCCDイメージセンサ150(a)に結像する被写体像のピント調整を継続して実行する。この場合、AF制御部212は、CCDイメージセンサ150(a)のAF制御を継続中であることを画像表示部213に通知する。
また、AF制御部212は、動画撮影中に静止画のAF制御指示を受け付けた旨の通知を釦押下判定部211から受けた場合、上述のCCDイメージセンサ150(a)のピント調整を継続しながら、フォーカスモータ140(b)を制御することによってCCDイメージセンサ150(b)に結像する被写体像のピント調整を実行する。この場合、AF制御部212は、CCDイメージセンサ150(a)のAF制御を継続中であり、かつ、CCDイメージセンサ150(b)のAF制御が完了したことを画像表示部213に通知する。
また、AF制御部212は、動画撮影中でないときに静止画のAF制御指示を受け付けた旨の通知を釦押下判定部211から受けた場合、フォーカスモータ140(a)の制御によるCCDイメージセンサ150(a)のピント調整と、フォーカスモータ140(b)の制御によるCCDイメージセンサ150(b)のピント調整とを同時に実行する。この場合、AF制御部212は、CCDイメージセンサ150(a)及びCCDイメージセンサ150(b)のAF制御が完了したことを画像表示部213に通知する。
なお、AF制御部212は、以下に説明する周知の手順にしたがってAF制御を実行する。まず、AF制御部212は、フォーカスモータ140を制御することによってフォーカスレンズ113の位置を変化させた後、画像処理部160によるコントラストAFのための画像処理結果を取得する。AF制御部212は、画像処理結果が適切になるまで、すなわちAF制御が完了するまで、繰り返しフォーカスモータ140を制御する。
なお、AF制御部212は、以下に説明する周知の手順にしたがってAF制御を実行する。まず、AF制御部212は、フォーカスモータ140を制御することによってフォーカスレンズ113の位置を変化させた後、画像処理部160によるコントラストAFのための画像処理結果を取得する。AF制御部212は、画像処理結果が適切になるまで、すなわちAF制御が完了するまで、繰り返しフォーカスモータ140を制御する。
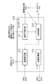
画像表示部213は、モード設定スイッチ290が2D撮影モードに切り換えられた場合、メモリ200から出力される第1画像データ及び第2画像データを液晶モニタ270に順次送信することによって、第1スルー画像TH1及び第2スルー画像TH2を液晶モニタ270に並べて表示させる。
また、画像表示部213は、CCDイメージセンサ150(a)のAF制御を継続中である旨の通知をAF制御部212から受けた場合、動画対象表示100(a)を液晶モニタ270に表示させる(図7参照)。動画対象表示100(a)は、第1スルー画像TH1に対応する動画が撮影されること、及び、CCDイメージセンサ150(a)のAF制御が継続されていることを示す。
また、画像表示部213は、CCDイメージセンサ150(a)のAF制御を継続中であり、かつ、CCDイメージセンサ150(b)のAF制御が完了した旨の通知をAF制御部212から受けた場合、動画対象表示100(a)と静止画対象表示100(b)を液晶モニタ270に表示させる(図8参照)。静止画対象表示100(b)は、第2スルー画像TH2に対応する静止画が撮影されること、及び、CCDイメージセンサ150(b)のAF制御が完了したことを示す。
また、画像表示部213は、CCDイメージセンサ150(a)のAF制御を継続中である旨の通知をAF制御部212から受けた場合、動画対象表示100(a)を液晶モニタ270に表示させる(図7参照)。動画対象表示100(a)は、第1スルー画像TH1に対応する動画が撮影されること、及び、CCDイメージセンサ150(a)のAF制御が継続されていることを示す。
また、画像表示部213は、CCDイメージセンサ150(a)のAF制御を継続中であり、かつ、CCDイメージセンサ150(b)のAF制御が完了した旨の通知をAF制御部212から受けた場合、動画対象表示100(a)と静止画対象表示100(b)を液晶モニタ270に表示させる(図8参照)。静止画対象表示100(b)は、第2スルー画像TH2に対応する静止画が撮影されること、及び、CCDイメージセンサ150(b)のAF制御が完了したことを示す。
また、画像表示部213は、CCDイメージセンサ150(a)及びCCDイメージセンサ150(b)のAF制御が完了した旨の通知をAF制御部212から受けた場合、静止画対象表示100(b)と静止画対象表示100(c)を液晶モニタ270に表示させる(図9参照)。静止画対象表示100(c)は、第1スルー画像TH1に対応する静止画が撮影されることを示し、かつ、CCDイメージセンサ150(a)のAF制御が完了したことを示す。画像表示部213は、
なお、後述するように、画像表示部213は、動画対象表示100(a)又は静止画対象表示100(c)を第1スルー画像TH1に重ねて表示させ、静止画対象表示100(b)を第2スルー画像TH2に重ねて表示させる。
画像記録部214は、メモリ200の画像データを読み出し、第1画像データに対応する動画や第2画像データに対応する静止画をメモリカード240に記録する。
<1−3.画像データ撮影動作>
以下、デジタルカメラ1における画像データの撮影動作について説明を行う。
なお、後述するように、画像表示部213は、動画対象表示100(a)又は静止画対象表示100(c)を第1スルー画像TH1に重ねて表示させ、静止画対象表示100(b)を第2スルー画像TH2に重ねて表示させる。
画像記録部214は、メモリ200の画像データを読み出し、第1画像データに対応する動画や第2画像データに対応する静止画をメモリカード240に記録する。
<1−3.画像データ撮影動作>
以下、デジタルカメラ1における画像データの撮影動作について説明を行う。
図3は、デジタルカメラ1における撮影動作の概要を説明するためのフローチャートである。図4は、デジタルカメラ1における動画撮影動作を説明するためのフローチャートである。図5は、デジタルカメラ1における静止画撮影動作を説明するためのフローチャートである。また、図6〜9は、2D撮影モード時の液晶モニタ270における表示例を示す模式図である。
撮影モードが選択されたことに応じて、コントローラ210は、まず、撮影モード用の初期化処理を実行する(S201)。
コントローラ210は、モード設定スイッチ290が撮影モードを示しているかどうかを判定する(S202)。モード設定スイッチ290が撮影モードを示している場合、ステップS203に進む。モード設定スイッチ290が撮影モードを示していない場合、撮影モードを終了する。
撮影モードが選択されたことに応じて、コントローラ210は、まず、撮影モード用の初期化処理を実行する(S201)。
コントローラ210は、モード設定スイッチ290が撮影モードを示しているかどうかを判定する(S202)。モード設定スイッチ290が撮影モードを示している場合、ステップS203に進む。モード設定スイッチ290が撮影モードを示していない場合、撮影モードを終了する。
コントローラ210は、撮影モードが2D撮影モードか、3D撮影モードかを判定する(S203)。2D撮影モードである場合、ステップS204に進む。一方、3D撮影モードである場合、ステップS209に進む。
コントローラ210は、2D撮影モードの場合、第1画像データに対応する第1スルー画像TH1と第2画像データに対応する第2スルー画像TH2を表示する(S204)。図6は、2D撮影モードに切り換えられた時点における第1スルー画像TH1と第2スルー画像TH2の表示例を示す。第1スルー画像TH1と第2スルー画像TH2とは互いに画角が異なっている。
コントローラ210は、操作部材250の動画レリーズ釦の押下が検知されたか否かを判定する(S205)。動画レリーズ釦の押下が検知されると動画撮影開始・終了処理(S206)が行われた後、処理はステップS202に戻る。動画撮影開始・終了処理の詳細については、図4のフローチャートを用いて説明する。動画レリーズ釦の押下が検知されなければステップS207に進む。
コントローラ210は、2D撮影モードの場合、第1画像データに対応する第1スルー画像TH1と第2画像データに対応する第2スルー画像TH2を表示する(S204)。図6は、2D撮影モードに切り換えられた時点における第1スルー画像TH1と第2スルー画像TH2の表示例を示す。第1スルー画像TH1と第2スルー画像TH2とは互いに画角が異なっている。
コントローラ210は、操作部材250の動画レリーズ釦の押下が検知されたか否かを判定する(S205)。動画レリーズ釦の押下が検知されると動画撮影開始・終了処理(S206)が行われた後、処理はステップS202に戻る。動画撮影開始・終了処理の詳細については、図4のフローチャートを用いて説明する。動画レリーズ釦の押下が検知されなければステップS207に進む。
コントローラ210は、操作部材250のうち静止画レリーズ釦が半押しされたか否かを判定する(S207)。コントローラ210は、静止画レリーズ釦の半押しが検知されると、静止画撮影処理(S208)が行われた後、処理はステップS202に戻る。静止画撮影処理の詳細については、図5のフローチャートを用いて説明する。静止画レリーズ釦の半押しが検知されなければステップS202に戻る。
コントローラ210は、ステップS203において3D撮影モードと判定された場合、第1スルー画像TH1を表示する(S209)。
コントローラ210は、操作部材250の静止画レリーズ釦が全押しされたか否かを判定する(S210)。静止画レリーズ釦が全押しされると、処理はステップS211に進む。静止画レリーズ釦が全押しされなければ、処理はステップS210を繰り返す。 静止画レリーズ釦が全押しされると、CCDイメージセンサ150(a)及び150(b)は、3D撮影モードから設定される撮影条件を基に撮影動作を行い、一対の第1画像データ及び第2画像データを生成する(S211)。
コントローラ210は、ステップS203において3D撮影モードと判定された場合、第1スルー画像TH1を表示する(S209)。
コントローラ210は、操作部材250の静止画レリーズ釦が全押しされたか否かを判定する(S210)。静止画レリーズ釦が全押しされると、処理はステップS211に進む。静止画レリーズ釦が全押しされなければ、処理はステップS210を繰り返す。 静止画レリーズ釦が全押しされると、CCDイメージセンサ150(a)及び150(b)は、3D撮影モードから設定される撮影条件を基に撮影動作を行い、一対の第1画像データ及び第2画像データを生成する(S211)。
一対の画像データが生成されると、画像処理部160は、一対の画像データに対して3D撮影モードに則した各種画像処理を行う(S212)。また、画像処理部160は、一対の画像データに基づいて一対の圧縮画像データを生成し、一時的にメモリ200に蓄積する。
一対の圧縮画像データがメモリ200に蓄積されると、コントローラ210は、一対の圧縮画像データをメモリカード240に記録する(S213)。なお、コントローラ210は、一対の圧縮画像データをメモリカード240に記録する際、例えばMPOファイルフォーマットを用いて一対の圧縮画像データを互いに関連付けて記録する。
図4は、動画撮影開始・終了処理(S206)の詳細を示すフローチャートである。
使用者による操作部材250の動画レリーズ釦の押下を検知すると、コントローラ210は、デジタルカメラ1が動画記録中であるかどうかを判定する(S401)。
一対の圧縮画像データがメモリ200に蓄積されると、コントローラ210は、一対の圧縮画像データをメモリカード240に記録する(S213)。なお、コントローラ210は、一対の圧縮画像データをメモリカード240に記録する際、例えばMPOファイルフォーマットを用いて一対の圧縮画像データを互いに関連付けて記録する。
図4は、動画撮影開始・終了処理(S206)の詳細を示すフローチャートである。
使用者による操作部材250の動画レリーズ釦の押下を検知すると、コントローラ210は、デジタルカメラ1が動画記録中であるかどうかを判定する(S401)。
デジタルカメラ1が動画記録中でないと判定された場合、コントローラ210は、画像処理部160に対して動画記録開始指示を行う(S402)。本実施形態では、第1画像データに基づいて動画記録が行われる。コントローラ210は、図7に示すように、動画撮影中、動画撮影対象を示す第1スルー画像TH1の左上部分に動画対象表示100(a)を重ねて表示する。動画対象表示100(a)は、第1スルー画像TH1に対応する動画が撮影されること、及び、CCDイメージセンサ150(a)のAF制御が継続されていることを示す記号であり、例えば“赤丸”などを用いることができる。また、コントローラ210は、動画対象表示100(a)の表示に応じて、第1画像データに基づいて画像処理部160により生成される動画用画像データをメモリカード240に順次記録する。
ステップS401においてデジタルカメラ1が動画記録中であると判定された場合、コントローラ210は、画像処理部160に対して動画記録停止指示を行う(S403)。これに応じて、画像処理部160は、第1画像データに基づく動画用画像データの生成を停止する。
図5は、静止画撮影処理(S208)の詳細を示すフローチャートである。
使用者による操作部材250の静止画レリーズ釦の半押しを検知すると、コントローラ210は、デジタルカメラ1の記録動作の状態が動画記録中であるかどうかを判断する(S501)。
コントローラ210は、デジタルカメラ1が動画記録中であると判定された場合、CCDイメージセンサ150(b)のAF制御を行う(S502)。
図5は、静止画撮影処理(S208)の詳細を示すフローチャートである。
使用者による操作部材250の静止画レリーズ釦の半押しを検知すると、コントローラ210は、デジタルカメラ1の記録動作の状態が動画記録中であるかどうかを判断する(S501)。
コントローラ210は、デジタルカメラ1が動画記録中であると判定された場合、CCDイメージセンサ150(b)のAF制御を行う(S502)。
コントローラ210は、ステップ502でのAF制御の完了に応じて、液晶モニタ270に静止画対象表示100(b)を表示させる(S503)。具体的に、コントローラ210は、図8に示すように、動画撮影中における静止画撮影時には、動画撮影対象を示す第1スルー画像TH1の左上部分に動画対象表示100(a)を表示するとともに、静止画撮影対象を示す第2スルー画像TH2の中央部分に静止画対象表示100(b)を表示させる。静止画対象表示100(b)は、第2スルー画像TH2に対応する静止画が撮影されること、及び、CCDイメージセンサ150(b)のAF制御が完了したことを示す記号であり、例えば“緑丸”などを用いることができる。
コントローラ210は、操作部材250の静止画レリーズ釦の押下状態を判定する(S504)。静止画レリーズ釦の半押しが解除されている場合、コントローラ210は、第2スルー画像TH2上における静止画対象表示100(b)の表示をクリアし、図7の状態に戻る。静止画レリーズ釦の半押し状態が維持されている場合、図8の状態を維持する。静止画レリーズ釦が全押しされた場合、処理はステップS505に進む。
コントローラ210は、操作部材250の静止画レリーズ釦の押下状態を判定する(S504)。静止画レリーズ釦の半押しが解除されている場合、コントローラ210は、第2スルー画像TH2上における静止画対象表示100(b)の表示をクリアし、図7の状態に戻る。静止画レリーズ釦の半押し状態が維持されている場合、図8の状態を維持する。静止画レリーズ釦が全押しされた場合、処理はステップS505に進む。
コントローラ210は、静止画レリーズ釦が全押しされた場合、CCDイメージセンサ150(b)による静止画撮影を行い、第2画像データを生成する(S505)。
第2画像データが生成されると、画像処理部160は、生成された第2画像データに対して2D撮影モードに則した各種画像処理を行う(S506)。また、画像処理部160は、第2画像データに基づいて圧縮画像データを生成し、一時的にメモリ200に蓄積する。
圧縮画像データがメモリ200に蓄積されると、コントローラ210は、JPEGファイルフォーマットを用いて、圧縮画像データをメモリカード240に記録する(S507)。
ステップS501においてデジタルカメラ1が動画記録でないと判定された場合、コントローラ210は、CCDイメージセンサ150(a)及び150(b)それぞれのAF制御を行う(S512)。
第2画像データが生成されると、画像処理部160は、生成された第2画像データに対して2D撮影モードに則した各種画像処理を行う(S506)。また、画像処理部160は、第2画像データに基づいて圧縮画像データを生成し、一時的にメモリ200に蓄積する。
圧縮画像データがメモリ200に蓄積されると、コントローラ210は、JPEGファイルフォーマットを用いて、圧縮画像データをメモリカード240に記録する(S507)。
ステップS501においてデジタルカメラ1が動画記録でないと判定された場合、コントローラ210は、CCDイメージセンサ150(a)及び150(b)それぞれのAF制御を行う(S512)。
コントローラ210は、ステップ512でのAF制御の完了に応じて、液晶モニタ270に静止画対象表示100(b)及び100(c)を表示させる(S513)。具体的に、コントローラ210は、図9に示すように、CCDイメージセンサ150(a)及び150(b)それぞれによる静止画撮影時には、静止画撮影対象を示す第1スルー画像TH1の中央部分に静止画対象表示100(c)を表示するとともに、静止画撮影対象を示す第2スルー画像TH2の中央部分に静止画対象表示100(b)を表示させる。静止画対象表示100(c)は、第1スルー画像TH1に対応する静止画が撮影されること、及び、CCDイメージセンサ150(a)のAF制御が完了したことを示す記号であり、例えば“緑丸”などを用いることができる。
コントローラ210は、操作部材250の静止画レリーズ釦の押下状態を判定する(S514)。静止画レリーズ釦の半押しが解除されている場合、コントローラ210は、第1スルー画像TH1上における静止画対象表示100(c)の表示と第2スルー画像TH2上における静止画対象表示100(b)の表示をクリアし、図6の状態に戻る。静止画レリーズ釦の半押し状態が維持されている場合、図9の状態を維持する。静止画レリーズ釦が全押しされた場合、処理はステップS515に進む。
コントローラ210は、操作部材250の静止画レリーズ釦の押下状態を判定する(S514)。静止画レリーズ釦の半押しが解除されている場合、コントローラ210は、第1スルー画像TH1上における静止画対象表示100(c)の表示と第2スルー画像TH2上における静止画対象表示100(b)の表示をクリアし、図6の状態に戻る。静止画レリーズ釦の半押し状態が維持されている場合、図9の状態を維持する。静止画レリーズ釦が全押しされた場合、処理はステップS515に進む。
コントローラ210は、静止画レリーズ釦が全押しされた場合、CCDイメージセンサ150(a)及び150(b)による静止画撮影を行い、第1画像データ及び第2画像データを生成する(S515)。
第1及び第2画像データが生成されると、画像処理部160は、生成された第1及び第2画像データに対して2D撮影モードに則した各種画像処理を行う(S516)。また、画像処理部160は、第1及び第2画像データそれぞれに基づいて圧縮画像データを生成し、一時的にメモリ200に蓄積する。
圧縮画像データがメモリ200に蓄積されると、コントローラ210は、JPEGファイルフォーマットを用いて、圧縮画像データをメモリカード240に記録する(S517)。
<1−4.まとめ>
本実施の形態に係るデジタルカメラ1は、被写体を撮像して第1画像データを出力するCCDイメージセンサ150(a)と、CCDイメージセンサ150(a)とは異なる視点から被写体を撮像して第2画像データを出力するCCDイメージセンサ150(b)と、第1画像データが動画記録されている場合に、静止画レリーズ釦の操作が行われた際に、第2スルー画像TH2に対応する静止画が撮影されること、及び、CCDイメージセンサ150(b)のAF制御が完了したことを示す静止画対象表示100(b)表示させるコントローラ210と、を備える。
第1及び第2画像データが生成されると、画像処理部160は、生成された第1及び第2画像データに対して2D撮影モードに則した各種画像処理を行う(S516)。また、画像処理部160は、第1及び第2画像データそれぞれに基づいて圧縮画像データを生成し、一時的にメモリ200に蓄積する。
圧縮画像データがメモリ200に蓄積されると、コントローラ210は、JPEGファイルフォーマットを用いて、圧縮画像データをメモリカード240に記録する(S517)。
<1−4.まとめ>
本実施の形態に係るデジタルカメラ1は、被写体を撮像して第1画像データを出力するCCDイメージセンサ150(a)と、CCDイメージセンサ150(a)とは異なる視点から被写体を撮像して第2画像データを出力するCCDイメージセンサ150(b)と、第1画像データが動画記録されている場合に、静止画レリーズ釦の操作が行われた際に、第2スルー画像TH2に対応する静止画が撮影されること、及び、CCDイメージセンサ150(b)のAF制御が完了したことを示す静止画対象表示100(b)表示させるコントローラ210と、を備える。
この構成により、同一の被写体に対する2枚の2D画像を1度の撮影で得ることが出来る。また、第1画像データが動画記録中に静止画レリーズ釦の操作をした時、第2画像データが静止画として記録されるということをユーザに示す静止画対象表示100(b)が表示されるため、第1及び第2スルー画像TH1,TH2のいずれのスルー画像に対応する静止画が撮影されるかをユーザに知らせることができる。
また、本実施の形態のデジタルカメラ1は、被写体を撮像して第1画像データを出力するCCDイメージセンサ150(a)と、CCDイメージセンサ150(a)とは異なる視点から被写体を撮像して第2画像データを出力するCCDイメージセンサ150(b)と、第1画像データおよび第2画像データを出力する画像処理部160と、画像処理部160が第1画像データおよび第2画像データを出力するように制御するコントローラ210と、を備える。
また、本実施の形態のデジタルカメラ1は、被写体を撮像して第1画像データを出力するCCDイメージセンサ150(a)と、CCDイメージセンサ150(a)とは異なる視点から被写体を撮像して第2画像データを出力するCCDイメージセンサ150(b)と、第1画像データおよび第2画像データを出力する画像処理部160と、画像処理部160が第1画像データおよび第2画像データを出力するように制御するコントローラ210と、を備える。
この構成により、同一の被写体に対して、立体感を持つ3D画像を得ることが出来る。
<2.その他の実施形態>
上記実施の形態では、2D撮影モード時において、第1画像データを動画記録することとしたが、第2画像データを動画記録することとしてもよい。この場合、第2画像データの動画記録中に静止画レリーズ釦が半押しされたときには、第1画像データに対してAF制御を行った後に静止画対象表示100(c)を表示させればよい。
また、静止画対象表示100(b)及び100(c)は、AF制御が完了したことを示すこととしたが、静止画対象表示100(b)及び100(c)は、第1スルー画像TH1と第2スルー画像TH2のいずれが静止画として撮影される対象であるかを示すものであればよい。
<2.その他の実施形態>
上記実施の形態では、2D撮影モード時において、第1画像データを動画記録することとしたが、第2画像データを動画記録することとしてもよい。この場合、第2画像データの動画記録中に静止画レリーズ釦が半押しされたときには、第1画像データに対してAF制御を行った後に静止画対象表示100(c)を表示させればよい。
また、静止画対象表示100(b)及び100(c)は、AF制御が完了したことを示すこととしたが、静止画対象表示100(b)及び100(c)は、第1スルー画像TH1と第2スルー画像TH2のいずれが静止画として撮影される対象であるかを示すものであればよい。
また、第1画像データのフォーカスの設定値をマニュアルフォーカス(MF)、第2画像データのフォーカスの設定値をオートフォーカス(AF)とした際に、静止画レリーズ釦の半押しに応じて第2画像データにAF制御を行った後に、静止画対象表示100(b)を表示するようにしてもよい。また、第1画像データのフォーカスの設定値がオートフォーカス(AF)、第2画像データのフォーカスの設定値がマニュアルフォーカス(MF)でもよい。
また、上記実施の形態では、第1画像データが動画記録中に静止画レリーズ釦が半押しされた時に第2画像データに対してAF制御を行なったが、動画記録中の第1画像データにAF制御を行い、AF結果を表示してもよい。
また、第1画像データおよび第2画像データの両方で動画が記録されてもよいし、動画記録中に両方の画像データに対してAF制御を行い、第1及び第2スルー画像TH1,TH2それぞれにAF結果を表示してもよい。
また、上記実施の形態では、第1画像データが動画記録中に静止画レリーズ釦が半押しされた時に第2画像データに対してAF制御を行なったが、動画記録中の第1画像データにAF制御を行い、AF結果を表示してもよい。
また、第1画像データおよび第2画像データの両方で動画が記録されてもよいし、動画記録中に両方の画像データに対してAF制御を行い、第1及び第2スルー画像TH1,TH2それぞれにAF結果を表示してもよい。
また、上記実施の形態で説明したデジタルカメラ1において、各ブロックは、LSIなどの半導体装置により個別に1チップ化されても良いし、一部又は全部を含むように1チップ化されても良い。
また、上記実施の形態の各処理をハードウェアにより実現してもよいし、ソフトウェアにより実現してもよい。さらに、ソフトウェアおよびハードウェアの混在処理により実現しても良い。なお、上記実施形態に係るデジタルカメラをハードウェアにより実現する場合、各処理を行うためのタイミング調整を行う必要があるのは言うまでもない。上記実施形態においては、説明便宜のため、実際のハードウェア設計で生じる各種信号のタイミング調整の詳細については省略している。
また、上記実施の形態における処理方法の実行順序は、必ずしも、上記実施形態の記載に制限されるものではなく、発明の要旨を逸脱しない範囲で、実行順序を入れ替えることができるものである。
また、上記実施の形態の各処理をハードウェアにより実現してもよいし、ソフトウェアにより実現してもよい。さらに、ソフトウェアおよびハードウェアの混在処理により実現しても良い。なお、上記実施形態に係るデジタルカメラをハードウェアにより実現する場合、各処理を行うためのタイミング調整を行う必要があるのは言うまでもない。上記実施形態においては、説明便宜のため、実際のハードウェア設計で生じる各種信号のタイミング調整の詳細については省略している。
また、上記実施の形態における処理方法の実行順序は、必ずしも、上記実施形態の記載に制限されるものではなく、発明の要旨を逸脱しない範囲で、実行順序を入れ替えることができるものである。
なお、本発明の具体的な構成は、前述の実施の形態に限られるものではなく、発明の要旨を逸脱しない範囲で種々の変更および修正が可能である。
本発明の複眼撮像装置によれば、第1スルー画像および第2スルー画像のそれぞれが動画撮影及び静止画撮影のいずれに対応しているのかを容易に判別できるため複眼撮像が可能なデジタルカメラ、ビデオカメラ、携帯機器等に適用可能である。
110(a)、110(b) 光学系
120(a)、120(b) ズームモータ
130(a)、130(b) OISアクチュエータ
140(a)、140(b) フォーカスモータ
150(a)、150(b) CCDイメージセンサ
160 画像処理部
200 メモリ
210 コントローラ
211 釦押下判定部
212 AF制御部
213 画像表示部
214 画像記録部
220 ジャイロセンサ
230 カードスロット
240 メモリカード
250 操作部材
260 ズームレバー
270 液晶モニタ
280 内部メモリ
290 モード設定スイッチ
TH1 第1スルー画像
TH2 第2スルー画像
100(a) 動画対象表示
100(b)、100(c) 静止画対象表示
120(a)、120(b) ズームモータ
130(a)、130(b) OISアクチュエータ
140(a)、140(b) フォーカスモータ
150(a)、150(b) CCDイメージセンサ
160 画像処理部
200 メモリ
210 コントローラ
211 釦押下判定部
212 AF制御部
213 画像表示部
214 画像記録部
220 ジャイロセンサ
230 カードスロット
240 メモリカード
250 操作部材
260 ズームレバー
270 液晶モニタ
280 内部メモリ
290 モード設定スイッチ
TH1 第1スルー画像
TH2 第2スルー画像
100(a) 動画対象表示
100(b)、100(c) 静止画対象表示
Claims (6)
- 被写体像を撮像して第1画像データを出力する第1撮像素子と、
被写体像を撮像して第2画像データを出力する第2撮像素子と、
前記第1画像データに対応する動画の撮影指示を受け付ける動画レリーズ釦と、
前記第2撮像素子における被写体のAF制御指示と、前記第2画像データに対応する静止画の撮影指示とを受け付ける静止画レリーズ釦と、
前記動画レリーズ釦が前記動画の撮影指示を受け付けたことに応じて、前記第1画像データに基づいて動画撮影を開始する画像処理部と、
前記第1画像データに対応する第1スルー画像と、前記第2画像データに対応する第2スルー画像とを並べて表示可能なモニタと、
前記画像処理部が動画撮影中において前記静止画レリーズ釦が前記AF制御指示を受け付けたことに応じて、前記第2スルー画像に対応する静止画が撮影されることを示す静止画対象表示を、前記第1スルー画像及び前記第2スルー画像とともに前記モニタに表示させる画像表示部と、
を備える複眼撮像装置。 - 前記静止画レリーズ釦が半押しされた場合に、前記第2撮像素子における被写体のAF制御を実行するAF制御部を備え、
前記静止画対象表示は、前記第2スルー画像に重ねて表示され、前記AF制御部によるAF制御が完了したことを示す、
請求項1に記載の複眼撮像装置。 - 前記第1画像データに対応する動画と前記第2画像データに対応する静止画とを記憶する記憶部を備える請求項1又は2に記載の複眼撮像装置。
- 前記画像表示部は、前記画像処理部が動画撮影中において前記第1スルー画像に対応する動画が撮影されることを示す動画対象表示を前記第1スルー画像に重ねて表示させる、
請求項1乃至3のいずれかに記載の複眼撮像装置。 - 前記第1撮像素子と前記第2撮像素子とは、水平方向において離間している、
請求項1乃至4のいずれかに記載の複眼撮像装置。 - 被写体像を撮像して第1画像データを出力する第1撮像素子と、
被写体像を撮像して第2画像データを出力する第2撮像素子と、
前記第1画像データに対応する動画の撮影指示を受け付ける動画レリーズ釦と、
前記動画レリーズ釦が前記動画の撮影指示を受け付けたことに応じて、前記第1画像データに基づいて動画撮影を開始する画像処理部と、
前記第1画像データに対応する第1スルー画像と、前記第2画像データに対応する第2スルー画像とを並べて表示可能なモニタと、
前記画像処理部が動画撮影を開始したことに応じて、前記第1スルー画像に対応する動画が撮影されることを示す動画対象表示を、前記第1スルー画像及び前記第2スルー画像とともに前記モニタに表示させる画像表示部と、
を備える複眼撮像装置。
Priority Applications (2)
| Application Number | Priority Date | Filing Date | Title |
|---|---|---|---|
| JP2011183830A JP2013046292A (ja) | 2011-08-25 | 2011-08-25 | 複眼撮像装置 |
| US13/593,511 US20130050532A1 (en) | 2011-08-25 | 2012-08-24 | Compound-eye imaging device |
Applications Claiming Priority (1)
| Application Number | Priority Date | Filing Date | Title |
|---|---|---|---|
| JP2011183830A JP2013046292A (ja) | 2011-08-25 | 2011-08-25 | 複眼撮像装置 |
Publications (1)
| Publication Number | Publication Date |
|---|---|
| JP2013046292A true JP2013046292A (ja) | 2013-03-04 |
Family
ID=47743205
Family Applications (1)
| Application Number | Title | Priority Date | Filing Date |
|---|---|---|---|
| JP2011183830A Withdrawn JP2013046292A (ja) | 2011-08-25 | 2011-08-25 | 複眼撮像装置 |
Country Status (2)
| Country | Link |
|---|---|
| US (1) | US20130050532A1 (ja) |
| JP (1) | JP2013046292A (ja) |
Cited By (5)
| Publication number | Priority date | Publication date | Assignee | Title |
|---|---|---|---|---|
| JP2015126390A (ja) * | 2013-12-26 | 2015-07-06 | キヤノン株式会社 | 撮像装置およびその制御方法 |
| JP2015126391A (ja) * | 2013-12-26 | 2015-07-06 | キヤノン株式会社 | 撮像装置およびその制御方法 |
| JP2017069896A (ja) * | 2015-10-02 | 2017-04-06 | 京セラ株式会社 | 電子機器 |
| US9641762B2 (en) | 2013-12-06 | 2017-05-02 | Panasonic Intellectual Property Management Co., Ltd. | Imaging device and imaging system |
| JP2025114699A (ja) * | 2021-06-11 | 2025-08-05 | キヤノン株式会社 | 電子機器および表示制御方法 |
Families Citing this family (2)
| Publication number | Priority date | Publication date | Assignee | Title |
|---|---|---|---|---|
| JP5670996B2 (ja) * | 2010-02-22 | 2015-02-18 | 京セラ株式会社 | 電子機器 |
| US20150215530A1 (en) * | 2014-01-27 | 2015-07-30 | Microsoft Corporation | Universal capture |
Family Cites Families (8)
| Publication number | Priority date | Publication date | Assignee | Title |
|---|---|---|---|---|
| JP4850400B2 (ja) * | 2004-09-17 | 2012-01-11 | キヤノン株式会社 | 撮像装置 |
| JP2006246173A (ja) * | 2005-03-04 | 2006-09-14 | Sony Corp | 画像処理方法および画像処理装置 |
| JP4790329B2 (ja) * | 2005-06-21 | 2011-10-12 | オリンパスイメージング株式会社 | 焦点調節装置を有するカメラ |
| JP5163257B2 (ja) * | 2008-04-23 | 2013-03-13 | ソニー株式会社 | 撮像装置 |
| KR101709935B1 (ko) * | 2009-06-23 | 2017-02-24 | 삼성전자주식회사 | 영상촬영장치 및 그 제어방법 |
| JP2011045039A (ja) * | 2009-07-21 | 2011-03-03 | Fujifilm Corp | 複眼撮像装置 |
| JP2011205374A (ja) * | 2010-03-25 | 2011-10-13 | Fujifilm Corp | 表示装置 |
| KR101710625B1 (ko) * | 2010-08-11 | 2017-02-27 | 삼성전자주식회사 | 초점 조절 장치, 초점 조절 방법 및 상기 방법을 기록한 기록 매체 |
-
2011
- 2011-08-25 JP JP2011183830A patent/JP2013046292A/ja not_active Withdrawn
-
2012
- 2012-08-24 US US13/593,511 patent/US20130050532A1/en not_active Abandoned
Cited By (7)
| Publication number | Priority date | Publication date | Assignee | Title |
|---|---|---|---|---|
| US9641762B2 (en) | 2013-12-06 | 2017-05-02 | Panasonic Intellectual Property Management Co., Ltd. | Imaging device and imaging system |
| US10397492B2 (en) | 2013-12-06 | 2019-08-27 | Panasonic Intellectual Property Management Co., Ltd. | Imaging device |
| JP2015126390A (ja) * | 2013-12-26 | 2015-07-06 | キヤノン株式会社 | 撮像装置およびその制御方法 |
| JP2015126391A (ja) * | 2013-12-26 | 2015-07-06 | キヤノン株式会社 | 撮像装置およびその制御方法 |
| JP2017069896A (ja) * | 2015-10-02 | 2017-04-06 | 京セラ株式会社 | 電子機器 |
| US10063769B2 (en) | 2015-10-02 | 2018-08-28 | Kyocera Corporation | Electronic apparatus |
| JP2025114699A (ja) * | 2021-06-11 | 2025-08-05 | キヤノン株式会社 | 電子機器および表示制御方法 |
Also Published As
| Publication number | Publication date |
|---|---|
| US20130050532A1 (en) | 2013-02-28 |
Similar Documents
| Publication | Publication Date | Title |
|---|---|---|
| JP5789793B2 (ja) | 3次元撮像装置、レンズ制御装置、およびプログラム | |
| JP4914420B2 (ja) | 撮像装置、複眼撮像装置及び撮像制御方法 | |
| JP5371845B2 (ja) | 撮影装置及びその表示制御方法並びに3次元情報取得装置 | |
| JP2013046292A (ja) | 複眼撮像装置 | |
| US8743181B2 (en) | Image pickup apparatus | |
| CN102112918A (zh) | 复眼成像设备 | |
| JP4748398B2 (ja) | 撮像装置、撮像方法及びプログラム | |
| JP2010206643A (ja) | 撮像装置、方法およびプログラム | |
| US20130027520A1 (en) | 3d image recording device and 3d image signal processing device | |
| JP2013046296A (ja) | 複眼撮像装置 | |
| JP2012063751A (ja) | 撮像装置 | |
| US9602799B2 (en) | Device, method, and computer program for three-dimensional video processing | |
| JP5552197B2 (ja) | 3次元映像処理装置および方法 | |
| US20130076867A1 (en) | Imaging apparatus | |
| JP2012114896A (ja) | 3d撮像装置及び3d再生装置 | |
| JP2014107836A (ja) | 撮像装置、制御方法、及びプログラム | |
| JP2013062557A (ja) | デジタル撮影装置及び、3d撮影方法 | |
| JP2012220603A (ja) | 3d映像信号撮影装置 | |
| JP5325336B2 (ja) | 3次元映像処理装置、方法、およびプログラム | |
| JP5221827B1 (ja) | 立体映像撮影装置及びズーム動作の制御方法 | |
| JP2012151538A (ja) | 3d撮像装置 | |
| JP2011135374A (ja) | 3次元デジタルカメラ | |
| JP2013145372A (ja) | 撮像装置 | |
| JP2011259405A (ja) | 撮像装置および撮像方法 | |
| JP2013162489A (ja) | 3d画像撮像装置 |
Legal Events
| Date | Code | Title | Description |
|---|---|---|---|
| A300 | Application deemed to be withdrawn because no request for examination was validly filed |
Free format text: JAPANESE INTERMEDIATE CODE: A300 Effective date: 20141104 |