JP2012528362A - タッチセンサ、表示装置および電子機器 - Google Patents

タッチセンサ、表示装置および電子機器 Download PDF

Info

Publication number
JP2012528362A
JP2012528362A JP2011504252A JP2011504252A JP2012528362A JP 2012528362 A JP2012528362 A JP 2012528362A JP 2011504252 A JP2011504252 A JP 2011504252A JP 2011504252 A JP2011504252 A JP 2011504252A JP 2012528362 A JP2012528362 A JP 2012528362A
Authority
JP
Japan
Prior art keywords
electrode
detection
signal
state
drive
Prior art date
Legal status (The legal status is an assumption and is not a legal conclusion. Google has not performed a legal analysis and makes no representation as to the accuracy of the status listed.)
Granted
Application number
JP2011504252A
Other languages
English (en)
Other versions
JP2012528362A5 (ja
JP5701745B2 (ja
Inventor
康幸 寺西
幸治 野口
剛司 石崎
剛也 竹内
貴之 中西
Original Assignee
株式会社ジャパンディスプレイウェスト
Priority date (The priority date is an assumption and is not a legal conclusion. Google has not performed a legal analysis and makes no representation as to the accuracy of the date listed.)
Filing date
Publication date
Application filed by 株式会社ジャパンディスプレイウェスト filed Critical 株式会社ジャパンディスプレイウェスト
Priority to JP2011504252A priority Critical patent/JP5701745B2/ja
Publication of JP2012528362A publication Critical patent/JP2012528362A/ja
Publication of JP2012528362A5 publication Critical patent/JP2012528362A5/ja
Application granted granted Critical
Publication of JP5701745B2 publication Critical patent/JP5701745B2/ja
Active legal-status Critical Current
Anticipated expiration legal-status Critical

Links

Images

Classifications

    • GPHYSICS
    • G06COMPUTING OR CALCULATING; COUNTING
    • G06FELECTRIC DIGITAL DATA PROCESSING
    • G06F3/00Input arrangements for transferring data to be processed into a form capable of being handled by the computer; Output arrangements for transferring data from processing unit to output unit, e.g. interface arrangements
    • G06F3/01Input arrangements or combined input and output arrangements for interaction between user and computer
    • G06F3/03Arrangements for converting the position or the displacement of a member into a coded form
    • G06F3/041Digitisers, e.g. for touch screens or touch pads, characterised by the transducing means
    • G06F3/044Digitisers, e.g. for touch screens or touch pads, characterised by the transducing means by capacitive means
    • G06F3/0445Digitisers, e.g. for touch screens or touch pads, characterised by the transducing means by capacitive means using two or more layers of sensing electrodes, e.g. using two layers of electrodes separated by a dielectric layer
    • GPHYSICS
    • G06COMPUTING OR CALCULATING; COUNTING
    • G06FELECTRIC DIGITAL DATA PROCESSING
    • G06F3/00Input arrangements for transferring data to be processed into a form capable of being handled by the computer; Output arrangements for transferring data from processing unit to output unit, e.g. interface arrangements
    • G06F3/01Input arrangements or combined input and output arrangements for interaction between user and computer
    • G06F3/03Arrangements for converting the position or the displacement of a member into a coded form
    • G06F3/041Digitisers, e.g. for touch screens or touch pads, characterised by the transducing means
    • G06F3/0412Digitisers structurally integrated in a display
    • GPHYSICS
    • G06COMPUTING OR CALCULATING; COUNTING
    • G06FELECTRIC DIGITAL DATA PROCESSING
    • G06F3/00Input arrangements for transferring data to be processed into a form capable of being handled by the computer; Output arrangements for transferring data from processing unit to output unit, e.g. interface arrangements
    • G06F3/01Input arrangements or combined input and output arrangements for interaction between user and computer
    • G06F3/03Arrangements for converting the position or the displacement of a member into a coded form
    • G06F3/041Digitisers, e.g. for touch screens or touch pads, characterised by the transducing means
    • G06F3/0416Control or interface arrangements specially adapted for digitisers
    • G06F3/04166Details of scanning methods, e.g. sampling time, grouping of sub areas or time sharing with display driving
    • GPHYSICS
    • G06COMPUTING OR CALCULATING; COUNTING
    • G06FELECTRIC DIGITAL DATA PROCESSING
    • G06F3/00Input arrangements for transferring data to be processed into a form capable of being handled by the computer; Output arrangements for transferring data from processing unit to output unit, e.g. interface arrangements
    • G06F3/01Input arrangements or combined input and output arrangements for interaction between user and computer
    • G06F3/03Arrangements for converting the position or the displacement of a member into a coded form
    • G06F3/041Digitisers, e.g. for touch screens or touch pads, characterised by the transducing means
    • G06F3/044Digitisers, e.g. for touch screens or touch pads, characterised by the transducing means by capacitive means
    • G06F3/0446Digitisers, e.g. for touch screens or touch pads, characterised by the transducing means by capacitive means using a grid-like structure of electrodes in at least two directions, e.g. using row and column electrodes

Landscapes

  • Engineering & Computer Science (AREA)
  • General Engineering & Computer Science (AREA)
  • Theoretical Computer Science (AREA)
  • Human Computer Interaction (AREA)
  • Physics & Mathematics (AREA)
  • General Physics & Mathematics (AREA)
  • Position Input By Displaying (AREA)
  • Liquid Crystal Display Device Control (AREA)
  • Liquid Crystal (AREA)
  • Electronic Switches (AREA)

Abstract

【課題】適切な物体検出を行うことが可能な静電容量型のタッチセンサ、ならびにそのようなタッチセンサを備えた表示装置および電子機器を提供する。
【解決手段】この表示装置は、駆動信号を受け取る駆動電極と、駆動電極に隣接して配置され、駆動信号によって駆動された出力信号を生成する検出電極と、駆動電極と検出電極との間に設けられ、容量領域を規定する誘電体材料と、検出電極に電気的に接続され、出力信号を検出する検出回路と、検出電極と、所定の電圧レベルを出力する電圧源との間に電気的に接続され、第1の状態と第2の状態とを有するスイッチ素子と、画像信号に基づく画像を表示するために、表示用共通電圧電極と画素電極との間に印加される電圧を制御する表示制御回路とを有し、表示用共通電圧電極は、駆動電極として機能する。
【選択図】図9

Description

本開示は、液晶表示装置等の表示装置に係わり、特に、ユーザが指等で接触または近接することにより情報入力が可能な静電容量式のタッチセンサ、ならびにそのようなタッチセンサを備えた表示装置および電子機器に関する。
近年、いわゆるタッチパネルと呼ばれる接触検出装置(以下、「タッチセンサ」という。)を液晶表示装置上に直接装着すると共に、液晶表示装置に各種のボタンを表示させることにより、通常のボタンの代わりとして情報入力を可能とした表示装置が注目されている。この技術は、モバイル機器の画面の大型化傾向の中にあって、ディスプレイとボタンとを共通の領域に配置することを可能にすることから、省スペース化や部品点数の削減という大きなメリットをもたらす。しかしながら、タッチセンサの装着によって液晶モジュールの全体の厚さが厚くなる。特にモバイル機器用途においては、タッチセンサの傷防止のための保護層が必要となることから、液晶モジュールが益々厚くなる傾向があり、薄型化のトレンドに反してしまう。
そこで、例えば特開2008−9750号公報(以下、特許文献1)には、薄型化を図るべく、静電容量型タッチセンサを形成したタッチセンサ付き液晶表示素子が提案されている。これは、液晶表示素子の観察側基板とその外面に配置された観察用偏光板との間にタッチセンサ用導電膜を設け、このタッチセンサ用導電膜と偏光板の外面との間に、偏光板の外面をタッチ面とした静電容量型タッチセンサを形成するようにしたものである。
特開2008−9750号公報
しかしながら、上記特許文献1に開示されたタッチセンサ付き液晶表示素子では、原理的に、タッチセンサ用導電膜が利用者と同電位にあることが必要であり、利用者がきちんと接地されている必要がある。したがって、コンセントから電源を取っているような据置型のテレビジョン受像機はともかく、モバイル機器用途に適用するのは現実的に見て困難である。また、上記技術では、タッチセンサ用導電膜が利用者の指に極めて接近していることが必要なので、例えば、液晶表示素子の奥深い部分に配設することができない等、タッチセンサ用導電膜の配設部位が制限される。すなわち、設計の自由度が小さい。さらに、上記技術では、その構成上、タッチセンサ駆動部や座標検出部といった回路部分を、液晶表示素子の表示駆動回路部とは別個に設けなければならず、装置全体としての回路の集積化が困難である。
そこで、液晶表示装置上に直接装着されたタッチパネルに加え、元々表示用共通電圧の印加用に設けられた共通電極に加えて、この共通電極との間に静電容量を形成するタッチ検出電極を新たに設けることが考えられる。この静電容量は物体の接触または近接の有無によって変化するため、表示制御回路により共通電極に印加される表示用共通電圧をタッチセンサ用駆動信号としても利用(兼用)するようにすれば、静電容量の変化に応じた検出信号がタッチ検出電極から得られるからである。そして、この検出信号を所定のタッチ検出回路に入力するようにすれば、物体の接触または近接の有無が検出可能になる。また、この手法によれば、利用者の電位が不定であることが多いモバイル機器用途にも適合可能なタッチセンサ付き表示装置を得ることができる。さらに、表示層のタイプに応じて設計の自由度が高いタッチセンサ付き表示装置を得ることができると共に、表示用の回路とセンサ用の回路とを1つの回路基板上に一体に集積することが容易になり、回路の集積化も容易であるという利点がある。
また、このような各種静電容量型のタッチセンサにおいて、静電容量の変化に応じた検出信号を得るためのタッチ検出電極がフローティング状態になってしまうのを回避するため、このタッチ検出電極を、抵抗器(例えば、接地抵抗)を介して接地することが考えられる。
ところが、このような構成にした場合、接地抵抗を通じてセンサ出力がリークする(例えば、検出信号の信号線から接地へ向けてリーク電流が流れる)ことになる。したがって、検出信号値のレンジが小さくなったり、信号値が時間と共に減少してしまい、適切な検出信号が得られなくなる場合が生ずると考えられる。
本特許出願の開示はかかる問題点に鑑みてなされたもので、本開示の目的は、適切な物体検出を行うことが可能な静電容量型のタッチセンサ、ならびにそのようなタッチセンサを備えた表示装置および電子機器を提供することにある。
一実施の形態例のタッチセンサ装置は、第1の駆動信号を生成する第1の信号源と、前記第1の信号源からの前記第1の駆動信号を受け取る第1の駆動電極と、前記第1の駆動電極に隣接して配置され、前記第1の駆動信号によって駆動された第1の出力信号を生成する第1の検出電極と、前記第1の駆動電極と前記第1の検出電極との間に設けられ、第1の容量領域を規定する誘電体材料と、前記第1の検出電極に電気的に接続され、前記第1の出力信号を検出する検出回路と、前記第1の検出電極に電気的に接続され、第1の状態と第2の状態とを有するスイッチ素子とを備え、前記スイッチ素子は、前記第1の状態のときに前記第1の検出電極を所定の電圧にさせ、前記第2の状態のときに前記第1の検出電極をフローティング状態にさせ、前記スイッチ素子を前記第1の状態と前記第2の状態との間で交互に切り換えるためのタイミング制御信号を受け取り、前記検出回路は、前記第1の出力信号を信号しきい値と比較することにより、前記第1の容量領域がタッチ状態にあったか否かを示す第1の検出結果を得る。
一実施の形態例において、タッチセンサ装置が、さらに、第2の駆動信号を生成する第2の信号源と、前記第2の信号源からの前記第2の駆動信号を受け取る第2の駆動電極と、を備え、前記第1の検出電極が、前記第2の駆動電極に隣接して配置され、前記誘電体材料が、前記第2の駆動電極と前記第1の検出電極との間に設けられ、第2の容量領域を規定し、前記第1の検出電極が、前記第2の駆動信号によって駆動された第2の出力信号を生成し、前記検出回路が、前記第2の出力信号を検出し、前記スイッチ素子が、前記第1の状態のときに前記第2の検出電極を所定の電圧レベルにさせ、前記第2の状態のときに前記第2の検出電極をフローティング状態にさせ、前記検出回路が、前記第2の出力信号を前記信号しきい値と比較することにより、前記第2の容量領域が前記タッチ状態にあったか否かを示す第2の検出結果を得る。
一実施の形態例において、前記第1の駆動信号と前記第2の駆動信号とが、前記第1の駆動電極と前記第2の駆動電極とに順次印加され、前記第1の出力信号と前記第2の出力信号とが、順次印加されている前記第1の駆動信号と前記第2の駆動信号とに対応して順次検出される。
一実施の形態例において、第2の検出電極が、前記第1の駆動電極と前記第2の駆動電極とに隣接して配置され、前記第1の駆動信号によって駆動された第3の出力信号と、前記第2の駆動信号によって駆動された第4の出力信号とを生成し、前記誘電体材料が、前記第2の検出電極と前記第1の駆動電極との間に設けられ、第3の容量領域を規定し、前記誘電体材料が、前記第2の検出電極と前記第2の駆動電極との間に設けられ、第4の容量領域を規定し、前記検出回路が、前記第2の検出電極に電気的に接続され、前記第3の出力信号と前記第4の出力信号とを検出し、前記スイッチ素子が、前記第2の検出電極に電気的に接続され、前記第1の状態のときに前記第3の検出電極と前記第4の検出電極とを所定の電圧レベルにさせ、前記第2の状態のときに前記第3の検出電極と前記第4の検出電極とをフローティング状態にさせ、前記検出回路が、前記第3の出力信号を前記信号しきい値と比較することにより、前記第3の容量領域が前記タッチ状態にあったか否かを示す第3の検出結果を得て、前記検出回路が、前記第4の出力信号を前記信号しきい値と比較することにより、前記第4の容量領域が前記タッチ状態にあったか否かを示す第4の検出結果を得る。
一実施の形態例において、前記第1の出力信号と、前記第2の出力信号と、前記第3の出力信号と、前記第4の出力信号とが、前記第1の検出電極と前記第2の検出電極とによって順次検出される。
一実施の形態例において、前記スイッチ素子が、前記第1の検出電極用の第1のスイッチと、前記第2の検出電極用の第2のスイッチとを有する。
一実施の形態例において、前記スイッチ素子が、タイミング制御回路から前記タイミング制御信号を受け取り、前記タイミング制御回路は、さらに、前記第1の信号源を制御するために前記第1の駆動信号がオンのときに前記第1の信号源にタイミング制御信号を送出し、前記第2の信号源を制御するために前記第2の駆動信号がオンのときに前記第2の信号源にタイミング制御信号を送出し、サンプリングタイミングを制御するために前記検出回路におけるA/D変換部にタイミング制御信号を送出する。
一実施の形態例において、前記第1の検出電極が、表示装置の一部である。
一実施の形態例において、前記第1の信号源が、表示制御回路に設けられ、前記第1の駆動電極が、前記第1の駆動信号を受け取る表示用共通電圧電極であり、これにより前記表示制御回路が、画像信号に基づく画像を表示するために前記表示用共通電圧電極と画素電極との間に印加される電圧を制御する。
一実施の形態例において、前記検出回路が、画素基板上の周辺領域に形成され、表示制御用の回路素子と一体に集積されている。
一実施の形態例において、前記検出回路が、増幅部と、フィルタ部と、整流部と、平滑部と、A/D変換部と、信号処理部と、座標抽出部との少なくとも1つを含む。
一実施の形態例において、前記スイッチ素子の前記所定の電圧レベルが、接地電圧である。
一実施の形態例において、タッチセンサ装置が、さらに、前記スイッチ素子に電気的に接続され、前記所定の電圧レベルを供給するプリチャージ電源を備え、前記プリチャージ電源が、第1の所定の電圧レベルと、第2の所定の電圧レベルとを順次供給する。
一実施の形態例において、タッチセンサ装置が、さらに、前記第1の駆動電極に隣接し、前記第1の検出電極から第1の方向に変位した位置に配置された第2の検出電極と、前記第1の駆動電極に隣接し、前記第1の検出電極から第2の方向に変位した位置に配置された第3の検出電極と、前記第1の駆動電極に隣接し、前記第2の検出電極から前記第2の方向に変位し、前記第3の検出電極から前記第1の方向に変位した位置に配置された第4の検出電極と、を備え、前記誘電体材料が、前記第1の駆動電極と前記第2の検出電極との間に設けられ、第2の容量領域を規定し、前記第1の駆動電極と前記第3の検出電極との間に設けられ、第3の容量領域を規定し、前記第1の駆動電極と前記第4の検出電極との間に設けられ、第4の容量領域を規定し、前記第2の検出電極が、前記第1の駆動信号によって駆動された第2の出力信号を生成し、前記第3の検出電極が、前記第1の駆動信号によって駆動された第3の出力信号を生成し、前記第4の検出電極が、前記第1の駆動信号によって駆動された第4の出力信号を生成し、前記スイッチ素子が、前記第2の検出電極と、前記第3の検出電極と、前記第4の検出電極とに電気的に接続され、前記スイッチ素子が、前記第1の状態のときに、前記第2の検出電極と、前記第3の検出電極と、前記第4の検出電極とを所定の電圧レベルにさせ、前記第2の状態のときに、前記第2の検出電極と、前記第3の検出電極と、前記第4の検出電極とをフローティング状態にさせ、前記検出回路が、前記第2の出力信号を前記信号しきい値と比較することにより、前記第2の容量領域が前記タッチ状態にあったか否かを示す第2の検出結果を得て、前記検出回路が、前記第3の出力信号を前記信号しきい値と比較することにより、前記第3の容量領域が前記タッチ状態にあったか否かを示す第3の検出結果を得て、前記検出回路が、前記第4の出力信号を前記信号しきい値と比較することにより、前記第4の容量領域が前記タッチ状態にあったか否かを示す第4の検出結果を得る。
一実施の形態例の表示装置は、駆動信号を受け取る駆動電極と、前記駆動電極に隣接して配置され、前記駆動信号によって駆動された出力信号を生成する検出電極と、前記駆動電極と前記検出電極との間に設けられ、容量領域を規定する誘電体材料と、前記検出電極に電気的に接続され、前記出力信号を検出する検出回路と、前記検出電極と、所定の電圧レベルを出力する電圧源との間に電気的に接続され、第1の状態と第2の状態とを有するスイッチ素子と、画像信号に基づく画像を表示するために、表示用共通電圧電極と画素電極との間に印加される電圧を制御する表示制御回路とを備え、前記表示用共通電圧電極が前記駆動電極として機能する。
一実施の形態例において、前記表示用共通電圧電極と前記画素電極との間に印加される前記電圧によって、横電界モードの液晶素子が変調される。
一実施の形態例において、前記スイッチ素子が、前記第1の状態のときに前記検出電極を所定の電圧レベルにさせ、前記第2の状態のときに前記検出電極をフローティング状態にさせ、前記スイッチ素子を前記第1の状態と前記第2の状態との間で交互に切り換えるためのタイミング制御信号を受け取り、前記検出回路が、前記出力信号を信号しきい値と比較することにより、前記容量領域がタッチ状態にあったか否かを示す検出結果を得る。
一実施の形態例において、前記画素電極が、前記駆動電極と前記検出電極との間に配置されている。
一実施の形態例において、前記電圧源が、接地電圧を供給する。
一実施の形態例において、前記電圧源が、第1の所定の電圧レベルと、第2の所定の電圧レベルとを順次供給するプリチャージ電源である。
一実施の形態例の電子機器は、出力信号を発生する容量領域を含む容量型タッチセンサと、検出電極からの前記出力信号を検出する検出回路と、第1の状態と第2の状態とを有し、前記第1の状態のときに前記検出電極を所定の電圧レベルにさせ、前記第2の状態のときに前記検出電極をフローティング状態にさせ、前記第1の状態と前記第2の状態との間で交互に切り換わるスイッチ素子とを備え、前記検出回路は、前記出力信号を信号しきい値と比較することにより、前記容量領域がタッチ状態にあったか否かを示す検出結果を得る。
一実施の形態例において、前記容量型タッチセンサが、駆動信号を生成する信号源と、前記信号源からの前記駆動信号を受け取る駆動電極と、前記駆動電極と前記検出電極との間に設けられ、容量領域を規定する誘電体材料と、を備え、前記検出電極が、前記駆動電極に隣接して配置され、前記駆動信号によって駆動された前記出力信号を生成する。
一実施の形態例において、前記駆動信号を生成する前記信号源が、複数の駆動信号を生成する複数の信号源のうちの1つであり、前記信号源から前記駆動信号を受け取る前記駆動電極が、前記複数の信号源から前記複数の駆動信号を受け取る複数の駆動電極のうちの1つであり、前記駆動電極に隣接して配置された前記検出電極が、前記複数の駆動電極に隣接して配置された複数の検出電極のうちの1つであり、前記駆動電極と前記検出電極との間に設けられ、前記容量領域を規定する前記誘電体材料が、さらに、前記複数の駆動電極と前記複数の検出電極との間に配置され、複数の容量領域を規定し、前記スイッチ素子が、前記第1の状態のときに前記複数の検出電極を所定の電圧レベルにさせ、前記第2の状態のときに前記複数の検出電極をフローティング状態にさせ、前記駆動信号によって駆動された前記出力信号が、前記複数の駆動信号によって駆動された複数の出力信号のうちの1つである。
一実施の形態例において、電子機器が、さらに、タイミング制御部を備え、前記スイッチ素子が、前記スイッチ素子を前記第1の状態と前記第2の状態との間で交互に切り換えるためのタイミング制御信号を前記タイミング制御部から受け取る。
一実施の形態例において、前記スイッチ素子の前記第1の状態がクローズ状態であり、前記スイッチ素子の前記第2の状態がオープン状態である。
一実施の形態例において、前記スイッチ素子の前記第1の状態がオン状態であり、前記スイッチ素子の前記第2の状態がオフ状態である。
一実施の形態例において、前記電子機器が、テレビジョン装置、デジタルカメラ、ノート型パーソナルコンピュータ、携帯端末装置、携帯電話およびビデオカメラのうちの少なくとも1つである。
一実施の形態例のタッチセンサ装置は、出力信号を発生する容量領域と、検出電極からの前記出力信号を検出する検出回路と、第1の状態と第2の状態とを有し、前記第1の状態のときに前記検出電極を所定の電圧レベルにさせ、前記第2の状態のときに前記検出電極をフローティング状態にさせ、前記第1の状態と前記第2の状態との間で交互に切り換わるスイッチ素子と、を備え、前記検出回路は、前記容量領域がタッチ状態にあったか否かを示す検出結果を得る。
一実施の形態例において、前記タッチ状態が、前記検出電極に接触している物体によって生じる。
一実施の形態例において、前記タッチ状態が、前記検出電極への接触に近接する物体によって生じる。
一実施の形態例において、前記容量領域における静電容量の変化が、前記検出結果において、前記容量領域が前記タッチ状態にあったことを示すようにさせる。
一実施の形態例において、前記静電容量の変化が、検出電極に接触していることと、前記検出電極への接触に近接することとのうちの少なくとも1つにより、前記容量領域に接触している指によって生じる。
一実施の形態例において、前記検出結果が、前記容量領域が非接触状態にあったことを示す。
一実施の形態例において、前記スイッチ素子が、前記スイッチ素子を前記第1の状態と前記第2の状態との間で交互に切り換えるとともに、前記第1の状態と前記第2の状態との間の切り換えの継続期間を制御するためのタイミング制御信号を受け取る。
一実施の形態例において、前記タイミング制御信号が、前記スイッチ素子を前記第2の状態にさせるよりも短い期間、前記スイッチ素子を前記第1の状態にさせる。
一実施の形態例において、前記所定の電圧レベルが、接地電圧である。
一実施の形態例において、タッチセンサ装置が、さらに、駆動信号を生成する信号源と、前記信号源から前記駆動信号を受け取る駆動電極と、を備え、前記検出電極が、前記駆動電極に隣接して配置され、前記駆動信号の極性が、所定の周期ごとに反転するものであり、前記スイッチ素子が、前記駆動信号の極性反転タイミングの前に前記所定の周期に同期して前記第1の状態から前記第2の状態へと変化する。
一実施の形態例において、前記検出回路が、前記第2の状態の期間における、前記極性反転タイミングの後の飽和時点に基づいて設定されるサンプリングタイミングにおいて、前記出力信号を信号しきい値と比較することにより、前記検出結果を得る。
他の実施の形態例の表示装置は、複数の表示画素電極と、前記表示画素電極と対向して設けられた共通電極と、表示層と、画像信号に基づいて、前記表示画素電極と前記共通電極との間に表示用電圧を印加して前記表示層を動作させるように画像表示制御を行う表示制御回路と、前記共通電極と対向して、または並んで設けられ、前記共通電極との間に静電容量を形成するタッチ検出電極と、前記表示制御回路により前記共通電極に印加される表示用共通電圧をタッチセンサ用駆動信号として利用して前記タッチ検出電極から得られる検出信号に基づき、外部近接物体を検出するタッチ検出回路とを備え、前記タッチ検出回路は、前記タッチ検出電極に接続された検出信号線と、所定の固定電位に設定された固定電位部との間に、スイッチ素子を有する。
他の実施の形態例において、前記スイッチ素子がオン状態となることにより、前記検出信号線へのプリチャージ動作が行われる。
他の実施の形態例において、前記タッチセンサ用駆動信号としての前記表示用共通電圧が、所定の周期ごとに極性反転するものであり、前記スイッチ素子は、前記タッチセンサ用駆動信号の極性反転タイミングの前に同期してオン状態となることにより、前記検出信号線へのプリチャージ動作がなされる。
他の実施の形態例において、表示装置が、前記スイッチ素子と前記固定電位部との間に、互いに異なる2つのプリチャージ電圧を、前記タッチセンサ用駆動信号の極性反転周期と同期して時分割で交互に出力するプリチャージ電源をさらに備えている。
他の実施の形態例において、前記タッチ検出回路は、前記検出信号の値が飽和する飽和時点において前記検出信号の読み取りを行うと共に、その飽和時点で読み取った前記検出信号に基づいて、前記外部近接物体を検出する。
他の実施の形態例において、表示装置が、前記表示制御回路が形成された回路基板と、前記回路基板と対向して配設された対向基板とを備え、前記表示画素電極が、前記回路基板の、前記対向基板に対向する側に配設され、前記共通電極が、前記対向基板の、前記回路基板に対向する側に配設され、前記回路基板の前記表示画素電極と、前記対向基板の前記共通電極との間に、前記表示層が挿設されている。
他の実施の形態例において、表示装置が、前記表示制御回路が形成された回路基板と、前記回路基板と対向して配設された対向基板とを備え、前記回路基板に前記共通電極および前記表示画素電極が絶縁層を介して順に積層され、前記回路基板の前記表示画素電極と、前記対向基板との間に、前記表示層が挿設されている。
他の実施の形態例のタッチセンサは、タッチ駆動電極と、前記タッチ駆動電極と対向して、または並んで設けられ、前記タッチ駆動電極との間に静電容量を形成するタッチ検出電極と、前記タッチ駆動電極にタッチセンサ用駆動信号を印加することにより前記タッチ検出電極から得られる検出信号に基づき、外部近接物体を検出するタッチ検出回路とを備え、前記タッチ検出回路は、前記タッチ検出電極に接続された検出信号線と、所定の固定電位に設定された固定電位部との間に、スイッチ素子を有する。
他の実施の形態例の電子機器は、タッチセンサ付きの表示装置を備え、前記表示装置は、複数の表示画素電極と、前記表示画素電極と対向して設けられた共通電極と、表示層と、画像信号に基づいて、前記表示画素電極と前記共通電極との間に表示用電圧を印加して前記表示層を動作させるように画像表示制御を行う表示制御回路と、前記共通電極と対向して、または並んで設けられ、前記共通電極との間に静電容量を形成するタッチ検出電極と、前記表示制御回路により前記共通電極に印加される表示用共通電圧をタッチセンサ用駆動信号として利用して前記タッチ検出電極から得られる検出信号に基づき、外部近接物体を検出するタッチ検出回路とを備え、前記タッチ検出回路は、前記タッチ検出電極に接続された検出信号線と、所定の固定電位に設定された固定電位部との間に、スイッチ素子を有する。
さらなる特徴および利点は本明細書に記載されており、それらは、以下の詳細な説明および図面から明らかとなる。
一実施の形態例によれば、静電容量の変化に応じてタッチ検出電極から得られる検出信号に基づいて外部近接物体を検出すると共に、タッチ検出回路において、検出信号線と固定電位部(例えば、接地)との間にスイッチ素子を設けるようにしたので、検出信号線がフローティング状態となって検出信号値が変動してしまうのを回避しつつ、リーク電流の発生を抑えることによって、検出信号値のレンジが小さくなったり、検出信号値が時間と共に減少してしまうのを抑えることができる。よって、静電容量型のタッチセンサにおいて適切な物体検出を行うことができ、検出感度を向上させることが可能となる。
図1は、本開示に係るタッチセンサ付きの表示装置の動作原理を説明するための図例であり、指非接触時の状態を示す図例である。 図2は、本開示に係るタッチセンサ付きの表示装置の動作原理を説明するための図例であり、指接触時の状態を示す図例である。 図3は、本開示に係るタッチセンサ付きの表示装置の動作原理を説明するための図例であり、タッチセンサの駆動信号および検出信号の波形の一例を示す図例である。 図4は、第1の実施の形態例に係るタッチセンサ付きの表示装置を表す概略断面図である。 図5は、図4に示した表示装置の要部(共通電極およびセンサ用検出電極)の一構成例を示す斜視図である。 図6は、図4に示した表示装置における検出回路等の一構成例を示す回路図である。 図7は、比較例に係るタッチセンサ付きの表示装置の概略構成および検出信号のタイミング波形の一例を表す図である。 図8は、図7に示した表示装置の検出動作を説明するためのタイミング波形図である。 図9は、第1の実施の形態例に係る表示装置の概略構成および検出信号のタイミング波形の一例を表す図である。 図10は、第1の実施の形態例に係る表示装置の検出動作を説明するためのタイミング波形図である。 図11は、第2の実施の形態例に係るタッチセンサ付きの表示装置を表す模式図である。 図12は、第2の実施の形態例に係る表示装置の検出動作を説明するためのタイミング波形図である。 図13は、第3の実施の形態例に係るタッチセンサ付きの表示装置を表す概略断面図である。 図14は、図13に示した表示装置の要部の拡大斜視図である。 図15は、図13に示した表示装置の動作を説明するための断面図である。 図16は、第3の実施の形態例の変形例に係るタッチセンサ付きの表示装置を表す概略断面図である。 図17は、第3の実施の形態例の他の変形例に係るタッチセンサ付きの表示装置を表す概略断面図である。 図18は、本開示の変形例1に係るタッチセンサ付きの表示装置の要部(共通電極およびセンサ用検出電極)の構成を示す斜視図である。 図19は、本開示の変形例2に係るタッチセンサ付きの表示装置の要部(共通電極およびセンサ用検出電極)の構成を示す斜視図である。 図20は、上記各実施の形態等に係る表示装置の適用例1の外観斜視図である。 図21(A)は適用例2の表側から見た外観斜視図であり、図21(B)は裏側から見た外観斜視図である。 図22は、適用例3の外観斜視図である。 図23は、適用例4の外観斜視図である。 図24は、適用例5を示す図であり、(A)は適用例5の開いた状態の正面図、(B)はその側面図、(C)は閉じた状態の正面図、(D)は左側面図、(E)は右側面図、(F)は上面図、(G)は下面図である。 図25は、他の変形例に係るタッチセンサの要部構成を表す断面図である。 図26は第1の実施の形態の変形例に係る表示装置の検出動作を説明するためのタイミング波形図である。
以下、例示的な実施の形態について、図面を参照して詳細に説明する。なお、説明は以下の順序で行う。
1.第1の実施の形態例(センサ用検出電極と接地との間にスイッチ素子を設けた例)
2.第2の実施の形態例(スイッチ素子と接地との間にプリチャージ電源を設けた例)
3.第3の実施の形態例(表示素子として横電界モードの液晶素子を用いた例)
4.変形例(変形例1,2:共通電極およびセンサ用検出電極の他の構成例)
5.適用例(タッチセンサ付きの表示装置の電子機器への適用例)
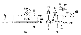
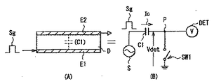
まず最初に、図1〜図3を参照して、本開示のタッチセンサ付きの表示装置におけるタッチ検出方式の実施の形態例について説明する。このタッチ検出方式は、静電容量型タッチセンサとして具現化されるものであり、例えば図1(A)に示したように、誘電体Dを挟んで互いに対向配置された一対の電極(例えば、駆動電極E1および検出電極E2)を用い、容量素子を構成する。この構造は、図1(B)に示した等価回路として表される。駆動電極E1、検出電極E2および誘電体Dによって、容量素子C1が構成される。容量素子C1は、その一端が交流信号源(例えば、駆動信号源)Sに接続され、他端Pは後述するスイッチ素子SW1を介して接地されると共に、電圧検出器(例えば、検出回路)DETに接続される。交流信号源Sから駆動電極E1(例えば、容量素子C1の一端)に所定の周波数(例えば数kHz〜十数kHz程度)の交流矩形波Sg(図3(B)参照)を印加すると、検出電極E2(例えば、容量素子C1の他端P)に、図3(A)に示したような出力波形(例えば、検出信号Vdet)が現れる。なお、この交流矩形波Sgは、後述するコモン駆動信号Vcomに相当するものである。
指が検出電極E2に接触(例えば、近接)していない状態では、図1に示したように、容量素子C1に対する充放電に伴って、容量素子C1の容量値に応じた電流I0が流れる。このときの容量素子C1の他端Pの電位波形は、例えば図3(A)の波形V0のようになり、この波形V0が電圧検出器DETによって検出される。
一方、指が検出電極E2に接触(または近接)した状態では、図2に示したように、指によって形成される容量素子C2が容量素子C1に直列に追加された形となる。この状態では、容量素子C1,C2に対する充放電に伴って、それぞれ電流I1,I2が流れる。このときの容量素子C1の他端Pの電位波形は、例えば図3(A)の波形V1のようになり、この波形V1が電圧検出器DETによって検出される。このとき、点Pの電位は、容量素子C1,C2を流れる電流I1,I2の値によって定まる分圧電位となる。このため、波形V1は、非接触状態での波形V0よりも小さい値となる。電圧検出器DETは、後述するように、検出した電圧を所定のしきい値電圧Vthと比較し、検出電圧がこのしきい値電圧以上であれば非接触状態と判断する一方、しきい値電圧未満であれば接触状態と判断する。このようにして、タッチ検出が可能となる。
<1.第1の実施の形態例>
図4は、本開示の第1の実施の形態例に係るタッチセンサ付きの表示装置1の要部の断面構造を表すものである。この表示装置1は、表示素子として液晶表示素子を用いると共に、この液晶表示素子に元々備えられている電極の一部(例えば、後述する共通電極43)および表示用駆動信号(例えば、後述するコモン駆動信号Vcom)を兼用して静電容量型タッチセンサを構成したものである。
図4に示したように、この表示装置1は、画素基板2と、この画素基板2に対向して配置された対向基板4と、画素基板2と対向基板4との間に挿設された液晶層6とを備えている。
画素基板2は、回路基板としてのTFT基板21と、このTFT基板21上にマトリクス状に配設された複数の画素電極とを有する。TFT基板21には、各画素電極22を駆動するための図示しない表示ドライバやTFT(薄膜トランジスタ)のほか、各画素電極22に画素信号を供給するソース線や、各TFTを駆動するゲート線等の配線が形成されている。TFT基板21にはまた、後述するタッチ検出動作を行う検出回路(図6参照)が形成されていてもよい。
対向基板4は、ガラス基板41と、このガラス基板41の一方の面に形成されたカラーフィルタ42と、このカラーフィルタ42の上に形成された共通電極43とを有する。カラーフィルタ42は、例えば赤(R)、緑(G)、青(B)の3色のカラーフィルタ層を周期的に配列して構成したもので、各表示画素(例えば、画素電極22)ごとにR、G、Bの3色が1組として対応付けられている。共通電極43は、タッチ検出動作を行うタッチセンサの一部を構成するセンサ用駆動電極としても兼用されるものであり、図1における駆動電極E1に相当する。
共通電極43は、コンタクト導電柱7によってTFT基板21と連結されている。このコンタクト導電柱7を介して、TFT基板21から共通電極43に交流矩形波形のコモン駆動信号Vcomが印加されるようになっている。このコモン駆動信号Vcomは、画素電極22に印加される画素電圧とともに各画素の表示電圧を画定するものである。コモン駆動信号Vcomは、タッチセンサの駆動信号としても兼用されるものであり、図1の駆動信号源Sから供給される交流矩形波Sgに相当する。すなわち、このコモン駆動信号Vcomは、所定の周期ごとに極性反転するものとなっている。
ガラス基板41の他方の面には、センサ用検出電極(例えば、タッチ検出電極)44が形成され、さらに、このセンサ用検出電極44の上には、偏光板45が配設されている。センサ用検出電極44は、タッチセンサの一部を構成するもので、図1における検出電極E2に相当する。
液晶層6は、電界の状態に応じてそこを通過する光を変調するものであり、例えば、TN(ツイステッドネマティック)、VA(垂直配向)、ECB(電界制御複屈折)等の各種モードの液晶が用いられる。
なお、液晶層6と画素基板2との間、および液晶層6と対向基板4との間には、それぞれ配向膜が配設され、また、画素基板2の下面側には入射側偏光板が配置されるが、ここでは図示を省略している。
図5は、対向基板4における共通電極43およびセンサ用検出電極44の一構成例の斜視図である。この例では、共通電極43は、図の左右方向に延在する複数のストライプ状の電極パターン(例えば、第1、第2、第3、第4、第5および第6の駆動電極を含む6つの共通電極431〜436)に分割されている。各電極パターンには、ドライバ43Dによってコモン駆動信号Vcomが順次供給され、時分割的に線順次走査駆動が行われるようになっている。一方、センサ用検出電極44(例えば、第1、第2、第3および第4の検出電極など)は、共通電極43の電極パターンの延在方向と直交する方向に延びる複数のストライプ状の電極パターンから構成されている。センサ用検出電極44の各電極パターンからは、それぞれ、検出信号Vdetが出力され、図6に示す検出回路8に入力されるようになっている。
図6は、図1に示した駆動信号源Sとタッチ検出動作を行う検出回路8との回路構成例を、タイミング・ジェネレータとしてのタイミング制御部9とともに表したものである。この図において、容量素子C11〜C16は、図5に示した各共通電極431〜436とセンサ用検出電極44との間に形成される(静電)容量素子に対応するものである(例えば、第1、第2、第3、第4、第5および第6の容量領域)。
駆動信号源Sは、各容量素子C11〜C11ごとに1つずつ設けられている。この駆動信号源Sは、SW制御部11と、2つのスイッチ素子12,15と、2つのインバータ(論理否定)回路131,132と、オペアンプ14とを有している。SW制御部11は、スイッチ素子12のオン・オフ状態を制御するものであり、これにより電源+Vとインバータ回路131,132との間の接続状態が制御されるようになっている。インバータ回路131の入力端子は、スイッチ素子12の一端(例えば、電源+Vに対向する側とは反対側の端子)およびインバータ回路132の出力端子に接続されている。インバータ回路131の出力端子は、インバータ回路132の入力端子およびオペアンプ14の入力端子に接続されている。これにより、これらのインバータ回路131,132が、所定のパルス信号を出力する発振回路として機能するようになっている。オペアンプ14は2つの電源+V,−Vに接続されている。スイッチ素子15は、タイミング制御部9から供給されるタイミング制御信号に従ってオン・オフ状態が制御されるようになっている。具体的には、このスイッチ素子15によって、容量素子C11〜C16の一端側(例えば、共通電極431〜436に対向する側)が、オペアンプ14の出力端子側(例えば、コモン駆動信号Vcomの供給源に対向する側)または接地に接続される。これにより、各駆動信号源Sから各容量素子C11〜C16へ、コモン駆動信号Vcomが供給されるようになっている。なお、各容量素子C11〜C16に対して各駆動信号源を設ける代わりに、駆動信号源を、タイミング制御部9により制御されるスイッチ手段を介して容量素子C11〜C16に接続するようにしてもよく、このことは実施の形態の1つとして含まれる。
検出回路8(例えば、電圧検出器DET)は、増幅部81と、整流平滑部82と、A/D(アナログ/デジタル)変換部83と、信号処理部84と、座標抽出部85と、スイッチ素子SW1とを有している。なお、この検出回路8の入力端子Tinは、各容量素子C11〜C16の他端側(例えば、センサ用検出電極44に対向する側)に共通して接続されている。
増幅部81は、入力端子Tinから入力される検出信号Vdetを増幅する部分であり、信号増幅用のオペアンプ811と、2つの抵抗器812R,813Rと、2つのキャパシタ812C,813Cとを有している。オペアンプ811の正入力端(+)は、入力端子Tinに接続され、オペアンプ811の出力端は後述する整流平滑部82内のダイオード82Dのアノードに接続されている。抵抗器812Rおよびキャパシタ812Cの一端は、ともにオペアンプ811の出力端に接続され、抵抗器812Rおよびキャパシタ812Cの他端は、ともにオペアンプ811の負入力端(−)に接続されている。また、抵抗器813Rの一端は、抵抗器812Rおよびキャパシタ812Cの他端に接続され、抵抗器813Rの他端は、キャパシタ813Rを介して接地に接続されている。これにより、抵抗器812Rおよびキャパシタ812Cが、高域をカットし低域を通過させるローパスフィルタ(LPF)として機能すると共に、抵抗器813Rおよびキャパシタ813Cが、高域を通過させるハイパスフィルタ(HPF)として機能する。
スイッチ素子SW1は、オペアンプ811の正入力端(+)側の接続点Pと、接地との間に配置されている。このスイッチ素子SW1は、詳細は後述するが、タイミング制御部9から供給されるタイミング制御信号CTL1によって、そのオン・オフ状態が制御されるようになっている。
整流平滑部82は、増幅部81から出力される検出信号を整流平滑化するものであり、半波整流用のダイオード82Dより構成される整流部と、一端がそれぞれ接地され並列接続された抵抗器82Rおよびキャパシタ82Cより構成される平滑部とを含んでいる。ダイオード82Dのアノードはオペアンプ811の出力端に接続され、ダイオード82Dのカソードは抵抗器82Rおよびキャパシタ82Cの一端同士と、A/D変換部83の入力端に接続されている。
A/D変換部83は、整流平滑部82により整流平滑化されたアナログの検出信号を、デジタルの検出信号に変換する部分であり、図示しないコンパレータを含む。このコンパレータは、入力された検出信号と所定のしきい値電圧Vth(図3参照)との電位を比較するものである。なお、このA/D変換部83におけるA/D変換の際のサンプリングタイミングは、タイミング制御部9から供給されるタイミング制御信号CTL2によって制御されるようになっている。
信号処理部84は、A/D変換部83から出力されるデジタルの検出信号に対し、所定の信号処理(例えば、デジタル的なノイズ除去処理や、周波数情報を位置情報に変換する処理などの信号処理)を施すものである。
座標抽出部85は、信号処理部84から出力される検出信号に基づいて、検出結果(例えば、センサ用検出電極44がタッチされたか否か、およびセンサ用検出電極44がタッチされた場合にはその部分の位置座標)を求め、その検出結果を出力端子Toutから出力するものである。
なお、このような検出回路8は、対向基板4上の周辺領域(例えば、非表示領域または額縁領域)に形成するようにしてもよいし、あるいは、画素基板2上の周辺領域に形成するようにしてもよい。但し、検出回路8を画素基板2上に形成すれば、検出回路8と、元々画素基板2上に形成されている表示制御用の各種回路素子等との集積化が図れるので、回路の集積化による簡略化という観点でより好ましい。この場合には、コンタクト導電柱7と同様のコンタクト導電柱(図示せず)によって、センサ用検出電極44の各電極パターンと画素基板2の検出回路8との間を接続し、検出信号Vdetをセンサ用検出電極44から検出回路8に伝送するようにすればよい。
次に、本実施の形態例の表示装置1における作用および効果について説明する。
この表示装置1では、画素基板2の表示ドライバ(図示せず)が、共通電極43の各電極パターン(例えば、共通電極431〜436)に対してコモン駆動信号Vcomを線順次で供給する。この表示ドライバはまた、ソース線を介して画素電極22へ画素信号を供給すると共に、この画素信号の供給と同期して、ゲート線を介して各画素電極22のTFTのスイッチングを線順次で制御する。これにより、液晶層6には、画素ごとに、コモン駆動信号Vcomと各画素信号とにより定まる縦方向(例えば、基板に垂直な方向)の電界が印加され、液晶状態の変調が行われる。このようにして、いわゆる反転駆動による表示が行われる。
一方、対向基板4では、共通電極43の各電極パターンと、センサ用検出電極44の各電極パターンとの交差部分にそれぞれ、容量素子C1(例えば、容量素子C11〜C16)が形成される。共通電極43の各電極パターン(例えば、共通電極431〜436)にコモン駆動信号Vcomを時分割的に順次印加していくと、その印加された共通電極43の電極パターンとセンサ用検出電極44の各電極パターンとの交差部分に形成されている一列分の容量素子C11〜C16の各々に対する充放電が行われる。その結果、容量素子C1の容量値に応じた大きさの検出信号Vdetが、センサ用検出電極44の各電極パターンからそれぞれ出力される。対向基板4の表面にユーザの指が触れられていない状態においては、この検出信号Vdetの大きさはほぼ一定となる。コモン駆動信号Vcomのスキャンに伴い、充放電の対象となる容量素子C1の列が線順次的に移動していく。
なお、このような共通電極43の各電極パターンの線順次駆動の際には、共通電極43の各電極パターンの一部の電極パターンを束ねて線順次駆動動作を行うようにするのが好ましい。具体的には、この一部の電極パターンより構成される駆動ラインLを、複数ラインの電極パターンより構成される検出用駆動ラインL1と、1つ以上の電極パターンより構成される表示用駆動ラインL2とから構成するようにする。これにより、共通電極43の電極パターンの形状に対応した筋や斑等が生ずることによる画質劣化を抑えることが可能となる。
ここで、対向基板4の表面のいずれかの場所にユーザの指が触れると、そのタッチ箇所に元々形成されている容量素子C1に、指による容量素子C2が付加される。その結果、そのタッチ箇所がスキャンされた時点(すなわち、共通電極43の電極パターンのうち、そのタッチ箇所に対応する電極パターンにコモン駆動信号Vcomが印加されたとき)の検出信号Vdetの値が、他の箇所よりも小さくなる。検出回路8(図6参照)は、この検出信号Vdetをしきい値電圧Vthと比較して、この検出信号Vdetがしきい値電圧Vth未満の場合に、その箇所をタッチ箇所として判定する。このタッチ箇所は、コモン駆動信号Vcomの印加タイミングと、しきい値電圧Vth未満の検出信号Vdetの検出タイミングとから割り出すことができる。
このようにして、本実施の形態例のタッチセンサ付きの表示装置1では、液晶表示素子に元々備えられている共通電極43が、駆動電極と検出電極より構成される一対のタッチセンサ用電極のうちの一方として兼用されている。また、表示用駆動信号としてのコモン駆動信号Vcomが、タッチセンサ用駆動信号として共用されている。これにより、静電容量型のタッチセンサにおいて、新たに設けるのはセンサ用検出電極44だけでよく、また、タッチセンサ用駆動信号を新たに用意する必要がない。したがって、タッチセンサ付きの表示装置1の構成が簡単である。
また、関連技術におけるタッチセンサ付き表示装置(特許文献1参照)では、センサに流れる電流の大きさを正確に測定し、その測定値に基づいてタッチ位置をアナログ演算により求めるようにしている。これに対し、本実施の形態例の表示装置1では、タッチの有無に応じた電流の相対変化(例えば、電位変化)の有無をデジタル的に検知するだけでよいので、簡単な検出回路構成で検出精度を高めることができる。また、コモン駆動信号Vcomの印加用に元々設けられている共通電極43と、新たに設けたセンサ用検出電極44との間に静電容量を形成し、この静電容量が利用者の指の接触によって変化することを利用してタッチ検出を行うようにしている。このため、この表示装置1は、利用者の電位が不定であることが多いモバイル機器用途にも適合可能である。
更に、センサ用検出電極44が複数の電極パターンに分割されると共に、各電極パターンが個別に時分割的に駆動されるため、タッチ位置の検出も可能となる。
次に、図7〜図10を参照して、本開示の1つについて、比較例と比較しつつ詳細に説明する。
最初に、図7および図8を参照して、比較例に係るタッチセンサ付きの表示装置101について説明する。この比較例に係る表示装置101では、図7(A)に示したように、センサ用検出電極104がフローティング状態になってしまうのを回避して安定状態を保つため、このタッチ検出電極104と接地との間に、抵抗器R101(例えば、接地抵抗)が設けられている。これにより、検出回路108において、検出信号Vdetの信号値がふらついて変動してしまうのが回避される。また、この抵抗器R101を介して静電気を接地に逃がすことができるという利点もある。なお、この図7(A)では、オペアンプ108A(例えば、図6におけるオペアンプ811に相当)の周辺回路は、説明上の便宜のため一部図示をしていない。これは、後述する図9(A)および図11においても同様である。
ところが、このような構成にした場合、図7(A)に示したように、抵抗器R101を通じてセンサ出力がリークする(例えば、検出信号Vdetの信号線から接地へ向けてリーク電流ILが流れる)ことになる。したがって、このようなリーク電流ILに起因して、検出信号Vdetの信号値のレンジが小さくなってしまう場合が生ずる。また、図7(B)に示した検出信号波形G101A,G101Bおよび図8(C)中の矢印で示したように、検出信号Vdetの信号値が時間と共に減少してしまうため、A/D変換部83でのサンプリングタイミング(例えば、読み出しタイミング)によって信号値が異なってしまう。このように、比較例に係る表示装置101では、リーク電流ILの存在に起因して、適切な検出信号Vdetが得られなくなる場合が生ずる。
また、この比較例に係る表示装置101では、外乱ノイズ等に起因して、検出信号Vdetの信号値が読み出し回路(例えば、A/D変換部83)のダイナミックレンジを超えてしまい、検出信号Vdetが読み出し不能となってしまう場合も生じ得る。
更に、タッチ検出電極104および検出信号Vdetの信号線は、ITO(Indium Tin Oxide)等の高抵抗の透明電極を用いることが想定されるため、寄生容量も大きくなる。したがって、表示装置101上の接触位置の違いによる時定数の差に起因して、検出信号Vdetにおける信号波形の傾きが接触位置に応じて異なってしまい、接触位置による場所依存性が生じてしまうことになる。具体的には、例えば図7(A)中の共通電極103において、検出回路108から遠い位置P101Aに対応する共通電極103Aから得られる検出信号Vdetと、検出回路108に近い位置P101Bに対応する共通電極103Bから得られる検出信号Vdetとでは、場所依存性が生ずる。すなわち、図7(B)に示した検出信号波形G101A(共通電極P103Aからの検出信号Vdetに対応),G101B(共通電極P103Bからの検出信号Vdetに対応)のように、立ち上がりおよび立ち下がりの際の波形の傾きが異なるため、その波形のピーク位置も異なる。具体的には、検出信号波形G101Aでは、タイミングt101Aにおいて、ピーク値V101Aが得られる一方、検出信号波形G101Bでは、タイミングt101B(<t101A)において、ピーク値V101B(>V101A)が得られる。なお、図7(B)において、検出信号波形G101A,G101B中に示した矢印は、タッチ検出電極104に対する指の接触の有無による波形変化を表している。また、図8において、(A)は共通電極P103Aに印加されるコモン駆動信号VcomAを、(B)は共通電極P103Bに印加されるコモン駆動信号VcomBを、期間Δt101A,Δt101Bはコモン駆動信号VcomA,VcomBが印加される期間をそれぞれ示している。
これに対し、本実施の形態例の表示装置1では、図1,図2,図6および図9(A)に示したように、検出回路8において、検出信号Vdetの信号線と接地との間にスイッチ素子SW1が設けられている。したがって、タイミング制御部9からのタイミング制御信号CTLに応じて所定のタイミングでスイッチ素子SW1がオン状態となることにより、検出信号Vdetの信号線がフローティング状態となって検出信号値が変動してしまうのが回避される。
具体的には、タイミング制御部9は、コモン駆動信号Vcomの極性反転タイミング(例えば、図10中のタイミングt1〜t4)の直前に同期してスイッチ素子SW1がオン状態となるように、スイッチ素子SW1を制御する。これにより、検出信号Vdetの信号線が接地電圧(プリチャージ電圧)となるため、例えば図10中のプリチャージタイミングtp1〜tp3に示したように、検出信号Vdetに対する信号線のプリチャージがなされる。そして、このような定期的なプリチャージを行って検出信号Vdetについての信号線の電位を固定電位に初期化(リセット)することにより、上記比較例とは異なり、外乱ノイズ等に起因して検出信号Vdetの信号値が読み出し回路等のダイナミックレンジを超えてしまうことが回避される。
また、このスイッチ素子SWがオフ状態となることによってリーク経路がなくなるため、上記比較例とは異なり、リーク電流ILの発生が抑えられる(好ましくは回避される)。このため、図9(B)に示した検出信号波形G1A,G1Bおよび図10(D)に示したように、検出信号Vdetの信号値が時間と共に減少してしまうのも抑制または回避される。なお、検出信号波形G1Aは、図9(A)中の検出回路8から遠い位置P1Aに対応する共通電極431から得られる検出信号Vdetの波形に対応し、検出信号波形G1Bは、検出回路8に近い位置P1Bに対応する共通電極436から得られる検出信号Vdetの波形に対応している。また、図10中に示した期間Δt1A,Δt1Bは、コモン駆動信号VcomA(検出回路8から遠い位置P1Aに対応),VcomB(検出回路8に近い位置P1Bに対応)が印加される期間を示している。また、図9(B)において、検出信号波形G1A,G1B中に示した矢印は、センサ用検出電極44に対する指の接触の有無による波形変化を表している。
したがって、タイミング制御部9からのタイミング制御信号CTL2によって、検出回路8内のA/D変換部83が、検出信号Vdetの値が飽和する飽和地点において、検出信号Vdetの読み取りを行うようにするのが好ましい。この飽和地点とは、例えば、図9(B),図10中のサンプリングタイミングts,ts1〜ts4に相当する。これにより、接触位置P1A,P1Bの違いによる時定数の差に起因して、検出信号波形G1A,G1Bの立ち上がりの際の傾きが異なっていても、略一定の検出信号値V1A(=V1B)が得られるようになる。すなわち、このような飽和地点(例えば、サンプリングタイミングts等)で読み取った検出信号Vdetに基づいて物体の接触位置を検出することにより、接触位置による場所依存性が抑えられる(好ましくは回避される)。なお、このような飽和地点(例えば、サンプリングタイミングts等)は、表示装置1のパネル特性等に応じて、予め設定しておくようにする。
以上のように本実施の形態例では、静電容量の変化に応じてセンサ用検出電極44から得られる検出信号Vdetに基づいて物体の接触(近接)位置を検出すると共に、検出回路8において、この検出信号Vdetの信号線と接地との間にスイッチ素子SW1を設けるようにしたので、検出信号Vdetの信号線がフローティング状態となって検出信号Vdetの信号値が変動してしまうのを回避しつつ、リーク電流の発生を抑えることによって、検出信号値のレンジが小さくなったり、検出信号値が時間と共に減少してしまうのを抑えることができる。よって、静電容量型のタッチセンサを備えた表示装置において適切な物体検出を行うことができ、検出感度を向上させることが可能となる。
また、コモン駆動信号Vcomの極性反転タイミングの直前に同期してスイッチ素子SW1がオン状態とすることにより、定期的なプリチャージを行うようにしたので、外乱ノイズ等に起因して検出信号Vdetの信号値が読み出し回路(例えば、A/D変換部83等)のダイナミックレンジを超えてしまうことを回避することができる。
更に、検出回路8内のA/D変換部83が、検出信号Vdetの値が飽和する飽和地点において検出信号Vdetの読み取りを行うと共に、このような飽和地点で読み取った検出信号Vdetに基づいて物体の接触位置を検出するようにしたので、接触位置による場所依存性を抑える(もしくは回避する)ことができる。
図11は、本開示の第2の実施の形態例に係るタッチセンサ付きの表示装置1Aの概略構成を表すものである。また、図12は、この表示装置1Aにおける検出動作の際のタイミング波形を表すものである。本実施の形態例の表示装置1Aは、第1の実施の形態例の表示装置1において、検出回路8Aの代わりに検出回路8Aを設けたものである。なお、これらの図において、上記第1の実施の形態例と同様の構成要素については、同一の符号を付し、それ以上は説明しない。
検出回路8Aは、検出回路8において、スイッチ素子SW1と接地との間に、所定のプリチャージ電圧Vpを供給するプリチャージ電源80を更に設けるようにしたものである。このプリチャージ電源80は、タイミング制御部9からのタイミング制御信号CTL3に従って、例えば図12(D)に示したように、互いに異なる2つのプリチャージ電圧V2,V3を、コモン駆動信号Vcomの極性反転周期と同期して時分割で交互に出力している。なお、図12中に示した期間Δt2A,Δt2Bは、コモン駆動信号VcomA(図11(A)中の検出回路8Aから遠い位置P2Aに対応),VcomB(図11(A)中の検出回路8Aから近い位置P2Bに対応)が印加される期間を示している。
これにより、本実施の形態例の検出信号Vdetは、例えば図12(E)に示したように、プリチャージ電圧V2(tp11,tp13,tp21,tp23に対応)と、プリチャージ電圧V3(tp12,tp22に対応)とに、交互にプリチャージされる。したがって、上記第1の実施の形態例の検出信号Vdet(図10(D)参照)と比べ、検出信号値の幅が小さくなる(例えば、第1の実施の形態例の検出信号Vdetの約1/2倍の幅となる)。
以上のように本実施の形態例では、スイッチ素子SW1と接地との間に、互いに異なる2つのプリチャージ電圧V2,V3を、コモン駆動信号Vcomの極性反転周期と同期して時分割で交互に出力するプリチャージ電源80を更に設けるようにしたので、上記第1の実施の形態例の検出信号Vdetと比べ、検出信号値の幅を小さくすることができる。よって、後段の回路(例えば、A/D変換部83等)でのダイナミックレンジを小さく抑えることができ、耐圧の小さな素子を用いることができるようになる。
<3.第3の実施の形態>
次に、本開示の第3の実施の形態例について説明する。第3の実施の形態例は、表示素子として横電界モードの液晶素子を用いるようにしたものである。
図13は、本実施の形態例のタッチセンサ付きの表示装置1Bの要部断面を表し、図14はその斜視構造を表すものである。なお、これらの図において、上記第1の実施の形態例の図4と同一部分には同一の符号を付し、それ以上は説明しない。
本実施の形態例の表示装置1Bは、画素基板2Bと、この画素基板2Bに対向して配置された対向基板4Bと、画素基板2Bと対向基板4Bとの間に挿設された液晶層6とを備えている。
画素基板2Bは、TFT基板21と、このTFT基板21上に配設された共通電極43と、この共通電極43の上に絶縁層23を介してマトリクス状に配設された複数の画素電極22とを有する。TFT基板21には、各画素電極22を駆動するための図示しない表示ドライバやTFTのほか、各画素電極22に画素信号を供給するソース線や、各TFTを駆動するゲート線等の配線が形成されている。TFT基板21にはまた、タッチ検出動作を行う検出回路8(図6参照)または検出回路8A(図11参照)が形成されている。共通電極43は、タッチ検出動作を行うタッチセンサの一部を構成するセンサ用駆動電極としても兼用されるものであり、図1における駆動電極E1に相当する。
対向基板4Bは、ガラス基板41と、このガラス基板41の一方の面に形成されたカラーフィルタ42とを有する。ガラス基板41の他方の面には、センサ用検出電極44が形成され、さらに、このセンサ用検出電極44の上に偏光板45が配設されている。センサ用検出電極44は、タッチセンサの一部を構成するもので、図1における検出電極E2に相当する。センサ用検出電極44は、図5に示したように、複数の電極パターンに分割されている。センサ用検出電極44は、薄膜プロセスにより対向基板4Bの上に直接形成してもよいが、間接的に形成してもよい。この場合には、タッチ検出電極44を図示しないフィルム基体上に形成すると共に、このタッチ検出電極44の形成されたフィルム基体を対向基板4Bの表面に貼り付けるようにすればよい。この場合、フィルム基体を、ガラスと偏光板の間の代わりに偏光板の上面に貼り付けることも可能であり、さらには偏光板を構成するフィルム内に作成してもよい。
共通電極43は、TFT基板21から交流矩形波形のコモン駆動信号Vcomが印加されるようになっている。このコモン駆動信号Vcomは、画素電極22に印加される画素電圧とともに各画素の表示電圧を画定するものである。コモン駆動信号Vcomは、タッチセンサの駆動信号としても兼用されるものであり、図1の駆動信号源Sから供給される交流矩形波Sgに相当する。
液晶層6は、電界の状態に応じてそこを通過する光を変調するものであり、例えば、FFS(フリンジフィールドスイッチング)モードや、IPS(インプレーンスイッチング)モード等の横電界モードの液晶が用いられる。
画素基板2Bにおける共通電極43および対向基板4Bにおけるセンサ用検出電極44の構成は、例えば図5に示したものと同様であり、両方とも、互いに交差するように延在する複数の電極パターンより構成されている。
ここで、図14を参照して、より詳細に説明する。ここに示したようなFFSモードの液晶素子においては、画素基板2B上に形成された共通電極43の上に、絶縁層23を介して、櫛歯状にパターニングされた画素電極22が配置され、この画素電極22を覆うように配向膜26が形成される。この配向膜26と、対向基板4Bに対向する側の配向膜46との間に、液晶層6が挟持される。2枚の偏光板24,45は、クロスニコルの状態で配置される。2枚の配向膜26,46のラビング方向は、2枚の偏光板24,45の一方の透過軸と一致している。図14では、ラビング方向が出射側の偏光板45の透過軸と一致している場合を図示してある。さらに、2枚の配向膜26,46のラビング方向および偏光板45の透過軸の方向は、液晶分子が回転する方向が規定される範囲で、画素電極22の延設方向(例えば、櫛歯の長手方向)とほぼ平行に設定されている。
次に、本実施の形態例の表示装置1Bにおける作用および効果について説明する。
最初に、図14および図15を参照して、FFSモードの液晶素子の表示動作原理について以下簡単に説明する。ここで、図15は液晶素子の要部断面を拡大して表したものである。これらの図で、(A)は電界非印加時、(B)は電界印加時における液晶素子の状態をそれぞれ示す。
共通電極43と画素電極22との間に電圧を印加していない状態では(図14(A)、図15(A)参照)、液晶分子61の軸が入射側の偏光板24の透過軸と直交し、かつ、出射側の偏光板45の透過軸と平行な状態となる。このため、入射側の偏光板24を透過した入射光hは、液晶層6内において位相差を生じることなく出射側の偏光板45に達し、偏光板45において吸収されるため、黒表示となる。一方、共通電極43と画素電極22との間に電圧を印加した状態では(図14(B)、図15(B)参照)、液晶分子61の配向方向が、画素電極間に生じる横電界Eにより、画素電極22の延設方向に対して斜め方向に回転する。この際、液晶層6の厚み方向の中央に位置する液晶分子61が約45度回転するように白表示時の電界強度を最適化する。これにより、入射側の偏光板24を透過した入射光hには、この入射光hが液晶層6内を透過する間に位相差が生じる。これにより、入射光hは90度回転した直線偏光となり、出射側の偏光板45を通過するため、白表示となる。
次に、表示装置1Bにおける表示制御動作およびタッチ検出動作について以下説明する。これらの動作は、上記第1の実施の形態例における動作と同様なので、それ以上は詳細に説明しない。
画素基板2Bの表示ドライバ(図示せず)は、共通電極43の各電極パターンに対してコモン駆動信号Vcomを線順次で供給する。表示ドライバはまた、ソース線を介して画素電極22へ画素信号を供給すると共に、この画素電極22への画素信号の供給と同期して、ゲート線を介して各画素電極のTFTのスイッチングを線順次で制御する。これにより、液晶層6には、画素ごとに、コモン駆動信号Vcomと各画素信号とにより定まる横方向(例えば、基板に平行な方向)の電界が印加されて液晶状態の変調が行われる。このようにして、いわゆる反転駆動による表示が行われる。
一方、対向基板4Bの側では、共通電極43の各電極パターンに、コモン駆動信号Vcomを時分割的に順次印加していく。すると、その印加された共通電極43の電極パターンとセンサ用検出電極44の各電極パターンとの交差部分に形成された一列分の容量素子C1(C11〜C16)の各々に対し、充放電が行われる。そして、容量素子C1の容量値に応じた大きさの検出信号Vdetが、センサ用検出電極44の各電極パターンからそれぞれ出力される。対向基板4Aの表面にユーザの指が触れられていない状態においては、この検出信号Vdetの大きさはほぼ一定となる。対向基板4Bの表面のいずれかの場所にユーザの指が触れると、そのタッチ箇所に元々形成されている容量素子C1に、指による容量素子C2が付加される結果、そのタッチ箇所がスキャンされた時点の検出信号Vdetの値が他の箇所よりも小さくなる。検出回路8(図6参照)または検出回路8A(図11参照)は、この検出信号Vdetをしきい値電圧Vthと比較して、検出信号Vdetがしきい値電圧Vth未満の場合に、その箇所をタッチ箇所として判定する。このタッチ箇所は、コモン駆動信号Vcomの印加タイミングと、しきい値電圧Vth未満の検出信号Vdetの検出タイミングとから割り出される。
以上のように本実施の形態例では、上記第1および第2の実施の形態と同様に、液晶表示素子に元々備えられている共通電極43を、駆動電極と検出電極とから構成される一対のタッチセンサ用電極のうちの一方として兼用すると共に、表示用駆動信号としてのコモン駆動信号Vcomを、タッチセンサ用駆動信号として共用して静電容量型タッチセンサを構成している。そのため、静電容量型のタッチセンサにおいて、新たに設けるのはセンサ用検出電極44だけでよく、また、タッチセンサ用駆動信号を新たに用意する必要がない。したがって、タッチセンサ付きの表示装置1Bの構成が簡単である。
また、本実施の形態例においても、上記第1の実施の形態例で説明した検出回路8または上記第2の実施の形態例で説明した検出回路8Aを設けるようにしたので、上記第1または第2の実施の形態例と同様の作用により、上記第1または第2の実施の形態例と同様の効果を得ることが可能となる。
特に、本実施の形態例では、タッチセンサ用駆動電極としての共通電極43が画素基板2Bの側(TFT基板21の上)に設けられていることから、TFT基板21から共通電極43にコモン駆動信号Vcomを供給することが極めて容易であると共に、必要な回路や電極パターンおよび配線等を画素基板2に集中させることができ、回路の集積化が図られる。したがって、上記第1の実施の形態において必要であった、画素基板2側から対向基板4側へのコモン駆動信号Vcomの供給経路(例えば、コンタクト導電柱7)が不要となり、タッチセンサ付きの表示装置1Bの構造がより簡単になる。
なお、検出回路8(図6参照)や検出回路8A(図11参照)は、対向基板4B上の周辺領域(例えば、非表示領域または額縁領域)に形成するようにしてもよいが、検出回路8または8Aは、画素基板2B上の周辺領域に形成するのが好ましい。検出回路8または8Aを画素基板2B上に形成すれば、これらの検出回路8または8Aを、元々画素基板2B上に形成されている表示制御用の各種回路素子等との集積化が図れるからである。
なお、本実施の形態例では、センサ用検出電極44をガラス基板41の表面側(液晶層6に対向する側と反対の側)に設けるようにしたが、センサ用検出電極44の配置を次のように変形してもよい。
例えば図16に示した表示装置1Cように、対向基板4Cにおいて、センサ用検出電極44を、カラーフィルタ42に対向する側ではなく、液晶層6の側に対向する側に設けるようにしてもよい。
あるいは、図17に示した表示装置1Dのように、対向基板4Dにおいて、センサ用検出電極44をガラス基板41とカラーフィルタ42との間に設けるようにしてもよい。ここで、横電界モードの場合、縦方向に電極があると縦方向に電界がかかり、液晶が立ち上がってしまい視野角等が大きく悪化してしまう。したがって、この表示装置1Dのように、カラーフィルタ42等の誘電体を挟んでセンサ用検出電極44を配置すれば、この問題は大きく低減することができる。
<4.変形例(変形例1,2)>
次に、上記第1〜第3の実施の形態例の変形例(変形例1,2)について以下説明する。上記実施の形態では、図5に示したように、共通電極43およびセンサ用検出電極44の両方とも、互いに交差するように延在する複数の電極パターンより構成するようにした場合について説明したが、本開示はこれには限定されない。なお、上記第1〜第3の実施の形態例と同様の構成要素については、同一の符号を付し、それ以上は説明しない。
図18は、変形例1に係るタッチセンサ付きの表示装置の要部(共通電極およびセンサ用検出電極)の構成を斜視図で表すものである。この図に示すように、共通電極43を単一電極(例えば、第1の駆動電極)より構成すると共に、センサ用検出電極44を、マトリクス状に配設された複数の個別電極(例えば、複数の検出電極、または第1の検出電極、第2の検出電極、第3の検出電極および第4の検出電極など)より構成するようにしてもよい。この場合には、センサ用検出電極44の各個別電極からの検出信号Vdetによって、直ちにタッチ位置を割り出すことができる。
図19は、変形例2に係るタッチセンサ付きの表示装置の要部(共通電極およびセンサ用検出電極)の構成を斜視図で表すものである。この図に示すように、共通電極43を、図5と同様に、ストライプ状に分割された複数の電極パターン(例えば、複数の駆動電極、または第1の駆動電極、第2の駆動電極、第3の駆動電極、第4の駆動電極、第5の駆動電極および第6の駆動電極など)より構成すると共に、センサ用検出電極44については、図18と同様に、マトリクス状に配設された複数の個別電極(例えば、複数の検出電極、または第1の検出電極、第2の検出電極、第3の検出電極および第4の検出電極など)より構成するようにしてもよい。この場合においても、共通電極43の複数の電極パターンをコモン駆動信号Vcomで順次スキャンしながら検出を行うことができる。
<5.適用例>
次に、図20〜図24を参照して、上記実施の形態例および上記変形例で説明したタッチセンサ付きの表示装置の適用例について以下説明する。上記実施の形態例等の表示装置は、テレビジョン装置,デジタルカメラ,ノート型パーソナルコンピュータ、携帯電話等の携帯端末装置あるいはビデオカメラなどのあらゆる分野の電子機器に適用することが可能である。言い換えると、上記実施の形態例等の表示装置は、外部から入力された映像信号あるいは内部で生成した映像信号を、画像あるいは映像として表示するあらゆる分野の電子機器に適用することが可能である。
図20は、上記実施の形態例等の表示装置が適用されるテレビジョン装置の外観を表したものである。このテレビジョン装置は、例えば、フロントパネル511およびフィルターガラス512を含む映像表示画面部510を有しており、この映像表示画面部510は、上記実施の形態例等に係る表示装置により構成されている。
図21は、上記実施の形態例等の表示装置が適用されるデジタルカメラの外観を表したものである。このデジタルカメラは、例えば、フラッシュ用の発光部521、表示部522、メニュースイッチ523およびシャッターボタン524を有しており、その表示部522は、上記実施の形態例等に係る表示装置により構成されている。
図22は、上記実施の形態例等の表示装置が適用されるノート型パーソナルコンピュータの外観を表したものである。このノート型パーソナルコンピュータは、例えば、本体531,文字等の入力操作のためのキーボード532および画像を表示する表示部533を有しており、その表示部533は、上記実施の形態例等に係る表示装置により構成されている。
図23は、上記実施の形態例等の表示装置が適用されるビデオカメラの外観を表したものである。このビデオカメラは、例えば、本体部541,この本体部541の前方側面に設けられた被写体撮影用のレンズ542,撮影時のスタート/ストップスイッチ543および表示部544を有している。そして、その表示部544は、上記実施の形態例等に係る表示装置により構成されている。
図24は、上記実施の形態例等の表示装置が適用される携帯電話機の外観を表したものである。この携帯電話機は、例えば、上側筐体710と下側筐体720とを連結部(例えば、ヒンジ部)730で連結したものである。携帯電話機は、ディスプレイ740,サブディスプレイ750,ピクチャーライト760およびカメラ770を有している。そのディスプレイ740またはサブディスプレイ750は、上記実施の形態例等に係る表示装置により構成されている。
以上、いくつかの実施の形態、変形例および適用例を挙げて本開示を説明したが、本開示はこれらに限定されず、種々の変形が可能である。
例えば、上記第1の実施の形態例では、プリチャージを行う際のプリチャージ電圧として接地電圧(グランド;GND)を用いる場合について説明したが、例えば接地電圧以外の固定電圧(固定電位部)を用いるようにしてもよい。すなわち、スイッチ素子SW1と接地との間に、1種類の固定電圧をプリチャージ電圧Vpとして出力するプリチャージ電源を設けるようにしてもよい。
また、上記第3の実施の形態例では、横電界モードとしてFFSモードの液晶素子を例に説明したが、IPSモードの液晶について同様に適用可能である。
更に、上記実施の形態等では、表示素子として液晶表示素子を用いた表示装置について説明したが、本開示は、それ以外の表示素子、例えば有機EL素子を用いた表示装置にも適用可能である。
加えて、上記実施の形態例等では、タッチセンサを表示装置内に内蔵させた場合(タッチセンサ付きの表示装置)について説明したが、本開示のタッチセンサはこれには限られず、このタッチセンサを、例えば表示装置の外側(外付け型のタッチセンサ)にも適用してもよい。具体的には、例えば図25に示したようなタッチセンサ10を、表示装置の外側に設けるようにしてもよい。このタッチセンサ10は、例えばガラス等より構成される一対の絶縁基板411,412と、これらの基板411,412間に形成されたセンサ用駆動電極(タッチ駆動電極)430、センサ用検出電極44および絶縁層230とを備えている。センサ用駆動電極430は、絶縁基板411上に形成されており、このセンサ用駆動電極430にタッチセンサ用の駆動信号が印加されるようになっている。センサ用検出電極44は絶縁基板412上に形成されており、このセンサ用検出電極44は、上記実施の形態例等と同様に、検出信号Vdetを得るための電極である。絶縁層230は、これらセンサ用駆動電極430とセンサ用検出電極44との間に形成されている。なお、タッチセンサ10の斜視構造は、例えば図5等に示した上記実施の形態例等のものと同様となっている。また、駆動信号源S、検出回路8およびタイミング制御部9の回路構成等も、例えば図6に示した上記実施の形態例等のものと同様となっている。
さらに上述の実施の形態では、タイミング制御部9がコモン駆動信号Vcomの極性反転タイミング(例えば、図10中のタイミングt1〜t4)の直前に同期してスイッチ素子SW1がオン状態となるように、スイッチ素子SW1を制御する場合について述べたが、一変形例として、極性反転してからサンプリングタイミングts‘(タイミングts1’〜ts4‘)までの間、スイッチ素子SW1をオフ状態とし、それ以外の期間ではスイッチ素子SW1をオン状態としてもよい。図26は、この変形例に係る表示装置の検出動作を説明するためのタイミング波形図である。図10(A),(B)と同様に、図26(A),(B)に示す期間Δt1A,Δt1Bは、コモン駆動信号VcomA,VcomBが印加される期間を示している。図26(C)はタイミング制御部9から供給されるタイミング制御信号CTL1を、図26(D)はこの変形例の検出信号波形を示す。この変形例では、検出期間以外は検出信号Vdetが所定の電位に固定されるため、サンプリングタイミングts‘後に信号線に表示用の画像データを書込む場合にも、その書込みノイズの影響を受けず、安定した検出波形が得られる。
加えてまた、上記実施の形態等において説明した一連の処理は、ハードウェアにより行うこともできるし、ソフトウェアにより行うこともできる。一連の処理をソフトウェアによって行う場合には、そのソフトウェアを構成するプログラムが、汎用のコンピュータ等にインストールされるようになっている。このようなプログラムは、コンピュータに内蔵されている記録媒体に予め記録してさせておくようにしてもよい。
本明細書で説明した現在好適な実施の形態に対する各種変更や修正は当業者にとって明らかである。かかる変更や修正は、本開示が対象とするものの精神や範囲から逸脱することなく、その意図した利点を損なうことなく、なし得るものである。したがって、かかる変更や修正は、添付した請求の範囲の対象とされる。
1,1A〜1D…表示装置、10…タッチセンサ、11…SW制御部、12…スイッチ素子、131,132…インバータ(論理否定)回路、14…オペアンプ、15…スイッチ素子、2,2A,2B…画素基板、21…TFT基板(回路基板)、22…画素電極、4,4A〜4D…対向基板、41…ガラス基板、42…カラーフィルタ、43,431〜436…共通電極(兼センサ用駆動電極)、430…センサ用駆動電極、43D…ドライバ、44…センサ用検出電極(タッチ検出電極)、45…偏光板、6…液晶層、7…コンタクト導電柱、8,8A…検出回路、80…プリチャージ電源、81…増幅部、82…整流平滑部、83…A/D変換部、84…信号処理部、85…座標抽出部、9…タイミング制御部、C1,C11〜C16,C2…容量素子、Sg…交流矩形波、E1…駆動電極、E2…検出電極、S…交流信号源(駆動信号源)、Vcom…コモン駆動信号、DET…電圧検出器(検出回路)、Vdet…検出信号、Vth…しきい値電圧、Vp,V2,V3…プリチャージ電圧、Tin…入力端子、Tout…出力端子、SW1…スイッチ素子、CTL1〜CTL3…タイミング制御信号、t1〜t4…タイミング、tp1〜tp4,tp11〜tp13,tp21〜tp23…サンプリングタイミング、tp1〜tp4…プリチャージタイミング。

Claims (39)

  1. 第1の駆動信号を生成する第1の信号源と、
    前記第1の信号源からの前記第1の駆動信号を受け取る第1の駆動電極と、
    前記第1の駆動電極に隣接して配置され、前記第1の駆動信号によって駆動された第1の出力信号を生成する第1の検出電極と、
    前記第1の駆動電極と前記第1の検出電極との間に設けられ、第1の容量領域を規定する誘電体材料と、
    前記第1の検出電極に電気的に接続され、前記第1の出力信号を検出する検出回路と、
    前記第1の検出電極に電気的に接続され、第1の状態と第2の状態とを有するスイッチ素子と
    を備え、
    前記スイッチ素子は、前記第1の状態のときに前記第1の検出電極を所定の電圧にさせ、前記第2の状態のときに前記第1の検出電極をフローティング状態にさせ、前記スイッチ素子を前記第1の状態と前記第2の状態との間で交互に切り換えるためのタイミング制御信号を受け取り、
    前記検出回路は、前記第1の出力信号を信号しきい値と比較することにより、前記第1の容量領域がタッチ状態にあったか否かを示す第1の検出結果を得る
    タッチセンサ装置。
  2. さらに、
    第2の駆動信号を生成する第2の信号源と、
    前記第2の信号源からの前記第2の駆動信号を受け取る第2の駆動電極と、
    を備え、
    前記第1の検出電極が、前記第2の駆動電極に隣接して配置され、
    前記誘電体材料が、前記第2の駆動電極と前記第1の検出電極との間に設けられ、第2の容量領域を規定し、
    前記第1の検出電極が、前記第2の駆動信号によって駆動された第2の出力信号を生成し、
    前記検出回路が、前記第2の出力信号を検出し、
    前記スイッチ素子が、前記第1の状態のときに前記第2の検出電極を所定の電圧レベルにさせ、前記第2の状態のときに前記第2の検出電極をフローティング状態にさせ、
    前記検出回路が、前記第2の出力信号を前記信号しきい値と比較することにより、前記第2の容量領域が前記タッチ状態にあったか否かを示す第2の検出結果を得る、
    請求項1に記載のタッチセンサ装置。
  3. 前記第1の駆動信号と前記第2の駆動信号とが、前記第1の駆動電極と前記第2の駆動電極とに順次印加され、
    前記第1の出力信号と前記第2の出力信号とが、順次印加されている前記第1の駆動信号と前記第2の駆動信号とに対応して順次検出される、
    請求項2に記載のタッチセンサ装置。
  4. 第2の検出電極が、前記第1の駆動電極と前記第2の駆動電極とに隣接して配置され、前記第1の駆動信号によって駆動された第3の出力信号と、前記第2の駆動信号によって駆動された第4の出力信号とを生成し、
    前記誘電体材料が、前記第2の検出電極と前記第1の駆動電極との間に設けられ、第3の容量領域を規定し、
    前記誘電体材料が、前記第2の検出電極と前記第2の駆動電極との間に設けられ、第4の容量領域を規定し、
    前記検出回路が、前記第2の検出電極に電気的に接続され、前記第3の出力信号と前記第4の出力信号とを検出し、
    前記スイッチ素子が、前記第2の検出電極に電気的に接続され、前記第1の状態のときに前記第3の検出電極と前記第4の検出電極とを所定の電圧レベルにさせ、前記第2の状態のときに前記第3の検出電極と前記第4の検出電極とをフローティング状態にさせ、
    前記検出回路が、前記第3の出力信号を前記信号しきい値と比較することにより、前記第3の容量領域が前記タッチ状態にあったか否かを示す第3の検出結果を得て、
    前記検出回路が、前記第4の出力信号を前記信号しきい値と比較することにより、前記第4の容量領域が前記タッチ状態にあったか否かを示す第4の検出結果を得る、
    請求項3に記載のタッチセンサ装置。
  5. 前記第1の出力信号と、前記第2の出力信号と、前記第3の出力信号と、前記第4の出力信号とが、前記第1の検出電極と前記第2の検出電極とによって順次検出される、
    請求項4に記載のタッチセンサ装置。
  6. 前記スイッチ素子が、前記第1の検出電極用の第1のスイッチと、前記第2の検出電極用の第2のスイッチとを有する、
    請求項5に記載のタッチセンサ装置。
  7. 前記スイッチ素子が、タイミング制御回路から前記タイミング制御信号を受け取り、
    前記タイミング制御回路は、さらに、前記第1の信号源を制御するために前記第1の駆動信号がオンのときに前記第1の信号源にタイミング制御信号を送出し、前記第2の信号源を制御するために前記第2の駆動信号がオンのときに前記第2の信号源にタイミング制御信号を送出し、サンプリングタイミングを制御するために前記検出回路におけるA/D変換部にタイミング制御信号を送出する、
    請求項5に記載のタッチセンサ装置。
  8. 前記第1の検出電極が、表示装置の一部である、
    請求項1に記載のタッチセンサ装置。
  9. 前記第1の信号源が、表示制御回路に設けられ、前記第1の駆動電極が、前記第1の駆動信号を受け取る表示用共通電圧電極であり、これにより前記表示制御回路が、画像信号に基づく画像を表示するために前記表示用共通電圧電極と画素電極との間に印加される電圧を制御する、
    請求項1に記載のタッチセンサ装置。
  10. 前記検出回路が、画素基板上の周辺領域に形成され、表示制御用の回路素子と一体に集積されている、
    請求項1に記載のタッチセンサ装置。
  11. 前記検出回路が、増幅部と、フィルタ部と、整流部と、平滑部と、A/D変換部と、信号処理部と、座標抽出部との少なくとも1つを含む、
    請求項1に記載のタッチセンサ装置。
  12. 前記スイッチ素子の前記所定の電圧レベルが、接地電圧である、
    請求項1に記載のタッチセンサ装置。
  13. さらに、
    前記スイッチ素子に電気的に接続され、前記所定の電圧レベルを供給するプリチャージ電源を備え、
    前記プリチャージ電源が、第1の所定の電圧レベルと、第2の所定の電圧レベルとを順次供給する、
    請求項1に記載のタッチセンサ装置。
  14. さらに、
    前記第1の駆動電極に隣接し、前記第1の検出電極から第1の方向に変位した位置に配置された第2の検出電極と、
    前記第1の駆動電極に隣接し、前記第1の検出電極から第2の方向に変位した位置に配置された第3の検出電極と、
    前記第1の駆動電極に隣接し、前記第2の検出電極から前記第2の方向に変位し、前記第3の検出電極から前記第1の方向に変位した位置に配置された第4の検出電極と、
    を備え、
    前記誘電体材料が、前記第1の駆動電極と前記第2の検出電極との間に設けられ、第2の容量領域を規定し、前記第1の駆動電極と前記第3の検出電極との間に設けられ、第3の容量領域を規定し、前記第1の駆動電極と前記第4の検出電極との間に設けられ、第4の容量領域を規定し、
    前記第2の検出電極が、前記第1の駆動信号によって駆動された第2の出力信号を生成し、
    前記第3の検出電極が、前記第1の駆動信号によって駆動された第3の出力信号を生成し、
    前記第4の検出電極が、前記第1の駆動信号によって駆動された第4の出力信号を生成し、
    前記スイッチ素子が、前記第2の検出電極と、前記第3の検出電極と、前記第4の検出電極とに電気的に接続され、
    前記スイッチ素子が、前記第1の状態のときに、前記第2の検出電極と、前記第3の検出電極と、前記第4の検出電極とを所定の電圧レベルにさせ、前記第2の状態のときに、前記第2の検出電極と、前記第3の検出電極と、前記第4の検出電極とをフローティング状態にさせ、
    前記検出回路が、前記第2の出力信号を前記信号しきい値と比較することにより、前記第2の容量領域が前記タッチ状態にあったか否かを示す第2の検出結果を得て、
    前記検出回路が、前記第3の出力信号を前記信号しきい値と比較することにより、前記第3の容量領域が前記タッチ状態にあったか否かを示す第3の検出結果を得て、
    前記検出回路が、前記第4の出力信号を前記信号しきい値と比較することにより、前記第4の容量領域が前記タッチ状態にあったか否かを示す第4の検出結果を得る、
    請求項1に記載のタッチセンサ装置。
  15. 駆動信号を受け取る駆動電極と、
    前記駆動電極に隣接して配置され、前記駆動信号によって駆動された出力信号を生成する検出電極と、
    前記駆動電極と前記検出電極との間に設けられ、容量領域を規定する誘電体材料と、
    前記検出電極に電気的に接続され、前記出力信号を検出する検出回路と、
    前記検出電極と、所定の電圧レベルを出力する電圧源との間に電気的に接続され、第1の状態と第2の状態とを有するスイッチ素子と、
    画像信号に基づく画像を表示するために、表示用共通電圧電極と画素電極との間に印加される電圧を制御する表示制御回路と
    を備え、
    前記表示用共通電圧電極が前記駆動電極として機能する
    表示装置。
  16. 前記表示用共通電圧電極と前記画素電極との間に印加される前記電圧によって、横電界モードの液晶素子が変調される、
    請求項15に記載の表示装置。
  17. 前記スイッチ素子が、前記第1の状態のときに前記検出電極を所定の電圧レベルにさせ、前記第2の状態のときに前記検出電極をフローティング状態にさせ、前記スイッチ素子を前記第1の状態と前記第2の状態との間で交互に切り換えるためのタイミング制御信号を受け取り、
    前記検出回路が、前記出力信号を信号しきい値と比較することにより、前記容量領域がタッチ状態にあったか否かを示す検出結果を得る
    請求項15に記載の表示装置。
  18. 前記画素電極が、前記駆動電極と前記検出電極との間に配置されている、
    請求項15に記載の表示装置。
  19. 前記電圧源が、接地電圧を供給する、
    請求項15に記載の表示装置。
  20. 前記電圧源が、第1の所定の電圧レベルと、第2の所定の電圧レベルとを順次供給するプリチャージ電源である、
    請求項15に記載の表示装置。
  21. 出力信号を発生する容量領域を含む容量型タッチセンサと、
    検出電極からの前記出力信号を検出する検出回路と、
    第1の状態と第2の状態とを有し、前記第1の状態のときに前記検出電極を所定の電圧レベルにさせ、前記第2の状態のときに前記検出電極をフローティング状態にさせ、前記第1の状態と前記第2の状態との間で交互に切り換わるスイッチ素子と
    を備え、
    前記検出回路は、前記出力信号を信号しきい値と比較することにより、前記容量領域がタッチ状態にあったか否かを示す検出結果を得る
    電子機器。
  22. 前記容量型タッチセンサが、
    駆動信号を生成する信号源と、
    前記信号源からの前記駆動信号を受け取る駆動電極と、
    前記駆動電極と前記検出電極との間に設けられ、容量領域を規定する誘電体材料と、
    を備え、
    前記検出電極が、前記駆動電極に隣接して配置され、前記駆動信号によって駆動された前記出力信号を生成する、
    請求項21に記載の電子機器。
  23. 前記駆動信号を生成する前記信号源が、複数の駆動信号を生成する複数の信号源のうちの1つであり、
    前記信号源から前記駆動信号を受け取る前記駆動電極が、前記複数の信号源から前記複数の駆動信号を受け取る複数の駆動電極のうちの1つであり、
    前記駆動電極に隣接して配置された前記検出電極が、前記複数の駆動電極に隣接して配置された複数の検出電極のうちの1つであり、
    前記駆動電極と前記検出電極との間に設けられ、前記容量領域を規定する前記誘電体材料が、さらに、前記複数の駆動電極と前記複数の検出電極との間に配置され、複数の容量領域を規定し、
    前記スイッチ素子が、前記第1の状態のときに前記複数の検出電極を所定の電圧レベルにさせ、前記第2の状態のときに前記複数の検出電極をフローティング状態にさせ、
    前記駆動信号によって駆動された前記出力信号が、前記複数の駆動信号によって駆動された複数の出力信号のうちの1つである、
    請求項22に記載の電子機器。
  24. さらに、
    タイミング制御部を備え、
    前記スイッチ素子が、前記スイッチ素子を前記第1の状態と前記第2の状態との間で交互に切り換えるためのタイミング制御信号を前記タイミング制御部から受け取る、
    請求項21に記載の電子機器。
  25. 前記スイッチ素子の前記第1の状態がクローズ状態であり、前記スイッチ素子の前記第2の状態がオープン状態である、
    請求項21に記載の電子機器。
  26. 前記スイッチ素子の前記第1の状態がオン状態であり、前記スイッチ素子の前記第2の状態がオフ状態である、
    請求項21に記載の電子機器。
  27. 前記電子機器が、テレビジョン装置、デジタルカメラ、ノート型パーソナルコンピュータ、携帯端末装置、携帯電話およびビデオカメラのうちの少なくとも1つである、
    請求項21に記載の電子機器。
  28. 出力信号を発生する容量領域と、
    検出電極からの前記出力信号を検出する検出回路と、
    第1の状態と第2の状態とを有し、前記第1の状態のときに前記検出電極を所定の電圧レベルにさせ、前記第2の状態のときに前記検出電極をフローティング状態にさせ、前記第1の状態と前記第2の状態との間で交互に切り換わるスイッチ素子と、
    を備え、
    前記検出回路は、前記容量領域がタッチ状態にあったか否かを示す検出結果を得る
    タッチセンサ装置。
  29. 前記タッチ状態が、前記検出電極に接触している物体によって生じる、
    請求項28に記載のタッチセンサ装置。
  30. 前記タッチ状態が、前記検出電極への接触に近接する物体によって生じる、
    請求項28に記載のタッチセンサ装置。
  31. 前記容量領域における静電容量の変化が、前記検出結果において、前記容量領域が前記タッチ状態にあったことを示すようにさせる、
    請求項30に記載のタッチセンサ装置。
  32. 前記容量領域における静電容量の変化が、前記検出結果において、前記容量領域が前記タッチ状態にあったことを示すようにさせる、
    請求項28に記載のタッチセンサ装置。
  33. 前記静電容量の変化が、検出電極に接触していることと、前記検出電極への接触に近接することとのうちの少なくとも1つにより、前記容量領域に接触している指によって生じる、
    請求項32に記載のタッチセンサ装置。
  34. 前記検出結果が、前記容量領域が非接触状態にあったことを示す、
    請求項28に記載のタッチセンサ装置。
  35. 前記スイッチ素子が、前記スイッチ素子を前記第1の状態と前記第2の状態との間で交互に切り換えるとともに、前記第1の状態と前記第2の状態との間の切り換えの継続期間を制御するためのタイミング制御信号を受け取る、
    請求項28に記載のタッチセンサ装置。
  36. 前記タイミング制御信号が、前記スイッチ素子を前記第2の状態にさせるよりも短い期間、前記スイッチ素子を前記第1の状態にさせる、
    請求項35に記載のタッチセンサ装置。
  37. 前記所定の電圧レベルが、接地電圧である、
    請求項36に記載のタッチセンサ装置。
  38. さらに、
    駆動信号を生成する信号源と、
    前記信号源から前記駆動信号を受け取る駆動電極と、
    を備え、
    前記検出電極が、前記駆動電極に隣接して配置され、
    前記駆動信号の極性が、所定の周期ごとに反転するものであり、
    前記スイッチ素子が、前記駆動信号の極性反転タイミングの前に前記所定の周期に同期して前記第1の状態から前記第2の状態へと変化する、
    請求項28に記載のタッチセンサ装置。
  39. 前記検出回路が、前記第2の状態の期間における、前記極性反転タイミングの後の飽和時点に基づいて設定されるサンプリングタイミングにおいて、前記出力信号を信号しきい値と比較することにより、前記検出結果を得る、
    請求項38に記載のタッチセンサ装置。
JP2011504252A 2009-05-29 2010-05-26 タッチセンサおよび表示装置 Active JP5701745B2 (ja)

Priority Applications (1)

Application Number Priority Date Filing Date Title
JP2011504252A JP5701745B2 (ja) 2009-05-29 2010-05-26 タッチセンサおよび表示装置

Applications Claiming Priority (4)

Application Number Priority Date Filing Date Title
JP2009131091 2009-05-29
JP2009131091 2009-05-29
PCT/JP2010/059294 WO2010137727A1 (en) 2009-05-29 2010-05-26 Touch sensor display and electronic device
JP2011504252A JP5701745B2 (ja) 2009-05-29 2010-05-26 タッチセンサおよび表示装置

Publications (3)

Publication Number Publication Date
JP2012528362A true JP2012528362A (ja) 2012-11-12
JP2012528362A5 JP2012528362A5 (ja) 2013-04-18
JP5701745B2 JP5701745B2 (ja) 2015-04-15

Family

ID=43222829

Family Applications (1)

Application Number Title Priority Date Filing Date
JP2011504252A Active JP5701745B2 (ja) 2009-05-29 2010-05-26 タッチセンサおよび表示装置

Country Status (7)

Country Link
US (2) US9927925B2 (ja)
JP (1) JP5701745B2 (ja)
KR (1) KR101781651B1 (ja)
CN (1) CN102112951B (ja)
BR (1) BRPI1003997A2 (ja)
TW (1) TWI431362B (ja)
WO (1) WO2010137727A1 (ja)

Cited By (2)

* Cited by examiner, † Cited by third party
Publication number Priority date Publication date Assignee Title
KR20200125692A (ko) * 2018-03-01 2020-11-04 마이크로칩 테크놀로지 인코포레이티드 터치리스 제스처 검출과 호버 및 터치 검출을 위한 방법 및 시스템
JP2021192161A (ja) * 2020-06-05 2021-12-16 シャープ株式会社 タッチパネル入力装置

Families Citing this family (86)

* Cited by examiner, † Cited by third party
Publication number Priority date Publication date Assignee Title
US7019277B2 (en) * 2003-03-13 2006-03-28 Psion Teklogix Systems Inc. Imaging device
KR101128543B1 (ko) 2006-06-09 2012-03-23 애플 인크. 터치 스크린 액정 디스플레이
CN104965621B (zh) 2006-06-09 2018-06-12 苹果公司 触摸屏液晶显示器及其操作方法
US8643624B2 (en) 2009-03-18 2014-02-04 Synaptics Incorporated Capacitive sensing using a segmented common voltage electrode of a display
EP2539798B1 (en) 2010-02-26 2021-04-14 Synaptics Incorporated Varying demodulation to avoid interference
US9766733B2 (en) * 2010-04-16 2017-09-19 Microchip Technology Germany Gmbh TFT display, OLED interface and method for detecting the spatial position of extremities in a spatial region located in front of the display
US9898121B2 (en) 2010-04-30 2018-02-20 Synaptics Incorporated Integrated capacitive sensing and displaying
JP5458443B2 (ja) 2010-09-14 2014-04-02 株式会社ジャパンディスプレイ タッチ検出機能付き表示装置、および電子機器
US8804056B2 (en) 2010-12-22 2014-08-12 Apple Inc. Integrated touch screens
CN102650916B (zh) 2011-02-25 2014-11-26 乐金显示有限公司 集成触摸传感器的显示设备
KR101450948B1 (ko) * 2011-08-04 2014-10-16 엘지디스플레이 주식회사 터치센서 일체형 표시장치
JP5726606B2 (ja) * 2011-04-13 2015-06-03 株式会社ジャパンディスプレイ タッチ検出機能付き表示パネルおよびその駆動方法、駆動回路、ならびに電子機器
DE102011017383A1 (de) * 2011-04-18 2012-10-18 Ident Technology Ag OLED-Interface
US8612808B2 (en) 2011-05-05 2013-12-17 International Business Machines Corporation Touch-sensitive user input device failure prediction
CN102929455A (zh) * 2011-08-11 2013-02-13 微创高科有限公司 一种应用于液晶显示模组的触控电容检测电路及方法
CN105022540B (zh) 2011-09-07 2018-11-09 辛纳普蒂克斯公司 非显示更新时间期间的电容性感测
WO2013096860A1 (en) * 2011-12-22 2013-06-27 Bo Pi A capacitive touch sensor partially integrated with lcd display
US20130181911A1 (en) * 2012-01-17 2013-07-18 Esat Yilmaz On-Display-Sensor Stack
EP2620846B1 (en) * 2012-01-27 2017-08-09 BlackBerry Limited Electronic device with capacitive touch-sensitive display
US9262020B2 (en) 2012-01-27 2016-02-16 Blackberry Limited Electronic device with capacitive touch-sensitive display
US8970547B2 (en) 2012-02-01 2015-03-03 Synaptics Incorporated Noise-adapting touch sensing window
JP5726111B2 (ja) * 2012-03-14 2015-05-27 株式会社ジャパンディスプレイ 画像表示装置
US8854335B2 (en) * 2012-03-22 2014-10-07 Eminent Electronic Technology Corp. Ltd. Electronic apparatus having touch sensing ability and non-touch sensing ability and control method thereof
KR101335892B1 (ko) * 2012-04-23 2013-12-02 한국과학기술원 정전용량방식의 대형 멀티 터치스크린의 신호검출시스템
TWI464642B (zh) * 2012-04-27 2014-12-11 Orise Technology Co Ltd 內嵌式多點觸控液晶顯示面板系統
US20130320994A1 (en) * 2012-05-30 2013-12-05 3M Innovative Properties Company Electrode testing apparatus
US9277887B2 (en) * 2013-02-01 2016-03-08 Rescon Ltd Signal stabilization in a dielectric sensor assembly
US10095358B2 (en) 2012-08-14 2018-10-09 Synaptics Incorporated Method for driving touch sensor to achieve faster sensor settling
US10073568B2 (en) 2012-08-15 2018-09-11 Synaptics Incorporated System and method for interference avoidance for a display device comprising an integrated sensing device
KR101427129B1 (ko) * 2012-09-13 2014-08-07 주식회사 하이딥 터치 패널 입력장치 및 그의 구동방법
US10073550B2 (en) 2012-09-20 2018-09-11 Synaptics Incorporated Concurrent input sensing and display updating
CN102955635B (zh) * 2012-10-15 2015-11-11 北京京东方光电科技有限公司 一种电容式内嵌触摸屏及显示装置
CN103793114B (zh) * 2012-10-26 2017-03-01 茂丞科技股份有限公司 具有高感测灵敏度的电容式感测阵列装置及电子设备
US9575590B2 (en) 2012-11-27 2017-02-21 Beijing Lenovo Software Ltd Input method and input apparatus
CN104422920B (zh) * 2013-09-06 2017-05-24 联想(北京)有限公司 终端设备及其信号调制方法
KR101614057B1 (ko) * 2012-12-07 2016-04-20 엘지디스플레이 주식회사 디스플레이 장치 및 디스플레이 장치의 터치 인식 방법
US9310931B2 (en) * 2013-03-15 2016-04-12 Apple Inc. Dynamic cross-talk mitigation for integrated touch screens
US9310917B2 (en) * 2013-03-15 2016-04-12 Apple Inc. Dynamic cross-talk mitigation for integrated touch screens
CN103149723B (zh) * 2013-03-20 2016-02-03 敦泰电子有限公司 液晶显示装置的触控方法和可触控液晶显示装置
JP5865286B2 (ja) 2013-03-29 2016-02-17 株式会社ジャパンディスプレイ 電子機器および電子機器の制御方法
TW201441883A (zh) * 2013-04-29 2014-11-01 Ye Xin Technology Consulting Co Ltd 內嵌式觸控顯示裝置
TWI489346B (zh) * 2013-06-19 2015-06-21 奇景光電股份有限公司 內嵌式觸控螢幕及其驅動裝置
CN104252274A (zh) * 2013-06-28 2014-12-31 奇景光电股份有限公司 内嵌式触控屏幕及其驱动装置
US9442615B2 (en) 2013-10-02 2016-09-13 Synaptics Incorporated Frequency shifting for simultaneous active matrix display update and in-cell capacitive touch
KR101684644B1 (ko) * 2013-11-12 2016-12-08 주식회사 센트론 코드분할 방식을 이용한 상호정전용량방식의 터치입력 감지방법 및 이를 위한 장치
US20150180493A1 (en) * 2013-12-23 2015-06-25 Yu-Ren Liu Capacitor Sensor Circuit with Rectifier and Integrator
TWI609299B (zh) * 2013-12-24 2017-12-21 鴻海精密工業股份有限公司 內嵌式觸控顯示裝置
WO2015125176A1 (ja) * 2014-02-21 2015-08-27 パナソニック液晶ディスプレイ株式会社 タッチ検出機能が一体化された表示装置
JP2015176512A (ja) * 2014-03-18 2015-10-05 シナプティクス・ディスプレイ・デバイス合同会社 半導体装置
US9582099B2 (en) 2014-03-31 2017-02-28 Synaptics Incorporated Serrated input sensing intervals
US9024913B1 (en) * 2014-04-28 2015-05-05 Lg Display Co., Ltd. Touch sensing device and driving method thereof
US9298309B2 (en) 2014-04-29 2016-03-29 Synaptics Incorporated Source driver touch transmitter in parallel with display drive
TW201602877A (zh) * 2014-07-01 2016-01-16 義隆電子股份有限公司 觸碰感測裝置以及其使用之方法
US10075164B2 (en) * 2014-07-03 2018-09-11 Shrey Jagdish Tarpara Capacitive and conductive sensing illuminating cable
US10209834B2 (en) * 2014-10-01 2019-02-19 Microsoft Technology Licensing, Llc Integrated self-capacitive touch display
US10175827B2 (en) 2014-12-23 2019-01-08 Synaptics Incorporated Detecting an active pen using a capacitive sensing device
US10275070B2 (en) 2015-01-05 2019-04-30 Synaptics Incorporated Time sharing of display and sensing data
US10394391B2 (en) 2015-01-05 2019-08-27 Synaptics Incorporated System and method for reducing display artifacts
KR102417266B1 (ko) * 2015-01-27 2022-07-05 삼성디스플레이 주식회사 표시 장치 및 그 접촉 감지 방법
CN107710316B (zh) * 2015-06-04 2021-09-21 硅工厂股份有限公司 用于驱动面板的技术
KR101648716B1 (ko) * 2015-06-26 2016-08-17 크루셜텍 (주) 터치 검출 속도를 가변하는 터치 검출 장치 및 이의 터치 검출 방법
US10037112B2 (en) 2015-09-30 2018-07-31 Synaptics Incorporated Sensing an active device'S transmission using timing interleaved with display updates
CN105335009B (zh) * 2015-12-03 2023-08-08 敦泰科技(深圳)有限公司 触摸显示装置和电子设备
US10592022B2 (en) 2015-12-29 2020-03-17 Synaptics Incorporated Display device with an integrated sensing device having multiple gate driver circuits
KR101800798B1 (ko) * 2016-02-19 2017-11-29 엘지디스플레이 주식회사 구동 회로, 터치 디스플레이 장치 및 그 구동방법
KR102462462B1 (ko) * 2016-04-06 2022-11-03 엘지디스플레이 주식회사 구동 회로, 터치 디스플레이 장치 및 그 구동 방법
CN105955522B (zh) * 2016-04-20 2018-12-07 厦门天马微电子有限公司 触控显示装置及其驱动方法
KR102618595B1 (ko) 2016-06-30 2023-12-29 엘지디스플레이 주식회사 터치 센서를 갖는 표시장치와 그 구동방법
CN107562259B (zh) * 2016-06-30 2020-07-31 乐金显示有限公司 具有触摸传感器的显示装置及其驱动方法
CN106066740B (zh) 2016-08-02 2019-02-12 厦门天马微电子有限公司 触控显示面板和触控显示装置
TWI628956B (zh) * 2016-10-24 2018-07-01 瑞鼎科技股份有限公司 應用於自電容觸控面板的自電容觸控感測電路及雜訊抑制方法
CN107045412B (zh) * 2017-05-04 2020-05-22 厦门天马微电子有限公司 电容式触控结构、触控显示面板、显示装置及扫描方法
CN107438822B (zh) * 2017-06-08 2021-06-22 深圳信炜科技有限公司 电容式传感装置的检测方法
KR102380866B1 (ko) * 2017-09-29 2022-03-31 엘지디스플레이 주식회사 터치 표시 장치, 터치 표시 패널 및 구동 회로
JP2019091198A (ja) * 2017-11-14 2019-06-13 シャープ株式会社 入力装置
KR102410103B1 (ko) * 2017-11-17 2022-06-21 엘지디스플레이 주식회사 터치센서 내장형 표시장치
CN109994063B (zh) * 2018-01-02 2021-02-09 京东方科技集团股份有限公司 一种光强检测单元及其控制方法、显示装置
JP7011159B2 (ja) * 2018-01-12 2022-01-26 Tianma Japan株式会社 容量検出回路及び静電容量センサ装置
JP6689303B2 (ja) * 2018-02-07 2020-04-28 双葉電子工業株式会社 タッチパネル駆動装置、タッチパネル装置
US10747358B2 (en) * 2018-02-22 2020-08-18 Wacom Co., Ltd. Position detection circuit and position detection method
JP6878678B2 (ja) * 2018-03-05 2021-06-02 株式会社ジャパンディスプレイ ホバー検出値を補正するタッチセンサ
US11112921B2 (en) * 2018-09-14 2021-09-07 Au Optronics Corporation Touch display panel
CN109192071B (zh) * 2018-10-16 2021-03-23 京东方科技集团股份有限公司 显示面板及其形变感应方法、显示装置
US11301708B2 (en) 2019-10-01 2022-04-12 Novatek Microelectronics Corp. Image sensing circuit and method
JP2021086495A (ja) * 2019-11-29 2021-06-03 株式会社ジャパンディスプレイ センサ装置及び表示装置
FI20205146A1 (en) * 2020-02-12 2021-08-13 Aito Bv PIETRO - ELECTRIC DEVICE

Citations (11)

* Cited by examiner, † Cited by third party
Publication number Priority date Publication date Assignee Title
JPS6184729A (ja) * 1984-10-03 1986-04-30 Yamatake Honeywell Co Ltd 透視形指タツチ入力装置
JPH09120334A (ja) * 1995-10-24 1997-05-06 Alps Electric Co Ltd タブレット付液晶表示装置
JPH09274538A (ja) * 1996-04-05 1997-10-21 Digital:Kk マトリックス型タッチパネル入力装置
JPH1139093A (ja) * 1997-07-15 1999-02-12 Toshiba Corp 情報処理装置およびポインティング装置
JP2000148376A (ja) * 1998-11-09 2000-05-26 Toshiba Corp データ入力装置
JP2004295881A (ja) * 2003-03-12 2004-10-21 Semiconductor Energy Lab Co Ltd 半導体装置
WO2007146780A2 (en) * 2006-06-09 2007-12-21 Apple Inc. Touch screen liquid crystal display
JP2009003916A (ja) * 2007-05-18 2009-01-08 Seiko Epson Corp センシング回路、その駆動方法、表示装置および電子機器
JP2009098942A (ja) * 2007-10-17 2009-05-07 Hitachi Displays Ltd 画面入力型画像表示システム
JP2009157916A (ja) * 2007-12-26 2009-07-16 Samsung Electronics Co Ltd 表示装置およびその駆動方法
JP2009244958A (ja) * 2008-03-28 2009-10-22 Sony Corp タッチセンサ付き表示装置

Family Cites Families (13)

* Cited by examiner, † Cited by third party
Publication number Priority date Publication date Assignee Title
JP2747429B2 (ja) * 1991-03-12 1998-05-06 シャープ株式会社 表示一体型タブレット装置
JP2534422B2 (ja) 1991-03-12 1996-09-18 シャープ株式会社 表示一体型タブレット装置
JP3438245B2 (ja) * 1993-01-21 2003-08-18 セイコーエプソン株式会社 タブレット装置、それを用いた装置、及び指示具の位置検出方法
US7583250B2 (en) * 2003-03-12 2009-09-01 Semiconductor Energy Laboratory Co., Ltd. Semiconductor device
KR20070078522A (ko) * 2006-01-27 2007-08-01 삼성전자주식회사 표시 장치 및 액정 표시 장치
KR101128543B1 (ko) * 2006-06-09 2012-03-23 애플 인크. 터치 스크린 액정 디스플레이
JP2008009750A (ja) 2006-06-29 2008-01-17 Casio Comput Co Ltd タッチパネル付き液晶表示素子
US9710095B2 (en) * 2007-01-05 2017-07-18 Apple Inc. Touch screen stack-ups
JP4356757B2 (ja) * 2007-03-13 2009-11-04 セイコーエプソン株式会社 液晶装置、電子機器および位置特定方法
JP4453710B2 (ja) * 2007-03-19 2010-04-21 セイコーエプソン株式会社 液晶装置、電子機器および位置検出方法
JP5206250B2 (ja) * 2008-05-02 2013-06-12 セイコーエプソン株式会社 表示装置および電子機器
JP5079594B2 (ja) * 2008-05-16 2012-11-21 株式会社ジャパンディスプレイウェスト 電気光学装置、電子機器および接触検出方法
US8605037B2 (en) * 2008-10-21 2013-12-10 Atmel Corporation Noise reduction in capacitive touch sensors

Patent Citations (11)

* Cited by examiner, † Cited by third party
Publication number Priority date Publication date Assignee Title
JPS6184729A (ja) * 1984-10-03 1986-04-30 Yamatake Honeywell Co Ltd 透視形指タツチ入力装置
JPH09120334A (ja) * 1995-10-24 1997-05-06 Alps Electric Co Ltd タブレット付液晶表示装置
JPH09274538A (ja) * 1996-04-05 1997-10-21 Digital:Kk マトリックス型タッチパネル入力装置
JPH1139093A (ja) * 1997-07-15 1999-02-12 Toshiba Corp 情報処理装置およびポインティング装置
JP2000148376A (ja) * 1998-11-09 2000-05-26 Toshiba Corp データ入力装置
JP2004295881A (ja) * 2003-03-12 2004-10-21 Semiconductor Energy Lab Co Ltd 半導体装置
WO2007146780A2 (en) * 2006-06-09 2007-12-21 Apple Inc. Touch screen liquid crystal display
JP2009003916A (ja) * 2007-05-18 2009-01-08 Seiko Epson Corp センシング回路、その駆動方法、表示装置および電子機器
JP2009098942A (ja) * 2007-10-17 2009-05-07 Hitachi Displays Ltd 画面入力型画像表示システム
JP2009157916A (ja) * 2007-12-26 2009-07-16 Samsung Electronics Co Ltd 表示装置およびその駆動方法
JP2009244958A (ja) * 2008-03-28 2009-10-22 Sony Corp タッチセンサ付き表示装置

Cited By (6)

* Cited by examiner, † Cited by third party
Publication number Priority date Publication date Assignee Title
KR20200125692A (ko) * 2018-03-01 2020-11-04 마이크로칩 테크놀로지 인코포레이티드 터치리스 제스처 검출과 호버 및 터치 검출을 위한 방법 및 시스템
JP2021515931A (ja) * 2018-03-01 2021-06-24 マイクロチップ テクノロジー インコーポレイテッドMicrochip Technology Incorporated 非接触ジェスチャ検出、及びホバー及び接触検出のための方法及びシステム
JP7348195B2 (ja) 2018-03-01 2023-09-20 マイクロチップ テクノロジー インコーポレイテッド 非接触ジェスチャ検出、及びホバー及び接触検出のための方法及びシステム
KR102705154B1 (ko) 2018-03-01 2024-09-09 마이크로칩 테크날러지 인코포레이티드 터치리스 제스처 검출과 호버 및 터치 검출을 위한 방법 및 시스템
JP2021192161A (ja) * 2020-06-05 2021-12-16 シャープ株式会社 タッチパネル入力装置
JP7423428B2 (ja) 2020-06-05 2024-01-29 シャープ株式会社 タッチパネル入力装置

Also Published As

Publication number Publication date
US20110128254A1 (en) 2011-06-02
BRPI1003997A2 (pt) 2019-09-24
TWI431362B (zh) 2014-03-21
US9927925B2 (en) 2018-03-27
KR101781651B1 (ko) 2017-10-23
CN102112951A (zh) 2011-06-29
JP5701745B2 (ja) 2015-04-15
US10082923B2 (en) 2018-09-25
TW201109784A (en) 2011-03-16
US20180239460A1 (en) 2018-08-23
WO2010137727A1 (en) 2010-12-02
KR20120024525A (ko) 2012-03-14
CN102112951B (zh) 2014-06-11

Similar Documents

Publication Publication Date Title
JP5701745B2 (ja) タッチセンサおよび表示装置
US11009733B2 (en) Detection device and display device
JP5203291B2 (ja) 表示装置および電子機器
JP5178631B2 (ja) タッチセンサ、表示装置および電子機器
JP5203293B2 (ja) 表示装置および電子機器
JP4816668B2 (ja) タッチセンサ付き表示装置
JP5455126B2 (ja) タッチ検出機能付き表示装置、駆動方法、および電子機器
JP5178633B2 (ja) タッチセンサ、表示装置および電子機器
JP5164930B2 (ja) タッチパネル、表示パネル、および表示装置
JP5635480B2 (ja) タッチセンサ付き表示装置、電位制御方法、およびプログラム
JP4400637B2 (ja) 液晶装置、液晶装置の駆動方法および電子機器
JP5687757B2 (ja) タッチ検出機能付き表示装置、駆動方法、および電子機器

Legal Events

Date Code Title Description
A521 Request for written amendment filed

Free format text: JAPANESE INTERMEDIATE CODE: A523

Effective date: 20130304

A621 Written request for application examination

Free format text: JAPANESE INTERMEDIATE CODE: A621

Effective date: 20130304

RD03 Notification of appointment of power of attorney

Free format text: JAPANESE INTERMEDIATE CODE: A7423

Effective date: 20130328

A131 Notification of reasons for refusal

Free format text: JAPANESE INTERMEDIATE CODE: A131

Effective date: 20140225

A521 Request for written amendment filed

Free format text: JAPANESE INTERMEDIATE CODE: A523

Effective date: 20140422

A711 Notification of change in applicant

Free format text: JAPANESE INTERMEDIATE CODE: A712

Effective date: 20140422

A02 Decision of refusal

Free format text: JAPANESE INTERMEDIATE CODE: A02

Effective date: 20140924

A521 Request for written amendment filed

Free format text: JAPANESE INTERMEDIATE CODE: A523

Effective date: 20141219

A911 Transfer to examiner for re-examination before appeal (zenchi)

Free format text: JAPANESE INTERMEDIATE CODE: A911

Effective date: 20150106

TRDD Decision of grant or rejection written
A01 Written decision to grant a patent or to grant a registration (utility model)

Free format text: JAPANESE INTERMEDIATE CODE: A01

Effective date: 20150127

A61 First payment of annual fees (during grant procedure)

Free format text: JAPANESE INTERMEDIATE CODE: A61

Effective date: 20150218

R150 Certificate of patent or registration of utility model

Ref document number: 5701745

Country of ref document: JP

Free format text: JAPANESE INTERMEDIATE CODE: R150

R250 Receipt of annual fees

Free format text: JAPANESE INTERMEDIATE CODE: R250

R250 Receipt of annual fees

Free format text: JAPANESE INTERMEDIATE CODE: R250

R250 Receipt of annual fees

Free format text: JAPANESE INTERMEDIATE CODE: R250

R250 Receipt of annual fees

Free format text: JAPANESE INTERMEDIATE CODE: R250

R250 Receipt of annual fees

Free format text: JAPANESE INTERMEDIATE CODE: R250

R250 Receipt of annual fees

Free format text: JAPANESE INTERMEDIATE CODE: R250

R250 Receipt of annual fees

Free format text: JAPANESE INTERMEDIATE CODE: R250

R250 Receipt of annual fees

Free format text: JAPANESE INTERMEDIATE CODE: R250

R250 Receipt of annual fees

Free format text: JAPANESE INTERMEDIATE CODE: R250