JP2012246162A - ナノ多孔質薄膜、およびその製造方法 - Google Patents
ナノ多孔質薄膜、およびその製造方法 Download PDFInfo
- Publication number
- JP2012246162A JP2012246162A JP2011117956A JP2011117956A JP2012246162A JP 2012246162 A JP2012246162 A JP 2012246162A JP 2011117956 A JP2011117956 A JP 2011117956A JP 2011117956 A JP2011117956 A JP 2011117956A JP 2012246162 A JP2012246162 A JP 2012246162A
- Authority
- JP
- Japan
- Prior art keywords
- pore
- substrate
- film
- thin film
- reaction solution
- Prior art date
- Legal status (The legal status is an assumption and is not a legal conclusion. Google has not performed a legal analysis and makes no representation as to the accuracy of the status listed.)
- Withdrawn
Links
Images
Landscapes
- Inorganic Compounds Of Heavy Metals (AREA)
- Silicates, Zeolites, And Molecular Sieves (AREA)
- Catalysts (AREA)
- Laminated Bodies (AREA)
Abstract
【課題】大きさの異なるナノ空間の配置が膜厚方向に任意に制御されたナノ多孔質薄膜、およびその製造方法を提供することにある。
【解決手段】本発明によるナノ多孔質構造を有するナノ多孔質薄膜は、膜厚方向に沿って複数の層領域を有し、前記複数の層領域は、第一の細孔を有する第一の層領域と第二の細孔を有する第二の層領域とを含み、前記第一の細孔と前記第二の細孔は貫通し、前記第一の細孔と前記第二の細孔との空間の大きさが異なることを特徴とする。
【選択図】図2
【解決手段】本発明によるナノ多孔質構造を有するナノ多孔質薄膜は、膜厚方向に沿って複数の層領域を有し、前記複数の層領域は、第一の細孔を有する第一の層領域と第二の細孔を有する第二の層領域とを含み、前記第一の細孔と前記第二の細孔は貫通し、前記第一の細孔と前記第二の細孔との空間の大きさが異なることを特徴とする。
【選択図】図2
Description
本発明は、ナノ多孔質薄膜およびその製造方法に関する。より詳しくは、触媒や機能性分子のような物質を担持する担持材料、物質を吸着する吸着材料、物質の分離、検出などに用いる分離、分子認識、センサ材料、物質の輸送、交換に利用される伝導材料、電子デバイスや光デバイス、マイクロデバイスなどに利用するナノ構造材料など、広い範囲で利用可能なナノ多孔質薄膜およびその製造方法に関するものである。
近年、ナノテクノロジーの発展は目覚ましく、ナノメートルサイズの構造を持った様々なナノ構造材料が提案されている。中でもナノメートルサイズの空間を有したナノ多孔質材料は、吸着材料や触媒などの担体、物質の分離や認識材料など、多くの産業分野において利用されている。
このナノ多孔質材料を作製する方法として、分子を鋳型として用いた製造方法がある。例えば、界面活性剤ミセルを鋳型として作製するメソポーラス材料や、認識対象の分子を鋳型として分子認識部位を形成するモレキュラーインプリンティング法が広く知られている。
これらのナノ多孔質材料をさらに機能性材料分野に応用するためには、形態を制御する技術が重要である。例えば、デバイス応用に適した形態制御技術として、ナノ多孔質材料を基板上に薄膜状に形成する技術が重要である。特に、ナノ空間が単層で形成されるレベルの超薄膜形成技術は、機能性材料の担体や、高密度記録材料の実現につながる非常に重要な技術である。
例えば、非特許文献1では、デンドリマーを鋳型とし表面ゾルゲル法を利用して多孔質膜を形成する方法が開示されている。この方法により、デンドリマーサイズの細孔を有した膜厚8nm〜10nmの薄膜が基板上に形成されると記載されている。
また、より精密なナノ構造の制御技術も応用用途拡大には必須である。例えば、界面活性剤の集合体を鋳型として形成されるメソポーラス材料は、ナノ多孔質材料の代表例である。多孔質構造の制御についても、種々のサイズの界面活性剤を利用する方法に代えて、微粒子を鋳型に用いるなどの手法が提案されている。例えば、特許文献1では、表面が有機物で被覆された微粒子を細孔内に内含するメソポーラス材料からなる有機物被覆微粒子充填メソポーラス体を製造する工程と、該有機物被覆微粒子充填メソポーラス体から微粒子を除去する工程とを備えたメソポーラス材料の製造方法が開示されている。この製法により、2種類のメソ細孔から構成されるバイモーダル型多孔体が生成されると記載されている。
J.Huang, Chemical Communications, p.2070 (2002)
しかしながら、非特許文献1では、多孔質形状つまり空間の大きさは一種類のみであり、より複雑な多孔質形状の制御はされていない。
一方、特許文献1におけるバイモーダル型多孔体は2種類の球状細孔が規則配列した状態になっている。これは微粒子間の静電反発により微粒子が自己組織化するためであり、この規則配列は微粒子の最密充填に基づくものである。つまり、多孔体全体において同じ規則構造が形成されてしまう。よって、大きさの異なる空間の配置を任意に制御することは難しい。また、規則配列が複数回繰り返された構造であり、ナノ空間の単層化、超薄膜化の制御はされていない。
一方、特許文献1におけるバイモーダル型多孔体は2種類の球状細孔が規則配列した状態になっている。これは微粒子間の静電反発により微粒子が自己組織化するためであり、この規則配列は微粒子の最密充填に基づくものである。つまり、多孔体全体において同じ規則構造が形成されてしまう。よって、大きさの異なる空間の配置を任意に制御することは難しい。また、規則配列が複数回繰り返された構造であり、ナノ空間の単層化、超薄膜化の制御はされていない。
そこで、本発明は、上記問題点を鑑みなされたもので、大きさの異なるナノ空間の配置が膜厚方向に任意に制御されたナノ多孔質薄膜、およびその製造方法を提供することを目的とする。さらには、担持能の高い物質担持材料、ノイズの少ないセンサ材料の提供を目的とする。
本発明は、ナノ多孔質構造を有するナノ多孔質薄膜であって、膜厚方向に沿って複数の層領域を有し、前記複数の層領域は、第一の細孔を有する第一の層領域と第二の細孔を有する第二の層領域とを含み、前記第一の細孔と前記第二の細孔は貫通し、前記第一の細孔と前記第二の細孔との空間の大きさが異なることを特徴とする。前記複数の層領域の少なくとも一つを構成する材料が無機酸化物からなることを特徴とする。
本発明は、物質を担持する担体材料であって、ナノ多孔質構造を有するナノ多孔質薄膜を基体上に保持し、前記ナノ多孔質薄膜は、膜厚方向に沿って複数の層領域を有し、前記複数の層領域は、第一の細孔を有する第一の層領域と第二の細孔を有する第二の層領域とを含み、前記第一の層領域と前記第二の層領域とは、前記基体上から前記膜厚方向に沿ってこの順で有し、前記第一の細孔と前記第二の細孔は貫通し、前記第二の細孔の空間の大きさが前記第一の細孔の空間の大きさより小さいことを特徴とする。
本発明は、微粒子が担持された微粒子担持材料であって、ナノ多孔質構造を有するナノ多孔質薄膜を基体上に保持し、前記ナノ多孔質薄膜は、膜厚方向に沿って複数の層領域を有し、前記複数の層領域は、第一の細孔を有する第一の層領域と第二の細孔を有する第二の層領域とを含み、前記第一の層領域と前記第二の層領域とは、前記基体上から前記膜厚方向に沿ってこの順で有し、前記第一の細孔と前記第二の細孔は貫通し、前記第二の細孔の空間の大きさが前記第一の細孔の空間の大きさより小さく、前記第一の細孔内に微粒子が担持されていることを特徴とする。
本発明は、認識対象分子と選択的に結合する分子認識材料であって、基体上に保持されたナノ多孔質構造を有するナノ多孔質薄膜を備え、前記ナノ多孔質薄膜は、膜厚方向に沿って複数の層領域を有し、前記複数の層領域は、第一の細孔を有する第一の層領域と第二の細孔を有する第二の層領域とを含み、前記第一の層領域と前記第二の層領域とは、前記基体上から前記膜厚方向に沿ってこの順で有し、前記第一の細孔と前記第二の細孔は貫通し、前記第二の細孔の空間の大きさが前記第一の細孔の空間の大きさより大きいことを特徴とする。
本発明は、検体液中の認識対象分子の有無および/または濃度を検出するセンサであって、検出デバイス上に保持されたナノ多孔質構造を有するナノ多孔質薄膜を備え、前記ナノ多孔質薄膜は、膜厚方向に沿って複数の層領域を有し、前記複数の層領域は、第一の細孔を有する第一の層領域と第二の細孔を有する第二の層領域とを含み、前記第一の層領域と前記第二の層領域とは、前記基体上から前記膜厚方向に沿ってこの順で有し、前記第一の細孔と前記第二の細孔は貫通し、前記第二の細孔の空間の大きさが前記第一の細孔の空間の大きさより大きいことを特徴とする。前記検出デバイスがFETデバイスであることを特徴とする。
本発明は、ナノ多孔質構造を有するナノ多孔質薄膜の製造方法であって、第一の鋳型分子と第一の重合性モノマーとを含む第一の反応溶液を基体に接触させる工程と、前記第一の反応溶液の溶媒を除去し、前記第一の重合性モノマーを重合させ、前記基体上に第一の重合膜を形成する工程と、前記第一の鋳型分子とは異なる第二の鋳型分子と第二の重合性モノマーとを含む第二の反応溶液を前記第一の重合層に接触させる工程と、前記第二の反応溶液の溶媒を除去し、前記第二の重合性モノマーを重合させ、前記第一の重合膜上に第二の重合膜を形成する工程と、前記第一および第二の鋳型分子を除去する工程とを含むことを特徴とする。 尚、前記第一の鋳型分子、もしくは前記第二の鋳型分子がデンドリマーであることが好ましい。また、前記第一の重合性モノマーが金属アルコキシドであることが好ましい。
本発明は、ナノ多孔質構造を有するナノ多孔質薄膜の製造方法であって、第一の鋳型分子を含む第一の溶液を基体に接触させ、前記基体上に前記第一の鋳型分子を固定化させた後、第一の重合性モノマーを含む第三の反応溶液を前記基体に接触させる工程と、前記第三の反応溶液の溶媒を除去し、前記第一の重合性モノマーを重合させ、前記基体上に第一の重合膜を形成する工程と、前記第一の鋳型分子とは異なる第二の鋳型分子と第二の重合性モノマーとを含む第二の反応溶液を前記第一の重合膜に接触させる工程と、前記第二の反応溶液の溶媒を除去し、前記第二の重合性モノマーを重合させ、前記第一の重合膜上に第二の重合膜を形成する工程と、前記第一および第二の鋳型分子を除去する工程とを含むことを特徴とする。尚、前記第一の鋳型分子、もしくは前記第二の鋳型分子がデンドリマーであることが好ましい。また、前記第一の重合性モノマーが金属アルコキシドであることが好ましい。
本発明は、ナノ多孔質構造を有するナノ多孔質薄膜の製造方法であって、第一の鋳型分子と第一の重合性モノマーとを含む第一の反応溶液を基体に接触させる工程と、前記第一の反応溶液の溶媒を除去し、前記第一の重合性モノマーを重合させ、前記基体上に第一の重合膜を形成する工程と、前記第一の鋳型分子とは異なる第二の鋳型分子を含む第二の溶液を前記第一の重合膜に接触させ、前記第一の重合膜上に前記第二の鋳型分子を固定化させた後、第二の重合性モノマーを含む第四の反応溶液を前記第一の重合膜に接触させる工程と、前記第四の反応溶液の溶媒を除去し、前記第二の重合性モノマーを重合させ、前記第一の重合膜上に第二の重合膜を形成する工程と、前記第一および第二の鋳型分子を除去する工程とを含むことを特徴とする。尚、前記第一の鋳型分子、もしくは前記第二の鋳型分子がデンドリマーであることが好ましい。また、前記第一の重合性モノマーが金属アルコキシドであることが好ましい。
本発明は、ナノ多孔質構造を有するナノ多孔質薄膜の製造方法であって、第一の鋳型分子を含む第一の溶液を基体に接触させ、前記基体上に前記第一の鋳型分子を固定化させた後、第一の重合性モノマーを含む第三の反応溶液を前記基体に接触させる工程と、前記第三の反応溶液の溶媒を除去し、前記第一の重合性モノマーを重合させ、前記基体上に第一の重合膜を形成する工程と、前記第一の鋳型分子とは異なる第二の鋳型分子を含む第二の溶液を前記第一の重合膜に接触させ、前記第一の重合膜上に前記第二の鋳型分子を固定化させた後、第二の重合性モノマーを含む第四の反応溶液を前記第一の重合膜に接触させる工程と、前記第四の反応溶液の溶媒を除去し、前記第二の重合性モノマーを重合させ、前記第一の重合膜上に第二の重合膜を形成する工程と、前記第一および第二の鋳型分子を除去する工程とを含むことを特徴とする。尚、前記第一の鋳型分子、もしくは前記第二の鋳型分子がデンドリマーであることが好ましい。また、前記第一の重合性モノマーが金属アルコキシドであることが好ましい。
本発明によれば、大きさの異なるナノ空間の配置が膜厚方向に任意に制御されたナノ多孔質薄膜、およびその製造方法を提供する。さらには、担持能の高い物質担持材料、ノイズの少ないセンサ材料の提供が可能となる。
次に、本発明の好ましい実施の形態について、詳細に説明する。
まず、ナノ多孔質薄膜について詳細に説明する。
本発明に係るナノ多孔質構造を有するナノ多孔質薄膜は、膜厚方向に沿って複数の層領域を有し、前記複数の層領域は、第一の細孔を有する第一の層領域と第二の細孔を有する第二の層領域とを含み、前記第一の細孔と前記第二の細孔は貫通し、前記第一の細孔と前記第二の細孔との空間の大きさが異なることを特徴とする。
(ナノ多孔質薄膜の構成)
本発明におけるナノ多孔質構造を有するナノ多孔質薄膜とは、空間の大きさがナノメートルサイズの細孔を複数有した薄膜である。
本発明におけるナノ多孔質構造を有するナノ多孔質薄膜とは、空間の大きさがナノメートルサイズの細孔を複数有した薄膜である。
本発明における細孔は、後述するように分子を鋳型とすることで形成可能となる。この結果、空間の大きさがナノメートルサイズ、すなわち最大径が0.1nm〜1μm、より好ましくは、0.2nm〜100nm、さらに好ましくは0.2nm〜10nmの細孔が形成される。このようなナノメートルサイズの空間は、いわゆる超微粒子や分子のサイズに相当し、これらの物質を細孔内に導入することにより、機能性材料としての応用が可能となる。
本発明におけるナノ多孔質構造を有するナノ多孔質薄膜は、膜厚方向に沿って積層した複数の層領域からなり、前記複数の層領域は、第一の細孔を有する第一の層領域と第二の細孔を有する第二の層領域とを含む。そして、前記第一の細孔と前記第二の細孔は貫通し、前記第一の細孔と前記第二の細孔とは空間の大きさが異なる。
本発明におけるナノ多孔質薄膜は、膜厚方向に沿って積層した複数の層領域からなる。各々の層領域は単層薄膜からなる。図1は本発明におけるナノ多孔質薄膜の膜構成を模式的に示す断面図である。単層薄膜は膜厚方向に沿って連続的に形成され積層される。積層した複数の層領域とは、図1(a)のように一つの層領域が膜厚方向に沿って連続して形成され、全体として層領域を形成している状態を意味する。尚、複数の層領域とは一対以上の層領域から構成されることを意味し、図1(a)のような一対の構成でも、図1(b)のような一対以上の層領域を有する構成でも構わず、この中に第一の層領域1と第二の層領域2が含まれればよい。また、第一の層領域1や第二の層領域2は、それぞれ第一の膜3や第二の膜4からなる。こうした複数の層領域の少なくとも一つを構成する材料は無機酸化物からなることが好ましい。
図2(a)のように、第一の膜3は第一の細孔5を、第二の膜4は第二の細孔6を有する。これらの細孔の空間の大きさは前述のナノメートルサイズである。
尚、本発明においては、一つの膜内に存在する細孔の大きさは実質的に同一とすることが可能である。つまり、第二の膜には、第一の膜と同じ大きさの細孔は存在しない構成とすることができる。分子認識サイトと分子が通過するパス、物質担持サイトと原料導入パスというように、本発明は、細孔の大きさによって異なる機能を同時に利用することが可能である。また、膜ごとに細孔の大きさが制御され、余計な空間が減らせるため、機能分離、高密度化に優れている。
また、一つの膜内に存在する細孔の配列が図2のように実質的に単層化されている構成とすることも可能である。単層化されている構成とは、薄膜全体の膜厚方向に、異なる大きさの細孔の配置が一列ごとに任意に制御された構成であり、後述する基板表面からの距離と感度が関係するようなセンサに搭載する場合、最も感度の高い領域を効率よく使用することが可能で好適である。
尚、このような細孔配列の単層化は第一の膜、第二の膜両方に適用されている構成(図2)でも、図3のように一方の膜にのみ適用され、もう一方の膜の細孔配列が複層化していても構わない。
尚、このような細孔配列の単層化は第一の膜、第二の膜両方に適用されている構成(図2)でも、図3のように一方の膜にのみ適用され、もう一方の膜の細孔配列が複層化していても構わない。
さらに、第一の細孔と第二の細孔は貫通し、第一の細孔と第二の細孔は空間の大きさが異なる。
貫通とは、図2(a)のように一方の膜内に存在する細孔と他方の膜内に存在する細孔とがつながった部位が存在することを意味する。第一の細孔と第二の細孔とは一対一の関係で貫通していても、複数対一、複数対複数で貫通していてもよく、その使用用途に合わせて適宜決めればよい。例えば物質を細孔内に導入し利用する場合は、アクセスパスを増やす観点から複数箇所で貫通していることが好ましい。
空間の大きさとは、細孔における径の最大値や最小値、形状のいずれかを意味する。空間の大きさが異なる細孔は、後述の製造方法において異なる鋳型分子を用いることで形成される。また、第一の細孔と第二の細孔の空間の大きさの大小関係は限定されるものではなく、例えば本発明によるナノ多孔質薄膜には、図2(a)、(b)どちらの構成も含まれる。
貫通とは、図2(a)のように一方の膜内に存在する細孔と他方の膜内に存在する細孔とがつながった部位が存在することを意味する。第一の細孔と第二の細孔とは一対一の関係で貫通していても、複数対一、複数対複数で貫通していてもよく、その使用用途に合わせて適宜決めればよい。例えば物質を細孔内に導入し利用する場合は、アクセスパスを増やす観点から複数箇所で貫通していることが好ましい。
空間の大きさとは、細孔における径の最大値や最小値、形状のいずれかを意味する。空間の大きさが異なる細孔は、後述の製造方法において異なる鋳型分子を用いることで形成される。また、第一の細孔と第二の細孔の空間の大きさの大小関係は限定されるものではなく、例えば本発明によるナノ多孔質薄膜には、図2(a)、(b)どちらの構成も含まれる。
尚、本発明における第一の膜と第二の膜は、積層した複数の膜に含まれていればよく、図2(c)のように該当する部分が複数含まれていてもよい。
本発明に係るナノ多孔質薄膜は、基体上に形成されていることが好ましい。基体上に形成されることにより、強度、耐久性を向上させることが可能である。また、センサや電極など、ナノ多孔質薄膜を保持する基体自体がデバイスであってもよく、基体とは、その形状に制限されるものではない。例えば、平板状のみならず、表面に凹凸を有する基板や粒子形状のものでも構わない。さらには、ナノ多孔質薄膜の搭載量を増やすために、マクロポーラス材料といった細孔サイズの大きな多孔質材料を基体として用いても構わない。また基体上にナノ多孔質薄膜が形成される場合、第一の膜、第二の膜の配置順、第一の細孔と第二の細孔の空間の大きさの大小関係は限定されるものではなく、図4(a)、(b)のように、いかなる配置も可能である。また、図4(c)のように、基体7上に下地膜8が形成され、その上にナノ多孔質薄膜が保持されていてもよい。また、下地膜を合わせて基体とみなしてもよい。下地膜として、保護膜や密着膜を用いることで、強度、耐久性を上げることができる。
次に本発明によるナノ多孔質薄膜を備えた担体材料について詳細に説明する。
(担体材料)
近年、数nmから数十nmの超微粒子が触媒として高い活性を有することが注目されている。このような超微粒子は基体に担持されて取り扱われるのが一般的である。しかしながら、基体表面に直接固定化された場合、微粒子は脱離しやすく、その安定性に問題があった。安定性を上げるために、粉末状の材料に超微粒子を練りこみ基体上に塗り固めるという手法もあるが、超微粒子表面へのアクセシビリティが低下してしまい、触媒として用いる場合は触媒効率に問題があった。よって、このような超微粒子を安定的かつ微粒子表面へのアクセシビリティを低下させずに超微粒子を担持する担体材料が望まれている。
近年、数nmから数十nmの超微粒子が触媒として高い活性を有することが注目されている。このような超微粒子は基体に担持されて取り扱われるのが一般的である。しかしながら、基体表面に直接固定化された場合、微粒子は脱離しやすく、その安定性に問題があった。安定性を上げるために、粉末状の材料に超微粒子を練りこみ基体上に塗り固めるという手法もあるが、超微粒子表面へのアクセシビリティが低下してしまい、触媒として用いる場合は触媒効率に問題があった。よって、このような超微粒子を安定的かつ微粒子表面へのアクセシビリティを低下させずに超微粒子を担持する担体材料が望まれている。
本発明による担体材料は、物質を担持する担体材料であって、ナノ多孔質構造を有するナノ多孔質薄膜を基体上に保持し、前記ナノ多孔質薄膜は、膜厚方向に沿って複数の層領域を有し、前記複数の層領域は、第一の細孔を有する第一の層領域と第二の細孔を有する第二の層領域とを含み、前記第一の層領域と前記第二の層領域とは、前記基体上から前記膜厚方向に沿ってこの順で有し、前記第一の細孔と前記第二の細孔は貫通し、前記第二の細孔の空間の大きさが前記第一の細孔の空間の大きさより小さいことを特徴とする。
図5(a)は、本発明に係る担体材料を模式的に示した図である。第一の細孔が物質を担持する担持サイトとなり、図5(b)のように、第一の細孔内に微粒子など担持したい物質が担持されて用いられる。
本発明では、第二の細孔6が、第一の細孔5と貫通して存在する。その結果、担体材料外から、第一の細孔5内に担持された微粒子など担持物質9へのアクセシビリティが確保される。さらに、本発明においては、第二の細孔6の空間の大きさは第一の細孔5の空間の大きさより小さい。よって、第二の細孔6の空間の大きさより大きな担持物質9は、ナノ多孔質薄膜内から脱離することがなく、安定性も確保される。
このような担体材料は、後述するナノ多孔質薄膜の製造方法により、基体上に ナノ多孔質薄膜を形成することで得られる。
(微粒子担持材料)
図5(b)は本発明による担体材料の第一の細孔内に微粒子が保持された微粒子担持材料を模式的に示した図である。
図5(b)は本発明による担体材料の第一の細孔内に微粒子が保持された微粒子担持材料を模式的に示した図である。
このような微粒子担持材料は、前述の担体材料内に微粒子を担持することで得られる。微粒子を担持する方法としては、液相法、もしくは気相法を用いて、微粒子の原料となる材料を細孔内に導入し、細孔内で微粒子を形成する方法が好適である。例えば、金微粒子を作製する場合は原料として塩化金酸、白金微粒子を作製する場合は原料として塩化金酸などを細孔内に導入し還元することで第一の細孔内に微粒子が形成される。導入される材料は微粒子を形成する原料となればよく、錯体、イオンなどが好ましいが、これらに限定されるものではない。尚、細孔への導入効率を上げるために、圧力や温度を制御してもよい。また、導入する微粒子の原料がイオン性物質であり、導入方法がこのイオン性物質が溶解した溶液に担体材料を浸漬するという液相法である場合、溶液の組成およびpHにおいて、微粒子の原料の電荷と逆の電荷を有するような化合物によってナノ多孔質薄膜、特に細孔表面が形成されるとよい。例えば、塩化金酸はテトラクロロ金酸イオンAuCl4 −を生じ、これが還元されることで金微粒子が形成される。よって、このアニオンが効率よく細孔内に導入されるには、細孔表面がプラス電荷を帯びた状態であることが好ましい。例えば、無機金属酸化物は等電点を有し、等電点を境にプラスもしくはマイナスの表面電位を有する。例えば、酸化チタン、酸化アルミ、酸化ジルコニウムなどは弱酸性条件下でプラスの表面電位を持ちやすい。よって、これらの化合物で担体材料を形成すれば、前記アニオンの導入が起こりやすくなる。尚、担体材料の表面電位が微粒子の原料の電荷と逆の符号でなくても、担体表面に表面電位を変えるような表面処理を行うことで、同様の効果を得ることが可能となる。例えば、細孔表面が無機金属酸化物表面であれば、イオン性官能基を有したシランカップリング剤で表面処理を行えばよい。
次に、本発明によるナノ多孔質薄膜を備えた分子認識材料について説明する。
(分子認識材料)
特定の分子を特異的に識別、結合する分子認識材料は分離、センサ材料などに広く利用されている。この分子認識材料には、遺伝子、抗体、糖鎖などいわゆる生体材料のみならず、近年では人工的に合成された材料も数多く提案されている。この手法の一つとして、モレキュラーインプリンティング法(分子鋳型重合法)という技術がある。モレキュラーインプリンティング法とは、特異的に認識したい分子(以下、認識対象分子)を鋳型分子として利用する方法である。この方法の一般的な手順を以下に示す。まず、鋳型分子、そしてこの鋳型分子と結合(共有結合、または非共有結合)可能な官能基を持ったモノマー(機能性モノマー)を、反応溶液中で自己集合させ、鋳型分子/機能性モノマーの複合体を作る。その後、機能性モノマーに対して重合反応を行い、鋳型分子との相補性を保ったまま官能基の位置を固定する。最後に、得られた重合体から鋳型分子を抽出、除去する。この結果、鋳型分子の形状、大きさに対応し、さらには相補的な官能基が相補的な位置に配置された認識サイト(細孔)が、重合体に構築される。そして、この認識サイトにより、特異的な分子認識能が発揮されるのである。このモレキュラーインプリンティング法は、原理上、所望の認識対象分子に合わせて容易に認識材料を構築できるという特徴を有し、人工抗体、人工レセプターの製造方法として期待されている。
特定の分子を特異的に識別、結合する分子認識材料は分離、センサ材料などに広く利用されている。この分子認識材料には、遺伝子、抗体、糖鎖などいわゆる生体材料のみならず、近年では人工的に合成された材料も数多く提案されている。この手法の一つとして、モレキュラーインプリンティング法(分子鋳型重合法)という技術がある。モレキュラーインプリンティング法とは、特異的に認識したい分子(以下、認識対象分子)を鋳型分子として利用する方法である。この方法の一般的な手順を以下に示す。まず、鋳型分子、そしてこの鋳型分子と結合(共有結合、または非共有結合)可能な官能基を持ったモノマー(機能性モノマー)を、反応溶液中で自己集合させ、鋳型分子/機能性モノマーの複合体を作る。その後、機能性モノマーに対して重合反応を行い、鋳型分子との相補性を保ったまま官能基の位置を固定する。最後に、得られた重合体から鋳型分子を抽出、除去する。この結果、鋳型分子の形状、大きさに対応し、さらには相補的な官能基が相補的な位置に配置された認識サイト(細孔)が、重合体に構築される。そして、この認識サイトにより、特異的な分子認識能が発揮されるのである。このモレキュラーインプリンティング法は、原理上、所望の認識対象分子に合わせて容易に認識材料を構築できるという特徴を有し、人工抗体、人工レセプターの製造方法として期待されている。
一方、これらの分子認識材料により特異的に結合捕捉された検体液中の認識対象分子を検出するデバイスもQCM、SPR、LSPR、FETなど数多く提案されている。これらの検出デバイスは、分子認識材料が検体液中の認識対象分子を選択的に捕捉したことによる重量変化や屈折率変化、ポテンシャル変化のような物理量変化を捉え、その捕捉を検知する。
これらの検出デバイスと分子認識材料を組み合わせることで、いわゆるケミカルセセンサが構築されるのである。
しかしながら上述の検出デバイスは、その検出領域に非特異的に吸着する非特異吸着物質が存在すると、それによる物理量変化も検知し、結果としてノイズが多くなってしまうという問題があった。また、ケミカルセンサに用いられるこれら検出デバイスの中には、その検出機構により、検体液中の認識対象分子を捕捉する位置が、センサの検出デバイス表面に近ければ近いほどその検出感度が上がるものがある。SPR、LSPR、FETなどがその代表例である。これらの検出デバイスにおいては、センサの検出デバイス表面から離れたところに認識対象分子を捕捉しても感度が上がらない。また、センサの検出デバイス表面に上記非特異吸着物質が存在すると非常に大きなノイズが発生するという問題があった。よって、このような検出デバイスに対してノイズを軽減できる分子認識材料が望まれている。
しかしながら上述の検出デバイスは、その検出領域に非特異的に吸着する非特異吸着物質が存在すると、それによる物理量変化も検知し、結果としてノイズが多くなってしまうという問題があった。また、ケミカルセンサに用いられるこれら検出デバイスの中には、その検出機構により、検体液中の認識対象分子を捕捉する位置が、センサの検出デバイス表面に近ければ近いほどその検出感度が上がるものがある。SPR、LSPR、FETなどがその代表例である。これらの検出デバイスにおいては、センサの検出デバイス表面から離れたところに認識対象分子を捕捉しても感度が上がらない。また、センサの検出デバイス表面に上記非特異吸着物質が存在すると非常に大きなノイズが発生するという問題があった。よって、このような検出デバイスに対してノイズを軽減できる分子認識材料が望まれている。
本発明による分子認識材料は、認識対象分子と選択的に結合する分子認識材料であって、基体上に保持されたナノ多孔質構造を有するナノ多孔質薄膜を備え、前記ナノ多孔質薄膜は、膜厚方向に沿って複数の層領域を有し、前記複数の層領域は、第一の細孔を有する第一の層領域と第二の細孔を有する第二の層領域とを含み、前記第一の層領域と前記第二の層領域とは、前記基体上から前記膜厚方向に沿ってこの順で有し、前記第一の細孔と前記第二の細孔は貫通し、前記第二の細孔の空間の大きさが前記第一の細孔の空間の大きさより大きいことを特徴とする。
図6は、本発明による認識対象分子と選択的に結合する分子認識材料を搭載したセンサデバイスを模式的に示した図である。本発明における基体は検出デバイスである。この検出デバイス上に、上記モレキュラーインプリンティングの概念を利用して第一の細孔を有する第一の膜を形成する。認識対象分子を鋳型分子として形成された認識サイトが、本発明における第一の細孔となる。本発明では、検出デバイス上に保持されたナノ多孔質薄膜内に形成される第一の細孔と第二の細孔は貫通し、第二の細孔の空間の大きさが第一の細孔の空間の大きさより大きい。よって、認識対象分子が入った検体液中にこの分子認識材料を接触させると、基体と反対側に形成された第二の細孔を通過して、選択的に認識対象分子は第一の細孔、即ち認識サイトに捕捉される。一方、非特異吸着物質の多く、特に第二の細孔の空間の大きさより大きな物質は第二の細孔を通過できない。よって、非特異吸着物質によるノイズを軽減することが可能となる。こうして、検体液中の認識対象分子の有無および/または濃度を検出できる。また、前述のセンサの検出デバイス表面近傍の感度が高いセンサデバイスを基体に用いた場合は、図6(b)のように検出デバイス上に保持された第二の膜の細孔を多層化し、膜厚を適宜制御するとよい。第二の膜厚を制御し、第二の膜表面とセンサデバイス表面との距離をセンサ感度が低下する距離以上にすることにより、分子認識材料表面、即ち、第二の膜の表面に非特異吸着物質が吸着しても、ノイズを低減することが可能となる。SPRを用いた場合、この距離は以上300nm以上、より好ましくは1μm以上、LSPRを用いた場合は、この距離は50nm以上、より好ましくは100nm以上、FETを用いた場合は、この距離は50nm以上より好ましくは100nmである。
次に、ナノ多孔質薄膜の製造方法について詳細に説明する
(ナノ多孔質薄膜の製造方法)
本発明に係るナノ多孔質構造を有するナノ多孔質薄膜の製造方法は、第一の鋳型分子と第一の重合性モノマーとを含む第一の反応溶液を基体に接触させる工程と、前記第一の反応溶液の溶媒を除去し、前記第一の重合性モノマーを重合させ、前記基体上に第一の重合膜を形成する工程と、前記第一の鋳型分子とは異なる第二の鋳型分子と第二の重合性モノマーとを含む第二の反応溶液を前記第一の重合膜に接触させる工程と、前記第二の反応溶液の溶媒を除去し、前記第二の重合性モノマーを重合させ、前記第一の重合膜上に第二の重合膜を形成する工程と、前記第一および第二の鋳型分子を除去する工程とを含むことを特徴とする。
本発明に係るナノ多孔質構造を有するナノ多孔質薄膜の製造方法は、第一の鋳型分子と第一の重合性モノマーとを含む第一の反応溶液を基体に接触させる工程と、前記第一の反応溶液の溶媒を除去し、前記第一の重合性モノマーを重合させ、前記基体上に第一の重合膜を形成する工程と、前記第一の鋳型分子とは異なる第二の鋳型分子と第二の重合性モノマーとを含む第二の反応溶液を前記第一の重合膜に接触させる工程と、前記第二の反応溶液の溶媒を除去し、前記第二の重合性モノマーを重合させ、前記第一の重合膜上に第二の重合膜を形成する工程と、前記第一および第二の鋳型分子を除去する工程とを含むことを特徴とする。
本発明に係るナノ多孔質構造を有するナノ多孔質薄膜の製造方法は、第一の鋳型分子を含む第一の溶液を基体に接触させ、前記基体上に前記第一の鋳型分子を固定化させた後、第一の重合性モノマーを含む第三の反応溶液を前記基体に接触させる工程と、前記第三の反応溶液の溶媒を除去し、前記第一の重合性モノマーを重合させ、前記基体上に第一の重合膜を形成する工程と、前記第一の鋳型分子とは異なる第二の鋳型分子と第二の重合性モノマーとを含む第二の反応溶液を前記第一の重合膜に接触させる工程と、前記第二の反応溶液の溶媒を除去し、前記第二の重合性モノマーを重合させ、前記第一の重合膜上に第二の重合膜を形成する工程と、前記第一および第二の鋳型分子を除去する工程とを含むことを特徴とする。
本発明に係るナノ多孔質構造を有するナノ多孔質薄膜の製造方法は、第一の鋳型分子と第一の重合性モノマーとを含む第一の反応溶液を基体に接触させる工程と、前記第一の反応溶液の溶媒を除去し、前記第一の重合性モノマーを重合させ、前記基体上に第一の重合膜を形成する工程と、前記第一の鋳型分子とは異なる第二の鋳型分子を含む第二の溶液を前記第一の重合膜に接触させ、前記第一の重合膜上に前記第二の鋳型分子を固定化させた後、第二の重合性モノマーを含む第四の反応溶液を前記第一の重合膜に接触させる工程と、前記第四の反応溶液の溶媒を除去し、前記第二の重合性モノマーを重合させ、前記第一の重合膜上に第二の重合膜を形成する工程と、前記第一および第二の鋳型分子を除去する工程とを含むことを特徴とする。
本発明に係るナノ多孔質構造を有するナノ多孔質薄膜の製造方法は、第一の鋳型分子を含む第一の溶液を基体に接触させ、前記基体上に前記第一の鋳型分子を固定化させた後、第一の重合性モノマーを含む第三の反応溶液を前記基体に接触させる工程と、前記第三の反応溶液の溶媒を除去し、前記第一の重合性モノマーを重合させ、前記基体上に第一の重合膜を形成する工程と、前記第一の鋳型分子とは異なる第二の鋳型分子を含む第二の溶液を前記第一の重合膜に接触させ、前記第一の重合膜上に前記第二の鋳型分子を固定化させた後、第二の重合性モノマーを含む第四の反応溶液を前記第一の重合膜に接触させる工程と、前記第四の反応溶液の溶媒を除去し、前記第二の重合性モノマーを重合させ、前記第一の重合膜上に第二の重合膜を形成する工程と、前記第一および第二の鋳型分子を除去する工程とを含むことを特徴とする。このような製造方法により、本発明に係るナノ多孔質薄膜の製造が可能となる。
図7は、本発明に係るナノ多孔質薄膜の製造方法を模式的に示した図である。ナノ多孔質薄膜は膜厚方向に沿って複数の層領域を有し、この複数の層領域の少なくとも一つを構成する材料が無機酸化物からなることが好ましい。
(第一の鋳型分子と第一の重合性モノマーとを含む第一の反応溶液を基体に接触させる工程)
図7(a)が本工程に相当する模式図である。
図7(a)が本工程に相当する模式図である。
本製造方法における鋳型分子とは、後に細孔となる空間を占める分子である。空間の大きさが異なる細孔を形成するためには、第一の鋳型分子10と後述の第二の鋳型分子11の大きさが異なればよい。
所望のサイズを有する鋳型分子としては、デンドリマーやデンドロンが好適である。ポリアミドアミン(PAMAM)構造をもつデンドリマーは、様々なサイズのデンドリマーが市販されており、1nm〜30nm程度の大きさの細孔を形成する場合に好適に用いられる。また生体材料であるタンパク質分子も様々な大きさを有しており、数nm〜数十nmの大きさの細孔を形成する際に、好適に用いられる。
尚、第一の鋳型分子10は後の第一の細孔5となる空間を占める分子である。
よって、前述の担体材料として本発明によるナノ多孔質薄膜を使用する場合は、第一の細孔は物質を担持する担持サイトとして働くものであり、第一の鋳型分子は担持したい物質の大きさに合わせて選ばれる。
また、前述の認識対象分子と選択的に結合する分子認識材料として本発明によるナノ多孔質薄膜を使用する場合は、第一の細孔は分子認識サイトとして働くものであり、第一の鋳型分子は検体中の認識対象分子そのもの、もしくはその認識対象分子の大きさや化学構造に合わせて選択される。
よって、前述の担体材料として本発明によるナノ多孔質薄膜を使用する場合は、第一の細孔は物質を担持する担持サイトとして働くものであり、第一の鋳型分子は担持したい物質の大きさに合わせて選ばれる。
また、前述の認識対象分子と選択的に結合する分子認識材料として本発明によるナノ多孔質薄膜を使用する場合は、第一の細孔は分子認識サイトとして働くものであり、第一の鋳型分子は検体中の認識対象分子そのもの、もしくはその認識対象分子の大きさや化学構造に合わせて選択される。
第一の重合性モノマーとは、第一の重合膜を形成する原料である。重合により、薄膜状の第一の重合膜16が形成される。よって、この重合法には薄膜形成が可能な方法が好ましく、有機反応であれば、反応を制御できるリビングラジカル重合、無機反応であれば、ゾルゲル法や液相析出法が好ましく用いられる。特にゾルゲル法は、スピンコート法、ディップコート法、表面ゾルゲル法により薄層化可能な方法であり、好適である。ゾルゲル法に用いられる重合モノマーとしては、金属アルコキシド、金属有機酸塩、硝酸塩、塩化物のような金属化合物が挙げられ、本発明においても好適に用いられる。
尚、第一の重合膜は本発明によるナノ多孔質薄膜の第一の膜となるものである。
尚、第一の重合膜は本発明によるナノ多孔質薄膜の第一の膜となるものである。
そして、前述の認識対象分子と選択的に結合する分子認識材料に、本発明によるナノ構造薄膜を使用する場合は、第一の膜に形成される第一の細孔は分子認識サイトとして働く。よって、第一の重合性モノマーは、鋳型分子に対して相補的な官能基を有し、機能性モノマーとしても働くものであることが好ましい。例えば、シラン剤は種々の官能基を有する化合物が市販されており、ゾルゲル法に使用する重合性モノマーとして好適である、例示すると、アルキルアルコキシシラン、アミノアルコキシシラン、ビニルアルコキシシランなどが挙げられる。尚、これらのモノマーや前述の重合性モノマーを複数混合し、その混合体を第一の重合性モノマーとして用いてもよい。
本工程においては、第一の鋳型分子10の存在下で、第一の重合性モノマーを含む第一の反応溶液12を基体7に接触させればよい。よって、第一の鋳型分子10と第一の重合性モノマーとを混合した第一の反応溶液12を基体7に塗布するとよい(図7(a))。この場合、溶媒に対する第一の鋳型分子および第一の重合性モノマーの濃度、第一の鋳型分子と第一の重合性モノマーとの混合比を適宜調整することで、第一の膜の厚さ、および第一の膜内の細孔の配列(単層もしくは複層)、細孔密度が制御可能となる。
また、第一の鋳型分子10を含む第一の溶液を基体7に接触させ、基体7上に第一の鋳型分子10を固定化させた後、第一の重合性モノマーを含む第三の反応溶液14を基体7に塗布してもよい(図7(b))。この場合、第一の鋳型分子を基体に固定化する際は、単なる吸着反応により行ってもよく、基体と第一の鋳型分子とをスペーサ―分子を介して化学結合させてもよい。
第一、および第三の反応溶液には溶媒が含まれる。前者の方法であれば、第一の鋳型分子と第一の重合性モノマーを、後者の方法であれば第一の重合性モノマーを溶解することが可能であり、基板に塗布可能な溶媒が適宜選ばれる。また、この溶媒は後述の図7(c)の工程において除去される。よって、乾燥によって容易に除去が可能なアルコール類、トルエン、アセトニトリルのような有機溶媒が含まれることが好ましい。
尚、こうした工程を行う前に、基体表面に下地膜を形成してもよい。下地膜の形成により、後の工程で行う鋳型分子の固定化の効率が上がる。また、下地膜と細孔を形成する薄膜との材料が同一となることで、微粒子を担持させる工程における細孔への微粒子の原料の導入効率もあがる。分子認識材料にも同一の材料を用いる場合、下地膜にも相互的な官能基を形成することで細孔(分子認識サイト)と認識対象分子との親和性を上げることもできる。これらの場合、下地膜を形成した基体を基体として使用することが好ましい。
(第一または第三の反応溶液の溶媒を除去し、第一の重合性モノマーを重合させ、基体上に第一の重合膜を形成する工程)
図7(c)が、本工程に相当する模式図である。
まず、基体7上に塗布された第一の反応溶液12または第三の反応溶液14の溶媒が除去される。溶媒除去は乾燥により行うことが好ましい。乾燥により、溶媒のみを選択的に除去することが可能となる。
さらに第一の重合性モノマーは基体7上で重合し、基体7上に第一の重合膜16を形成する。ゾルゲル法を用いた場合、前述の第一の重合性モノマーは、加水分解反応、縮合反応を経て、無機重合体を形成する。これらの反応速度は温度、湿度などの環境やpH、水分量、用いる重合性モノマーの種類などの反応液の組成、混合比により制御することが可能である。
図7(c)が、本工程に相当する模式図である。
まず、基体7上に塗布された第一の反応溶液12または第三の反応溶液14の溶媒が除去される。溶媒除去は乾燥により行うことが好ましい。乾燥により、溶媒のみを選択的に除去することが可能となる。
さらに第一の重合性モノマーは基体7上で重合し、基体7上に第一の重合膜16を形成する。ゾルゲル法を用いた場合、前述の第一の重合性モノマーは、加水分解反応、縮合反応を経て、無機重合体を形成する。これらの反応速度は温度、湿度などの環境やpH、水分量、用いる重合性モノマーの種類などの反応液の組成、混合比により制御することが可能である。
尚、ゾルゲル法の中でも、基体上に重合性モノマーを付与し所定の溶剤を用いて洗浄する表面ゾルゲル法は、オングストローム、乃至はナノメートル単位の厚さの超薄膜層を形成することが可能であり、本発明にも好適に用いられる。特に、基体に第一の鋳型分子を含む第一の溶液を塗布し、基体上に第一の鋳型分子を固定化し、その後に第一の重合性モノマーを含む第三の反応溶液を基体に塗布する方法を用いる場合には、好適である。第一の鋳型分子を固定化した基体を、第一の重合性モノマーを含む第三の反応溶液に浸漬する。所定の時間後、基体を取り出し、所定の溶剤で基体表面を洗浄する。この洗浄によって、余分な第一の重合性モノマーは洗い流される。この後、乾燥により溶媒除去を行い、基体上に第一の重合膜を形成する。但し、この表面ゾルゲル法を用いる場合、一度に形成される重合膜の厚さは非常に薄く、鋳型分子の大きさによっては、十分に周りを取り囲めない。この場合、図7(a)または(b)の工程と図7(c)の工程とを、即ち第一の重合性モノマーを含む反応溶液への浸漬、洗浄、乾燥を複数回繰り返すとよい。
(第一の鋳型分子とは異なる第二の鋳型分子と第二の重合性モノマーとを含む第二の反応溶液を第一の重合層に接触させる工程)
図7(d)が本工程に相当する模式図である。
本工程においては、第一の鋳型分子10と異なる第二の鋳型分子11を用い、第二の鋳型分子の存在下で、第二の重合性モノマーを含む第二の反応溶液13を第一の重合膜16の表面に接触させれば、本工程における操作は、図7(a)の工程と同様の操作でよい。よって、第二の鋳型分子と第二の重合性モノマーとを混合した第二の反応溶液を第一の重合膜に塗布するとよい。
図7(d)が本工程に相当する模式図である。
本工程においては、第一の鋳型分子10と異なる第二の鋳型分子11を用い、第二の鋳型分子の存在下で、第二の重合性モノマーを含む第二の反応溶液13を第一の重合膜16の表面に接触させれば、本工程における操作は、図7(a)の工程と同様の操作でよい。よって、第二の鋳型分子と第二の重合性モノマーとを混合した第二の反応溶液を第一の重合膜に塗布するとよい。
また、第一の鋳型分子10とは異なる第二の鋳型分子11を含む第二の溶液を第一の重合膜16に接触させ、第一の重合膜16上に第二の鋳型分子11を固定化させた後、第二の重合性モノマーを含む第四の反応溶液15を第一の重合膜16に塗布してもよい(図7(e)。
但し、担体材料として本発明によるナノ多孔質薄膜を使用する場合は、第二の鋳型分子は第一の鋳型分子より小さな分子でなければならない。
一方、分子認識材料として本発明によるナノ多孔質薄膜を使用する場合は、第二の鋳型分子は第一の鋳型分子より大きな分子でなければならない。
一方、分子認識材料として本発明によるナノ多孔質薄膜を使用する場合は、第二の鋳型分子は第一の鋳型分子より大きな分子でなければならない。
(第二または第四の反応溶液の溶媒を除去し、第二の重合性モノマーを重合させ、第一の重合膜上に第二の重合膜を形成する工程)
図7(f)が、本工程に相当する模式図である。
第一の重合膜16上に第二の重合膜17を形成すれば、本工程における操作は図7(c)の工程と同様の操作でよい。
図7(f)が、本工程に相当する模式図である。
第一の重合膜16上に第二の重合膜17を形成すれば、本工程における操作は図7(c)の工程と同様の操作でよい。
(第一および第二の鋳型分子を除去する工程)
図7(g)が、本工程に相当する模式図である。
本工程は、第一および第二の鋳型分子10、11を第一および第二の重合膜16、17から除去する工程である。本工程により、これら重合膜内には第一および第二の細孔5、6が形成される。
図7(g)が、本工程に相当する模式図である。
本工程は、第一および第二の鋳型分子10、11を第一および第二の重合膜16、17から除去する工程である。本工程により、これら重合膜内には第一および第二の細孔5、6が形成される。
よって、本工程における除去法は鋳型分子を好適に除去できる手法であれば、限定されるものではない。例えば、光照射やオゾン曝露、熱処理による鋳型分子の分解などが挙げられる。これらの方法は鋳型分子の除去率が高く好ましい。
また、有機溶剤、酸、アルカリ液による抽出によっても除去は可能である。これらの溶剤抽出法は、重合膜の材料に合わせて適宜溶剤を選択することにより、重合膜を変質させないで鋳型分子を除去することが可能である。
また、有機溶剤、酸、アルカリ液による抽出によっても除去は可能である。これらの溶剤抽出法は、重合膜の材料に合わせて適宜溶剤を選択することにより、重合膜を変質させないで鋳型分子を除去することが可能である。
分子認識材料として本発明によるナノ多孔質薄膜を用いる場合は、鋳型分子の形状、大きさに対応して細孔(分子認識サイト)表面に配置された相補的な官能基の存在が重要である。よって、重合膜の変質の可能性の低い溶剤抽出法が好ましい。
また、これらの手法を複数組み合わせて用いても構わない。
また、これらの手法を複数組み合わせて用いても構わない。
以下、実施例を用いてさらに詳細に本発明を説明するが、本発明は、これらの実施例に限定されるものではなく、材料、組成条件、反応条件など、同様な機能、効果を有するナノ多孔質薄膜が得られる範囲で自由に変えることができる。
本実施例は、実質的に同一の大きさの細孔が単層化して配列した多孔質薄膜を形成する例である。本実施例で示す多孔質薄膜は、本発明によるナノ多孔質薄膜の構成の基本となる膜である。
(薄膜作製)
本実施例では、2種類の基体を用いた。
1種類はシリコン基板である。まず、シリコン基板の表面をアセトン、イソプロピルアルコール、および純水で洗浄し、オゾン発生装置中で10分間UV照射し、基板表面をクリーニングした。
もう1種類はシリコン基板上に金をスパッタし表面に100nm厚の金層を形成した金基板である。この金基板に上記シリコン基板と同様な洗浄処理を行った。さらに、この金基板を10mMメルカプトエタノールのエタノール溶液に一晩浸漬し、エタノールで十分に洗浄し、さらに窒素ブローにより乾燥させた。以上の操作で、金基板表面に水酸基を形成した。
本実施例では、2種類の基体を用いた。
1種類はシリコン基板である。まず、シリコン基板の表面をアセトン、イソプロピルアルコール、および純水で洗浄し、オゾン発生装置中で10分間UV照射し、基板表面をクリーニングした。
もう1種類はシリコン基板上に金をスパッタし表面に100nm厚の金層を形成した金基板である。この金基板に上記シリコン基板と同様な洗浄処理を行った。さらに、この金基板を10mMメルカプトエタノールのエタノール溶液に一晩浸漬し、エタノールで十分に洗浄し、さらに窒素ブローにより乾燥させた。以上の操作で、金基板表面に水酸基を形成した。
次に反応溶液を調製した。鋳型分子には末端基がOH基であるPAMAMデンドリマーの第四世代を用い、重合性モノマーにはチタンブトキシドを用いた。
まず、トルエンとエタノールとの1:1混合溶媒を調製し、この混合溶媒に0.05mMの濃度でデンドリマーを混合し、撹拌した。次に、チタンブトキシドを10mMの濃度で混合した。こうして反応溶液を作製した。
まず、トルエンとエタノールとの1:1混合溶媒を調製し、この混合溶媒に0.05mMの濃度でデンドリマーを混合し、撹拌した。次に、チタンブトキシドを10mMの濃度で混合した。こうして反応溶液を作製した。
次に、スピンコート法によりこの反応溶液をシリコン基板、および金基板上に塗布し、これら基板表面と反応溶液とを接触させた。スピンコート条件は、500rpmで5秒間、続けて3000rpmで60秒間であった。このスピンコート操作の間に反応溶液の溶媒は蒸発し除去された。また、反応溶液に含まれていた水分や、空気中の水分により、チタンブトキシドの加水分解、脱水縮合が進み、シリコン基板、および金基板上には重合膜が形成された。
次に、鋳型分子の除去処理として、重合膜が形成されたシリコン基板、金基板それぞれに対して、オゾン発生装置中で10分間UV照射を行った。
(薄膜分析)
上記方法で金基板上に形成された薄膜に対し、高感度反射赤外分光測定(IRRAS)を行った。鋳型分子の除去処理前後を比較した。除去処理前の薄膜については、デンドリマー由来の吸収ピークとチタン酸化物由来の吸収ピークが確認された。さらに、除去処理を行うことで、デンドリマーに由来する吸収ピーク強度が減少した。このことより、本実施例における鋳型分子の除去処理によって、鋳型分子が除去されていることが確認される。
上記方法で金基板上に形成された薄膜に対し、高感度反射赤外分光測定(IRRAS)を行った。鋳型分子の除去処理前後を比較した。除去処理前の薄膜については、デンドリマー由来の吸収ピークとチタン酸化物由来の吸収ピークが確認された。さらに、除去処理を行うことで、デンドリマーに由来する吸収ピーク強度が減少した。このことより、本実施例における鋳型分子の除去処理によって、鋳型分子が除去されていることが確認される。
(細孔観察)
上記方法でシリコン基板上に形成された薄膜の表面、および断面に対して電子顕微鏡観察を行った。直径約5nmの複数の細孔を有する薄膜がSi基板上に形成されることが確認された。さらに、それぞれの細孔が独立して存在している状態も確認された。また、細孔が薄膜に対して単層化している状態が観察された。
上記方法でシリコン基板上に形成された薄膜の表面、および断面に対して電子顕微鏡観察を行った。直径約5nmの複数の細孔を有する薄膜がSi基板上に形成されることが確認された。さらに、それぞれの細孔が独立して存在している状態も確認された。また、細孔が薄膜に対して単層化している状態が観察された。
以上の結果より、本実施例では、本発明によるナノ多孔質薄膜の構成の基本となる、実質的に同一の大きさの細孔が単層化して配列した多孔質薄膜が形成されることが確認された。
本実施例は、実質的に同一の大きさの細孔が単層化して配列した多孔質薄膜を形成する別の例である。本実施例で示す多孔質薄膜は、本発明によるナノ多孔質薄膜の構成の基本となる膜である。
(薄膜作製)
本実施例では、実施例1と同様に2種類の基板を用いた。洗浄方法も実施例1と同様である。
次に下地膜形成用の反応溶液を調製した。まず、トルエンとエタノールとの2:1混合溶媒を調製し、チタンブトキシドを100mMの濃度で混合して反応溶液とした。
次にシリコン基板および金基板表面に下地膜を形成した。洗浄したシリコン基板、および金基板を前記反応溶液に3分間浸漬した。その後、トルエンに浸漬し、エタノールで洗浄することで、余分な反応溶液を除去した。さらに窒素ブローにより乾燥させた。反応溶液中に含まれる水や空気中の湿気から供給される水により、チタンブトキシドの加水分解は進み、さらに脱水縮合により重合が進む。尚、トルエンへの浸漬後、もしくは窒素ブロー後に、水や水飽和トルエンに1分程度浸漬して、より積極的にこの加水分解、縮合反応を進めてもよい。浸漬から乾燥までのプロセスを数回繰り返し、シリコン基板および金基板上にチタン酸化物からなる下地膜を形成した。
本実施例では、このような下地膜を表面に形成したシリコン基板と金基板を基体として用いる。
本実施例では、実施例1と同様に2種類の基板を用いた。洗浄方法も実施例1と同様である。
次に下地膜形成用の反応溶液を調製した。まず、トルエンとエタノールとの2:1混合溶媒を調製し、チタンブトキシドを100mMの濃度で混合して反応溶液とした。
次にシリコン基板および金基板表面に下地膜を形成した。洗浄したシリコン基板、および金基板を前記反応溶液に3分間浸漬した。その後、トルエンに浸漬し、エタノールで洗浄することで、余分な反応溶液を除去した。さらに窒素ブローにより乾燥させた。反応溶液中に含まれる水や空気中の湿気から供給される水により、チタンブトキシドの加水分解は進み、さらに脱水縮合により重合が進む。尚、トルエンへの浸漬後、もしくは窒素ブロー後に、水や水飽和トルエンに1分程度浸漬して、より積極的にこの加水分解、縮合反応を進めてもよい。浸漬から乾燥までのプロセスを数回繰り返し、シリコン基板および金基板上にチタン酸化物からなる下地膜を形成した。
本実施例では、このような下地膜を表面に形成したシリコン基板と金基板を基体として用いる。
次に、末端基がOH基であるPAMAMデンドリマーの第四世代を鋳型分子に用い、このデンドリマーの1wt%溶液(溶媒は、エタノール、メタノール混合溶媒)を調製した。基体をこのデンドリマー溶液に20分間浸漬してデンドリマーを基体表面に吸着させた。さらにメタノールによる洗浄、窒素ブローによる乾燥を行った。
次に、下地膜形成に用いた反応溶液と同様な反応溶液を調製した。下地膜形成工程と同様な方法で、基体を反応溶液に浸漬し、トルエン、エタノールで洗浄した。さらに窒素ブローにより乾燥させた。この浸漬から乾燥までのプロセスを数回繰り返して、基体上に重合膜を形成した。
次に、鋳型分子の除去処理として、重合膜が形成されたシリコン基板、金基板それぞれに対して、オゾン発生装置中で10分間UV照射を行った。
(薄膜分析)
上記方法で金基板上に形成された薄膜に対し、高感度反射赤外分光測定(IRRAS)を行った。鋳型分子吸着後の薄膜については、デンドリマー由来の吸収ピークとチタン酸化物由来の吸収ピークが確認された。重合後、鋳型分子の除去処理前の薄膜については、デンドリマー由来の吸収ピークとチタン酸化物由来の吸収ピークが確認された。尚、チタン酸化物由来の吸収ピーク強度は、鋳型分子吸着後と比較して増大することも確認された。さらに、鋳型分子の除去処理を行うことで、デンドリマーに由来する吸収ピーク強度が減少することも確認された。このことより、本実施例では、鋳型分子存在下で重合膜が形成され、さらに鋳型分子除去処理によって、鋳型分子が除去されていることが確認された。
上記方法で金基板上に形成された薄膜に対し、高感度反射赤外分光測定(IRRAS)を行った。鋳型分子吸着後の薄膜については、デンドリマー由来の吸収ピークとチタン酸化物由来の吸収ピークが確認された。重合後、鋳型分子の除去処理前の薄膜については、デンドリマー由来の吸収ピークとチタン酸化物由来の吸収ピークが確認された。尚、チタン酸化物由来の吸収ピーク強度は、鋳型分子吸着後と比較して増大することも確認された。さらに、鋳型分子の除去処理を行うことで、デンドリマーに由来する吸収ピーク強度が減少することも確認された。このことより、本実施例では、鋳型分子存在下で重合膜が形成され、さらに鋳型分子除去処理によって、鋳型分子が除去されていることが確認された。
(細孔観察)
上記方法でシリコン基板上に形成された薄膜の表面、および断面に対して電子顕微鏡観察を行った。直径約5nmの複数の細孔を有する薄膜がSi基板上に形成されることが確認された。さらに、それぞれの細孔が独立して存在している状態も確認された。また、細孔が薄膜に対して単層化している状態が観察された。
上記方法でシリコン基板上に形成された薄膜の表面、および断面に対して電子顕微鏡観察を行った。直径約5nmの複数の細孔を有する薄膜がSi基板上に形成されることが確認された。さらに、それぞれの細孔が独立して存在している状態も確認された。また、細孔が薄膜に対して単層化している状態が観察された。
以上の結果より、本実施例では、本発明によるナノ多孔質薄膜の構成の基本となる、実質的に同一の大きさの細孔が単層化して配列した多孔質薄膜が形成されることが確認された。
本実施例は、基体上にナノ多孔質薄膜を形成し、担体材料を作製する例、および、この担体材料に微粒子を担持させて微粒子担持材料を作製する例である。
(担体材料作製)
本実施例では、基体にシリコン基板を用いた。
このシリコン基板を実施例1と同様な方法で洗浄した。
次に第一の反応溶液を調製した。第一の反応溶液は、第一の鋳型分子に末端基がOH基であるPAMAMデンドリマーの第四世代、および第一の重合性モノマーにチタンブトキシドを用いて、実施例1の反応溶液と同様な方法で調製した。
次に実施例1と同様な方法で、第一の反応溶液をシリコン基板表面に塗布し、第一の反応溶液の溶媒を除去した。チタンブトキシドを重合させ、シリコン基板上に第一の重合膜を形成した。
次に第二の反応溶液を調製した。第二の反応溶液には、第二の鋳型分子に末端基がOH基であるPAMAMデンドリマーの第二世代、および第二の重合性モノマーにはチタンブトキシドを用いた。トルエンとエタノールとが1:1の混合溶媒に、第二の鋳型分子を混合し、さらに第二の重合性モノマーを混合することで第二の反応溶液を調製した。
次にスピンコート法により、この第二の反応溶液を第一の重合膜が形成されたシリコン基板上に塗布し、第二の反応溶液の溶媒を除去した。その後、チタンブトキシドを重合させ、第一の重合膜の表面に第二の重合膜を形成した。
次に、第一および第二の鋳型分子の除去処理として、重合膜が形成されたシリコン基板に対して、オゾン発生装置中で10分間UV照射を行った。
本実施例では、基体にシリコン基板を用いた。
このシリコン基板を実施例1と同様な方法で洗浄した。
次に第一の反応溶液を調製した。第一の反応溶液は、第一の鋳型分子に末端基がOH基であるPAMAMデンドリマーの第四世代、および第一の重合性モノマーにチタンブトキシドを用いて、実施例1の反応溶液と同様な方法で調製した。
次に実施例1と同様な方法で、第一の反応溶液をシリコン基板表面に塗布し、第一の反応溶液の溶媒を除去した。チタンブトキシドを重合させ、シリコン基板上に第一の重合膜を形成した。
次に第二の反応溶液を調製した。第二の反応溶液には、第二の鋳型分子に末端基がOH基であるPAMAMデンドリマーの第二世代、および第二の重合性モノマーにはチタンブトキシドを用いた。トルエンとエタノールとが1:1の混合溶媒に、第二の鋳型分子を混合し、さらに第二の重合性モノマーを混合することで第二の反応溶液を調製した。
次にスピンコート法により、この第二の反応溶液を第一の重合膜が形成されたシリコン基板上に塗布し、第二の反応溶液の溶媒を除去した。その後、チタンブトキシドを重合させ、第一の重合膜の表面に第二の重合膜を形成した。
次に、第一および第二の鋳型分子の除去処理として、重合膜が形成されたシリコン基板に対して、オゾン発生装置中で10分間UV照射を行った。
以上の操作により、基体上にナノ多孔質薄膜が形成された。尚、本実施例では、第一の鋳型分子にPAMAMデンドリマーの第四世代、第二の鋳型分子にPAMAMデンドリマーの第二世代を使用している。第二世代デンドリマーは、第四世代デンドリマーより小さな分子であり、これら異なる鋳型分子を用いて第一および第二の重合膜を膜厚方向に沿って積層することにより、空間の大きさの異なる細孔が形成された。本実施例では、基体側に形成される第一の細孔は第四世代デンドリマーを鋳型としており、基体と反対側に形成される第二の細孔は第二世代デンドリマーを鋳型としているため、第二の細孔の空間の大きさは第一の細孔の空間の大きさより小さい。これは電子顕微鏡観察により確認された。
(微粒子担持材料作製)
本実施例により作製される担体材料に、以下の操作により金微粒子を担持させて、微粒子担持材料を作製した。
本実施例により作製される担体材料に、以下の操作により金微粒子を担持させて、微粒子担持材料を作製した。
まず、水素化ホウ素ナトリウム溶液(溶媒はエタノール/水混合溶媒)に担体材料を浸漬し、純水で洗浄後、窒素ブローにより乾燥させた。
次に、この担体材料を微粒子の原料である塩化金酸溶液(溶媒はエタノール/水混合溶媒)に浸漬したのちに、同様に純水で洗浄し、窒素ブローにより乾燥させた。
次に、この担体材料を微粒子の原料である塩化金酸溶液(溶媒はエタノール/水混合溶媒)に浸漬したのちに、同様に純水で洗浄し、窒素ブローにより乾燥させた。
以上の操作により、細孔内に金微粒子が担持された微粒子担持材料が作製された。尚、本実施例では微粒子源として塩化金酸を用いている。この塩化金酸が第二の細孔を通って第一の細孔に導入され、さらに還元されることで第一の細孔内に金微粒子が形成される。金微粒子の形成は、電子顕微鏡により確認された。
(微粒子の担持安定性)
比較例として、第二の重合膜を形成せずに第一の重合膜のみをシリコン基板上に形成し、鋳型分子の除去処理を行った多孔質膜1を作製した。この多孔質膜1に上述の金微粒子を担持する操作を行い、比較材料1を作製した。
比較例として、第二の重合膜を形成せずに第一の重合膜のみをシリコン基板上に形成し、鋳型分子の除去処理を行った多孔質膜1を作製した。この多孔質膜1に上述の金微粒子を担持する操作を行い、比較材料1を作製した。
微粒子の担持安定性は、本実施例による微粒子担持材料と比較材料1に対して、純水、エタノール、酸、アルカリ溶液などの溶剤による洗浄を繰り返し、その後の微粒子の担持量を比較することで検証した。比較材料1では洗浄により微粒子の担持量は減少するが、本実施例による微粒子担持材料では減少量は少ない。これは電子顕微鏡観察により確認された。
以上の操作により、本発明による微粒子担持材料の安定性の高さが証明される。
本実施例は基体上にナノ多孔質薄膜を形成し、分子認識材料、およびセンサを作製する例である。
(FETデバイス基板)
本実施例では、基体にFETデバイス基板を用いた。
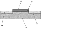
FETデバイス基板とは、半導体基板18に、ソース領域19、ドレイン領域20、チャネル領域21、ゲート絶縁膜22が形成されている図8のような構造を有するデバイスである。FETデバイス基板の製造方法には公知の方法を適用することが可能である。例えば、(100)の方位を有するp型シリコン基板を使用し、n型半導体を形成する不純物(例えばリン)を熱拡散法またはイオン注入法などにより拡散または注入しソース領域とドレイン領域とを形成し、乾燥酸素雰囲気中での熱処理やCVD法によるシリコン窒化膜の形成などによりゲート絶縁膜を形成する、といった一般的なFETの製造方法を用いることが可能である。
本実施例では、FETデバイス基板を基体として用い、ゲート絶縁膜上に本発明による分子認識材料を形成した。
本実施例では、基体にFETデバイス基板を用いた。
FETデバイス基板とは、半導体基板18に、ソース領域19、ドレイン領域20、チャネル領域21、ゲート絶縁膜22が形成されている図8のような構造を有するデバイスである。FETデバイス基板の製造方法には公知の方法を適用することが可能である。例えば、(100)の方位を有するp型シリコン基板を使用し、n型半導体を形成する不純物(例えばリン)を熱拡散法またはイオン注入法などにより拡散または注入しソース領域とドレイン領域とを形成し、乾燥酸素雰囲気中での熱処理やCVD法によるシリコン窒化膜の形成などによりゲート絶縁膜を形成する、といった一般的なFETの製造方法を用いることが可能である。
本実施例では、FETデバイス基板を基体として用い、ゲート絶縁膜上に本発明による分子認識材料を形成した。
ソース領域、およびドレイン領域は図示しない電極、および電気回路に接続され、検体液中の認識対象分子がゲート絶縁膜上の分子認識材料に捕捉されると、ソース・ドレイン間の電流値が変化する。よって、この変化を測定することで、本実施例による分子認識材料を搭載したFETデバイスを検体液中の認識対象分子の有無および/または濃度を検出するケミカルセンサとして使用することが可能となる。
(分子認識材料、センサの作製)
まず、オゾン発生装置中で10分間UV照射しFETデバイス基板表面をクリーニングした。
次に下地膜形成用の反応溶液を調製した。重合性モノマーをチタンブトキシドとし、実施例2の下地膜形成用の反応溶液と同様な方法で調製した。
さらに、実施例2と同様な方法で、下地膜形成用の反応溶液をゲート絶縁膜上に塗布し、反応溶液の溶媒を除去した。チタンブトキシドを重合させ、ゲート絶縁膜上に下地膜を形成した。
本実施例では、このような下地膜を表面に形成したFETデバイス基板を基体として用いた。
まず、オゾン発生装置中で10分間UV照射しFETデバイス基板表面をクリーニングした。
次に下地膜形成用の反応溶液を調製した。重合性モノマーをチタンブトキシドとし、実施例2の下地膜形成用の反応溶液と同様な方法で調製した。
さらに、実施例2と同様な方法で、下地膜形成用の反応溶液をゲート絶縁膜上に塗布し、反応溶液の溶媒を除去した。チタンブトキシドを重合させ、ゲート絶縁膜上に下地膜を形成した。
本実施例では、このような下地膜を表面に形成したFETデバイス基板を基体として用いた。
次に、後に認識対象分子となるペプチド分子であるグリシルチロシンを第一の鋳型分子とし、このグリシルチロシンの10mM水溶液を調製した。基体をこのグリシルチロシン溶液に10分間浸漬してグリシルチロシンを基体表面に吸着させた。さらに純水で洗浄し、乾燥させた。
次に、下地膜形成に用いた反応溶液と同様な方法で第一の反応溶液を調製し、基体を第一の反応溶液に3分間浸漬した。トルエン、エタノールで洗浄した後に、水に1分間浸漬し、チタンブトキシドの加水分解縮合を促進させた。さらに窒素ブローにより乾燥させた。こうして、第一の反応溶液の溶媒を除去した。この浸漬から乾燥までのプロセスを数回繰り返して、基体上に第一の重合膜を形成した。
次に第二の反応溶液を調製した。第二の反応溶液は、第二の鋳型分子には末端基がOH基であるPAMAMデンドリマーの第二世代、および重合性モノマーにはチタンブトキシドを用いた。トルエンとエタノールとの1:1の混合溶媒にこのデンドリマーを混合し、さらにチタンブトキシドを混合することで第二の反応溶液を調製した。
次に、スピンコート法により、この第二の反応溶液を第一の重合膜が形成された基体上に塗布し、第二の反応溶液の溶媒を除去した。チタンブトキシドを重合させ、第一の重合膜の表面に第二の重合膜を形成した。
以上の操作により、基体上にナノ多孔質薄膜が形成される。尚、本実施例では、第一の鋳型分子にグリシルチロシン、第二の鋳型分子にPAMAMデンドリマーの第二世代を使用している。グリシルチロシンは、第二世代デンドリマーより小さな分子であり、これら異なる鋳型分子を用いて重合膜を膜厚方向に沿って積層することにより、空間の大きさの異なる細孔が形成される。本実施例では、基体側に形成される第一の細孔はグリシルチロシンを鋳型としており、基体と反対側に形成される第二の細孔は第二世代デンドリマーを鋳型としているため、第二の細孔の空間の大きさは第一の細孔の空間の大きさより大きい。これは電子顕微鏡観察により確認された。
(ケミカルセンサのノイズの検証)
比較例として、第二の重合膜を形成せずに第一の重合膜のみ形成し、鋳型分子の除去処理を行った多孔質膜2を同様な基体上に作製し、比較材料2とした。
比較例として、第二の重合膜を形成せずに第一の重合膜のみ形成し、鋳型分子の除去処理を行った多孔質膜2を同様な基体上に作製し、比較材料2とした。
ケミカルセンサを使用する際のノイズについては、本実施例による分子認識材料と比較材料2を使用して、認識対象分子と非特異吸着物質との両方が混合された検体液中から認識対象分子の検出を行うことで検証される。本実施例では、検体液に、認識対象分子であるグリシルチロシンと、非特異吸着物質としてウシ血清アルブミン(BSA)とを混合した水溶液を用いた。
まず、比較材料2が表面に形成されたFETデバイスをリン酸緩衝溶液に浸漬した。このあと、緩衝溶液にグリシルチロシン溶液を注入した。さらに、緩衝溶液にBSA溶液を注入した。この間、ソース・ドレイン間の電流変化を測定した。同様な操作を分子認識材料が表面に形成されたFETデバイスに対しても行った。グリシルチロシン溶液を注入したときの電流変化量とBSA溶液を注入したときの電流変化量との比率を、比較材料2と本実施例による分子認識材料とについて比較することで、ノイズの影響が検証される。比較材料2では、BSA溶液を入れた際の電流変化(ノイズに相当)が大きいが、本実施例による分子認識材料では小さかった。
以上の操作により、本発明による分子認識材料によるノイズ低減の効果が確認された。
触媒や機能性分子のような物質を担持する担持材料、物質を吸着する吸着材料、物質の分離、検出などに用いる分離、分子認識、センサ材料、物質の輸送、交換に利用される伝導材料、電子デバイスや光デバイス、マイクロデバイスなどに利用するナノ構造材料などの広い範囲で利用可能である。
1. 第一の層領域
2. 第二の層領域
3. 第一の膜
4. 第二の膜
5. 第一の細孔
6. 第二の細孔
7. 基体
8. 下地膜
9. 担持物質
10.第一の鋳型分子
11.第二の鋳型分子
12.第一の反応溶液
13.第二の反応溶液
14.第三の反応溶液
15.第四の反応溶液
16.第一の重合膜
17.第二の重合膜
18.半導体基板
19.ソース領域
20.ドレイン領域
21.チャネル領域
22.ゲート絶縁膜
2. 第二の層領域
3. 第一の膜
4. 第二の膜
5. 第一の細孔
6. 第二の細孔
7. 基体
8. 下地膜
9. 担持物質
10.第一の鋳型分子
11.第二の鋳型分子
12.第一の反応溶液
13.第二の反応溶液
14.第三の反応溶液
15.第四の反応溶液
16.第一の重合膜
17.第二の重合膜
18.半導体基板
19.ソース領域
20.ドレイン領域
21.チャネル領域
22.ゲート絶縁膜
Claims (13)
- ナノ多孔質構造を有するナノ多孔質薄膜であって、
膜厚方向に沿って複数の層領域を有し、
前記複数の層領域は、第一の細孔を有する第一の層領域と第二の細孔を有する第二の層領域とを含み、
前記第一の細孔と前記第二の細孔は貫通し、
前記第一の細孔と前記第二の細孔との空間の大きさが異なることを特徴とするナノ多孔質薄膜。 - 前記複数の層領域の少なくとも一つを構成する材料が無機酸化物からなることを特徴とする請求項1に記載のナノ多孔質薄膜。
- 物質を担持する担体材料であって、
ナノ多孔質構造を有するナノ多孔質薄膜を基体上に保持し、
前記ナノ多孔質薄膜は、膜厚方向に沿って複数の層領域を有し、
前記複数の層領域は、第一の細孔を有する第一の層領域と第二の細孔を有する第二の層領域とを含み、
前記第一の層領域と前記第二の層領域とは、前記基体上から前記膜厚方向に沿ってこの順で有し、
前記第一の細孔と前記第二の細孔は貫通し、
前記第二の細孔の空間の大きさが前記第一の細孔の空間の大きさより小さいことを特徴とする担体材料。 - 微粒子が担持された微粒子担持材料であって、
ナノ多孔質構造を有するナノ多孔質薄膜を基体上に保持し、
前記ナノ多孔質薄膜は、膜厚方向に沿って複数の層領域を有し、
前記複数の層領域は、第一の細孔を有する第一の層領域と第二の細孔を有する第二の層領域とを含み、
前記第一の層領域と前記第二の層領域とは、前記基体上から前記膜厚方向に沿ってこの順で有し、
前記第一の細孔と前記第二の細孔は貫通し、
前記第二の細孔の空間の大きさが前記第一の細孔の空間の大きさより小さく、
前記第一の細孔内に微粒子が担持されていることを特徴とする微粒子担持材料。 - 認識対象分子と選択的に結合する分子認識材料であって、
基体上に保持されたナノ多孔質構造を有するナノ多孔質薄膜を備え、
前記ナノ多孔質薄膜は、膜厚方向に沿って複数の層領域を有し、
前記複数の層領域は、第一の細孔を有する第一の層領域と第二の細孔を有する第二の層領域とを含み、
前記第一の層領域と前記第二の層領域とは、前記基体上から前記膜厚方向に沿ってこの順で有し、
前記第一の細孔と前記第二の細孔は貫通し、
前記第二の細孔の空間の大きさが前記第一の細孔の空間の大きさより大きいことを特徴とする分子認識材料。 - 検体液中の認識対象分子の有無および/または濃度を検出するセンサであって、
検出デバイス上に保持されたナノ多孔質構造を有するナノ多孔質薄膜を備え、
前記ナノ多孔質薄膜は、膜厚方向に沿って複数の層領域を有し、
前記複数の層領域は、第一の細孔を有する第一の層領域と第二の細孔を有する第二の層領域とを含み、
前記第一の層領域と前記第二の層領域とは、前記基体上から前記膜厚方向に沿ってこの順で有し、
前記第一の細孔と前記第二の細孔は貫通し、
前記第二の細孔の空間の大きさが前記第一の細孔の空間の大きさより大きいことを特徴とするセンサ。 - 前記検出デバイスがFETデバイスであることを特徴とする請求項6に記載のセンサ。
- ナノ多孔質構造を有するナノ多孔質薄膜の製造方法であって、
第一の鋳型分子と第一の重合性モノマーとを含む第一の反応溶液を基体に接触させる工程と、
前記第一の反応溶液の溶媒を除去し、前記第一の重合性モノマーを重合させ、前記基体上に第一の重合膜を形成する工程と、
前記第一の鋳型分子とは異なる第二の鋳型分子と第二の重合性モノマーとを含む第二の反応溶液を前記第一の重合膜に接触させる工程と、
前記第二の反応溶液の溶媒を除去し、前記第二の重合性モノマーを重合させ、前記第一の重合膜上に第二の重合膜を形成する工程と、
前記第一および第二の鋳型分子を除去する工程とを含むことを特徴とするナノ多孔質薄膜の製造方法。 - ナノ多孔質構造を有するナノ多孔質薄膜の製造方法であって、
第一の鋳型分子を含む第一の溶液を基体に接触させ、前記基体上に前記第一の鋳型分子を固定化させた後、第一の重合性モノマーを含む第三の反応溶液を前記基体に接触させる工程と、
前記第三の反応溶液の溶媒を除去し、前記第一の重合性モノマーを重合させ、前記基体上に第一の重合膜を形成する工程と、
前記第一の鋳型分子とは異なる第二の鋳型分子と第二の重合性モノマーとを含む第二の反応溶液を前記第一の重合膜に接触させる工程と、
前記第二の反応溶液の溶媒を除去し、前記第二の重合性モノマーを重合させ、前記第一の重合膜上に第二の重合膜を形成する工程と、
前記第一および第二の鋳型分子を除去する工程とを含むことを特徴とするナノ多孔質薄膜の製造方法。 - ナノ多孔質構造を有するナノ多孔質薄膜の製造方法であって、
第一の鋳型分子と第一の重合性モノマーとを含む第一の反応溶液を基体に接触させる工程と、
前記第一の反応溶液の溶媒を除去し、前記第一の重合性モノマーを重合させ、前記基体上に第一の重合膜を形成する工程と、
前記第一の鋳型分子とは異なる第二の鋳型分子を含む第二の溶液を前記第一の重合膜に接触させ、前記第一の重合膜上に前記第二の鋳型分子を固定化させた後、第二の重合性モノマーを含む第四の反応溶液を前記第一の重合膜に接触させる工程と、
前記第四の反応溶液の溶媒を除去し、前記第二の重合性モノマーを重合させ、前記第一の重合膜上に第二の重合膜を形成する工程と、
前記第一および第二の鋳型分子を除去する工程とを含むことを特徴とするナノ多孔質薄膜の製造方法。 - ナノ多孔質構造を有するナノ多孔質薄膜の製造方法であって、
第一の鋳型分子を含む第一の溶液を基体に接触させ、前記基体上に前記第一の鋳型分子を固定化させた後、第一の重合性モノマーを含む第三の反応溶液を前記基体に接触させる工程と、
前記第三の反応溶液の溶媒を除去し、前記第一の重合性モノマーを重合させ、前記基体上に第一の重合膜を形成する工程と、
前記第一の鋳型分子とは異なる第二の鋳型分子を含む第二の溶液を前記第一の重合膜に接触させ、前記第一の重合膜上に前記第二の鋳型分子を固定化させた後、第二の重合性モノマーを含む第四の反応溶液を前記第一の重合膜に接触させる工程と、
前記第四の反応溶液の溶媒を除去し、前記第二の重合性モノマーを重合させ、前記第一の重合膜上に第二の重合膜を形成する工程と、
前記第一および第二の鋳型分子を除去する工程とを含むことを特徴とするナノ多孔質薄膜の製造方法。 - 前記第一の鋳型分子、もしくは前記第二の鋳型分子がデンドリマーであることを特徴とする請求項8〜11のいずれか1項に記載のナノ多孔質薄膜の製造方法。
- 前記第一の重合性モノマーが金属アルコキシドであることを特徴とする請求項8〜11のいずれか1項に記載のナノ多孔質薄膜の製造方法。
Priority Applications (1)
| Application Number | Priority Date | Filing Date | Title |
|---|---|---|---|
| JP2011117956A JP2012246162A (ja) | 2011-05-26 | 2011-05-26 | ナノ多孔質薄膜、およびその製造方法 |
Applications Claiming Priority (1)
| Application Number | Priority Date | Filing Date | Title |
|---|---|---|---|
| JP2011117956A JP2012246162A (ja) | 2011-05-26 | 2011-05-26 | ナノ多孔質薄膜、およびその製造方法 |
Publications (1)
| Publication Number | Publication Date |
|---|---|
| JP2012246162A true JP2012246162A (ja) | 2012-12-13 |
Family
ID=47467006
Family Applications (1)
| Application Number | Title | Priority Date | Filing Date |
|---|---|---|---|
| JP2011117956A Withdrawn JP2012246162A (ja) | 2011-05-26 | 2011-05-26 | ナノ多孔質薄膜、およびその製造方法 |
Country Status (1)
| Country | Link |
|---|---|
| JP (1) | JP2012246162A (ja) |
Cited By (9)
| Publication number | Priority date | Publication date | Assignee | Title |
|---|---|---|---|---|
| WO2015146127A1 (ja) * | 2014-03-27 | 2015-10-01 | 日本曹達株式会社 | 疎水化表面基板の製造方法 |
| CN110475530A (zh) * | 2016-11-28 | 2019-11-19 | 特拉波雷技术有限公司 | 伤口处理系统以及使用和组装的方法 |
| US11401411B2 (en) | 2016-11-17 | 2022-08-02 | Terapore Technologies, Inc. | Isoporous self-assembled block copolymer films containing high molecular weight hydrophilic additives and methods of making the same |
| US11466134B2 (en) | 2011-05-04 | 2022-10-11 | Cornell University | Multiblock copolymer films, methods of making same, and uses thereof |
| US11567072B2 (en) | 2017-02-22 | 2023-01-31 | Terapore Technologies, Inc. | Ligand bound MBP membranes, uses and method of manufacturing |
| US11571667B2 (en) | 2018-03-12 | 2023-02-07 | Terapore Technologies, Inc. | Isoporous mesoporous asymmetric block copolymer materials with macrovoids and method of making the same |
| US11572424B2 (en) | 2017-05-12 | 2023-02-07 | Terapore Technologies, Inc. | Chemically resistant fluorinated multiblock polymer structures, methods of manufacturing and use |
| US11628409B2 (en) | 2016-04-28 | 2023-04-18 | Terapore Technologies, Inc. | Charged isoporous materials for electrostatic separations |
| US12109541B2 (en) | 2017-09-19 | 2024-10-08 | Terapore Technologies, Inc. | Chemically resistant isoporous crosslinked block copolymer structure |
-
2011
- 2011-05-26 JP JP2011117956A patent/JP2012246162A/ja not_active Withdrawn
Cited By (12)
| Publication number | Priority date | Publication date | Assignee | Title |
|---|---|---|---|---|
| US11466134B2 (en) | 2011-05-04 | 2022-10-11 | Cornell University | Multiblock copolymer films, methods of making same, and uses thereof |
| US12012492B2 (en) | 2011-05-04 | 2024-06-18 | Cornell University | Multiblock copolymer films, methods of making same, and uses thereof |
| WO2015146127A1 (ja) * | 2014-03-27 | 2015-10-01 | 日本曹達株式会社 | 疎水化表面基板の製造方法 |
| US11628409B2 (en) | 2016-04-28 | 2023-04-18 | Terapore Technologies, Inc. | Charged isoporous materials for electrostatic separations |
| US11401411B2 (en) | 2016-11-17 | 2022-08-02 | Terapore Technologies, Inc. | Isoporous self-assembled block copolymer films containing high molecular weight hydrophilic additives and methods of making the same |
| US11802200B2 (en) | 2016-11-17 | 2023-10-31 | Terapore Technologies, Inc. | Isoporous self-assembled block copolymer films containing high molecular weight hydrophilic additives and methods of making the same |
| CN110475530A (zh) * | 2016-11-28 | 2019-11-19 | 特拉波雷技术有限公司 | 伤口处理系统以及使用和组装的方法 |
| JP2020500678A (ja) * | 2016-11-28 | 2020-01-16 | ホー,ジョン | 創傷治療システム並びにその使用及び構築方法 |
| US11567072B2 (en) | 2017-02-22 | 2023-01-31 | Terapore Technologies, Inc. | Ligand bound MBP membranes, uses and method of manufacturing |
| US11572424B2 (en) | 2017-05-12 | 2023-02-07 | Terapore Technologies, Inc. | Chemically resistant fluorinated multiblock polymer structures, methods of manufacturing and use |
| US12109541B2 (en) | 2017-09-19 | 2024-10-08 | Terapore Technologies, Inc. | Chemically resistant isoporous crosslinked block copolymer structure |
| US11571667B2 (en) | 2018-03-12 | 2023-02-07 | Terapore Technologies, Inc. | Isoporous mesoporous asymmetric block copolymer materials with macrovoids and method of making the same |
Similar Documents
| Publication | Publication Date | Title |
|---|---|---|
| JP2012246162A (ja) | ナノ多孔質薄膜、およびその製造方法 | |
| Zhang et al. | Surface functionalization of zinc oxide by carboxyalkylphosphonic acid self-assembled monolayers | |
| Mahalingam et al. | Directed self-assembly of functionalized silica nanoparticles on molecular printboards through multivalent supramolecular interactions | |
| CN101024483B (zh) | 金属有序结构表面增强基底的构筑方法 | |
| Jung et al. | Dip-pen nanolithography of reactive alkoxysilanes on glass | |
| Ahoulou et al. | Functionalization and characterization of silicon nanowires for sensing applications: A review | |
| US20180003604A1 (en) | Sensor having porous material or particulate material as receptor layer | |
| Zhu et al. | Monolayer arrays of nanoparticles on block copolymer brush films | |
| Wang et al. | Layer‐by‐layer dendritic growth of hyperbranched thin films for surface Sol–Gel syntheses of conformal, functional, nanocrystalline oxide coatings on complex 3D (Bio) silica templates | |
| KR101161197B1 (ko) | 나노 구조체의 제조 방법 및 나노 구조체 | |
| CN101454069A (zh) | 通过纳米颗粒自组织和升华技术制备微米孔和纳米孔群阵列 | |
| JP5162673B2 (ja) | 光学的特性を用いたセンサ応用のための基板製造方法およびそれによる基板 | |
| Ince et al. | One-dimensional surface-imprinted polymeric nanotubes for specific biorecognition by initiated chemical vapor deposition (iCVD) | |
| KR20020069210A (ko) | 금속 미립자 질서 구조 형성 방법 | |
| KR20220047309A (ko) | 친화도 센서, 특히 qcm 센서 | |
| Fang et al. | Chemical-structure evolution model for the self-assembling of amine-terminated monolayers on nanoporous carbon-doped organosilicate in tightly controlled environments | |
| JP2012246163A (ja) | ナノ多孔質薄膜、およびその製造方法 | |
| Padbury et al. | Thermal stability of gold nanoparticles embedded within metal oxide frameworks fabricated by hybrid modifications onto sacrificial textile templates | |
| Chaudhary et al. | Controlled short-linkage assembly of functional nano-objects | |
| Vakarelski et al. | Deposition of silica nanoparticles on a gold surface via a self-assembled monolayer of (3-mercaptopropyl) trimethoxysilane | |
| Jung et al. | Protein immobilization | |
| Markov et al. | In situ analysis of the growth and dielectric properties of organic self-assembled monolayers: a way to tailor organic layers for electronic applications | |
| KR101081336B1 (ko) | 나노기공을 가지는 고분자 전해질막을 주형기질로 사용한 금속이나 졸-겔의 나노 입자의 합성과 그의 바이오 센서에의 응용 | |
| Jani et al. | Soft and hard surface manipulation of nanoporous anodic aluminum oxide (AAO) | |
| KR101836226B1 (ko) | 금 나노입자와 고분자 코팅을 활용한 고효율 바이오칩의 제조방법 및 그에 의한 바이오칩 |
Legal Events
| Date | Code | Title | Description |
|---|---|---|---|
| RD05 | Notification of revocation of power of attorney |
Free format text: JAPANESE INTERMEDIATE CODE: A7425 Effective date: 20130701 |
|
| A300 | Application deemed to be withdrawn because no request for examination was validly filed |
Free format text: JAPANESE INTERMEDIATE CODE: A300 Effective date: 20140805 |