JP2012242527A - 光ケーブルの端末構造 - Google Patents
光ケーブルの端末構造 Download PDFInfo
- Publication number
- JP2012242527A JP2012242527A JP2011110914A JP2011110914A JP2012242527A JP 2012242527 A JP2012242527 A JP 2012242527A JP 2011110914 A JP2011110914 A JP 2011110914A JP 2011110914 A JP2011110914 A JP 2011110914A JP 2012242527 A JP2012242527 A JP 2012242527A
- Authority
- JP
- Japan
- Prior art keywords
- optical cable
- cable
- pooling eye
- tension member
- terminal structure
- Prior art date
- Legal status (The legal status is an assumption and is not a legal conclusion. Google has not performed a legal analysis and makes no representation as to the accuracy of the status listed.)
- Granted
Links
Images
Abstract
【解決手段】ケーブル断面中心よりも外側に2本のテンションメンバ15を備えた光ケーブル10の端末にプーリングアイ20を固着する場合、2本のテンションメンバ15をケーブル断面中心に相当する位置で束ねた一本の牽引束15aを、プーリングアイ20の軸心に沿って形成されているテンションメンバ挿入孔21に挿入した後、プーリングアイ20に加圧を施してかしめ22を形成し、テンションメンバ15とプーリングアイ20を固着させることで、小型化を図った光ケーブルの端末構造1を形成した。
【選択図】図1
Description
このようにテンションメンバをケーブル断面中心に有する光ケーブルの場合、ケーブルから真っ直ぐに引き出したテンションメンバをプーリングアイに固着しやすく、その牽引端末構造は比較的シンプルで小型化しやすいものであった。
そのようなケーブルの先端側外周に、複数の帯を螺旋状に巻回してケーブルグリップを固定してなる牽引端末構造が知られている(例えば、特許文献2参照。)。
例えば、帯状平板によるU字構造を成す牽引端末の2箇所の把持部にそれぞれ1本ずつテンションメンバを固定してなる牽引端末構造が知られている(例えば、特許文献3参照。)。
また例えば、2本のテンションメンバを1本ずつ挿入穴に収納した保持具をケーブルの先端側外周に配し、その保持具の外側に被牽引具を螺合してなる牽引端末構造が知られている(例えば、特許文献4参照。)。
また、上記特許文献4の場合、保持具及び被牽引具がケーブルの外周付近に配置されるため、牽引端末構造が太くなってしまうという問題があった。
ケーブル断面中心よりも外側に複数のテンションメンバを備えた光ケーブルの端末に、テンションメンバ挿入孔を有するプーリングアイが固着された光ケーブルの端末構造であって、
前記光ケーブルの端末から所定長露出された前記複数のテンションメンバを前記ケーブル断面中心に相当する位置で束ねてなる牽引束が、前記テンションメンバ挿入孔に挿入されている前記プーリングアイを所定方向に加圧したかしめによって、前記複数のテンションメンバと前記プーリングアイが固着されていることを特徴とする。
前記光ケーブルは光心線を備えており、前記光ケーブルの端末から所定長露出された前記光心線が、前記かしめが形成された前記プーリングアイの外周に固定されていることを特徴とする。
前記牽引束は、前記複数のテンションメンバが並行して引き揃えられて束ねられていることを特徴とする。
前記牽引束は、前記複数のテンションメンバが撚り合わされて束ねられていることを特徴とする。
前記プーリングアイには複数のかしめが形成されており、少なくとも隣り合うかしめの加圧方向がそれぞれ異なっていることを特徴とする。
図1は、スロットレス型光ファイバケーブル(光ケーブル10)を示す断面図である。
このスロットレス型光ファイバケーブルは、ケーブル断面中心よりも外側に複数のテンションメンバを備えた光ケーブルである。
なお、光ファイバテープ心線11(以下、光心線11)とは、複数本(図中4本)の光ファイバ心線を横一列に並べて樹脂で一体化したものである。
巻き付け材12は、例えばポリプロピレン繊維で構成されており、ポリプロピレン繊維からなる緩衝層が光心線11を覆っている。緩衝層には、複数のポリプロピレンフィラメントを撚り合わせた繊維紐、例えば、PPヤーン(ポリプロピレン・ヤーン)などを用いることができる。
この巻き付け材12(緩衝層)の周囲を囲繞するように、押え巻きテープ13が巻回されている。
この外被14には、ケーブル断面中心を挟む配置に、2本のテンションメンバ15がケーブルの長手方向と平行に埋設されている。
外被14は、例えば、ポリエチレン系の合成樹脂材料で構成されている。
テンションメンバ15には、例えば、単鋼線、鋼撚線、FRP等を用いることができる。
このプーリングアイ20を固着させる光ケーブル10として、外径が11mmであってテンションメンバ15の径が1mmの単鋼線を用いた。
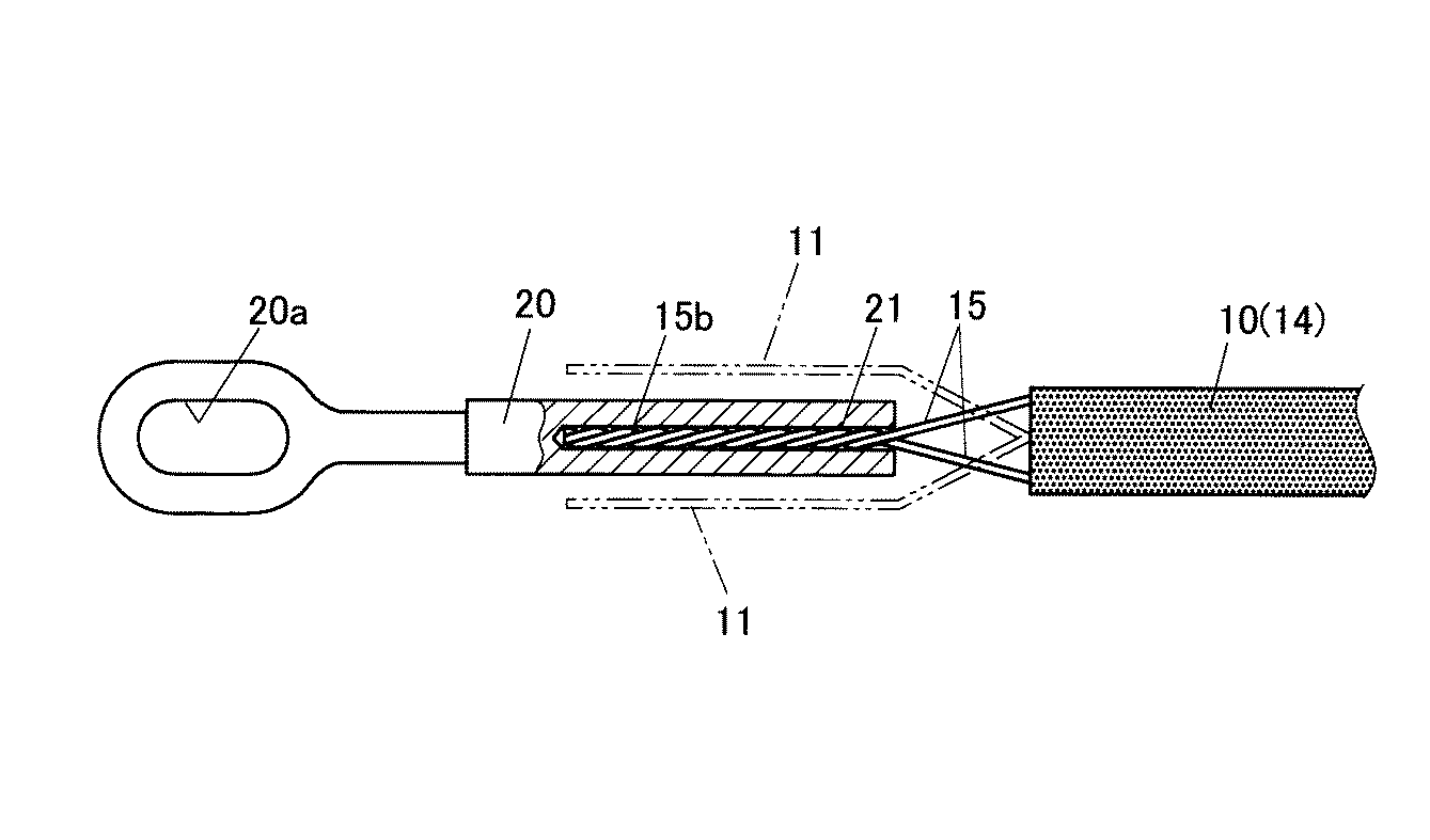
次いで、露出された2本のテンションメンバ15をケーブル断面中心に相当する位置で一本に束ねた牽引束15aを、プーリングアイ20のテンションメンバ挿入孔21に挿入する。図3に示す牽引束15aは、2本のテンションメンバ15を並行させて引き揃えて束ねた牽引束である。
ここで、光ケーブル10において外被14および緩衝層が切断されている端面と、プーリングアイ20の後端部(テンションメンバ挿入孔21側の端部)との距離が近過ぎると、テンションメンバ15をケーブル断面中心に相当する位置に引き揃える際に曲げる曲率が大きくなり、テンションメンバ15が折れるなど破損してしまうことがある。また、後述する光心線11をプーリングアイ20の外周に沿わすことが困難になることがある。そのため、ケーブル端面(外被切断箇所)とプーリングアイ20の後端部との距離は、10〜15mm程度であることが好ましい。
ここでは、プーリングアイ20に3箇所のかしめ22が形成されている。特に、少なくとも隣り合うかしめ22の加圧方向がそれぞれ異なるように、例えば、油圧プレス機やかしめ冶具(六角ダイス)等により加圧が施されてなるかしめ22が形成されている、例えば、図4中、中央側のかしめ22は牽引束15aを挟む上下方向の加圧によって形成されており、その両側の2つのかしめ22は牽引束15aを挟む左右方向の加圧によって形成されている。
なお、図4(図5)は、図3に示した光ケーブル10およびプーリングアイ20を、その軸線を中心に90度回転させた方向から視認した状態を示している。
更に、プーリングアイ20の外周面に沿わせた光心線11の上から、その光心線11を覆うように円筒状の熱収縮チューブ30を装着する。この熱収縮チューブ30を加熱して収縮させることによって、プーリングアイ20と熱収縮チューブ30の間に光心線11を挟み込み、その光心線11をかしめ22が形成されたプーリングアイ20の外周面に固定する。なお、熱収縮チューブ30は加熱収縮時に溶ける接着層を内面に有している。
こうして、図5に示すように、光ケーブル10の端末にプーリングアイ20が固着された、光ケーブルの端末構造1を組み上げることができる。
そして、比較的細いプーリングアイ20に形成された一筋のテンションメンバ挿入孔21に牽引束15aを挿入し、テンションメンバ15とプーリングアイ20を固着してなる光ケーブルの端末構造1を小型化することができる。
また、プーリングアイ20に3箇所のかしめ22を形成して、テンションメンバ15とプーリングアイ20を固着しており、特に、隣り合うかしめ22の加圧方向がそれぞれ異なるようにかしめ22が形成されているので、テンションメンバ15とプーリングアイ20の固着力をより強固にし、その把持力を増強させることができる。その結果、光ケーブル10を敷設する際、光ケーブルの端末構造1を引き回すための牽引力に十分に耐えることができる。
次に、本発明に係る光ケーブルの端末構造の実施形態2について説明する。なお、実施形態1と同様の構成については、同符号を付して説明を割愛する。
図6に示すように、露出された2本のテンションメンバ15をケーブル断面中心に相当する位置で撚り合わせて束ねた牽引束15bを、プーリングアイ20のテンションメンバ挿入孔21に挿入する構造であってもよい。なお、図6に示す牽引束15bは、2本のテンションメンバ15を20mmピッチで撚り合わせて束ねた牽引束である。
この牽引束15b以外の構成は、実施形態1の光ケーブルの端末構造1と同様の構成である。
このような牽引束15bをプーリングアイ20のテンションメンバ挿入孔21に挿入した後、かしめ22を形成してなる光ケーブルの端末構造であっても、実施形態1の光ケーブルの端末構造1と同様の効果が得られる。
また、2本のテンションメンバ15を撚り合わせて一体化した牽引束15bは、その剛性が増しており、テンションメンバ挿入孔21に挿入しやすいなどのメリットがある。
図7(a)に示すように、比較例1に用いたプーリングアイ40は、光ケーブル10における2本のテンションメンバ15と同じ間隔をあけた二筋のテンションメンバ挿入孔41を有しており、図2に示したプーリングアイ20よりも太いものである。
そして、図7(b)に示すように、光ケーブル10の端末から所定長の外被14を剥ぎ取って露出された2本のテンションメンバ15を、その延長線上に対応する二筋のテンションメンバ挿入孔41に真っ直ぐに挿入する。
次いで、テンションメンバ15がテンションメンバ挿入孔41に挿入されているプーリングアイ40を所定方向に加圧してかしめることによって3箇所のかしめ42を形成し、テンションメンバ15とプーリングアイ40を固着する。例えば、図7(c)に示すように、中央側のかしめ42は六角ダイス60による上下方向の加圧によって形成されており、その両側の2つのかしめ42は六角ダイス60による左右方向の加圧によって形成されている。
そして、実施形態1と同様に、緩衝層(巻き付け材12)等を外被切断箇所と同じ位置にて切断して露出されている光心線11を5枚ずつの2束に分割したものを、プーリングアイ40の外周面に沿わせ、その光心線11の上から被せた円筒状の熱収縮チューブ30を加熱して収縮させることによって、プーリングアイ40と熱収縮チューブ30の間に光心線11を挟み込み、その光心線11をかしめ42が形成されたプーリングアイ40の外周面に固定する。
こうして、比較例1の光ケーブルの端末構造を組み上げた。
図8(a)に示すように、比較例2に用いたプーリングアイ50は、光ケーブル10における2本のテンションメンバ15と同じ間隔をあけた二筋のテンションメンバ挿入孔51を有しており、図2に示したプーリングアイ20よりも太く、その断面が略「8」字形状を呈するものである。
そして、図8(b)に示すように、光ケーブル10の端末から所定長の外被14を剥ぎ取って露出された2本のテンションメンバ15を、その延長線上に対応する二筋のテンションメンバ挿入孔51に真っ直ぐに挿入する。
次いで、テンションメンバ15がテンションメンバ挿入孔51に挿入されているプーリングアイ50を所定方向に加圧してかしめることによって3箇所のかしめ52を形成し、テンションメンバ15とプーリングアイ50を固着する。例えば、図8(c)に示すように、3箇所のかしめ52は、変形六角ダイス70による左右方向の加圧によって形成されている。
そして、実施形態1と同様に、緩衝層(巻き付け材12)等を外被切断箇所と同じ位置にて切断して露出されている光心線11を5枚ずつの2束に分割したものを、プーリングアイ50の外周面に沿わせ、その光心線11の上から被せた円筒状の熱収縮チューブ30を加熱して収縮させることによって、プーリングアイ50と熱収縮チューブ30の間に光心線11を挟み込み、その光心線11をかしめ52が形成されたプーリングアイ50の外周面に固定する。
こうして、比較例2の光ケーブルの端末構造を組み上げた。
これは、実施例1および実施例2のように、その軸心に沿う一筋のテンションメンバ挿入孔21を有するプーリングアイ20であれば、光ケーブル10に対して比較的細い形状とすることができ、光ケーブルの端末構造1を小型化することが可能になっていることによる。
これに対し、比較例1および比較例2のように、2本のテンションメンバ15と同じ間隔をあけた二筋のテンションメンバ挿入孔(41、51)を有するプーリングアイ(40、50)では、光ケーブル10に対して比較的太い形状になってしまうので、光ケーブルの端末構造の小型化に限界がある。
これは、実施例1および実施例2のように、その軸心に沿う一筋のテンションメンバ挿入孔21に挿入された牽引束(テンションメンバ15)に対して圧力が集中するように、プーリングアイ20の外周からほぼ均等に加圧が施されたかしめ22が形成されていることによる。
これに対し、比較例1のように、プーリングアイ40の軸心から外側にずれた位置にあるテンションメンバ挿入孔41に挿入されたテンションメンバ15には、かしめ42を形成する際の加圧力を集中させることができず、テンションメンバとプーリングアイの固着力を実施例の端末構造ほど強くすることができなかったためである。
また、比較例2の場合、テンションメンバ挿入孔51に挿入されたテンションメンバ15に対してかしめ52を形成する際の加圧力を、比較例1よりも集中させることができるが、隣り合うかしめ52の加圧方向が同じであるため、実施例1および実施例2よりも劣る結果となった。
例えば、図9(a)に示すように、ケーブル断面中心よりも外側の外被14に8本のテンションメンバ15がケーブルの長手方向と平行に埋設されている光ケーブル10aと、プーリングアイ20とを固着してなる光ケーブルの端末構造1であってもよい。
この光ケーブル10aは、例えば、12枚の光心線11が積層された光心線積層体をケーブルの中心部に備え、その光心線11の周囲に、例えば、4本の巻き付け材12を螺旋状に巻回してなる緩衝層が設けられ、その緩衝層(巻き付け材12)の外側に押出成形により形成された外被14が設けられており、その外被14に8本のテンションメンバ15が埋設されている。
そして、図9(b)に示すように、光ケーブル10aの端末から所定長の外被14を剥ぎ取り、露出された8本のテンションメンバ15をケーブル断面中心に相当する位置で撚り合わせて束ねた牽引束15bを、プーリングアイ20のテンションメンバ挿入孔21に挿入し、そのプーリングアイ20にかしめ22を形成するようにすればよい。
また、実施形態1と同様に、緩衝層(巻き付け材12)等を外被切断箇所と同じ位置にて切断して露出されている光心線11を6枚ずつの2束に分割したものを、プーリングアイ20の外周面に沿わせ、その光心線11の上から被せた円筒状の熱収縮チューブ30を加熱して収縮させることによって、プーリングアイ20と熱収縮チューブ30の間に光心線11を挟み込み、その光心線11をかしめ22が形成されたプーリングアイ20の外周面に固定することで、光ケーブルの端末構造1を組み上げることができる。
10、10a 光ケーブル
11 光心線
12 巻き付け材
13 押え巻きテープ
14 外被
15 テンションメンバ
15a、15b 牽引束
16 引裂紐
20 プーリングアイ
21 テンションメンバ挿入孔
22 かしめ
30 熱収縮チューブ
Claims (5)
- ケーブル断面中心よりも外側に複数のテンションメンバを備えた光ケーブルの端末に、テンションメンバ挿入孔を有するプーリングアイが固着された光ケーブルの端末構造であって、
前記光ケーブルの端末から所定長露出された前記複数のテンションメンバを前記ケーブル断面中心に相当する位置で束ねてなる牽引束が、前記テンションメンバ挿入孔に挿入されている前記プーリングアイを所定方向に加圧したかしめによって、前記複数のテンションメンバと前記プーリングアイが固着されていることを特徴とする光ケーブルの端末構造。 - 前記光ケーブルは光心線を備えており、前記光ケーブルの端末から所定長露出された前記光心線が、前記かしめが形成された前記プーリングアイの外周に固定されていることを特徴とする請求項1に記載の光ケーブルの端末構造。
- 前記牽引束は、前記複数のテンションメンバが並行して引き揃えられて束ねられていることを特徴とする請求項1又は2に記載の光ケーブルの端末構造。
- 前記牽引束は、前記複数のテンションメンバが撚り合わされて束ねられていることを特徴とする請求項1又は2に記載の光ケーブルの端末構造。
- 前記プーリングアイには複数のかしめが形成されており、少なくとも隣り合うかしめの加圧方向がそれぞれ異なっていることを特徴とする請求項1〜4の何れか一項に記載の光ケーブルの端末構造。
Priority Applications (1)
| Application Number | Priority Date | Filing Date | Title |
|---|---|---|---|
| JP2011110914A JP5416167B2 (ja) | 2011-05-18 | 2011-05-18 | 光ケーブルの端末構造 |
Applications Claiming Priority (1)
| Application Number | Priority Date | Filing Date | Title |
|---|---|---|---|
| JP2011110914A JP5416167B2 (ja) | 2011-05-18 | 2011-05-18 | 光ケーブルの端末構造 |
Publications (2)
| Publication Number | Publication Date |
|---|---|
| JP2012242527A true JP2012242527A (ja) | 2012-12-10 |
| JP5416167B2 JP5416167B2 (ja) | 2014-02-12 |
Family
ID=47464320
Family Applications (1)
| Application Number | Title | Priority Date | Filing Date |
|---|---|---|---|
| JP2011110914A Active JP5416167B2 (ja) | 2011-05-18 | 2011-05-18 | 光ケーブルの端末構造 |
Country Status (1)
| Country | Link |
|---|---|
| JP (1) | JP5416167B2 (ja) |
Cited By (1)
| Publication number | Priority date | Publication date | Assignee | Title |
|---|---|---|---|---|
| JP2013183479A (ja) * | 2012-02-29 | 2013-09-12 | Sumitomo Electric Ind Ltd | ケーブル牽引用治具 |
Citations (3)
| Publication number | Priority date | Publication date | Assignee | Title |
|---|---|---|---|---|
| JPH09243889A (ja) * | 1996-03-08 | 1997-09-19 | Fujikura Ltd | 光ファイバケーブルの牽引端末の構成方法および光ファイバケーブル用牽引端末 |
| JPH1062667A (ja) * | 1996-08-20 | 1998-03-06 | Furukawa Electric Co Ltd:The | 光ケーブルの端末構造 |
| JP2010217316A (ja) * | 2009-03-13 | 2010-09-30 | Fujikura Ltd | ケーブル牽引端末構造及び光ケーブル |
-
2011
- 2011-05-18 JP JP2011110914A patent/JP5416167B2/ja active Active
Patent Citations (3)
| Publication number | Priority date | Publication date | Assignee | Title |
|---|---|---|---|---|
| JPH09243889A (ja) * | 1996-03-08 | 1997-09-19 | Fujikura Ltd | 光ファイバケーブルの牽引端末の構成方法および光ファイバケーブル用牽引端末 |
| JPH1062667A (ja) * | 1996-08-20 | 1998-03-06 | Furukawa Electric Co Ltd:The | 光ケーブルの端末構造 |
| JP2010217316A (ja) * | 2009-03-13 | 2010-09-30 | Fujikura Ltd | ケーブル牽引端末構造及び光ケーブル |
Cited By (1)
| Publication number | Priority date | Publication date | Assignee | Title |
|---|---|---|---|---|
| JP2013183479A (ja) * | 2012-02-29 | 2013-09-12 | Sumitomo Electric Ind Ltd | ケーブル牽引用治具 |
Also Published As
| Publication number | Publication date |
|---|---|
| JP5416167B2 (ja) | 2014-02-12 |
Similar Documents
| Publication | Publication Date | Title |
|---|---|---|
| KR102026037B1 (ko) | 광 케이블 | |
| EP2409190B1 (en) | Optical cable with improved strippability | |
| JP4055000B2 (ja) | 光ファイバケーブル、光ファイバケーブルの製造方法及び光ファイバケーブルの製造装置 | |
| JPWO2018092880A1 (ja) | 光ファイバケーブルおよび光ファイバケーブルの製造方法 | |
| JP2010217392A (ja) | 光ファイバケーブル | |
| JP2020024257A (ja) | 光ファイバテープ心線、光ファイバケーブル、および光ファイバテープ心線の融着接続方法 | |
| JP2003070143A (ja) | 外装ケーブルの外装線の端末部引留め装置 | |
| JP2014106380A (ja) | 光ファイバケーブル及びその製造方法並びにその製造装置 | |
| JP2009104069A (ja) | 光コネクタ用固定部材及び光コネクタの取付方法 | |
| JP5158893B2 (ja) | 光ファイバユニット及び光ファイバケーブル | |
| JP7134861B2 (ja) | 光ファイバケーブルおよび光ファイバケーブルの製造方法 | |
| JP5416167B2 (ja) | 光ケーブルの端末構造 | |
| CN109597171B (zh) | 一种线缆分线器及使用该分线器的线缆分线压接结构 | |
| US7149392B2 (en) | Round multi-fiber cable assembly and a method of forming same | |
| JP2010026196A (ja) | 光ファイバユニット | |
| JP4087579B2 (ja) | 光ファイバーケーブルの端末構造および光ファイバーケーブル端末部の製造方法 | |
| JP2019090928A (ja) | 光コード、抗張力体付き光ファイバテープ、及び抗張力体付き光ファイバテープの製造方法 | |
| JP6413593B2 (ja) | 光ファイバケーブル | |
| WO2013065625A1 (ja) | 自己支持型光ファイバケーブル及びその中間後分岐方法 | |
| JP2593196Y2 (ja) | ケーブルグリップ | |
| JP6374208B2 (ja) | 光ファイバケーブル | |
| CN113484963B (zh) | 光纤存余长方法及光纤连接器安装方法 | |
| JP3691762B2 (ja) | メタルワイヤ/光ファイバ複合ケーブル | |
| JP4728529B2 (ja) | 光ファイバケーブル | |
| JPH09105821A (ja) | 光ファイバケーブルの端末処理構造 |
Legal Events
| Date | Code | Title | Description |
|---|---|---|---|
| A621 | Written request for application examination |
Free format text: JAPANESE INTERMEDIATE CODE: A621 Effective date: 20121022 |
|
| A131 | Notification of reasons for refusal |
Free format text: JAPANESE INTERMEDIATE CODE: A131 Effective date: 20130514 |
|
| A977 | Report on retrieval |
Free format text: JAPANESE INTERMEDIATE CODE: A971007 Effective date: 20130515 |
|
| A521 | Request for written amendment filed |
Free format text: JAPANESE INTERMEDIATE CODE: A523 Effective date: 20130709 |
|
| A131 | Notification of reasons for refusal |
Free format text: JAPANESE INTERMEDIATE CODE: A131 Effective date: 20130730 |
|
| A521 | Request for written amendment filed |
Free format text: JAPANESE INTERMEDIATE CODE: A523 Effective date: 20130930 |
|
| TRDD | Decision of grant or rejection written | ||
| A01 | Written decision to grant a patent or to grant a registration (utility model) |
Free format text: JAPANESE INTERMEDIATE CODE: A01 Effective date: 20131022 |
|
| A61 | First payment of annual fees (during grant procedure) |
Free format text: JAPANESE INTERMEDIATE CODE: A61 Effective date: 20131114 |
|
| R151 | Written notification of patent or utility model registration |
Ref document number: 5416167 Country of ref document: JP Free format text: JAPANESE INTERMEDIATE CODE: R151 |
|
| R250 | Receipt of annual fees |
Free format text: JAPANESE INTERMEDIATE CODE: R250 |
|
| R250 | Receipt of annual fees |
Free format text: JAPANESE INTERMEDIATE CODE: R250 |
|
| R250 | Receipt of annual fees |
Free format text: JAPANESE INTERMEDIATE CODE: R250 |
|
| R250 | Receipt of annual fees |
Free format text: JAPANESE INTERMEDIATE CODE: R250 |
|
| R250 | Receipt of annual fees |
Free format text: JAPANESE INTERMEDIATE CODE: R250 |
|
| S111 | Request for change of ownership or part of ownership |
Free format text: JAPANESE INTERMEDIATE CODE: R313117 |
|
| R370 | Written measure of declining of transfer procedure |
Free format text: JAPANESE INTERMEDIATE CODE: R370 |
|
| S531 | Written request for registration of change of domicile |
Free format text: JAPANESE INTERMEDIATE CODE: R313531 |
|
| R350 | Written notification of registration of transfer |
Free format text: JAPANESE INTERMEDIATE CODE: R350 |
|
| S531 | Written request for registration of change of domicile |
Free format text: JAPANESE INTERMEDIATE CODE: R313531 |
|
| R350 | Written notification of registration of transfer |
Free format text: JAPANESE INTERMEDIATE CODE: R350 |
|
| S111 | Request for change of ownership or part of ownership |
Free format text: JAPANESE INTERMEDIATE CODE: R313117 |
|
| R350 | Written notification of registration of transfer |
Free format text: JAPANESE INTERMEDIATE CODE: R350 |
|
| S533 | Written request for registration of change of name |
Free format text: JAPANESE INTERMEDIATE CODE: R313533 |
|
| R350 | Written notification of registration of transfer |
Free format text: JAPANESE INTERMEDIATE CODE: R350 |
