JP2012217536A - Active species generating unit - Google Patents

Active species generating unit Download PDF

Info

Publication number
JP2012217536A
JP2012217536A JP2011084290A JP2011084290A JP2012217536A JP 2012217536 A JP2012217536 A JP 2012217536A JP 2011084290 A JP2011084290 A JP 2011084290A JP 2011084290 A JP2011084290 A JP 2011084290A JP 2012217536 A JP2012217536 A JP 2012217536A
Authority
JP
Japan
Prior art keywords
discharge electrode
insulating substrate
active species
discharge
electrode
Prior art date
Legal status (The legal status is an assumption and is not a legal conclusion. Google has not performed a legal analysis and makes no representation as to the accuracy of the status listed.)
Granted
Application number
JP2011084290A
Other languages
Japanese (ja)
Other versions
JP5810259B2 (en
Inventor
Jun Inagaki
純 稲垣
Fumiko Tanaka
史子 田中
Miyuki Otomo
みゆき 大友
Akira Kato
亮 加藤
Current Assignee (The listed assignees may be inaccurate. Google has not performed a legal analysis and makes no representation or warranty as to the accuracy of the list.)
Panasonic Corp
Original Assignee
Panasonic Corp
Priority date (The priority date is an assumption and is not a legal conclusion. Google has not performed a legal analysis and makes no representation as to the accuracy of the date listed.)
Filing date
Publication date
Application filed by Panasonic Corp filed Critical Panasonic Corp
Priority to JP2011084290A priority Critical patent/JP5810259B2/en
Priority to PCT/JP2012/000952 priority patent/WO2012114674A1/en
Priority to CN201280010048.XA priority patent/CN103402553B/en
Publication of JP2012217536A publication Critical patent/JP2012217536A/en
Application granted granted Critical
Publication of JP5810259B2 publication Critical patent/JP5810259B2/en
Active legal-status Critical Current
Anticipated expiration legal-status Critical

Links

Images

Landscapes

  • Disinfection, Sterilisation Or Deodorisation Of Air (AREA)
  • Physical Or Chemical Processes And Apparatus (AREA)
  • Apparatus For Disinfection Or Sterilisation (AREA)

Abstract

【課題】本発明は、放電電極の広い範囲から分散して放電するため、放電電極での劣化を抑制することができ、結果として活性種が安定して発生するようにすることを目的とするものである。
【解決手段】本体ケース6と、本体ケース6内に設けられた平板形状の絶縁性基板16と、絶縁性基板16の一方面に対向して配置された棒形状の放電電極17と、絶縁性基板16に接する対向電極19と、放電電極17と対向電極19とに電圧を印加する電源20とを設け、絶縁性基板16は孔部21を有し、この孔部21の内面と絶縁性基板16の一方面表面とに水分を吸着する吸着手段18を備え、放電電極17の先端は、孔部21の内方略中央に位置する構成とした。
【選択図】図2
An object of the present invention is to disperse and discharge from a wide range of discharge electrodes, so that deterioration of the discharge electrodes can be suppressed, and as a result, active species are stably generated. Is.
A main body case, a flat plate-shaped insulating substrate provided in the main body case, a rod-shaped discharge electrode disposed opposite to one surface of the insulating substrate, and an insulating property. A counter electrode 19 in contact with the substrate 16 and a power source 20 for applying a voltage to the discharge electrode 17 and the counter electrode 19 are provided. The insulating substrate 16 has a hole 21, and the inner surface of the hole 21 and the insulating substrate Adsorbing means 18 that adsorbs moisture is provided on one surface of 16, and the tip of the discharge electrode 17 is positioned approximately in the center of the hole 21.
[Selection] Figure 2

Description

本発明は、室内空間の除菌や脱臭等を行う活性種発生装置に関するものである。   The present invention relates to an active species generator that performs sterilization and deodorization of indoor spaces.

近年、空気中にラジカルなどの活性種を供給し、この活性種による清浄化作用により、この空気を清浄化する活性種発生装置が開発されている。   In recent years, active species generators have been developed that supply active species such as radicals into the air and purify the air by the cleaning action of the active species.

従来のこの種、活性種発生装置は、本体ケースと、放電電極と、この放電電極に対向する対向電極と、これらの放電電極と対向電極とに電圧を印加する電源と、対向電極の表面に設けた吸着手段とを備えた構成であった(例えば特許文献1参照)。   This kind of active species generating device has a main body case, a discharge electrode, a counter electrode opposite to the discharge electrode, a power source for applying a voltage to the discharge electrode and the counter electrode, and a surface of the counter electrode. It was the structure provided with the provided adsorption | suction means (for example, refer patent document 1).

特開2006−320613号公報JP 2006-320613 A

上記従来の活性種発生装置では、放電電極と対向電極間に電圧を印加することで、コロナ放電を行わせ、これによって吸着手段に吸着した水分を分解し、活性種を発生させるようになっていた。   In the above-described conventional active species generator, a voltage is applied between the discharge electrode and the counter electrode to cause corona discharge, thereby decomposing moisture adsorbed on the adsorption means and generating active species. It was.

このような構成において、コロナ放電によって放電電極と対向電極間に流れる電流は、放電電極から導電体である対向電極への最短経路に流れ易いので、放電電極近傍の狭い範囲の吸着手段に集中して電子が流れる傾向があった。つまり、吸着手段の狭い範囲に電流が集中することにより、放電電極の放電部分も、同様に放電電極の狭い範囲から集中して放電されるものであった。   In such a configuration, the current flowing between the discharge electrode and the counter electrode due to corona discharge tends to flow in the shortest path from the discharge electrode to the counter electrode, which is a conductor, and therefore concentrates on a narrow range of adsorption means near the discharge electrode. There was a tendency for electrons to flow. That is, when the current concentrates in a narrow range of the adsorption means, the discharge portion of the discharge electrode is similarly concentrated and discharged from the narrow range of the discharge electrode.

しかしながら、放電電極の狭い範囲から集中して放電されるので、この放電部分が劣化し、その結果として活性種の発生が不安定になってしまう課題があった。   However, since discharge is concentrated from a narrow range of the discharge electrode, the discharge portion is deteriorated, and as a result, the generation of active species becomes unstable.

そこで、本発明は、活性種を安定して発生させることを目的とするものである。   Therefore, an object of the present invention is to stably generate active species.

そして、この目的を達成するために本発明は、本体ケースと、前記本体ケース内に設けられた平板形状の絶縁性基板と、前記絶縁性基板の一方面に対向して配置された棒形状の放電電極と、前記絶縁性基板に接する対向電極と、前記放電電極と前記対向電極とに電圧を印加する電源とを設け、前記絶縁性基板は孔部を有し、この孔部の内面と前記絶縁性基板の一方面表面とに水分を吸着する吸着手段を備え、前記放電電極の先端は、前記孔部の内方略中央に位置する構成とし、これにより所期の目的を達成するものである。   In order to achieve this object, the present invention provides a main body case, a flat plate-shaped insulating substrate provided in the main body case, and a rod-shaped member disposed to face one surface of the insulating substrate. A discharge electrode; a counter electrode in contact with the insulating substrate; and a power source for applying a voltage to the discharge electrode and the counter electrode. The insulating substrate has a hole, and the inner surface of the hole and the Adsorbing means for adsorbing moisture on one surface of the insulating substrate is provided, and the tip of the discharge electrode is positioned approximately in the center of the hole, thereby achieving the intended purpose. .

以上のように本発明は、本体ケースと、前記本体ケース内に設けられた平板形状の絶縁性基板と、前記絶縁性基板の一方面に対向して配置された棒形状の放電電極と、前記絶縁性基板に接する対向電極と、前記放電電極と前記対向電極とに電圧を印加する電源とを設け、前記絶縁性基板は孔部を有し、この孔部の内面と前記絶縁性基板の一方面表面とに水分を吸着する吸着手段を備え、前記放電電極の先端は、前記孔部の内方略中央に位置する構成としたものであるので、活性種を安定して発生させることができる。   As described above, the present invention includes a main body case, a flat plate-shaped insulating substrate provided in the main body case, a rod-shaped discharge electrode disposed to face one surface of the insulating substrate, A counter electrode in contact with the insulating substrate and a power source for applying a voltage to the discharge electrode and the counter electrode are provided. The insulating substrate has a hole, and an inner surface of the hole and one of the insulating substrates An adsorption means for adsorbing moisture is provided on the surface of the surface, and the tip of the discharge electrode is positioned approximately in the center of the hole, so that active species can be stably generated.

すなわち、本発明においては、絶縁性基板の孔部の内面と、絶縁性基板の一方面表面とに吸着手段を備え、放電電極の先端が、孔部の内方略中央に位置することにより、放電電極と対向電極間に高電圧が印加された場合に、放電電極と対向電極間を流れる電流は、放電電極から絶縁性基板に設けた放電電極の周囲に位置する吸着手段を流れた後に、対向電極へと到達することになる。   That is, in the present invention, the inner surface of the hole portion of the insulating substrate and the one surface surface of the insulating substrate are provided with adsorption means, and the tip of the discharge electrode is positioned approximately in the center of the hole portion. When a high voltage is applied between the electrode and the counter electrode, the current flowing between the discharge electrode and the counter electrode flows through the adsorption means located around the discharge electrode provided on the insulating substrate from the discharge electrode, Will reach the electrode.

つまり、放電電極の周囲に吸着手段が位置するので、吸着手段の広い範囲に電流が分散することになり、放電電極の放電部分も、同様に放電電極の広い範囲から分散して放電するため、放電電極での劣化を抑制することができ、結果として活性種を安定して発生させることができるものである。   In other words, since the suction means is located around the discharge electrode, the current is dispersed over a wide range of the suction means, and the discharge portion of the discharge electrode is similarly dispersed and discharged from the wide range of the discharge electrode. Deterioration at the discharge electrode can be suppressed, and as a result, active species can be stably generated.

本発明の実施の形態1における活性種発生装置を設置する屋内の斜視図1 is a perspective view of an indoor area where an active species generator according to Embodiment 1 of the present invention is installed. 同活性種発生装置の断面図Cross section of the active species generator 同活性種発生装置の断面図Cross section of the active species generator 同活性種発生装置における絶縁性基板および吸着手段部分の側断面図Side sectional view of insulating substrate and adsorption means in the same active species generator 同活性種発生装置における絶縁性基板、吸着手段、放電電極、対向電極、支持部材を示す側断面図Side sectional view showing insulating substrate, adsorption means, discharge electrode, counter electrode, and support member in the same active species generator 同活性種発生装置における絶縁性基板、放電電極、支持部材を示す斜視図A perspective view showing an insulating substrate, a discharge electrode, and a support member in the active species generator 絶縁性基板、対向電極、支持部材の構成を示す展開図Development view showing configurations of insulating substrate, counter electrode, and support member 絶縁性基板を対向電極側から見たときの平面図Top view when the insulating substrate is viewed from the counter electrode side 同活性種発生装置におけるプラスコロナ放電の概念を示す図Diagram showing the concept of positive corona discharge in the same active species generator 同活性種発生装置におけるマイナスコロナ放電の概念を示す図The figure which shows the concept of the minus corona discharge in the same activated species generator

(実施の形態1)
以下、本発明の実施の形態について、図面を参照しながら説明する。
(Embodiment 1)
Hereinafter, embodiments of the present invention will be described with reference to the drawings.

図1に示すように、部屋1の床上2には、活性種発生装置3が配置されている。   As shown in FIG. 1, an active species generator 3 is arranged on the floor 2 of the room 1.

この活性種発生装置3は、部屋内の空気中にラジカルなどの活性種を供給することで、この活性種による清浄化作用により、空気を清浄化するものである。また、活性種を含む空気を衣類やカーテン等にあてることによって、衣類やカーテンの脱臭・除菌などの効果が期待できる。   The active species generator 3 supplies the active species such as radicals to the air in the room, and thereby cleans the air by the cleaning action of the active species. In addition, by applying air containing active species to clothes, curtains, etc., effects such as deodorization and sterilization of clothes and curtains can be expected.

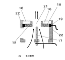
図2は、図1における活性種発生装置3の断面図を示している。図3は、図2とは部品配置が異なる活性種発生装置3の断面図を示している。   FIG. 2 shows a cross-sectional view of the active species generator 3 in FIG. FIG. 3 shows a cross-sectional view of the active species generator 3 having a different component arrangement from that of FIG.

活性種発生装置3は、吸気口4と排気口5を有する本体ケース6と、この本体ケース6内には、送風手段7と、活性種発生手段8とを備えている。   The active species generator 3 includes a main body case 6 having an intake port 4 and an exhaust port 5, and a blower unit 7 and an active species generation unit 8 in the main body case 6.

本体ケース6は、略中央に位置する仕切板部9によって、吸気口4と排気口5とを連通する風路部10と、空間部11とに分けられている。   The main body case 6 is divided into an air passage portion 10 that communicates the intake port 4 and the exhaust port 5 and a space portion 11 by a partition plate portion 9 that is positioned substantially in the center.

送風手段7は、本体ケース6の仕切板部9に固定された電動機12と、この電動機12によって回転する羽根部13と、この羽根部13を囲むケーシング部14とから形成している。ケーシング部14の吸込口15は、本体ケース6の吸気口4に対向している。送風手段7によって、吸気口4から吸い込んだ空気は、活性種発生手段8の一部を介して、排気口5へ送風されるものである。   The air blowing means 7 is formed of an electric motor 12 fixed to the partition plate portion 9 of the main body case 6, a blade portion 13 rotated by the electric motor 12, and a casing portion 14 surrounding the blade portion 13. The suction port 15 of the casing part 14 faces the intake port 4 of the main body case 6. The air sucked from the intake port 4 by the blowing unit 7 is blown to the exhaust port 5 through a part of the active species generating unit 8.

活性種発生手段8は、絶縁性基板16と、この絶縁性基板16に対向して配置された放電電極17と、絶縁性基板16に接する吸着手段18と、対向電極19と、電源20とから形成している。   The active species generating means 8 includes an insulating substrate 16, a discharge electrode 17 disposed opposite to the insulating substrate 16, an adsorption means 18 in contact with the insulating substrate 16, a counter electrode 19, and a power source 20. Forming.

絶縁性基板16は、平板形状で略中央に開口である孔部21を有し、絶縁性基板16の端部が支持部材22を介して本体ケースの仕切板部9に固定されている。図2の部品配置では、送風手段7によって、吸気口4から吸い込んだ空気の一部は、放電電極17の周囲を通り、孔部21を介して、排気口5へ送風されるものである。図3の部品配置では、孔部21は、本体ケース6の排気口5に対向しており、送風手段7によって、吸気口4から吸い込んだ空気の一部は、放電電極17の周囲を通り、孔部21を介して、排気口5へ送風されるものである。絶縁性基板16は、セラミック基板であっても、フッ素などの樹脂基板であっても良い。セラミック基板として、シリカ、アルミ、マグネシウムのうちいずれか1つを含む基板であっても、アルミナ基板であっても良い。オゾンやラジカルで腐食されにくい無機系のものあるいはフッ素樹脂であれば良いためである。絶縁性基板16の表面抵抗は、1010Ω/□以上であることが望ましい。 The insulative substrate 16 has a flat plate-like hole 21 that is open at substantially the center, and the end of the insulative substrate 16 is fixed to the partition plate portion 9 of the main body case via the support member 22. In the component arrangement of FIG. 2, a part of the air sucked from the intake port 4 by the blower 7 passes through the periphery of the discharge electrode 17 and is blown to the exhaust port 5 through the hole 21. In the component arrangement of FIG. 3, the hole portion 21 faces the exhaust port 5 of the main body case 6, and a part of the air sucked from the intake port 4 by the air blowing means 7 passes around the discharge electrode 17, The air is sent to the exhaust port 5 through the hole 21. The insulating substrate 16 may be a ceramic substrate or a resin substrate such as fluorine. The ceramic substrate may be a substrate containing any one of silica, aluminum, and magnesium, or an alumina substrate. This is because an inorganic material or a fluororesin that is not easily corroded by ozone or radicals may be used. The surface resistance of the insulating substrate 16 is desirably 10 10 Ω / □ or more.

放電電極17は、棒形状で、絶縁性基板16の一方面、および孔部21に対向し、絶縁性基板16の風上側に配置されている。図3の配置では、棒形状の放電電極17は、送風手段7によって送風される空気の送風方向と平行に延びている。そして、放電電極17の先端は、絶縁性基板16から数ミリメートル〜数十ミリメートル程度の所定距離を隔てて、孔部21の内方略中央に位置するものである。放電電極17の材質は、コロナ放電をさせるSUSなどのステンレスやタングステンなどである。   The discharge electrode 17 has a rod shape, faces one side of the insulating substrate 16 and the hole 21, and is disposed on the windward side of the insulating substrate 16. In the arrangement of FIG. 3, the rod-shaped discharge electrode 17 extends in parallel with the blowing direction of the air blown by the blowing means 7. The tip of the discharge electrode 17 is located approximately inward of the hole 21 at a predetermined distance of several millimeters to several tens of millimeters from the insulating substrate 16. The material of the discharge electrode 17 is stainless steel such as SUS that causes corona discharge, tungsten, or the like.

対向電極19は、SUSなどのステンレス、アルミ、金、銀、銅などで形成され、絶縁性基板16の周縁部に固定されている。なお、これらに限られること無く、導電性の素材であれば良い。対向電極19の表面抵抗は、10-1Ω/□以下であることが望ましい。 The counter electrode 19 is formed of stainless steel such as SUS, aluminum, gold, silver, copper, or the like, and is fixed to the peripheral edge of the insulating substrate 16. In addition, it is not restricted to these, What is necessary is just a conductive material. The surface resistance of the counter electrode 19 is desirably 10 −1 Ω / □ or less.

電源20は、本体ケース6の空間部11に位置し、放電電極17と、対向電極19とに、電圧を印加するものである。   The power source 20 is located in the space 11 of the main body case 6 and applies a voltage to the discharge electrode 17 and the counter electrode 19.

吸着手段18は、絶縁性基板16の一方面側の表面、つまり、絶縁性基板16の風上側の面と、孔部21の内面とに設けられ、対向電極19と接している。吸着手段18の表面抵抗は、106から1010Ω/□であることが望ましい。 The suction means 18 is provided on the surface on one side of the insulating substrate 16, that is, on the windward surface of the insulating substrate 16 and the inner surface of the hole 21, and is in contact with the counter electrode 19. The surface resistance of the suction means 18 is preferably 10 6 to 10 10 Ω / □.

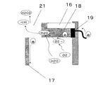
図4、図5、図6、図7および図8を用いて説明する。図4は、絶縁性基板16および吸着手段18部分の側断面図である。図5は、図3の部品配置における絶縁性基板16、吸着手段18、放電電極17、対向電極19、支持部材22を示す側断面図である。図6は、絶縁性基板16、放電電極17、支持部材22を示す斜視図である。図7は、絶縁性基板16、放電電極17、対向電極19、支持部材22の構成を示す展開図である。図8は、絶縁性基板16を放電電極17側から見たときの平面図である。   This will be described with reference to FIGS. 4, 5, 6, 7 and 8. FIG. 4 is a sectional side view of the insulating substrate 16 and the suction means 18. FIG. 5 is a side sectional view showing the insulating substrate 16, the suction means 18, the discharge electrode 17, the counter electrode 19, and the support member 22 in the component arrangement of FIG. 3. FIG. 6 is a perspective view showing the insulating substrate 16, the discharge electrode 17, and the support member 22. FIG. 7 is a development view showing the configuration of the insulating substrate 16, the discharge electrode 17, the counter electrode 19, and the support member 22. FIG. 8 is a plan view of the insulating substrate 16 as viewed from the discharge electrode 17 side.

図4に示すように、吸着手段18は、絶縁性基板16の近傍の水分を吸着する吸着剤23と、この吸着剤23と絶縁性基板16を接着する接着剤24とから形成している。吸着剤23は、水を吸着する平均粒子径0.5マイクロメートルから数十マイクロメートル程度の粒子で、表面に細孔25を有しているゼオライトである。なお、吸着剤23としてゼオライトを例に挙げたが、吸着剤23は、ナノレベルの細孔25を有し、いわゆるKelvinの毛管凝縮現象により細孔内で水蒸気が凝縮し得るような細孔25を有する構造を有する多孔質構造体であれば、シリカ、ゼオライト、デシカイト、アロフィン、イモゴライトなどでも、これらのうちいずれか1つを含むものでも良い。また、粒子間の隙間を利用して水を吸着する、多孔質アルミナ、多孔質シリカ、多孔質チタニアであっても良い。なお、吸着剤23は、細孔25に空気中の水蒸気を吸着させるものであるが、細孔25が接着剤24の粒子で埋まりにくい平均粒子径であれば、空気中の水蒸気を吸着することができる。なお、吸着剤23は接着剤24よりも平均粒子径が大きいものであっても良い。   As shown in FIG. 4, the adsorbing means 18 is formed of an adsorbent 23 that adsorbs moisture in the vicinity of the insulating substrate 16 and an adhesive 24 that adheres the adsorbent 23 and the insulating substrate 16. The adsorbent 23 is a zeolite having an average particle diameter of 0.5 to several tens of micrometers that adsorbs water and having pores 25 on the surface. In addition, although the zeolite was mentioned as an example as the adsorbent 23, the adsorbent 23 has nano-level pores 25, and the pores 25 in which water vapor can be condensed in the pores by the so-called Kelvin capillary condensation phenomenon. As long as it is a porous structure having a structure having any of the above, silica, zeolite, desiccite, allophane, imogolite, etc. may be included. Further, porous alumina, porous silica, or porous titania that adsorbs water by using gaps between particles may be used. The adsorbent 23 adsorbs water vapor in the air to the pores 25, but adsorbs water vapor in the air if the pores 25 have an average particle diameter that is difficult to be filled with the particles of the adhesive 24. Can do. The adsorbent 23 may have an average particle size larger than that of the adhesive 24.

接着剤24は、吸着剤23と、絶縁性基板16とを接着するコロイダルシリカである。なお、接着剤24は、ゼオライトなどの吸着剤23の平均粒子径より小さく、ゼオライトの表面に開いている細孔25よりも大きい平均粒子径であれば良い。また、細孔25を閉塞させなければ、接着剤24としてガラス粉や、シリケート化合物を用いてもよい。   The adhesive 24 is colloidal silica that adheres the adsorbent 23 and the insulating substrate 16. Note that the adhesive 24 may have an average particle size smaller than the average particle size of the adsorbent 23 such as zeolite and larger than the pores 25 opened on the surface of the zeolite. If the pores 25 are not blocked, glass powder or a silicate compound may be used as the adhesive 24.

ここで、図9のように、放電電極17にプラスの電圧を印加した場合について説明を行う。図9のように、この放電電極17に、電源20により放電電圧をプラス約3〜10kVで印加を行うと、放電電極17表面に強い電界が形成される。放電電極17にプラスの高電圧が印加されているため、空気中に存在する遊離電子が流れ込む。このとき、対向電極19は、マイナス状態となっているので、その結果、電子が移動することで、対向電極19から放電電極17へ電子が流れる。この状態がコロナ放電であって、このコロナ放電の力で後述のごとく、OHラジカル(活性種の一例)が発生する。   Here, a case where a positive voltage is applied to the discharge electrode 17 as shown in FIG. 9 will be described. As shown in FIG. 9, when a discharge voltage is applied to the discharge electrode 17 by the power source 20 at about 3 to 10 kV plus, a strong electric field is formed on the surface of the discharge electrode 17. Since a positive high voltage is applied to the discharge electrode 17, free electrons existing in the air flow in. At this time, since the counter electrode 19 is in a minus state, electrons move from the counter electrode 19 to the discharge electrode 17 as a result of movement of the electrons. This state is corona discharge, and OH radicals (an example of active species) are generated by the corona discharge force as described later.

更に詳細に説明すると、セラミック製の絶縁性基板16と吸着剤23は、接着剤24により接着されている。吸着剤23の表面はナノレベルの細孔25を有し、空気中の水分は、この細孔25内で水蒸気が凝縮することにより、水分を吸着することが知られている(Kelvinの毛管凝縮現象)。これにより、ゼオライトなどの吸着手段18に、空気中の水分が吸着され、電子が流れやすくなる。放電電極17にプラスの高電圧を印加してプラスコロナ放電を行うと、吸着剤23中の電子は、放電電極17に強い力で引き寄せられるため、電子が高速で移動する。電子が、吸着剤23の近くに有る酸素分子と衝突すると、酸素分子に電子が一つ増えた状態の酸素分子の陰イオンが発生する。その後、酸素分子陰イオンが、絶縁性基板16の表面に吸着された水分子と反応をすることで、OHラジカルなどの活性種を発生する。吸着した水分の周辺でコロナ放電が起こることにより、水分が電子と反応しやすくなるため、OHラジカルの発生をより行いやすくするものである。   More specifically, the ceramic insulating substrate 16 and the adsorbent 23 are bonded by an adhesive 24. It is known that the surface of the adsorbent 23 has nano-level pores 25, and moisture in the air adsorbs moisture by condensing water vapor in the pores 25 (Kelvin capillary condensation). phenomenon). As a result, moisture in the air is adsorbed on the adsorption means 18 such as zeolite, and electrons easily flow. When a positive high voltage is applied to the discharge electrode 17 to perform a positive corona discharge, the electrons in the adsorbent 23 are attracted to the discharge electrode 17 with a strong force, so that the electrons move at a high speed. When an electron collides with an oxygen molecule near the adsorbent 23, an anion of the oxygen molecule in a state where one electron is added to the oxygen molecule is generated. Thereafter, oxygen molecule anions react with water molecules adsorbed on the surface of the insulating substrate 16 to generate active species such as OH radicals. Since corona discharge occurs around the adsorbed moisture, the moisture easily reacts with the electrons, so that OH radicals can be more easily generated.

本実施形態における特徴は、絶縁性基板16の孔部21の内面と、絶縁性基板16の一方面表面とに吸着手段18を備え、放電電極17の先端が、孔部21の内方略中央に位置する点である。これにより、放電電極17と対向電極19間に高電圧が印加された場合に、放電電極17と対向電極19間を流れる電流は、放電電極17から絶縁性基板16に設けた放電電極17の周囲に位置する吸着手段18を流れた後に、対向電極19へと到達することになる。   A feature of the present embodiment is that the suction means 18 is provided on the inner surface of the hole 21 of the insulating substrate 16 and the one surface of the insulating substrate 16, and the tip of the discharge electrode 17 is located at the substantially inner center of the hole 21. It is a point to be located. Thereby, when a high voltage is applied between the discharge electrode 17 and the counter electrode 19, the current flowing between the discharge electrode 17 and the counter electrode 19 is changed from the discharge electrode 17 to the periphery of the discharge electrode 17 provided on the insulating substrate 16. After flowing through the suction means 18 located at, the counter electrode 19 is reached.

つまり、放電電極17を中心として円周方向の周囲に吸着手段18が位置するので、吸着手段18の広い範囲に電流が均一に分散することになり、広い範囲で均一に分散して放電するため、結果として活性種を安定して発生させることができるものである。また、円筒棒状の放電電極17の放電部分は、先端部の断面形状が円状になっているため 放電電極17を中心として円周方向に広い範囲に分散して放電が発生する。その結果、先端が鋭利な針状の放電電極を用いる場合に比べて、局所的な放電集中が起こりにくく、放電電極17の劣化を抑制することができ、結果として活性種を安定して発生させることができるものである。さらに、吸着手段18の広い範囲に電流が均一に分散するので、OHラジカルなどの活性種の発生量が増加するものである。   That is, since the suction means 18 is located around the discharge electrode 17 in the circumferential direction, the current is uniformly distributed over a wide range of the suction means 18, and the discharge is uniformly distributed over a wide range. As a result, active species can be stably generated. Further, the discharge portion of the cylindrical rod-shaped discharge electrode 17 has a circular cross-sectional shape at the tip portion, so that discharge is generated in a wide range in the circumferential direction around the discharge electrode 17. As a result, compared to the case where a needle-like discharge electrode having a sharp tip is used, local discharge concentration is less likely to occur, deterioration of the discharge electrode 17 can be suppressed, and active species are stably generated as a result. It is something that can be done. Furthermore, since the current is uniformly distributed over a wide range of the adsorption means 18, the amount of active species such as OH radicals generated increases.

なお、本実施の形態において放電電極17は、プラスに印加したものであるが、この放電電極17に印加する電圧はプラスであっても、マイナスであっても良い。   In this embodiment, the discharge electrode 17 is applied positively, but the voltage applied to the discharge electrode 17 may be positive or negative.

なお、本実施の形態では、絶縁性基板16の表面の一部に吸着手段18を有しているが、絶縁性基板16の表面の全部や、側面に吸着手段18を有していても良い。これにより、吸着手段18に吸着された水を効率的に分解することができる。   In the present embodiment, the suction means 18 is provided on a part of the surface of the insulating substrate 16. However, the suction means 18 may be provided on the entire surface of the insulating substrate 16 or on the side surface. . Thereby, the water adsorb | sucked by the adsorption | suction means 18 can be decomposed | disassembled efficiently.

また、放電電極17は単一の材料で形成したものである。これにより、めっき等の処理をした場合に比べ、放電電極17の耐久性の向上が図れるものである。   The discharge electrode 17 is formed of a single material. Thereby, the durability of the discharge electrode 17 can be improved as compared with the case where a treatment such as plating is performed.

また、放電電極17の先端の断面形状と、絶縁性基板16の孔部21の形状は、同種の形状である。具体的には、放電電極17の断面形状と、絶縁性基板16の孔部21の形状は、円形状である。   The cross-sectional shape at the tip of the discharge electrode 17 and the shape of the hole 21 of the insulating substrate 16 are the same type. Specifically, the cross-sectional shape of the discharge electrode 17 and the shape of the hole 21 of the insulating substrate 16 are circular.

すなわち、放電電極17の先端の周囲と、絶縁性基板16の孔部21との内面との距離が、均一になる。これにより、吸着手段18の広い範囲に電流が分散することになり、放電電極17の放電部分も、同様に放電電極17の広い範囲から分散して放電するため、放電電極17での劣化を抑制することができ、結果として活性種を安定して発生させることができるものである。   That is, the distance between the periphery of the tip of the discharge electrode 17 and the inner surface of the hole 21 of the insulating substrate 16 is uniform. As a result, the current is dispersed over a wide range of the suction means 18, and the discharge portion of the discharge electrode 17 is similarly dispersed and discharged from the wide range of the discharge electrode 17, thereby suppressing deterioration in the discharge electrode 17. As a result, active species can be stably generated.

また、放電電極17の先端が、絶縁性基板16における一方面側寄りに位置する構成としたものである。これにより、絶縁性基板16の孔部との内面に設けた吸着手段18全体の広い範囲に電流が分散し易くなるので、OHラジカルの発生量が増加するものである。図5の例では、吸着手段18を備えた面に放電電極17の先端を配置している。   In addition, the tip of the discharge electrode 17 is positioned closer to one side of the insulating substrate 16. As a result, the current is easily dispersed over a wide range of the entire adsorption means 18 provided on the inner surface of the insulating substrate 16 with respect to the hole, so that the amount of OH radicals generated is increased. In the example of FIG. 5, the tip of the discharge electrode 17 is disposed on the surface provided with the suction means 18.

また、放電電極17の先端と対向電極19との距離は、放電電極17の先端と吸着手段18との距離より長いものである。具体的には、放電電極17と対向電極19間を流れる電流は、例えば放電電極17から絶縁性基板16の孔部21の内面を覆う吸着手段18を流れた後に、続いて絶縁性基板16の一方面表面の吸着手段18を流れ、その後ようやく対向電極19へと到達することになり、つまり沿面距離が長いので、その結果として火花放電が起こらず、安全性の向上が図れるものである。   The distance between the tip of the discharge electrode 17 and the counter electrode 19 is longer than the distance between the tip of the discharge electrode 17 and the suction means 18. Specifically, the current flowing between the discharge electrode 17 and the counter electrode 19 flows, for example, from the discharge electrode 17 through the suction means 18 that covers the inner surface of the hole 21 of the insulating substrate 16, and then the current of the insulating substrate 16. On the other hand, it flows through the adsorption means 18 on the surface of the surface, and finally reaches the counter electrode 19, that is, the creeping distance is long. As a result, no spark discharge occurs, and safety can be improved.

また、対向電極19は、絶縁性基板16における一方面の裏側に位置する他方面、つまり、風下側面、又は絶縁性基板16における一方面と他方面との間の外周面に接して設けられているものであっても良い。これにより、放電電極17から流れる電子が、絶縁性基板16の表面を伝って流れる際に、電子の移動する距離である、いわゆる沿面距離が伸びることで、火花放電を起こりにくくなる。   The counter electrode 19 is provided in contact with the other surface located on the back side of one surface of the insulating substrate 16, that is, the outer surface between the one surface and the other surface of the insulating substrate 16. It may be. As a result, when electrons flowing from the discharge electrode 17 flow along the surface of the insulating substrate 16, a so-called creepage distance, which is a distance traveled by the electrons, is increased, so that spark discharge is less likely to occur.

なお、これに限られること無く、対向電極19を絶縁性基板16の表面に設ける場合には、十分な沿面距離を確保した状態で配置することが必要となる。   However, the present invention is not limited to this, and when the counter electrode 19 is provided on the surface of the insulating substrate 16, it is necessary to arrange the counter electrode 19 in a state in which a sufficient creeping distance is secured.

次に、図10のように、放電電極17にマイナスの電圧を印加した場合について説明を行う。放電電極17に、電源により放電電圧をマイナス約3〜10KVで印加を行うと、放電電極17表面に強い電界が形成される。放電電極17にマイナスの高電圧が印加されているため、空気中に遊離電子が放出される。対向電極19に接した絶縁性基板16は、プラス側となる。その結果、電子が移動することで、対向電極19から放電電極17へ電流が流れる。   Next, a case where a negative voltage is applied to the discharge electrode 17 as shown in FIG. 10 will be described. When a discharge voltage is applied to the discharge electrode 17 by a power supply at about minus 3 to 10 KV, a strong electric field is formed on the surface of the discharge electrode 17. Since a negative high voltage is applied to the discharge electrode 17, free electrons are released into the air. The insulating substrate 16 in contact with the counter electrode 19 is on the plus side. As a result, a current flows from the counter electrode 19 to the discharge electrode 17 as the electrons move.

図10の放電電極17から空気に放出された電子は、対向電極19の強い電界に強い力で引き寄せられるため、電子が高速で移動し、空気中の分子などと衝突する。このとき高速で移動している電子が、空気中の酸素分子と衝突するすると、酸素分子に電子が一つ増えた状態の酸素分子の陰イオンが発生する。その後、酸素分子陰イオンが、絶縁性基板の表面に吸着された水分子と反応をすることで、OHラジカルが発生する。   The electrons released from the discharge electrode 17 in FIG. 10 to the air are attracted to the strong electric field of the counter electrode 19 with a strong force, so that the electrons move at high speed and collide with molecules in the air. At this time, when electrons moving at high speed collide with oxygen molecules in the air, an oxygen molecule anion in which one electron is added to the oxygen molecule is generated. Thereafter, oxygen molecular anions react with water molecules adsorbed on the surface of the insulating substrate to generate OH radicals.

上記のようなマイナスに印加された放電電極17からの放電であるいわゆるマイナスコロナ放電を行うことにより、吸着手段18周辺の水分が電子と反応することにより、OHラジカルの発生をより行いやすくするものである。   By performing the so-called negative corona discharge, which is a discharge from the discharge electrode 17 applied to the negative as described above, moisture around the adsorption means 18 reacts with electrons, thereby making it easier to generate OH radicals. It is.

さらに、このように、放電電極17と対向電極19間に吸着手段18を介して面方向に電子が流れるため、沿面距離が長くなり、絶縁性基板16の表面を電流が伝って流れるものである。   Further, as described above, electrons flow in the surface direction between the discharge electrode 17 and the counter electrode 19 via the adsorption means 18, so that the creeping distance becomes long and current flows through the surface of the insulating substrate 16. .

以上、図9、図10のようにして発生したOHラジカル(活性種)は、図2または図3の送風手段7からの送風により、活性種発生装置3の排気口5から室内へ排出される。このOHラジカルを含む空気を部屋1内に供給することで、空気中の菌を不活化することができる。また、空気中の臭いを分解して取り除くことで、脱臭効果を発揮させることができる。   As described above, the OH radicals (active species) generated as shown in FIGS. 9 and 10 are discharged into the room from the exhaust port 5 of the active species generator 3 by the air blown from the air blowing means 7 in FIG. 2 or FIG. . By supplying the air containing the OH radicals into the room 1, the bacteria in the air can be inactivated. Moreover, the deodorizing effect can be exhibited by decomposing and removing the odor in the air.

以上のように本発明は、本体ケースと、前記本体ケース内に設けられた平板形状の絶縁性基板と、前記絶縁性基板の一方面に対向して配置された棒形状の放電電極と、前記絶縁性基板に接する対向電極と、前記放電電極と前記対向電極とに電圧を印加する電源とを設け、前記絶縁性基板は孔部を有し、この孔部の内面と前記絶縁性基板の一方面表面とに水分を吸着する吸着手段を備え、前記放電電極の先端は、前記孔部の内方略中央に位置する構成としたものであるので、活性種が安定して発生するようにすることができる。   As described above, the present invention includes a main body case, a flat plate-shaped insulating substrate provided in the main body case, a rod-shaped discharge electrode disposed to face one surface of the insulating substrate, A counter electrode in contact with the insulating substrate and a power source for applying a voltage to the discharge electrode and the counter electrode are provided. The insulating substrate has a hole, and an inner surface of the hole and one of the insulating substrates An adsorption means for adsorbing moisture is provided on the surface of the surface, and the tip of the discharge electrode is positioned approximately in the center of the hole, so that active species are stably generated. Can do.

すなわち、本発明においては、絶縁性基板の孔部の内面と、絶縁性基板の一方面表面とに吸着手段を備え、放電電極の先端が、孔部の内方略中央に位置することにより、放電電極と対向電極間に高電圧が印加された場合に、放電電極と対向電極間を流れる電流は、放電電極から絶縁性基板に設けた放電電極の周囲に位置する吸着手段を流れた後に、対向電極へと到達することになる。   That is, in the present invention, the inner surface of the hole portion of the insulating substrate and the one surface surface of the insulating substrate are provided with adsorption means, and the tip of the discharge electrode is positioned approximately in the center of the hole portion. When a high voltage is applied between the electrode and the counter electrode, the current flowing between the discharge electrode and the counter electrode flows through the adsorption means located around the discharge electrode provided on the insulating substrate from the discharge electrode, Will reach the electrode.

つまり、放電電極の周囲に吸着手段が位置するので、吸着手段の広い範囲に電流が分散することになり、放電電極の放電部分も、同様に放電電極の広い範囲から分散して放電するため、放電電極での劣化を抑制することができ、結果として活性種が安定して発生するようにすることができるものである。   In other words, since the suction means is located around the discharge electrode, the current is dispersed over a wide range of the suction means, and the discharge portion of the discharge electrode is similarly dispersed and discharged from the wide range of the discharge electrode. Deterioration at the discharge electrode can be suppressed, and as a result, active species can be stably generated.

したがって、空気清浄機としての活用が期待される。   Therefore, utilization as an air cleaner is expected.

1 部屋
2 床上
3 活性種発生装置
4 吸気口
5 排気口
6 本体ケース
7 送風手段
8 活性種発生手段
9 仕切板部
10 風路部
11 空間部
12 電動機
13 羽根部
14 ケーシング部
15 吸込口
16 絶縁性基板
17 放電電極
18 吸着手段
19 対向電極
20 電源
21 孔部
22 支持部材
23 吸着剤
24 接着剤
25 細孔
DESCRIPTION OF SYMBOLS 1 Room 2 On the floor 3 Active species generator 4 Intake port 5 Exhaust port 6 Main body case 7 Air blowing means 8 Active species generation means 9 Partition plate part 10 Air passage part 11 Space part 12 Electric motor 13 Blade part 14 Casing part 15 Inlet 16 Insulation Substrate 17 discharge electrode 18 adsorbing means 19 counter electrode 20 power source 21 hole 22 support member 23 adsorbent 24 adhesive 25 pore

Claims (6)

本体ケースと、
前記本体ケース内に設けられた平板形状の絶縁性基板と、
前記絶縁性基板の一方面に対向して配置された棒形状の放電電極と、
前記絶縁性基板に接する対向電極と、
前記放電電極と前記対向電極とに電圧を印加する電源とを設け、
前記絶縁性基板は孔部を有し、
この孔部の内面と前記絶縁性基板の一方面表面とに水分を吸着する吸着手段を備え、
前記放電電極の先端は、
前記孔部の内方略中央に位置する構成とした活性種発生装置。
A body case,
A flat plate-shaped insulating substrate provided in the main body case;
A rod-shaped discharge electrode disposed to face one surface of the insulating substrate;
A counter electrode in contact with the insulating substrate;
A power source for applying a voltage to the discharge electrode and the counter electrode;
The insulating substrate has a hole;
Adsorbing means for adsorbing moisture on the inner surface of the hole and one surface of the insulating substrate;
The tip of the discharge electrode is
An active species generator configured to be positioned substantially in the center of the hole.
前記放電電極は単一の材料で形成した請求項1に記載の活性種発生装置。 The active species generator according to claim 1, wherein the discharge electrode is formed of a single material. 前記放電電極の先端の断面形状と、
前記絶縁性基板の前記孔部の形状は、
同種の形状である請求項1または2に記載の活性種発生装置。
A cross-sectional shape of the tip of the discharge electrode;
The shape of the hole of the insulating substrate is
The active species generator according to claim 1 or 2, which has the same shape.
前記放電電極の断面形状と、
前記絶縁性基板の前記孔部の形状は、
円形状である請求項3に記載の活性種発生装置。
A cross-sectional shape of the discharge electrode;
The shape of the hole of the insulating substrate is
The active species generator according to claim 3, which has a circular shape.
前記放電電極の先端が、
前記絶縁性基板における一方面表面寄りに位置する構成としたことを特徴とする請求項1〜4のいずれか1つに記載の活性種発生装置。
The tip of the discharge electrode is
The active species generator according to any one of claims 1 to 4, wherein the active species generator is configured to be positioned closer to one surface of the insulating substrate.
前記放電電極の先端と前記対向電極との距離は、
前記放電電極の先端と前記吸着手段との距離より長いことを特徴とする請求項5に記載の活性種発生装置。
The distance between the tip of the discharge electrode and the counter electrode is
6. The active species generator according to claim 5, wherein the active species generator is longer than the distance between the tip of the discharge electrode and the adsorption means.
JP2011084290A 2011-02-22 2011-04-06 Active species generator Active JP5810259B2 (en)

Priority Applications (3)

Application Number Priority Date Filing Date Title
JP2011084290A JP5810259B2 (en) 2011-04-06 2011-04-06 Active species generator
PCT/JP2012/000952 WO2012114674A1 (en) 2011-02-22 2012-02-14 Active species generating unit and active species generating device
CN201280010048.XA CN103402553B (en) 2011-02-22 2012-02-14 Active species generating unit and active species generating device

Applications Claiming Priority (1)

Application Number Priority Date Filing Date Title
JP2011084290A JP5810259B2 (en) 2011-04-06 2011-04-06 Active species generator

Publications (2)

Publication Number Publication Date
JP2012217536A true JP2012217536A (en) 2012-11-12
JP5810259B2 JP5810259B2 (en) 2015-11-11

Family

ID=47269740

Family Applications (1)

Application Number Title Priority Date Filing Date
JP2011084290A Active JP5810259B2 (en) 2011-02-22 2011-04-06 Active species generator

Country Status (1)

Country Link
JP (1) JP5810259B2 (en)

Cited By (1)

* Cited by examiner, † Cited by third party
Publication number Priority date Publication date Assignee Title
KR20170030654A (en) 2012-12-27 2017-03-17 우시오덴키 가부시키가이샤 Desmearing method and desmearing device

Citations (3)

* Cited by examiner, † Cited by third party
Publication number Priority date Publication date Assignee Title
JPH08227789A (en) * 1995-02-22 1996-09-03 Midori Anzen Co Ltd Resin electrode
JP2005192822A (en) * 2004-01-08 2005-07-21 Matsushita Electric Ind Co Ltd Purification method and purification device
JP2006320613A (en) * 2005-05-20 2006-11-30 Mitsubishi Electric Corp Air purifier

Patent Citations (3)

* Cited by examiner, † Cited by third party
Publication number Priority date Publication date Assignee Title
JPH08227789A (en) * 1995-02-22 1996-09-03 Midori Anzen Co Ltd Resin electrode
JP2005192822A (en) * 2004-01-08 2005-07-21 Matsushita Electric Ind Co Ltd Purification method and purification device
JP2006320613A (en) * 2005-05-20 2006-11-30 Mitsubishi Electric Corp Air purifier

Cited By (2)

* Cited by examiner, † Cited by third party
Publication number Priority date Publication date Assignee Title
KR20170030654A (en) 2012-12-27 2017-03-17 우시오덴키 가부시키가이샤 Desmearing method and desmearing device
US11102889B2 (en) 2012-12-27 2021-08-24 Ushio Denki Kabushiki Kaisha Desmearing method and desmearing device

Also Published As

Publication number Publication date
JP5810259B2 (en) 2015-11-11

Similar Documents

Publication Publication Date Title
JP6581661B2 (en) Plasma source containing porous dielectric
CN102428034B (en) Discharge unit for liquid treatment, humidity control device, and warm water supplier
CN108097042A (en) A kind of ion field arrangement for catalytic purification and method
CN104415659A (en) Plasma-driven catalyst system for disinfection and purification of gases
KR20060071406A (en) Gas treatment equipment
JP2008289801A (en) Gas purification device
JP2015070921A (en) Deodorization device
CN103429276B (en) Spike generation unit and use its spike generator
JP2006280698A (en) Air purification device
JP6002934B2 (en) Discharge unit and air purifier using the same
JP5810259B2 (en) Active species generator
WO2012114674A1 (en) Active species generating unit and active species generating device
JP5873960B2 (en) Active species generator
JP5810260B2 (en) Active species generator
JP6641182B2 (en) Ion wind type liquid vaporizer and air conditioner
JP2014044888A (en) Discharge unit and air cleaning apparatus using the same
JP2015047173A (en) Deodorization sterilizer
JP2014121424A (en) Discharge unit and air cleaner using the same
WO2004023615A1 (en) Ion generating device, method for manufacturing ion generating device, ion generator having ion generating device, and electric apparatus having ion generator
JP2013000531A (en) Active species generation device
WO2014002453A1 (en) Electricity discharging unit and air cleaning device using same
JP2013034516A (en) Active species generating apparatus
JP5974269B2 (en) Active species generating unit and active species generating apparatus using the same
JP2007144278A (en) Deodorizing device and air conditioner equipped with the same
CN219092374U (en) LTP honeycomb plasma dust collection module

Legal Events

Date Code Title Description
A621 Written request for application examination

Free format text: JAPANESE INTERMEDIATE CODE: A621

Effective date: 20140325

RD01 Notification of change of attorney

Free format text: JAPANESE INTERMEDIATE CODE: A7421

Effective date: 20140414

A711 Notification of change in applicant

Free format text: JAPANESE INTERMEDIATE CODE: A711

Effective date: 20141007

A131 Notification of reasons for refusal

Free format text: JAPANESE INTERMEDIATE CODE: A131

Effective date: 20150113

A521 Written amendment

Free format text: JAPANESE INTERMEDIATE CODE: A523

Effective date: 20150216

TRDD Decision of grant or rejection written
A01 Written decision to grant a patent or to grant a registration (utility model)

Free format text: JAPANESE INTERMEDIATE CODE: A01

Effective date: 20150310

A61 First payment of annual fees (during grant procedure)

Free format text: JAPANESE INTERMEDIATE CODE: A61

Effective date: 20150323

R151 Written notification of patent or utility model registration

Ref document number: 5810259

Country of ref document: JP

Free format text: JAPANESE INTERMEDIATE CODE: R151