JP2008289801A - Gas purification device - Google Patents

Gas purification device Download PDF

Info

Publication number
JP2008289801A
JP2008289801A JP2007140942A JP2007140942A JP2008289801A JP 2008289801 A JP2008289801 A JP 2008289801A JP 2007140942 A JP2007140942 A JP 2007140942A JP 2007140942 A JP2007140942 A JP 2007140942A JP 2008289801 A JP2008289801 A JP 2008289801A
Authority
JP
Japan
Prior art keywords
discharge
electrode
electrodes
purification
gas
Prior art date
Legal status (The legal status is an assumption and is not a legal conclusion. Google has not performed a legal analysis and makes no representation as to the accuracy of the status listed.)
Pending
Application number
JP2007140942A
Other languages
Japanese (ja)
Inventor
Kazuo Hayashi
林  和夫
Motofumi Tanaka
元史 田中
Sukeyuki Yasui
祐之 安井
Current Assignee (The listed assignees may be inaccurate. Google has not performed a legal analysis and makes no representation or warranty as to the accuracy of the list.)
Toshiba Corp
Original Assignee
Toshiba Corp
Priority date (The priority date is an assumption and is not a legal conclusion. Google has not performed a legal analysis and makes no representation as to the accuracy of the date listed.)
Filing date
Publication date
Application filed by Toshiba Corp filed Critical Toshiba Corp
Priority to JP2007140942A priority Critical patent/JP2008289801A/en
Publication of JP2008289801A publication Critical patent/JP2008289801A/en
Pending legal-status Critical Current

Links

Images

Landscapes

  • Disinfection, Sterilisation Or Deodorisation Of Air (AREA)
  • Treating Waste Gases (AREA)
  • Exhaust Gas Treatment By Means Of Catalyst (AREA)
  • Oxygen, Ozone, And Oxides In General (AREA)
  • Catalysts (AREA)

Abstract

【課題】誘電体を挟んで配置された電極間に高周波電圧を印加した場合に、一定方向に気流が発生する現象を利用することで、処理対象のガスを浄化処理手段に送風する。高周波電圧の放電により、オゾンの発生を促すと共に、オゾン分解触媒によるオゾン分解時に不純物を効果的に分解する。
【解決手段】第1の放電電極と、これに誘電体を介して対向して設けられた第2の放電電極と、これら第1及び第2の放電電極に対して高周波電圧を印加する放電用電源とを備える。前記第1の電極、誘電体及び第2の電極を、前記第1の電極と第2の電極に対して高周波電圧を印加した場合にこれらの電極間に発生する誘電体バリア放電により一定方向に気流が流れるように配置することで、放電気流誘起部を形成する。放電気流誘起部における気流の流れ方向の後段に浄化処理部を設置する。浄化処理部は、浄化処理部に供給されたガス中の不純物を浄化する浄化処理手段を備えている。
【選択図】図1
When a high frequency voltage is applied between electrodes arranged with a dielectric interposed therebetween, a gas to be processed is blown to a purification processing means by utilizing a phenomenon in which an air flow is generated in a certain direction. The discharge of high-frequency voltage promotes the generation of ozone and effectively decomposes impurities during ozone decomposition by the ozone decomposition catalyst.
A first discharge electrode, a second discharge electrode provided opposite to the first discharge electrode via a dielectric, and a discharge for applying a high-frequency voltage to the first and second discharge electrodes Power supply. When the high frequency voltage is applied to the first electrode, the dielectric, and the second electrode with respect to the first electrode and the second electrode, the dielectric barrier discharge generated between these electrodes causes the first electrode, the dielectric, and the second electrode to move in a certain direction. By arranging the air current to flow, a discharge air current inducing portion is formed. A purification processing unit is installed in the subsequent stage of the airflow direction in the discharge airflow induction unit. The purification processing unit includes a purification processing unit that purifies impurities in the gas supplied to the purification processing unit.
[Selection] Figure 1

Description

本発明は、高周波電圧が印加された電極間に発生する誘電体バリア放電により、浄化対象となるガスを一定方向に送流させて浄化処理部に導き、この浄化処理部内においてガス中の不純物を分解・吸着するガス浄化装置に関する。   According to the present invention, a dielectric barrier discharge generated between electrodes to which a high-frequency voltage is applied causes a gas to be purified to flow in a certain direction and lead it to a purification treatment unit. The present invention relates to a gas purification device that decomposes and adsorbs.

住空間、倉庫、冷蔵庫などの食品保管庫、その他の保管庫内における有害物質の除去、悪臭防止、殺菌等(以下、不純物または不純物の浄化と総称する)を目的として、高性能で省エネルギー型の脱臭装置や空気清浄機などのガス浄化装置が求められている。   A high-performance, energy-saving type for the purpose of removing harmful substances, preventing malodors, sterilizing, etc. (hereinafter collectively referred to as impurities or impurity purification) in food storage such as living spaces, warehouses and refrigerators, and other storages Gas purification devices such as deodorizing devices and air purifiers are demanded.

このようなガス浄化装置は、一定空間の空気やその他のガス(以下、空気や排ガスなど浄化対象のガスを総称して、ガスという)を取り込んで浄化し、再び元の空間に戻すことを繰返し、空間内を浄化するものである。このため、従来、ガスを循環させるための送風装置を持つものが一般的だった。   Such a gas purification device repeatedly takes in and purifies air and other gases (hereinafter collectively referred to as gases to be purified such as air and exhaust gas) and returns them to the original space. It purifies the space. For this reason, it has been common to have a blower for circulating gas.

このような従来のガス浄化装置の一例を、図12を用いて説明する。図中、200は脱臭装置、201は浄化対象のガスを取り込むためのファン送風機、202はガス中の不純物を吸着及び/または分解する浄化処理部、203はファン送風機の駆動電源、211は浄化対象のガス吸入口、212は浄化処理されたガスの放出口を示す。   An example of such a conventional gas purification apparatus will be described with reference to FIG. In the figure, 200 is a deodorizing device, 201 is a fan blower for taking in gas to be purified, 202 is a purification processing unit that adsorbs and / or decomposes impurities in the gas, 203 is a drive power supply for the fan blower, and 211 is a purification target. Reference numeral 212 denotes a gas outlet for the purified gas.

浄化処理部202は、活性炭などの不純物の吸着材を備えたり、臭い成分などの不純物を分解するための微小コロナ放電発生部と発生したオゾンを処理するオゾン触媒とで構成されたりする。なお、ガス処理に放電が使われる場合は、電源204が付属する。また、これらの吸着材と放電発生部とが併用されることもある。   The purification processing unit 202 includes an adsorbent for impurities such as activated carbon, or includes a micro-corona discharge generation unit for decomposing impurities such as odor components and an ozone catalyst for processing the generated ozone. In addition, when discharge is used for gas processing, the power supply 204 is attached. Moreover, these adsorbents and the discharge generating part may be used in combination.

このような浄化装置は、保管庫内或いは室内のガスを装置内部に取り込む必要から、必ずファンを装備しなければならない。しかし、ファンの装備は、振動、騒音の発生や装置駆動に電力が必要といった問題点を有していると共に、浄化装置の小型化にも障害となっていた。   Such a purification apparatus must be equipped with a fan because it is necessary to take gas in the storage or the room into the apparatus. However, the fan equipment has problems such as generation of vibration, noise, and the necessity of electric power for driving the apparatus, and it has been an obstacle to downsizing the purification apparatus.

このようなファンを備えた浄化装置の問題点を解決するために、電極間に生じる放電によって発生する気流を、浄化対象ガスの送風手段として使用する提案も従来から知られている。すなわち、電極間に高圧の直流電圧を印加すると、電極周辺の空間に絶縁破壊が生じ、コロナ放電が発生し、電極の先端から多量の電子が放出され、空間内の塵埃や気体分子に付着し、イオン化する。イオン化した塵埃や気体分子は、誘引電極に向かって流れ、誘引電極に捕集されるので、このような気体分子の流れを空気清浄機の送風手段として使用する。(特許文献1、特許文献2参照)
特開2004-138268号公報 特開2002−95998号公報
In order to solve the problem of the purification apparatus provided with such a fan, a proposal to use an air flow generated by discharge generated between electrodes as a blowing means for the gas to be purified has also been known. That is, when a high DC voltage is applied between the electrodes, dielectric breakdown occurs in the space around the electrode, corona discharge occurs, a large amount of electrons are emitted from the tip of the electrode, and adhere to dust and gas molecules in the space. , Ionize. Since ionized dust and gas molecules flow toward the attracting electrode and are collected by the attracting electrode, such a flow of gas molecules is used as a blowing means of the air cleaner. (See Patent Document 1 and Patent Document 2)
JP 2004-138268 A JP 2002-95998 A

確かに、イオン風を利用した前記特許文献に記載の従来技術においては、送風用のファンが不要となる利点はあるものの、気流の発生手段として直流電圧を印加した電極間に生じる放電を利用していたため、電極間に水滴やほこりが付着して、アーク放電に遷移してしまう可能性があった。特に、家庭や工場などのガス中に塵埃が存在する使用環境では、電極へのほこり、ごみや水滴付着によって、アーク放電に遷移し、電極にダメージを与える可能性があり、このアーク放電防止策を講じることで、製品価格が割高になる欠点があった。   Certainly, in the prior art described in the above-mentioned patent document using the ionic wind, there is an advantage that a fan for blowing air is unnecessary, but the discharge generated between the electrodes to which a DC voltage is applied is used as a means for generating an air flow. Therefore, there was a possibility that water droplets or dust would adhere between the electrodes and transition to arc discharge. In particular, in environments where dust is present in gases such as homes and factories, there is a possibility of transition to arc discharge due to dust, dirt or water droplets adhering to the electrode, which may damage the electrode. There was a drawback that the product price was expensive by taking.

また、放電を利用した浄化装置においては、高電圧が印加された電極間に発生するオゾンによる不純物の分解作用が効果的に行われることが望ましいが、従来の電極間に直流電圧を印加する装置においては、オゾンの発生が十分とは言えず、不純物の分解作用が効果的に行えない欠点があった。   In addition, in a purifying device using discharge, it is desirable that the action of decomposing impurities by ozone generated between electrodes to which a high voltage is applied is effective, but a device that applies a DC voltage between conventional electrodes. However, the ozone generation is not sufficient, and there is a drawback that the impurity cannot be decomposed effectively.

本発明は、前記のような従来技術の問題点を解決するために提案されたもので、その目的は、高周波電圧を電極間に印加した際に発生する気流を利用することで、ファンレスタイプの小型単純化されたガス浄化装置を得ることにある。   The present invention has been proposed in order to solve the problems of the prior art as described above, and its purpose is to use a fanless type by utilizing an air flow generated when a high frequency voltage is applied between the electrodes. It is to obtain a small and simplified gas purification apparatus.

本発明の他の目的は、高周波電圧を印加された電極間においては、直流電圧印加時に比較してより多量のオゾンガスが発生すること、及びこのオゾン発生ガスを分解するためのオゾン分解触媒が、オゾンの分解時にガス中の不純物をも効果的に分解することに着目することにより、浄化性能に優れたガス浄化装置を提供することにある。   Another object of the present invention is that a larger amount of ozone gas is generated between electrodes to which a high-frequency voltage is applied than when a DC voltage is applied, and an ozone decomposition catalyst for decomposing this ozone-generating gas, It is an object of the present invention to provide a gas purification apparatus having excellent purification performance by paying attention to effectively decomposing impurities in the gas when decomposing ozone.

前記の目的を達成するために、本発明のガス浄化装置は、第1の放電電極と、これに誘電体を介して対向して設けられた第2の放電電極と、これら第1及び第2の放電電極に対して高周波電圧を印加する放電用電源とを備え、前記第1の電極、誘電体及び第2の電極を、前記第1の電極と第2の電極に対して高周波電圧を印加した場合にこれらの電極間に発生する誘電体バリア放電により一定方向に気流が流れるように配置してなる放電気流誘起部と、この放電気流誘起部における気流の流れ方向の後段に設置された浄化処理部と、この浄化処理部に供給されたガス中の不純物を浄化する浄化処理手段を備えていることを特徴とする。   In order to achieve the above object, a gas purification apparatus of the present invention includes a first discharge electrode, a second discharge electrode provided opposite to the first discharge electrode, and the first and second discharge electrodes. A discharge power source for applying a high-frequency voltage to the discharge electrodes of the first electrode, applying the high-frequency voltage to the first electrode, the dielectric and the second electrode, and applying the high-frequency voltage to the first electrode and the second electrode In this case, a discharge airflow inducing section is arranged so that the airflow flows in a certain direction due to a dielectric barrier discharge generated between these electrodes, and a purification installed downstream of the direction of airflow in the discharge airflow inducing section. The present invention is characterized by comprising a processing section and a purification processing means for purifying impurities in the gas supplied to the purification processing section.

また、前記放電気流誘起部が第1と第2の電極間に発生する誘電体バリア放電によりオゾンを生成するものであって、前記浄化処理手段がオゾン分解触媒を備えたものであり、このオゾン分解触媒におけるオゾンの分解作用に伴ってガス中の不純物をも同時に分解するものであることも、本発明の一態様である。   Further, the discharge air flow inducing section generates ozone by dielectric barrier discharge generated between the first and second electrodes, and the purification treatment means includes an ozone decomposition catalyst. It is also an aspect of the present invention that the impurities in the gas are decomposed simultaneously with the ozone decomposing action in the decomposition catalyst.

本発明によれば、誘電体を挟んで配置された電極間に高周波電圧を印加した場合に、一定方向に気流が発生する現象を利用することにより、ファンを使用することなく、処理対象のガスを浄化処理手段に送風することが可能になる。また、高周波電圧による放電を利用することでオゾンの発生を促すと同時に、オゾン分解触媒によるオゾン分解作用により、不純物の分解を効果的に実施できる。   According to the present invention, a gas to be processed can be used without using a fan by utilizing a phenomenon that an air flow is generated in a certain direction when a high frequency voltage is applied between electrodes arranged with a dielectric interposed therebetween. Can be sent to the purification processing means. In addition, by using discharge by high-frequency voltage, the generation of ozone is promoted, and at the same time, the decomposition of impurities can be effectively performed by the ozone decomposition action by the ozone decomposition catalyst.

(1)第1実施形態
(1−1)第1実施形態の構成
図1は本発明の第1実施形態のガス浄化装置の構成図である。図1中、100はガス浄化装置本体を示すものであって、このガス浄化装置100は、その内部がガス流通空間となったチャンバー状をしており、その入口側には浄化対象となるガスの吸入口101が、出口側には浄化されたガスの放出口102が設けられている。このガス浄化装置100内には、放電用電源103に接続された放電気流誘起部104と、その後段に設けられた浄化処理部105が組み込まれている。
(1) 1st Embodiment (1-1) Structure of 1st Embodiment FIG. 1: is a block diagram of the gas purification apparatus of 1st Embodiment of this invention. In FIG. 1, reference numeral 100 denotes a gas purification device main body. The gas purification device 100 has a chamber shape in which the inside is a gas circulation space, and a gas to be purified at the inlet side. The suction port 101 is provided with a purified gas discharge port 102 on the outlet side. In the gas purification apparatus 100, a discharge air flow induction unit 104 connected to a discharge power source 103 and a purification processing unit 105 provided in a subsequent stage are incorporated.

前記放電用電源103としては、商用周波数の放電用電源を使用することが可能であるが、それに限定されるものではなく、その出力電圧としては、パルス状(正極性、不極性、正負の両極性(交番電圧))や交流状(正弦波、断続正弦波)の波形を有するものが使用できる。また、高周波電源の周波数を別途設けた制御装置によって、フィードバック制御することも可能である。   The discharge power source 103 may be a commercial frequency discharge power source, but is not limited thereto, and the output voltage may be pulsed (both positive, nonpolar, positive and negative) (Alternating voltage)) and alternating current (sine wave, intermittent sine wave) waveforms can be used. Also, feedback control can be performed by a control device that separately provides the frequency of the high-frequency power source.

図1では、チャンバー状のケーシングを備えたガス浄化装置100内に、箱状の放電発生部104と浄化処理部105とをダクト106で結ぶように配置したが、図2に示すように、箱状の放電発生部104と同じく箱状の浄化処理部105とを直接一体化するような構成を採用することも可能である。   In FIG. 1, the box-shaped discharge generating unit 104 and the purification processing unit 105 are arranged in a gas purification apparatus 100 having a chamber-shaped casing so as to be connected by a duct 106, but as shown in FIG. It is also possible to adopt a configuration in which the box-shaped purification processing unit 105 is integrated directly with the discharge-like discharge generation unit 104.

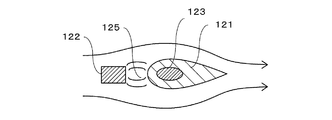
前記放電気流誘起部104としては、一例として、図1や図2に示すように、複数枚のプラズマ・アクチュエータ120を処理対象ガスの送風方向と平行に一定の間隔を保って配置したものが使用される。   As the discharge air flow inducing section 104, for example, as shown in FIG. 1 and FIG. 2, a plurality of plasma actuators 120 arranged at a constant interval in parallel with the blowing direction of the gas to be processed are used. Is done.

図3は、このプラズマ・アクチュエータ120の一例を示すものである。すなわち、ガスの送風方向と平行に配置された誘電体から構成された絶縁板121の一方の面(図中上面)に、気流方向とは直角に伸びる複数本の短冊状をした金属箔から成る第1の電極122が設けられ、絶縁板121の他の面(図中下面)には前記第1の電極122の全部をカバーするような大面積の幅が広い金属箔から成る第2の電極123が設けられている。   FIG. 3 shows an example of the plasma actuator 120. That is, it is composed of a plurality of strip-shaped metal foils that extend perpendicularly to the airflow direction on one surface (upper surface in the figure) of the insulating plate 121 made of a dielectric disposed in parallel with the gas blowing direction. A first electrode 122 is provided, and the other surface (lower surface in the figure) of the insulating plate 121 is a second electrode made of a metal foil having a large area and a wide width so as to cover the entire first electrode 122. 123 is provided.

これら第1及び第2の電極122,123には、前記放電用電源103が接続され、高周波電圧の印加時に両電極間に放電が発生するように構成されている。この場合、前記細長い短冊状の第1の電極121における気流の上流側の縁は絶縁材124で覆われ、第1の電極122の片側だけが放電するように構成されている。   The first and second electrodes 122 and 123 are connected to the discharge power supply 103 so that a discharge is generated between the electrodes when a high frequency voltage is applied. In this case, the edge on the upstream side of the airflow in the elongated strip-shaped first electrode 121 is covered with the insulating material 124, and only one side of the first electrode 122 is discharged.

なお、前記絶縁板121や絶縁材124としては、ポリイミド、ガラスエポキシ、ゴム、テフロン(登録商標)、カプトン(登録商標)などの絶縁性樹脂や、アルミナ、ガラス、マイカなどの無機絶縁物などが使用される。   The insulating plate 121 and the insulating material 124 include insulating resins such as polyimide, glass epoxy, rubber, Teflon (registered trademark), and Kapton (registered trademark), and inorganic insulating materials such as alumina, glass, and mica. used.

一方、前記浄化処理部105には、例えば活性炭、両性界面活性剤系消臭剤、緑茶抽出物、多孔質シリコーン樹脂などの不純物の吸着材や、粒状酸化チタンなどの光触媒やオゾン発生装置などの不純物分解装置を使用することができる。特に、本実施形態においては、前記第1と第2の電極間の放電により発生したオゾンが浄化装置外部に漏出することを防止するためのオゾン分解触媒を、不純物の浄化処理手段として使用する。   On the other hand, the purification treatment unit 105 includes, for example, an adsorbent of impurities such as activated carbon, an amphoteric surfactant-based deodorant, a green tea extract, and a porous silicone resin, a photocatalyst such as granular titanium oxide, and an ozone generator. Impurity decomposers can be used. In particular, in this embodiment, an ozone decomposition catalyst for preventing ozone generated by the discharge between the first and second electrodes from leaking outside the purification apparatus is used as an impurity purification treatment means.

(1−2)第1実施形態の作用
次に、このような構成を有する第1実施形態の作用について説明する。
まず、放電気流誘起部104内に装備されたプラズマ・アクチュエータ120によって、処理対象となるガスが浄化処理部105に向かって送風される作用を説明する。
(1-2) Operation of the First Embodiment Next, the operation of the first embodiment having such a configuration will be described.
First, an operation in which a gas to be processed is blown toward the purification processing unit 105 by the plasma actuator 120 provided in the discharge airflow induction unit 104 will be described.

第1と第2の電極122,123間に放電用電源103から高電圧を印加しこれが一定の閾値以上の電位差となると、両電極間には放電が発生し、放電に伴って放電プラズマが生成される。ここで、電極122,123間には誘電体である絶縁板121が介在しているので、高温下や不純物の存在下であってもアーク放電には至らず、安定に維持することが可能な誘電体バリア放電125が生じる。   When a high voltage is applied from the discharge power source 103 between the first and second electrodes 122 and 123 and this becomes a potential difference equal to or greater than a certain threshold value, a discharge occurs between the two electrodes, and a discharge plasma is generated along with the discharge. Is done. Here, since the insulating plate 121 which is a dielectric is interposed between the electrodes 122 and 123, the arc discharge does not occur even at a high temperature or in the presence of impurities, and can be stably maintained. A dielectric barrier discharge 125 is generated.

また、誘電体バリア放電125は、絶縁板121の表面に沿って形成される沿面放電となり、この誘電体バリア放電125によって、所定の方向(第1の電極122から第2の電極123への方向)に気流を発生させることができる。この場合、第1と第2の電極122,123及び絶縁板121との位置関係を非対称形とすることが、一方の電極から他方の電極に向かう気流を発生させるための条件となる。   Further, the dielectric barrier discharge 125 becomes a creeping discharge formed along the surface of the insulating plate 121, and the dielectric barrier discharge 125 causes a predetermined direction (direction from the first electrode 122 to the second electrode 123). ) Can generate airflow. In this case, making the positional relationship between the first and second electrodes 122 and 123 and the insulating plate 121 asymmetrical is a condition for generating an air flow from one electrode to the other electrode.

すなわち、第1と第2の電極122,123が非対称形で配置された場合に、電極間に交番電圧が印加されると、第1の電極122に正電圧が印加された場合と負電圧が印加された場合とでは、向きは逆で早さの異なる気流が誘起されるので、この両方向の気流を時間平均すると一定方向の気流が得られる。特に、図3のように、第1の電極122の電極面積を第2の電極の電極面積に比較して小さくした場合には、小さな電極面積の第1の電極122から広い電極面積の第2の電極123に向かって気流が発生する。   That is, when the first and second electrodes 122 and 123 are arranged in an asymmetrical shape, when an alternating voltage is applied between the electrodes, a negative voltage is generated when a positive voltage is applied to the first electrode 122. When applied, airflows having opposite directions and different speeds are induced, and when airflows in both directions are time-averaged, airflows in a fixed direction are obtained. In particular, as shown in FIG. 3, when the electrode area of the first electrode 122 is made smaller than the electrode area of the second electrode, the second electrode having a larger electrode area than the first electrode 122 having a smaller electrode area. An air flow is generated toward the electrode 123.

このようにして、各プラズマ・アクチュエータ120によって発生した気流により、吸入口101から導入された処理対象となるガスが浄化処理部105に向かって送られる。浄化処理部105に達した浄化対象ガスは、浄化処理部105内の浄化処理手段により、ガス中の不純物を分解・吸着され、清浄化されたガスは放出口102から装置外部に排出される。   In this way, the gas to be processed introduced from the suction port 101 is sent toward the purification processing unit 105 by the air flow generated by each plasma actuator 120. The purification target gas that has reached the purification processing unit 105 is decomposed and adsorbed by impurities in the purification processing unit 105, and the purified gas is discharged from the discharge port 102 to the outside of the apparatus.

この場合、本実施形態では、前記の放電気流誘起部104における両電極間に発生するプラズマ放電に伴い、オゾンを発生させている。特に、両電極間に印加する電圧が高周波電圧であるため、直流電圧を電極間に印加する従来技術に比較してオゾンの発生が効果的に行われる。この発生したオゾンは、その自然分解時にガス中の不純物を分解する作用を果たすため、高周波電圧の印加のみによっても従来技術よりも優れた分解作用が期待できる。   In this case, in the present embodiment, ozone is generated along with the plasma discharge generated between both electrodes in the discharge airflow induction unit 104. In particular, since the voltage applied between the two electrodes is a high-frequency voltage, ozone is generated more effectively than in the prior art in which a DC voltage is applied between the electrodes. Since the generated ozone functions to decompose impurities in the gas during its natural decomposition, a decomposition action superior to that of the prior art can be expected only by applying a high-frequency voltage.

しかも、本実施形態においては、浄化処理部105にオゾン分解触媒を配置することで、両電極間に発生したオゾンを触媒表面において積極的に分解することにより、その際、ガス中の不純物も同時に分解する。これにより、浄化装置外部にオゾンが排出される不都合を解消すると同時に、オゾンの分解を促進して、オゾン分解に伴う不純物の分解作用も向上させることができる。   Moreover, in the present embodiment, by disposing the ozone decomposition catalyst in the purification treatment unit 105, the ozone generated between the two electrodes is actively decomposed on the catalyst surface. Decompose. Thereby, the problem of ozone being discharged outside the purification apparatus can be solved, and at the same time, the decomposition of ozone can be promoted and the decomposition action of impurities accompanying the ozone decomposition can be improved.

すなわち、オゾン分解触媒表面では、オゾンが分解され途中の過程でOラディカル酸素が精製される。このラディカル種が触媒表面に吸着された有害物質や悪臭成分の酸化分解を促進し、装置の処理能力向上がなされる。   That is, on the surface of the ozone decomposition catalyst, ozone is decomposed and O radical oxygen is purified in the process. This radical species promotes the oxidative decomposition of harmful substances and odorous components adsorbed on the catalyst surface, thereby improving the processing capacity of the apparatus.

(1−3)第1実施形態の効果
以上の通り、本実施形態によれば、ファンを使用することなく、浄化対象のガスを処理部に送り込むことが可能になり、振動や騒音が低くなるという特徴を持つ。また、放電によって悪臭成分や有害成分などの不純物が分解されると共に、オゾン分解触媒によるオゾン分解時における不純物の分解作用も発揮されるので、ガス浄化装置の処理能力が向上する。
(1-3) Effects of First Embodiment As described above, according to the present embodiment, it becomes possible to send the gas to be purified to the processing unit without using a fan, and vibration and noise are reduced. It has the characteristics. In addition, impurities such as malodorous components and harmful components are decomposed by discharge, and the effect of decomposing impurities during ozone decomposition by the ozone decomposition catalyst is also exhibited, so that the processing capacity of the gas purification device is improved.

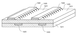
(1−4)第1実施形態の変形例…その1
図4は、プラズマ・アクチュエータの他の例を示したものである。誘電体である絶縁板121中に大きい金属箔である第2の電極123を形成し、絶縁板121の両面にそれぞれ複数枚の短冊状の第1の電極122を配置したものである。なお、絶縁体124によって第1の電極122の片側の放電を阻止する構成は図3と同様である。
(1-4) Modification of the first embodiment (1)
FIG. 4 shows another example of the plasma actuator. A second electrode 123, which is a large metal foil, is formed in an insulating plate 121, which is a dielectric, and a plurality of strip-shaped first electrodes 122 are arranged on both surfaces of the insulating plate 121, respectively. Note that the structure in which the insulator 124 prevents discharge on one side of the first electrode 122 is the same as that in FIG.

この変形例においては、絶縁板121中央の第2の電極123と、絶縁板121を挟んでその両側に配置された第1の電極122間で放電が発生する。この場合、第1と第2の電極及び絶縁板121の非対称配置が確保されているので、交番電圧を印加された電極間に一定方向の気流を発生させることができる。   In this modification, discharge is generated between the second electrode 123 at the center of the insulating plate 121 and the first electrodes 122 arranged on both sides of the insulating plate 121. In this case, since the asymmetric arrangement of the first and second electrodes and the insulating plate 121 is ensured, an airflow in a certain direction can be generated between the electrodes to which the alternating voltage is applied.

(1−5)第1実施形態の変形例…その2
図5は、プラズマ・アクチュエータの更に他の例を示したものである。この例では、第2の電極123を、第1の電極122と同様な短冊状の金属箔によって構成したものである。この場合、第1と第2の電極122,123の位置を気流の流れ方向にずらす(第2の電極の縁を気流の下流側に突出させる)ことで、第1の電極122の下流側の縁と第2の電極の下流側の縁との間に放電が生じる。
(1-5) Modification of the first embodiment (2)
FIG. 5 shows still another example of the plasma actuator. In this example, the second electrode 123 is configured by a strip-shaped metal foil similar to the first electrode 122. In this case, the positions of the first and second electrodes 122 and 123 are shifted in the airflow direction (the edge of the second electrode protrudes to the downstream side of the airflow), so that the downstream side of the first electrode 122 Discharge occurs between the edge and the downstream edge of the second electrode.

この変形例においても、第1と第2の電極122,123の絶縁板121に対する非対称形の配置により、第1の電極122から第2の電極123方向に流れる気流を発生させることができる。   Also in this modified example, an airflow flowing from the first electrode 122 toward the second electrode 123 can be generated by the asymmetrical arrangement of the first and second electrodes 122 and 123 with respect to the insulating plate 121.

なお、この実施形態においては、第1と第2の電極の位置をずらすことで両電極の下流側の縁の間に放電が生じるように構成したが、前記実施形態と同様に、第1の電極の気流の上流側の縁を絶縁材124で覆うことで、両電極の上流側の縁における放電を阻止することも可能である。   In this embodiment, the first and second electrodes are shifted in position so that a discharge is generated between the downstream edges of both electrodes. It is also possible to prevent discharge at the upstream edge of both electrodes by covering the upstream edge of the airflow of the electrode with the insulating material 124.

(2)第2実施形態
(2−1)第2実施形態の構成
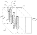
図6は本発明の第2実施形態のガス浄化装置の斜視図であり、その放電気流誘起部104の内部を説明したものである。図6において、100はガス浄化装置を、104は放電気流誘起部を、120は気流を発生させる棒状電極2本からなるプラズマ・アクチュエータを、105は浄化処理部を示す。この浄化処理部105としては、前記第1実施形態に記載した各種の吸着材や分解手段が使用できる。
(2) Second Embodiment (2-1) Configuration of Second Embodiment FIG. 6 is a perspective view of a gas purification device according to a second embodiment of the present invention, and illustrates the inside of the discharge airflow induction section 104. It is. In FIG. 6, reference numeral 100 denotes a gas purification device, 104 denotes a discharge airflow induction unit, 120 denotes a plasma actuator composed of two rod-like electrodes that generate an airflow, and 105 denotes a purification processing unit. As the purification processing unit 105, various adsorbents and decomposition means described in the first embodiment can be used.

前記プラズマ・アクチュエータ120は、例えば、図7のような構成を有する。すなわち、第1と第2の放電電極122,123が、少なくとも一方(図では、第2の電極123)が誘電体である絶縁材121で被覆されている。この結果として、外径の異なる2本の棒状の電極122,123が、近接或いは接触して平行に設置され、両電極間に高周波電圧を印加して誘電体バリア放電125を両電極間に発生させるように構成されている。   The plasma actuator 120 has a structure as shown in FIG. 7, for example. That is, at least one of the first and second discharge electrodes 122 and 123 (in the figure, the second electrode 123) is covered with an insulating material 121 that is a dielectric. As a result, two rod-shaped electrodes 122 and 123 having different outer diameters are placed in parallel in close proximity or in contact with each other, and a high frequency voltage is applied between both electrodes to generate a dielectric barrier discharge 125 between the two electrodes. It is configured to let you.

すなわち、図7では、第1の電極122が金属の円筒電極で構成され、第2の電極123が絶縁材121で被覆された金属の対向電極から構成されている。また、第2の電極123を接地とし、第1の電極122に放電用電源103から高周波電圧を印加し放電125を生成する。   That is, in FIG. 7, the first electrode 122 is composed of a metal cylindrical electrode, and the second electrode 123 is composed of a metal counter electrode covered with an insulating material 121. Further, the second electrode 123 is grounded, and a high frequency voltage is applied to the first electrode 122 from the discharge power supply 103 to generate a discharge 125.

なお、第1及び第2の電極は図7のような円筒形である必要はなく、図8に示したように、扁平な形状でも良い。また、第2の電極を被覆する絶縁材121としても、電極と同様な円柱状でなくとも良く、図8のような紡錘状や他の形状であっても良い。   The first and second electrodes do not have to be cylindrical as shown in FIG. 7, and may be flat as shown in FIG. Further, the insulating material 121 covering the second electrode may not be a columnar shape similar to the electrode, but may be a spindle shape as shown in FIG. 8 or other shapes.

(2−2)第2実施形態の作用
図6から8に示した第1及び第2の電極122,123を備えた放電気流誘起部104からは、図中右方向に向かう流れが誘起され、これらが浄化処理部105へ処理対象のガスを引き込む原動力となる。また、両電極間に発生する放電によって悪臭成分や有害成分などの不純物が分解、除去される。従って、ガス浄化装置の処理能力が向上する。
(2-2) Operation of the Second Embodiment From the discharge airflow induction unit 104 including the first and second electrodes 122 and 123 shown in FIGS. 6 to 8, a flow toward the right direction in the figure is induced, These serve as the driving force for drawing the gas to be processed into the purification processing unit 105. Further, impurities such as malodorous components and harmful components are decomposed and removed by the discharge generated between the electrodes. Therefore, the processing capacity of the gas purification device is improved.

(2−3)第2実施形態の効果
以上の結果より明らかなように、本実施形態により、従来よりも振動、騒音が低く、且つ、処理能力の高いガス浄化装置を提供することができる。特に、第1及び第2の電極122,123を棒状の電極とすることで、板状の電極を使用した前記第1実施形態に比較して、電極の配置や本数の増減に対して柔軟に対応できる利点がある。
(2-3) Effects of the Second Embodiment As is clear from the above results, this embodiment can provide a gas purification device that has lower vibration and noise than the conventional one and has a high processing capacity. In particular, by making the first and second electrodes 122 and 123 into rod-like electrodes, the arrangement of the electrodes and the increase / decrease in the number of electrodes can be flexibly compared to the first embodiment using plate-like electrodes. There is an advantage that can be accommodated.

(3)第3実施形態
(3−1)第3実施形態の構成
図9は本発明の第3実施形態のガス浄化装置の斜視図であり、放電気流誘起部104の内部を説明したものである。図9において、100は円筒状をしたガス浄化装置を、104はその前段に設けられて同じく円筒状をした放電気流誘起部を、120は気流を発生させるプラズマ・アクチュエータを、105は同じく円筒状の浄化処理部を示す。
(3) Third Embodiment (3-1) Configuration of Third Embodiment FIG. 9 is a perspective view of a gas purification device according to a third embodiment of the present invention, and illustrates the inside of the discharge airflow induction unit 104. is there. In FIG. 9, reference numeral 100 denotes a cylindrical gas purification device, 104 denotes a discharge airflow inducing portion which is also provided in the preceding stage, 120 denotes a plasma actuator for generating an airflow, and 105 denotes a cylinder. The purification process part is shown.

この第3実施形態において、プラズマ・アクチュエータ120は、前記図3から図5において説明した両面に第1及び第2の電極122,123を配置した平板状の絶縁板121を円筒状に湾曲させて構成したものである。なお、本実施形態では、第1の電極122を円筒状とした絶縁板121の内面側に配置し、第2の電極を外面側に配置することで、円筒の内側に気流が誘起されるようにしている。   In the third embodiment, the plasma actuator 120 is formed by bending a flat insulating plate 121 having the first and second electrodes 122 and 123 arranged on both sides described in FIGS. 3 to 5 into a cylindrical shape. It is composed. In the present embodiment, the first electrode 122 is disposed on the inner surface side of the cylindrical insulating plate 121 and the second electrode is disposed on the outer surface side, so that airflow is induced inside the cylinder. I have to.

この場合、円筒状をしたプラズマ・アクチュエータ120は、気流の流れ方向に沿って複数個配置することもできるし、また、図10に示すように、径の異なる円筒状プラズマ・アクチュエータ120を同軸状に配置しても良い。更に、浄化装置100が角筒状をしている場合には、プラズマ・アクチュエータ120を角筒状とすることも可能である。   In this case, a plurality of cylindrical plasma actuators 120 can be arranged along the flow direction of the airflow. Also, as shown in FIG. 10, the cylindrical plasma actuators 120 having different diameters are coaxially arranged. You may arrange in. Furthermore, when the purification device 100 has a rectangular tube shape, the plasma actuator 120 can also have a rectangular tube shape.

(3−2)第3実施形態の作用
次に、これらの作用について説明する。図9のように、円筒状をしたプラズマ・アクチュエータ120の内面に配置した第1の電極122から絶縁板121の表面側に向かって誘起された放電により、円筒状をしたプラズマ・アクチュエータ120の内壁に沿った気流が誘起され、この気流により浄化対象のガスが浄化装置100の入口から後段の浄化処理部105に送られる。
(3-2) Actions of Third Embodiment Next, these actions will be described. As shown in FIG. 9, the inner wall of the cylindrical plasma actuator 120 is caused by a discharge induced from the first electrode 122 arranged on the inner surface of the cylindrical plasma actuator 120 toward the surface side of the insulating plate 121. The gas to be purified is sent from the inlet of the purification device 100 to the subsequent purification processing unit 105 by this air flow.

また、このプラズマ・アクチュエータ120を気流の流れ方向に多段に配置したり、図10のように同軸状に複数個設置することによって、風量を増やすことができる。そして、このプラズマ・アクチュエータ120によって送られた浄化対象ガスは、第1と第2の電極部分の放電によって不純物が分解除去されると共に、浄化処理部105に設けられた浄化処理手段の吸着材や分解手段により更に浄化された後、装置外部に排出される。   Further, the air volume can be increased by arranging the plasma actuators 120 in multiple stages in the flow direction of the air flow, or by installing a plurality of them in a coaxial manner as shown in FIG. The gas to be purified sent by the plasma actuator 120 is decomposed and removed by the discharge of the first and second electrode portions, and the adsorbent of the purification processing means provided in the purification processing unit 105 After further purification by the disassembling means, it is discharged outside the apparatus.

(3−3)第3実施形態の効果
以上の結果より明らかなように、本実施形態によれば、円筒状の浄化装置100の外壁面近傍にプラズマ・アクチュエータ120を配置することで、浄化装置内に吸入するガスの流れを阻害することなく、気流を誘起することが可能になる。また、気流方向に多段に配置したり、同心円状に複数配置したりすることで、気流をより強力なものとすることが可能になる。
(3-3) Effects of Third Embodiment As is clear from the above results, according to the present embodiment, the purification device is provided by disposing the plasma actuator 120 in the vicinity of the outer wall surface of the cylindrical purification device 100. It is possible to induce an air flow without hindering the flow of gas sucked into the inside. Moreover, it becomes possible to make an airflow more powerful by arrange | positioning in multiple steps in an airflow direction, or arrange | positioning multiple concentric circles.

更に、プラズマ・アクチュエータ120を円筒状あるいは角筒状とすることで、既存のダクトや排気管の形状に合わせて、浄化装置を作製することが可能になる利点もある。   Further, the plasma actuator 120 having a cylindrical shape or a rectangular tube shape has an advantage that a purification device can be manufactured in accordance with the shape of an existing duct or exhaust pipe.

(4)第4実施形態
(4−1)第4実施形態の構成
図11を参照しながら、本発明の第4実施形態を説明する。この第4実施形態は、図4にて説明した並列に配置された平板型のプラズマ・アクチュエータ120の間に、平板に担持された光触媒130を配置したものである。この光触媒の担体は、ほかに、メッシュ、ハニカム、セラミック多孔体でも可能である。なお、プラズマ・アクチュエータ120は、図11の形状に限らず、これまで説明してきたいずれかの実施形態に示したものを適宜選択して使用できる。
(4) Fourth Embodiment (4-1) Configuration of Fourth Embodiment A fourth embodiment of the present invention will be described with reference to FIG. In the fourth embodiment, the photocatalyst 130 supported on a flat plate is disposed between the flat plate-type plasma actuators 120 arranged in parallel as described in FIG. In addition, the photocatalyst carrier may be a mesh, a honeycomb, or a ceramic porous body. Note that the plasma actuator 120 is not limited to the shape shown in FIG. 11, and any of those shown in any of the embodiments described so far can be appropriately selected and used.

なお、この第4実施形態において、プラズマ・アクチュエータ120や光触媒130の後段に、吸着材やオゾン分解触媒を配置しても良いことは、他の実施形態と同様である。   In the fourth embodiment, an adsorbent and an ozone decomposition catalyst may be disposed after the plasma actuator 120 and the photocatalyst 130, as in the other embodiments.

(4−2)第4実施形態の作用
次に、これらの作用について説明する。この実施形態においては、プラズマ・アクチュエータ120は、気流を誘起する以外にオゾン等の活性種を生成し、有害物質や悪臭物質を分解する。さらに、放電によって、紫外域から可視域の光を放出する。この光によって、プラズマ・アクチュエータと並んで設置した光触媒を活性化し、有害物質や悪臭物質の分解に寄与する。
(4-2) Operation of Fourth Embodiment Next, these operations will be described. In this embodiment, the plasma actuator 120 generates active species such as ozone in addition to inducing an air flow, and decomposes harmful substances and malodorous substances. Furthermore, light from the ultraviolet region to the visible region is emitted by discharge. This light activates the photocatalyst installed side by side with the plasma actuator, contributing to the decomposition of harmful substances and odorous substances.

(4−3)第4実施形態の効果
このような構成を有する第4実施形態によれば、プラズマ・アクチュエータ120の放電やそれによって発生したオゾンによる不純物の分解作用と、光触媒130による分解作用とを併用できるので、プラズマ・アクチュエータ120単独の場合に比較し、浄化機能をより高めることができる。
(4-3) Effect of Fourth Embodiment According to the fourth embodiment having such a configuration, the decomposition action of impurities by the discharge of plasma actuator 120 and ozone generated thereby, and the decomposition action by photocatalyst 130 Therefore, the purification function can be further enhanced as compared with the case of the plasma actuator 120 alone.

また、放電気流誘起部104の放電によって発生する光を光触媒の活性化用として利用できるので、光触媒の配置部分に活性化用のランプを設けたり、装置外部から紫外線などを照射する必要もなく、装置の構造が単純化する利点もある。なお、本実施形態は、これらのランプや照射用の窓を設けることを排除するものではない。   Further, since the light generated by the discharge of the discharge airflow induction unit 104 can be used for activating the photocatalyst, there is no need to provide an activation lamp in the arrangement portion of the photocatalyst, or to irradiate ultraviolet rays from the outside of the apparatus, There is also an advantage that the structure of the apparatus is simplified. This embodiment does not exclude the provision of these lamps and irradiation windows.

更に、光触媒130のみで不純物の分解を行うようにして、後段に別途吸着材や分解手段などの浄化処理手段を設けない場合には、放電気流誘起部104と浄化処理部とを浄化装置100内の近接した位置に配置することができるので、装置全体の長さ(気流方向の長さ)を小型化することが可能になる。また、放電による不純物の分解処理と酸化触媒などによる浄化処理とを同位置で実施するので、両者の相乗効果により処理能力の高いガス浄化装置を提供することができる。   Further, in the case where impurities are decomposed only by the photocatalyst 130 and no additional purification processing means such as an adsorbent or decomposition means is provided in the subsequent stage, the discharge air flow inducing section 104 and the purification processing section are connected to the interior of the purification apparatus 100. Therefore, it is possible to reduce the length of the entire apparatus (length in the airflow direction). Moreover, since the impurity decomposition process by the discharge and the purification process by the oxidation catalyst or the like are performed at the same position, it is possible to provide a gas purification apparatus having a high processing capacity due to the synergistic effect of both.

(5)他の実施形態
本発明は前記の実施形態に限定されるものではなく、次のような他の実施形態も包含するものである。
(5) Other Embodiments The present invention is not limited to the above-described embodiments, and includes the following other embodiments.

(a) 浄化処理部105の浄化処理手段として吸着材を充填したもの。吸着材の形態は、ハニカム構造であっても、ボール状であっても、ガスの流れを妨げないものであればよい。必要に応じて、さらに後段にオゾン分解触媒を追加し、放電で発生したオゾンを完全に分解する手段を講じても良い。 (a) A material filled with an adsorbent as a purification processing means of the purification processing unit 105. The form of the adsorbent may be a honeycomb structure or a ball shape as long as it does not hinder the gas flow. If necessary, a means for completely decomposing ozone generated by discharge may be provided by adding an ozone decomposition catalyst in the subsequent stage.

この実施形態では、放電気流誘起部104で誘起された気流に乗って、有害物質や悪臭物質が運ばれ、後段の浄化処理部105に置かれた吸着材に吸着される。放電が生成したオゾンやラディカル種も吸着され、そこで、有害物質、悪臭成分が酸化分解される。なお、プラズマ・アクチュエータの放電によっても、直接分解される。   In this embodiment, a harmful substance and a malodorous substance are carried on the airflow induced by the discharge airflow induction unit 104 and are adsorbed by the adsorbent placed in the purification processing unit 105 at the subsequent stage. Ozone and radical species generated by discharge are also adsorbed, where harmful substances and malodorous components are oxidatively decomposed. It is also decomposed directly by the discharge of the plasma actuator.

(b) 浄化処理部105に浄化処理手段として光触媒を充填したもの。この光触媒の担体は、メッシュ、平板、ハニカム構造体、セラミック・ボールの何であっても、ガスの流れを妨げないものであればよい。光触媒は、紫外線や可視光を受けて活性になるので、光をあてる工夫が必要である。例えば、浄化処理部105に紫外光と可視光が透過する窓を設けたり、ランプを併用することが好ましい。必要に応じて、さらに後段にオゾン分解触媒を追加し、放電で発生したオゾンを完全に分解する手段を講じても良い。 (b) The purification processor 105 is filled with a photocatalyst as a purification treatment means. The photocatalyst carrier may be any one of mesh, flat plate, honeycomb structure, and ceramic ball as long as it does not hinder the gas flow. A photocatalyst becomes active when it receives ultraviolet light or visible light, and therefore, it is necessary to devise light. For example, it is preferable to provide the purification processing unit 105 with a window through which ultraviolet light and visible light are transmitted, or to use a lamp together. If necessary, a means for completely decomposing ozone generated by discharge may be provided by adding an ozone decomposition catalyst in the subsequent stage.

この実施形態では、放電気流誘起部104で誘起された気流に乗って、有害物質や悪臭物質が運ばれ、後段の浄化処理部105に置かれた光触媒によって分解除去される。また、プラズマ・アクチュエータの放電によっても、直接分解される。   In this embodiment, harmful substances and malodorous substances are carried on the airflow induced by the discharge airflow induction unit 104 and decomposed and removed by the photocatalyst placed in the purification processing unit 105 at the subsequent stage. It is also directly decomposed by the discharge of the plasma actuator.

(c) 浄化処理部105の浄化処理手段として酸化触媒を使用したもの。この酸化触媒の形態はハニカム構造であっても、ボール状であっても、ガスの流れを妨げないものであればよい。必要に応じて、さらに後段にオゾン分解触媒を追加し、放電で発生したオゾンを完全に分解する手段を講じても良い。 (c) A device using an oxidation catalyst as a purification treatment means of the purification treatment unit 105. The oxidation catalyst may have a honeycomb structure or a ball shape as long as it does not hinder the gas flow. If necessary, a means for completely decomposing ozone generated by discharge may be provided by adding an ozone decomposition catalyst in the subsequent stage.

この実施形態では、放電気流誘起部104で誘起された気流に乗って、有害物質や悪臭物質が運ばれ、後段の浄化処理部105に置かれた酸化触媒によって酸化分解される。なお、プラズマ・アクチュエータの放電によっても、直接分解される。   In this embodiment, harmful substances and malodorous substances are carried on the airflow induced by the discharge airflow induction unit 104 and are oxidatively decomposed by the oxidation catalyst placed in the purification processing unit 105 at the subsequent stage. It is also decomposed directly by the discharge of the plasma actuator.

(d) 第4実施形態の光触媒の場合と同様に、吸着材やオゾン分解触媒などの浄化処理手段を放電気流誘起部の近傍(周囲)に配置したもの。
(e) 前記気流誘起部104によるガスの送風を補助するためのファンなどの送風機を設けたもの。
(d) As in the case of the photocatalyst of the fourth embodiment, a purification processing means such as an adsorbent or an ozone decomposition catalyst is arranged in the vicinity (around) the discharge airflow induction section.
(e) Provided with a blower such as a fan for assisting the blowing of gas by the airflow inducing unit 104.

(f) 装置全体や放電気流発生部などを加熱するもの。この場合、加熱の効果としては、下記2点が考えられる。
・触媒やオゾン分解触媒が活性化され、不純物の処理能力が上がったり、分解途中で中間体として浄化手段(リアクタ)内に残留する成分が少なくなる。
・浄化手段のリフレッシュの効果がある。すなわち、分解途中の中間体で浄化装置内に残留している成分を、完全酸化して(COやCO2にして)外部に吐き出させる。この場合、高温に保って、放電をさせながらしばらく放置することが望ましい。
(f) Equipment that heats the entire device or the discharge airflow generator. In this case, the following two points can be considered as the effect of heating.
-The catalyst and the ozone decomposition catalyst are activated, the impurity processing capacity is increased, and the components remaining in the purification means (reactor) as an intermediate during decomposition are reduced.
・ It has the effect of refreshing the purification means. That is, the components remaining in the purification apparatus as intermediates in the course of decomposition are completely oxidized (CO or CO 2 ) and discharged to the outside. In this case, it is desirable to leave it for a while while discharging at a high temperature.

(g) 高周波の周波数をフィードバックすることにより、放電パワーをコントロールして、風量やオゾン発生量を調節するもの。パワーコントロールは、印加電圧または繰返し周波数を変えることで対応可能であるが、印加電圧による制御は、ある一定以上の電圧を加えないと放電がスタートしなかったり、電圧上昇に対するパワーの増加が非常に大きかったりするので、使いづらい。一方、繰返し周波数に対しては、大体、リニアに変化するので、負荷に応じて、浄化装置の能力をベスト・フィットさせるための手段として、繰返し周波数をフィードバックする機能を盛り込むことができる。 (g) By controlling the discharge power by feeding back the frequency of the high frequency, the air volume and ozone generation amount are adjusted. Power control can be handled by changing the applied voltage or the repetition frequency. However, the control by applied voltage does not start discharging unless a voltage higher than a certain level is applied, or the increase in power with respect to voltage rise is very high. It is big and difficult to use. On the other hand, since the repetition frequency changes substantially linearly, a function of feeding back the repetition frequency can be incorporated as a means for best fitting the capacity of the purification device according to the load.

本発明の第1実施形態の全体構成を示す側面図。The side view which shows the whole structure of 1st Embodiment of this invention. 本発明の第1実施形態の他の例を示す側面図。The side view which shows the other example of 1st Embodiment of this invention. 本発明の第1実施形態におけるプラズマ・アクチュエータ120の一例を示す斜視図。The perspective view which shows an example of the plasma actuator 120 in 1st Embodiment of this invention. 本発明の第1実施形態におけるプラズマ・アクチュエータ120の変形例を示す斜視図。The perspective view which shows the modification of the plasma actuator 120 in 1st Embodiment of this invention. 本発明の第1実施形態におけるプラズマ・アクチュエータ120の他の変形例を示す斜視図。The perspective view which shows the other modification of the plasma actuator 120 in 1st Embodiment of this invention. 本発明の第2実施形態の全体構成を示す斜視図。The perspective view which shows the whole structure of 2nd Embodiment of this invention. 本発明の第2実施形態におけるプラズマ・アクチュエータ120部分を示す断面図。Sectional drawing which shows the plasma actuator 120 part in 2nd Embodiment of this invention. 本発明の第2実施形態におけるプラズマ・アクチュエータ120部分の変形例を示す断面図。Sectional drawing which shows the modification of the plasma actuator 120 part in 2nd Embodiment of this invention. 本発明の第3実施形態の全体構成を示す斜視図。The perspective view which shows the whole structure of 3rd Embodiment of this invention. 本発明の第3実施形態の変形例を示す斜視図The perspective view which shows the modification of 3rd Embodiment of this invention. 本発明の第4実施形態の構成を示す斜視図。The perspective view which shows the structure of 4th Embodiment of this invention. 従来のガス浄化装置の一例を示す側面図。The side view which shows an example of the conventional gas purification apparatus.

符号の説明Explanation of symbols

100…ガス浄化装置
101…吸入口
102…放出口
103…放電用電源
104…放電気流誘起部
105…浄化処理部
106…ダクト
120…平板型のプラズマ・アクチュエータ
121…絶縁板
122…第1の電極
123…第2の電極
124…絶縁材
125…放電
130…光触媒
DESCRIPTION OF SYMBOLS 100 ... Gas purification apparatus 101 ... Inlet port 102 ... Release port 103 ... Discharge power supply 104 ... Discharge airflow induction part 105 ... Purification process part 106 ... Duct 120 ... Flat plate type plasma actuator 121 ... Insulating plate 122 ... 1st electrode 123 ... second electrode 124 ... insulating material 125 ... discharge 130 ... photocatalyst

Claims (12)

第1の放電電極と、これに誘電体を介して対向して設けられた第2の放電電極と、これら第1及び第2の放電電極に対して高周波電圧を印加する放電用電源とを備え、
前記第1の電極、誘電体及び第2の電極を、前記第1の電極と第2の電極に高周波電圧を印加した場合にこれらの電極間に発生する誘電体バリア放電により一定方向に気流が流れるように配置してなる放電気流誘起部と、
この放電気流誘起部において誘起された気流が供給される浄化処理部と、この浄化処理部に供給されたガス中の不純物を浄化する浄化処理手段を備えていることを特徴とするガス浄化装置。
A first discharge electrode; a second discharge electrode provided opposite to the first discharge electrode through a dielectric; and a discharge power source for applying a high-frequency voltage to the first and second discharge electrodes. ,
When the high frequency voltage is applied to the first electrode, the dielectric, and the second electrode, the air current is generated in a certain direction due to the dielectric barrier discharge generated between the electrodes. A discharge airflow inducing portion arranged to flow;
A gas purification apparatus comprising: a purification processing unit to which an airflow induced in the discharge airflow induction unit is supplied; and purification processing means for purifying impurities in the gas supplied to the purification processing unit.
前記浄化処理手段がオゾン分解触媒を備えたものであり、このオゾン分解触媒によるオゾンの分解時に浄化処理部に供給されたガス中の不純物を分解するものであることを特徴とする請求項1に記載のガス浄化装置。   The said purification treatment means is provided with an ozone decomposition catalyst, and decomposes impurities in the gas supplied to the purification treatment section when ozone is decomposed by this ozone decomposition catalyst. The gas purification apparatus as described. 前記浄化処理手段が酸化触媒であり、この酸化触媒により浄化処理部に供給されたガス中の不純物を分解するものであることを特徴とする請求項1または請求項2に記載のガス浄化装置。   The gas purification apparatus according to claim 1 or 2, wherein the purification treatment means is an oxidation catalyst, and the oxidation catalyst decomposes impurities in the gas supplied to the purification treatment unit. 前記浄化処理手段が吸着材であり、この吸着材により浄化処理部に供給されたガス中の不純物を捕捉するものであることを特徴とする請求項1または請求項2に記載のガス浄化装置。   The gas purification apparatus according to claim 1 or 2, wherein the purification treatment means is an adsorbent, and the adsorbent captures impurities in the gas supplied to the purification treatment section. 前記浄化処理手段が光触媒であり、この光触媒により浄化処理部に供給されたガス中の不純物を分解するものであることを特徴とする請求項1または請求項2に記載のガス浄化装置。   The gas purification apparatus according to claim 1 or 2, wherein the purification treatment means is a photocatalyst, and the photocatalyst decomposes impurities in the gas supplied to the purification treatment unit. 前記浄化処理部に少なくとも紫外域から可視域の光を透過する窓または光源が設けられ、浄化処理部内に配置された光触媒が外部からの光に曝される構造となっていることを特徴とする請求項5に記載のガス浄化装置。   The purification treatment unit is provided with a window or a light source that transmits at least light from the ultraviolet region to the visible region, and the photocatalyst disposed in the purification treatment unit is exposed to light from the outside. The gas purification apparatus according to claim 5. 前記放電気流誘起部と浄化処理部が同一空間内に配置され、前記光触媒は放電気流誘起部の放電部分が照射される位置に配置されていることを特徴とする請求項5に記載のガス浄化装置。   6. The gas purification according to claim 5, wherein the discharge airflow inducing section and the purification processing section are arranged in the same space, and the photocatalyst is arranged at a position where a discharge portion of the discharge airflow inducing section is irradiated. apparatus. 前記第1の電極と第2の電極が板状部材から構成され、これら第1と第2の電極が平板状の絶縁板の両面に対向するように配置されていることを特徴とする請求項1から請求項7のいずれかに記載のガス浄化装置。   The said 1st electrode and 2nd electrode are comprised from a plate-shaped member, These 1st and 2nd electrodes are arrange | positioned so as to oppose both surfaces of a flat plate-shaped insulating board, It is characterized by the above-mentioned. The gas purification apparatus in any one of Claim 1-7. 前記第1と第2の電極の少なくとも一方が絶縁材で被覆された棒状の部材から構成され、これら第1と第2の棒状電極が、近接或いは接触して平行に設置されていることを特徴とする請求項1から請求項7のいずれかに記載のガス浄化装置。   At least one of the first and second electrodes is composed of a rod-shaped member covered with an insulating material, and the first and second rod-shaped electrodes are arranged in parallel in close proximity or in contact with each other. The gas purification device according to any one of claims 1 to 7. 前記第1の電極と第2の電極が筒状部材から構成され、これら第1と第2の電極が同じく筒状をした絶縁板の両面に対向するように配置されていることを特徴とする請求項1から請求項7のいずれかに記載のガス浄化装置。   The first electrode and the second electrode are formed of a cylindrical member, and the first and second electrodes are arranged so as to face both surfaces of a cylindrical insulating plate. The gas purification apparatus in any one of Claims 1-7. 前記筒状をした第1と第2の電極及び絶縁板が、気流の流れ方向に沿って複数個配置されていることを特徴とする請求項10に記載のガス浄化装置。   The gas purification apparatus according to claim 10, wherein a plurality of the first and second cylindrical electrodes and insulating plates are arranged along a flow direction of the airflow. 前記筒状をした第1と第2の電極及び絶縁板が、同心状に複数個配置されていることを特徴とする請求項10または請求項11に記載のガス浄化装置。   The gas purification apparatus according to claim 10 or 11, wherein a plurality of the cylindrical first and second electrodes and insulating plates are concentrically arranged.
JP2007140942A 2007-05-28 2007-05-28 Gas purification device Pending JP2008289801A (en)

Priority Applications (1)

Application Number Priority Date Filing Date Title
JP2007140942A JP2008289801A (en) 2007-05-28 2007-05-28 Gas purification device

Applications Claiming Priority (1)

Application Number Priority Date Filing Date Title
JP2007140942A JP2008289801A (en) 2007-05-28 2007-05-28 Gas purification device

Publications (1)

Publication Number Publication Date
JP2008289801A true JP2008289801A (en) 2008-12-04

Family

ID=40165155

Family Applications (1)

Application Number Title Priority Date Filing Date
JP2007140942A Pending JP2008289801A (en) 2007-05-28 2007-05-28 Gas purification device

Country Status (1)

Country Link
JP (1) JP2008289801A (en)

Cited By (13)

* Cited by examiner, † Cited by third party
Publication number Priority date Publication date Assignee Title
JP2010227877A (en) * 2009-03-27 2010-10-14 Toshiba Corp Airflow generator
JP2011139850A (en) * 2010-01-08 2011-07-21 Toshiba Corp Air cleaning device and air cleaning method
KR101129417B1 (en) * 2009-11-13 2012-03-26 한국기계연구원 Tar or by-product reforming and removing apparatus and method regenerating catalyst using the same
JP2014103094A (en) * 2012-08-08 2014-06-05 National Institute Of Advanced Industrial & Technology Surface plasma actuator
US8747763B2 (en) 2011-04-13 2014-06-10 Hitachi, Ltd. Plasma sterilization apparatus
JP2014514155A (en) * 2011-05-10 2014-06-19 コミッサリア ア レネルジー アトミーク エ オ ゼネルジ ザルタナテイヴ Device for processing gases using surface plasma
JP2014116398A (en) * 2012-12-07 2014-06-26 Toshiba Corp Cooling apparatus
JP2014155917A (en) * 2013-02-18 2014-08-28 Setekku:Kk Discharge plasma reactor
JP2015182004A (en) * 2014-03-24 2015-10-22 株式会社東芝 Gas treatment apparatus
US20170007958A1 (en) * 2015-07-10 2017-01-12 Kabushiki Kaisha Toshiba Gas Processing Apparatus
US9934944B2 (en) 2015-07-15 2018-04-03 Kabushiki Kaisha Toshiba Plasma induced flow electrode structure, plasma induced flow generation device, and method of manufacturing plasma induced flow electrode structure
KR102639634B1 (en) * 2023-07-08 2024-02-22 (주)아하 DBD optical plasma module for negative pressure and sterilization and purification equipment
JP7438657B2 (en) 2018-08-31 2024-02-27 トヨタ紡織株式会社 Air purification device and air purification method

Cited By (17)

* Cited by examiner, † Cited by third party
Publication number Priority date Publication date Assignee Title
JP2010227877A (en) * 2009-03-27 2010-10-14 Toshiba Corp Airflow generator
KR101129417B1 (en) * 2009-11-13 2012-03-26 한국기계연구원 Tar or by-product reforming and removing apparatus and method regenerating catalyst using the same
JP2011139850A (en) * 2010-01-08 2011-07-21 Toshiba Corp Air cleaning device and air cleaning method
US8747763B2 (en) 2011-04-13 2014-06-10 Hitachi, Ltd. Plasma sterilization apparatus
JP2014514155A (en) * 2011-05-10 2014-06-19 コミッサリア ア レネルジー アトミーク エ オ ゼネルジ ザルタナテイヴ Device for processing gases using surface plasma
US9951800B2 (en) 2012-08-08 2018-04-24 National Institute Of Advanced Industrial Science And Technology Surface plasma actuator
JP2014103094A (en) * 2012-08-08 2014-06-05 National Institute Of Advanced Industrial & Technology Surface plasma actuator
JP2018159379A (en) * 2012-08-08 2018-10-11 国立研究開発法人産業技術総合研究所 Fluid machine
JP2014116398A (en) * 2012-12-07 2014-06-26 Toshiba Corp Cooling apparatus
JP2014155917A (en) * 2013-02-18 2014-08-28 Setekku:Kk Discharge plasma reactor
JP2015182004A (en) * 2014-03-24 2015-10-22 株式会社東芝 Gas treatment apparatus
US9468698B2 (en) 2014-03-24 2016-10-18 Kabushiki Kaisha Toshiba Gas processing apparatus
JP2017018901A (en) * 2015-07-10 2017-01-26 株式会社東芝 Gas processing equipment
US20170007958A1 (en) * 2015-07-10 2017-01-12 Kabushiki Kaisha Toshiba Gas Processing Apparatus
US9934944B2 (en) 2015-07-15 2018-04-03 Kabushiki Kaisha Toshiba Plasma induced flow electrode structure, plasma induced flow generation device, and method of manufacturing plasma induced flow electrode structure
JP7438657B2 (en) 2018-08-31 2024-02-27 トヨタ紡織株式会社 Air purification device and air purification method
KR102639634B1 (en) * 2023-07-08 2024-02-22 (주)아하 DBD optical plasma module for negative pressure and sterilization and purification equipment

Similar Documents

Publication Publication Date Title
JP2008289801A (en) Gas purification device
EP2411058B1 (en) Air decontamination device
US9138504B2 (en) Plasma driven catalyst system for disinfection and purification of gases
KR100625425B1 (en) Discharge device and air purifier
KR20190067633A (en) Apparatus for sterilization and deodorization of air using Plasma and Photocatalyst
JP5714955B2 (en) Air conditioner
KR101305762B1 (en) Reclamated Air Cleaner Using Plasma
CN108097042A (en) A kind of ion field arrangement for catalytic purification and method
US20160030622A1 (en) Multiple Plasma Driven Catalyst (PDC) Reactors
KR20050019692A (en) Cleanness unit for air sterilization setting in the air conditioning line
CN104334199B (en) air purification device
JP2012120768A (en) Deodorization and sterilization apparatus and method
RU94669U1 (en) DEVICE FOR SANITARY-HYGIENIC AIR TREATMENT
WO2020001068A1 (en) Air purifier
CN105841265A (en) Plasma air purification unit
US20240374765A1 (en) Plasma source for hand disinfection
CN108692377A (en) A kind of no dead angle formula fresh air improvement device
KR20220099702A (en) Air cleaning device using atmospheric-pressure plasma
CN214009469U (en) Plasma driving catalyst equipment for air disinfection and purification
JP2006167190A (en) Air purification device
JP4535748B2 (en) Air purification device
JP2008014527A (en) Air conditioner
TWM628958U (en) Sterilizing plasma air purifier
TWI646289B (en) Air purification apparatus and air purification method
CN220818009U (en) Air purification module and air purification device