JP2012201190A - フロントフォーク - Google Patents

フロントフォーク Download PDF

Info

Publication number
JP2012201190A
JP2012201190A JP2011066846A JP2011066846A JP2012201190A JP 2012201190 A JP2012201190 A JP 2012201190A JP 2011066846 A JP2011066846 A JP 2011066846A JP 2011066846 A JP2011066846 A JP 2011066846A JP 2012201190 A JP2012201190 A JP 2012201190A
Authority
JP
Japan
Prior art keywords
air
fork
main body
fork main
sealing jig
Prior art date
Legal status (The legal status is an assumption and is not a legal conclusion. Google has not performed a legal analysis and makes no representation as to the accuracy of the status listed.)
Granted
Application number
JP2011066846A
Other languages
English (en)
Other versions
JP5671392B2 (ja
Inventor
Hideaki Ogura
秀昭 小倉
Satoshi Kamiya
聡 紙矢
Current Assignee (The listed assignees may be inaccurate. Google has not performed a legal analysis and makes no representation or warranty as to the accuracy of the list.)
KYB Corp
Original Assignee
KYB Corp
Priority date (The priority date is an assumption and is not a legal conclusion. Google has not performed a legal analysis and makes no representation as to the accuracy of the date listed.)
Filing date
Publication date
Application filed by KYB Corp filed Critical KYB Corp
Priority to JP2011066846A priority Critical patent/JP5671392B2/ja
Publication of JP2012201190A publication Critical patent/JP2012201190A/ja
Application granted granted Critical
Publication of JP5671392B2 publication Critical patent/JP5671392B2/ja
Expired - Fee Related legal-status Critical Current
Anticipated expiration legal-status Critical

Links

Images

Landscapes

  • Axle Suspensions And Sidecars For Cycles (AREA)
  • Fluid-Damping Devices (AREA)

Abstract

【課題】 フォーク本体内のエア室におけるエア圧の調整を可能にするのについて、レイアウトを容易にして実車への装備に最適となる。
【解決手段】 車体側チューブTと車輪側チューブとからなるフォーク本体が二輪車の前輪側に左右の一対に配設されると共に、この左右の一対に配設されるフォーク本体内にエア室Aを有するフロントフォークにおいて、左右のフォーク本体の上端部がエア封入治具Jで連結され、このエア封入治具Jが左右のフォーク本体内のエア室Aに連通するエア通路Lを有し、このエア通路Lが左右のフォーク本体の外部に配設のエア給排源に分離可能に接続されるエアバルブVを有し、このエアバルブVが左右のフォーク本体の上端側部における二輪車のシート側となる裏側に位置決めされてなる。
【選択図】 図1

Description

この発明は、フロントフォークに関し、特に、二輪車の前輪側に左右で一対に装備されるフロントフォークの改良に関する。
二輪車の前輪側に左右で一対に装備されるフロントフォークとしては、これまでに種々の提案があるが、その中で、たとえば、特許文献1に開示の提案にあっては、フロントフォークが車体側チューブと車輪側チューブとからなるフォーク本体内のガス室におけるガス圧の高低調整を可能にする。
すなわち、この特許文献1に開示のフロントフォークは、フォーク本体の上端部を構成する車体側チューブの上端部にガス室を有すると共に、このガス室に連通するガス供給口を有してなる。
そして、このフロントフォークにあって、ガス供給口は、ジョイント,外部配管およびオンオフ弁たる電磁弁を介して加圧空気供給源に接続されている。
それゆえ、この特許文献1に開示の提案にあっては、フロントフォークにおいて、フォーク本体内のガス室におけるガス圧が不足するときに、電磁弁を介して加圧空気供給源からの空気をガス室に供給して、ガス室におけるガス圧を所望の高さに調整することが可能になる。
特公平4−60876号公報
しかしながら、上記した特許文献1に開示の提案にあっては、フロントフォークが二輪車の前輪側に装備される実際を勘案すると、些かの不具合があると指摘される可能性がある。
すなわち、上記した特許文献1に開示の提案にあっては、フロントフォークに設けたガス供給口は、ジョイント,外部配管およびオンオフ弁を介して加圧空気供給源に接続される。
つまり、フロントフォークを前輪側に装備する二輪車にあって、加圧空気供給源を装備することが必須になり、この加圧空気供給源を、たとえば、車体側に装備するのにあって、いわゆるレイアウトに苦労することになる不具合がある。
また、加圧空気供給源には、外部配管が接続されるので、この外部配管の車体側への装備についても同様にレイアウトが考慮されなければならず、場合によっては、二輪車における外観に観る者をして違和感を抱かせることになる不具合も懸念される。
この発明は、上記した事情を鑑みて創案されたものであって、フォーク本体内のエア室におけるエア圧の調整を可能にするのについて、レイアウトを容易にして実車への装備に最適となるフロントフォークを提供することを目的とする。
上記した目的を達成するために、この発明によるフロントフォークの構成を、車体側チューブと車輪側チューブとからなるフォーク本体が二輪車の前輪側に左右の一対に配設されると共に、この左右の一対に配設されるフォーク本体内にエア室を有するフロントフォークにおいて、上記左右のフォーク本体の上端部がエア封入治具で連結され、このエア封入治具が上記左右のフォーク本体内のエア室に連通するエア通路を有し、このエア通路が上記左右のフォーク本体の外部に配設のエア給排源に分離可能に接続されるエアバルブを有し、このエアバルブが上記左右のフォーク本体の上端側部における二輪車のシート側となる裏側に位置決めされてなるとする。
それゆえ、この発明にあって、エア封入治具は、エアバルブに連通するエア通路を介して一対のフォーク本体内のエア室を連通するから、一対のフォーク本体内のエア室におけるエア圧を同じにする。
したがって、エア封入治具が有するエアバルブにエア給排源を接続すると共に、エアバルブおよびエア封入治具を介してフォーク本体内のエア室にエアを供給するとき、一対のフォーク本体内のエア室におけるエア圧が高くなる。
上記と逆に、エア封入治具およびエアバルブを介してフォーク本体内のエア室からエアを排出するときに、一対のフォーク本体内のエア室におけるエア圧が低くなる。
一方、この発明にあって、フォーク本体内のエア室に対するエアの給排を可能にするエア封入治具が左右のフォーク本体の上端側部に配設される一方で、エア室へのエアの給排を実践するエア給排源がフォーク本体の外部に配設されて、エア封入治具に、つまり、エア封入治具におけるエアバルブに常時接続されないから、このエア給排源を二輪車における車体側に装備する必要がない。
したがって、エア給排源を二輪車における車体側に装備するためのレイアウトについて配慮する必要がない。
その結果、この発明によれば、フォーク本体内のエア室におけるエア圧の調整を可能にするのについて、レイアウトを容易にして実車への装備に最適となる。
この発明の一実施形態によるエア封入治具を装備したフロントフォークの上端側部を示す部分正面図である。 他の実施形態によるエア封入治具を装備したフロントフォークの上端側部を図1と同様に示す図である。 図2中のX−X線位置で示すエア封入治具の拡大部分平面横断面図である。 さらに他の実施形態によるエア封入治具を図3と同様に示す図である。
以下に、図示した実施形態に基づいて、この発明を説明する。一対のフロントフォークを二輪車の前輪側に装備するについては、図1および図2に示すように、左右で一対となる二本のフロントフォークの上端側部をあらかじめブリッジ機構(符示せず)で一体化し、各フロントフォークにおける下端部を前輪の車軸に連結させて前輪を左右から挟むようにして懸架する。
ブリッジ機構は、フロントフォークにおける上端部の上方側部に連結されてハンドル(図示せず)を連結させるアッパーブラケットB1と、このアッパーブラケットB1の下方に位置決められてフロントフォークにおける上端部の下方側部に連結されるアンダーブラケットB2とを有してなる。
そして、アッパーブラケットB1およびアンダーブラケットB2は、両端部に形成の割り構造の取り付け孔(符示せず)にフロントフォークにおける上端部、すなわち、車体側チューブTの上端部を挿通させて一体的に把持する。
また、このブリッジ機構にあっては、アッパーブラケットB1とアンダーブラケットB2とを一体的に連結する一本のステアリングシャフトSを両者の中央に有する。
このステアリングシャフトSは、二輪車における車体の先端部を構成するヘッドパイプ(図示せず)内に回動可能に導通されて回転中心になり、ハンドル操作でブリッジ機構が回転されるとき、二本のフロントフォークを介しての前輪における左右方向への転舵を可能にする。
ところで、この発明によるフロントフォークは、上端側部材とされる車体側チューブT内に図示しない下端側部材とされる車輪側チューブが入出可能に挿通される、つまり、テレスコピック型に形成されるフォーク本体(符示せず)を有し、このフォーク本体内にエア室A(図3および図4参照)を有する。
また、この発明によるフロントフォークにあっては、このフォーク本体内のエア室Aにおけるエア圧で車体側チューブT内から車輪側チューブが突出する伸長方向に附勢される。
そして、このフォーク本体内のエア室Aにおけるエア圧は、フォーク本体が最伸長状態にあるときに、大気圧以上となるとして、フォーク本体が最伸長状態から反転して収縮作動を開始する当初から、たとえば、フォーク本体に内蔵のダンパ内の減衰部による減衰作用がいわゆる遊びなくして設定通りになされるとしている。
そしてまた、フォーク本体内のエア室Aにおけるエア圧については、フロントフォークが二輪車の前輪側に装備される状況では、わずかではあるが収縮状態になることでエア圧が大気圧以上になるから、その意味では、最伸長状態時に大気圧以上になっていなくても良いと言い得る。
ちなみに、この発明のフロントフォークにあっては、フォーク本体内のエア室Aにおけるエア圧によって伸長方向に附勢されるから、たとえば、従前のフォーク本体内に収装の懸架バネによって伸長方向に附勢されるフロントフォークに比較して、懸架バネを有しない分全体重量の軽減化に寄与する利点がある。
もっとも、この発明が意図するところからすると、フロントフォークがフォーク本体内にエア室Aを有すれば良く、フロントフォークがフォーク本体内に懸架バネを収装するか収装しないかは問題ではなく、この発明の成立を妨げるものではない。
なお、フォーク本体にあっては、図示しないが、車体側チューブTと車輪側チューブとの間に上下となって離間配置される軸受を有すると共に、この上下の軸受で画成される潤滑隙間を有し、この潤滑隙間に作動油で代表される作動流体が流入することで、車体側チューブTと車輪側チューブとの間における同芯となる摺動と潤滑を保障する。
そして、車体側チューブTの下端部となる開口端部の内周には、車輪側チューブの外周に摺接する下方軸受の下方に直列するようにオイルシールおよびダストシールが配設され、オイルシールでフォーク本体内を密封空間にし、ダストシールで車輪側チューブの外周に付着するダストのオイルシール側への侵入を阻止して、オイルシールにおけるシール機能を保障する。
さらに、車体側チューブT内に車輪側チューブが大きいストロークで没入するフォーク本体の最収縮作動時には、それ以上の収縮を阻止するべく、図示しないが、車輪側チューブの上端が車体側チューブT側に当接される設定とされ、また、オイルロック機構で最収縮作動時の底突きが阻止される。
そしてさらに、フォーク本体が最伸長するときには、図示しないが、多くの場合に、ダンパが収装する伸び切りバネが最収縮し、この伸び切りバネの最収縮でいわゆる衝撃吸収が実現されると共に、フォーク本体の最伸長時の長さが規制される。
ところで、この発明によるフロントフォークにあっては、上記のオイルシールの配設で密封空間となる内部、すなわち、フォーク本体内をリザーバ(符示せず)に設定する。
このリザーバは、所定量の作動流体を収容すると共に、作動流体の流体面(図示せず)を境にして画成される前記した気室Aを有し、この気室Aは、フォーク本体の伸縮作動時に同期して膨縮して、この膨縮の際に所定のエアバネ力、すなわち、チューブ反力を発生する。
ちなみに、上記の気室Aは、車体側チューブTの上端開口を閉塞するキャップ部材11にエアバルブ、すなわち、この発明におけるエアバルブV(図1,図2および図4参照)と同様に機能するエアバルブが配設されるとき、このエアバルブを介して封入されたエア圧を高低調整し得るとしても良い。
しかしながら、この発明にあっては、後述するエア封入治具Jでフォーク本体内のエア室Aにおけるエア圧を高低し得るので、エアバルブがあらためて上記のキャップ部材11に、つまり、車体側チューブTの上端部に配設されていなくても良いと言い得る。
そして、キャップ部材11がエアバルブを有しないとする場合には、キャップ部材11の構成を簡素化でき、たとえば、部品コストの低減を可能にし、あるいは、減衰力調整用のアジャスタや、さらには、懸架バネのバネ力調整用のアジャスタを設けることを容易にするなどの利点を生む。
一方、上記のフォーク本体は、図示しないが、作動流体を収容してリザーバとされる内部にダンパ(符示せず)を有し、このダンパは、たとえば、正立型に設定されるとき、車体側チューブTの軸芯部に垂設される上端側部材たるロッド体の先端側部を車輪側チューブの軸芯部に立設される下端側部材たるシリンダ体内に入出自在に挿通させてなる。
このことから、フォーク本体内のエア室Aにあっては、図3中および図4中に図示しないが、ロッド体が軸芯部に位置決められる状態を呈し、また、上記のダンパが倒立型に設定される場合には、ロッド体に代えて、シリンダ体が上記のエア室Aの軸芯部に位置決められる状態を呈する。
ちなみに、フォーク本体の軸芯部に配設されるダンパにあっては、凡そこの種のダンパがそうであるように、シリンダ体内に摺動可能に収装のピストン体が減衰手段を有し、それゆえ、ピストン体によってシリンダ体内に画成されるロッド側室とピストン側室とが減衰手段を介して連通するときに所定の減衰作用が具現化される。
上記したところは、この発明によるフロントフォークにおける言わば基本的な構成であるが、図示する実施形態にあっては、以下の構成を有する。
すなわち、この発明のフロントフォークにあっては、エア封入治具Jを有すると共に、このエア封入治具Jがエア給排源と分離可能なエアバルブVを備えるとし、これにより、エア給排源を常設しない構成とし、さらには、エア封入治具Jを装備している状態を外からの観者に容易に視認できないように配慮している。
そこで、以下には、このエア封入治具Jについて説明し、併せて、エア封入治具Jを装備している状態を外からの観者に容易に視認できないように配慮している点について説明する。
先ず、この発明のフロントフォークにあっては、図3および図4に示すように、左右のフォーク本体の上端部がエア封入治具Jで連結され、このエア封入治具Jが左右のフォーク本体内のエア室Aに連通するエア通路Lを有し、このエア通路Lが左右のフォーク本体の外部に配設のエアポンプなどのエア給排源(図示せず)に分離可能に接続されるエアバルブVを有してなる。
ちなみに、エアバルブVは、これまでに周知されているエアバルブと同様に構成されていて、エア給排源が接続されるとき、このエア給排源とフォーク本体内のエア室Aとの間におけるエアの往復を許容すると共に、エア給排源が分離されるときのいわゆる遮断動作で、フォーク本体内のエア室Aに供給したエアを封入して、この封入されたエアが外部に漏出することを阻止する。
ちなみに、この発明にあって、エアバルブVに接続されるエア給排源については、二輪車に搭載されずしていわゆる外部に別置きとされ、したがって、たとえば、前記した特許文献1に開示されているように、エア給排源を二輪車に常時装備する場合に比較して、二輪車においていわゆるレイアウトを考慮する必要がなく、したがって、その意味では、言わば既存の二輪車にこの発明によるエア封入治具Jを設けることを容易にする利点がある。
また、この発明にあって、エア封入治具Jは、左右のフォーク本体の上端部に配設されるとし、したがって、この左右のフォーク本体の上端部にはヘッドライトや風防、さらには、ゼッケンプレートなどの言わば遮蔽物Cが近隣配置されるので、左右のフォーク本体の上端部にエア封入治具Jを設けていることを外からの観る者に容易に視認されないことになる。
詳述すると、図1に示すエア封入治具Jは、基本的には、ホース1、すなわち、たとえば、ゴム材などで形成された可撓性に富む耐圧ホースからなり、図1中で下端部となる基端部にエアバルブVを有する。
そして、このエア封入治具Jにあっては、ホース1は、内部をエア通路L(図3および図4参照)にし、このエア通路Lは、一方および他方のフォーク本体内のエア室Aに連通する。
このとき、このエア封入治具Jにあっては、基端部から先端部にかけての中間部でいわゆる左右に分岐されて、分岐された各先端部が一方および他方のフォーク本体における車体側チューブTの上端部に連結される。
そして、エア封入治具Jにおいて、ホース1の先端部は、車体側チューブTの上端開口を閉塞するキャップ部材11の軸芯部、あるいは、軸芯部から偏芯された部位に配設されているエアバルブを撤去した後の取付孔などに螺着などされて連結される。
このことからすると、この発明によるエア封入治具Jは、フロントフォークが上端部にエアバルブを有してなるとき、このエアバルブを撤去することで出現する取付孔を利用していわゆる後付けでフォーク本体に設けられる。
もっとも、このエア封入治具Jが機能するところを鑑みると、フロントフォークのいわゆる製品出荷時にこのエア封入治具Jがフォーク本体に装着されていても良いことはもちろんである。
ただ、この図1に示す実施形態のエア封入治具Jにあっては、フォーク本体を構成する車体側チューブTの上端部にエアバルブを有するような場合に、このエアバルブを撤去して、このエア封入治具Jにおける先端部、つまり、ホースの先端部を連結することが可能になるので、エア封入治具Jを利用し易くする利点がある。
それゆえ、この図1に示す実施形態のエア封入治具Jにあっては、エアバルブVに連通するエア通路を介して一対のフォーク本体内のエア室Aを連通するから、一対のフォーク本体内のエア室Aにおけるエア圧を同じにする。
したがって、このエア封入治具Jにあっては、エア封入治具Jが有するエアバルブVにエア給排源を接続すると共に、エア給排源からのエアをフォーク本体内のエア室Aに供給するとき、フォーク本体内のエア室Aにおけるエア圧を高くする。
そして、このエア封入治具Jにあっては、上記と逆に、エアバルブVを介してフォーク本体内のエア室Aからエアを排出するときに、フォーク本体内のエア室Aにおけるエア圧を低くする。
ちなみに、フォーク本体内のエア室Aにおけるエア圧が高くなるとき、高くなったエア室Aのエア圧がフォーク本体を伸長させるチューブ反力を大きくし、逆に、フォーク本体内のエア室Aにおけるエア圧が低くなるとき、低くなったエア室Aのエア圧がフォーク本体を伸長させるチューブ反力を小さくする。
なお、上記した実施形態にあって、ホース1の基端部に設けられるエアバルブVは、ホース1の基端部が垂直方向から水平方向に折り曲げられることで、いわゆる横向きに設けられているが、これに代えて、図示しないが、ホース1の基端部が水平方向に折り曲げられず、したがって、いわゆる下向きに設けられても良い。
図2および後述の図4は、それぞれこの発明の他の実施形態によるエア封入治具Jを示すが、この実施形態の場合には、フォーク本体が、たとえば、上端部にエアバルブを有するか否かに拘りなく、実施可能とされる。
ただ、この図2および後述の図4に示す実施形態のエア封入治具Jを利用する場合には、フォーク本体を構成する車体側チューブTの上端部にこの車体側チューブTの肉厚を径方向に貫通する貫通孔T1を設けることが必須になる。
順次説明すると、まず、図2に示す実施形態のエア封入治具Jは、一方および他方のフォーク本体における上端部にキー構造などの適宜の連結構造で一体的に連結される環状体2を有し、この環状体2は、フォーク本体におけるエア室Aに連通すると共に外部に開口する(図3参照)エア通路Lを有する。
ちなみに、この環状体2は、前記したアッパーブラケットB1の直下に配設されて、上端がアッパーブラケットB1の下端に係止された状態で、下端側部が上記したキー構造などの適宜の連結構造で車体側チューブTの外周に一体的に連結される。
そして、この環状体2は、図3に示すように、エア通路Lの基端部、つまり、外部に開口する開口端部にホース3の先端部をコネクタ4の配設下に連結させてなる。
一方、このエア封入治具Jにあって、ホース3は、図1の実施形態の場合と同様の構成に形成されてなるとし、上記のコネクタ4を先端部に有することで、略T字状の正面形状を呈するように、つまり、先端部側が分岐されて内部をエア通路(図示せず)にするように形成され、図2中で下端部となる基端部にエアバルブVを有する。
そして、上記の環状体2は、図2に示すように、内周部の上下に形成の環状溝5内に収装されて車体側チューブTの外周に摺接する気密用のシール6を有し、この上下のシール6の間に車体側チューブTの上端部に開穿されて上記の通路Lに連通する連通孔T1を開口させる。
それゆえ、この図2および図3に示す実施形態のエア封入治具Jにあっては、環状体2が有するエア通路Lおよびホース3内のエア通路を介して一対のフォーク本体内のエア室Aを連通するから、一対のフォーク本体内のエア室Aにおけるエア圧を同じにする。
そして、このエア封入治具Jにあっては、ホース3に設けたエアバルブVにエア給排源を接続すると共に、エア給排源からのエアをフォーク本体内のエア室Aに供給するとき、フォーク本体内のエア室Aにおけるエア圧が高くなり、高くなったエア室Aのエア圧がフォーク本体を伸長させるチューブ反力を大きくする。
そしてまた、このエア封入治具Jにあっては、上記と逆に、エアバルブVを介してフォーク本体内のエア室Aからエアを排出するときに、フォーク本体内のエア室Aにおけるエア圧を低くすることになり、フォーク本体におけるチューブ反力を小さくすることが可能になる。
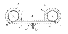
図4に示す実施形態のエア封入治具Jは、図2および図3に示すエア封入治具Jにおける環状体2と、この環状体2を繋ぐ部分とを一体に形成したブリッジ体に形成されてなる。
すなわち、この図4に示すエア封入治具Jは、一方および他方のフォーク本体における上端部に気密構造に連結される環状体部7と、この左右の環状体部7を一体に連結する連結部8とからなる。
ちなみに、環状体部7は、前記した図2および図3に示す環状体2と同様に、シール6(図3参照)の配在下にフォーク本体における上端部に気密構造に連結される。
そして、左右の環状体部7とこれに連続する連結部8とにかけてエア通路Lを有し、このエア通路Lの両端部が車体側チューブTの内部のエア室Aにこの車体側チューブTに開穿の連通孔T1を介して連通する。
なお、この連通孔T1は、前記した図2および図3に示す実施形態の場合と同様に、上下のシール6の間に位置決められる。
そしてまた、連結部8の中央部にエアバルブVを有し、このエアバルブVは、図示するところでは、その軸線方向がフォーク本体の軸線方向を横切る方向となるいわゆる水平方向に延在される。
なお、エアバルブVに対するエア給排源の接続が可能となる限りには、エアバルブVの軸線方向が任意の方向を向いても良いことはもちろんである。
また、上記のエア通路Lについては、たとえば、図4中で右方となる一方の環状体部7の外方から、この一方の環状体部7および連結部8を貫通して図4中で左方となる他方の環状体部7にかけて形成されるが、一方の環状体部7の通路L部分に封入栓としての鋼球が圧入されて、通路Lと外部とが遮断される。
それゆえ、この図4に示す実施形態のエア封入治具Jにあっても、環状体部7および連結部8が有するエア通路Lを介して一対のフォーク本体内のエア室Aを連通するから、一対のフォーク本体内のエア室Aにおけるエア圧を同じにする。
そして、このエア封入治具Jにあっては、連結部8に設けたエアバルブVにエア給排源を接続すると共に、エア給排源からのエアをフォーク本体内のエア室Aに供給するとき、フォーク本体内のエア室Aにおけるエア圧が高くなり、高くなったエア室Aのエア圧がフォーク本体を伸長させるチューブ反力を大きくする。
そして、このエア封入治具Jにあっては、上記と逆に、エアバルブVを介してフォーク本体内のエア室Aからエアを排出するときに、フォーク本体内のエア室Aにおけるエア圧を低くすることになり、フォーク本体におけるチューブ反力を小さくすることが可能になる。
次に、この発明にあっては、上記したエアバルブVが左右のフォーク本体の上端側部における二輪車のシート側となる裏側に位置決めされてなるとして、この発明によるエア封入治具Jを装備している状態を外からの観者に容易に視認できないように配慮している。
つまり、前記した図1および図2に示すように、エア封入治具JにおけるエアバルブVは、左右のフォーク本体の上端側部における二輪車のシート側(図示せず)となる裏側に位置決めされている。
それゆえ、二輪車を二輪車の前から二輪車の後輪側に向けて見る外からの観者にすれば、フォーク本体の上端部の裏側にエア封入治具Jを設けていることおよびエアバルブVがあることを視認できない。
つまり、二輪車を二輪車の前から二輪車の後輪側に向けて見るとき、フロントフォークの上端側部には、ヘッドライトが近設されていたり、風防が設けらていたりし、特に、オフロード車にあっては、ゼッケンプレートが設けられていたりする。
このことから、上記のヘッドライトやゼッケンプレートは、言わば、遮蔽物Cとなり、フォーク本体の上端側部における裏側の状態を容易に視認させない。
このことからして、この発明を具現化する二輪車にあっては、左右のフォーク本体の上端側部における二輪車のシート側となる裏側にエア封入治具Jを装備している状態およびこのエア封入治具JにおけるエアバルブVがある状態を外からの観者に容易に視認できないことになる。
したがって、この発明にあっては、二輪車の前から二輪車の後輪側を見る外からの観者に、エア封入治具Jが配設されていることを視認させず、その結果、エア封入治具Jが配設されていることを視認することに起因する違和感を持たすことがない。
そして、二輪車のライダーにあっては、フロントフォークにエア封入治具Jを配設していることを視認されることに起因する違和感を外からの観者に持たれずに二輪車に搭乗できることになる。
前記したところでは、エア封入治具Jがブリッジ機構を構成するアッパーブラケットB1と別体に設けられるとして説明したが、この発明のエア封入治具Jが機能するところを勘案すると、特に、図4に示すところにあっては、エア封入治具Jが上記のアッパーブラケットB1に代わるとしても良い。
1,3 ホース
2 環状体
4 コネクタ
5 環状溝
6 シール
7 環状体部
8 連結部
9 鋼球
11 キャップ部材
A エア室
B1 アッパーブラケット
B2 アンダーブラケット
C 遮蔽物
J エア封入治具
L エア通路
S ステアリングシャフト
T 車体側チューブ
T1 連通孔
V エアバルブ

Claims (5)

  1. 車体側チューブと車輪側チューブとからなるフォーク本体が二輪車の前輪側に左右の一対に配設されると共に、この左右の一対に配設されるフォーク本体内にエア室を有するフロントフォークにおいて、
    上記左右のフォーク本体の上端部がエア封入治具で連結され、
    このエア封入治具が上記左右のフォーク本体内のエア室に連通するエア通路を有し、
    このエア通路が上記左右のフォーク本体の外部に配設のエア給排源に分離可能に接続されるエアバルブを有し、
    このエアバルブが上記左右のフォーク本体の上端側部における二輪車のシート側となる裏側に位置決めされてなることを特徴とするフロントフォーク。
  2. 上記エア封入治具は、基端部に上記エアバルブを有すると共に内部をエア通路にするホースからなり、このホースは、中間部で分岐されて先端部を上記フォーク本体における車体側チューブの上端部に連結させて上記エア通路を上記フォーク本体内のエア室に連通させてなる請求項1に記載のフロントフォーク。
  3. 上記エア封入治具は、上記左右のフォーク本体における上端部を一体的に連結すると共に上記エアバルブを設けるブリッジ体からなり、このブリッジ体は、上記フォーク本体内のエア室に連通すると共に上記フォーク本体内のエア室相互の連通を許容するエア通路を有し、このエア通路は、上記エアバルブを有してなる請求項1に記載のフロントフォーク。
  4. 上記エア封入治具は、上記左右のフォーク本体における上端部にそれぞれ連結される環状体を有し、この環状体は、上記フォーク本体におけるエア室に連通すると共に外部に開口するエア通路を有し、このエア通路は、基端部に上記エアバルブを有すると共に先端部側で分岐されて内部をエア通路にするホースの先端部を連結させてなる請求項1に記載のフロントフォーク。
  5. 上記左右のフォーク本体は、上端側部にこの上端側部に対する外からの観者の視界を妨げる遮蔽物を近隣配置させ、この遮蔽物は、前照灯,風防あるいはゼッケンプレートからなる請求項1に記載のフロントフォーク。
JP2011066846A 2011-03-25 2011-03-25 フロントフォーク Expired - Fee Related JP5671392B2 (ja)

Priority Applications (1)

Application Number Priority Date Filing Date Title
JP2011066846A JP5671392B2 (ja) 2011-03-25 2011-03-25 フロントフォーク

Applications Claiming Priority (1)

Application Number Priority Date Filing Date Title
JP2011066846A JP5671392B2 (ja) 2011-03-25 2011-03-25 フロントフォーク

Publications (2)

Publication Number Publication Date
JP2012201190A true JP2012201190A (ja) 2012-10-22
JP5671392B2 JP5671392B2 (ja) 2015-02-18

Family

ID=47182619

Family Applications (1)

Application Number Title Priority Date Filing Date
JP2011066846A Expired - Fee Related JP5671392B2 (ja) 2011-03-25 2011-03-25 フロントフォーク

Country Status (1)

Country Link
JP (1) JP5671392B2 (ja)

Citations (4)

* Cited by examiner, † Cited by third party
Publication number Priority date Publication date Assignee Title
JPS55177600U (ja) * 1979-06-08 1980-12-19
JPS58153188U (ja) * 1982-04-09 1983-10-13 株式会社昭和製作所 フロントフオ−クの気体封入装置
JPS605987U (ja) * 1983-06-27 1985-01-17 川崎重工業株式会社 気体封入式フロントフォ−クを有する自動二輪車
JP2008213619A (ja) * 2007-03-02 2008-09-18 Honda Motor Co Ltd 自動二輪車のフェンダ支持構造

Patent Citations (4)

* Cited by examiner, † Cited by third party
Publication number Priority date Publication date Assignee Title
JPS55177600U (ja) * 1979-06-08 1980-12-19
JPS58153188U (ja) * 1982-04-09 1983-10-13 株式会社昭和製作所 フロントフオ−クの気体封入装置
JPS605987U (ja) * 1983-06-27 1985-01-17 川崎重工業株式会社 気体封入式フロントフォ−クを有する自動二輪車
JP2008213619A (ja) * 2007-03-02 2008-09-18 Honda Motor Co Ltd 自動二輪車のフェンダ支持構造

Also Published As

Publication number Publication date
JP5671392B2 (ja) 2015-02-18

Similar Documents

Publication Publication Date Title
EP1880880A2 (en) Vehicle
JP2009179260A (ja) 自動二輪車の連動ブレーキ装置
JPWO2007052581A1 (ja) ダンパ
US9598138B2 (en) Steering structure of saddle-ride-type vehicle
JP5782993B2 (ja) 自動二輪車の燃料タンク
JP5357788B2 (ja) フロントフォーク
JP5042732B2 (ja) 油圧緩衝器
JP5671392B2 (ja) フロントフォーク
JP2010025232A (ja) フロントフォーク
JP2009269418A (ja) 2輪車用タイヤ空気供給装置
TWI541162B (zh) Suspension device
US12422013B2 (en) Shock absorber
JP5150333B2 (ja) 二輪車のフロントフォーク
JP5695517B2 (ja) フロントフォーク
CN103687998B (zh) 作业车
JP2008039116A (ja) 車両
JP2010127302A (ja) フロントフォーク
JP5324496B2 (ja) フロントフォーク
JP5406759B2 (ja) フロントフォーク
JP2014145475A (ja) フロントフォーク
JP2009241640A (ja) キャブチルト装置
CN103267083A (zh) 一种阻力复原可调的减震器
JP2005195121A (ja) 自動二輪車等のフロントフォーク
JP4220296B2 (ja) 走行車両
US20080092683A1 (en) Venturi passageway for a steering assembly

Legal Events

Date Code Title Description
A621 Written request for application examination

Free format text: JAPANESE INTERMEDIATE CODE: A621

Effective date: 20130923

A977 Report on retrieval

Free format text: JAPANESE INTERMEDIATE CODE: A971007

Effective date: 20140522

A131 Notification of reasons for refusal

Free format text: JAPANESE INTERMEDIATE CODE: A131

Effective date: 20140603

A521 Request for written amendment filed

Free format text: JAPANESE INTERMEDIATE CODE: A523

Effective date: 20140801

TRDD Decision of grant or rejection written
A01 Written decision to grant a patent or to grant a registration (utility model)

Free format text: JAPANESE INTERMEDIATE CODE: A01

Effective date: 20141202

A61 First payment of annual fees (during grant procedure)

Free format text: JAPANESE INTERMEDIATE CODE: A61

Effective date: 20141219

R151 Written notification of patent or utility model registration

Ref document number: 5671392

Country of ref document: JP

Free format text: JAPANESE INTERMEDIATE CODE: R151

S533 Written request for registration of change of name

Free format text: JAPANESE INTERMEDIATE CODE: R313533

R350 Written notification of registration of transfer

Free format text: JAPANESE INTERMEDIATE CODE: R350

R250 Receipt of annual fees

Free format text: JAPANESE INTERMEDIATE CODE: R250

LAPS Cancellation because of no payment of annual fees