JP2012167995A - ナビゲーション装置 - Google Patents

ナビゲーション装置 Download PDF

Info

Publication number
JP2012167995A
JP2012167995A JP2011028654A JP2011028654A JP2012167995A JP 2012167995 A JP2012167995 A JP 2012167995A JP 2011028654 A JP2011028654 A JP 2011028654A JP 2011028654 A JP2011028654 A JP 2011028654A JP 2012167995 A JP2012167995 A JP 2012167995A
Authority
JP
Japan
Prior art keywords
guide
area
map
guide map
enlarged
Prior art date
Legal status (The legal status is an assumption and is not a legal conclusion. Google has not performed a legal analysis and makes no representation as to the accuracy of the status listed.)
Granted
Application number
JP2011028654A
Other languages
English (en)
Other versions
JP5713716B2 (ja
JP2012167995A5 (ja
Inventor
Takeshi Senfuku
剛 泉福
Yoko Sano
葉子 佐野
Current Assignee (The listed assignees may be inaccurate. Google has not performed a legal analysis and makes no representation or warranty as to the accuracy of the list.)
Mitsubishi Electric Corp
Original Assignee
Mitsubishi Electric Corp
Priority date (The priority date is an assumption and is not a legal conclusion. Google has not performed a legal analysis and makes no representation as to the accuracy of the date listed.)
Filing date
Publication date
Application filed by Mitsubishi Electric Corp filed Critical Mitsubishi Electric Corp
Priority to JP2011028654A priority Critical patent/JP5713716B2/ja
Publication of JP2012167995A publication Critical patent/JP2012167995A/ja
Publication of JP2012167995A5 publication Critical patent/JP2012167995A5/ja
Application granted granted Critical
Publication of JP5713716B2 publication Critical patent/JP5713716B2/ja
Expired - Fee Related legal-status Critical Current
Anticipated expiration legal-status Critical

Links

Images

Landscapes

  • Instructional Devices (AREA)
  • Navigation (AREA)

Abstract

【課題】案内経路上の案内対象地点を含む周辺領域を拡大した案内図において、案内対象地点以降に続く案内経路に沿った進行方向の地図領域を広く表示することができるナビゲーション装置を提供する。
【解決手段】表示出力部5の拡大案内図表示エリア22で、右左折地点P2以降に続く案内経路が向かう地図領域が広く表示されるように、表示出力部5の拡大案内図表示エリア22における、案内経路R上の右左折地点P2までの経路を含む所定の領域Aの配置位置をずらした拡大案内図の案内図データを生成する。
【選択図】図2

Description

この発明は、案内対象地点である道路の右左折地点を含む周辺領域を拡大した地図表示を行うナビゲーション装置に関する。
従来のナビゲーション装置において、案内経路上の右左折地点に所定の距離近づくと、その右左折地点を含む周辺領域を拡大した地図表示を行う機能を有するものがある。
図1は、従来の右左折地点を含む案内経路の拡大案内図の一例を示す図であり、表示モニタ画面100を二画面に分割して、一方を広域地図画面101とし、もう一方を広域地図画面101中の一部の領域を拡大した拡大案内図エリア102としている。図1(a)及び図1(b)の例は、右左折地点である交差点103から所定の距離内に自車104が近づき、交差点103を含む周辺領域が、拡大案内図エリア102に拡大表示された場合を示している。図1(a)に示すように、従来では、交差点103が、拡大案内図エリア102の画面横方向(左右方向)及び縦方向(上下方向)の中央付近に配置される。また、交差点103に関する情報(例えばレーン情報)を記述する表示要素105が、交差点103の位置によらず、拡大案内図エリア102の画面横方向の中央付近に配置される。
また、例えば、特許文献1に記載されるナビゲーション装置は、自車の進行方向が直進方向、右斜め上方向、左斜め上方向のいずれかであれば、拡大案内図の表示エリアの水平方向の中央に交差点を表示し、自車の進行方向が右折方向あるいは右斜め下方向であれば、拡大案内図の表示エリアの水平方向の左寄りに交差点を表示し、進行方向が左折方向あるいは左斜め下方向であれば、拡大案内図の表示エリアの水平方向の右寄りに交差点を表示する。これにより、進行方向の地図領域を広く地図表示しようとしている。
特開2008−209359号公報
従来では、図1(a)及び図1(b)に示すように、右左折地点を含む周辺領域の拡大案内図が表示されていたので、拡大案内図エリア102において、自車が交差点103を右左折した後の進行方向の空間が狭く、先を見通しにくいという課題があった。
これに対して、特許文献1に代表される従来の技術では、着目した交差点を中心に所定半径の円が進入リンク及び脱出リンクと交わる交点(進入リンク交点、脱出リンク交点)を算出し、この進入リンク交点と交差点を結ぶ方向を進入方向とし、交差点と脱出リンク交点を結ぶ方向を脱出方向とし、さらに進入方向と脱出方向の角度差に基づいて、交差点における進行方向を決定している。この交差点における進行方向に基づいて拡大案内図エリア102での交差点103の配置位置を決める。
しかしながら、交差点103を通過した後に、案内経路が大きく横方向に曲がる場合、交差点103における進行方向のみでは、案内経路に沿った進行方向の地図領域を、必ずしも広く表示できない。
例えば、図1(b)に示すように、交差点103での進行方向が左斜め上方向であり、交差点103を通過した後に案内経路が大きく横方向に曲がる場合、自車104の進行方向の見通しを考慮すると、拡大案内図エリア102では、案内経路が曲がる方向の空間が広くなるように交差点103が配置される必要がある。しかしながら、特許文献1では、自車104の進行方向の見通しによらず、水平方向中央に交差点103が配置される。
また、表示要素105は、交差点103の位置によらずに、拡大案内図エリア102の画面横方向の中央付近に地図上の右左折地点を指し示すように付加的に配置されるので、反対に交差点103からずれて表示される場合がある。
表示要素105が交差点103と重複して表示されると、運転者が交差点103を視認しにくくなる。表示要素105で提示すべき情報がない場合には、拡大案内図エリア102の表示要素105の配置スペースが空くことになり、無駄な表示スペースとなる。
例えば、図1に示すように、表示要素105に交差点103でのレーン情報が記述されている場合において、表示要素105が交差点103からずれて表示されると、表示要素105の内容と交差点103でのレーンとの対応がとりにくくなる。
この発明は、上記のような課題を解決するためになされたもので、案内経路上の案内対象地点を含む周辺領域を拡大した案内図において、案内対象地点以降に続く案内経路に沿った進行方向の地図領域を広く表示することができるナビゲーション装置を得ることを目的とする。
この発明に係るナビゲーション装置は、案内経路上の案内対象地点までの経路を含む所定の領域の拡大案内図の案内図データを生成する案内図生成部と、案内図生成部で生成された案内図データを用いて、所定の領域の拡大案内図を案内図表示領域に表示する表示出力部とを備え、案内図生成部が、表示出力部の案内図表示領域で案内対象地点以降に続く案内経路が向かう地図領域が広く表示されるように、表示出力部の案内図表示領域における、所定の領域の配置位置をずらした拡大案内図の案内図データを生成する。
この発明によれば、案内経路上の案内対象地点を含む周辺領域を拡大した案内図において、案内対象地点以降に続く案内経路に沿った進行方向の地図領域を広く表示することができるという効果がある。
従来の右左折地点を含む案内経路の拡大案内図の一例を示す図である。 この発明の実施の形態1によるナビゲーション装置の構成を示すブロック図である。 実施の形態1のナビゲーション装置による拡大案内図の作成処理の流れを示すフローチャートである。 右左折地点及び案内経路を含む領域の例を示す図である。 表示出力部の画面構成の例を示す図である。 右左折地点及び案内経路を含む領域の拡大案内図エリアへの配置を説明するための図である。 右左折地点及び案内経路を含む領域の拡大案内図エリアへの配置の例を示す図である。 右左折地点以降に続く案内経路と拡大案内図エリアの稜線との位置関係の例を示す図である。 右左折地点以降に続く案内経路と拡大案内図エリアの稜線との位置関係の別の例を示す図である。 右左折地点及び案内経路を含む領域の拡大案内図エリアにおける配置位置の調整を行わない場合を示す図である。 右左折地点及び案内経路を含む領域の拡大案内図エリアにおける位置調整の基準(右側)を示す図である。 右左折地点及び案内経路を含む領域の拡大案内図エリアにおける配置位置を右側に調整する場合を示す図である。 基準位置からさらに配置位置を調整する場合を示す図である。 右左折地点及び案内経路を含む領域の拡大案内図エリアにおける位置調整の基準(左側)を示す図である。 右左折地点P2の情報が記述された表示要素の配置例を示す図である。 右左折地点P2の情報が記述された表示要素の別の配置例を示す図である。 この発明の実施の形態2によるナビゲーション装置の構成を示すブロック図である。 実施の形態2のナビゲーション装置による拡大案内図の作成処理の流れを示すフローチャートである。 前の右左折地点から次の右左折地点までの案内経路が含まれる領域の例を示す図である。 前の右左折地点から次の右左折地点までの案内経路を含む領域の拡大案内図エリアへの配置を説明するための図である。 前の右左折地点から次の右左折地点までの案内経路を含む領域の拡大案内図エリアへの配置例を示す図である。 前の右左折地点から次の右左折地点までの案内経路を含む領域の拡大案内図エリアへの別の配置例を示す図である。 実施の形態3における右左折地点及び案内経路を含む領域の例を示す図である。 実施の形態3における右左折地点及び案内経路を含む領域の拡大案内図エリアへの配置を説明するための図である。 実施の形態3における前の右左折地点から次の右左折地点までの案内経路が含まれる領域の例を示す図である。 実施の形態3における前の右左折地点から次の右左折地点までの案内経路を含む領域の拡大案内図エリアへの配置を説明するための図である。
実施の形態1.
図2は、この発明の実施の形態1によるナビゲーション装置の構成を示すブロック図である。図2において、実施の形態1のナビゲーション装置は、経路探索部1、地図データベース2、案内用データ生成部3、案内図生成部4及び表示出力部5を備える。
経路探索部1は、不図示の位置計測部によりGPS(Global Positioning System)衛星から受信した信号に基づいて計測された現在位置、運転者等により外部から入力された目的地及び地図データベース2から読み出した地図データに基づいて案内経路を探索して、案内経路上の案内対象地点を検出する構成部である。
地図データベース2は、ナビゲーション処理で地図表示に利用される地図データが登録されたデータベースであり、実施の形態1によるナビゲーション装置に搭載されたハードディスク装置か、記憶メディア再生装置で再生可能な外部記憶メディア等に構築される。
案内用データ生成部3は、地図データベース2から読み出した地図データ、経路探索部1から供給された案内経路に基づいて、案内経路上の道路の右左折地点等の案内対象地点や、案内経路上の右左折地点からの退出道路を示す案内用データを生成する構成部である。
案内図生成部4は、案内用データ生成部3で生成された案内用データに基づいて、この案内用データが示す案内対象地点に対応した案内図データを生成する構成部である。その機能構成として、領域抽出部6、位置決定部7、交点判定部8、表示位置調整部9及び配置部10を備える。
表示出力部5は、案内図生成部4で生成された案内図データを画面上に表示する構成部である。表示出力部5では、その表示画面を二画面に分割して、一方の画面を広域地図の表示用画面とし、もう一方の画面を広域地図用の画面中の一部の領域を拡大した拡大案内図エリアとしている。例えば、自車が案内経路上の案内対象地点に近づくと、表示出力部5は、この案内対象地点周辺の拡大案内図を拡大案内図エリアに表示する。
なお、表示出力部5としては、例えば車両に搭載されたナビゲーション装置の液晶等のモニタを用いてもよいが、当該ナビゲーション装置とは別に設けられたモニタ装置を利用してもかまわない。また、出力画面を二画面とせず、広域地図又は拡大案内図を一画面で表示してもよい。
領域抽出部6は、案内経路及びその周辺の地図領域から、案内経路上の右左折地点等の案内対象地点から所定の距離前の地点(以下、特徴地点と呼ぶ)と、この案内対象地点までの案内経路とを含む領域を抽出する構成部であり、特徴地点から案内対象地点までの案内経路が含まれる最小領域を抽出する。
位置決定部7は、領域抽出部6で抽出された領域を拡大案内図エリアに配置する構成部であり、領域抽出部6で抽出された領域が、拡大案内図エリアで最大限に大きく表示されるように当該領域の画像データを拡大縮小して配置する。
交点判定部8は、位置決定部7によって拡大案内図エリアに配置された領域内の案内対象地点以降に続く経路を抽出して、案内対象地点以降に続く案内経路が、拡大案内図エリアのどの稜線と交差するか否かを判定する構成部である。
表示位置調整部9は、案内対象地点以降に続く案内経路が拡大案内図エリアの左右いずれかの稜線と交差する場合に、拡大案内図エリアに配置した上記領域の位置を左側又は右側にずらす調整を行う構成部である。
配置部10は、案内経路上の案内対象地点に関する情報が記述された表示要素を拡大案内図エリアに配置する構成部であり、拡大案内図エリアにおいて案内対象地点の上側(真上)に表示要素を配置する。
なお、図2に示した経路探索部1、案内用データ生成部3、案内図生成部4、領域抽出部6、位置決定部7、交点判定部8、表示位置調整部9、及び配置部10は、この発明の趣旨に従ったナビゲーション処理用プログラムをコンピュータに実行させることにより、ハードウェアとソフトウェアが協働した具体的な手段として当該コンピュータ上で実現することができる。すなわち、上記のナビゲーション処理用プログラムは、本発明のナビゲーション装置として上記コンピュータを機能させるためのプログラムであり、経路探索部1、案内用データ生成部3、案内図生成部4、領域抽出部6、位置決定部7、交点判定部8、表示位置調整部9及び配置部10の各機能を実現するためのプログラムモジュールを有している。また、地図データベース2は、上記コンピュータに搭載された記憶装置や、当該コンピュータで読み出し可能な外部記憶メディアの記憶領域上に構築される。
次に動作について説明する。
図3は、実施の形態1のナビゲーション装置による右左折地点を含む領域の拡大案内図の作成処理の流れを示すフローチャートである。この図3に沿って、案内対象地点が右左折地点である場合における拡大案内図の作成処理の概要を説明する。
先ず、拡大案内図の作成の前処理として、経路探索部1が、不図示の位置計測部で計測された自車の現在位置、外部から入力された目的地点の位置及び地図データベース2から読み出した地図データに基づいて案内経路を探索する。
次いで、案内用データ生成部3が、経路探索部1で探索された案内経路と、地図データベース2から読み出した地図データとに基づいて、当該案内経路を案内する案内用データを生成する。
案内図生成部4の領域抽出部6は、不図示の位置計測部で計測された自車の現在位置、案内用データ生成部3で生成された案内用データ及びこの案内用データにおける案内対象地点である右左折地点の位置データに基づいて、案内経路及びその周辺の地図領域から、特徴地点から右左折地点までの案内経路が含まれる最小領域を抽出する(ステップST1)。次いで、位置決定部7が、領域抽出部6で抽出された領域が、拡大案内図エリアで最大限に大きく表示されるように、拡大又は縮小して配置する(ステップST2)。
次に、交点判定部8が、位置決定部7により拡大案内図エリアに配置された上記領域内の右左折地点以降に続く案内経路を抽出する(ステップST3)。
続いて、交点判定部8は、抽出した右左折地点以降に続く案内経路が、拡大案内図エリアの左側又は右側の稜線と交差するか否かを判定する(ステップST4)。
ここで、右左折地点以降に続く案内経路が、拡大案内図エリアの左側又は右側の稜線と交差していなければ(ステップST4;NO)、配置部10は、右左折地点に関する情報が記述された表示要素を、拡大案内図エリアの右左折地点の上側に配置する(ステップST5)。
一方、交点判定部8によって右左折地点以降に続く案内経路が拡大案内図エリアの左側又は右側の稜線と交差することが判定されると(ステップST4;YES)、表示位置調整部9は、右左折地点以降に続く案内経路が、拡大案内図エリアの左側の稜線と交差する場合は、拡大案内図エリアの上記領域の配置位置を右側にずらす調整を行い、右左折地点以降に続く案内経路が、拡大案内図エリアの右側の稜線と交差していれば、拡大案内図エリアの上記領域の配置位置を左側にずらす調整を行う(ステップST6)。この後、ステップST5に進んで、処理を終了する。
(1)特徴地点から右左折地点までの案内経路が含まれる領域の抽出
図4は、右左折地点及び案内経路が含まれる領域の例を示す図であり、図3のステップST1における処理で抽出される領域の詳細を示している。図4において、特徴地点P1は、右左折地点P2から案内経路Rを道なりに辿った距離が150m、すなわち右左折地点P2から150m前の地点である。
先ず、領域抽出部6は、自車Mが特徴地点P1に到達した時点でヘディングアップとなるように地図の向きを規定する。次に、領域抽出部6は、図4(a)〜図4(d)に示すように、特徴地点P1、右左折地点P2及びこれらの地点間の案内経路Rが含まれる最小領域Aを地図領域から抽出する。
図4(a)、図4(b)及び図4(d)の例では、特徴地点P1と右左折地点P2との間の案内経路Rがほぼ直線状であるので、特徴地点P1と右左折地点P2とが境界線上にある矩形を領域Aとする。これにより、最小の面積の領域Aを得ることができる。なお、図4中の白丸の記号は、案内経路Rを構成するリンク間のノードである。
また、図4(c)のように、特徴地点P1と右左折地点P2の間の案内経路Rが大きく曲がっている場合は、例えば、特徴地点P1、右左折地点P2及びこれらの地点間の案内経路Rに外接する矩形領域を領域Aとする。
(2)拡大案内図エリアへの配置処理
図5は、表示出力部の画面構成の例を示す図であり、図3のステップST2における処理で扱われる画面構成の詳細を示している。図5に示す例は、案内対象地点を詳細に案内するために、案内対象地点の周辺領域を拡大案内図で表示する場合を示しており、表示出力部5の表示画面20を二画面に分割し、一方の画面を広域地図の表示用画面21とし、もう一方の画面を広域地図用の画面中の一部の領域を拡大した拡大案内図エリア22としている。
位置決定部7は、右左折地点P2に関する情報(例えば、交差点名称、レーン情報等)を記述した表示要素の有無に応じて、当該表示要素を配置する情報配置領域23を拡大案内図エリア22に設定する。情報配置領域23は、図5(a−1)、図5(b−1)及び図5(c−1)に仮想的に示すように、拡大案内図エリア22において、領域抽出部6が抽出した領域Aを表示するための拡大案内図表示領域24を囲むように設けられる。この情報配置領域23には、領域Aは表示できない。
図5(a−1)は、右左折地点P2に関する情報がない場合を示しており、情報配置領域23が狭く設定され、図5(a−2)に示す実際の表示状況では、領域Aの拡大案内図表示のみが表示される。
図5(b−1)は、右左折地点P2に関する情報の一部のみがある場合(例えば交差点名称があるがレーン情報がない場合)を示している。この場合、情報配置領域23は、右左折地点P2に関する一部の情報(交差点名称)が記述された表示要素25を配置可能な面積で設定され、図5(b−2)に示すように、拡大案内図表示領域24の上側に表示要素25が表示される。
図5(c−1)は、右左折地点P2に関する全ての情報がある場合を示している。この場合、情報配置領域23は、右左折地点P2に関する情報がそれぞれ記述された表示要素25a,25bを配置可能な最も広い面積で設定され、図5(c−2)に示すように、拡大案内図表示領域24の上側に表示要素25a,25bが表示される。
図6は、領域抽出部で抽出された領域の拡大案内図エリアへの配置を説明するための図である。例えば、図6(a)に示す領域Aが抽出されている場合、位置決定部7は、拡大案内図エリア22を左右に等分する直線a1と、拡大案内図表示領域24の下側の稜線に沿った直線a2との交点を、基準点F1とする。さらに、位置決定部7は、図6(b)に示す拡大案内図エリア22において、その横方向(左右方向)をX軸方向とし、縦方向(上下方向)にY軸方向とした2次元座標系を設定する。
位置決定部7は、上述のように情報配置領域23と拡大案内図表示領域24を設定すると、図6(a)に示す領域Aを、拡大案内図表示領域24からはみ出さず、かつ面積が最大になるように拡大又は縮小し、このとき、特徴地点P1のY座標は基準点F1のY座標と同一とし、かつ特徴地点P1のX座標は、少なくとも基準点F1の近くになるように配置する。
図7は、領域Aの拡大案内図エリアへの配置例を示す図である。図7(a)は、特徴地点P1と基準点F1とが一致する位置で領域Aを配置できた場合を示している。
また、図7(b)に示す例は、領域Aの面積が拡大案内図表示領域24内で最大になるように拡大すると、右左折地点P2が拡大案内図表示領域24からはみ出てしまうため、基準点F1に対して特徴地点P1を左にずらして配置している。
さらに、図7(c)に示す例は、領域Aの面積が拡大案内図表示領域24内で最大になるように拡大すると、右左折地点P2が拡大案内図表示領域24から大きくはみ出てしまうため、基準点F1に対して特徴地点P1をさらに左にずらして配置した場合を示している。この場合、特徴地点P1が、拡大案内図表示領域24の矩形の左下の頂点位置までずれている。
(3)右左折地点P2以降に続く案内経路が交差する拡大案内図エリアの稜線の判定
図8は、右左折地点以降に続く案内経路と拡大案内図エリアの稜線との位置関係の例を示す図であり、この図8を参照して図3のステップST3及びステップST4の処理内容の詳細を説明する。図8(a)は、右左折地点P2以降に続く案内経路Rが拡大案内図エリア22の上側の稜線25aと交点C1で交差している場合を示している。また、図8(b)は、右左折地点P2以降に続く案内経路Rが、拡大案内図エリア22の下側の稜線25bと交点C2で交差している場合を示している。さらに、図8(c)の例は、案内経路Rの目的地点G26が、拡大案内図表示領域24内にあり、右左折地点P2以降に続く案内経路Rが拡大案内図エリア22の稜線と交差しない場合である。
交点判定部8は、右左折地点P2以降に続く案内経路Rが拡大案内図エリア22の左側又は右側の稜線と交差するか否かを判定し、図8に示す判定結果が得られると、表示位置調整部9に対して案内経路Rが左側又は右側の稜線と交差しない旨を通知する。
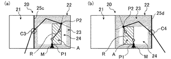
図9は、右左折地点以降に続く案内経路と拡大案内図エリアの稜線との位置関係の別の例を示す図である。図9(a)の例は、右左折地点P2以降に続く案内経路Rが、拡大案内図エリア22の左側の稜線25cと交点C3で交差している場合を示している。また、図9(b)は、右左折地点P2以降に続く案内経路Rが、拡大案内図エリア22の右側の稜線25dと交点C4で交差している場合を示している。これらの場合は、交点判定部8が、表示位置調整部9に対して、案内経路Rが左側又は右側の稜線25c,25dと交差している旨を通知する。
(4)表示位置の調整処理(図3のステップST6)
表示位置調整部9は、交点判定部8から、右左折地点P2以降に続く案内経路Rが、拡大案内図エリア22の左側又は右側の稜線25c,25dと交差しない旨の通知を受けると、拡大案内図表示領域24における領域Aの配置位置の調整を行わない。
図10は、領域Aの配置位置の調整を行わない場合を示す図である。
図10(a−1)では、右左折地点P2以降に続く案内経路Rが、拡大案内図エリア22の上側の稜線25aと交点C1で交差しているので、領域AのX方向への移動は行わず、図10(a−2)のように領域Aが拡大案内図エリア22にそのまま表示される。
また、図10(b−1)では、右左折地点P2以降に続く案内経路Rが拡大案内図エリア22の下側の稜線25bと交点C2で交差しているので、領域AのX方向への移動は行わず、図10(b−2)のように領域Aが拡大案内図エリア22にそのまま表示される。
案内経路Rが拡大案内図エリア22の左側又は右側の稜線と交差しない場合、領域AのX方向の位置を調整すると、経路が偏った配置となり、運転手に違和感を与えてしまう。このため、このような場合では、領域Aの位置をずらす必要がない。例えば、直進するものの、案内が必要な交差点などでは、経路はおよそ真っ直ぐになる。このとき、交差点が拡大案内図エリア22のX方向の中央に配置される方が経路を見やすくなる。
さらに、図10(c−1)では、案内経路Rの目的地点G26が拡大案内図表示領域24内にあり、右左折地点P2以降に続く案内経路Rが拡大案内図エリア22の稜線と交差しないので、領域AのX方向への移動は行わず、図10(c−2)のように領域Aが拡大案内図エリア22にそのまま表示される。
表示位置調整部9は、交点判定部8から、右左折地点P2以降に続く案内経路Rが拡大案内図エリア22の左側の稜線と交差している旨の通知を受けると、拡大案内図表示領域24における領域Aの配置位置を右側にずらす調整を行う。
図11は、領域Aの拡大案内図エリア22における位置調整の基準を示す図であり、領域Aの配置位置を右側にずらす調整を行う際の基準位置を示している。図11に示すように、基準点F1を通り、拡大案内図表示領域24を左右に等分する直線a1から、所定の距離だけ右側にずらした位置を基準位置F2とする。基準位置F2は、右左折地点P2以降に続く案内経路Rが向かう空間を広く表示するよう距離を定める。
図12は、拡大案内図エリア22における領域Aの配置位置を右側にずらず調整を行う場合を示す図である。図12(a)に示すように、右左折地点P2以降に続く案内経路Rが拡大案内図エリア22の左側の稜線25cと交点C3で交差する場合、表示位置調整部9は、図12(b)に示すように、領域Aを基準位置F2まで右側にずらす調整を行う。
このとき、領域Aが拡大案内図表示領域24からはみ出さなければ、表示位置調整部9は、この位置で領域Aの配置を確定する。これにより、図12(c)に示すような表示がなされる。
図13は、拡大案内図エリア22における領域Aの配置位置を基準位置F2からさらに調整する場合を示す図である。図13(a)に示すように、右左折地点P2以降に続く案内経路Rが拡大案内図エリア22の左側の稜線25cと交点C3で交差する場合、表示位置調整部9は、図13(b)に示すように領域Aを基準位置F2まで右側にずらす調整を行う。
このとき、領域Aが拡大案内図表示領域24からはみ出し、情報配置領域23と領域Bで重なり合う場合、表示位置調整部9は、図13(c)に示すように拡大案内図表示領域24からはみ出さなくなるまで、領域Aを基準位置F2から左側にずらす再調整を行う。
この再調整で領域Aが拡大案内図表示領域24からはみ出さなくなれば、表示位置調整部9は、この位置で領域Aの配置を確定する。これにより、図13(d)に示すような表示がなされる。
一方、表示位置調整部9は、交点判定部8から、右左折地点P2以降に続く案内経路Rが、拡大案内図エリア22の右側の稜線25dと交差している旨の通知を受けると、拡大案内図表示領域24における領域Aの配置位置を左側にずらす調整を行う。
図14は、領域Aの拡大案内図エリア22における位置調整の基準を示す図であり、領域Aの配置位置を左側にずらす調整を行う際の基準位置を示している。図14に示すように、基準点F1を通り、拡大案内図表示領域24を左右に等分する直線a1から、所定の距離だけ左側にずらした位置を基準位置F3とする。基準位置F3は、基準位置F2の場合と同様に、右左折地点P2以降に続く案内経路Rが向かう空間を広く表示するよう距離を定める。
右左折地点P2以降に続く案内経路Rが拡大案内図エリア22の右側の稜線25dと交差している場合、表示位置調整部9は基準位置F3を利用して領域Aの位置を調整する。
なお、領域Aを左側にずらす調整の詳細は、上述した領域Aを右側にずらす場合と同様であるので、説明を省略する。
(5)表示要素の配置(図3のステップST5)
配置部10は、右左折地点P2に関する情報が記述された表示要素を、原則として右左折地点P2の真上に配置する。
図15は、右左折地点P2の情報が記述された表示要素の配置例を示す図であり、当該表示要素25を右左折地点P2の真上に配置した場合を示している。
上述までの処理で拡大案内図表示領域24における領域Aの配置位置が確定すると、配置部10は、図15(a)に示すように、表示要素25の中心位置のX座標が右左折地点P2のX座標値L1と一致するように位置を合わせて情報配置領域23に配置する。
このとき、表示要素25が情報配置領域23からはみ出さなければ、配置部10は、この位置で表示要素25の配置を確定する。これにより、図15(b)に示すような表示がなされる。
図16は、右左折地点P2の情報が記述された表示要素の別の配置例を示す図であり、当該表示要素25を右左折地点P2の真上に配置できない場合を示している。
図16(a)に示す例では、表示要素25の中心位置のX座標が右左折地点P2のX座標値L1と一致するように位置を合わせると、表示要素25が情報配置領域23からはみ出してしまう。この場合、配置部10は、図16(b)に示すように、表示要素25が情報配置領域23からはみ出さなくなるまで、表示要素25の中心位置を、右左折地点P2のX座標値L1から左側にずらす再配置を行う。
X座標値L2までずらして表示要素25が情報表示領域23からはみ出さなくなれば、配置部10は、この位置で表示要素25の配置を確定する。これにより、図16(c)に示すような表示がなされる。これにより、右左折地点P2と右左折地点P2の情報との対応付けが容易になるため、分かりやすい表示が可能となる。
以上のように、この実施の形態1によれば、案内経路R上の案内対象地点である右左折地点P2までの経路を含む所定の領域Aの拡大案内図の案内図データを生成する案内図生成部4と、案内図生成部4で生成された案内図データを用いて、所定の領域Aの拡大案内図を表示する表示出力部5とを備え、案内図生成部4が、表示出力部5の拡大案内図表示領域24で、右左折地点P2以降に続く案内経路が向かう地図領域が広く表示されるように、表示出力部5の拡大案内図表示領域24における、所定の領域Aの配置位置をずらした案内図データを生成する。特に、案内図生成部4が、右左折地点P2以降に続く案内経路Rが、表示出力部5の拡大案内図エリア22の境界を規定する稜線25cまたは25dと交差する場合に、所定の領域Aの配置位置を、案内経路Rと交差する稜線とは反対側にずらした拡大案内図の案内図データを生成する。
このように構成することで、案内経路R上の案内対象地点である右左折地点P2を含む周辺領域Aを拡大した案内図において、右左折地点P2−1以降に続く案内経路Rに沿った進行方向の地図領域を広く表示することができるという効果が得られる。
また、この実施の形態1によれば、案内図生成部4が、拡大案内図において、右左折地点P2に関する情報を記述した表示要素25を、当該右左折地点P2の上側に配置した案内図データを生成するので、右左折地点P2に関する情報の表示要素25を視認しやすいという効果が得られる。
実施の形態2.
上記実施の形態1は、案内経路上の案内対象地点から所定の距離前の地点(特徴地点)と当該案内対象地点とを結ぶ経路を含む領域を拡大案内図エリアに表示する場合を示したが、この実施の形態2では、案内対象地点がさらに連続した場合の拡大案内図の作成処理について述べる。なお、以降では、説明の簡単のため、案内対象地点が右左折地点である場合について説明する。
図17は、この発明の実施の形態2によるナビゲーション装置の構成を示すブロック図である。図17において、実施の形態2のナビゲーション装置は、経路探索部1、地図データベース2、案内用データ生成部3、案内図生成部4A及び表示出力部5を備える。
案内図生成部4Aは、上記実施の形態1と同様にして、特徴地点から最初の右左折地点までの案内経路について拡大案内図を生成し、この右左折地点から次の右左折地点までの案内経路については前回の拡大案内図の縮尺を参照して、新たな拡大案内図を生成する構成部である。その構成としては、領域抽出部6A、位置決定部7A、交点判定部8、表示位置調整部9、配置部10及び前回図縮尺記憶部11を備える。なお、図17において、図2と同一構成要素には同一符号を付して説明を省略する。
領域抽出部6Aは、案内経路及びその周辺の地図領域から、上記実施の形態1と同様にして、特徴地点から右左折地点までの案内経路を含む領域を抽出するとともに、この右左折地点に続く、連続した右左折地点間の案内経路を含む領域を抽出する構成部であり、連続した右左折地点間の案内経路が最小の面積で含まれる領域を抽出する。
位置決定部7Aは、領域抽出部6Aで抽出された領域を拡大案内図エリアに配置する構成部であり、領域抽出部6Aで抽出された領域が、拡大案内図エリアで前回の拡大案内図(特徴地点から最初の右左折地点までの案内経路を含む拡大案内図)の縮尺で表示されるように当該領域の画像データを拡大縮小して配置する。
前回図縮尺記憶部11は、位置決定部7Aで利用される前回の拡大案内図の縮尺を記憶する記憶部であり、位置決定部7Aによって拡大案内図が拡大案内図エリアへ配置される度にその縮尺が記憶される。
なお、図17に示した経路探索部1、案内用データ生成部3、案内図生成部4A、領域抽出部6A、位置決定部7A、交点判定部8、表示位置調整部9及び配置部10は、この発明の趣旨に従ったナビゲーション処理用プログラムをコンピュータに実行させることにより、ハードウェアとソフトウェアが協働した具体的な手段として当該コンピュータ上で実現することができる。すなわち、上記のナビゲーション処理用プログラムは、本発明のナビゲーション装置として上記コンピュータを機能させるためのプログラムであり、経路探索部1、案内用データ生成部3、案内図生成部4A、領域抽出部6A、位置決定部7A、交点判定部8、表示位置調整部9及び配置部10の各機能を実現するためのプログラムモジュールを有している。また、地図データベース2は、上記コンピュータに搭載された記憶装置や、当該コンピュータで読み出し可能な外部記憶メディアの記憶領域上に構築される。
次に動作について説明する。
図18は、実施の形態2のナビゲーション装置による拡大案内図の作成処理の流れを示すフローチャートである。この図18に沿って、案内対象地点が右左折地点である場合における拡大案内図の作成処理の概要を説明する。
先ず、経路探索部1が、不図示の位置計測部で計測された自車の現在位置、外部から入力された目的地点の位置及び地図データベース2から読み出した地図データに基づいて案内経路を探索する。
次いで、案内用データ生成部3が、経路探索部1で探索された案内経路と、地図データベース2から読み出した地図データとに基づいて、当該案内経路を案内する案内用データを生成する。
この後、実施の形態2のナビゲーション装置は、上記実施の形態1と同様にして、特徴地点から最初の右左折地点までの案内経路を含む領域についての拡大案内図を作成する。このとき、案内図生成部4Aの位置決定部7Aは、上記拡大案内図の縮尺を前回図縮尺記憶部11に記憶する。
続いて、領域抽出部6Aは、不図示の位置計測部で計測された自車の現在位置、案内用データ生成部3で生成された案内用データ、及び案内用データにおける右左折地点の位置データに基づいて、さらに右左折地点が連続していると判断すると、案内経路及びその周辺の地図領域から、前の右左折地点から次の右左折地点までの案内経路が含まれる最小領域を抽出する(ステップST1a)。
位置決定部7Aは、前回図縮尺記憶部11を参照して、前回の拡大案内図の縮尺となるように、領域抽出部6Aで抽出された領域を拡大又は縮小して、拡大案内図エリアに配置する(ステップST2a)。
次に、交点判定部8が、位置決定部7Aにより拡大案内図エリアに配置された上記領域内の前の右左折地点から次の右左折地点までの案内経路を抽出する(ステップST3)。
続いて、交点判定部8は、抽出された案内経路が、拡大案内図エリアの左側又は右側の稜線と交差するか否かを判定する(ステップST4)。ここで、抽出された案内経路が、拡大案内図エリアの左側又は右側の稜線と交差していなければ(ステップST4;NO)、配置部10は、右左折地点に関する情報が記述された表示要素を、拡大案内図エリアの右左折地点の上側に配置する(ステップST5)。
一方、交点判定部8により上記案内経路が拡大案内図エリアの左側又は右側の稜線と交差することが判定されると(ステップST4;YES)、表示位置調整部9は、当該案内経路が拡大案内図エリアの左側の稜線と交差する場合は、拡大案内図エリアの上記領域の配置位置を右側にずらす調整を行い、当該案内経路が拡大案内図エリアの右側の稜線と交差していれば、拡大案内図エリアの上記領域の配置位置を左側にずらす調整を行う(ステップST6)。この後、ステップST5に進んで、処理を終了する。
(1A)前の右左折地点から次の右左折地点までの案内経路が含まれる領域の抽出
図19は、前の右左折地点から次の右左折地点までの案内経路が含まれる領域の例を示す図であり、図18のステップST1aの処理で抽出される領域の詳細を示している。図19において、特徴地点P1は、右左折地点P2−1から案内経路を道なりに辿った距離が150m、すなわち右左折地点P2−1から150m前の地点である。
領域抽出部6Aは、特徴地点P1を通過して自車Mが最初の右左折地点P2−1に到達した時点でヘディングアップとなるように地図の向きを規定する。次に、領域抽出部6Aは、図19(a)及び図19(b)に示すように、自車Mが、1回目に曲がる右左折地点P2−1と、2回目に曲がる右左折地点P2−2との間の案内経路Rが含まれる最小領域A1を地図領域から抽出する。
ここで、2つの右左折地点間の案内経路Rを道なりに辿った距離が、特徴地点P1を設定したときに利用した所定の距離以内(例えば150m以内)であると、連続分岐であると判定する。
図19(a)及び図19(b)の例では、右左折地点P2−1,P2−2間の案内経路Rがほぼ直線状であるので、右左折地点P2−1(第1の分岐地点)と右左折地点P2−2(第2の分岐地点)とが境界線上にある矩形を領域A1とする。これにより、最小の面積の領域A1が得られる。なお、図19中の白丸の記号は、案内経路Rを構成するリンク間のノードである。
(2A)拡大案内図エリアへの配置処理
図20は、領域抽出部6Aで抽出された領域A1を拡大案内図エリアに配置を説明するための図である。例えば、図20(a)に示す領域A1が抽出されている場合、位置決定部7Aは、拡大案内図エリア22を左右に等分する直線a1と、拡大案内図表示領域24の下側の稜線に沿った直線a2との交点を、基準点F1とする。さらに、位置決定部7Aは、図20(b)に示す拡大案内図エリア22において、その横方向(左右方向)をX軸方向とし、縦方向(上下方向)にY軸方向とした2次元座標系を設定する。
位置決定部7Aは、上述したように情報配置領域23と拡大案内図表示領域24を設定すると、図20(a)に示す領域A1を、拡大案内図表示領域24からはみ出さず、かつ少なくとも前回の拡大案内図の縮尺以下で、できるだけ前回の拡大案内図の縮尺に近づくように拡大又は縮小する。つまり、特徴地点P1から右左折地点P2−1までの案内経路Rを含む領域Aの拡大案内図である、前回の拡大案内図よりも詳細スケールにならないようにする。
さらに、位置決定部7Aは、右左折地点P2−1のY座標が基準点F1のY座標と同一とし、かつ右左折地点P2−1のX座標が少なくとも基準点F1の近くになるように配置する。つまり、領域A1が、常に拡大案内図表示領域24の下側の稜線に接するように配置される。
図21は、領域A1の拡大案内図エリアへの配置例を示す図であり、前回の拡大案内図と同じ縮尺で、右左折地点P2−1と基準点F1が一致する位置で領域A1を配置できた場合を示している。図21(a)は、前回の拡大案内図である、特徴地点P1から右左折地点P2−1までの案内経路Rを含む領域Aの拡大案内図を示している。また、図21(b)は、右左折地点P2−1から右左折地点P2−2までの案内経路Rを含む領域A1を示している。
位置決定部7Aは、図21(b)に示す領域A1が抽出されると、前回の拡大案内図の縮尺になるように領域A1を拡大又は縮小し、右左折地点P2−1のY座標が基準点F1のY座標と同一で、かつ右左折地点P2−1のX座標が少なくとも基準点F1の近くになるように配置する。これにより、図21(c)に示すような配置位置が決定される。
図22は、領域A1の拡大案内図エリアへの別の配置例を示す図であり、前回の拡大案内図よりも小さな縮尺で右左折地点P2−1と基準点F1とが一致しない位置で領域A1を配置した場合を示している。また、図22(a)は、右左折地点P2−1から右左折地点P2−2までの案内経路Rを含む領域A1を示している。図22(b)は、特徴地点P1から右左折地点P2−1までの案内経路Rを含む領域Aの拡大案内図表示領域24への配置例を示しており、図22(c)に示すような拡大案内図が表示される。
位置決定部7Aは、図22(b)に示す前回の拡大案内図の縮尺を参照し、この縮尺と同じ縮尺で、かつ最初の右左折地点P2−1と基準点F1とが一致するように、図22(a)に示す領域A1を拡大案内図表示領域24に配置する。このとき、領域A1が拡大案内図表示領域24からはみ出す場合には、位置決定部7Aが、領域A1が拡大案内図表示領域24内に収まるように領域A1を縮小する。
図22(d)の例では、領域A1が拡大案内図表示領域24からはみ出して、右左折地点2−2が情報配置領域23と領域A2で重なり合っている。
そこで、位置決定部7Aは、右左折地点P2−2が拡大案内図表示領域24の左側の稜線上になるまで、領域A1を左右方向(X軸方向)に縮小する。このようにして、図22(e)に示すように、領域A1が拡大案内図表示領域24内に収まるように配置される。
以上のように、この実施の形態2によれば、案内図生成部4Aが、案内経路R上の右左折地点P2−1とこれに続く右左折地点P2−2との間の経路を含む所定の領域A1の拡大案内図として、表示出力部5の案内図表示領域で右左折地点P2−2以降に続く案内経路が向かう地図領域が広く表示されるように、表示出力部5の案内図表示領域における、所定の領域A1の配置位置をずらした拡大案内図の案内図データを生成する。
このようにすることで、案内対象地点である道路上の連続した右左折地点P2−1,2−2を含む周辺領域を拡大した案内図において、右左折地点P2−2以降に続く案内経路Rに沿った進行方向の地図領域を広く表示することができるという効果がある。
また、この実施の形態2によれば、案内図生成部4Aが、案内経路R上の右左折地点P2−1とこれに続く右左折地点P2−2との間の経路を含む所定の領域A1の拡大案内図の案内図データを生成するにあたり、当該所定の領域A1を、右左折地点P2−1までの経路を含む領域Aの拡大案内図と同じ縮尺となるように拡大又は縮小する。
このようにすることで、右左折地点P2−1に向かうまでの経路を含む領域Aの拡大案内図から急に縮尺が変更することを防止できる。
実施の形態3.
上記実施の形態1は、自車が特徴地点に到達した時点でヘディングアップとなるように地図の向きを規定してから、特徴地点、右左折地点及びこれらの地点間の案内経路が含まれる最小領域を抽出する場合を示したが、この実施の形態3では、案内対象地点に繋がる道路リンク(案内対象地点への流入リンク)が、拡大案内図表示エリアの上下の稜線に対して垂直になるように地図の向きを規定してから、特徴地点、右左折地点及びこれらの地点間の案内経路が含まれる最小領域を抽出し、この最小領域を、拡大案内図エリアを左右に等分する基準線a1に案内対象地点に繋がる道路リンクが近くなるように、拡大案内図表示領域に配置する。これにより、案内対象地点に繋がる道路リンクが地図の向きに沿うことから、拡大案内図エリアにおいて案内対象地点の右左折方向が認識し易くなる。
次に動作について説明する。
実施の形態3は、実施の形態1及び実施の形態2の構成に適用可能であるので、先ず、図2を参照して実施の形態1の構成に適用した場合について述べる。なお、以降では、説明の簡単のため、案内対象地点が右左折地点である場合について説明する。また、実施の形態3における特徴的な処理について主に述べ、上記実施の形態1と同様の処理は説明を省略する。
(1)特徴地点から右左折地点までの案内経路が含まれる領域の抽出
図23は、右左折地点及び案内経路が含まれる領域の例を示す図であり、実施の形態1で説明した図3のステップST1に相当する処理で抽出される領域の詳細を示している。図23において、特徴地点P1は、右左折地点P2から案内経路Rを道なりに辿った距離が150m、すなわち右左折地点P2から150m前の地点である。
先ず、領域抽出部6は、自車Mが特徴地点P1に到達した時点で、案内経路Rを構成する道路リンクのうち、右左折地点P2に繋がる道路リンク(右左折地点P2への流入リンク)R’が拡大案内図表示エリア22の上下の稜線に対して垂直になるように地図の向きを規定する。つまり、案内対象地点に繋がる道路リンクが地図の向きに沿うようにする。
次に、領域抽出部6は、図23(a)〜図23(d)に示すように、特徴地点P1、右左折地点P2及びこれらの地点間の案内経路Rが含まれた最小領域A’を地図領域から抽出する。
図23(a)、図23(b)及び図23(d)の例では、特徴地点P1と右左折地点P2との間の案内経路Rがほぼ直線状であるので、特徴地点P1、右左折地点P2及び道路リンクR’が境界線上にある矩形を領域A’とする。これにより、最小の面積の領域A’を得ることができる。なお、図23中の白丸の記号は、案内経路Rを構成するリンク間のノードである。また、図23(c)のように、特徴地点P1と右左折地点P2の間の案内経路Rが大きく曲がっている場合は、例えば、特徴地点P1と右左折地点P2の間の案内経路Rに外接する矩形領域を領域A’とする。
(2)拡大案内図エリアへの配置処理
図24は、領域抽出部で抽出された領域の拡大案内図エリアへの配置を説明するための図であり、上記実施の形態1で説明した図3のステップST2における処理で扱われる画面構成の詳細を示している。例えば、図24(a)に示す領域A’が抽出されている場合に、位置決定部7は、拡大案内図エリア22を左右に等分する基準線a1’と、拡大案内図表示領域24の下側の稜線に沿った直線a2を設定する。
さらに、位置決定部7は、図24(b)に示す拡大案内図エリア22において、その横方向(左右方向)をX軸方向とし、縦方向(上下方向)にY軸方向とした2次元座標系を設定する。
次いで、位置決定部7は、上述のように情報配置領域23と拡大案内図表示領域24を設定すると、図24(a)に示す領域A’を、拡大案内図表示領域24からはみ出さず、かつ面積が最大になるように拡大又は縮小し、特徴地点P1のY座標を直線a2のY座標と同一とし、かつ右左折地点P2に繋がる道路リンクR’が基準線a1’に近くなるように配置する。この後の処理は、上記実施の形態1で説明した図3のステップST3からステップST6までの処理と同様である。
次に、図17を参照して、実施の形態3を実施の形態2の構成に適用した場合について述べる。なお、上述までの説明と同様に、案内対象地点が右左折地点である場合について説明する。また、実施の形態3における特徴的な処理について主に述べ、上記実施の形態2と同様の処理は説明を省略する。
(1A)前の右左折地点から次の右左折地点までの案内経路が含まれる領域の抽出
図25は、前の右左折地点から次の右左折地点までの案内経路が含まれる領域の例を示す図であり、上記実施の形態2で説明した図18のステップST1aの処理で抽出される領域の詳細を示している。図25において、特徴地点P1は、右左折地点P2−1から案内経路を道なりに辿った距離が150m、すなわち右左折地点P2−1から150m前の地点である。
領域抽出部6Aは、特徴地点P1を通過して自車Mが最初の右左折地点P2−1に到達した時点で、案内経路Rを構成する道路リンクのうち、次の右左折地点P2−1に繋がる道路リンク(右左折地点P2−2への流入リンク)R”が、拡大案内図表示エリア22の上下の稜線に対して垂直になるように(道路リンクR”が地図の向きに沿うように)地図の向きを規定する。
次に、領域抽出部6Aは、図25(a)及び図25(b)に示すように、自車Mが、右左折地点P2−1と右左折地点P2−2との間の案内経路Rが含まれる最小領域A1’を地図領域から抽出する。ここで、2つの右左折地点間の案内経路Rを道なりに辿った距離が、特徴地点P1を設定したときに利用した所定の距離以内(例えば150m以内)であると、連続分岐であると判定する。図25(a)及び図25(b)の例では、右左折地点P2−1,P2−2間の案内経路Rがほぼ直線状であるので、右左折地点P2−1(第1の案内対象地点)と右左折地点P2−2(第2の案内対象地点)とが境界線上にある矩形を領域A1’とする。これにより、最小の面積の領域A1’が得られる。なお、図25中の白丸の記号は、案内経路Rを構成するリンク間のノードである。
(2A)拡大案内図エリアへの配置処理
図26は、領域抽出部6Aで抽出された領域A1’を拡大案内図エリアに配置を説明するための図であり、上記実施の形態2で説明した図18のステップST2aにおける処理で扱われる画面構成の詳細を示している。例えば、図26(a)の領域A1’が抽出されている場合に、位置決定部7Aは、拡大案内図エリア22を左右に等分する基準線a1”と、拡大案内図表示領域24の下側の稜線に沿った直線a2とを設定する。さらに、位置決定部7Aは、図26(b)に示す拡大案内図エリア22において、その横方向(左右方向)をX軸方向とし、縦方向(上下方向)にY軸方向とした2次元座標系を設定する。
次いで、位置決定部7Aは、上述したように情報配置領域23と拡大案内図表示領域24を設定すると、図26(a)に示す領域A1’を、拡大案内図表示領域24からはみ出さず、かつ少なくとも前回の拡大案内図の縮尺以下で、できるだけ前回の拡大案内図の縮尺に近づくように拡大又は縮小する。つまり、特徴地点P1から右左折地点P2−1までの案内経路Rを含む領域Aの拡大案内図である、前回の拡大案内図よりも詳細スケールにならないようにする。
また、位置決定部7Aは、右左折地点P2−1のY座標を直線a2のY座標と同一とし、かつ右左折地点P2−2に繋がる道路リンクR”が基準線a1”に近くになるように配置する。この後の処理は、上記実施の形態2で説明した図18のステップST3からステップST6までの処理と同様である。
以上のように、この実施の形態3によれば、右左折地点P2(又はP2−2)に繋がる道路リンクが拡大案内図エリア22の上下の稜線に垂直になるように地図の向きを規定してから、特徴地点、右左折地点、及びこれらの地点間の案内経路が含まれる最小領域を抽出し、この最小領域が、拡大案内図エリア22を左右に等分する基準線a1’(又はa1”)に案内対象地点に繋がる道路リンクが近くなるように配置する。このようにすることで、案内対象地点が右左折地点である場合に特に有効である。すなわち、右左折地点P2(又はP2−2)に繋がる道路リンクを基準として地図の向きが規定され、拡大案内図エリア22において当該地点での右左折方向が認識し易くなる。
上記実施の形態1から上記実施の形態3まででは、本発明によるナビゲーション装置をカーナビゲーション装置に適用した場合を示したが、これに限定されるものではない。
つまり、上記実施の形態1から上記実施の形態3までの少なくとも一つ処理内容を、ネットワーク上のサーバ装置で実現することも可能である。この場合に、ネットワーク上のサーバ装置で、案内用データや拡大案内図データを算出し、それに基づく案内図を生成して、その結果を通信機能と表示出力を備える機器に配信することで、拡大案内図を出力する。このようにすることにより、上記実施の形態1及び上記実施の形態2による案内図を様々な機器に出力することができ、多くのユーザに案内経路Rに沿った進行方向の空間を視認しやすい道案内を提供できる。
さらに、本発明によるナビゲーション装置は、表示出力部を有する全ての装置に適用可能である。例えば、車載用のカーナビゲーション装置のみならず、携帯電話端末又は携帯情報端末(PDA;Personal Digital Assistance)の表示装置に適用してもよい。
また、車両、鉄道、船舶又は航空機等の移動体に、人が携帯して持ち込んで使用するPND(Portable Navigation Device)等の表示装置に適用してもかまわない。
なお、本願発明はその発明の範囲内において、各実施の形態の自由な組み合わせ、あるいは各実施の形態の任意の構成要素の変形、もしくは各実施の形態において任意の構成要素の省略が可能である。
1 経路探索部、2 地図データベース、3 案内用データ生成部、4,4A 案内図生成部、5 表示出力部、6,6A 領域抽出部、7,7A 位置決定部、8 交点判定部、9 表示位置調整部、10 配置部、11 前回図縮尺記憶部、20 表示画面、21 広域地図の表示用画面、22 拡大案内図エリア、23 情報配置領域、24 拡大案内図表示領域。

Claims (7)

  1. 案内経路上の案内対象地点までの経路を含む所定の領域の拡大案内図の案内図データを生成する案内図生成部と、
    前記案内図生成部で生成された案内図データを用いて、前記所定の領域の拡大案内図を案内図表示領域に表示する表示出力部とを備え、
    前記案内図生成部は、前記表示出力部の案内図表示領域で前記案内対象地点以降に続く案内経路が向かう地図領域が広く表示されるように、前記表示出力部の案内図表示領域における、前記所定の領域の配置位置をずらした拡大案内図の案内図データを生成することを特徴とするナビゲーション装置。
  2. 前記案内図生成部は、前記案内対象地点以降に続く案内経路が、前記表示出力部の案内図表示領域の境界を規定する稜線と交差する場合に、前記所定の領域の配置位置を、前記案内経路と交差する稜線とは反対側にずらした拡大案内図の案内図データを生成することを特徴とする請求項1記載のナビゲーション装置。
  3. 前記案内図生成部は、前記案内対象地点に関する情報が記述された表示要素を、当該案内対象地点の近傍に配置した拡大案内図の案内図データを生成することを特徴とする請求項1または請求項2記載のナビゲーション装置。
  4. 前記案内図生成部は、前記表示出力部の案内図表示領域における地図の向きを、前記案内対象地点に接続された道路リンクが沿う方向にすることを特徴とする請求項1から請求項3のうちのいずれか1項記載のナビゲーション装置。
  5. 前記案内図生成部は、前記案内経路上の第1の案内対象地点とこれに続く第2の案内対象地点との間の経路を含む所定の領域の拡大案内図として、前記表示出力部の案内図表示領域で前記第2の案内対象地点以降に続く案内経路が向かう地図領域が広く表示されるように、前記表示出力部の案内図表示領域における、前記所定の領域の配置位置をずらした拡大案内図の案内図データを生成することを特徴とする請求項1から請求項4のうちのいずれか1項記載のナビゲーション装置。
  6. 前記案内図生成部は、前記案内経路上の第1の案内対象地点とこれに続く第2の案内対象地点との間の経路を含む所定の領域の拡大案内図の案内図データを生成するにあたり、当該所定の領域を、前記第1の案内対象地点までの経路を含む領域の拡大案内図と同じ縮尺となるように拡大又は縮小することを特徴とする請求項5記載のナビゲーション装置。
  7. 前記案内図生成部は、前記表示出力部の案内図表示領域における地図の向きを、前記第2の案内対象地点に接続された道路リンクが沿う方向にすることを特徴とする請求項5または請求項6記載のナビゲーション装置。
JP2011028654A 2011-02-14 2011-02-14 ナビゲーション装置 Expired - Fee Related JP5713716B2 (ja)

Priority Applications (1)

Application Number Priority Date Filing Date Title
JP2011028654A JP5713716B2 (ja) 2011-02-14 2011-02-14 ナビゲーション装置

Applications Claiming Priority (1)

Application Number Priority Date Filing Date Title
JP2011028654A JP5713716B2 (ja) 2011-02-14 2011-02-14 ナビゲーション装置

Publications (3)

Publication Number Publication Date
JP2012167995A true JP2012167995A (ja) 2012-09-06
JP2012167995A5 JP2012167995A5 (ja) 2013-12-26
JP5713716B2 JP5713716B2 (ja) 2015-05-07

Family

ID=46972310

Family Applications (1)

Application Number Title Priority Date Filing Date
JP2011028654A Expired - Fee Related JP5713716B2 (ja) 2011-02-14 2011-02-14 ナビゲーション装置

Country Status (1)

Country Link
JP (1) JP5713716B2 (ja)

Cited By (2)

* Cited by examiner, † Cited by third party
Publication number Priority date Publication date Assignee Title
JP2015150220A (ja) * 2014-02-14 2015-08-24 株式会社日立メディコ X線ct装置及び撮影方法
CN108489506A (zh) * 2018-03-02 2018-09-04 百度在线网络技术(北京)有限公司 一种路口放大图的显示方法、装置、终端和介质

Citations (5)

* Cited by examiner, † Cited by third party
Publication number Priority date Publication date Assignee Title
JPH09257506A (ja) * 1996-03-19 1997-10-03 Casio Comput Co Ltd ナビゲーション装置
JPH11132782A (ja) * 1997-10-29 1999-05-21 Sanyo Electric Co Ltd ナビゲーション装置
JP2008209359A (ja) * 2007-02-28 2008-09-11 Alpine Electronics Inc ナビゲーション装置およびその交差点拡大図表示方法並びに地図情報作成方法
JP2008267967A (ja) * 2007-04-19 2008-11-06 Kenwood Corp ナビゲーション装置
WO2010084554A1 (ja) * 2009-01-22 2010-07-29 三菱電機株式会社 ナビゲーション装置

Patent Citations (5)

* Cited by examiner, † Cited by third party
Publication number Priority date Publication date Assignee Title
JPH09257506A (ja) * 1996-03-19 1997-10-03 Casio Comput Co Ltd ナビゲーション装置
JPH11132782A (ja) * 1997-10-29 1999-05-21 Sanyo Electric Co Ltd ナビゲーション装置
JP2008209359A (ja) * 2007-02-28 2008-09-11 Alpine Electronics Inc ナビゲーション装置およびその交差点拡大図表示方法並びに地図情報作成方法
JP2008267967A (ja) * 2007-04-19 2008-11-06 Kenwood Corp ナビゲーション装置
WO2010084554A1 (ja) * 2009-01-22 2010-07-29 三菱電機株式会社 ナビゲーション装置

Cited By (3)

* Cited by examiner, † Cited by third party
Publication number Priority date Publication date Assignee Title
JP2015150220A (ja) * 2014-02-14 2015-08-24 株式会社日立メディコ X線ct装置及び撮影方法
CN108489506A (zh) * 2018-03-02 2018-09-04 百度在线网络技术(北京)有限公司 一种路口放大图的显示方法、装置、终端和介质
CN108489506B (zh) * 2018-03-02 2020-12-18 百度在线网络技术(北京)有限公司 一种路口放大图的显示方法、装置、终端和介质

Also Published As

Publication number Publication date
JP5713716B2 (ja) 2015-05-07

Similar Documents

Publication Publication Date Title
JP4560090B2 (ja) ナビゲーション装置及びナビゲーション方法
JP4257661B2 (ja) ナビゲーション装置
JP6866875B2 (ja) 表示制御装置、及び表示制御プログラム
JP6695049B2 (ja) 表示装置及び表示制御方法
US20120224060A1 (en) Reducing Driver Distraction Using a Heads-Up Display
CN107923761B (zh) 显示控制装置、显示装置及显示控制方法
KR100874107B1 (ko) 차선정보를 제공하는 방법 및 상기 방법을 수행하는 장치
JP2014181927A (ja) 情報提供装置、及び情報提供プログラム
JP2009020089A (ja) ナビゲーション装置、ナビゲーション方法、及びナビゲーション用プログラム
JP2008014975A (ja) ナビゲーション装置
KR102222102B1 (ko) 증강 현실 내비게이션 시스템 및 증강 현실 내비게이션 시스템의 경로 안내 방법
WO2013080310A1 (ja) 画像制御装置
JP2011149835A (ja) カーナビゲーション装置
EP2988097B1 (en) Driving support system, method, and program
JP5674950B2 (ja) ナビゲーション装置
JP5713716B2 (ja) ナビゲーション装置
JP2013130552A (ja) 表示システム、表示方法、及び表示プログラム
JP2019105581A (ja) ナビゲーション装置
WO2016072019A1 (ja) 表示制御装置
JP6342089B2 (ja) 支援画像表示装置、支援画像表示方法及び支援画像表示プログラム
JP4790280B2 (ja) 地図データ表示装置、地図データ表示方法及びナビゲーション装置並びに地図データ表示プログラム
JP2007033840A (ja) 地図生成装置
CN105474270A (zh) 立体地图显示系统
JP5438172B2 (ja) 情報表示装置、情報表示方法、情報表示プログラムおよび記録媒体
JPWO2017221293A1 (ja) 支援画像表示装置、支援画像表示方法及び支援画像表示プログラム

Legal Events

Date Code Title Description
A521 Request for written amendment filed

Free format text: JAPANESE INTERMEDIATE CODE: A523

Effective date: 20131107

A621 Written request for application examination

Free format text: JAPANESE INTERMEDIATE CODE: A621

Effective date: 20131107

A977 Report on retrieval

Free format text: JAPANESE INTERMEDIATE CODE: A971007

Effective date: 20140630

A131 Notification of reasons for refusal

Free format text: JAPANESE INTERMEDIATE CODE: A131

Effective date: 20140701

A521 Request for written amendment filed

Free format text: JAPANESE INTERMEDIATE CODE: A523

Effective date: 20140827

TRDD Decision of grant or rejection written
A01 Written decision to grant a patent or to grant a registration (utility model)

Free format text: JAPANESE INTERMEDIATE CODE: A01

Effective date: 20150210

A61 First payment of annual fees (during grant procedure)

Free format text: JAPANESE INTERMEDIATE CODE: A61

Effective date: 20150310

R150 Certificate of patent or registration of utility model

Ref document number: 5713716

Country of ref document: JP

Free format text: JAPANESE INTERMEDIATE CODE: R150

R250 Receipt of annual fees

Free format text: JAPANESE INTERMEDIATE CODE: R250

R250 Receipt of annual fees

Free format text: JAPANESE INTERMEDIATE CODE: R250

R250 Receipt of annual fees

Free format text: JAPANESE INTERMEDIATE CODE: R250

R250 Receipt of annual fees

Free format text: JAPANESE INTERMEDIATE CODE: R250

R250 Receipt of annual fees

Free format text: JAPANESE INTERMEDIATE CODE: R250

R250 Receipt of annual fees

Free format text: JAPANESE INTERMEDIATE CODE: R250

R250 Receipt of annual fees

Free format text: JAPANESE INTERMEDIATE CODE: R250

LAPS Cancellation because of no payment of annual fees