JP2012167173A - インクジェット記録用インク、インクカートリッジ、インクジェット記録装置、画像形成方法、画像形成物 - Google Patents
インクジェット記録用インク、インクカートリッジ、インクジェット記録装置、画像形成方法、画像形成物 Download PDFInfo
- Publication number
- JP2012167173A JP2012167173A JP2011028786A JP2011028786A JP2012167173A JP 2012167173 A JP2012167173 A JP 2012167173A JP 2011028786 A JP2011028786 A JP 2011028786A JP 2011028786 A JP2011028786 A JP 2011028786A JP 2012167173 A JP2012167173 A JP 2012167173A
- Authority
- JP
- Japan
- Prior art keywords
- ink
- carbon black
- inkjet recording
- water
- surfactant
- Prior art date
- Legal status (The legal status is an assumption and is not a legal conclusion. Google has not performed a legal analysis and makes no representation as to the accuracy of the status listed.)
- Pending
Links
Images
Classifications
-
- C—CHEMISTRY; METALLURGY
- C09—DYES; PAINTS; POLISHES; NATURAL RESINS; ADHESIVES; COMPOSITIONS NOT OTHERWISE PROVIDED FOR; APPLICATIONS OF MATERIALS NOT OTHERWISE PROVIDED FOR
- C09D—COATING COMPOSITIONS, e.g. PAINTS, VARNISHES OR LACQUERS; FILLING PASTES; CHEMICAL PAINT OR INK REMOVERS; INKS; CORRECTING FLUIDS; WOODSTAINS; PASTES OR SOLIDS FOR COLOURING OR PRINTING; USE OF MATERIALS THEREFOR
- C09D11/00—Inks
- C09D11/30—Inkjet printing inks
- C09D11/38—Inkjet printing inks characterised by non-macromolecular additives other than solvents, pigments or dyes
-
- C—CHEMISTRY; METALLURGY
- C09—DYES; PAINTS; POLISHES; NATURAL RESINS; ADHESIVES; COMPOSITIONS NOT OTHERWISE PROVIDED FOR; APPLICATIONS OF MATERIALS NOT OTHERWISE PROVIDED FOR
- C09D—COATING COMPOSITIONS, e.g. PAINTS, VARNISHES OR LACQUERS; FILLING PASTES; CHEMICAL PAINT OR INK REMOVERS; INKS; CORRECTING FLUIDS; WOODSTAINS; PASTES OR SOLIDS FOR COLOURING OR PRINTING; USE OF MATERIALS THEREFOR
- C09D11/00—Inks
- C09D11/30—Inkjet printing inks
- C09D11/32—Inkjet printing inks characterised by colouring agents
- C09D11/324—Inkjet printing inks characterised by colouring agents containing carbon black
-
- Y—GENERAL TAGGING OF NEW TECHNOLOGICAL DEVELOPMENTS; GENERAL TAGGING OF CROSS-SECTIONAL TECHNOLOGIES SPANNING OVER SEVERAL SECTIONS OF THE IPC; TECHNICAL SUBJECTS COVERED BY FORMER USPC CROSS-REFERENCE ART COLLECTIONS [XRACs] AND DIGESTS
- Y10—TECHNICAL SUBJECTS COVERED BY FORMER USPC
- Y10T—TECHNICAL SUBJECTS COVERED BY FORMER US CLASSIFICATION
- Y10T428/00—Stock material or miscellaneous articles
- Y10T428/24—Structurally defined web or sheet [e.g., overall dimension, etc.]
- Y10T428/24802—Discontinuous or differential coating, impregnation or bond [e.g., artwork, printing, retouched photograph, etc.]
Landscapes
- Chemical & Material Sciences (AREA)
- Life Sciences & Earth Sciences (AREA)
- Engineering & Computer Science (AREA)
- Materials Engineering (AREA)
- Wood Science & Technology (AREA)
- Organic Chemistry (AREA)
- Inks, Pencil-Leads, Or Crayons (AREA)
- Ink Jet Recording Methods And Recording Media Thereof (AREA)
- Ink Jet (AREA)
Abstract
【課題】画像濃度が高く吐出安定性や保存安定性に優れたインクジェット記録用インク、及び該インクを用いたインクカートリッジ、インクジェット記録装置、画像形成方法、画像形成物の提供。
【解決手段】(1)少なくともカーボンブラック、界面活性剤、水、及び水溶性有機溶剤を含有し、前記カーボンブラックのふるい残分(DIN ISO 787/18に基づく)が0.1〜50ppm、STSA比表面積が70〜90m2/gであるインクジェット記録用インク。
(2)前記界面活性剤が、ナフタレンスルホン酸の2量体、3量体、4量体の合計含有率が20〜80重量%であるナフタレンスルホン酸ナトリウムホルマリン縮合物であり、該縮合物の含有率が重量比で、カーボンブラック1に対し0.01〜0.5である(1)記載のインクジェット記録用インク。
【選択図】なし
【解決手段】(1)少なくともカーボンブラック、界面活性剤、水、及び水溶性有機溶剤を含有し、前記カーボンブラックのふるい残分(DIN ISO 787/18に基づく)が0.1〜50ppm、STSA比表面積が70〜90m2/gであるインクジェット記録用インク。
(2)前記界面活性剤が、ナフタレンスルホン酸の2量体、3量体、4量体の合計含有率が20〜80重量%であるナフタレンスルホン酸ナトリウムホルマリン縮合物であり、該縮合物の含有率が重量比で、カーボンブラック1に対し0.01〜0.5である(1)記載のインクジェット記録用インク。
【選択図】なし
Description
本発明は、インクジェット記録用インク、及び該インクを用いたインクカートリッジ、インクジェット記録装置、画像形成方法、及び画像形成物に関するものである。
インクジェット記録方式は他の記録方式に比べてプロセスが簡単であるためフルカラー化が容易であり、簡略な構成の装置であっても高解像度の画像が得られる利点がある。
インクジェット記録用インクとしては、各種の水溶性染料を、水、又は水と有機溶剤の混合液に溶解させた染料系インクが使用されているが、色調の鮮明性は優れているものの耐光性に劣る欠点があった。一方、カーボンブラック等の無機顔料や各種の有機顔料を分散させた顔料系インクは、染料系インクと比べて耐光性に優れるため盛んに研究されているが、染料系インクと比べてノズルの目詰まりが生じ易い傾向がある。
顔料は、凝集体として存在している原料を、一次粒子又は一次粒子に近い状態まで磨砕又は分散し顔料分散体として用いる。一般に、顔料と分散剤を分散媒体中で混合し、ボールミルやサンドミルなどの分散装置と分散メディアを用いて磨砕又は分散する。分散メディアにはガラス、鉄、セラミックスなどからなる直径1mm〜数mm程度のビーズが用いられるが、ビーズ径を小さくすると、単位体積当たりのビーズ個数が幾何級数的に増え、顔料とビーズとの衝突個数が飛躍的に増大して顔料の微粒子分散が可能になる。
インクジェット記録用インクとしては、各種の水溶性染料を、水、又は水と有機溶剤の混合液に溶解させた染料系インクが使用されているが、色調の鮮明性は優れているものの耐光性に劣る欠点があった。一方、カーボンブラック等の無機顔料や各種の有機顔料を分散させた顔料系インクは、染料系インクと比べて耐光性に優れるため盛んに研究されているが、染料系インクと比べてノズルの目詰まりが生じ易い傾向がある。
顔料は、凝集体として存在している原料を、一次粒子又は一次粒子に近い状態まで磨砕又は分散し顔料分散体として用いる。一般に、顔料と分散剤を分散媒体中で混合し、ボールミルやサンドミルなどの分散装置と分散メディアを用いて磨砕又は分散する。分散メディアにはガラス、鉄、セラミックスなどからなる直径1mm〜数mm程度のビーズが用いられるが、ビーズ径を小さくすると、単位体積当たりのビーズ個数が幾何級数的に増え、顔料とビーズとの衝突個数が飛躍的に増大して顔料の微粒子分散が可能になる。
従来、顔料分散体の保存性向上、これをインクに用いたときの画像濃度の確保、吐出性向上などのために種々の方法が提案されており、例えば特許文献1にはカーボンブラックのふるい残分、吸油量、BET比表面積、分散剤種に関して、特許文献2にはカーボンブラックの揮発分、水不溶性ポリマー種に関して、特許文献3にはポリアロマティックハイドロカーボン(PAH)、カーボン種、吸油量に関して、特許文献4には製法、分散剤種、カーボンブラックのBET比表面積、1次粒子径に関して、それぞれ提案がなされている。
しかし、これらの方法により得られた顔料分散体は、保存性、それをインクに用いたときの画像濃度、吐出性の全てを十分に満たすものではなかった。
しかし、これらの方法により得られた顔料分散体は、保存性、それをインクに用いたときの画像濃度、吐出性の全てを十分に満たすものではなかった。
本発明は、上記のような事情に鑑みなされたもので、画像濃度が高く吐出安定性や保存安定性に優れたインクジェット記録用インク、及び該インクを用いたインクカートリッジ、インクジェット記録装置、画像形成方法、画像形成物の提供を目的とする。
上記課題は、次の1)〜8)の発明によって解決される。
1) 少なくともカーボンブラック、界面活性剤、水、及び水溶性有機溶剤を含有し、前記カーボンブラックのふるい残分(DIN ISO 787/18に基づく)が0.1〜50ppm、STSA比表面積が70〜90m2/gであることを特徴とするインクジェット記録用インク。
2) 前記界面活性剤が、ナフタレンスルホン酸の2量体、3量体、4量体の合計含有率が20〜80重量%であるナフタレンスルホン酸ナトリウムホルマリン縮合物であり、該縮合物の含有率が重量比で、カーボンブラック1に対し0.01〜0.5であることを特徴とする1)記載のインクジェット記録用インク。
3) 更にアニオン性自己乳化型のエーテル系ポリウレタン樹脂エマルジョンを含有することを特徴とする1)又は2)記載のインクジェット記録用インク。
4) 前記カーボンブラックが、少なくともカーボンブラック、界面活性剤、及び水を含有する粘度が5〜15mPa・sの混合液をメディアミルで処理して得られる、粘度が1.5〜2.5mPa・sのカーボンブラック顔料分散体として配合されていることを特徴とする1)〜3)のいずれかに記載のインクジェット記録用インク。
5) 1)〜4)のいずれかに記載のインクジェット記録用インクを収容したことを特徴とするインクカートリッジ。
6) 5)記載のインクカートリッジを搭載し、インクを吐出させて記録を行なう方式のヘッドを備えたことを特徴とするインクジェット記録装置。
7) 1)〜4)のいずれかに記載のインクジェット記録用インクを用いて印字することを特徴とする画像形成方法。
8) 7)に記載の画像形成方法により画像支持体に印字された画像形成物。
1) 少なくともカーボンブラック、界面活性剤、水、及び水溶性有機溶剤を含有し、前記カーボンブラックのふるい残分(DIN ISO 787/18に基づく)が0.1〜50ppm、STSA比表面積が70〜90m2/gであることを特徴とするインクジェット記録用インク。
2) 前記界面活性剤が、ナフタレンスルホン酸の2量体、3量体、4量体の合計含有率が20〜80重量%であるナフタレンスルホン酸ナトリウムホルマリン縮合物であり、該縮合物の含有率が重量比で、カーボンブラック1に対し0.01〜0.5であることを特徴とする1)記載のインクジェット記録用インク。
3) 更にアニオン性自己乳化型のエーテル系ポリウレタン樹脂エマルジョンを含有することを特徴とする1)又は2)記載のインクジェット記録用インク。
4) 前記カーボンブラックが、少なくともカーボンブラック、界面活性剤、及び水を含有する粘度が5〜15mPa・sの混合液をメディアミルで処理して得られる、粘度が1.5〜2.5mPa・sのカーボンブラック顔料分散体として配合されていることを特徴とする1)〜3)のいずれかに記載のインクジェット記録用インク。
5) 1)〜4)のいずれかに記載のインクジェット記録用インクを収容したことを特徴とするインクカートリッジ。
6) 5)記載のインクカートリッジを搭載し、インクを吐出させて記録を行なう方式のヘッドを備えたことを特徴とするインクジェット記録装置。
7) 1)〜4)のいずれかに記載のインクジェット記録用インクを用いて印字することを特徴とする画像形成方法。
8) 7)に記載の画像形成方法により画像支持体に印字された画像形成物。
本発明によれば、画像濃度が高く吐出安定性や保存安定性に優れたインクジェット記録用インク、及び該インクを用いたインクカートリッジ、インクジェット記録装置、画像形成方法、画像形成物を提供できる。
本発明のインクは保水性と湿潤性に優れ、長期間保存しても顔料の凝集や粘度の上昇がなく、優れた保存安定性を実現できる。また、インクジェット記録装置のノズル先端等で開放状態に放置されても、乾燥物の流動性を長時間維持できる。更に印字中又は印字中断後の再起動時にノズルの目詰まりが発生することもなく高い吐出安定性が得られる。
本発明のインクは保水性と湿潤性に優れ、長期間保存しても顔料の凝集や粘度の上昇がなく、優れた保存安定性を実現できる。また、インクジェット記録装置のノズル先端等で開放状態に放置されても、乾燥物の流動性を長時間維持できる。更に印字中又は印字中断後の再起動時にノズルの目詰まりが発生することもなく高い吐出安定性が得られる。
以下、上記本発明について詳しく説明する。
本発明のインクジェット記録用インク(以下、単にインクということもある)に用いるカーボンブラックのふるい残分(DIN ISO 787/18に基づく)とは、カーボンブラック中に存在する不純物の量を示す尺度となるもので、例えばふるい残分に含まれるコークスやタールを多く含んだ成分は分散性が悪く、保存性を悪化させる要因となる。
しかし本発明者らの検討によれば、ふるい残分が少ない方がよいことは確かであるが、全くゼロにするよりも0.1ppm程度は含まれている方がよいことも判明した。即ち、ふるい残分が0.1ppm未満になると画像濃度が低下するが、これはふるい残分に含まれるコークスやタールを多く含んだ成分が画像濃度を向上させる機能を有するためと推測している。また、ふるい残分が0.1ppm未満では吐出安定性も低下する。
そこで、本発明ではふるい残分を0.1〜50ppm(重量基準)と規定した。好ましくは0.1〜25ppmであり、更に好ましくは0.1〜10ppmである。ふるい残分が50ppmを超えると、分散工程において分散体中に分散されない粗大粒子が多くなり、粒径分布及び濾過性が悪くなる。
また、カーボンブラックのSTSA比表面積(外部表面積)は、70〜90m2/gとするが、72〜88m2/gであることが好ましく、74〜86m2/gであることが更に好ましい。70m2/g未満では画像濃度が低くなるし、90m2/gより大きいと、より多くの分散剤が必要となるため、低粘度化が難しくなる上に保存性も悪くなる。
本発明のインクジェット記録用インク(以下、単にインクということもある)に用いるカーボンブラックのふるい残分(DIN ISO 787/18に基づく)とは、カーボンブラック中に存在する不純物の量を示す尺度となるもので、例えばふるい残分に含まれるコークスやタールを多く含んだ成分は分散性が悪く、保存性を悪化させる要因となる。
しかし本発明者らの検討によれば、ふるい残分が少ない方がよいことは確かであるが、全くゼロにするよりも0.1ppm程度は含まれている方がよいことも判明した。即ち、ふるい残分が0.1ppm未満になると画像濃度が低下するが、これはふるい残分に含まれるコークスやタールを多く含んだ成分が画像濃度を向上させる機能を有するためと推測している。また、ふるい残分が0.1ppm未満では吐出安定性も低下する。
そこで、本発明ではふるい残分を0.1〜50ppm(重量基準)と規定した。好ましくは0.1〜25ppmであり、更に好ましくは0.1〜10ppmである。ふるい残分が50ppmを超えると、分散工程において分散体中に分散されない粗大粒子が多くなり、粒径分布及び濾過性が悪くなる。
また、カーボンブラックのSTSA比表面積(外部表面積)は、70〜90m2/gとするが、72〜88m2/gであることが好ましく、74〜86m2/gであることが更に好ましい。70m2/g未満では画像濃度が低くなるし、90m2/gより大きいと、より多くの分散剤が必要となるため、低粘度化が難しくなる上に保存性も悪くなる。
ふるい残分及びSTSA比表面積が上記範囲内にあるカーボンブラックは、例えばHigh Color Channel、Medium Color Channel、Regular Color Channel等のChannel法、あるいはガスブラック法を用いて製造することができる。市販品としては、キャボット社製のMONARCH 1000シリーズ、REGAL 400Rシリーズ、MOGUL L、デグサ社製のSpecail Black 550、350、250、100シリーズ、Color Black S170、S160、5、4、150T、140U、U、Vシリーズ、NIPEX150、160IQ、170IQ、180IQ、三菱化学社製の#2350、#2200B、#1000、#970シリーズ等が挙げられる。これらの市販品の中では、特にデグサ社製のNIPEX150、160IQ、170IQ、180IQがインクの分散安定性の点で好ましい。
本発明のインクに用いる界面活性剤は、カーボンブラックの種類に応じて適宜選択できるが、好ましいものとしては、アニオン系界面活性剤、ノニオン系界面活性剤、高分子界面活性剤が挙げられる。これらの界面活性剤は1種を単独で用いても2種以上を組み合わせて用いてもよい。界面活性剤の配合割合は、重量比でカーボンブラック1に対し0.01〜0.5が好ましく、より好ましくは0.25〜0.5である。
前記アニオン系界面活性剤としては、アルキルスルホン酸塩、アルキルベンゼンスルホン酸塩、アルキルナフタレンスルホン酸塩、ナフタレンスルホン酸ナトリウムホルマリン縮合物、アルカン又はオレフィンスルホン酸塩、アルキル硫酸エステル、ポリオキシエチレンアルキル又はアルキルアリールエーテル硫酸エステル塩、アルキルリン酸塩、アルキルジフェニルエーテルジスルホン酸塩、エーテルカルボキシレート、アルキルスルホコハク酸塩、α−スルホ脂肪酸エステル、及び脂肪酸塩よりなる群から選ばれる界面活性剤や、高級脂肪酸とアミノ酸の縮合物、ナフテン酸塩等が挙げられる。
芳香族スルホン酸塩は芳香族化合物にスルホン酸を導入し、塩基性化合物で中和したものであり、ベンゼンスルホン酸、p−トルエンスルホン酸、ナフタレンスルホン酸、アルキルナフタレンスルホン酸等を、ブチルアミン、トリエチルアミン等のアルキルアミン、モノエタノールアミン、ジエタノールアミン、トリエタノールアミン、トリイソプロパノールアミン等のアルカノールアミン、モルホリン、アンモニア水、水酸化ナトリウム、水酸化リチウム、水酸化カリウム、アミノメチルプロパンジオール、アミノエチルプロパンジオール、コリン等で中和したものが挙げられる。また塩基性化合物としてトリスヒドロキシルメチルアミノメタン、グッドバファー等の緩衝剤を用いてもよい。
芳香族スルホン酸塩は芳香族化合物にスルホン酸を導入し、塩基性化合物で中和したものであり、ベンゼンスルホン酸、p−トルエンスルホン酸、ナフタレンスルホン酸、アルキルナフタレンスルホン酸等を、ブチルアミン、トリエチルアミン等のアルキルアミン、モノエタノールアミン、ジエタノールアミン、トリエタノールアミン、トリイソプロパノールアミン等のアルカノールアミン、モルホリン、アンモニア水、水酸化ナトリウム、水酸化リチウム、水酸化カリウム、アミノメチルプロパンジオール、アミノエチルプロパンジオール、コリン等で中和したものが挙げられる。また塩基性化合物としてトリスヒドロキシルメチルアミノメタン、グッドバファー等の緩衝剤を用いてもよい。
本発明において特に好ましく用いられるのは、カーボンブラックとの分散性の相性、界面活性剤の起泡性の面からナフタレンスルホン酸ナトリウムホルマリン縮合物である。この化合物はナフタレンスルホン酸ナトリウムとホルムアルデヒドとの縮合物であるが、該縮合物中のナフタレンスルホン酸の2量体、3量体、4量体の合計含有率が、縮合物全体の20〜80重量%であるものが好ましい。合計含有率が20重量%未満では、分散性が悪くなり顔料分散体及びインクの保存安定性が低下するため、ノズルの目詰まりが発生しやすい。また、合計含有率が80重量%を超えると粘度が高くなり分散しにくくなるため好ましくない。
前記ノニオン系界面活性剤としては、ポリオキシエチレンラウリルエーテル、ポリオキシエチレンミリスチルエーテル、ポリオキシエチレンセチルエーテル、ポリオキシエチレンステアリンエーテル、ポリオキシエチレンオレイルエーテル等のポリオキシエチレンアルキルエーテル、ポリオキシエチレンオクチルフェニルエーテル、ポリオキシエチレンノニルフェニルエーテル等のポリオキシエチレンアルキルフェニルエーテル、ポリオキシエチレン−α−ナフチルエーテル、ポリオキシエチレン−β−ナフチルエーテル、ポリオキシエチレンモノスチリルフェニルエーテル、ポリオキシエチレンジスチリルフェニルエーテル、ポリオキシエチレンアルキルナフチルエーテル、ポリオキシエチレンモノスチリルナフチルエーテル、ポリオキシエチレンジスチリルナフチルエーテル、ポリオキシエチレンポリオキシプロピレンブロック共重合体等が挙げられる。中でも好ましいのは、カーボンブラックとの分散性の相性、界面活性剤の起泡性、一方の分散剤に対しての補助的な効果の面で、ポリオキシエチレンモノスチリルフェニルエーテル、ポリオキシエチレンジスチリルフェニルエーテル等のポリオキシエチレンスチリルフェニルエーテルである。
前記高分子界面活性剤としては、例えば、スチレン−アクリル酸−アクリル酸アルキルエステル共重合体、スチレン−アクリル酸共重合体、スチレン−マレイン酸−アクリル酸アルキルエステル共重合体、スチレン−マレイン酸共重合体、スチレン−メタクリル酸−アクリル酸アルキルエステル共重合体、スチレン−メタクリル酸共重合体、スチレン−マレイン酸ハーフエステル共重合体、ビニルナフタレン−アクリル酸共重合体、ビニルナフタレン−マレイン酸共重合体、ポリアクリル酸、ポリカルボン酸、ポリカルボン酸グラフトポリマー等が挙げられる。中でも好ましいのは、カーボンブラック、チタンブラックとの分散性の相性、インク材料の耐溶剤性の面でポリアクリル酸、ポリカルボン酸、スチレン−アクリル酸共重合体、ポリカルボン酸グラフトポリマーである。
上記ポリカルボン酸グラフトポリマーは、分子量が5000〜20000のものが好ましく、より好ましくは10000〜15000である。5000未満では分散性が悪くなり顔料分散体及びインクの保存安定性が低下するためノズルの目詰まりが発生しやすい。また、20000を超えると粘度が高くなり分散しにくくなる。
上記ポリカルボン酸グラフトポリマーは、分子量が5000〜20000のものが好ましく、より好ましくは10000〜15000である。5000未満では分散性が悪くなり顔料分散体及びインクの保存安定性が低下するためノズルの目詰まりが発生しやすい。また、20000を超えると粘度が高くなり分散しにくくなる。
上記ポリカルボン酸グラフトポリマーの例としては、以下のようなものが挙げられる。
式中、Mはアルカリ金属、アルカリ土類金属、アンモニウム、有機アミンなどである。また、a、b、c、d、m、nは0以上の整数であり、a+b+c+d<50である。
本発明のインクに用いる水溶性有機溶剤としては、例えば、エチレングリコール、ジエチレングリコール、トリエチレングリコール、ポリエチレングリコール、ポリプロピレングリコール、1,3−ブタンジオール、3−メチル−1,3−ブタンジオール、1,5−ぺンタンジオール、1,6−へキサンジオール、2−エチル−1,3−ヘキサンジオール、グリセリン、1,2,3−ブタントリオール、1,2,4−ブタントリオール、1,2,6−へキサントリオール、ぺトリオール等の多価アルコール類、エチレングリコールモノエチルエーテル、エチレングリコールモノブチルエーテル、ジエチレングリコールモノメチルエーテル、ジエチレングリコールモノエチルエーテル、ジエチレングリコールモノブチルエーテル、テトラエチレングリコールモノメチルエーテル、プロピレングリコールモノエチルエーテル等の多価アルコールアルキルエーテル類、エチレングリコールモノフェニルエーテル、エチレングリコールモノべンジルエーテル等の多価アルコールアリールエーテル類、2−ピロリドン、N−メチル−2−ピロリドン、N−ヒドロキシエチル−2−ピロリドン、1,3−ジメチルイミダゾリジノン、ε−カプロラクタム、γ−ブチロラクトン等の含窒素複素環化合物、ホルムアミド、N−メチルホルムアミド、N,N−ジメチルホルムアミド等のアミド類、モノエタノールアミン、ジエタノールアミン、トリエタノールアミン、モノエチルアミン、ジエチルアミン、トリエチルアミン等のアミン類、ジメチルスルホキシド、スルホラン、チオジエタノール等の含硫黄化合物類、プロピレンカーボネート、炭酸エチレン等が挙げられる。
これらの中でも、ジエチレングリコール、トリエチレングリコール、1,3−ブタンジオール、及びグリセリンは、インクの乾燥による目詰まり、即ち水分蒸発による噴射特性不良の防止、及び画像濃度向上の点で優れた効果が得られる。
水溶性有機溶剤の含有量は、インク全量の50重量%以下、好ましくは5〜40重量%、更に好ましくは10〜35重量である。
これらの中でも、ジエチレングリコール、トリエチレングリコール、1,3−ブタンジオール、及びグリセリンは、インクの乾燥による目詰まり、即ち水分蒸発による噴射特性不良の防止、及び画像濃度向上の点で優れた効果が得られる。
水溶性有機溶剤の含有量は、インク全量の50重量%以下、好ましくは5〜40重量%、更に好ましくは10〜35重量である。
また、本発明のインクには、2−エチル−1,3−ヘキサンジオール(EHD)を添加することが好ましい。これにより、インクの浸透性を上げると同時に顔料を表面に留めることができ、滲みをなくすことができる。また、画像濃度向上、裏抜け防止、吐出安定性向上にも効果が期待できる。
EHDの含有量はインク全量の0.1〜10.0重量%が好ましく、より好ましくは、1.5〜5.0重量%である。0.1重量%未満では効果が少ないし、10.0重量%を超えると、EHD自体の溶解性が低いために信頼性が悪くなる。
EHDの含有量はインク全量の0.1〜10.0重量%が好ましく、より好ましくは、1.5〜5.0重量%である。0.1重量%未満では効果が少ないし、10.0重量%を超えると、EHD自体の溶解性が低いために信頼性が悪くなる。
本発明のインクには水分散性樹脂を含有することが好ましく、特に水分散性のポリウレタン樹脂が好ましい。該ポリウレタン樹脂としては特に制限はなく、目的に応じて適宜選択することができる。
ここで、ポリウレタン樹脂とは、ジイソシアネート化合物とジオール化合物からなる、主鎖がウレタン結合の連なるポリウレタン骨格を主体として構成される高分子である。
前記水分散性のポリウレタン樹脂としては、ポリウレタン骨格の主鎖中に、水に安定に分散させるために必要な親水基を導入したり、あるいは外部乳化剤で分散することにより得られるポリウレタン樹脂の水分散体(ポリウレタン樹脂エマルジョン)が一般的であるが、主鎖中に親水基を導入した自己分散タイプのもの(自己乳化型ポリウレタン樹脂)がより好ましい。
ここで、ポリウレタン樹脂とは、ジイソシアネート化合物とジオール化合物からなる、主鎖がウレタン結合の連なるポリウレタン骨格を主体として構成される高分子である。
前記水分散性のポリウレタン樹脂としては、ポリウレタン骨格の主鎖中に、水に安定に分散させるために必要な親水基を導入したり、あるいは外部乳化剤で分散することにより得られるポリウレタン樹脂の水分散体(ポリウレタン樹脂エマルジョン)が一般的であるが、主鎖中に親水基を導入した自己分散タイプのもの(自己乳化型ポリウレタン樹脂)がより好ましい。
自己乳化型ポリウレタン樹脂としては特に制限はなく、目的に応じて適宜選択することができ、例えば、(i)ジイソシアネート化合物、(ii)ポリエーテルジオール類、ポリエステルジオール類、ポリカーボネートジオール類等のジオール化合物、(iii)カルボン酸基、スルホン酸基等の酸基含有ジオール、を反応して得られる水分散性の各種のポリウレタン樹脂(エステル系ポリウレタン、エーテル系ポリウレタン、カーボネート系ポリウレタン等)、などが挙げられる。これらの中でも、アニオン性自己乳化型のエーテル系ポリウレタンが好ましい。
アニオン性自己乳化型のエーテル系ポリウレタンとしては、例えば、特開2009−67907号公報、特開2009−173805号公報、特開2009−161726号公報に記載されているものなどが挙げられる。
黒色顔料インクに用いるカーボンブラックをポリウレタン樹脂と一緒に分散すると、カーボンブラックを単体で分散するよりも安定化する。その理由は不明であるが、ポリウレタン樹脂がカーボンブラック粒子を囲い込み保護コロイドを形成していると考えられる。
アニオン性自己乳化型のエーテル系ポリウレタンとしては、例えば、特開2009−67907号公報、特開2009−173805号公報、特開2009−161726号公報に記載されているものなどが挙げられる。
黒色顔料インクに用いるカーボンブラックをポリウレタン樹脂と一緒に分散すると、カーボンブラックを単体で分散するよりも安定化する。その理由は不明であるが、ポリウレタン樹脂がカーボンブラック粒子を囲い込み保護コロイドを形成していると考えられる。
前記水系ポリウレタン樹脂の合成方法としては特に制限はなく、目的に応じて適宜選択することができ、例えば、以下の方法などが挙げられる。
(1)多官能イソシアネート化合物、イソシアネート基と反応し得る活性水素基を2個以上有する化合物、イソシアネート基と反応し得る活性水素基を有しかつ分子中にカルボキシル基及びスルホニル基を有する化合物の少なくともいずれか、並びにイソシアネート基と反応し得る活性水素基を有し且つ分子中にカチオン基を有する化合物を、イソシアネート基が過剰になるような当量比で、有機溶剤の存在下又は非存在下に反応させ、分子末端にイソシアネート基を有したウレタンプレポリマーを製造し、次いで中和剤により前記ウレタンプレポリマー中のカルボキシル基及びスルホニル基の少なくともいずれかを中和し、次いで、この中和したウレタンプレポリマーを、鎖伸長剤含有水溶液中に投入して乳化、鎖伸長反応させた後、系内に有機溶剤を含有する場合はそれを除去して、水系ポリウレタン樹脂を得る方法。
(2)前記(1)の方法における未中和のウレタンプレポリマーを、中和剤、かつ鎖伸長剤を含有した水溶液中に投入して乳化、鎖伸長反応させて水系ポリウレタン樹脂を得る方法。
(3)前記(1)の方法における中和済みのウレタンプレポリマーに、鎖伸長剤、水を加えて水系ポリウレタン樹脂を得る方法。
(4)前記(1)の方法における未中和のウレタンプレポリマーに、中和剤、鎖伸長剤、水を加えて水系ポリウレタン樹脂を得る方法。
(5)前記(1)の方法における中和済みのウレタンプレポリマーを水中に投入し、乳化後、鎖伸長剤を添加して水系ポリウレタン樹脂を得る方法。
(6)前記(1)の方法における未中和のウレタンプレポリマーを、中和剤含有水溶液中に投入し、その後、鎖伸長剤を添加して水系ポリウレタン樹脂を得る方法。
(7)前記(1)の方法における中和済みのウレタンプレポリマーに、水を加えた後、鎖伸長剤を添加して水系ポリウレタン樹脂を得る方法。
(8)前記(1)の方法で得た未中和のウレタンプレポリマーに、中和剤を含有した水溶液を加え、その後鎖伸長剤を添加させて水系ポリウレタン樹脂を得る方法。
(1)多官能イソシアネート化合物、イソシアネート基と反応し得る活性水素基を2個以上有する化合物、イソシアネート基と反応し得る活性水素基を有しかつ分子中にカルボキシル基及びスルホニル基を有する化合物の少なくともいずれか、並びにイソシアネート基と反応し得る活性水素基を有し且つ分子中にカチオン基を有する化合物を、イソシアネート基が過剰になるような当量比で、有機溶剤の存在下又は非存在下に反応させ、分子末端にイソシアネート基を有したウレタンプレポリマーを製造し、次いで中和剤により前記ウレタンプレポリマー中のカルボキシル基及びスルホニル基の少なくともいずれかを中和し、次いで、この中和したウレタンプレポリマーを、鎖伸長剤含有水溶液中に投入して乳化、鎖伸長反応させた後、系内に有機溶剤を含有する場合はそれを除去して、水系ポリウレタン樹脂を得る方法。
(2)前記(1)の方法における未中和のウレタンプレポリマーを、中和剤、かつ鎖伸長剤を含有した水溶液中に投入して乳化、鎖伸長反応させて水系ポリウレタン樹脂を得る方法。
(3)前記(1)の方法における中和済みのウレタンプレポリマーに、鎖伸長剤、水を加えて水系ポリウレタン樹脂を得る方法。
(4)前記(1)の方法における未中和のウレタンプレポリマーに、中和剤、鎖伸長剤、水を加えて水系ポリウレタン樹脂を得る方法。
(5)前記(1)の方法における中和済みのウレタンプレポリマーを水中に投入し、乳化後、鎖伸長剤を添加して水系ポリウレタン樹脂を得る方法。
(6)前記(1)の方法における未中和のウレタンプレポリマーを、中和剤含有水溶液中に投入し、その後、鎖伸長剤を添加して水系ポリウレタン樹脂を得る方法。
(7)前記(1)の方法における中和済みのウレタンプレポリマーに、水を加えた後、鎖伸長剤を添加して水系ポリウレタン樹脂を得る方法。
(8)前記(1)の方法で得た未中和のウレタンプレポリマーに、中和剤を含有した水溶液を加え、その後鎖伸長剤を添加させて水系ポリウレタン樹脂を得る方法。
本発明では、前記水分散性樹脂エマルジョンとして用いることが好ましい。このような樹脂エマルジョンの市販品としては、例えば、J−450、J−734、J−7600、J−352、J−390、J−7100、J−741、J−74J、J−511、J−840、J−775、HRC−1645、HPD−71(スチレン−アクリル系樹脂エマルジョン;いずれも、ジョンソンポリマー社製)、UVA383MA(アクリル−シリコーン系樹脂エマルジョン;BASF社製)、AP4710(アクリル−シリコーン系樹脂エマルジョン;昭和高分子社製)、SF460、SF460S、SF420、SF110、SF300、SF361(ポリウレタン系樹脂エマルジョン;いずれも日本ユニカー社製)、W5025、W5661(ポリウレタン系樹脂エマルジョン;三井化学ポリウレタン社製)などが挙げられる。
樹脂エマルジョンの体積平均粒径(D50)は、200nm以下が好ましく、100nm以下がより好ましく、80nm以下が更に好ましい。体積平均粒径を200nm以下とすることにより、インクジェットプリンタのノズル目詰まりを防止し、吐出不良の発生のないインクを提供することが可能となる。
樹脂エマルジョンのインク中の含有量は固形分で0.1〜5重量%が好ましく、0.4〜3重量%がより好ましく、0.4〜1重量%が更に好ましい。含有量を0.1重量%以上とすれば、インクが記録媒体へ着弾した後、記録媒体に付着した顔料が樹脂により覆われるため、耐擦過性のある画像を形成することが可能となる。また5重量%以下とすれば、保存安定性、吐出安定性に優れたインクを提供することが可能となる。
樹脂エマルジョンのインク中の含有量は固形分で0.1〜5重量%が好ましく、0.4〜3重量%がより好ましく、0.4〜1重量%が更に好ましい。含有量を0.1重量%以上とすれば、インクが記録媒体へ着弾した後、記録媒体に付着した顔料が樹脂により覆われるため、耐擦過性のある画像を形成することが可能となる。また5重量%以下とすれば、保存安定性、吐出安定性に優れたインクを提供することが可能となる。
本発明のインクには、上記した材料の他に、必要に応じて、pH調製剤、防腐防黴剤、キレート試薬、防錆剤、酸化防止剤、紫外線吸収剤、酸素吸収剤、光安定化剤などを添加することができる。
前記pH調製剤としては、調合されるインクに悪影響を及ぼさずにpHを7〜11に調製できるものであれば特に制限はなく、目的に応じて適宜選択することができるが、例えば、アルコールアミン類、アルカリ金属元素の水酸化物、アンモニウムの水酸化物、ホスホニウム水酸化物、アルカリ金属の炭酸塩、などが挙げられる。
pHが7未満又は11を超えるとインクジェットヘッドやインク供給ユニットを溶かし出す量が大きく、インクの変質や漏洩、吐出不良などの不具合が生じることがある。
前記アルコールアミン類としては、例えば、ジエタノールアミン、トリエタノールアミン、2−アミノ−2−エチル−1,3−プロパンジオール等が挙げられる。
前記アルカリ金属元素の水酸化物としては、例えば、水酸化リチウム、水酸化ナトリウム、水酸化カリウムなどが挙げられる。
前記アンモニウムの水酸化物としては、例えば、水酸化アンモニウム、第4級アンモニウム水酸化物などが挙げられる。
前記ホスホニウム水酸化物としては、例えば、第4級ホスホニウム水酸化物が挙げられる。
前記アルカリ金属の炭酸塩としては、例えば、炭酸リチウム、炭酸ナトリウム、炭酸カリウム等が挙げられる。
前記pH調製剤としては、調合されるインクに悪影響を及ぼさずにpHを7〜11に調製できるものであれば特に制限はなく、目的に応じて適宜選択することができるが、例えば、アルコールアミン類、アルカリ金属元素の水酸化物、アンモニウムの水酸化物、ホスホニウム水酸化物、アルカリ金属の炭酸塩、などが挙げられる。
pHが7未満又は11を超えるとインクジェットヘッドやインク供給ユニットを溶かし出す量が大きく、インクの変質や漏洩、吐出不良などの不具合が生じることがある。
前記アルコールアミン類としては、例えば、ジエタノールアミン、トリエタノールアミン、2−アミノ−2−エチル−1,3−プロパンジオール等が挙げられる。
前記アルカリ金属元素の水酸化物としては、例えば、水酸化リチウム、水酸化ナトリウム、水酸化カリウムなどが挙げられる。
前記アンモニウムの水酸化物としては、例えば、水酸化アンモニウム、第4級アンモニウム水酸化物などが挙げられる。
前記ホスホニウム水酸化物としては、例えば、第4級ホスホニウム水酸化物が挙げられる。
前記アルカリ金属の炭酸塩としては、例えば、炭酸リチウム、炭酸ナトリウム、炭酸カリウム等が挙げられる。
前記防腐防黴剤としては、例えば、デヒドロ酢酸ナトリウム、ソルビン酸ナトリウム、2−ピリジンチオール−1−オキサイドナトリウム、安息香酸ナトリウム、ペンタクロロフェノールナトリウム、等が挙げられる。
前記キレート試薬としては、例えば、エチレンジアミン四酢酸ナトリウム、ニトリロ三酢酸ナトリウム、ヒドロキシエチルエチレンジアミン三酢酸ナトリウム、ジエチレントリアミン五酢酸ナトリウム、ウラミル二酢酸ナトリウム等が挙げられる。
前記防錆剤としては、例えば、酸性亜硫酸塩、チオ硫酸ナトリウム、チオジグリコール酸アンモン、ジイソプロピルアンモニウムニトライト、四硝酸ペンタエリスリトール、ジシクロヘキシルアンモニウムニトライトなどが挙げられる。
前記酸化防止剤としては、例えば、フェノール系酸化防止剤(ヒンダードフェノール系酸化防止剤を含む)、アミン系酸化防止剤、硫黄系酸化防止剤、リン系酸化防止剤、などが挙げられる。
前記紫外線吸収剤としては、例えば、ベンゾフェノン系紫外線吸収剤、ベンゾトリアゾール系紫外線吸収剤、サリチレート系紫外線吸収剤、シアノアクリレート系紫外線吸収剤、ニッケル錯塩系紫外線吸収剤、などが挙げられる。
前記キレート試薬としては、例えば、エチレンジアミン四酢酸ナトリウム、ニトリロ三酢酸ナトリウム、ヒドロキシエチルエチレンジアミン三酢酸ナトリウム、ジエチレントリアミン五酢酸ナトリウム、ウラミル二酢酸ナトリウム等が挙げられる。
前記防錆剤としては、例えば、酸性亜硫酸塩、チオ硫酸ナトリウム、チオジグリコール酸アンモン、ジイソプロピルアンモニウムニトライト、四硝酸ペンタエリスリトール、ジシクロヘキシルアンモニウムニトライトなどが挙げられる。
前記酸化防止剤としては、例えば、フェノール系酸化防止剤(ヒンダードフェノール系酸化防止剤を含む)、アミン系酸化防止剤、硫黄系酸化防止剤、リン系酸化防止剤、などが挙げられる。
前記紫外線吸収剤としては、例えば、ベンゾフェノン系紫外線吸収剤、ベンゾトリアゾール系紫外線吸収剤、サリチレート系紫外線吸収剤、シアノアクリレート系紫外線吸収剤、ニッケル錯塩系紫外線吸収剤、などが挙げられる。
本発明のインクは公知の方法で作製することができる。例えばカーボンブラック顔料分散体、界面活性剤、水及び水溶性有機溶剤等を攪拌混合し、フィルター、遠心分離装置等で粗大粒子をろ過し、必要に応じて脱気することによって作製できる。
しかし、カーボンブラック顔料分散体は、少なくともカーボンブラック、界面活性剤、水を含有し、粘度が5〜15mPa・sである混合液を用いてメディアミルで分散処理し、分散後の粘度が1.5〜2.5mPa・s、好ましくは1.75〜2.25mPa・sになるようにするとよい。分散前の混合液の粘度が5mPa・s未満の場合、分散機構はビーズとの衝撃による体積粉砕が主体となり、顔料表面から顔料誘導体が脱離しやすく、顔料活性面を必要以上に発生させ、経時保存性を悪化させてしまうし、生産効率からも好ましくない。一方、分散前の混合液の粘度が15mPa・sより大きくなると、分散機構はビーズと顔料との摩擦による混練が主体となり、過大な動力と発熱が発生するため、生産安定性の面から好ましくない。
しかし、カーボンブラック顔料分散体は、少なくともカーボンブラック、界面活性剤、水を含有し、粘度が5〜15mPa・sである混合液を用いてメディアミルで分散処理し、分散後の粘度が1.5〜2.5mPa・s、好ましくは1.75〜2.25mPa・sになるようにするとよい。分散前の混合液の粘度が5mPa・s未満の場合、分散機構はビーズとの衝撃による体積粉砕が主体となり、顔料表面から顔料誘導体が脱離しやすく、顔料活性面を必要以上に発生させ、経時保存性を悪化させてしまうし、生産効率からも好ましくない。一方、分散前の混合液の粘度が15mPa・sより大きくなると、分散機構はビーズと顔料との摩擦による混練が主体となり、過大な動力と発熱が発生するため、生産安定性の面から好ましくない。
上記カーボンブラック顔料分散体の分散手段は特に限定されず、例えば、プライミクス社製「T.K.フィルミックス」、スギノマシン社製「アルテマイザー」、エム・テクニック社製「CLEAR SS5」、「クレアミックスWモーション」、ユーロテック社製「キャビトロン」、シンマルエンタープライゼス社製「IKA DR2000」、ヒールッシャー社製「UIPシリーズ」、オステム社製「SPR型」等が挙げられる。中でも超音波処理装置を用いて分散させることが好ましい。
メディアミルとしては、ビーズを用いた分散機が好ましく、例えば、Getzmann社製「TORUSMILL」、アシザワ社製「スターミル」、アイメックス社製「ビスコミル」、シンマルエンタープライゼス社製「ダイノミル」、三菱重工社製「ダイヤモンドファインミル」、コトブキ技研工業社製「アペックスメガ」、浅田鉄工社製「ピコミル」、ユーロテック社製「OBビーズミル」、三井鉱山社製「SCミル」等が挙げられる。
メディアミルとしては、ビーズを用いた分散機が好ましく、例えば、Getzmann社製「TORUSMILL」、アシザワ社製「スターミル」、アイメックス社製「ビスコミル」、シンマルエンタープライゼス社製「ダイノミル」、三菱重工社製「ダイヤモンドファインミル」、コトブキ技研工業社製「アペックスメガ」、浅田鉄工社製「ピコミル」、ユーロテック社製「OBビーズミル」、三井鉱山社製「SCミル」等が挙げられる。
本発明のインクカートリッジは、本発明のインクを容器内に収容したものであり、必要に応じて適宜選択したその他の部材等を有する。
容器には特に制限はなく、目的に応じてその形状、構造、大きさ、材質等を適宜選択することができ、例えば、プラスチック製容器、アルミニウムラミネートフィルム等で形成されたインク袋等を有するものが挙げられる。
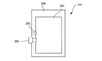
その一例について、インクカートリッジのケース(外装)を含めた図2を参照して説明する。
インクは、図2に示すように、インク注入口242からインク袋241内に充填され、排気した後、該インク注入口242を融着により閉じる。使用時には、ゴム部材からなるインク排出口243に装置本体の針を刺して装置にインクを供給する。インク袋241は、透気性の無いアルミニウムラミネートフィルム等の包装部材により形成されている。このインク袋241は、通常プラスチック製のカートリッジケース244内に収容され、インクカートリッジ240として、各種画像形成装置に着脱可能に装着して用いられるようになっている。
容器には特に制限はなく、目的に応じてその形状、構造、大きさ、材質等を適宜選択することができ、例えば、プラスチック製容器、アルミニウムラミネートフィルム等で形成されたインク袋等を有するものが挙げられる。
その一例について、インクカートリッジのケース(外装)を含めた図2を参照して説明する。
インクは、図2に示すように、インク注入口242からインク袋241内に充填され、排気した後、該インク注入口242を融着により閉じる。使用時には、ゴム部材からなるインク排出口243に装置本体の針を刺して装置にインクを供給する。インク袋241は、透気性の無いアルミニウムラミネートフィルム等の包装部材により形成されている。このインク袋241は、通常プラスチック製のカートリッジケース244内に収容され、インクカートリッジ240として、各種画像形成装置に着脱可能に装着して用いられるようになっている。
本発明のインクジェット記録装置は、前記インクカートリッジ及びインクを吐出させて記録を行う方式のヘッドを備えている。
印字(吐出)する方法としては、連続噴射型やオンデマンド型が挙げられる。またオンデマンド型としては、ピエゾ方式、サーマル方式、静電方式等が挙げられる。
ここで、本発明のインクカートリッジ及びインクジェット記録装置について、図1を参照して説明する。
図1において、本発明のインクが収容されるインクカートリッジ20は、キャリッジ18内に収納される。ここで、インクカートリッジ20は便宜上複数設けられているが、複数である必要はない。このような状態でインクが、インクカートリッジ20からキャリッジ18に搭載された液滴吐出ヘッド(図示せず)に供給される。なお、図1において、吐出ノズル面は下方向を向いた状態であるため見えない状態であるが、この吐出ノズルからインクが吐出される。
キャリッジ18に搭載された液滴吐出ヘッドは、主走査モータ26で駆動されるタイミングベルト23によって、ガイドシャフト21、22にガイドされて移動する。
一方、特定のコート紙(画像支持体)はプラテン(図示せず)によって液滴吐出ヘッドと対面する位置に置かれる。なお、図1中、1はインクジェット記録装置、2は本体筐体、16はギア機構、17は副走査モータ、25、27はギア機構をそれぞれ示す。
印字(吐出)する方法としては、連続噴射型やオンデマンド型が挙げられる。またオンデマンド型としては、ピエゾ方式、サーマル方式、静電方式等が挙げられる。
ここで、本発明のインクカートリッジ及びインクジェット記録装置について、図1を参照して説明する。
図1において、本発明のインクが収容されるインクカートリッジ20は、キャリッジ18内に収納される。ここで、インクカートリッジ20は便宜上複数設けられているが、複数である必要はない。このような状態でインクが、インクカートリッジ20からキャリッジ18に搭載された液滴吐出ヘッド(図示せず)に供給される。なお、図1において、吐出ノズル面は下方向を向いた状態であるため見えない状態であるが、この吐出ノズルからインクが吐出される。
キャリッジ18に搭載された液滴吐出ヘッドは、主走査モータ26で駆動されるタイミングベルト23によって、ガイドシャフト21、22にガイドされて移動する。
一方、特定のコート紙(画像支持体)はプラテン(図示せず)によって液滴吐出ヘッドと対面する位置に置かれる。なお、図1中、1はインクジェット記録装置、2は本体筐体、16はギア機構、17は副走査モータ、25、27はギア機構をそれぞれ示す。
本発明のインク又はインクカートリッジを収容したインクジェット記録装置を用いて画像支持体上に記録を行うと、オンデマンドで画像支持体上に印刷された画像形成物が得られる。また、インクの補充はインクカートリッジ単位で取り替えることが可能である。
前記画像支持体としては特に制限はなく、目的に応じて適宜選択することができ、例え
ば、普通紙、光沢紙、特殊紙、布、フィルム、OHPシートなどが挙げられる。これらの
中でも紙が特に好ましい。
前記画像支持体としては特に制限はなく、目的に応じて適宜選択することができ、例え
ば、普通紙、光沢紙、特殊紙、布、フィルム、OHPシートなどが挙げられる。これらの
中でも紙が特に好ましい。
以下、実施例及び比較例を示して本発明をより詳細に説明するが、本発明は、これらの実施例により限定されるものではない。なお、例中の「部」及び「%」は何れも重量基準である。
<カーボンブラック顔料分散体(No.1)の作製>
下記処方の材料を超音波ホモジナイザーでプレミックスして粘度が10mPa・sの混合物とした後、ビーズミル分散機(寿工業社製UAM−015)により、0.03mmジルコニアビーズ(密度6.03×10−6g/m2)を用いて、周速8m/s、液温30℃で15分間分散し、粘度が2mPa・sの分散体とした。
次いで、遠心分離機(久保田商事社製Model−3600)で粗大粒子を遠心分離して、平均粒子径が100nmのカーボンブラック顔料分散体(No.1)を得た。
カーボンブラックA及び界面活性剤の物性は後述する表1、表2に示すとおりである。
〔分散体処方〕
・カーボンブラックA (degussa社製:NIPEX150) 200.0部
・界面活性剤:ナフタレンスルホン酸ナトリウムホルマリン縮合物a 50.0部
(竹本油脂社製:パイオニンA−45−PN)
・蒸留水 750.0部
下記処方の材料を超音波ホモジナイザーでプレミックスして粘度が10mPa・sの混合物とした後、ビーズミル分散機(寿工業社製UAM−015)により、0.03mmジルコニアビーズ(密度6.03×10−6g/m2)を用いて、周速8m/s、液温30℃で15分間分散し、粘度が2mPa・sの分散体とした。
次いで、遠心分離機(久保田商事社製Model−3600)で粗大粒子を遠心分離して、平均粒子径が100nmのカーボンブラック顔料分散体(No.1)を得た。
カーボンブラックA及び界面活性剤の物性は後述する表1、表2に示すとおりである。
〔分散体処方〕
・カーボンブラックA (degussa社製:NIPEX150) 200.0部
・界面活性剤:ナフタレンスルホン酸ナトリウムホルマリン縮合物a 50.0部
(竹本油脂社製:パイオニンA−45−PN)
・蒸留水 750.0部
<カーボンブラック顔料分散体(No.2〜No.20)の作製>
カーボンブラックの種類、界面活性剤の種類、及びカーボンブラックと界面活性剤の比率(C/B)を表1に示すように変えると共に、混合液の粘度及び分散体の粘度を表1に示すように調整した点以外は、上記No.1の場合と同様にして、No.2〜No.20のカーボンブラック顔料分散体を作製した。
なお、混合液の粘度は、超音波ホモジナイザーのプレミックス時間を変えることにより調整し、分散体の粘度は、ビーズミル分散の処理時間を変えることにより調整した。プレミックス時間又は処理時間を短くすれば高粘度になるし、長くすれば低粘度になる。
カーボンブラックの種類、界面活性剤の種類、及びカーボンブラックと界面活性剤の比率(C/B)を表1に示すように変えると共に、混合液の粘度及び分散体の粘度を表1に示すように調整した点以外は、上記No.1の場合と同様にして、No.2〜No.20のカーボンブラック顔料分散体を作製した。
なお、混合液の粘度は、超音波ホモジナイザーのプレミックス時間を変えることにより調整し、分散体の粘度は、ビーズミル分散の処理時間を変えることにより調整した。プレミックス時間又は処理時間を短くすれば高粘度になるし、長くすれば低粘度になる。
上記表1中のカーボンブラックA〜Iは、いずれもdegussa社製のNIPEX150であり、その「ふるい残分」及び「STSA比表面積」は表2に示すとおりである。
なお、「ふるい残分」は市販の製品に示された数値であり、DIN ISO 787/18に基づく測定値であるが、ロット毎に異なる数値が示されているので、本発明の実施例及び比較例に相応しい数値を持つロットの製品を選択して用いたものである。
なお、「ふるい残分」は市販の製品に示された数値であり、DIN ISO 787/18に基づく測定値であるが、ロット毎に異なる数値が示されているので、本発明の実施例及び比較例に相応しい数値を持つロットの製品を選択して用いたものである。
また、上記表1中の界面活性剤種a〜eは、いずれも竹本油脂社製のナフタレンスルホン酸ナトリウムホルマリン縮合物(パイオニンA−45−PN)であり、該縮合物中のナフタレンスルホン酸の2量体、3量体、4量体の合計含有率(2〜4量体含有率)は、表3に示すとおりである。また、界面活性剤種fは、ポリカルボン酸グラフトポリマー(中京油脂社製:D−735)である。
実施例1〜16、比較例1〜4
<インクの作製>
下記処方の材料を混合し、30分間攪拌後、孔径0.8μmのメンブランフィルターでろ過し、真空脱気して、実施例1〜16及び比較例1〜4のインクを得た。カーボンブラック顔料分散体は、前述した表1のNo.1〜No.20の各分散体を用いた。
〔インク処方〕
・カーボンブラック顔料分散体(顔料濃度20%) 40.0部
・グリセリン 20.0部
・ジエチレングリコール 10.0部
・2−エチル−1,3−ヘキサンジオール 3.0部
・2−ピロリドン 3.0部
・アニオン性自己乳化型のエーテル系ポリウレタン樹脂エマルジョン 2.0部
(三井化学ポリウレタン社製:W5025)
・蒸留水 22.0部
<インクの作製>
下記処方の材料を混合し、30分間攪拌後、孔径0.8μmのメンブランフィルターでろ過し、真空脱気して、実施例1〜16及び比較例1〜4のインクを得た。カーボンブラック顔料分散体は、前述した表1のNo.1〜No.20の各分散体を用いた。
〔インク処方〕
・カーボンブラック顔料分散体(顔料濃度20%) 40.0部
・グリセリン 20.0部
・ジエチレングリコール 10.0部
・2−エチル−1,3−ヘキサンジオール 3.0部
・2−ピロリドン 3.0部
・アニオン性自己乳化型のエーテル系ポリウレタン樹脂エマルジョン 2.0部
(三井化学ポリウレタン社製:W5025)
・蒸留水 22.0部
実施例17
実施例1における樹脂エマルジョンをスチレンアクリル樹脂(BASF社:J840)に変えた点以外は、実施例1と同様にして、実施例17のインクを得た。
実施例1における樹脂エマルジョンをスチレンアクリル樹脂(BASF社:J840)に変えた点以外は、実施例1と同様にして、実施例17のインクを得た。
実施例18
実施例1における樹脂エマルジョンを添加せず、その分だけ蒸留水を増やした点以外は実施例1と同様にして、実施例18のインクを得た。
実施例1における樹脂エマルジョンを添加せず、その分だけ蒸留水を増やした点以外は実施例1と同様にして、実施例18のインクを得た。
上記実施例1〜18及び比較例1〜4の各インクを、リコー社製インクジェットプリンタIPSiO GX 5000用インクパックに充填してインクカートリッジを作製し、プリンタに装着した。
次いで、ゼロックス社製PPC用紙XEROX4200に印字し、下記のようにして、画像濃度、吐出安定性を評価した。また、インク保存性についても評価した。
評価結果を纏めて表4に示す。
次いで、ゼロックス社製PPC用紙XEROX4200に印字し、下記のようにして、画像濃度、吐出安定性を評価した。また、インク保存性についても評価した。
評価結果を纏めて表4に示す。
評価1:画像濃度
印字したベタ画像の画像濃度をXrite濃度計で測定し、次の基準で評価した。
〔評価基準〕
○:1.30以上
△:1.20以上、1.30未満
×:1.20未満
印字したベタ画像の画像濃度をXrite濃度計で測定し、次の基準で評価した。
〔評価基準〕
○:1.30以上
△:1.20以上、1.30未満
×:1.20未満
評価2:吐出安定性
プリンタを恒温恒湿槽に入れ、槽内の環境を、温度32℃、湿度30%RHに設定し、下記の印刷パターンチャートを20枚連続で印字後、20分間印字を実施しない休止状態にした。この操作を50回繰り返し、累計で1,000枚印写した後、ノズルプレートを顕微鏡で観察し、固着の有無を下記の基準で評価した。
−印刷パターンチャート−
画像領域中、印字面積が5%であるチャートについて、各インクを100%dutyで印字した。印字条件は、記録密度300dpi、ワンパス印字とした。
〔評価基準〕
○:ノズル近傍に固着なし
△:ノズル近傍にやや固着
×:ノズル近傍に固着あり
プリンタを恒温恒湿槽に入れ、槽内の環境を、温度32℃、湿度30%RHに設定し、下記の印刷パターンチャートを20枚連続で印字後、20分間印字を実施しない休止状態にした。この操作を50回繰り返し、累計で1,000枚印写した後、ノズルプレートを顕微鏡で観察し、固着の有無を下記の基準で評価した。
−印刷パターンチャート−
画像領域中、印字面積が5%であるチャートについて、各インクを100%dutyで印字した。印字条件は、記録密度300dpi、ワンパス印字とした。
〔評価基準〕
○:ノズル近傍に固着なし
△:ノズル近傍にやや固着
×:ノズル近傍に固着あり
評価3:保存安定性
各インクをポリエチレン容器に入れて密封し、70℃で3週間保存した後の粘度を測定し、その保存前後の変化率により下記の基準で評価した。
〔評価基準〕
○:10%以内
△:10%を超え、30%以内
×:30%を超える
各インクをポリエチレン容器に入れて密封し、70℃で3週間保存した後の粘度を測定し、その保存前後の変化率により下記の基準で評価した。
〔評価基準〕
○:10%以内
△:10%を超え、30%以内
×:30%を超える
1 インクジェット記録装置
2 本体筐体
16 ギア機構
17 副走査モータ
18 キャリッジ
20 インクカートリッジ
21 ガイドシャフト
22 ガイドシャフト
23 タイミングベルト
25 ギア機構
26 主走査モータ
27 ギア機構
240 インクカートリッジ
241 インク袋
242 インク注入口
243 インク排出口
244 カートリッジケース
2 本体筐体
16 ギア機構
17 副走査モータ
18 キャリッジ
20 インクカートリッジ
21 ガイドシャフト
22 ガイドシャフト
23 タイミングベルト
25 ギア機構
26 主走査モータ
27 ギア機構
240 インクカートリッジ
241 インク袋
242 インク注入口
243 インク排出口
244 カートリッジケース
Claims (8)
- 少なくともカーボンブラック、界面活性剤、水、及び水溶性有機溶剤を含有し、前記カーボンブラックのふるい残分(DIN ISO 787/18に基づく)が0.1〜50ppm、STSA比表面積が70〜90m2/gであることを特徴とするインクジェット記録用インク。
- 前記界面活性剤が、ナフタレンスルホン酸の2量体、3量体、4量体の合計含有率が20〜80重量%であるナフタレンスルホン酸ナトリウムホルマリン縮合物であり、該縮合物の含有率が重量比で、カーボンブラック1に対し0.01〜0.5であることを特徴とする請求項1記載のインクジェット記録用インク。
- 更にアニオン性自己乳化型のエーテル系ポリウレタン樹脂エマルジョンを含有することを特徴とする請求項1又は2記載のインクジェット記録用インク。
- 前記カーボンブラックが、少なくともカーボンブラック、界面活性剤、及び水を含有する粘度が5〜15mPa・sの混合液をメディアミルで処理して得られる、粘度が1.5〜2.5mPa・sのカーボンブラック顔料分散体として配合されていることを特徴とする請求項1〜3のいずれかに記載のインクジェット記録用インク。
- 請求項1〜4のいずれかに記載のインクジェット記録用インクを収容したことを特徴とするインクカートリッジ。
- 請求項5記載のインクカートリッジを搭載し、インクを吐出させて記録を行なう方式のヘッドを備えたことを特徴とするインクジェット記録装置。
- 請求項1〜4のいずれかに記載のインクジェット記録用インクを用いて印字することを特徴とする画像形成方法。
- 請求項7に記載の画像形成方法により画像支持体に印字された画像形成物。
Priority Applications (2)
| Application Number | Priority Date | Filing Date | Title |
|---|---|---|---|
| JP2011028786A JP2012167173A (ja) | 2011-02-14 | 2011-02-14 | インクジェット記録用インク、インクカートリッジ、インクジェット記録装置、画像形成方法、画像形成物 |
| US13/360,949 US20120207984A1 (en) | 2011-02-14 | 2012-01-30 | Inkjet ink, method for preparing same, ink cartridge containing same, image forming method and apparatus using same, and print formed by the image forming method |
Applications Claiming Priority (1)
| Application Number | Priority Date | Filing Date | Title |
|---|---|---|---|
| JP2011028786A JP2012167173A (ja) | 2011-02-14 | 2011-02-14 | インクジェット記録用インク、インクカートリッジ、インクジェット記録装置、画像形成方法、画像形成物 |
Publications (1)
| Publication Number | Publication Date |
|---|---|
| JP2012167173A true JP2012167173A (ja) | 2012-09-06 |
Family
ID=46637112
Family Applications (1)
| Application Number | Title | Priority Date | Filing Date |
|---|---|---|---|
| JP2011028786A Pending JP2012167173A (ja) | 2011-02-14 | 2011-02-14 | インクジェット記録用インク、インクカートリッジ、インクジェット記録装置、画像形成方法、画像形成物 |
Country Status (2)
| Country | Link |
|---|---|
| US (1) | US20120207984A1 (ja) |
| JP (1) | JP2012167173A (ja) |
Families Citing this family (6)
| Publication number | Priority date | Publication date | Assignee | Title |
|---|---|---|---|---|
| JP5725396B2 (ja) | 2010-04-30 | 2015-05-27 | 株式会社リコー | インクジェット用記録インク及びこれを用いた記録装置、記録物 |
| JP5757405B2 (ja) | 2011-04-01 | 2015-07-29 | 株式会社リコー | インクジェット用記録インクセット及びこれを用いたインクカートリッジ、インクジェット記録装置、画像形成方法及び画像形成物 |
| JP2013159711A (ja) | 2012-02-06 | 2013-08-19 | Ricoh Co Ltd | インクジェット用記録インクセット、顔料インク及びこれを用いた記録装置、記録物 |
| JP5942535B2 (ja) | 2012-03-28 | 2016-06-29 | 株式会社リコー | インクジェット記録用インク、インクカートリッジ、インクジェット記録装置、画像形成物 |
| JP5910248B2 (ja) | 2012-03-30 | 2016-04-27 | 株式会社リコー | インクジェット記録用インク、インクカートリッジ、インクジェット記録装置、画像形成物 |
| JP2024047539A (ja) | 2022-09-26 | 2024-04-05 | 株式会社リコー | インク、画像形成装置、及び画像形成方法 |
Citations (3)
| Publication number | Priority date | Publication date | Assignee | Title |
|---|---|---|---|---|
| JP2009067907A (ja) * | 2007-09-13 | 2009-04-02 | Ricoh Co Ltd | インクジェット用記録インク及び画像形成装置並びに画像形成方法 |
| JP2009263592A (ja) * | 2008-04-30 | 2009-11-12 | Ricoh Co Ltd | 色材含有組成物、記録用インク及びインクカートリッジ及びそれを使用した画像記録装置 |
| JP2010188605A (ja) * | 2009-02-18 | 2010-09-02 | Ricoh Co Ltd | インクジェット記録用インク液メディアセット及びインクジェット記録方法 |
Family Cites Families (2)
| Publication number | Priority date | Publication date | Assignee | Title |
|---|---|---|---|---|
| JP3484878B2 (ja) * | 1996-05-27 | 2004-01-06 | 富士ゼロックス株式会社 | インクジェット記録用インクユニット及びインクジェット記録方法 |
| US7798629B2 (en) * | 2006-08-11 | 2010-09-21 | Ricoh Company, Ltd. | Pigment dispersion, inkjet-ink using the pigment dispersion, image forming process, and image forming apparatus |
-
2011
- 2011-02-14 JP JP2011028786A patent/JP2012167173A/ja active Pending
-
2012
- 2012-01-30 US US13/360,949 patent/US20120207984A1/en not_active Abandoned
Patent Citations (3)
| Publication number | Priority date | Publication date | Assignee | Title |
|---|---|---|---|---|
| JP2009067907A (ja) * | 2007-09-13 | 2009-04-02 | Ricoh Co Ltd | インクジェット用記録インク及び画像形成装置並びに画像形成方法 |
| JP2009263592A (ja) * | 2008-04-30 | 2009-11-12 | Ricoh Co Ltd | 色材含有組成物、記録用インク及びインクカートリッジ及びそれを使用した画像記録装置 |
| JP2010188605A (ja) * | 2009-02-18 | 2010-09-02 | Ricoh Co Ltd | インクジェット記録用インク液メディアセット及びインクジェット記録方法 |
Also Published As
| Publication number | Publication date |
|---|---|
| US20120207984A1 (en) | 2012-08-16 |
Similar Documents
| Publication | Publication Date | Title |
|---|---|---|
| US10072170B2 (en) | Ink set and ink-jet recording method | |
| JP5757405B2 (ja) | インクジェット用記録インクセット及びこれを用いたインクカートリッジ、インクジェット記録装置、画像形成方法及び画像形成物 | |
| JP6260371B2 (ja) | インクジェットインク、該インクを用いたインクカートリッジ及び画像記録装置 | |
| JP5910248B2 (ja) | インクジェット記録用インク、インクカートリッジ、インクジェット記録装置、画像形成物 | |
| JP6541091B2 (ja) | インクジェット記録方法、インクジェット記録物、及びインクジェット記録装置 | |
| JP5729142B2 (ja) | インクジェット記録用インク、インクカートリッジ、インクジェット記録装置、インクジェット記録方法、及びインク記録物 | |
| JP2015214674A (ja) | インクジェット記録用インク、インク収容容器、インクジェット記録装置、記録物 | |
| JP7714274B2 (ja) | インクジェット用水性インク組成物 | |
| JP6043659B2 (ja) | インクジェット記録用インク、並びに該インクを用いたインクカートリッジ、インクジェット記録装置、インクジェット記録方法及びインク記録物 | |
| JP7690984B2 (ja) | インクジェット記録用水性インク | |
| JP2012167173A (ja) | インクジェット記録用インク、インクカートリッジ、インクジェット記録装置、画像形成方法、画像形成物 | |
| JP2013159711A (ja) | インクジェット用記録インクセット、顔料インク及びこれを用いた記録装置、記録物 | |
| JP6083263B2 (ja) | インクジェット記録用インク、インクカートリッジ、記録方法、記録装置、記録物 | |
| JP4764563B2 (ja) | インク組成物 | |
| JP7786168B2 (ja) | インクジェット記録用水性インク、インクジェット記録方法、インクジェット記録装置、及びインク収容容器 | |
| JP2014172981A (ja) | インクジェット記録用インク | |
| JP6043657B2 (ja) | インクジェット記録用インク、並びに該インクを用いたインクカートリッジ、インクジェット記録装置、インクジェット記録方法及びインク記録物 | |
| JP6044217B2 (ja) | インクジェット記録用インク、並びに該インクを用いたインクカートリッジ、インクジェット記録装置、インクジェット記録方法およびインク記録物 | |
| JP6043658B2 (ja) | インクジェット記録用インク、並びに該インクを用いたインクカートリッジ、インクジェット記録装置、インクジェット記録方法及びインク記録物 | |
| JP2012077111A (ja) | インクジェット記録用インク、インクカートリッジ、インクジェット記録装置、画像形成方法、画像形成物 | |
| JP6289088B2 (ja) | インクジェット記録用インク、インクカートリッジ、インクジェット記録方法、インクジェット記録装置、インク記録物 | |
| JP6018000B2 (ja) | インクジェット記録用インク、インクカートリッジ、インクジェット記録方法、インクジェット記録装置、インク記録物 | |
| JP2016172803A (ja) | インクジェット用水性インクセット、インクカートリッジ及びインクジェット記録装置 | |
| US20230120554A1 (en) | Ink set, image forming method, and image forming apparatus | |
| JP6197624B2 (ja) | インクジェット記録用インク、インク収納容器、インクジェット記録装置、記録物の製造方法、記録物 |
Legal Events
| Date | Code | Title | Description |
|---|---|---|---|
| A621 | Written request for application examination |
Free format text: JAPANESE INTERMEDIATE CODE: A621 Effective date: 20140116 |
|
| A977 | Report on retrieval |
Free format text: JAPANESE INTERMEDIATE CODE: A971007 Effective date: 20140929 |
|
| A02 | Decision of refusal |
Free format text: JAPANESE INTERMEDIATE CODE: A02 Effective date: 20150407 |
