JP2012106942A - 共役ジエンの製造方法 - Google Patents
共役ジエンの製造方法 Download PDFInfo
- Publication number
- JP2012106942A JP2012106942A JP2010255981A JP2010255981A JP2012106942A JP 2012106942 A JP2012106942 A JP 2012106942A JP 2010255981 A JP2010255981 A JP 2010255981A JP 2010255981 A JP2010255981 A JP 2010255981A JP 2012106942 A JP2012106942 A JP 2012106942A
- Authority
- JP
- Japan
- Prior art keywords
- conjugated diene
- organic solvent
- gas
- solvent
- catalyst
- Prior art date
- Legal status (The legal status is an assumption and is not a legal conclusion. Google has not performed a legal analysis and makes no representation as to the accuracy of the status listed.)
- Pending
Links
- 150000001993 dienes Chemical class 0.000 title claims abstract description 98
- 238000004519 manufacturing process Methods 0.000 title claims abstract description 36
- 239000007789 gas Substances 0.000 claims abstract description 160
- 239000003960 organic solvent Substances 0.000 claims abstract description 68
- 239000003054 catalyst Substances 0.000 claims abstract description 53
- 239000002994 raw material Substances 0.000 claims abstract description 46
- -1 cycloolefin compound Chemical class 0.000 claims abstract description 42
- 150000005673 monoalkenes Chemical class 0.000 claims abstract description 24
- 125000004432 carbon atom Chemical group C* 0.000 claims abstract description 22
- 238000005839 oxidative dehydrogenation reaction Methods 0.000 claims abstract description 17
- MYMOFIZGZYHOMD-UHFFFAOYSA-N Dioxygen Chemical compound O=O MYMOFIZGZYHOMD-UHFFFAOYSA-N 0.000 claims abstract description 15
- 229910001882 dioxygen Inorganic materials 0.000 claims abstract description 15
- 239000002904 solvent Substances 0.000 claims description 88
- XLYOFNOQVPJJNP-UHFFFAOYSA-N water Substances O XLYOFNOQVPJJNP-UHFFFAOYSA-N 0.000 claims description 55
- 229910001868 water Inorganic materials 0.000 claims description 46
- 238000004821 distillation Methods 0.000 claims description 22
- 229930195733 hydrocarbon Natural products 0.000 claims description 13
- 150000002430 hydrocarbons Chemical class 0.000 claims description 13
- 239000011734 sodium Substances 0.000 claims description 12
- 239000004215 Carbon black (E152) Substances 0.000 claims description 8
- 239000011575 calcium Substances 0.000 claims description 8
- 239000011777 magnesium Substances 0.000 claims description 8
- 230000003647 oxidation Effects 0.000 claims description 6
- 238000007254 oxidation reaction Methods 0.000 claims description 6
- 229910052708 sodium Inorganic materials 0.000 claims description 6
- 229910052684 Cerium Inorganic materials 0.000 claims description 4
- OAICVXFJPJFONN-UHFFFAOYSA-N Phosphorus Chemical compound [P] OAICVXFJPJFONN-UHFFFAOYSA-N 0.000 claims description 4
- 229910052785 arsenic Inorganic materials 0.000 claims description 4
- RQNWIZPPADIBDY-UHFFFAOYSA-N arsenic atom Chemical compound [As] RQNWIZPPADIBDY-UHFFFAOYSA-N 0.000 claims description 4
- 229910052792 caesium Inorganic materials 0.000 claims description 4
- 229910052791 calcium Inorganic materials 0.000 claims description 4
- 229910052749 magnesium Inorganic materials 0.000 claims description 4
- 229910052698 phosphorus Inorganic materials 0.000 claims description 4
- 239000011574 phosphorus Substances 0.000 claims description 4
- 229910052700 potassium Inorganic materials 0.000 claims description 4
- 229910052701 rubidium Inorganic materials 0.000 claims description 4
- 229910052716 thallium Inorganic materials 0.000 claims description 4
- ZOXJGFHDIHLPTG-UHFFFAOYSA-N Boron Chemical compound [B] ZOXJGFHDIHLPTG-UHFFFAOYSA-N 0.000 claims description 3
- OYPRJOBELJOOCE-UHFFFAOYSA-N Calcium Chemical compound [Ca] OYPRJOBELJOOCE-UHFFFAOYSA-N 0.000 claims description 3
- DGAQECJNVWCQMB-PUAWFVPOSA-M Ilexoside XXIX Chemical group C[C@@H]1CC[C@@]2(CC[C@@]3(C(=CC[C@H]4[C@]3(CC[C@@H]5[C@@]4(CC[C@@H](C5(C)C)OS(=O)(=O)[O-])C)C)[C@@H]2[C@]1(C)O)C)C(=O)O[C@H]6[C@@H]([C@H]([C@@H]([C@H](O6)CO)O)O)O.[Na+] DGAQECJNVWCQMB-PUAWFVPOSA-M 0.000 claims description 3
- FYYHWMGAXLPEAU-UHFFFAOYSA-N Magnesium Chemical compound [Mg] FYYHWMGAXLPEAU-UHFFFAOYSA-N 0.000 claims description 3
- ZLMJMSJWJFRBEC-UHFFFAOYSA-N Potassium Chemical compound [K] ZLMJMSJWJFRBEC-UHFFFAOYSA-N 0.000 claims description 3
- 229910052772 Samarium Inorganic materials 0.000 claims description 3
- 229910052796 boron Inorganic materials 0.000 claims description 3
- TVFDJXOCXUVLDH-UHFFFAOYSA-N caesium atom Chemical compound [Cs] TVFDJXOCXUVLDH-UHFFFAOYSA-N 0.000 claims description 3
- GWXLDORMOJMVQZ-UHFFFAOYSA-N cerium Chemical compound [Ce] GWXLDORMOJMVQZ-UHFFFAOYSA-N 0.000 claims description 3
- 239000011591 potassium Substances 0.000 claims description 3
- IGLNJRXAVVLDKE-UHFFFAOYSA-N rubidium atom Chemical compound [Rb] IGLNJRXAVVLDKE-UHFFFAOYSA-N 0.000 claims description 3
- KZUNJOHGWZRPMI-UHFFFAOYSA-N samarium atom Chemical compound [Sm] KZUNJOHGWZRPMI-UHFFFAOYSA-N 0.000 claims description 3
- JBQYATWDVHIOAR-UHFFFAOYSA-N tellanylidenegermanium Chemical compound [Te]=[Ge] JBQYATWDVHIOAR-UHFFFAOYSA-N 0.000 claims description 3
- BKVIYDNLLOSFOA-UHFFFAOYSA-N thallium Chemical compound [Tl] BKVIYDNLLOSFOA-UHFFFAOYSA-N 0.000 claims description 3
- WFKWXMTUELFFGS-UHFFFAOYSA-N tungsten Chemical compound [W] WFKWXMTUELFFGS-UHFFFAOYSA-N 0.000 claims description 3
- 229910052721 tungsten Inorganic materials 0.000 claims description 3
- 239000010937 tungsten Substances 0.000 claims description 3
- KAKZBPTYRLMSJV-UHFFFAOYSA-N Butadiene Chemical compound C=CC=C KAKZBPTYRLMSJV-UHFFFAOYSA-N 0.000 abstract description 114
- 238000000034 method Methods 0.000 abstract description 51
- VXNZUUAINFGPBY-UHFFFAOYSA-N 1-Butene Chemical compound CCC=C VXNZUUAINFGPBY-UHFFFAOYSA-N 0.000 abstract description 40
- 230000008569 process Effects 0.000 abstract description 27
- 230000003197 catalytic effect Effects 0.000 abstract description 8
- 238000010521 absorption reaction Methods 0.000 description 69
- 239000000047 product Substances 0.000 description 64
- 150000001875 compounds Chemical class 0.000 description 41
- YXFVVABEGXRONW-UHFFFAOYSA-N Toluene Chemical compound CC1=CC=CC=C1 YXFVVABEGXRONW-UHFFFAOYSA-N 0.000 description 39
- IJGRMHOSHXDMSA-UHFFFAOYSA-N Atomic nitrogen Chemical compound N#N IJGRMHOSHXDMSA-UHFFFAOYSA-N 0.000 description 37
- 239000000243 solution Substances 0.000 description 29
- 230000018044 dehydration Effects 0.000 description 26
- 238000006297 dehydration reaction Methods 0.000 description 26
- 238000001816 cooling Methods 0.000 description 24
- IAQRGUVFOMOMEM-UHFFFAOYSA-N but-2-ene Chemical compound CC=CC IAQRGUVFOMOMEM-UHFFFAOYSA-N 0.000 description 22
- 238000000926 separation method Methods 0.000 description 18
- 238000006243 chemical reaction Methods 0.000 description 17
- VYPSYNLAJGMNEJ-UHFFFAOYSA-N Silicium dioxide Chemical compound O=[Si]=O VYPSYNLAJGMNEJ-UHFFFAOYSA-N 0.000 description 14
- 239000007864 aqueous solution Substances 0.000 description 14
- 238000009835 boiling Methods 0.000 description 14
- 230000007423 decrease Effects 0.000 description 13
- 238000010438 heat treatment Methods 0.000 description 13
- 229910052757 nitrogen Inorganic materials 0.000 description 13
- 239000012535 impurity Substances 0.000 description 12
- QVGXLLKOCUKJST-UHFFFAOYSA-N atomic oxygen Chemical compound [O] QVGXLLKOCUKJST-UHFFFAOYSA-N 0.000 description 11
- 239000002131 composite material Substances 0.000 description 11
- 229910001873 dinitrogen Inorganic materials 0.000 description 11
- 239000000203 mixture Substances 0.000 description 11
- 239000001301 oxygen Substances 0.000 description 11
- 229910052760 oxygen Inorganic materials 0.000 description 11
- 239000002002 slurry Substances 0.000 description 11
- 238000001035 drying Methods 0.000 description 10
- 229910052750 molybdenum Inorganic materials 0.000 description 10
- 239000011733 molybdenum Substances 0.000 description 10
- ZOKXTWBITQBERF-UHFFFAOYSA-N Molybdenum Chemical compound [Mo] ZOKXTWBITQBERF-UHFFFAOYSA-N 0.000 description 9
- 239000006227 byproduct Substances 0.000 description 9
- 239000002274 desiccant Substances 0.000 description 9
- XNMQEEKYCVKGBD-UHFFFAOYSA-N dimethylacetylene Natural products CC#CC XNMQEEKYCVKGBD-UHFFFAOYSA-N 0.000 description 9
- 239000007787 solid Substances 0.000 description 9
- VQTUBCCKSQIDNK-UHFFFAOYSA-N Isobutene Chemical compound CC(C)=C VQTUBCCKSQIDNK-UHFFFAOYSA-N 0.000 description 7
- 230000032683 aging Effects 0.000 description 7
- 239000003570 air Substances 0.000 description 7
- 239000012018 catalyst precursor Substances 0.000 description 7
- 239000007788 liquid Substances 0.000 description 7
- 238000010791 quenching Methods 0.000 description 7
- ZMXDDKWLCZADIW-UHFFFAOYSA-N N,N-Dimethylformamide Chemical compound CN(C)C=O ZMXDDKWLCZADIW-UHFFFAOYSA-N 0.000 description 6
- 229910002091 carbon monoxide Inorganic materials 0.000 description 6
- 239000006185 dispersion Substances 0.000 description 6
- 230000000694 effects Effects 0.000 description 6
- 238000002156 mixing Methods 0.000 description 6
- PXHVJJICTQNCMI-UHFFFAOYSA-N nickel Substances [Ni] PXHVJJICTQNCMI-UHFFFAOYSA-N 0.000 description 6
- 239000000377 silicon dioxide Substances 0.000 description 6
- 229910052797 bismuth Inorganic materials 0.000 description 5
- XEEYBQQBJWHFJM-UHFFFAOYSA-N iron Substances [Fe] XEEYBQQBJWHFJM-UHFFFAOYSA-N 0.000 description 5
- 239000002808 molecular sieve Substances 0.000 description 5
- URGAHOPLAPQHLN-UHFFFAOYSA-N sodium aluminosilicate Chemical compound [Na+].[Al+3].[O-][Si]([O-])=O.[O-][Si]([O-])=O URGAHOPLAPQHLN-UHFFFAOYSA-N 0.000 description 5
- 238000003756 stirring Methods 0.000 description 5
- QGZKDVFQNNGYKY-UHFFFAOYSA-O Ammonium Chemical compound [NH4+] QGZKDVFQNNGYKY-UHFFFAOYSA-O 0.000 description 4
- ATRRKUHOCOJYRX-UHFFFAOYSA-N Ammonium bicarbonate Chemical compound [NH4+].OC([O-])=O ATRRKUHOCOJYRX-UHFFFAOYSA-N 0.000 description 4
- LFQSCWFLJHTTHZ-UHFFFAOYSA-N Ethanol Chemical compound CCO LFQSCWFLJHTTHZ-UHFFFAOYSA-N 0.000 description 4
- 239000005977 Ethylene Substances 0.000 description 4
- SECXISVLQFMRJM-UHFFFAOYSA-N N-Methylpyrrolidone Chemical compound CN1CCCC1=O SECXISVLQFMRJM-UHFFFAOYSA-N 0.000 description 4
- ATUOYWHBWRKTHZ-UHFFFAOYSA-N Propane Chemical compound CCC ATUOYWHBWRKTHZ-UHFFFAOYSA-N 0.000 description 4
- CDBYLPFSWZWCQE-UHFFFAOYSA-L Sodium Carbonate Chemical compound [Na+].[Na+].[O-]C([O-])=O CDBYLPFSWZWCQE-UHFFFAOYSA-L 0.000 description 4
- UIIMBOGNXHQVGW-UHFFFAOYSA-M Sodium bicarbonate Chemical compound [Na+].OC([O-])=O UIIMBOGNXHQVGW-UHFFFAOYSA-M 0.000 description 4
- 150000001299 aldehydes Chemical class 0.000 description 4
- 239000001099 ammonium carbonate Substances 0.000 description 4
- 239000007795 chemical reaction product Substances 0.000 description 4
- 238000010276 construction Methods 0.000 description 4
- HGCIXCUEYOPUTN-UHFFFAOYSA-N cyclohexene Chemical compound C1CCC=CC1 HGCIXCUEYOPUTN-UHFFFAOYSA-N 0.000 description 4
- 238000006356 dehydrogenation reaction Methods 0.000 description 4
- 230000010354 integration Effects 0.000 description 4
- VCJMYUPGQJHHFU-UHFFFAOYSA-N iron(3+);trinitrate Chemical compound [Fe+3].[O-][N+]([O-])=O.[O-][N+]([O-])=O.[O-][N+]([O-])=O VCJMYUPGQJHHFU-UHFFFAOYSA-N 0.000 description 4
- 239000005078 molybdenum compound Substances 0.000 description 4
- 150000002752 molybdenum compounds Chemical class 0.000 description 4
- 239000002245 particle Substances 0.000 description 4
- XNGIFLGASWRNHJ-UHFFFAOYSA-N phthalic acid Chemical compound OC(=O)C1=CC=CC=C1C(O)=O XNGIFLGASWRNHJ-UHFFFAOYSA-N 0.000 description 4
- FGIUAXJPYTZDNR-UHFFFAOYSA-N potassium nitrate Chemical compound [K+].[O-][N+]([O-])=O FGIUAXJPYTZDNR-UHFFFAOYSA-N 0.000 description 4
- OKKJLVBELUTLKV-UHFFFAOYSA-N Methanol Chemical compound OC OKKJLVBELUTLKV-UHFFFAOYSA-N 0.000 description 3
- 239000003463 adsorbent Substances 0.000 description 3
- 239000003125 aqueous solvent Substances 0.000 description 3
- 230000008901 benefit Effects 0.000 description 3
- JCXGWMGPZLAOME-UHFFFAOYSA-N bismuth atom Chemical compound [Bi] JCXGWMGPZLAOME-UHFFFAOYSA-N 0.000 description 3
- 150000001622 bismuth compounds Chemical class 0.000 description 3
- DCFDVJPDXYGCOK-UHFFFAOYSA-N cyclohex-3-ene-1-carbaldehyde Chemical compound O=CC1CCC=CC1 DCFDVJPDXYGCOK-UHFFFAOYSA-N 0.000 description 3
- RXPAJWPEYBDXOG-UHFFFAOYSA-N hydron;methyl 4-methoxypyridine-2-carboxylate;chloride Chemical compound Cl.COC(=O)C1=CC(OC)=CC=N1 RXPAJWPEYBDXOG-UHFFFAOYSA-N 0.000 description 3
- 238000000465 moulding Methods 0.000 description 3
- IJDNQMDRQITEOD-UHFFFAOYSA-N n-butane Chemical compound CCCC IJDNQMDRQITEOD-UHFFFAOYSA-N 0.000 description 3
- OFBQJSOFQDEBGM-UHFFFAOYSA-N n-pentane Natural products CCCCC OFBQJSOFQDEBGM-UHFFFAOYSA-N 0.000 description 3
- 238000006116 polymerization reaction Methods 0.000 description 3
- 239000002244 precipitate Substances 0.000 description 3
- 238000000746 purification Methods 0.000 description 3
- 230000008929 regeneration Effects 0.000 description 3
- 238000011069 regeneration method Methods 0.000 description 3
- 239000007921 spray Substances 0.000 description 3
- 229910000013 Ammonium bicarbonate Inorganic materials 0.000 description 2
- VHUUQVKOLVNVRT-UHFFFAOYSA-N Ammonium hydroxide Chemical compound [NH4+].[OH-] VHUUQVKOLVNVRT-UHFFFAOYSA-N 0.000 description 2
- XKRFYHLGVUSROY-UHFFFAOYSA-N Argon Chemical compound [Ar] XKRFYHLGVUSROY-UHFFFAOYSA-N 0.000 description 2
- VTYYLEPIZMXCLO-UHFFFAOYSA-L Calcium carbonate Chemical compound [Ca+2].[O-]C([O-])=O VTYYLEPIZMXCLO-UHFFFAOYSA-L 0.000 description 2
- UXVMQQNJUSDDNG-UHFFFAOYSA-L Calcium chloride Chemical compound [Cl-].[Cl-].[Ca+2] UXVMQQNJUSDDNG-UHFFFAOYSA-L 0.000 description 2
- OTMSDBZUPAUEDD-UHFFFAOYSA-N Ethane Chemical compound CC OTMSDBZUPAUEDD-UHFFFAOYSA-N 0.000 description 2
- VGGSQFUCUMXWEO-UHFFFAOYSA-N Ethene Chemical compound C=C VGGSQFUCUMXWEO-UHFFFAOYSA-N 0.000 description 2
- YLQBMQCUIZJEEH-UHFFFAOYSA-N Furan Chemical compound C=1C=COC=1 YLQBMQCUIZJEEH-UHFFFAOYSA-N 0.000 description 2
- TWRXJAOTZQYOKJ-UHFFFAOYSA-L Magnesium chloride Chemical compound [Mg+2].[Cl-].[Cl-] TWRXJAOTZQYOKJ-UHFFFAOYSA-L 0.000 description 2
- CSNNHWWHGAXBCP-UHFFFAOYSA-L Magnesium sulfate Chemical compound [Mg+2].[O-][S+2]([O-])([O-])[O-] CSNNHWWHGAXBCP-UHFFFAOYSA-L 0.000 description 2
- NBIIXXVUZAFLBC-UHFFFAOYSA-N Phosphoric acid Chemical compound OP(O)(O)=O NBIIXXVUZAFLBC-UHFFFAOYSA-N 0.000 description 2
- WCUXLLCKKVVCTQ-UHFFFAOYSA-M Potassium chloride Chemical compound [Cl-].[K+] WCUXLLCKKVVCTQ-UHFFFAOYSA-M 0.000 description 2
- MCMNRKCIXSYSNV-UHFFFAOYSA-N Zirconium dioxide Chemical compound O=[Zr]=O MCMNRKCIXSYSNV-UHFFFAOYSA-N 0.000 description 2
- 239000006096 absorbing agent Substances 0.000 description 2
- 239000002253 acid Substances 0.000 description 2
- 230000003679 aging effect Effects 0.000 description 2
- 125000003172 aldehyde group Chemical group 0.000 description 2
- 150000001336 alkenes Chemical class 0.000 description 2
- 235000012538 ammonium bicarbonate Nutrition 0.000 description 2
- 235000012501 ammonium carbonate Nutrition 0.000 description 2
- 235000011114 ammonium hydroxide Nutrition 0.000 description 2
- YVBOZGOAVJZITM-UHFFFAOYSA-P ammonium phosphomolybdate Chemical compound [NH4+].[NH4+].[NH4+].[NH4+].[O-]P([O-])=O.[O-][Mo]([O-])(=O)=O YVBOZGOAVJZITM-UHFFFAOYSA-P 0.000 description 2
- PYKYMHQGRFAEBM-UHFFFAOYSA-N anthraquinone Natural products CCC(=O)c1c(O)c2C(=O)C3C(C=CC=C3O)C(=O)c2cc1CC(=O)OC PYKYMHQGRFAEBM-UHFFFAOYSA-N 0.000 description 2
- 150000004056 anthraquinones Chemical class 0.000 description 2
- 229910021538 borax Inorganic materials 0.000 description 2
- KDKYADYSIPSCCQ-UHFFFAOYSA-N but-1-yne Chemical group CCC#C KDKYADYSIPSCCQ-UHFFFAOYSA-N 0.000 description 2
- NLSCHDZTHVNDCP-UHFFFAOYSA-N caesium nitrate Chemical compound [Cs+].[O-][N+]([O-])=O NLSCHDZTHVNDCP-UHFFFAOYSA-N 0.000 description 2
- FLJPGEWQYJVDPF-UHFFFAOYSA-L caesium sulfate Chemical compound [Cs+].[Cs+].[O-]S([O-])(=O)=O FLJPGEWQYJVDPF-UHFFFAOYSA-L 0.000 description 2
- 239000001110 calcium chloride Substances 0.000 description 2
- 229910001628 calcium chloride Inorganic materials 0.000 description 2
- ZCCIPPOKBCJFDN-UHFFFAOYSA-N calcium nitrate Chemical compound [Ca+2].[O-][N+]([O-])=O.[O-][N+]([O-])=O ZCCIPPOKBCJFDN-UHFFFAOYSA-N 0.000 description 2
- OSGAYBCDTDRGGQ-UHFFFAOYSA-L calcium sulfate Chemical compound [Ca+2].[O-]S([O-])(=O)=O OSGAYBCDTDRGGQ-UHFFFAOYSA-L 0.000 description 2
- 150000001728 carbonyl compounds Chemical class 0.000 description 2
- 125000002915 carbonyl group Chemical group [*:2]C([*:1])=O 0.000 description 2
- HSJPMRKMPBAUAU-UHFFFAOYSA-N cerium(3+);trinitrate Chemical compound [Ce+3].[O-][N+]([O-])=O.[O-][N+]([O-])=O.[O-][N+]([O-])=O HSJPMRKMPBAUAU-UHFFFAOYSA-N 0.000 description 2
- 229910017052 cobalt Inorganic materials 0.000 description 2
- 239000010941 cobalt Substances 0.000 description 2
- GUTLYIVDDKVIGB-UHFFFAOYSA-N cobalt atom Chemical compound [Co] GUTLYIVDDKVIGB-UHFFFAOYSA-N 0.000 description 2
- 150000001869 cobalt compounds Chemical class 0.000 description 2
- UFMZWBIQTDUYBN-UHFFFAOYSA-N cobalt dinitrate Chemical compound [Co+2].[O-][N+]([O-])=O.[O-][N+]([O-])=O UFMZWBIQTDUYBN-UHFFFAOYSA-N 0.000 description 2
- 229910001981 cobalt nitrate Inorganic materials 0.000 description 2
- 238000004939 coking Methods 0.000 description 2
- 238000005260 corrosion Methods 0.000 description 2
- 230000007797 corrosion Effects 0.000 description 2
- 150000001925 cycloalkenes Chemical class 0.000 description 2
- 238000000354 decomposition reaction Methods 0.000 description 2
- 238000007872 degassing Methods 0.000 description 2
- 125000002534 ethynyl group Chemical class [H]C#C* 0.000 description 2
- 238000004231 fluid catalytic cracking Methods 0.000 description 2
- YLQWCDOCJODRMT-UHFFFAOYSA-N fluoren-9-one Chemical compound C1=CC=C2C(=O)C3=CC=CC=C3C2=C1 YLQWCDOCJODRMT-UHFFFAOYSA-N 0.000 description 2
- 238000005755 formation reaction Methods 0.000 description 2
- 238000004817 gas chromatography Methods 0.000 description 2
- 230000001771 impaired effect Effects 0.000 description 2
- 150000002506 iron compounds Chemical class 0.000 description 2
- NNPPMTNAJDCUHE-UHFFFAOYSA-N isobutane Chemical compound CC(C)C NNPPMTNAJDCUHE-UHFFFAOYSA-N 0.000 description 2
- YIXJRHPUWRPCBB-UHFFFAOYSA-N magnesium nitrate Chemical compound [Mg+2].[O-][N+]([O-])=O.[O-][N+]([O-])=O YIXJRHPUWRPCBB-UHFFFAOYSA-N 0.000 description 2
- VNWKTOKETHGBQD-UHFFFAOYSA-N methane Chemical compound C VNWKTOKETHGBQD-UHFFFAOYSA-N 0.000 description 2
- JKQOBWVOAYFWKG-UHFFFAOYSA-N molybdenum trioxide Chemical compound O=[Mo](=O)=O JKQOBWVOAYFWKG-UHFFFAOYSA-N 0.000 description 2
- 150000002816 nickel compounds Chemical class 0.000 description 2
- KBJMLQFLOWQJNF-UHFFFAOYSA-N nickel(ii) nitrate Chemical compound [Ni+2].[O-][N+]([O-])=O.[O-][N+]([O-])=O KBJMLQFLOWQJNF-UHFFFAOYSA-N 0.000 description 2
- YWAKXRMUMFPDSH-UHFFFAOYSA-N pentene Chemical compound CCCC=C YWAKXRMUMFPDSH-UHFFFAOYSA-N 0.000 description 2
- SCVFZCLFOSHCOH-UHFFFAOYSA-M potassium acetate Chemical compound [K+].CC([O-])=O SCVFZCLFOSHCOH-UHFFFAOYSA-M 0.000 description 2
- BWHMMNNQKKPAPP-UHFFFAOYSA-L potassium carbonate Substances [K+].[K+].[O-]C([O-])=O BWHMMNNQKKPAPP-UHFFFAOYSA-L 0.000 description 2
- 239000004323 potassium nitrate Substances 0.000 description 2
- 235000010333 potassium nitrate Nutrition 0.000 description 2
- 239000000843 powder Substances 0.000 description 2
- 238000002360 preparation method Methods 0.000 description 2
- 239000001294 propane Substances 0.000 description 2
- QQONPFPTGQHPMA-UHFFFAOYSA-N propylene Natural products CC=C QQONPFPTGQHPMA-UHFFFAOYSA-N 0.000 description 2
- 125000004805 propylene group Chemical group [H]C([H])([H])C([H])([*:1])C([H])([H])[*:2] 0.000 description 2
- MWWATHDPGQKSAR-UHFFFAOYSA-N propyne Chemical group CC#C MWWATHDPGQKSAR-UHFFFAOYSA-N 0.000 description 2
- 239000012495 reaction gas Substances 0.000 description 2
- 238000011084 recovery Methods 0.000 description 2
- 238000010992 reflux Methods 0.000 description 2
- FGDZQCVHDSGLHJ-UHFFFAOYSA-M rubidium chloride Chemical compound [Cl-].[Rb+] FGDZQCVHDSGLHJ-UHFFFAOYSA-M 0.000 description 2
- 238000004062 sedimentation Methods 0.000 description 2
- 238000007086 side reaction Methods 0.000 description 2
- 235000017557 sodium bicarbonate Nutrition 0.000 description 2
- 229910000030 sodium bicarbonate Inorganic materials 0.000 description 2
- 229910000029 sodium carbonate Inorganic materials 0.000 description 2
- 239000004328 sodium tetraborate Substances 0.000 description 2
- 235000010339 sodium tetraborate Nutrition 0.000 description 2
- 239000000126 substance Substances 0.000 description 2
- 125000001424 substituent group Chemical group 0.000 description 2
- ZNOKGRXACCSDPY-UHFFFAOYSA-N tungsten trioxide Chemical compound O=[W](=O)=O ZNOKGRXACCSDPY-UHFFFAOYSA-N 0.000 description 2
- 238000005406 washing Methods 0.000 description 2
- 239000002351 wastewater Substances 0.000 description 2
- 239000011701 zinc Substances 0.000 description 2
- JIAARYAFYJHUJI-UHFFFAOYSA-L zinc dichloride Chemical compound [Cl-].[Cl-].[Zn+2] JIAARYAFYJHUJI-UHFFFAOYSA-L 0.000 description 2
- ONDPHDOFVYQSGI-UHFFFAOYSA-N zinc nitrate Chemical compound [Zn+2].[O-][N+]([O-])=O.[O-][N+]([O-])=O ONDPHDOFVYQSGI-UHFFFAOYSA-N 0.000 description 2
- NWUYHJFMYQTDRP-UHFFFAOYSA-N 1,2-bis(ethenyl)benzene;1-ethenyl-2-ethylbenzene;styrene Chemical compound C=CC1=CC=CC=C1.CCC1=CC=CC=C1C=C.C=CC1=CC=CC=C1C=C NWUYHJFMYQTDRP-UHFFFAOYSA-N 0.000 description 1
- HXKVDJIESURQMK-UHFFFAOYSA-N 1-methylcyclohex-3-ene-1-carbaldehyde Chemical compound O=CC1(C)CCC=CC1 HXKVDJIESURQMK-UHFFFAOYSA-N 0.000 description 1
- BKOOMYPCSUNDGP-UHFFFAOYSA-N 2-methylbut-2-ene Chemical compound CC=C(C)C BKOOMYPCSUNDGP-UHFFFAOYSA-N 0.000 description 1
- JMMZCWZIJXAGKW-UHFFFAOYSA-N 2-methylpent-2-ene Chemical compound CCC=C(C)C JMMZCWZIJXAGKW-UHFFFAOYSA-N 0.000 description 1
- BBDKZWKEPDTENS-UHFFFAOYSA-N 4-Vinylcyclohexene Chemical compound C=CC1CCC=CC1 BBDKZWKEPDTENS-UHFFFAOYSA-N 0.000 description 1
- 239000004254 Ammonium phosphate Substances 0.000 description 1
- 229910000014 Bismuth subcarbonate Inorganic materials 0.000 description 1
- 229910021578 Iron(III) chloride Inorganic materials 0.000 description 1
- 229910002651 NO3 Inorganic materials 0.000 description 1
- 229910021586 Nickel(II) chloride Inorganic materials 0.000 description 1
- NHNBFGGVMKEFGY-UHFFFAOYSA-N Nitrate Chemical compound [O-][N+]([O-])=O NHNBFGGVMKEFGY-UHFFFAOYSA-N 0.000 description 1
- CTQNGGLPUBDAKN-UHFFFAOYSA-N O-Xylene Chemical compound CC1=CC=CC=C1C CTQNGGLPUBDAKN-UHFFFAOYSA-N 0.000 description 1
- FMRLDPWIRHBCCC-UHFFFAOYSA-L Zinc carbonate Chemical compound [Zn+2].[O-]C([O-])=O FMRLDPWIRHBCCC-UHFFFAOYSA-L 0.000 description 1
- 239000002250 absorbent Substances 0.000 description 1
- 230000002745 absorbent Effects 0.000 description 1
- 238000009825 accumulation Methods 0.000 description 1
- MQRWBMAEBQOWAF-UHFFFAOYSA-N acetic acid;nickel Chemical compound [Ni].CC(O)=O.CC(O)=O MQRWBMAEBQOWAF-UHFFFAOYSA-N 0.000 description 1
- ZOIORXHNWRGPMV-UHFFFAOYSA-N acetic acid;zinc Chemical compound [Zn].CC(O)=O.CC(O)=O ZOIORXHNWRGPMV-UHFFFAOYSA-N 0.000 description 1
- 125000005595 acetylacetonate group Chemical group 0.000 description 1
- 150000008043 acidic salts Chemical class 0.000 description 1
- 125000001931 aliphatic group Chemical group 0.000 description 1
- 150000001447 alkali salts Chemical class 0.000 description 1
- 150000004703 alkoxides Chemical class 0.000 description 1
- 125000003545 alkoxy group Chemical group 0.000 description 1
- 125000000217 alkyl group Chemical group 0.000 description 1
- 150000001361 allenes Chemical class 0.000 description 1
- HSFWRNGVRCDJHI-UHFFFAOYSA-N alpha-acetylene Natural products C#C HSFWRNGVRCDJHI-UHFFFAOYSA-N 0.000 description 1
- PNEYBMLMFCGWSK-UHFFFAOYSA-N aluminium oxide Inorganic materials [O-2].[O-2].[O-2].[Al+3].[Al+3] PNEYBMLMFCGWSK-UHFFFAOYSA-N 0.000 description 1
- 229910000147 aluminium phosphate Inorganic materials 0.000 description 1
- 125000003277 amino group Chemical group 0.000 description 1
- QGZKDVFQNNGYKY-UHFFFAOYSA-N ammonia Natural products N QGZKDVFQNNGYKY-UHFFFAOYSA-N 0.000 description 1
- 229910000148 ammonium phosphate Inorganic materials 0.000 description 1
- 235000019289 ammonium phosphates Nutrition 0.000 description 1
- 150000003863 ammonium salts Chemical class 0.000 description 1
- 229910052786 argon Inorganic materials 0.000 description 1
- 150000004945 aromatic hydrocarbons Chemical class 0.000 description 1
- 230000015572 biosynthetic process Effects 0.000 description 1
- 229940036348 bismuth carbonate Drugs 0.000 description 1
- JHXKRIRFYBPWGE-UHFFFAOYSA-K bismuth chloride Chemical compound Cl[Bi](Cl)Cl JHXKRIRFYBPWGE-UHFFFAOYSA-K 0.000 description 1
- 229910000416 bismuth oxide Inorganic materials 0.000 description 1
- MGLUJXPJRXTKJM-UHFFFAOYSA-L bismuth subcarbonate Chemical compound O=[Bi]OC(=O)O[Bi]=O MGLUJXPJRXTKJM-UHFFFAOYSA-L 0.000 description 1
- 229940036358 bismuth subcarbonate Drugs 0.000 description 1
- KGBXLFKZBHKPEV-UHFFFAOYSA-N boric acid Chemical compound OB(O)O KGBXLFKZBHKPEV-UHFFFAOYSA-N 0.000 description 1
- 239000004327 boric acid Substances 0.000 description 1
- QNRMTGGDHLBXQZ-UHFFFAOYSA-N buta-1,2-diene Chemical compound CC=C=C QNRMTGGDHLBXQZ-UHFFFAOYSA-N 0.000 description 1
- 239000001273 butane Substances 0.000 description 1
- WFYPICNXBKQZGB-UHFFFAOYSA-N butenyne Chemical group C=CC#C WFYPICNXBKQZGB-UHFFFAOYSA-N 0.000 description 1
- ZOAIGCHJWKDIPJ-UHFFFAOYSA-M caesium acetate Chemical compound [Cs+].CC([O-])=O ZOAIGCHJWKDIPJ-UHFFFAOYSA-M 0.000 description 1
- FJDQFPXHSGXQBY-UHFFFAOYSA-L caesium carbonate Chemical compound [Cs+].[Cs+].[O-]C([O-])=O FJDQFPXHSGXQBY-UHFFFAOYSA-L 0.000 description 1
- 229910000024 caesium carbonate Inorganic materials 0.000 description 1
- AIYUHDOJVYHVIT-UHFFFAOYSA-M caesium chloride Chemical compound [Cl-].[Cs+] AIYUHDOJVYHVIT-UHFFFAOYSA-M 0.000 description 1
- VSGNNIFQASZAOI-UHFFFAOYSA-L calcium acetate Chemical compound [Ca+2].CC([O-])=O.CC([O-])=O VSGNNIFQASZAOI-UHFFFAOYSA-L 0.000 description 1
- 239000001639 calcium acetate Substances 0.000 description 1
- 235000011092 calcium acetate Nutrition 0.000 description 1
- 229960005147 calcium acetate Drugs 0.000 description 1
- 229910000019 calcium carbonate Inorganic materials 0.000 description 1
- BRPQOXSCLDDYGP-UHFFFAOYSA-N calcium oxide Chemical compound [O-2].[Ca+2] BRPQOXSCLDDYGP-UHFFFAOYSA-N 0.000 description 1
- 239000000292 calcium oxide Substances 0.000 description 1
- ODINCKMPIJJUCX-UHFFFAOYSA-N calcium oxide Inorganic materials [Ca]=O ODINCKMPIJJUCX-UHFFFAOYSA-N 0.000 description 1
- 239000003990 capacitor Substances 0.000 description 1
- 150000004649 carbonic acid derivatives Chemical class 0.000 description 1
- 125000003178 carboxy group Chemical group [H]OC(*)=O 0.000 description 1
- 150000007942 carboxylates Chemical class 0.000 description 1
- 229910010293 ceramic material Inorganic materials 0.000 description 1
- VYLVYHXQOHJDJL-UHFFFAOYSA-K cerium trichloride Chemical compound Cl[Ce](Cl)Cl VYLVYHXQOHJDJL-UHFFFAOYSA-K 0.000 description 1
- VGBWDOLBWVJTRZ-UHFFFAOYSA-K cerium(3+);triacetate Chemical compound [Ce+3].CC([O-])=O.CC([O-])=O.CC([O-])=O VGBWDOLBWVJTRZ-UHFFFAOYSA-K 0.000 description 1
- GHLITDDQOMIBFS-UHFFFAOYSA-H cerium(3+);tricarbonate Chemical compound [Ce+3].[Ce+3].[O-]C([O-])=O.[O-]C([O-])=O.[O-]C([O-])=O GHLITDDQOMIBFS-UHFFFAOYSA-H 0.000 description 1
- OZECDDHOAMNMQI-UHFFFAOYSA-H cerium(3+);trisulfate Chemical compound [Ce+3].[Ce+3].[O-]S([O-])(=O)=O.[O-]S([O-])(=O)=O.[O-]S([O-])(=O)=O OZECDDHOAMNMQI-UHFFFAOYSA-H 0.000 description 1
- 230000008859 change Effects 0.000 description 1
- 239000007809 chemical reaction catalyst Substances 0.000 description 1
- IAQRGUVFOMOMEM-ARJAWSKDSA-N cis-but-2-ene Chemical compound C\C=C/C IAQRGUVFOMOMEM-ARJAWSKDSA-N 0.000 description 1
- 229940011182 cobalt acetate Drugs 0.000 description 1
- 229910021446 cobalt carbonate Inorganic materials 0.000 description 1
- GVPFVAHMJGGAJG-UHFFFAOYSA-L cobalt dichloride Chemical compound [Cl-].[Cl-].[Co+2] GVPFVAHMJGGAJG-UHFFFAOYSA-L 0.000 description 1
- 229910000361 cobalt sulfate Inorganic materials 0.000 description 1
- 229940044175 cobalt sulfate Drugs 0.000 description 1
- KTVIXTQDYHMGHF-UHFFFAOYSA-L cobalt(2+) sulfate Chemical compound [Co+2].[O-]S([O-])(=O)=O KTVIXTQDYHMGHF-UHFFFAOYSA-L 0.000 description 1
- ZOTKGJBKKKVBJZ-UHFFFAOYSA-L cobalt(2+);carbonate Chemical compound [Co+2].[O-]C([O-])=O ZOTKGJBKKKVBJZ-UHFFFAOYSA-L 0.000 description 1
- QAHREYKOYSIQPH-UHFFFAOYSA-L cobalt(II) acetate Chemical compound [Co+2].CC([O-])=O.CC([O-])=O QAHREYKOYSIQPH-UHFFFAOYSA-L 0.000 description 1
- 239000008119 colloidal silica Substances 0.000 description 1
- 238000009833 condensation Methods 0.000 description 1
- 230000005494 condensation Effects 0.000 description 1
- 238000011109 contamination Methods 0.000 description 1
- 238000010924 continuous production Methods 0.000 description 1
- 239000000498 cooling water Substances 0.000 description 1
- 238000005336 cracking Methods 0.000 description 1
- 239000010779 crude oil Substances 0.000 description 1
- 125000004093 cyano group Chemical group *C#N 0.000 description 1
- XAYGUHUYDMLJJV-UHFFFAOYSA-Z decaazanium;dioxido(dioxo)tungsten;hydron;trioxotungsten Chemical compound [H+].[H+].[NH4+].[NH4+].[NH4+].[NH4+].[NH4+].[NH4+].[NH4+].[NH4+].[NH4+].[NH4+].O=[W](=O)=O.O=[W](=O)=O.O=[W](=O)=O.O=[W](=O)=O.O=[W](=O)=O.O=[W](=O)=O.[O-][W]([O-])(=O)=O.[O-][W]([O-])(=O)=O.[O-][W]([O-])(=O)=O.[O-][W]([O-])(=O)=O.[O-][W]([O-])(=O)=O.[O-][W]([O-])(=O)=O XAYGUHUYDMLJJV-UHFFFAOYSA-Z 0.000 description 1
- 238000010908 decantation Methods 0.000 description 1
- 230000003247 decreasing effect Effects 0.000 description 1
- 230000008021 deposition Effects 0.000 description 1
- 238000010586 diagram Methods 0.000 description 1
- MNNHAPBLZZVQHP-UHFFFAOYSA-N diammonium hydrogen phosphate Chemical compound [NH4+].[NH4+].OP([O-])([O-])=O MNNHAPBLZZVQHP-UHFFFAOYSA-N 0.000 description 1
- TYIXMATWDRGMPF-UHFFFAOYSA-N dibismuth;oxygen(2-) Chemical compound [O-2].[O-2].[O-2].[Bi+3].[Bi+3] TYIXMATWDRGMPF-UHFFFAOYSA-N 0.000 description 1
- GMZOPRQQINFLPQ-UHFFFAOYSA-H dibismuth;tricarbonate Chemical compound [Bi+3].[Bi+3].[O-]C([O-])=O.[O-]C([O-])=O.[O-]C([O-])=O GMZOPRQQINFLPQ-UHFFFAOYSA-H 0.000 description 1
- 238000009792 diffusion process Methods 0.000 description 1
- 238000010790 dilution Methods 0.000 description 1
- 239000012895 dilution Substances 0.000 description 1
- 238000006471 dimerization reaction Methods 0.000 description 1
- WSSSPWUEQFSQQG-UHFFFAOYSA-N dimethylbutene Natural products CC(C)CC=C WSSSPWUEQFSQQG-UHFFFAOYSA-N 0.000 description 1
- YWEUIGNSBFLMFL-UHFFFAOYSA-N diphosphonate Chemical compound O=P(=O)OP(=O)=O YWEUIGNSBFLMFL-UHFFFAOYSA-N 0.000 description 1
- 238000004090 dissolution Methods 0.000 description 1
- 238000004880 explosion Methods 0.000 description 1
- 238000000605 extraction Methods 0.000 description 1
- 238000000895 extractive distillation Methods 0.000 description 1
- 238000001125 extrusion Methods 0.000 description 1
- 238000010304 firing Methods 0.000 description 1
- 239000006260 foam Substances 0.000 description 1
- 239000000295 fuel oil Substances 0.000 description 1
- 229910021485 fumed silica Inorganic materials 0.000 description 1
- 239000008187 granular material Substances 0.000 description 1
- 229910052734 helium Inorganic materials 0.000 description 1
- 239000001307 helium Substances 0.000 description 1
- SWQJXJOGLNCZEY-UHFFFAOYSA-N helium atom Chemical compound [He] SWQJXJOGLNCZEY-UHFFFAOYSA-N 0.000 description 1
- 239000001257 hydrogen Substances 0.000 description 1
- 229910052739 hydrogen Inorganic materials 0.000 description 1
- 150000004679 hydroxides Chemical class 0.000 description 1
- 125000002887 hydroxy group Chemical group [H]O* 0.000 description 1
- 125000001841 imino group Chemical group [H]N=* 0.000 description 1
- 229910001872 inorganic gas Inorganic materials 0.000 description 1
- 239000003456 ion exchange resin Substances 0.000 description 1
- 229920003303 ion-exchange polymer Polymers 0.000 description 1
- 229910052742 iron Inorganic materials 0.000 description 1
- RBTARNINKXHZNM-UHFFFAOYSA-K iron trichloride Chemical compound Cl[Fe](Cl)Cl RBTARNINKXHZNM-UHFFFAOYSA-K 0.000 description 1
- RUTXIHLAWFEWGM-UHFFFAOYSA-H iron(3+) sulfate Chemical compound [Fe+3].[Fe+3].[O-]S([O-])(=O)=O.[O-]S([O-])(=O)=O.[O-]S([O-])(=O)=O RUTXIHLAWFEWGM-UHFFFAOYSA-H 0.000 description 1
- PVFSDGKDKFSOTB-UHFFFAOYSA-K iron(3+);triacetate Chemical compound [Fe+3].CC([O-])=O.CC([O-])=O.CC([O-])=O PVFSDGKDKFSOTB-UHFFFAOYSA-K 0.000 description 1
- 229910000360 iron(III) sulfate Inorganic materials 0.000 description 1
- 150000002576 ketones Chemical class 0.000 description 1
- UEGPKNKPLBYCNK-UHFFFAOYSA-L magnesium acetate Chemical compound [Mg+2].CC([O-])=O.CC([O-])=O UEGPKNKPLBYCNK-UHFFFAOYSA-L 0.000 description 1
- 239000011654 magnesium acetate Substances 0.000 description 1
- 235000011285 magnesium acetate Nutrition 0.000 description 1
- 229940069446 magnesium acetate Drugs 0.000 description 1
- ZLNQQNXFFQJAID-UHFFFAOYSA-L magnesium carbonate Chemical compound [Mg+2].[O-]C([O-])=O ZLNQQNXFFQJAID-UHFFFAOYSA-L 0.000 description 1
- 239000001095 magnesium carbonate Substances 0.000 description 1
- 229910000021 magnesium carbonate Inorganic materials 0.000 description 1
- 235000014380 magnesium carbonate Nutrition 0.000 description 1
- 229910001629 magnesium chloride Inorganic materials 0.000 description 1
- 235000011147 magnesium chloride Nutrition 0.000 description 1
- 229910052943 magnesium sulfate Inorganic materials 0.000 description 1
- 235000019341 magnesium sulphate Nutrition 0.000 description 1
- 239000000463 material Substances 0.000 description 1
- 230000035800 maturation Effects 0.000 description 1
- MEFBJEMVZONFCJ-UHFFFAOYSA-N molybdate Chemical compound [O-][Mo]([O-])(=O)=O MEFBJEMVZONFCJ-UHFFFAOYSA-N 0.000 description 1
- VLAPMBHFAWRUQP-UHFFFAOYSA-L molybdic acid Chemical compound O[Mo](O)(=O)=O VLAPMBHFAWRUQP-UHFFFAOYSA-L 0.000 description 1
- 229910052754 neon Inorganic materials 0.000 description 1
- GKAOGPIIYCISHV-UHFFFAOYSA-N neon atom Chemical compound [Ne] GKAOGPIIYCISHV-UHFFFAOYSA-N 0.000 description 1
- 229910052759 nickel Inorganic materials 0.000 description 1
- 229940078494 nickel acetate Drugs 0.000 description 1
- QMMRZOWCJAIUJA-UHFFFAOYSA-L nickel dichloride Chemical compound Cl[Ni]Cl QMMRZOWCJAIUJA-UHFFFAOYSA-L 0.000 description 1
- LGQLOGILCSXPEA-UHFFFAOYSA-L nickel sulfate Chemical compound [Ni+2].[O-]S([O-])(=O)=O LGQLOGILCSXPEA-UHFFFAOYSA-L 0.000 description 1
- 229910000008 nickel(II) carbonate Inorganic materials 0.000 description 1
- 229910000363 nickel(II) sulfate Inorganic materials 0.000 description 1
- ZULUUIKRFGGGTL-UHFFFAOYSA-L nickel(ii) carbonate Chemical compound [Ni+2].[O-]C([O-])=O ZULUUIKRFGGGTL-UHFFFAOYSA-L 0.000 description 1
- 150000002823 nitrates Chemical class 0.000 description 1
- 125000000449 nitro group Chemical group [O-][N+](*)=O 0.000 description 1
- FYWSTUCDSVYLPV-UHFFFAOYSA-N nitrooxythallium Chemical compound [Tl+].[O-][N+]([O-])=O FYWSTUCDSVYLPV-UHFFFAOYSA-N 0.000 description 1
- 239000003921 oil Substances 0.000 description 1
- JRZJOMJEPLMPRA-UHFFFAOYSA-N olefin Natural products CCCCCCCC=C JRZJOMJEPLMPRA-UHFFFAOYSA-N 0.000 description 1
- 150000007524 organic acids Chemical class 0.000 description 1
- DHRLEVQXOMLTIM-UHFFFAOYSA-N phosphoric acid;trioxomolybdenum Chemical compound O=[Mo](=O)=O.O=[Mo](=O)=O.O=[Mo](=O)=O.O=[Mo](=O)=O.O=[Mo](=O)=O.O=[Mo](=O)=O.O=[Mo](=O)=O.O=[Mo](=O)=O.O=[Mo](=O)=O.O=[Mo](=O)=O.O=[Mo](=O)=O.O=[Mo](=O)=O.OP(O)(O)=O DHRLEVQXOMLTIM-UHFFFAOYSA-N 0.000 description 1
- IYDGMDWEHDFVQI-UHFFFAOYSA-N phosphoric acid;trioxotungsten Chemical compound O=[W](=O)=O.O=[W](=O)=O.O=[W](=O)=O.O=[W](=O)=O.O=[W](=O)=O.O=[W](=O)=O.O=[W](=O)=O.O=[W](=O)=O.O=[W](=O)=O.O=[W](=O)=O.O=[W](=O)=O.O=[W](=O)=O.OP(O)(O)=O IYDGMDWEHDFVQI-UHFFFAOYSA-N 0.000 description 1
- DLYUQMMRRRQYAE-UHFFFAOYSA-N phosphorus pentoxide Inorganic materials O1P(O2)(=O)OP3(=O)OP1(=O)OP2(=O)O3 DLYUQMMRRRQYAE-UHFFFAOYSA-N 0.000 description 1
- 235000011056 potassium acetate Nutrition 0.000 description 1
- 229910000027 potassium carbonate Inorganic materials 0.000 description 1
- 235000011181 potassium carbonates Nutrition 0.000 description 1
- 239000001103 potassium chloride Substances 0.000 description 1
- 235000011164 potassium chloride Nutrition 0.000 description 1
- OTYBMLCTZGSZBG-UHFFFAOYSA-L potassium sulfate Chemical compound [K+].[K+].[O-]S([O-])(=O)=O OTYBMLCTZGSZBG-UHFFFAOYSA-L 0.000 description 1
- 229910052939 potassium sulfate Inorganic materials 0.000 description 1
- 235000011151 potassium sulphates Nutrition 0.000 description 1
- 239000012041 precatalyst Substances 0.000 description 1
- 239000002243 precursor Substances 0.000 description 1
- 239000011541 reaction mixture Substances 0.000 description 1
- 230000009257 reactivity Effects 0.000 description 1
- 230000005070 ripening Effects 0.000 description 1
- WPFGFHJALYCVMO-UHFFFAOYSA-L rubidium carbonate Chemical compound [Rb+].[Rb+].[O-]C([O-])=O WPFGFHJALYCVMO-UHFFFAOYSA-L 0.000 description 1
- 229910000026 rubidium carbonate Inorganic materials 0.000 description 1
- 229940102127 rubidium chloride Drugs 0.000 description 1
- RTHYXYOJKHGZJT-UHFFFAOYSA-N rubidium nitrate Inorganic materials [Rb+].[O-][N+]([O-])=O RTHYXYOJKHGZJT-UHFFFAOYSA-N 0.000 description 1
- 229910000344 rubidium sulfate Inorganic materials 0.000 description 1
- FOGKDYADEBOSPL-UHFFFAOYSA-M rubidium(1+);acetate Chemical compound [Rb+].CC([O-])=O FOGKDYADEBOSPL-UHFFFAOYSA-M 0.000 description 1
- GANPIEKBSASAOC-UHFFFAOYSA-L rubidium(1+);sulfate Chemical compound [Rb+].[Rb+].[O-]S([O-])(=O)=O GANPIEKBSASAOC-UHFFFAOYSA-L 0.000 description 1
- 239000012266 salt solution Substances 0.000 description 1
- 150000003839 salts Chemical class 0.000 description 1
- JPDBEEUPLFWHAJ-UHFFFAOYSA-K samarium(3+);triacetate Chemical compound [Sm+3].CC([O-])=O.CC([O-])=O.CC([O-])=O JPDBEEUPLFWHAJ-UHFFFAOYSA-K 0.000 description 1
- QCZFMLDHLOYOQJ-UHFFFAOYSA-H samarium(3+);tricarbonate Chemical compound [Sm+3].[Sm+3].[O-]C([O-])=O.[O-]C([O-])=O.[O-]C([O-])=O QCZFMLDHLOYOQJ-UHFFFAOYSA-H 0.000 description 1
- YZDZYSPAJSPJQJ-UHFFFAOYSA-N samarium(3+);trinitrate Chemical compound [Sm+3].[O-][N+]([O-])=O.[O-][N+]([O-])=O.[O-][N+]([O-])=O YZDZYSPAJSPJQJ-UHFFFAOYSA-N 0.000 description 1
- LVSITDBROURTQX-UHFFFAOYSA-H samarium(3+);trisulfate Chemical compound [Sm+3].[Sm+3].[O-]S([O-])(=O)=O.[O-]S([O-])(=O)=O.[O-]S([O-])(=O)=O LVSITDBROURTQX-UHFFFAOYSA-H 0.000 description 1
- BHXBZLPMVFUQBQ-UHFFFAOYSA-K samarium(iii) chloride Chemical compound Cl[Sm](Cl)Cl BHXBZLPMVFUQBQ-UHFFFAOYSA-K 0.000 description 1
- 238000005070 sampling Methods 0.000 description 1
- 229930195734 saturated hydrocarbon Natural products 0.000 description 1
- 239000011265 semifinished product Substances 0.000 description 1
- 239000011949 solid catalyst Substances 0.000 description 1
- 239000011343 solid material Substances 0.000 description 1
- 125000000020 sulfo group Chemical group O=S(=O)([*])O[H] 0.000 description 1
- 230000009897 systematic effect Effects 0.000 description 1
- GBECUEIQVRDUKB-UHFFFAOYSA-M thallium monochloride Chemical compound [Tl]Cl GBECUEIQVRDUKB-UHFFFAOYSA-M 0.000 description 1
- HQOJMTATBXYHNR-UHFFFAOYSA-M thallium(I) acetate Chemical compound [Tl+].CC([O-])=O HQOJMTATBXYHNR-UHFFFAOYSA-M 0.000 description 1
- DASUJKKKKGHFBF-UHFFFAOYSA-L thallium(i) carbonate Chemical compound [Tl+].[Tl+].[O-]C([O-])=O DASUJKKKKGHFBF-UHFFFAOYSA-L 0.000 description 1
- IAQRGUVFOMOMEM-ONEGZZNKSA-N trans-but-2-ene Chemical compound C\C=C\C IAQRGUVFOMOMEM-ONEGZZNKSA-N 0.000 description 1
- WYXIGTJNYDDFFH-UHFFFAOYSA-Q triazanium;borate Chemical compound [NH4+].[NH4+].[NH4+].[O-]B([O-])[O-] WYXIGTJNYDDFFH-UHFFFAOYSA-Q 0.000 description 1
- KHAUBYTYGDOYRU-IRXASZMISA-N trospectomycin Chemical compound CN[C@H]([C@H]1O2)[C@@H](O)[C@@H](NC)[C@H](O)[C@H]1O[C@H]1[C@]2(O)C(=O)C[C@@H](CCCC)O1 KHAUBYTYGDOYRU-IRXASZMISA-N 0.000 description 1
- PBYZMCDFOULPGH-UHFFFAOYSA-N tungstate Chemical compound [O-][W]([O-])(=O)=O PBYZMCDFOULPGH-UHFFFAOYSA-N 0.000 description 1
- CMPGARWFYBADJI-UHFFFAOYSA-L tungstic acid Chemical compound O[W](O)(=O)=O CMPGARWFYBADJI-UHFFFAOYSA-L 0.000 description 1
- 239000006200 vaporizer Substances 0.000 description 1
- 125000000391 vinyl group Chemical group [H]C([*])=C([H])[H] 0.000 description 1
- 239000008096 xylene Substances 0.000 description 1
- 229910052725 zinc Inorganic materials 0.000 description 1
- 239000004246 zinc acetate Substances 0.000 description 1
- 235000013904 zinc acetate Nutrition 0.000 description 1
- 239000011667 zinc carbonate Substances 0.000 description 1
- 235000004416 zinc carbonate Nutrition 0.000 description 1
- 229910000010 zinc carbonate Inorganic materials 0.000 description 1
- 239000011592 zinc chloride Substances 0.000 description 1
- 235000005074 zinc chloride Nutrition 0.000 description 1
- NWONKYPBYAMBJT-UHFFFAOYSA-L zinc sulfate Chemical compound [Zn+2].[O-]S([O-])(=O)=O NWONKYPBYAMBJT-UHFFFAOYSA-L 0.000 description 1
- 229910000368 zinc sulfate Inorganic materials 0.000 description 1
- 229960001763 zinc sulfate Drugs 0.000 description 1
Images
Classifications
-
- Y—GENERAL TAGGING OF NEW TECHNOLOGICAL DEVELOPMENTS; GENERAL TAGGING OF CROSS-SECTIONAL TECHNOLOGIES SPANNING OVER SEVERAL SECTIONS OF THE IPC; TECHNICAL SUBJECTS COVERED BY FORMER USPC CROSS-REFERENCE ART COLLECTIONS [XRACs] AND DIGESTS
- Y02—TECHNOLOGIES OR APPLICATIONS FOR MITIGATION OR ADAPTATION AGAINST CLIMATE CHANGE
- Y02P—CLIMATE CHANGE MITIGATION TECHNOLOGIES IN THE PRODUCTION OR PROCESSING OF GOODS
- Y02P20/00—Technologies relating to chemical industry
- Y02P20/50—Improvements relating to the production of bulk chemicals
- Y02P20/52—Improvements relating to the production of bulk chemicals using catalysts, e.g. selective catalysts
Landscapes
- Catalysts (AREA)
- Organic Low-Molecular-Weight Compounds And Preparation Thereof (AREA)
- Low-Molecular Organic Synthesis Reactions Using Catalysts (AREA)
Abstract
【課題】 n−ブテン等のモノオレフィンの接触酸化脱水素反応によりブタジエン等の共役ジエンを製造する方法において、反応後に得られる生成ガスを有機溶媒で吸収するにあたり、効率よく共役ジエンを有機溶媒に吸収でき、工業的に有利なブタジエンの製造方法を提供することを目的とする。
【解決手段】 炭素原子数4以上のモノオレフィンを含む原料ガスと分子状酸素含有ガスを反応器に供給し、触媒の存在下、酸化脱水素反応を行うことにより生成される対応する共役ジエンを含む生成ガスを得た後、該生成ガスを有機溶媒と接触させ、該共役ジエンを含む溶液を得るにあたり、該有機溶媒がシクロオレフィン化合物を含有することを特徴とする共役ジエンの製造方法。
【選択図】なし
【解決手段】 炭素原子数4以上のモノオレフィンを含む原料ガスと分子状酸素含有ガスを反応器に供給し、触媒の存在下、酸化脱水素反応を行うことにより生成される対応する共役ジエンを含む生成ガスを得た後、該生成ガスを有機溶媒と接触させ、該共役ジエンを含む溶液を得るにあたり、該有機溶媒がシクロオレフィン化合物を含有することを特徴とする共役ジエンの製造方法。
【選択図】なし
Description
本発明は共役ジエンの製造方法に係り、特にn−ブテン等の炭素原子数4以上のモノオレフィンの接触酸化脱水素反応でブタジエン等の共役ジエンを製造する方法に関する。
n−ブテン等のモノオレフィンを触媒の存在下に酸化脱水素反応させてブタジエン等の共役ジエンを製造する方法は、従来公知である。
この反応は例えば以下の反応式に従って進行し、水が副生する。
C4H8+1/2O2→C4H6+H2O
n−ブテンの接触酸化脱水素反応によるブタジエンの製造は、工業的にはナフサ分解で副生するC4留分(C4炭化水素混合物。以下、「BB」と称す場合がある。)からのブタジエンの抽出分離プロセスにおいて、抽出蒸留塔でブタジエンを分離して得られた、1−ブテンの他、2−ブテン、ブタン等を含む混合物(以下、この混合物を「BBSS]と称す場合がある。)中に含まれるブテンからブタジエンを製造する方法が提案されている通常、生成されるブタジエンは、ブタジエンを含む反応生成ガスを有機溶媒と接触させ、有機溶媒中にブタジエンを吸収し、蒸留などによりブタジエンを分離して回収される。
この反応は例えば以下の反応式に従って進行し、水が副生する。
C4H8+1/2O2→C4H6+H2O
n−ブテンの接触酸化脱水素反応によるブタジエンの製造は、工業的にはナフサ分解で副生するC4留分(C4炭化水素混合物。以下、「BB」と称す場合がある。)からのブタジエンの抽出分離プロセスにおいて、抽出蒸留塔でブタジエンを分離して得られた、1−ブテンの他、2−ブテン、ブタン等を含む混合物(以下、この混合物を「BBSS]と称す場合がある。)中に含まれるブテンからブタジエンを製造する方法が提案されている通常、生成されるブタジエンは、ブタジエンを含む反応生成ガスを有機溶媒と接触させ、有機溶媒中にブタジエンを吸収し、蒸留などによりブタジエンを分離して回収される。
具体的な方法として、例えば、n−ブテンなどのモノオレフィンの酸化脱水素反応により生成される1,3−ブタジエンを含む反応混合ガスから副生物のカルボニル化合物を除去するために、反応混合ガスと有機酸水溶液からなる吸収溶剤とを接触させて吸収溶剤中にカルボニル化合物を吸収させる方法(特開昭60−184029号公報)や、非凝縮性ガスが高濃度で存在する生成ガスから非凝縮性ガス及び水分を実質的に含まないブタジエンを回収するため、沸点範囲110〜180℃の炭化水素吸収溶剤と接触させる方法(特開昭60−193931号公報)などがある。
上記特許文献1〜2には、有機溶媒に共役ジエンを吸収させて、共役ジエンを含む溶液を得るにあたり、有機溶媒の性状によって吸収される共役ジエンの量が変化することは記載されていないが、本発明者らの検討によれば、酸化脱水素反応により生成される共役ジエンを含む反応生成ガスと有機溶媒とを接触させ共役ジエンを吸収し、共役ジエンが吸収された溶液を得る工程を有する連続プロセスにおいて、有機溶媒の性状が変わると共役ジエンの吸収効率が低下する、という問題が判明した。
本発明は上記課題に鑑みてなされたものであって、n−ブテン等のモノオレフィンの接触酸化脱水素反応によりブタジエン等の共役ジエンを製造する方法において、反応後に得られる生成ガスを有機溶媒で吸収するにあたり、効率よく共役ジエンを有機溶媒に吸収でき、工業的に有利なブタジエンの製造方法を提供することを目的とする。
本発明者らは、上記課題を解決すべく鋭意検討した結果、生成ガスをシクロオレフィン化合物の含有する有機溶媒と接触させ、共役ジエンを吸収すれば、有機溶媒の共役ジエン
の吸収効率が向上することを見出した。
本発明はこのような知見に基いて達成されたものであり、以下[1]〜[7]を要旨とする。
[1] 炭素原子数4以上のモノオレフィンを含む原料ガスと分子状酸素含有ガスを反応器に供給し、触媒の存在下、酸化脱水素反応を行うことにより生成される対応する共役ジエンを含む生成ガスを得た後、該生成ガスを有機溶媒と接触させ、該共役ジエンを含む溶液を得るにあたり、該有機溶媒がシクロオレフィン化合物を含有することを特徴とする共役ジエンの製造方法。
[2] 前記共役ジエンを含む溶液を分離器に供給し、蒸留により前記有機溶媒と前記共役ジエンとを分離し、分離された有機溶媒を回収し、前記生成ガスと接触させる有機溶媒として循環する工程を更に有することを特徴とする[1]に記載の共役ジエンの製造方法。
[3] 前記有機溶媒が炭素原子数6以上の炭化水素からなる溶媒であることを特徴とする請求項1又は2に記載の共役ジエンの製造方法。
[4] 前記有機溶媒中の水分量が0.01〜10.00wt%であることを特徴とする[1]〜[3]のいずれか1項に記載の共役ジエンの製造方法。
[5] 前記有機溶媒中の前記シクロオレフィン化合物の量が1.5wt%以上20.0wt%以下であることを特徴とする[1]〜[4]のいずれか1項に記載の共役ジエンの製造方法。
[6] 前記シクロオレフィン化合物が六員環を有することを特徴とする[1]〜[5]のいずれか1項に記載の共役ジエンの製造方法。
[7] 前記触媒が、下記一般式(1)で表される複合酸化物触媒であることを特徴とする[1]〜[6]のいずれか1項に記載の共役ジエンの製造方法。
の吸収効率が向上することを見出した。
本発明はこのような知見に基いて達成されたものであり、以下[1]〜[7]を要旨とする。
[1] 炭素原子数4以上のモノオレフィンを含む原料ガスと分子状酸素含有ガスを反応器に供給し、触媒の存在下、酸化脱水素反応を行うことにより生成される対応する共役ジエンを含む生成ガスを得た後、該生成ガスを有機溶媒と接触させ、該共役ジエンを含む溶液を得るにあたり、該有機溶媒がシクロオレフィン化合物を含有することを特徴とする共役ジエンの製造方法。
[2] 前記共役ジエンを含む溶液を分離器に供給し、蒸留により前記有機溶媒と前記共役ジエンとを分離し、分離された有機溶媒を回収し、前記生成ガスと接触させる有機溶媒として循環する工程を更に有することを特徴とする[1]に記載の共役ジエンの製造方法。
[3] 前記有機溶媒が炭素原子数6以上の炭化水素からなる溶媒であることを特徴とする請求項1又は2に記載の共役ジエンの製造方法。
[4] 前記有機溶媒中の水分量が0.01〜10.00wt%であることを特徴とする[1]〜[3]のいずれか1項に記載の共役ジエンの製造方法。
[5] 前記有機溶媒中の前記シクロオレフィン化合物の量が1.5wt%以上20.0wt%以下であることを特徴とする[1]〜[4]のいずれか1項に記載の共役ジエンの製造方法。
[6] 前記シクロオレフィン化合物が六員環を有することを特徴とする[1]〜[5]のいずれか1項に記載の共役ジエンの製造方法。
[7] 前記触媒が、下記一般式(1)で表される複合酸化物触媒であることを特徴とする[1]〜[6]のいずれか1項に記載の共役ジエンの製造方法。
MoaBibCocNidFeeXfYgZhSiiOj (1)
(式中、Xはマグネシウム(Mg)、カルシウム(Ca)、亜鉛(Zn)、セリウム(Ce)及びサマリウム(Sm)からなる群から選ばれる少なくとも1種の元素であり、Yはナトリウム(Na)、カリウム(K)、ルビジウム(Rb)、セシウム(Cs)及びタリウム(Tl)からなる群から選ばれる少なくとも1種の元素であり、Zはホウ素(B)、リン(P)、砒素(As)及びタングステン(W)からなる群から選ばれる少なくとも1種の元素である。また、a〜jはそれぞれの元素の原子比を表し、a=12のとき、b=0.5〜7、c=0〜10、d=0〜10(但しc+d=1〜10)、e=0.05〜3、f=0〜2、g=0.04〜2、h=0〜3、i=0〜48の範囲にあり、またjは他の元素の酸化状態を満足させる数値である。)
(式中、Xはマグネシウム(Mg)、カルシウム(Ca)、亜鉛(Zn)、セリウム(Ce)及びサマリウム(Sm)からなる群から選ばれる少なくとも1種の元素であり、Yはナトリウム(Na)、カリウム(K)、ルビジウム(Rb)、セシウム(Cs)及びタリウム(Tl)からなる群から選ばれる少なくとも1種の元素であり、Zはホウ素(B)、リン(P)、砒素(As)及びタングステン(W)からなる群から選ばれる少なくとも1種の元素である。また、a〜jはそれぞれの元素の原子比を表し、a=12のとき、b=0.5〜7、c=0〜10、d=0〜10(但しc+d=1〜10)、e=0.05〜3、f=0〜2、g=0.04〜2、h=0〜3、i=0〜48の範囲にあり、またjは他の元素の酸化状態を満足させる数値である。)
本発明によれば、得られた共役ジエンを精製する工程において、生成ガスをシクロオレフィン化合物を含有する有機溶媒と接触させ、共役ジエンを吸収すれば、有機溶媒の共役ジエンの吸収効率が向上させることができる。
以下に本発明の共役ジエンの製造方法の実施の形態を詳細に説明するが、以下に記載する説明は、本発明の実施態様の一例(代表例)であり、本発明はこれらの内容に限定されない。
本発明では、炭素原子数4以上のモノオレフィンを含む原料ガスと分子状酸素含有ガスとを反応器に供給し、触媒の存在下、酸化脱水素反応により対応する共役ジエンを製造する。
本発明では、炭素原子数4以上のモノオレフィンを含む原料ガスと分子状酸素含有ガスとを反応器に供給し、触媒の存在下、酸化脱水素反応により対応する共役ジエンを製造する。
本発明の原料ガスは炭素原子数4以上のモノオレフィンを含むが、炭素原子数4以上のモノオレフィンとしては、ブテン(1−ブテン及び/又は2−ブテン等のn−ブテン、イソブテン)、ペンテン、メチルブテン、ジメチルブテン等の炭素原子数4以上、好ましくは炭素原子数4〜6のモノオレフィンが挙げられ、接触酸化脱水素反応による対応する共役ジエンの製造に有効に適用することができる。この中でも、n−ブテン(1−ブテン及び/又は2−ブテン等のn−ブテン)からのブタジエンの製造に最も好適に用いられる。又、炭素原子数4以上のモノオレフィンを含む原料ガスとしては、単離した炭素原子数4以上のモノオレフィンそのものを使用する必要はなく、必要に応じて任意の混合物の形で用いることができる。例えばブタジエンを得ようとする場合には高純度のn−ブテン(1−ブテン及び/又は2−ブテン)を原料ガスとすることもできるが、前述のナフサ分解で副生するC4留分(BB)からブタジエン及びi−ブテン(イソブテン)を分離して得られるn−ブテン(1−ブテン及び/又は2−ブテン)を主成分とする留分(BBSS)やn−ブタンの脱水素又は酸化脱水素反応により生成するブテン留分を使用することもできる。また、エチレンの2量化により得られる高純度の1−ブテン、シス−2−ブテン、トランス−2−ブテン又はこれらの混合物を含有するガスを原料ガスとして使用しても差し支えない。尚、このエチレンはエタン脱水素、エタノール脱水、又はナフサ分解などの方法で得られるエチレンを使用することができる。更に、石油精製プラントなどで原油を蒸留した際に得られる重油留分を、流動層状態で粉末状の固体触媒を使って分解し、低沸点の炭化水素に変換する流動接触分解 (Fluid Catalytic Cracking)から得られる炭素原子
数4の炭化水素類を多く含むガス(以下、FCC−C4と略記することがある)をそのまま原料ガスとする、又は、FCC−C4からリンや砒素などの不純物を除去したものを原料ガスとして使用しても差し支えない。なお、ここでいう、主成分とは、原料ガスに対して、通常40体積%以上、好ましくは60体積%以上、より好ましくは75体積%以上、特に好ましくは99体積%以上を示す。
数4の炭化水素類を多く含むガス(以下、FCC−C4と略記することがある)をそのまま原料ガスとする、又は、FCC−C4からリンや砒素などの不純物を除去したものを原料ガスとして使用しても差し支えない。なお、ここでいう、主成分とは、原料ガスに対して、通常40体積%以上、好ましくは60体積%以上、より好ましくは75体積%以上、特に好ましくは99体積%以上を示す。
また、本発明の原料ガス中には、本発明の効果を阻害しない範囲で、任意の不純物を含んでいても良い。n−ブテン(1−ブテン及び2−ブテン)からブタジエンを製造する場合、含んでいても良い不純物として、具体的には、イソブテンなどの分岐型モノオレフィン;プロパン、n−ブタン、i−ブタン、ペンタンなどの飽和炭化水素;プロピレン、ペンテンなどのオレフィン;1,2−ブタジエンなどのジエン;メチルアセチレン、ビニルアセチレン、エチルアセチレンなどのアセチレン類等が挙げられる。この不純物の量は、通常40体積%以下、好ましくは20体積%以下、より好ましくは10体積%以下、特に好ましくは1体積%以下である。この量が多すぎると、主原料である1−ブテンや2−ブテンの濃度が下がって反応が遅くなったり、目的生成物であるブタジエンの収率が低下する傾向にある。また、本発明では、原料ガス中の炭素原子数4以上の直鎖型モノオレフィンの濃度は、特に限定されないが、通常は、70.00〜99.99vol%である。
次に、本発明で好適に用いられる触媒について説明する。本発明で用いる触媒は酸化脱水素触媒であり、少なくともモリブデン、ビスマス及びコバルトを含有する複合酸化物触媒であることが好ましい。そして、この中でも、下記一般式(1)で表される複合酸化物触媒であることがより好ましい。
MoaBibCocNidFeeXfYgZhSiiOj (1)
なお、式中、Xはマグネシウム(Mg)、カルシウム(Ca)、亜鉛(Zn)、セリウム(Ce)及びサマリウム(Sm)からなる群から選ばれる少なくとも1種の元素である。Yはナトリウム(Na)、カリウム(K)、ルビジウム(Rb)、セシウム(Cs)及びタリウム(Tl)からなる群から選ばれる少なくとも1種の元素である。Zはホウ素(B)、リン(P)、砒素(As)及びタングステン(W)からなる群から選ばれる少なくとも1種の元素である。
MoaBibCocNidFeeXfYgZhSiiOj (1)
なお、式中、Xはマグネシウム(Mg)、カルシウム(Ca)、亜鉛(Zn)、セリウム(Ce)及びサマリウム(Sm)からなる群から選ばれる少なくとも1種の元素である。Yはナトリウム(Na)、カリウム(K)、ルビジウム(Rb)、セシウム(Cs)及びタリウム(Tl)からなる群から選ばれる少なくとも1種の元素である。Zはホウ素(B)、リン(P)、砒素(As)及びタングステン(W)からなる群から選ばれる少なくとも1種の元素である。
さらに、a〜jはそれぞれの元素の原子比を表し、a=12のとき、b=0.5〜7、c=0〜10、d=0〜10(但しc+d=1〜10)、e=0.05〜3、f=0〜2、g=0.04〜2、h=0〜3、i=0〜48の範囲にあり、またjは他の元素の酸化状態を満足させる数値である。
また、この複合酸化物触媒は、この複合酸化物触媒を構成する各成分元素の供給源化合物を水系内で一体化して加熱する工程を経て製造する方法がよい。例えば、前記各成分元素の供給源化合物の全部を水系内で一体化して加熱してもよい。
また、この複合酸化物触媒は、この複合酸化物触媒を構成する各成分元素の供給源化合物を水系内で一体化して加熱する工程を経て製造する方法がよい。例えば、前記各成分元素の供給源化合物の全部を水系内で一体化して加熱してもよい。
その中でも、モリブデン化合物、鉄化合物、ニッケル化合物及びコバルト化合物よりなる群から選ばれる少なくとも1種とシリカとを含む原料化合物の水溶液若しくは水分散液、又はこれを乾燥して得た乾燥物を加熱処理して触媒前駆体を製造する前工程と、この触媒前駆体、モリブデン化合物及びビスマス化合物を水性溶媒とともに一体化し、乾燥、焼成する後工程とを有する方法で製造するのが好ましい。この方法を用いると、得られた複合酸化物触媒は、高い触媒活性を発揮するので、高収率でブタジエン等の共役ジエンを製造することができ、アルデヒド類含有量の少ない反応生成ガスを得ることができる。なお、水性溶媒とは、水、又はメタノール、エタノール等の水と相溶性を有する有機溶媒、又はこれらの混合物をいう。
次に、本発明に好適な複合酸化物触媒の製造方法について説明する。
まず、この複合酸化物触媒の製造方法においては、前記前工程で用いられるモリブデンが、モリブデンの全原子比(a)の内の一部の原子比(a1)相当のモリブデンであり、前記後工程で用いられるモリブデンが、モリブデンの全原子比(a)からa1を差し引いた残りの原子比(a2)相当のモリブデンであることが好ましい。そして、前記a1が1<a1/(c+d+e)<3を満足する値であることが好ましく、さらに、前記a2が0<a2/b<8を満足する値であることが好ましい。
まず、この複合酸化物触媒の製造方法においては、前記前工程で用いられるモリブデンが、モリブデンの全原子比(a)の内の一部の原子比(a1)相当のモリブデンであり、前記後工程で用いられるモリブデンが、モリブデンの全原子比(a)からa1を差し引いた残りの原子比(a2)相当のモリブデンであることが好ましい。そして、前記a1が1<a1/(c+d+e)<3を満足する値であることが好ましく、さらに、前記a2が0<a2/b<8を満足する値であることが好ましい。
前記成分元素の供給源化合物としては、成分元素の酸化物、硝酸塩、炭酸塩、アンモニウム塩、水酸化物、カルボン酸塩、カルボン酸アンモニウム塩、ハロゲン化アンモニウム塩、水素酸、アセチルアセトナート、アルコキシド等が挙げられ、その具体例としては、下記のようなものが挙げられる。
Moの供給源化合物としては、パラモリブデン酸アンモニウム、三酸化モリブデン、モリブデン酸、リンモリブデン酸アンモニウム、リンモリブデン酸等が挙げられる。
Moの供給源化合物としては、パラモリブデン酸アンモニウム、三酸化モリブデン、モリブデン酸、リンモリブデン酸アンモニウム、リンモリブデン酸等が挙げられる。
Feの供給源化合物としては、硝酸第二鉄、硫酸第二鉄、塩化第二鉄、酢酸第二鉄等が挙げられる。
Coの供給源化合物としては、硝酸コバルト、硫酸コバルト、塩化コバルト、炭酸コバルト、酢酸コバルト等が挙げられる。
Niの供給源化合物としては、硝酸ニッケル、硫酸ニッケル、塩化ニッケル、炭酸ニッケル、酢酸ニッケル等が挙げられる。
Coの供給源化合物としては、硝酸コバルト、硫酸コバルト、塩化コバルト、炭酸コバルト、酢酸コバルト等が挙げられる。
Niの供給源化合物としては、硝酸ニッケル、硫酸ニッケル、塩化ニッケル、炭酸ニッケル、酢酸ニッケル等が挙げられる。
Siの供給源化合物としては、シリカ、粒状シリカ、コロイダルシリカ、ヒュームドシリカ等が挙げられる。
Biの供給源化合物としては、塩化ビスマス、硝酸ビスマス、酸化ビスマス、次炭酸ビスマス等が挙げられる。また、X成分(Mg,Ca,Zn,Ce,Smの1種又は2種以上)やY成分(Na,K,Rb,Cs,Tlの1種又は2種以上)を固溶させた、BiとX成分やY成分との複合炭酸塩化合物として供給することもできる。
Biの供給源化合物としては、塩化ビスマス、硝酸ビスマス、酸化ビスマス、次炭酸ビスマス等が挙げられる。また、X成分(Mg,Ca,Zn,Ce,Smの1種又は2種以上)やY成分(Na,K,Rb,Cs,Tlの1種又は2種以上)を固溶させた、BiとX成分やY成分との複合炭酸塩化合物として供給することもできる。
例えば、Y成分としてNaを用いた場合、BiとNaとの複合炭酸塩化合物は、炭酸ナトリウム又は重炭酸ナトリウムの水溶液等に、硝酸ビスマス等の水溶性ビスマス化合物の水溶液を滴下混合し、得られた沈殿を水洗、乾燥することによって製造することができる
。
また、BiとX成分との複合炭酸塩化合物は、炭酸アンモニウム又は重炭酸アンモニウムの水溶液等に、硝酸ビスマス及びX成分の硝酸塩等の水溶性化合物からなる水溶液を滴下混合し、得られた沈殿を水洗、乾燥することによって製造することができる。
。
また、BiとX成分との複合炭酸塩化合物は、炭酸アンモニウム又は重炭酸アンモニウムの水溶液等に、硝酸ビスマス及びX成分の硝酸塩等の水溶性化合物からなる水溶液を滴下混合し、得られた沈殿を水洗、乾燥することによって製造することができる。
前記炭酸アンモニウム又は重炭酸アンモニウムの代わりに、炭酸ナトリウム又は重炭酸ナトリウムを用いると、Bi、Na及びX成分との複合炭酸塩化合物を製造することができる。
その他の成分元素の供給源化合物としては、下記のものが挙げられる。
Kの供給源化合物としては、硝酸カリウム、硫酸カリウム、塩化カリウム、炭酸カリウム、酢酸カリウム等を挙げることができる。
その他の成分元素の供給源化合物としては、下記のものが挙げられる。
Kの供給源化合物としては、硝酸カリウム、硫酸カリウム、塩化カリウム、炭酸カリウム、酢酸カリウム等を挙げることができる。
Rbの供給源化合物としては、硝酸ルビジウム、硫酸ルビジウム、塩化ルビジウム、炭酸ルビジウム、酢酸ルビジウム等を挙げることができる。
Csの供給源化合物としては、硝酸セシウム、硫酸セシウム、塩化セシウム、炭酸セシウム、酢酸セシウム等を挙げることができる。
Tlの供給源化合物としては、硝酸第一タリウム、塩化第一タリウム、炭酸タリウム、酢酸第一タリウム等を挙げることができる。
Csの供給源化合物としては、硝酸セシウム、硫酸セシウム、塩化セシウム、炭酸セシウム、酢酸セシウム等を挙げることができる。
Tlの供給源化合物としては、硝酸第一タリウム、塩化第一タリウム、炭酸タリウム、酢酸第一タリウム等を挙げることができる。
Bの供給源化合物としては、ホウ砂、ホウ酸アンモニウム、ホウ酸等を挙げることができる。
Pの供給源化合物としては、リンモリブデン酸アンモニウム、リン酸アンモニウム、リン酸、五酸化リン等を挙げることができる。
Asの供給源化合物としては、ジアルセノ十八モリブデン酸アンモニウム、ジアルセノ十八タングステン酸アンモニウム等を挙げることができる。
Pの供給源化合物としては、リンモリブデン酸アンモニウム、リン酸アンモニウム、リン酸、五酸化リン等を挙げることができる。
Asの供給源化合物としては、ジアルセノ十八モリブデン酸アンモニウム、ジアルセノ十八タングステン酸アンモニウム等を挙げることができる。
Wの供給源化合物としては、パラタングステン酸アンモニウム、三酸化タングステン、タングステン酸、リンタングステン酸等を挙げることができる。
Mgの供給源化合物としては、硝酸マグネシウム、硫酸マグネシウム、塩化マグネシウム、炭酸マグネシウム、酢酸マグネシウム等が挙げられる。
Caの供給源化合物としては、硝酸カルシウム、硫酸カルシウム、塩化カルシウム、炭酸カルシウム、酢酸カルシウム等が挙げられる。
Mgの供給源化合物としては、硝酸マグネシウム、硫酸マグネシウム、塩化マグネシウム、炭酸マグネシウム、酢酸マグネシウム等が挙げられる。
Caの供給源化合物としては、硝酸カルシウム、硫酸カルシウム、塩化カルシウム、炭酸カルシウム、酢酸カルシウム等が挙げられる。
Znの供給源化合物としては、硝酸亜鉛、硫酸亜鉛、塩化亜鉛、炭酸亜鉛、酢酸亜鉛等が挙げられる。
Ceの供給源化合物としては、硝酸セリウム、硫酸セリウム、塩化セリウム、炭酸セリウム、酢酸セリウム等が挙げられる。
Smの供給源化合物としては、硝酸サマリウム、硫酸サマリウム、塩化サマリウム、炭酸サマリウム、酢酸サマリウム等が挙げられる。
Ceの供給源化合物としては、硝酸セリウム、硫酸セリウム、塩化セリウム、炭酸セリウム、酢酸セリウム等が挙げられる。
Smの供給源化合物としては、硝酸サマリウム、硫酸サマリウム、塩化サマリウム、炭酸サマリウム、酢酸サマリウム等が挙げられる。
前工程において用いる原料化合物の水溶液又は水分散液は、触媒成分として少なくともモリブデン(全原子比aの内のa1相当)、鉄、ニッケル又はコバルトの少なくとも一方、及びシリカを含む水溶液、水スラリー又はケーキである。
この原料化合物の水溶液又は水分散液の調製は、供給源化合物の水性系での一体化により行われる。ここで各成分元素の供給源化合物の水性系での一体化とは、各成分元素の供給源化合物の水溶液あるいは水分散液を一括に、あるいは段階的に混合及び/又は熟成処理を行うことをいう。即ち、(イ)前記の各供給源化合物を一括して混合する方法、(ロ)前記の各供給源化合物を一括して混合し、そして熟成処理する方法、(ハ)前記の各供給源化合物を段階的に混合する方法、(ニ)前記の各供給源化合物を段階的に混合・熟成処理を繰り返す方法、及び(イ)〜(ニ)を組み合わせる方法のいずれもが、各成分元素
の供給源化合物の水性系での一体化という概念に含まれる。ここで、熟成とは、工業原料もしくは半製品を、一定時間、一定温度等の特定条件のもとに処理して、必要とする物理性、化学性の取得、上昇あるいは所定反応の進行等を図る操作をいい、一定時間とは、通常10分〜24時間の範囲であり、一定温度とは通常室温〜水溶液又は水分散液の沸点範囲をいう。
この原料化合物の水溶液又は水分散液の調製は、供給源化合物の水性系での一体化により行われる。ここで各成分元素の供給源化合物の水性系での一体化とは、各成分元素の供給源化合物の水溶液あるいは水分散液を一括に、あるいは段階的に混合及び/又は熟成処理を行うことをいう。即ち、(イ)前記の各供給源化合物を一括して混合する方法、(ロ)前記の各供給源化合物を一括して混合し、そして熟成処理する方法、(ハ)前記の各供給源化合物を段階的に混合する方法、(ニ)前記の各供給源化合物を段階的に混合・熟成処理を繰り返す方法、及び(イ)〜(ニ)を組み合わせる方法のいずれもが、各成分元素
の供給源化合物の水性系での一体化という概念に含まれる。ここで、熟成とは、工業原料もしくは半製品を、一定時間、一定温度等の特定条件のもとに処理して、必要とする物理性、化学性の取得、上昇あるいは所定反応の進行等を図る操作をいい、一定時間とは、通常10分〜24時間の範囲であり、一定温度とは通常室温〜水溶液又は水分散液の沸点範囲をいう。
前記の一体化の具体的な方法としては、例えば、触媒成分から選ばれた酸性塩を混合して得られた溶液と、触媒成分から選ばれた塩基性塩を混合して得られた溶液とを混合する方法等が挙げられ、具体例としてモリブデン化合物の水溶液に、鉄化合物とニッケル化合物及び/又はコバルト化合物との混合物を加温下添加し、シリカを混合する方法等が挙げられる。
このようにして得られたシリカを含む原料化合物の水溶液又は水分散液を60〜90℃に加温し、熟成する。
この熟成とは、前記触媒前駆体用スラリーを所定温度で所定時間、撹拌することをいう。この熟成により、スラリーの粘度が上昇し、スラリー中の固体成分の沈降を緩和し、とりわけ次の乾燥工程での成分の不均一化を抑制するのに有効となり、得られる最終製品である複合酸化物触媒の原料転化率や選択率等の触媒活性がより良好となる。
この熟成とは、前記触媒前駆体用スラリーを所定温度で所定時間、撹拌することをいう。この熟成により、スラリーの粘度が上昇し、スラリー中の固体成分の沈降を緩和し、とりわけ次の乾燥工程での成分の不均一化を抑制するのに有効となり、得られる最終製品である複合酸化物触媒の原料転化率や選択率等の触媒活性がより良好となる。
前記熟成における温度は、60〜90℃が好ましく、70〜85℃がより好ましい。熟成温度が60℃未満では、熟成の効果が十分ではなく、良好な活性を得られない場合がある。一方、90℃を超えると、熟成時間中の水の蒸発が多く、工業的な実施には不利である。更に100℃を超えると、溶解槽に耐圧容器が必要となり、また、ハンドリングも複雑になり、経済性及び操作性の面で著しく不利となる。
前記熟成にかける時間は、2〜12時間がよく、3〜8時間が好ましい。熟成時間が2時間未満では、触媒の活性及び選択性が十分に発現しない場合がある。一方、12時間を超えても熟成効果が増大することはなく、工業的な実施には不利である。
前記撹拌方法としては、任意の方法を採用することができ、例えば、撹拌翼を有する撹拌機による方法や、ポンプによる外部循環による方法等が挙げられる。
前記撹拌方法としては、任意の方法を採用することができ、例えば、撹拌翼を有する撹拌機による方法や、ポンプによる外部循環による方法等が挙げられる。
熟成されたスラリーは、そのままで、又は乾燥した後、加熱処理を行う。乾燥する場合の乾燥方法及び得られる乾燥物の状態については特に限定はなく、例えば、通常のスプレードライヤー、スラリードライヤー、ドラムドライヤー等を用いて粉体状の乾燥物を得てもよいし、また、通常の箱型乾燥器、トンネル型焼成炉を用いてブロック状又はフレーク状の乾燥物を得てもよい。
前記の原料塩水溶液又はこれを乾燥して得た顆粒あるいはケーキ状のものは、空気中で200〜400℃、好ましくは250〜350℃の温度域で短時間の熱処理を行う。その際の炉の形式及びその方法については特に限定はなく、例えば、通常の箱型加熱炉、トンネル型加熱炉等を用いて乾燥物を固定した状態で加熱してもよいし、また、ロータリーキルン等を用いて乾燥物を流動させながら加熱してもよい。
加熱処理後に得られた触媒前駆体の灼熱減量は、0.5〜5重量%であることが好ましく、1〜3重量%であるのがより好ましい。灼熱減量をこの範囲とすることで、原料転化率や選択率が高い触媒を得ることができる。なお、灼熱減量は、次式により与えられる値である。
灼熱減量(%)=[(W0−W1)/W0]×100
・W0:触媒前駆体を150℃で3時間乾燥して付着水分を除いたものの重量(g)
・W1:付着水分を除いた前記触媒前駆体を更に500℃で2時間熱処理した後の重
量(g)
前記の後工程では、前記の前工程において得られる触媒前駆体とモリブデン化合物(全原子比aからa1相当を差し引いた残りのa2相当)とビスマス化合物の一体化を、水性溶媒下で行う。この際、アンモニア水を添加するのが好ましい。X、Y、Z成分の添加もこの後工程で行うのが好ましい。また、この発明のビスマス供給源化合物は、水に難溶性ないし不溶性のビスマスである。この化合物は、粉末の形態で使用することが好ましい。触媒製造原料としてのこれら化合物は粉末より大きな粒子のものであってもよいが、その熱拡散を行わせるべき加熱工程を考えれば小さい粒子である方が好ましい。従って、原料としてのこれらの化合物がこのように粒子の小さいものでなかった場合は、加熱工程前に粉砕を行うべきである。
灼熱減量(%)=[(W0−W1)/W0]×100
・W0:触媒前駆体を150℃で3時間乾燥して付着水分を除いたものの重量(g)
・W1:付着水分を除いた前記触媒前駆体を更に500℃で2時間熱処理した後の重
量(g)
前記の後工程では、前記の前工程において得られる触媒前駆体とモリブデン化合物(全原子比aからa1相当を差し引いた残りのa2相当)とビスマス化合物の一体化を、水性溶媒下で行う。この際、アンモニア水を添加するのが好ましい。X、Y、Z成分の添加もこの後工程で行うのが好ましい。また、この発明のビスマス供給源化合物は、水に難溶性ないし不溶性のビスマスである。この化合物は、粉末の形態で使用することが好ましい。触媒製造原料としてのこれら化合物は粉末より大きな粒子のものであってもよいが、その熱拡散を行わせるべき加熱工程を考えれば小さい粒子である方が好ましい。従って、原料としてのこれらの化合物がこのように粒子の小さいものでなかった場合は、加熱工程前に粉砕を行うべきである。
次に、得られたスラリーを充分に撹拌した後、乾燥する。このようにして得られた乾燥品を、押出し成型、打錠成型、あるいは担持成型等の方法により任意の形状に賦形する。
次に、このものを、好ましくは450〜650℃の温度条件にて1〜16時間程度の最終熱処理に付す。以上のようにして、高活性で、かつ目的とする酸化生成物を高い収率で与える複合酸化物触媒が得られる。
本発明の分子状酸素含有ガスとは、通常、分子状酸素が10体積%以上、好ましくは、15体積%以上、更に好ましくは20体積%以上含まれるガスのことであり、具体的に好ましくは空気である。なお、分子状酸素含有ガスを工業的に用意するのに必要なコストが増加するという観点から、分子状酸素の含有量の上限としては、通常50体積%以下であり、好ましくは、30体積%以下、更に好ましくは25体積%以下である。また、本発明の効果を阻害しない範囲で、分子状酸素含有ガスには、任意の不純物を含んでいても良い。含んでいても良い不純物として、具体的には、窒素、アルゴン、ネオン、ヘリウム、CO、CO2、水等が挙げられる。この不純物の量は、窒素の場合、通常90体積%以下、好ましくは85体積%以下、より好ましくは80体積%以下である。窒素以外の成分の場合、通常10体積%以下、好ましくは1体積%以下である。この量が多すぎると、反応に必要な酸素を供給するのが難しくなる傾向にある。
次に、このものを、好ましくは450〜650℃の温度条件にて1〜16時間程度の最終熱処理に付す。以上のようにして、高活性で、かつ目的とする酸化生成物を高い収率で与える複合酸化物触媒が得られる。
本発明の分子状酸素含有ガスとは、通常、分子状酸素が10体積%以上、好ましくは、15体積%以上、更に好ましくは20体積%以上含まれるガスのことであり、具体的に好ましくは空気である。なお、分子状酸素含有ガスを工業的に用意するのに必要なコストが増加するという観点から、分子状酸素の含有量の上限としては、通常50体積%以下であり、好ましくは、30体積%以下、更に好ましくは25体積%以下である。また、本発明の効果を阻害しない範囲で、分子状酸素含有ガスには、任意の不純物を含んでいても良い。含んでいても良い不純物として、具体的には、窒素、アルゴン、ネオン、ヘリウム、CO、CO2、水等が挙げられる。この不純物の量は、窒素の場合、通常90体積%以下、好ましくは85体積%以下、より好ましくは80体積%以下である。窒素以外の成分の場合、通常10体積%以下、好ましくは1体積%以下である。この量が多すぎると、反応に必要な酸素を供給するのが難しくなる傾向にある。
本発明では、反応器に原料ガスを供給するにあたり、原料ガスと分子状酸素含有ガスとを混合し、その混合されたガス(以下、「混合ガス」呼ぶことがある)を反応器に供給してもよい。なお、本発明の混合ガス中の、原料ガスの割合としては、通常、4.2vol%以上であり、好ましくは7.6vol%以上、更に好ましくは8.0vol%以上である。この値が大きくなるほど、反応器のサイズを小さくでき、建設費および運転に要するコストが低減する傾向にある。また、一方、通常は、20.0vol%以下であり、好ましくは、17.0vol%以下、更に好ましくは、15.0vol%以下である。この値が小さくなるほど、原料ガス中の触媒上へのコーキングの起因物質も低減するため、触媒のコーキングが発生しにくく好ましい。
また、混合ガスと共に、窒素ガス、及び水(水蒸気)を反応器に供給してもよい。窒素ガスは、混合ガスが爆鳴気を形成しないように可燃性ガスと酸素の濃度を調整するという理由から、水(水蒸気)は窒素ガスと同様に可燃性ガスと酸素の濃度を調整するという理由と触媒のコーキングを抑制するという理由から、混合ガスに、水(水蒸気)と窒素ガスとを更に混合し反応器に供給するのが好ましい。
反応器に水蒸気を供給する場合、前記原料ガスの供給量に対して0.5〜5.0の比率で導入することが好ましい。この比率が大きくなるほど、廃水量が増加する傾向にあり、小さくなるほど、目的生成物であるブタジエンの収率が低下する傾向にある。そのため、水蒸気を前記原料ガスの供給量に対して、好ましくは、0.8〜4.5であり、更に好ましくは、1.0〜4.0である。
反応器に窒素ガスを供給する場合、前記原料ガスの供給量に対して0.5〜8.0の比率(体積比)で導入することが好ましい。この比率が大きくなるほど、後工程の生成ガスを圧縮する工程の負荷が上がる傾向にあり、小さくなるほど、反応器に供給する水蒸気の使用量が増加する傾向にある。そのため、窒素ガスを前記原料ガスの供給量に対して、好ましくは、1.0〜6.0、更に好ましくは、2.0〜5.0の比率(体積比)で供給する。
原料ガスと分子状酸素含有ガスの混合ガス、及び必要により供給される窒素ガス、及び水(水蒸気)を供給する方法は特に限定されず、別々の配管で供給してもよいが、爆鳴気の形成を確実に回避するために、混合ガスを得る前に、予め窒素ガスを原料ガス、もしくは分子状酸素含有ガスに供給しておき、その状態で、原料ガスと分子状酸素含有ガスとを混合して混合ガスを得、該混合ガスを供給することが好ましい。
以下に、混合ガスの代表的な組成を示す。
以下に、混合ガスの代表的な組成を示す。
[混合ガス組成]
・n−ブテン:C4留分合計に対して50〜100vol%
・C4留分合計:5〜15vol%
・O2:C4留分合計に対して40〜120vol/vol%
・N2:C4留分合計に対して500〜1000vol/vol%
・H2O:C4留分合計に対して90〜900vol/vol%
本発明の酸化脱水素反応に用いられる反応器は特に限定されないが、具体的には、管型反応器、槽型反応器、又は流動床反応器が挙げられ、好ましくは、固定床反応器、より好ましくは固定床の多管式反応器やプレート式反応器であり、最も好ましくは固定床の多管式反応器である。
・n−ブテン:C4留分合計に対して50〜100vol%
・C4留分合計:5〜15vol%
・O2:C4留分合計に対して40〜120vol/vol%
・N2:C4留分合計に対して500〜1000vol/vol%
・H2O:C4留分合計に対して90〜900vol/vol%
本発明の酸化脱水素反応に用いられる反応器は特に限定されないが、具体的には、管型反応器、槽型反応器、又は流動床反応器が挙げられ、好ましくは、固定床反応器、より好ましくは固定床の多管式反応器やプレート式反応器であり、最も好ましくは固定床の多管式反応器である。
また、反応器が固定床反応器の場合、反応器には、上述の酸化脱水素反応触媒を有する触媒層が存在する。その触媒層は、触媒のみからなる層から構成されていても、触媒と該触媒と反応性の無い固形物とを含む層のみから構成されていても、触媒と該触媒と反応性の無い固形物とを含む層と触媒のみからなる層の複数の層から構成されていてもよいが、触媒層が、触媒と該触媒と反応性の無い固形物とを含む層を含むことで、反応時の発熱による触媒層の急激な温度上昇を抑制できるので、触媒層に反応性の無い固形物を有することが好ましい。
本発明に用いられる反応性の無い固形物は、共役ジエン生成反応条件下で安定であり、炭素原子数4以上のモノオレフィン等の原料物質、及び共役ジエン等の生成物と反応性がない材質のものであれば特に限定されず、一般的に、イナートボールとも呼ばれることがある。具体的には、アルミナ、ジルコニア等のセラミック材等が挙げられる。また、その形状は、特に限定されず、球状、円柱状、リング状、不定形のいずれでもよい。また、その大きさは、本発明で使用する触媒と同等の大きさであればよい。その粒径は、通常、2〜10mm程度である。また、本発明における反応器内温度は、特に限定されないが、通常、250〜450℃、好ましくは、280〜400℃、更に好ましくは、320〜395℃である。該温度が450℃を超えると、反応を継続するに従って、急激に触媒活性が低下する恐れがある傾向にあり、一方、該温度が250℃を下回ると、目的生成物である共役ジエンの収率が低下する傾向にある。反応器内温度は、反応条件によって決定されるが、触媒層の希釈率や混合ガスの流量等で制御することができる。なお、ここでいう反応器内温度とは、反応器出口での生成ガスの温度、又は触媒層を有する反応器の場合は、その触媒層の温度のことである。
本発明の反応器内の圧力は、特に限定されないが、通常、0MPaG以上、好ましくは、0.001MPa以上、更に好ましくは、0.01MPaG以上である。この値が大き
くなるほど、反応器に反応ガスを多量に供給できるというメリットがある。一方、通常は、0.5MPaG以下であり、好ましくは0.3MPaG以下、更に好ましくは、0.1MPaGである。この値が小さくなるほど、爆発範囲が狭くなる傾向にある。
くなるほど、反応器に反応ガスを多量に供給できるというメリットがある。一方、通常は、0.5MPaG以下であり、好ましくは0.3MPaG以下、更に好ましくは、0.1MPaGである。この値が小さくなるほど、爆発範囲が狭くなる傾向にある。
本発明における反応器の滞留時間は、特に限定されないが、好ましくは、0.72秒以上、更に好ましくは0.80秒以上である。この値が大きくなるほど、原料ガス中のモノオレフィンの転化率が高くなるというメリットがある。一方、好ましくは7.20秒以下、更に好ましくは、2.77秒以下である。この値が小さくなるほど、反応器が小さくなる傾向にある。
反応器の入口と出口との流量差としては、原料ガスの反応器入口での流量、及び生成ガスの反応器出口での流量に依存するが、通常、入口流量に対する出口の流量の比率が100〜110vol%、好ましくは、102〜107vol%、更に好ましくは103〜105vol%である。n−ブテン(1−ブテン及び2−ブテン)からブタジエンを製造する場合、出口流量が増えるのはブテンが酸化脱水素されてブタジエンと水が生成する反応や副反応でCOやCO2が生成する反応において化学量論的に分子数が増えるためである。出口流量の増加が少ないと反応が進行していないので好ましくなく、出口流量が増えすぎると副反応でCOやCO2が増加しているため好ましくない。
かくして、原料ガス中のモノオレフィンの酸化脱水素反応により、該モノオレフィンに対応する共役ジエンが生成することとなり、該共役ジエンを含有する生成ガスを取得する。生成ガス中に含まれる原料ガス中のモノオレフィンに対応する共役ジエンの濃度は、原料ガス中に含まれるモノオレフィンの濃度に依存するが、通常1〜15vol%、好ましくは、5〜13vol%、更に好ましくは9〜11vol%である。共役ジエンの濃度が大きいほど、回収コストが低いというメリットがあり、小さいほど次工程で圧縮したときに重合などの副反応が起き難いというメリットがある。また、生成ガス中には未反応のモノオレフィンも含まれていてもよく、その濃度は、通常0〜7vol%、好ましくは0〜4vol%、更に好ましくは0〜2vol%である。なお、本発明では、生成ガス中に含まれる高沸点副生物は、使用する原料ガス中に含まれる不純物の種類によって異なるが、常圧下での沸点が200〜500℃のものを言う。n−ブテン(1−ブテン及び2−ブテン)からブタジエンを製造する場合、具体的に、フタル酸、アントラキノン、フルオレノン等である。これらの量は、特に限定されないが、通常、反応ガス中に0.05〜0.10vol%である。
本発明では、反応器から得られる共役ジエンを含む生成ガスを冷却する工程(以下、冷却工程と略記することがある)を有することが好ましい。冷却工程については、反応器出口から得られる生成ガスを冷却できる工程であれば、特に限定されないが、好適には、冷却溶媒と生成ガスとを冷却塔の中で直接接触させて冷却させる方法が用いられる。冷却溶媒としては、特に限定されないが、好ましくは水やアルカリ水溶液であり、最も好ましくは水である。また、冷却塔で冷却する前後に、熱交換器等の冷却器で冷却してもよい。また、生成ガスの冷却温度は、反応器出口から得られる生成ガス温度や冷却溶媒の種類などによって異なるが、通常、5〜100℃、好ましくは、10〜50℃、更に好ましくは、15〜40℃に冷却される。冷却される温度が高くなるほど、建設費と運転に要するコストを下げられる傾向にあり、低くなるほど、生成ガスを圧縮する工程の負荷を下げられる傾向にある。冷却塔を使って冷却する場合、冷却塔内の圧力は、特に限定されないが、通常は、0.03MPaGである。生成ガス中に高沸点副生物が多く含まれていると、高沸点副生物同士の重合や、工程内での高沸点副生物に起因する固形析出物の堆積が起きやすくなる。また、冷却塔で使用される冷却溶媒は、循環使用されることが多いため、共役ジエンの製造を連続的に継続すると、固形析出物での閉塞が起きることがある。そのため、可能な限り、生成ガス中の高沸点副生物を冷却工程に持ち込ませないようにすることが好
ましい。
ましい。
また、本発明では、反応器から排出される生成ガスに含まれる水分を除去する工程(以下、脱水工程と略記することがある)を有していても良い。脱水工程を設けることにより、後段のプロセスにおける各工程における水分による機器腐食や、後段のプロセスで溶媒を使用する際に、溶媒への不純物の蓄積を防止することができるため、好ましい。
本発明の脱水工程については、生成ガスに含まれる水分を除去できる工程であれば、特に限定されない。脱水工程は反応器の後段の工程であれば、どこで行ってもよいが、上述の冷却工程の後に脱水工程を行うことが好ましい。反応器から排出される生成ガス中に含まれる水分量は、原料ガスの種類や分子状酸素含有ガスの量、更には、原料ガスと共に混合される水蒸気等により異なるが、通常は、4〜35vol%、好ましくは10〜30vol%の水分が含有されている。また、冷却工程を有するプロセスで、冷却溶媒として水を使用する冷却工程を経過した後の生成ガス中の水分濃度は、通常、100volppm〜2.0vol%である。また、露点として、0〜100℃、好ましくは、10〜80℃である。
本発明の脱水工程については、生成ガスに含まれる水分を除去できる工程であれば、特に限定されない。脱水工程は反応器の後段の工程であれば、どこで行ってもよいが、上述の冷却工程の後に脱水工程を行うことが好ましい。反応器から排出される生成ガス中に含まれる水分量は、原料ガスの種類や分子状酸素含有ガスの量、更には、原料ガスと共に混合される水蒸気等により異なるが、通常は、4〜35vol%、好ましくは10〜30vol%の水分が含有されている。また、冷却工程を有するプロセスで、冷却溶媒として水を使用する冷却工程を経過した後の生成ガス中の水分濃度は、通常、100volppm〜2.0vol%である。また、露点として、0〜100℃、好ましくは、10〜80℃である。
生成ガスから水分を脱水する手段としては、特に限定されないが、酸化カルシウム、塩化カルシウム、モレキュラーシーブ等の乾燥剤(水分吸着剤)を利用することができる。この中でも、再生の容易さ、取り扱いの容易さという観点から、モレキュラーシーブ等の乾燥剤(水分吸着剤)が好ましく利用される。
脱水工程にモレキュラーシーブ等の乾燥剤を利用する場合は、水以外にも生成ガス中に含まれる高沸点副生物が吸着除去される。ここで除去される高沸点副生物は、アントラキノン、フルオレノン、フタル酸などのことである。
脱水工程にモレキュラーシーブ等の乾燥剤を利用する場合は、水以外にも生成ガス中に含まれる高沸点副生物が吸着除去される。ここで除去される高沸点副生物は、アントラキノン、フルオレノン、フタル酸などのことである。
脱水工程を経て得られる生成ガス中の水分含有量は、通常は10〜10000volppm、好ましくは、20〜1000volppmであり、露点としては、−60〜80℃、好ましくは、−50〜20℃である。この生成ガス中の水分含有量が多くなるほど、溶媒吸収塔や溶媒分離塔のリボイラーの汚れが増加する傾向にあり、一方で、少なくなると、脱水工程で使用する用役コストが増加する傾向にある。
本発明では、生成ガスを有機溶媒と接触させ、オレフィンや共役ジエンなどの炭化水素を有機溶媒に吸収し、共役ジエンを含む溶液を得る工程(以下、溶媒吸収工程と略記することがある)を必要とする。溶媒吸収工程については、反応器の後段の工程であれば、どこに設けてもよいが、上述の冷却工程や脱水工程の後に設けることが好ましい。
溶媒吸収工程で生成ガスを有機溶媒に吸収させる具体的な方法としては、吸収塔を用いる方法がある。吸収塔の種類としては、充填塔、濡れ壁塔、噴霧塔、サイクロンスクラバー、気泡塔、気泡攪拌槽、段塔(泡鐘塔、多孔板塔)、泡沫分離塔などが使用可能である。これらの中で、好ましくは、噴霧塔、泡鐘塔、多孔板塔である。
溶媒吸収工程で生成ガスを有機溶媒に吸収させる具体的な方法としては、吸収塔を用いる方法がある。吸収塔の種類としては、充填塔、濡れ壁塔、噴霧塔、サイクロンスクラバー、気泡塔、気泡攪拌槽、段塔(泡鐘塔、多孔板塔)、泡沫分離塔などが使用可能である。これらの中で、好ましくは、噴霧塔、泡鐘塔、多孔板塔である。
吸収塔を用いる場合、通常は、有機溶媒と生成ガスとを向流接触させることで、生成ガス中の共役ジエンと未反応の炭素原子数4以上のモノオレフィン並びに炭素原子数3以下の炭化水素化合物などが有機溶媒に吸収される。炭素原子数3以下の炭化水素化合物としては、例えば、メタン、アセチレン、エチレン、エタン、メチルアセチレン、プロピレン、プロパン、又はアレンなどが挙げられる。
溶媒吸収工程において、吸収塔を用いる場合、吸収塔内の圧力は、特に限定されないが、通常、0.1〜2.0MPaG,好ましくは、0.2〜1.5MPaGである。この圧力が大きいほど、吸収効率が良くなるというメリットがあり、小さいほど吸収塔へのガス導入時の昇圧に要するエネルギーを削減でき、さらに液中の溶存酸素量を低減できるというメリットがある。
また、吸収塔内の温度は、特に限定されないが、通常0〜50℃、好ましくは、10〜40℃である。この温度が大きいほど、酸素や窒素などが溶媒に吸収されにくいというメリットがあり、小さいほど共役ジエンなどの炭化水素の吸収効率が良くなるというメリットがある。
本発明の溶媒吸収工程で使用する有機溶媒としては、炭化水素溶媒が好ましく、より好ましくは、炭素原子数6以上の炭化水素溶媒であり、更に好ましくは、炭素原子数6〜10の脂肪族飽和炭化水素や炭素原子数6〜8の芳香族炭化水素からなる溶媒、又はアミド化合物からなる溶媒である。具体的には、例えばジメチルホルムアミド(DMF)、トルエン、キシレン、N−メチル−2−ピロリドン(NMP)等を用いることができる。これらの中でも、無機ガスを溶解しにくいという理由から、トルエンが特に好ましく使用される。
本発明の溶媒吸収工程で使用する有機溶媒としては、炭化水素溶媒が好ましく、より好ましくは、炭素原子数6以上の炭化水素溶媒であり、更に好ましくは、炭素原子数6〜10の脂肪族飽和炭化水素や炭素原子数6〜8の芳香族炭化水素からなる溶媒、又はアミド化合物からなる溶媒である。具体的には、例えばジメチルホルムアミド(DMF)、トルエン、キシレン、N−メチル−2−ピロリドン(NMP)等を用いることができる。これらの中でも、無機ガスを溶解しにくいという理由から、トルエンが特に好ましく使用される。
本発明では、溶媒吸収工程で使用する有機溶媒中にシクロオレフィン化合物が存在するが、予めシクロオレフィン化合物を用意しておき、溶媒吸収工程で有機溶媒を使用する直前に添加して存在させることもできるが、本発明でのシクロオレフィン化合物は、主として、共役ジエンと副生物である不飽和アルデヒドが接触・加熱される際に生じるものが多く、これらが溶媒吸収工程で発生することによって有機溶媒中に混入することで、シクロオレフィン化合物が有機溶媒に含有される。
有機溶媒中にシクロオレフィン化合物が含有することで、生成ガスと有機溶媒を接触させて有機溶媒に共役ジエンを吸収する際に、共役ジエンの吸収効率が向上する理由は明らかでは無いが、次のような理由が推定される。すなわち、吸収溶媒に一部シクロオレフィンを混在させることで該吸収溶媒の極性を調整でき、共役ジエンの溶解度を最適化できる可能性が高いからである。
有機溶媒中のシクロオレフィン化合物の濃度は、1.5重量%以上20.0重量%以下であることが好ましい。また、より好ましくは、3.0重量%以上17.0重量%以下である。特に好ましくは、4.0重量%以上15.0重量%以下である。この値が大きくなるほど、熱交換器への汚れの付着や配管内の閉塞を生じやすい傾向にあり、小さくなるほど、循環する溶媒が多量に必要になる傾向にある。
なお、有機溶媒中のシクロオレフィン化合物の濃度は、循環する有機溶媒量を低下させる、もしくは生成ガス中の不飽和アルデヒド濃度を増加させるなどをすることにより、シクロオレフィン化合物の濃度は高くなり、循環する有機溶媒量を増加させる、もしくは生成ガス中の不飽和アルデヒド濃度を低下させるなどをすることで、シクロオレフィン化合物の濃度は低くなる。このような操作を組み合わせることで、有機溶媒中のシクロオレフィン化合物の濃度を制御することができる。
本発明のシクロオレフィン化合物は、環式の脂肪族炭化水素でエチレン結合を有する化合物であればよいが、エチレン結合が環内にあるシクロオレフィン化合物が好ましい。また、環式の脂肪族炭化水素の構造としては、三員環、五員環、六員環などがあるが、六員環を有するシクロオレフィン化合物が好ましく、シクロヘキセンが更に好ましい。また、本発明のシクロオレフィン化合物は、本発明の効果を著しく阻害しない範囲で置換基を有していてもよく、例えば、アルキル基、アルコキシ基、ヒドロキシ基、アルデヒド基、カルボキシル基、カルボニル基、ビニル基、アミノ基、イミノ基、シアノ基、スルホ基、ニトロ基などが挙げられ、好ましくは、アルデヒド基、カルボニル基である。なお、この置換基の分子量としては、通常、200程度であり、好ましくは、50程度である。
また、六員環を有するシクロオレフィン化合物としては、具体的に、4−ビニルシクロ
ヘキセン、1−ホルミル−3−シクロヘキセン、1−ホルミル−1−メチル−3−シクロヘキセン、3−シクロヘキセン−1−イソメチルケトンが挙げられ、特に好ましくは、1−ホルミル−3−シクロヘキセンである。シクロオレフィン化合物が1−ホルミル−3−シクロヘキセンである場合、有機溶媒中の濃度は、3.5wt%以上10.0wt%以下が好ましく、更に好ましくは、4.0wt%以上8.0wt%以下である。
ヘキセン、1−ホルミル−3−シクロヘキセン、1−ホルミル−1−メチル−3−シクロヘキセン、3−シクロヘキセン−1−イソメチルケトンが挙げられ、特に好ましくは、1−ホルミル−3−シクロヘキセンである。シクロオレフィン化合物が1−ホルミル−3−シクロヘキセンである場合、有機溶媒中の濃度は、3.5wt%以上10.0wt%以下が好ましく、更に好ましくは、4.0wt%以上8.0wt%以下である。
溶媒吸収工程での有機溶媒の使用量は、特に制限はないが、反応器から供給される生成ガス中の共役ジエンの流量に対して、通常、1〜100重量倍、好ましくは、2〜50重量倍である。有機溶媒の使用量が多くなるほど、不経済となる傾向にあり、少なくなるほど、共役ジエンの吸収効率が低下する傾向にある。また溶媒吸収工程での有機溶媒中の水分濃度は通常0.01〜10.00wt%、好ましくは、0.05〜5.00wt%である。水分濃度が高いと、機器の腐食を招く可能性があり、少なくなるほど有機溶媒の精製もしくは生成ガス中からの水分の除去にエネルギーを要する。
溶媒吸収工程で得られる共役ジエンを含む溶液中には、主として目的生成物である共役ジエンが含まれており、その溶液中の共役ジエンの濃度としては、通常は、1〜20重量%であり、好ましくは3〜10重量%である。この溶液中の共役ジエンの濃度が高いほど、共役ジエンの重合あるいは揮発による消失分が多くなる傾向にあり、低いほど、同じ生産量での有機溶媒の循環必要量が増加する為に、運転に要するエネルギーコストが大きくなる傾向にある。
また、得られる共役ジエンを含む溶液に、若干量の窒素や酸素も吸収されているため、溶液に溶存する窒素や酸素をガス化して除去する脱気する工程を有していても良い。
得られた共役ジエンを含む溶液を分離器に供給し、蒸留により有機溶媒と共役ジエンに分離する工程(以下、分離工程と略記することがある)を有することが好ましい。この工程により比較的純度の高い共役ジエンを得ることができる。なお、分離工程の分離器内に溶液として存在し、共役ジエンを分離するための処理がなされた状態のものも、本発明での共役ジエンを含む溶液に含まれる。
得られた共役ジエンを含む溶液を分離器に供給し、蒸留により有機溶媒と共役ジエンに分離する工程(以下、分離工程と略記することがある)を有することが好ましい。この工程により比較的純度の高い共役ジエンを得ることができる。なお、分離工程の分離器内に溶液として存在し、共役ジエンを分離するための処理がなされた状態のものも、本発明での共役ジエンを含む溶液に含まれる。
分離器としては、通常、塔底部にリボイラー、塔頂部にコンデンサーを有する蒸留塔を使用して蒸留分離が行われるが、塔頂付近より共役ジエン留分が抜き出され、塔底付近から有機溶媒が抜き出される。分離された有機溶媒は回収されたのち、上述の溶媒吸収工程に循環し、生成ガスと接触させるための有機溶媒として再度使用することが好ましい。その際は、新たに供給される未使用の有機溶媒と、上述の分離工程から循環される有機溶媒を混合して、溶媒吸収工程での有機溶媒とすることが好ましい。有機溶媒は循環して再使用するうちに、上記シクロオレフィン化合物以外にも、他の不純物が有機溶媒中に蓄積する場合があるため、一部の有機溶媒を抜き出して蒸留やデカンテーション、沈降、吸着剤やイオン交換樹脂などとの接触処理などの公知の精製方法により有機溶媒中からシクロオレフィンと共にこれらの不純物を除去しながら循環することが望ましい。
分離工程で使用する蒸留塔の蒸留時の圧力は任意に設定することができるが、通常は、塔頂圧力を0.05〜2.0MPaGとすることが好ましい。より好ましくは塔頂圧力が0.1〜1.0MPaGであり、特に好ましくは0.15〜0.8MPaGの範囲である。この塔頂圧力が低すぎると、留出した共役ジエンを低温で凝縮するために多大なコストが必要となり、また高すぎると蒸留塔の塔底部の温度が高くなり、蒸気コストの増大となってしまう。
塔底温度は通常50〜200℃であり、好ましくは80〜180℃、より好ましくは100〜160℃である。塔底温度が低すぎると共役ジエンを塔頂から留出させるのが困難となる。また温度が高すぎると、溶媒も塔頂から留出してしまう。還流比は1〜10で差
し支えなく、好ましくは2〜4である。
蒸留塔としては充填塔、棚段塔のいずれもが使用できるが、多段蒸留が好ましい。共役ジエンと溶媒を分離するには、蒸留塔理論段を5段以上、特に10段〜20段とするのが好ましい。50段を越える蒸留塔は、蒸留塔建設の経済性、運転難易度、及び安全管理のためには好ましくない。また段数が小さすぎると分離が困難となる。
し支えなく、好ましくは2〜4である。
蒸留塔としては充填塔、棚段塔のいずれもが使用できるが、多段蒸留が好ましい。共役ジエンと溶媒を分離するには、蒸留塔理論段を5段以上、特に10段〜20段とするのが好ましい。50段を越える蒸留塔は、蒸留塔建設の経済性、運転難易度、及び安全管理のためには好ましくない。また段数が小さすぎると分離が困難となる。
前記共役ジエンの分離工程で比較的純度が高い共役ジエンが得られるが、これを蒸留精製等により、更に精製された高純度の共役ジエンとする精製工程を有していてもよい。ここで使用する蒸留塔の蒸留時の圧力は任意に設定することができるが、通常は、塔頂圧力を0.05〜0.4MPaGとすることが好ましい。より好ましくは塔頂圧力が0.1〜0.3MPaGであり、特に好ましくは0.15〜0.2MPaGの範囲である。この塔頂圧力が低すぎると、留出した共役ジエンを低温で凝縮するために多大なコストが必要となり、また高すぎると蒸留塔の塔底部の温度が高くなり、蒸気コストの増大となってしまう。 塔底温度は通常30℃〜100℃であり、好ましくは40℃〜80℃、より好ましくは50℃〜60℃である。塔底温度が低すぎると共役ジエンを塔頂から留出させるのが困難となる。また温度が高すぎると、塔頂で凝縮させる量が増えてコストが増大してしまう。また、還流比は1〜10で差し支えなく、好ましくは2〜4である。
蒸留塔としては充填塔、棚段塔のいずれもが使用できるが、多段蒸留が好ましい。共役ジエンとフランなどの不純物を分離するには、蒸留塔理論段を5段以上、特に10段〜20段とするのが好ましい。50段を越える蒸留塔は、蒸留塔建設の経済性、運転難易度、及び安全管理のためには好ましくない。また段数が小さすぎると分離が困難となる。このようにして得られる精製された共役ジエンは、純度が99.0〜99.9%の共役ジエンである。
[プロセスの実施形態]
以下に、図面を参照して、本発明の共役ジエンの製造方法に関するプロセスの実施形態について、ブタジエンを製造する例を挙げて説明する。
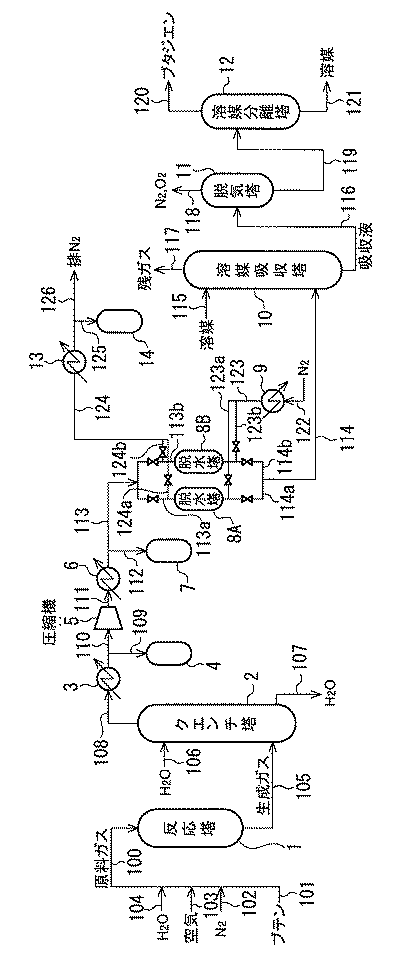
図1は本発明プロセスの実施の態様の一つである。
図1において、1は反応器、2はクエンチ塔、3,6,13は冷却器(熱交換器)、4,7,14はドレンポット、8A,8Bは脱水塔、9は加熱器(熱交換器)、10は溶媒吸収塔、11は脱気塔、12は溶媒分離塔を示し、符号100〜126は配管を示す。なお、反応器1から得られる生成ガスは、脱水工程で、圧縮ガス、脱水ガスとなる。しかし、これらのガスは、水以外の含有割合は同一であり、また、含まれる水のほとんどは液状なので、各ガスの気体部分の成分割合は、同一と考えてよい。このため、以下において、生成ガス、圧縮ガス、及び脱水ガスについて、単に「生成ガス」と称する場合がある。
以下に、図面を参照して、本発明の共役ジエンの製造方法に関するプロセスの実施形態について、ブタジエンを製造する例を挙げて説明する。
図1は本発明プロセスの実施の態様の一つである。
図1において、1は反応器、2はクエンチ塔、3,6,13は冷却器(熱交換器)、4,7,14はドレンポット、8A,8Bは脱水塔、9は加熱器(熱交換器)、10は溶媒吸収塔、11は脱気塔、12は溶媒分離塔を示し、符号100〜126は配管を示す。なお、反応器1から得られる生成ガスは、脱水工程で、圧縮ガス、脱水ガスとなる。しかし、これらのガスは、水以外の含有割合は同一であり、また、含まれる水のほとんどは液状なので、各ガスの気体部分の成分割合は、同一と考えてよい。このため、以下において、生成ガス、圧縮ガス、及び脱水ガスについて、単に「生成ガス」と称する場合がある。
原料となるn−ブテン或いは前述のBBSS等のn−ブテンを含む混合物を、気化器(図示せず)でガス化して、配管101より導入すると共に、配管102、103、104より、窒素ガス、空気(分子状酸素含有ガス)、及び水(水蒸気)をそれぞれ導入し、これらの混合ガスを予熱器(図示せず)で150〜400℃程度に加熱した後、配管100よ
り触媒が充填された多管式の反応器1(酸化脱水素反応器)に供給する。反応器1からの
反応生成ガスは、配管105よりクエンチ塔2に送給され、20〜99℃程度に冷却される。クエンチ塔2には、配管106より冷却水が導入され、生成ガスと向流接触する。そして、この向流接触で生成ガスを冷却した水は、配管107より排出される。なお、この冷却排水は、熱交換器(図示せず)で冷却されて再度クエンチ塔2において循環使用される。クエンチ塔2で冷却された生成ガスは、塔頂から留出され、次いで配管108より冷却器3を経て室温に冷却される。冷却により発生した凝縮水は配管109よりドレンポット4に分離される。水分離後のガスは更に配管110を経て圧縮機5で0.1〜0.5MPa程度に昇圧され、昇圧ガスは配管111を経て冷却器6で再度10〜30℃程度に冷
却される。冷却により発生した凝縮水は配管112よりドレンポット7に分離される。水分離後の圧縮ガスは、モレキュラーシーブ等の乾燥剤が充填された脱水塔8A,8Bに導入され脱水処理される。脱水塔8A,8Bは圧縮ガスの脱水と乾燥剤の加熱乾燥による再生とが交互に行われる。即ち、圧縮ガスは、まず、配管113,113aを経て脱水塔8Aに導入されて脱水処理され、配管114a,114を経て溶媒吸収塔10に送給される。この間に、脱水塔8Bには、配管122、加熱器9、配管123,123a,123bを経て150〜250℃程度に加熱された窒素ガスが導入され、乾燥剤の加熱による水分の脱着が行われる。脱着した水分を含む窒素ガスは、配管124a,124b、124を経て冷却器13で室温まで冷却され、凝縮水が配管125よりドレンポット14に分離された後、配管126より排出される。
り触媒が充填された多管式の反応器1(酸化脱水素反応器)に供給する。反応器1からの
反応生成ガスは、配管105よりクエンチ塔2に送給され、20〜99℃程度に冷却される。クエンチ塔2には、配管106より冷却水が導入され、生成ガスと向流接触する。そして、この向流接触で生成ガスを冷却した水は、配管107より排出される。なお、この冷却排水は、熱交換器(図示せず)で冷却されて再度クエンチ塔2において循環使用される。クエンチ塔2で冷却された生成ガスは、塔頂から留出され、次いで配管108より冷却器3を経て室温に冷却される。冷却により発生した凝縮水は配管109よりドレンポット4に分離される。水分離後のガスは更に配管110を経て圧縮機5で0.1〜0.5MPa程度に昇圧され、昇圧ガスは配管111を経て冷却器6で再度10〜30℃程度に冷
却される。冷却により発生した凝縮水は配管112よりドレンポット7に分離される。水分離後の圧縮ガスは、モレキュラーシーブ等の乾燥剤が充填された脱水塔8A,8Bに導入され脱水処理される。脱水塔8A,8Bは圧縮ガスの脱水と乾燥剤の加熱乾燥による再生とが交互に行われる。即ち、圧縮ガスは、まず、配管113,113aを経て脱水塔8Aに導入されて脱水処理され、配管114a,114を経て溶媒吸収塔10に送給される。この間に、脱水塔8Bには、配管122、加熱器9、配管123,123a,123bを経て150〜250℃程度に加熱された窒素ガスが導入され、乾燥剤の加熱による水分の脱着が行われる。脱着した水分を含む窒素ガスは、配管124a,124b、124を経て冷却器13で室温まで冷却され、凝縮水が配管125よりドレンポット14に分離された後、配管126より排出される。
脱水塔8Aの乾燥剤が飽和に達したら、ガス流路を切り換え、脱水塔8Bで圧縮ガスの脱水処理を行い、脱水塔8A内の乾燥剤の再生を行う。
脱水工程における脱水塔内の乾燥剤の再生時間は、特に限定されないが、通常6〜48時間、好ましくは、12〜36時間、更に好ましくは18〜30時間である。
脱水塔8A,8Bからの脱水ガスは、必要に応じて冷却器(図示せず)で10〜30℃程度に冷却された後、溶媒吸収塔10に送給され、配管115からの溶媒(吸収溶媒)と向流接触される。これにより、脱水ガス中の共役ジエンや未反応の原料ガスが吸収溶媒に吸収される。吸収溶媒に吸収されなかった成分(offガス)は、溶媒吸収塔10の塔頂より配管117を経て排出され燃焼廃棄される。このとき、吸収溶媒として、トルエンのような比較的沸点の低い溶媒を用いると経済的に無視できない量の溶媒が配管117を経て揮散することがある。このような場合はより沸点の高い溶媒を用いて沸点の低い溶媒を回収する工程を配管117の先に設けてもよい。この溶媒吸収塔10で、ブタジエンや未反応の原料ガスを吸収溶媒に吸収した溶媒吸収液は、溶媒吸収塔10の塔底より抜き出され、配管116より脱気塔11に送給される。溶媒吸収塔10で得られるブタジエンの溶媒吸収液には、若干量の窒素、酸素も吸収されているため、次いでこの溶媒吸収液を脱気塔11に供給して加熱することにより、液中に溶存する窒素や酸素をガス化して除去する。この際、ブタジエンや原料ガス、溶媒の中には、その一部がガス化することがあるため、この脱気塔11の塔頂に設けたコンデンサ(図示せず)でこれを液化して溶媒吸収液中に回収する。凝縮しなかった原料ガス、ブタジエン等は窒素、酸素の混合ガスとして配管118より抜き出され、共役ジエンの回収率を高めるために圧縮機5の入口側へ循環され再度処理が行われる。一方、溶媒吸収液を脱気した脱気処理液は配管119より溶媒分離塔12へ送給される。
脱水工程における脱水塔内の乾燥剤の再生時間は、特に限定されないが、通常6〜48時間、好ましくは、12〜36時間、更に好ましくは18〜30時間である。
脱水塔8A,8Bからの脱水ガスは、必要に応じて冷却器(図示せず)で10〜30℃程度に冷却された後、溶媒吸収塔10に送給され、配管115からの溶媒(吸収溶媒)と向流接触される。これにより、脱水ガス中の共役ジエンや未反応の原料ガスが吸収溶媒に吸収される。吸収溶媒に吸収されなかった成分(offガス)は、溶媒吸収塔10の塔頂より配管117を経て排出され燃焼廃棄される。このとき、吸収溶媒として、トルエンのような比較的沸点の低い溶媒を用いると経済的に無視できない量の溶媒が配管117を経て揮散することがある。このような場合はより沸点の高い溶媒を用いて沸点の低い溶媒を回収する工程を配管117の先に設けてもよい。この溶媒吸収塔10で、ブタジエンや未反応の原料ガスを吸収溶媒に吸収した溶媒吸収液は、溶媒吸収塔10の塔底より抜き出され、配管116より脱気塔11に送給される。溶媒吸収塔10で得られるブタジエンの溶媒吸収液には、若干量の窒素、酸素も吸収されているため、次いでこの溶媒吸収液を脱気塔11に供給して加熱することにより、液中に溶存する窒素や酸素をガス化して除去する。この際、ブタジエンや原料ガス、溶媒の中には、その一部がガス化することがあるため、この脱気塔11の塔頂に設けたコンデンサ(図示せず)でこれを液化して溶媒吸収液中に回収する。凝縮しなかった原料ガス、ブタジエン等は窒素、酸素の混合ガスとして配管118より抜き出され、共役ジエンの回収率を高めるために圧縮機5の入口側へ循環され再度処理が行われる。一方、溶媒吸収液を脱気した脱気処理液は配管119より溶媒分離塔12へ送給される。
溶媒分離塔12では、リボイラーとコンデンサーにより共役ジエンの蒸留分離が行われ、塔頂より配管120を経て粗ブタジエン留分が抜き出される。分離された吸収溶媒は塔底より配管121を経て抜き出され、溶媒吸収塔10の吸収溶媒として循環使用される。
以下に実施例を挙げて本発明をより具体的に説明する。
[製造例1:複合酸化物触媒の調製]
パラモリブデン酸アンモニウム54gを純水250mlに70℃に加温して溶解させた。次に、硝酸第二鉄7.18g、硝酸コバルト31.8g及び硝酸ニッケル31.8gを純水60mlに70℃に加温して溶解させた。これらの溶液を、充分に攪拌しながら徐々に混合した。
[製造例1:複合酸化物触媒の調製]
パラモリブデン酸アンモニウム54gを純水250mlに70℃に加温して溶解させた。次に、硝酸第二鉄7.18g、硝酸コバルト31.8g及び硝酸ニッケル31.8gを純水60mlに70℃に加温して溶解させた。これらの溶液を、充分に攪拌しながら徐々に混合した。
次に、シリカ64gを加えて、充分に攪拌した。このスラリーを75℃に加温し、5時間熟成した。その後、このスラリーを加熱乾燥した後、空気雰囲気で300℃、1時間の熱処理に付した。
得られた触媒前駆体の粒状固体(灼熱減量:1.4重量%)を粉砕し、パラモリブデン
酸アンモニウム40.1gを純水150mlにアンモニア水10mlを加え溶解した溶液に分散した。次に、純水40mlにホウ砂0.85g及び硝酸カリウム0.36gを25℃の加温下に溶解させて、上記スラリーを加えた。
得られた触媒前駆体の粒状固体(灼熱減量:1.4重量%)を粉砕し、パラモリブデン
酸アンモニウム40.1gを純水150mlにアンモニア水10mlを加え溶解した溶液に分散した。次に、純水40mlにホウ砂0.85g及び硝酸カリウム0.36gを25℃の加温下に溶解させて、上記スラリーを加えた。
次に、Naを0.45%固溶した次炭酸ビスマス58.1gを加えて、攪拌混合した。このスラリーを130℃、12時間加熱乾燥した後、得られた粒状固体を、小型成型機にて径5mm、高さ4mmの錠剤に打錠成型し、次に500℃、4時間の焼成を行って、触媒を得た。仕込み原料から計算される触媒は、次の原子比を有する複合酸化物であった。
Mo:Bi:Co:Ni:Fe:Na:B:K:Si=12:5:2.5:2.5:0.4:0.35:0.2:0.08:24
なお、触媒調製の際のモリブデンの原子比a1とa2は、それぞれ6.9と5.1であった。
Mo:Bi:Co:Ni:Fe:Na:B:K:Si=12:5:2.5:2.5:0.4:0.35:0.2:0.08:24
なお、触媒調製の際のモリブデンの原子比a1とa2は、それぞれ6.9と5.1であった。
[実施例1]
図1に示すプロセスフローに従って、連続的に1,3−ブタジエンの製造を行った。内
径27mm、長さ3500mmの反応管を113本備えた反応器1内の反応管に、反応管1本あたり、製造例1で製造された複合酸化物触媒622mlとイナートボール(Tip
ton Corp.製)384mlとを混合して充填した。
図1に示すプロセスフローに従って、連続的に1,3−ブタジエンの製造を行った。内
径27mm、長さ3500mmの反応管を113本備えた反応器1内の反応管に、反応管1本あたり、製造例1で製造された複合酸化物触媒622mlとイナートボール(Tip
ton Corp.製)384mlとを混合して充填した。
空気、窒素及び水蒸気をそれぞれ下記の流量で供給し、原料ガスとして表−1に示す組成のBBSSを下記の流量で供給し、空気、窒素及び水蒸気と配管中で混合した後、予熱器(図示せず)で214℃に加熱した後、反応器1に供給し、酸化脱水素反応を行った。なお、反応器1内の胴側に、335℃の熱媒を流して反応管内部の温度を359℃に調整した。
・BBSS:16.5vol/hr
・空気 :88.7vol/hr
・窒素 :55.0vol/hr
・水蒸気 :17.6vol/hr
反応器1の出口から抜き出されたブタジエンを含有する生成ガスは、クエンチ塔2で水と接触させ86℃まで冷却された後、更に冷却器3で室温まで冷却した。
・空気 :88.7vol/hr
・窒素 :55.0vol/hr
・水蒸気 :17.6vol/hr
反応器1の出口から抜き出されたブタジエンを含有する生成ガスは、クエンチ塔2で水と接触させ86℃まで冷却された後、更に冷却器3で室温まで冷却した。
ここで生成ガス中の凝縮された水はドレンポット4で回収した。室温まで冷却された生成ガスを圧縮機5で0.3MPaまで加圧し、更に冷却器6で17℃程度に冷却して水分を凝縮させてドレンポット7に回収した。
圧縮器5で圧縮された生成ガスは、モレキュラーシーブ3A(ユニオン昭和(株)製)を充填した脱水塔8A又は8Bに供給され脱水処理された。
圧縮器5で圧縮された生成ガスは、モレキュラーシーブ3A(ユニオン昭和(株)製)を充填した脱水塔8A又は8Bに供給され脱水処理された。
脱水塔8A又は8Bで脱水処理された生成ガスは、溶媒吸収塔10に供給され吸収溶媒であるトルエンを溶媒吸収塔10の上部に499kg/hで供給し、圧力0.2MpaG、温度25℃の条件下で、向流接触させて生成ガス中のブタジエン等の炭化水素を吸収させ、溶媒吸収塔10の塔底からブタジエンを含む溶液を得た。そして、脱気塔11でこの溶液中の酸素や窒素を分離し、更に溶媒分離塔12で塔底温度128℃、圧力0.1MpaGで、溶液からトルエンを分離して1,3−ブタジエンを回収した。溶液から分離されたトルエンは溶媒吸収塔10の上部に循環供給し、溶媒吸収塔10の吸収溶媒として再利用した。
上記プロセスで連続運転下における、脱水塔8A又は8Bで脱水処理された生成ガスの一部、溶媒吸収塔10の塔底からブタジエンを含む溶液の一部及び溶液から分離され溶媒吸収塔10の上部に循環供給するトルエンの一部を、それぞれ同時にサンプリングとして
抜き出した。このとき、溶液から分離され溶媒吸収塔10の上部に循環供給するトルエンを、島津社製ガスクロマトグラフィー 型番GC−14A FID(カラム:BPX−5)で分析し、溶媒吸収塔10内で1,3−ブタジエンの吸収に使用されるトルエンに含まれる表−2に示されるシクロヘキセン化合物の濃度とブタジエンの量を測定した。なお、サンプルとして抜き出した生成ガス及び溶媒吸収塔10の塔底からブタジエンを含む溶液は、それぞれガスクロマトグラフィー(島津社製 型番GC−2014及びGC−17A)で分析して、ブタジエンの量を測定した。生成ガス中のブタジエンの量は284.4mol/hr、溶媒吸収塔10の上部に循環供給するトルエン中のブタジエンの量は54.8mol/hr、溶媒吸収塔10の塔底から抜き出されたブタジエンを含む溶液中のブタジエンの量は246.7mol/hrであった。
抜き出した。このとき、溶液から分離され溶媒吸収塔10の上部に循環供給するトルエンを、島津社製ガスクロマトグラフィー 型番GC−14A FID(カラム:BPX−5)で分析し、溶媒吸収塔10内で1,3−ブタジエンの吸収に使用されるトルエンに含まれる表−2に示されるシクロヘキセン化合物の濃度とブタジエンの量を測定した。なお、サンプルとして抜き出した生成ガス及び溶媒吸収塔10の塔底からブタジエンを含む溶液は、それぞれガスクロマトグラフィー(島津社製 型番GC−2014及びGC−17A)で分析して、ブタジエンの量を測定した。生成ガス中のブタジエンの量は284.4mol/hr、溶媒吸収塔10の上部に循環供給するトルエン中のブタジエンの量は54.8mol/hr、溶媒吸収塔10の塔底から抜き出されたブタジエンを含む溶液中のブタジエンの量は246.7mol/hrであった。
このとき下記式で示されるブタジエン吸収効率(モル%)は、72.7モル%であった。結果を表−2に示す。
ブタジエン吸収効率(モル%)=(溶媒吸収塔10の塔底から抜き出されたブタジエンを含む溶液中のブタジエン量)/(溶媒吸収塔10へ供給された生成ガス中のブタジエン量+溶媒吸収塔10の上部に循環供給するトルエン中のブタジエン量)×100
ブタジエン吸収効率(モル%)=(溶媒吸収塔10の塔底から抜き出されたブタジエンを含む溶液中のブタジエン量)/(溶媒吸収塔10へ供給された生成ガス中のブタジエン量+溶媒吸収塔10の上部に循環供給するトルエン中のブタジエン量)×100
[実施例2]
溶媒吸収塔10内で1,3−ブタジエンの吸収に使用されるトルエンに含まれるシクロヘキセン化合物の濃度を表−2のようにした以外は実施例1と同様に実施した。生成ガス中のブタジエンの量は271.5mol/hr、溶媒吸収塔10の上部に循環供給するトルエン中のブタジエンの量は130.1mol/hr、溶媒吸収塔10の塔底から抜き出されたブタジエンを含む溶液中のブタジエンの量は273.1mol/hrであった。このときのブタジエンの吸収効率は、68.0モル%であった。結果を表−2に示す。
溶媒吸収塔10内で1,3−ブタジエンの吸収に使用されるトルエンに含まれるシクロヘキセン化合物の濃度を表−2のようにした以外は実施例1と同様に実施した。生成ガス中のブタジエンの量は271.5mol/hr、溶媒吸収塔10の上部に循環供給するトルエン中のブタジエンの量は130.1mol/hr、溶媒吸収塔10の塔底から抜き出されたブタジエンを含む溶液中のブタジエンの量は273.1mol/hrであった。このときのブタジエンの吸収効率は、68.0モル%であった。結果を表−2に示す。
1 反応器
2 クエンチ塔
3,6,13 冷却器
4,7,14 ドレンポット
8A,8B 脱水器
9 加熱器
10 溶媒吸収塔
11 脱気塔
12 溶媒分離塔
101〜126 配管
2 クエンチ塔
3,6,13 冷却器
4,7,14 ドレンポット
8A,8B 脱水器
9 加熱器
10 溶媒吸収塔
11 脱気塔
12 溶媒分離塔
101〜126 配管
Claims (7)
- 炭素原子数4以上のモノオレフィンを含む原料ガスと分子状酸素含有ガスを反応器に供給し、触媒の存在下、酸化脱水素反応を行うことにより生成される対応する共役ジエンを含む生成ガスを得た後、該生成ガスを有機溶媒と接触させ、該共役ジエンを含む溶液を得るにあたり、該有機溶媒がシクロオレフィン化合物を含有することを特徴とする共役ジエンの製造方法。
- 前記共役ジエンを含む溶液を分離器に供給し、蒸留により前記有機溶媒と前記共役ジエンとを分離し、分離された有機溶媒を回収し、前記生成ガスと接触させる有機溶媒として循環する工程を更に有することを特徴とする請求項1に記載の共役ジエンの製造方法。
- 前記有機溶媒が炭素原子数6以上の炭化水素からなる溶媒であることを特徴とする請求項1又は2に記載の共役ジエンの製造方法。
- 前記有機溶媒中の水分量が0.01〜10.00wt%であることを特徴とする請求項1〜3のいずれか1項に記載の共役ジエンの製造方法。
- 前記有機溶媒中の前記シクロオレフィン化合物の量が1.5wt%以上20.0wt%以下であることを特徴とする請求項1〜4のいずれか1項に記載の共役ジエンの製造方法。
- 前記シクロオレフィン化合物が六員環を有することを特徴とする請求項1〜5のいずれか1項に記載の共役ジエンの製造方法。
- 前記触媒が、下記一般式(1)で表される複合酸化物触媒であることを特徴とする請求項1〜6のいずれか1項に記載の共役ジエンの製造方法。
MoaBibCocNidFeeXfYgZhSiiOj (1)
(式中、Xはマグネシウム(Mg)、カルシウム(Ca)、亜鉛(Zn)、セリウム(Ce)及びサマリウム(Sm)からなる群から選ばれる少なくとも1種の元素であり、Yはナトリウム(Na)、カリウム(K)、ルビジウム(Rb)、セシウム(Cs)及びタリウム(Tl)からなる群から選ばれる少なくとも1種の元素であり、Zはホウ素(B)、リン(P)、砒素(As)及びタングステン(W)からなる群から選ばれる少なくとも1種の元素である。また、a〜jはそれぞれの元素の原子比を表し、a=12のとき、b=0.5〜7、c=0〜10、d=0〜10(但しc+d=1〜10)、e=0.05〜3、f=0〜2、g=0.04〜2、h=0〜3、i=0〜48の範囲にあり、またjは他の元素の酸化状態を満足させる数値である。)
Priority Applications (1)
| Application Number | Priority Date | Filing Date | Title |
|---|---|---|---|
| JP2010255981A JP2012106942A (ja) | 2010-11-16 | 2010-11-16 | 共役ジエンの製造方法 |
Applications Claiming Priority (1)
| Application Number | Priority Date | Filing Date | Title |
|---|---|---|---|
| JP2010255981A JP2012106942A (ja) | 2010-11-16 | 2010-11-16 | 共役ジエンの製造方法 |
Publications (1)
| Publication Number | Publication Date |
|---|---|
| JP2012106942A true JP2012106942A (ja) | 2012-06-07 |
Family
ID=46492999
Family Applications (1)
| Application Number | Title | Priority Date | Filing Date |
|---|---|---|---|
| JP2010255981A Pending JP2012106942A (ja) | 2010-11-16 | 2010-11-16 | 共役ジエンの製造方法 |
Country Status (1)
| Country | Link |
|---|---|
| JP (1) | JP2012106942A (ja) |
Cited By (6)
| Publication number | Priority date | Publication date | Assignee | Title |
|---|---|---|---|---|
| JP2014181222A (ja) * | 2013-03-21 | 2014-09-29 | Mitsubishi Chemicals Corp | 共役ジエンの製造方法 |
| WO2015159350A1 (ja) * | 2014-04-14 | 2015-10-22 | 旭化成ケミカルズ株式会社 | ブタジエン含有組成物 |
| KR20160131245A (ko) * | 2015-05-06 | 2016-11-16 | 주식회사 엘지화학 | 공액디엔의 제조방법 |
| KR20160132543A (ko) * | 2015-05-11 | 2016-11-21 | 주식회사 엘지화학 | 공액디엔의 제조방법 |
| KR20170056110A (ko) * | 2015-11-13 | 2017-05-23 | 주식회사 엘지화학 | 공액디엔 제조장치 및 제조방법 |
| JP2017100989A (ja) * | 2015-12-01 | 2017-06-08 | Jxtgエネルギー株式会社 | ブタジエンの製造方法 |
Citations (2)
| Publication number | Priority date | Publication date | Assignee | Title |
|---|---|---|---|---|
| JPS4813082B1 (ja) * | 1968-08-16 | 1973-04-25 | ||
| JP2003220335A (ja) * | 2001-11-21 | 2003-08-05 | Mitsubishi Chemicals Corp | 複合酸化物触媒の製造方法 |
-
2010
- 2010-11-16 JP JP2010255981A patent/JP2012106942A/ja active Pending
Patent Citations (2)
| Publication number | Priority date | Publication date | Assignee | Title |
|---|---|---|---|---|
| JPS4813082B1 (ja) * | 1968-08-16 | 1973-04-25 | ||
| JP2003220335A (ja) * | 2001-11-21 | 2003-08-05 | Mitsubishi Chemicals Corp | 複合酸化物触媒の製造方法 |
Cited By (11)
| Publication number | Priority date | Publication date | Assignee | Title |
|---|---|---|---|---|
| JP2014181222A (ja) * | 2013-03-21 | 2014-09-29 | Mitsubishi Chemicals Corp | 共役ジエンの製造方法 |
| WO2015159350A1 (ja) * | 2014-04-14 | 2015-10-22 | 旭化成ケミカルズ株式会社 | ブタジエン含有組成物 |
| KR20160131245A (ko) * | 2015-05-06 | 2016-11-16 | 주식회사 엘지화학 | 공액디엔의 제조방법 |
| KR101976050B1 (ko) * | 2015-05-06 | 2019-05-08 | 주식회사 엘지화학 | 공액디엔의 제조방법 |
| KR20160132543A (ko) * | 2015-05-11 | 2016-11-21 | 주식회사 엘지화학 | 공액디엔의 제조방법 |
| KR102008794B1 (ko) * | 2015-05-11 | 2019-08-08 | 주식회사 엘지화학 | 공액디엔의 제조방법 |
| KR20170056110A (ko) * | 2015-11-13 | 2017-05-23 | 주식회사 엘지화학 | 공액디엔 제조장치 및 제조방법 |
| KR102070309B1 (ko) * | 2015-11-13 | 2020-01-28 | 주식회사 엘지화학 | 공액디엔 제조장치 및 제조방법 |
| JP2017100989A (ja) * | 2015-12-01 | 2017-06-08 | Jxtgエネルギー株式会社 | ブタジエンの製造方法 |
| WO2017094382A1 (ja) * | 2015-12-01 | 2017-06-08 | Jxエネルギー株式会社 | ブタジエンの製造方法 |
| US10647638B2 (en) | 2015-12-01 | 2020-05-12 | Jxtg Nippon Oil & Energy Corporation | Method for producing butadiene |
Similar Documents
| Publication | Publication Date | Title |
|---|---|---|
| JP5621305B2 (ja) | 共役ジエンの製造方法 | |
| JP5648319B2 (ja) | 共役ジエンの製造方法 | |
| JP5621304B2 (ja) | 共役ジエンの製造方法 | |
| JP2010275210A (ja) | 共役ジエンの製造方法 | |
| JP2010090083A (ja) | 共役ジエンの製造方法 | |
| JP5652151B2 (ja) | 共役ジエンの製造方法 | |
| JP5780072B2 (ja) | 共役ジエンの製造方法 | |
| JP2010090082A (ja) | 共役ジエンの製造方法 | |
| JP5714857B2 (ja) | ブタジエンの製造方法 | |
| JP6478996B2 (ja) | 酸化的脱水素反応によりn−ブテンから1,3−ブタジエンを製造するための方法 | |
| JP2012240963A (ja) | 共役ジエンの製造方法 | |
| JP2012106942A (ja) | 共役ジエンの製造方法 | |
| JP2010280653A (ja) | 共役ジエンの製造方法 | |
| JP5682130B2 (ja) | 共役ジエンの製造方法 | |
| JP2011132218A (ja) | 共役ジエンの製造方法 | |
| JP2013119530A (ja) | 共役ジエンの製造方法 | |
| JP2013177380A (ja) | 共役ジエンの製造方法 | |
| JP6070825B2 (ja) | 1,3−ブタジエンの製造方法 | |
| JP2012111751A (ja) | 共役ジエンの製造方法 | |
| JP5780069B2 (ja) | 共役ジエンの製造方法 | |
| JP6187334B2 (ja) | 共役ジエンの製造方法 | |
| JP2013213028A (ja) | 共役ジエンの製造方法 | |
| JP2011148764A (ja) | 共役ジエンの製造方法 | |
| JP2012111699A (ja) | 共役ジエンの製造方法 | |
| JP5780038B2 (ja) | 共役ジエンの製造方法 |
Legal Events
| Date | Code | Title | Description |
|---|---|---|---|
| A621 | Written request for application examination |
Free format text: JAPANESE INTERMEDIATE CODE: A621 Effective date: 20130522 |
|
| A977 | Report on retrieval |
Free format text: JAPANESE INTERMEDIATE CODE: A971007 Effective date: 20140521 |
|
| A131 | Notification of reasons for refusal |
Free format text: JAPANESE INTERMEDIATE CODE: A131 Effective date: 20140527 |
|
| A02 | Decision of refusal |
Free format text: JAPANESE INTERMEDIATE CODE: A02 Effective date: 20140930 |
