JP2012086799A - 電動パワーステアリング装置 - Google Patents
電動パワーステアリング装置 Download PDFInfo
- Publication number
- JP2012086799A JP2012086799A JP2010237523A JP2010237523A JP2012086799A JP 2012086799 A JP2012086799 A JP 2012086799A JP 2010237523 A JP2010237523 A JP 2010237523A JP 2010237523 A JP2010237523 A JP 2010237523A JP 2012086799 A JP2012086799 A JP 2012086799A
- Authority
- JP
- Japan
- Prior art keywords
- bearing
- worm shaft
- worm
- elastic member
- housing
- Prior art date
- Legal status (The legal status is an assumption and is not a legal conclusion. Google has not performed a legal analysis and makes no representation as to the accuracy of the status listed.)
- Pending
Links
Images
Landscapes
- Power Steering Mechanism (AREA)
- Gear Transmission (AREA)
Abstract
【課題】ウォーム軸の可動量のばらつきを抑制できる電動パワーステアリング装置を提供する。
【解決手段】ウォーム軸20の第2端部23は、第2軸受32によって回転可能に支持されている。第2軸受32には、第1弾性部材36が取り付けられている。第1弾性部材36は、ウォーム軸20とウォームホイール21との中心間距離D1が短くなる方向としての対向方向B1の一方B2に、第2軸受32を介してウォーム軸20の第2端部23を弾性的に付勢している。ハウジング70には、対向方向B1への第2端部23の変位を規制するための規制部45を含んでいる。第2軸受32の外輪32bには、規制部45に当接可能なストッパ部49が設けられている。
【選択図】図2
【解決手段】ウォーム軸20の第2端部23は、第2軸受32によって回転可能に支持されている。第2軸受32には、第1弾性部材36が取り付けられている。第1弾性部材36は、ウォーム軸20とウォームホイール21との中心間距離D1が短くなる方向としての対向方向B1の一方B2に、第2軸受32を介してウォーム軸20の第2端部23を弾性的に付勢している。ハウジング70には、対向方向B1への第2端部23の変位を規制するための規制部45を含んでいる。第2軸受32の外輪32bには、規制部45に当接可能なストッパ部49が設けられている。
【選択図】図2
Description
本発明は、電動パワーステアリング装置に関する。
この種の装置において、小歯車としてウォーム軸を用い、大歯車としてウォームホイールを用いるものがある。これらウォーム軸とウォームホイールとの噛み合い部分には、トルクロスを低減するために適度なバックラッシが必要である。しかしながら、例えば悪路を走行してタイヤからの反力(逆入力)を受けた場合、このバックラッシに起因する歯打ち音(ラトル音)が発生することがある。
そこで、これらトルクロスおよび歯打ち音の発生を最小限にするため、ウォーム軸をウォームホイール側へ偏倚可能に支持すると共に、ウォーム軸をウォームホイール側へ弾性的に付勢することで、トルクロスを抑制しつつバックラッシを無くすことが提案されている(例えば、特許文献1参照)。具体的には、ウォーム軸のうち、反電動モータ側の端部を軸受で支持し、この軸受を付勢部材で付勢する。付勢部材は、軸受の外輪に巻かれた有端環状の主体部と、この主体部から突出する弾性片部とを含んでいる。弾性片部は、ハウジングの軸受保持用の孔の内面に接触して弾性反発力を生じており、この弾性反発力によって、軸受およびウォーム軸をウォームホイール側に押圧している。
特許文献1において、ウォーム軸のうち、反電動モータ側の端部がウォームホイールに向けて変位できる量(可動量)は、主に、ハウジングの軸受保持用の孔の寸法、付勢部材の寸法(板厚)、および軸受の外輪の直径という、3つの要素によって、主に決まる。付勢部材は、帯状の金属板を曲げ加工して形成されるので、寸法のばらつきが大きく、ウォーム軸の可動量のばらつきが大きくなってしまう。その上、ウォーム軸の可動量は、前記3つの要素、すなわち多くの要素によって決まるので、ウォーム軸の可動量のばらつきがさらに大きくなる。このため、ウォーム軸とウォームホイールとの噛み合い状態について、個体差が大きくなってしまう。
本発明は、かかる背景のもとでなされたもので、ウォーム軸の可動量のばらつきを抑制できる電動パワーステアリング装置を提供することを目的とする。
上記目的を達成するため、本発明は、ウォーム軸(20)およびウォームホイール(21)を含むウォーム減速機(19)を備え、電動モータ(18)の出力が前記ウォーム軸の一端(22)から前記ウォーム減速機に入力される電動パワーステアリング装置(1)において、前記ウォーム軸の他端(23)を回転可能に支持する軸受(32)と、前記ウォーム軸と前記ウォームホイールとの中心間距離(D1)が短くなる方向としての付勢方向(B2)に前記軸受を介して前記ウォーム軸の他端を弾性的に付勢する弾性部材(36)と、前記ウォーム減速機を収容するハウジング(70)と、を備え、前記ハウジングは、前記付勢方向への前記軸受の変位を規制可能な規制部(45)を含み、前記弾性部材とは別体に形成され前記軸受と前記付勢方向に一体移動可能なストッパ部材(75;76)、または前記軸受に、前記規制部に当接可能なストッパ部(49)が設けられていることを特徴とする(請求項1)。
本発明によれば、ハウジングの規制部と、ストッパ部材または軸受に設けられたストッパ部という2つの部分で、付勢方向に関して、ウォーム軸の可動量を規定することができる。このように、2つという少ない要素数でウォーム軸の可動量を規定できるので、ウォーム軸の可動量のばらつき(個体差)を抑制できる。また、弾性変形するという性質を有することから寸法のばらつきが大きい傾向にある弾性部材を用いて、ウォーム軸の可動量を規定する構成ではない。このため、ウォーム軸の可動量を規定するために、規制部およびストッパ部を硬い部材で形成できる。その結果、ウォーム軸の可動量のばらつきをより確実に抑制できる。その結果、ウォームホイールに対するウォーム軸の押圧量のばらつきが抑制される。これにより、ウォーム軸とウォームホイールとの噛み合いのラトル音の発生や、操舵フィーリングのばらつきを抑制できる。
また、前記弾性部材は、前記軸受の外周に嵌合された有端環状の主体部(37)と、この主体部から突出し前記ハウジングに弾性的に当接する弾性舌片(39,40)と、を含んでいる場合がある(請求項2)。
この場合、弾性変形し易い弾性舌片の弾性反発力を用いて、軸受に、付勢方向を向く付勢力を付与することができる。また、弾性変形し易いことから寸法のばらつきの大きい弾性舌片を含む弾性部材を用いてウォーム軸の変位を規制する構成ではない。したがって、ウォーム軸の可動量のばらつきを確実に抑制できる。
この場合、弾性変形し易い弾性舌片の弾性反発力を用いて、軸受に、付勢方向を向く付勢力を付与することができる。また、弾性変形し易いことから寸法のばらつきの大きい弾性舌片を含む弾性部材を用いてウォーム軸の変位を規制する構成ではない。したがって、ウォーム軸の可動量のばらつきを確実に抑制できる。
また、本発明において、前記弾性部材(36)の外周面(47)のうち、前記弾性舌片の外周面(47a,47b)のみが前記ハウジングに当接している場合がある(請求項3)。
仮に、弾性部材の外周面のうち、弾性舌片以外の部分がハウジングに接触すると、弾性部材から軸受を介してウォーム軸に付与される付勢力の変動が大きくなってしまい、ウォーム軸に付与される付勢力の特性にばらつきが生じてしまう。これに対し、本発明では、弾性部材の外周面のうち、弾性舌片の外周面のみがハウジングに接触するようにされている。これにより、弾性部材から軸受を介してウォーム軸に付与される付勢力(荷重)の特性が不用意に変化せず、付勢力の特性のばらつきを少なくできる。
仮に、弾性部材の外周面のうち、弾性舌片以外の部分がハウジングに接触すると、弾性部材から軸受を介してウォーム軸に付与される付勢力の変動が大きくなってしまい、ウォーム軸に付与される付勢力の特性にばらつきが生じてしまう。これに対し、本発明では、弾性部材の外周面のうち、弾性舌片の外周面のみがハウジングに接触するようにされている。これにより、弾性部材から軸受を介してウォーム軸に付与される付勢力(荷重)の特性が不用意に変化せず、付勢力の特性のばらつきを少なくできる。
また、本発明において、前記ストッパ部材は、前記軸受の外径部(32b)に固定された樹脂部材または金属部材を含む場合がある(請求項4)。
この場合、弾性部材と比べて、寸法のばらつきを格段に抑制できる樹脂部材または金属部材によって、ストッパ部が形成されている。これにより、ウォーム軸の可動量のばらつきを簡易且つ確実に抑制できる。
この場合、弾性部材と比べて、寸法のばらつきを格段に抑制できる樹脂部材または金属部材によって、ストッパ部が形成されている。これにより、ウォーム軸の可動量のばらつきを簡易且つ確実に抑制できる。
また、本発明において、前記ハウジングは、前記軸受を前記付勢方向と平行な所定方向に変位可能に収容した孔部(71b)を含み、前記孔部と前記規制部とは、前記軸受の軸方向に並んで配置されており、前記軸受は、前記軸方向の位置が前記孔部および前記規制部の双方と重なっており、前記ストッパ部は、前記軸受に設けられている場合がある(請求項5)。
この場合、軸受の外周面を、弾性部材が取り付けられる部分として用いることができ、且つ、ストッパ部が形成される部分としても用いることができる。軸受を軸方向に長く形成するという簡易な構成で、軸受と弾性部材とを結合しつつ、軸受にストッパ部を形成することができる。
なお、上記において、括弧内の数字等は、後述する実施形態における対応構成要素の参照符号を表すものであるが、これらの参照符号により特許請求の範囲を限定する趣旨ではない。
なお、上記において、括弧内の数字等は、後述する実施形態における対応構成要素の参照符号を表すものであるが、これらの参照符号により特許請求の範囲を限定する趣旨ではない。
以下には、図面を参照して、本発明の実施形態について具体的に説明する。
図1は、本発明の一実施形態にかかる電動パワーステアリング装置1の概略構成を示す模式図である。図1を参照して、電動パワーステアリング装置1は、ステアリングホイール等の操舵部材2に連結されるステアリングシャフト3と、中間軸4を介してステアリングシャフト3と連結されるピニオン軸5と、ピニオン軸5に形成されたピニオン6に噛み合うラック7を有し、自動車の左右方向に延びる転舵軸としてのラック軸8とを備えている。ピニオン軸5およびラック軸8によって、ラックアンドピニオン機構からなる転舵機構29が構成されている。
図1は、本発明の一実施形態にかかる電動パワーステアリング装置1の概略構成を示す模式図である。図1を参照して、電動パワーステアリング装置1は、ステアリングホイール等の操舵部材2に連結されるステアリングシャフト3と、中間軸4を介してステアリングシャフト3と連結されるピニオン軸5と、ピニオン軸5に形成されたピニオン6に噛み合うラック7を有し、自動車の左右方向に延びる転舵軸としてのラック軸8とを備えている。ピニオン軸5およびラック軸8によって、ラックアンドピニオン機構からなる転舵機構29が構成されている。
ステアリングシャフト3は、操舵部材2に連なる入力軸9と、中間軸4に連なる出力軸10とを含んでいる。これら入力軸9および出力軸10はトーションバー11を介して同一軸線上で相対回転可能に連結されている。
ラック軸8は、図示しない複数の軸受を介して直線往復運動可能にハウジング12に支持されている。ラック軸8の両端部は、ハウジング12の外部へ突出している。ラック軸8の各端部は、それぞれタイロッド13およびナックルアーム(図示せず)を介して、転舵輪14に連結されている。
ラック軸8は、図示しない複数の軸受を介して直線往復運動可能にハウジング12に支持されている。ラック軸8の両端部は、ハウジング12の外部へ突出している。ラック軸8の各端部は、それぞれタイロッド13およびナックルアーム(図示せず)を介して、転舵輪14に連結されている。
操舵部材2が回転操作されることにより、ステアリングシャフト3が回転する。このステアリングシャフト3の回転は、ピニオン6およびラック7を介してラック軸8の直線往復運動に変換される。これにより、転舵輪14の転舵が達成される。
操舵部材2に操舵トルクが入力されることにより、トーションバー11がねじれ、入力軸9および出力軸10が微小角度、相対回転する。この相対回転変位は、ステアリングシャフト3の近傍に設けられたトルクセンサ15によって検出される。これにより、操舵部材2に作用するトルクが検出される。トルクセンサ15の出力信号は、ECU16(Electronic ControlUnit:電子制御ユニット)に与えられる。ECU16は、トルク値や図示しない車速センサから与えられる車速値等に基づいて、駆動回路17を介して操舵補助用の電動モータ18を駆動制御する。
操舵部材2に操舵トルクが入力されることにより、トーションバー11がねじれ、入力軸9および出力軸10が微小角度、相対回転する。この相対回転変位は、ステアリングシャフト3の近傍に設けられたトルクセンサ15によって検出される。これにより、操舵部材2に作用するトルクが検出される。トルクセンサ15の出力信号は、ECU16(Electronic ControlUnit:電子制御ユニット)に与えられる。ECU16は、トルク値や図示しない車速センサから与えられる車速値等に基づいて、駆動回路17を介して操舵補助用の電動モータ18を駆動制御する。
電動モータ18の出力は、ウォーム減速機(以下、単に減速機ともいう)19を介してステアリングシャフト3の出力軸10に伝達される。出力軸10に伝達された力は、ピニオン軸5等を介してラック軸8に伝達される。これにより操舵が補助される。
減速機19は、電動モータ18により回転駆動される駆動ギヤとしてのウォーム軸20と、このウォーム軸20に噛み合う従動ギヤとしてのウォームホイール21とを備えている。ウォームホイール21は、ステアリングシャフト3の出力軸10等を介して転舵機構29に連結されている。
減速機19は、電動モータ18により回転駆動される駆動ギヤとしてのウォーム軸20と、このウォーム軸20に噛み合う従動ギヤとしてのウォームホイール21とを備えている。ウォームホイール21は、ステアリングシャフト3の出力軸10等を介して転舵機構29に連結されている。
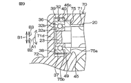
図2は、電動モータ18、減速機19およびその近傍の構成を示す一部断面図である。図2を参照して、減速機19は、ハウジング70に収容されている、また、電動モータ18は、このハウジング70に支持されている。ハウジング70は、ウォーム軸20を収容する筒状の駆動ギヤ収容ハウジング71と、ウォームホイール21を収容する筒状の従動ギヤ収容ハウジング72とを含んでいる。駆動ギヤ収容ハウジング71および従動ギヤ収容ハウジング72は、アルミニウム合金等の金属材料を用いて一体成形されている。
駆動ギヤ収容ハウジング71の一端部には、環状フランジ部73が形成されている。環状フランジ部73には、図示しない固定ねじを用いて、電動モータ18のモータハウジング18aが取り付けられている。電動モータ18は、このモータハウジング18aと、モータハウジング18aに回転可能に支持された出力軸18bとを含んでいる。出力軸18bは、継手50を介してウォーム軸20に動力伝達可能に連結されている。
ウォーム軸20は、継手50が連結された一端としての第1端部22と、他端としての第2端部23と、第1端部22および第2端部23間に配置され螺旋状の歯部を有するウォーム24と、を含んでいる。
第1端部22は、電動モータ18の出力軸18bに継手50を介して動力伝達可能に連結されている。これにより、電動モータ18の出力が、ウォーム減速機19に入力される。ウォーム軸20に伝達される。
第1端部22は、電動モータ18の出力軸18bに継手50を介して動力伝達可能に連結されている。これにより、電動モータ18の出力が、ウォーム減速機19に入力される。ウォーム軸20に伝達される。
ウォームホイール21は、出力軸10に一体回転可能に結合された環状の芯金27と、芯金27の周囲を取り囲み外周に歯が形成された合成樹脂部材28とを含んでいる。芯金27は、例えば合成樹脂部材28の樹脂成形時に金型内にインサートされる。芯金27は、ステアリングシャフト3の出力軸10に、例えば圧入によって嵌め合わされ、連結されている。これにより、ウォームホイール21は、出力軸10に対して一体回転可能に且つ軸方向に移動不能となっている。
ウォーム軸20の第1端部22には、第1軸受31が配置されている。また、ウォーム軸20の第2端部23には、第2軸受32が配置されている。第1および第2軸受31,32は、例えば、玉軸受等の転がり軸受である。ウォーム軸20は、第1軸受31および第2軸受32等を介して、ハウジング70の駆動ギヤ収容ハウジング71に回転可能に支持されている。
ウォーム軸20は、第1軸受31を中心とする、揺動方向A1に揺動可能である。また、ウォーム軸20の中心としての中心軸線L1と、ウォームホイール21の中心としての中心軸線L2との間の距離(中心間距離)D1が近づく方向としての対向方向B1の一方B2に、ウォーム軸20の第2端部23が弾性的に付勢されている。第2端部23は、第1弾性部材36よって弾性的に付勢されている。
これにより、ウォーム軸20の歯形成部としてのウォーム24とウォームホイール21の互いの噛み合い領域26においてバックラッシが生じることを抑制している。
上記した、ウォーム軸20の揺動のための構成と、ウォーム軸20をウォームホイール21に付勢するための構成とについて、以下に説明する。
第1軸受31は、ウォーム軸20が第1軸受31を中心に揺動方向A1に揺動可能となるように、ウォーム軸20の第1端部22を支持している。第1軸受31は、内輪31aと、外輪31bと、転動体31cとを含んでいる。第1軸受31には、内部隙間が設けられており、内輪31aは、外輪31bに対して、内輪31aの径方向にわずかに変位可能である。これにより、第1軸受31の内輪31aは、外輪31bに対して揺動方向A1に揺動可能となっている。揺動方向A1は、ウォームホイール21の中心軸線L2に沿ってウォーム軸20を見たときにおける、第1軸受31を中心とする時計回り方向および反時計回り方向を含む方向である。
上記した、ウォーム軸20の揺動のための構成と、ウォーム軸20をウォームホイール21に付勢するための構成とについて、以下に説明する。
第1軸受31は、ウォーム軸20が第1軸受31を中心に揺動方向A1に揺動可能となるように、ウォーム軸20の第1端部22を支持している。第1軸受31は、内輪31aと、外輪31bと、転動体31cとを含んでいる。第1軸受31には、内部隙間が設けられており、内輪31aは、外輪31bに対して、内輪31aの径方向にわずかに変位可能である。これにより、第1軸受31の内輪31aは、外輪31bに対して揺動方向A1に揺動可能となっている。揺動方向A1は、ウォームホイール21の中心軸線L2に沿ってウォーム軸20を見たときにおける、第1軸受31を中心とする時計回り方向および反時計回り方向を含む方向である。
第1軸受31の内輪31aは、第1端部22の外周22aに圧入固定等により固定されており、ウォーム軸20とは一体回転且つ同行移動可能である。この内輪31aの一端面は、第1端部22とウォーム24との間の環状の段部21aに受けられている。
第1軸受31の外輪31bは、駆動ギヤ収容ハウジング71の内周面に形成された第1収容孔部71aに支持されている。この外輪31bと、第1収容孔部71aとは、すきまばめ等によって嵌合されている。
第1軸受31の外輪31bは、駆動ギヤ収容ハウジング71の内周面に形成された第1収容孔部71aに支持されている。この外輪31bと、第1収容孔部71aとは、すきまばめ等によって嵌合されている。
ハウジング70の駆動ギヤ収容ハウジング71は、前述の第1軸受31を収容する第1収容孔部71aと、第2軸受32を収容する第2収容孔部71bと、ウォーム24を取り囲む歯部収容部71cと、を含んでいる。
図3は、図2の第2軸受32の周辺の拡大図である。図3を参照して、ハウジング70の第2収容孔部71bは、第2軸受32と、第1弾性部材36とを収容している。
図3は、図2の第2軸受32の周辺の拡大図である。図3を参照して、ハウジング70の第2収容孔部71bは、第2軸受32と、第1弾性部材36とを収容している。
第2軸受32は、内輪32aと、外輪32bと、転動体32cとを含んでいる。第2軸受32の内輪32aは、第2端部23の外周に圧入固定されている。
第2軸受32の外輪32bは、第1弾性部材36を介して第2収容孔部71bに支持されている。第2軸受32およびウォーム軸20の第2端部23は、駆動ギヤ収容ハウジング71に対して、ウォーム軸20の中心軸線L1とウォームホイール21の中心軸線L2とが対向する対向方向B1に相対移動可能とされている。
第2軸受32の外輪32bは、第1弾性部材36を介して第2収容孔部71bに支持されている。第2軸受32およびウォーム軸20の第2端部23は、駆動ギヤ収容ハウジング71に対して、ウォーム軸20の中心軸線L1とウォームホイール21の中心軸線L2とが対向する対向方向B1に相対移動可能とされている。
図4は、第1弾性部材36の斜視図であり、図5は、図3のV−V線に沿う断面図である。図4および図5を参照して、第1弾性部材36は、板ばね部材である。この第1弾性部材36は、例えばステンレス鋼やばね鋼を用いて一体成形されている。
第1弾性部材36は、第2軸受32の外輪32bの外周に嵌合された有端環状の主体部37と、主体部37の一対の端部37a,37bによってそれぞれ片持ち状に支持された鉤形(L字形)状の第1および第2弾性舌片39,40と、を含んでいる。
第1弾性部材36は、第2軸受32の外輪32bの外周に嵌合された有端環状の主体部37と、主体部37の一対の端部37a,37bによってそれぞれ片持ち状に支持された鉤形(L字形)状の第1および第2弾性舌片39,40と、を含んでいる。
主体部37は、第2軸受32の外輪32bの外周面を半周以上に亘って取り囲んでおり、この外輪32bとは対向方向B1に一体移動可能である。
第1弾性舌片39の基端部39aおよび第2弾性舌片40の基端部40aは、それぞれ主体部37の一端部37aおよび他端部37bに連結されている。
第1および第2弾性舌片39,40はそれぞれ、主体部37から突出しており、第1部分41と第2部分42とを有している。第1部分41は、主体部37の対応する端部37a,37bから対向方向B1の他方B3に延設されている。第2部分42は、第1部分41の端部から延設されており、第1部分41に対して直交するように延びている。
第1弾性舌片39の基端部39aおよび第2弾性舌片40の基端部40aは、それぞれ主体部37の一端部37aおよび他端部37bに連結されている。
第1および第2弾性舌片39,40はそれぞれ、主体部37から突出しており、第1部分41と第2部分42とを有している。第1部分41は、主体部37の対応する端部37a,37bから対向方向B1の他方B3に延設されている。第2部分42は、第1部分41の端部から延設されており、第1部分41に対して直交するように延びている。
第1弾性部材36の軸方向に関する第1および第2弾性舌片39,40の幅は、主体部37の幅よりも狭くされている。第1弾性舌片39は、主体部37の軸方向の一端部37cに配置され、第2弾性舌片40は、軸方向の他端部37dに配置されている。
主体部37の一端部37cには、複数の弾性突起38が設けられている。この複数の弾性突起38は、一端部37cから主体部37の径方向内方に向けて延びている。各弾性突起38は、先端側に進むに従い一端部37cから離れるように傾斜して延びている。各弾性突起38は、主体部37の周方向に等間隔に配置されている。
主体部37の一端部37cには、複数の弾性突起38が設けられている。この複数の弾性突起38は、一端部37cから主体部37の径方向内方に向けて延びている。各弾性突起38は、先端側に進むに従い一端部37cから離れるように傾斜して延びている。各弾性突起38は、主体部37の周方向に等間隔に配置されている。
図3および図5を参照して、各弾性突起38は、駆動ギヤ収容ハウジング71の端壁71dに受けられている。各弾性突起38は、第2軸受32の外輪32bの一端面に当接している。
第2軸受32と、第2軸受32の外輪32bに取り付けられた第1弾性部材36とによって、第2軸受ユニット43が形成されている。この第2軸受ユニット43は、ハウジング70の第2収容孔部71bに収容されている。
第2軸受32と、第2軸受32の外輪32bに取り付けられた第1弾性部材36とによって、第2軸受ユニット43が形成されている。この第2軸受ユニット43は、ハウジング70の第2収容孔部71bに収容されている。
ハウジング70の第2収容孔部71bは、第1弾性部材36を対向方向B1に変位可能に収容する長孔部44と、長孔部44とはウォーム軸20(第2軸受32)の軸方向に隣接して形成された環状の規制部45とを含んでいる。長孔部44は、第1弾性部材36、第2軸受32の一部、およびウォーム軸20の第2端部23の一部を対向方向B1に変位可能に収容している。長孔部44は、駆動ギヤ収容ハウジング71の端壁71dに隣接して配置されている。長孔部44は、対向方向B1に延びる長孔に形成されている。長孔部44のうち、対向方向B1の他方B3側の先端部には、長孔部44の内周面を窪ませることで第1凹部46が形成されている。
第1凹部46は、第2軸受32の周方向に対向する一対の内壁面46a,46bと、内壁面46a,46bを接続する底部46cとを有している。
第1弾性部材36の第1および第2弾性舌片39,40は、第1凹部46の底部46cに受けられることにより、弾性変形している。この弾性変形による弾性反発力により、第1弾性部材36は、第2軸受32を介してウォーム軸20の第2端部32を対向方向B1の一方B2(中心間距離D1が近づく方向。付勢方向)に弾性的に付勢している。これにより、ウォーム軸20のウォーム24とウォームホイール21との間のバックラッシがゼロに保たれている。
第1弾性部材36の第1および第2弾性舌片39,40は、第1凹部46の底部46cに受けられることにより、弾性変形している。この弾性変形による弾性反発力により、第1弾性部材36は、第2軸受32を介してウォーム軸20の第2端部32を対向方向B1の一方B2(中心間距離D1が近づく方向。付勢方向)に弾性的に付勢している。これにより、ウォーム軸20のウォーム24とウォームホイール21との間のバックラッシがゼロに保たれている。
また、第1弾性部材36の外周面47のうち、第1および第2弾性舌片39,40の外周面47a,47bのみが、ハウジング70に接触するようになっている。具体的には、長孔部44の形状が大きくされている。これにより、ウォーム軸20の第2端部23が対向方向B1に変位したとき、第1弾性部材36の主体部37の外周面47cが長孔部44の内周面に接触しないようになっている。また、第1弾性舌片39,40の基端部は、長孔部44の第1凹部46の縁部46d,46eに接触しないように、縁部46d,46eに対して、ウォーム軸20の周方向に離隔して配置されている。
第2軸受32は、ウォーム軸20の軸方向に関して第1弾性部材36よりも長く形成されている。第2軸受32の一部は、第1弾性部材36の主体部37に対して、ウォーム24側(図3の右側)に突出している。第2軸受32は、当該第2軸受32の軸方向に関する位置が、長孔部44および規制部45と重なっている。第2軸受32の外輪32aは、円筒面に形成されており、第1弾性部材36の主体部37に嵌合する嵌合部48と、主体部37に対してウォーム24側に位置するストッパ部49と、を含んでいる。
図3を参照して、第2軸受32のストッパ部49の外周面は、ハウジング70の第1収容孔部71aの規制部45に対して、ウォーム軸20の径方向に直接対向している。規制部45は、対向方向B1に関するウォーム軸20の第2端部23の変位を規制可能に設けられている。初期状態(電動パワーステアリング装置1の出荷時の状態)において、規制部45とストッパ部49とは、ウォーム軸20の径方向に所定の隙間S1を開けて対向している。これにより、初期状態のウォーム24の第2端部23、第2軸受32および第1弾性部材36は、対向方向B1に隙間S1だけ変位可能となっている。ストッパ部49が規制部45に当接することにより、規制部45に対する第2軸受32の対向方向B1への変位が規制される。
図2を参照して、継手50は、揺動方向A1へのウォーム軸20の揺動、すなわち、第1軸受31を中心とするウォーム軸20の揺動を許容しつつ、ウォーム軸20と電動モータ18の出力軸18bとを動力伝達可能に連結している。
継手50は、電動モータ18の出力軸18bに一体回転可能に連結された第1係合部材51と、減速機19のウォーム軸20の第1端部22に一体回転可能に連結された第2係合部材52と、第1および第2係合部材51,52の間に介在し、第1係合部材51から第2係合部材52にトルクを伝達する第2弾性部材53とを含んでいる。
継手50は、電動モータ18の出力軸18bに一体回転可能に連結された第1係合部材51と、減速機19のウォーム軸20の第1端部22に一体回転可能に連結された第2係合部材52と、第1および第2係合部材51,52の間に介在し、第1係合部材51から第2係合部材52にトルクを伝達する第2弾性部材53とを含んでいる。
図6は、図2のVI−VI線に沿う継手50の断面図である。図7は、継手50の分解斜視図である。図7を参照して、第1係合部材51は、例えば金属で形成されている。第1係合部材51は、円筒状の第1主体部54と、第1主体部54の一端面に突出形成された複数の第1係合突起55とを有している。
第1主体部54は、電動モータ18の出力軸18bが圧入固定される第1嵌合孔56を有している。第1係合突起55は、第1主体部54の周方向に等間隔に配置されている。
第1主体部54は、電動モータ18の出力軸18bが圧入固定される第1嵌合孔56を有している。第1係合突起55は、第1主体部54の周方向に等間隔に配置されている。
第2係合部材52は、例えば金属で形成されている。第2係合部材52は、円柱状の第2主体部58と、第2主体部58の一端面から突出形成された複数の第2係合突起59と、ウォーム軸20の第1端部22が圧入固定される第2嵌合孔60とを有している。第2係合突起59は、第2主体部58の周方向に等間隔に配置されている。
第2弾性部材53は、例えば合成ゴムや合成樹脂で形成されている。第2弾性部材53は、環状の主体部62と、主体部62の周面から放射状に延びる複数の係合腕63とを有している。複数の係合腕63は、主体部62の周方向に等間隔に配置されている。
第2弾性部材53は、例えば合成ゴムや合成樹脂で形成されている。第2弾性部材53は、環状の主体部62と、主体部62の周面から放射状に延びる複数の係合腕63とを有している。複数の係合腕63は、主体部62の周方向に等間隔に配置されている。
第1係合部材51、第2係合部材52および第2弾性部材53は、図6に示すように、第1係合突起55、第2係合突起59および係合腕63がそれぞれ噛み合うように組み立てられている。具体的には、第1係合突起55および第2係合突起59が、係合腕63を周方向に挟んで噛み合わされている。
図2を参照して、駆動ギヤ収容ハウジング71には、雌ねじ部71fが形成されている。この雌ねじ部71fには、環状のナット部材64がねじ結合している。ナット部材64は、第1軸受31の外輪31bに当接しており、この外輪31bを第2軸受32側に付勢している。この付勢力は、第1軸受31の外輪31b、転動体31c、内輪31a、ウォーム軸20、第2軸受32の内輪32a,転動体32cおよび外輪32bを介して第1弾性部材36の弾性突起38に伝わる。これにより、第1軸受31および第2軸受32に予圧が付与されている。
図2を参照して、駆動ギヤ収容ハウジング71には、雌ねじ部71fが形成されている。この雌ねじ部71fには、環状のナット部材64がねじ結合している。ナット部材64は、第1軸受31の外輪31bに当接しており、この外輪31bを第2軸受32側に付勢している。この付勢力は、第1軸受31の外輪31b、転動体31c、内輪31a、ウォーム軸20、第2軸受32の内輪32a,転動体32cおよび外輪32bを介して第1弾性部材36の弾性突起38に伝わる。これにより、第1軸受31および第2軸受32に予圧が付与されている。
次に、ウォーム軸20周辺の動作に関して説明する。
以上の概略構成を有する電動パワーステアリング装置1において、例えば、長期間にわたるウォーム軸20とウォームホイール21との噛み合いにより、ウォーム軸20の合成樹脂部材28の歯部が摩耗する。このとき、第1弾性部材36が第2軸受32を介して第2端部32を対向方向B1の一方B2に付勢している。これにより、ウォーム軸20の第2端部23は、対向方向B1の一方B2に変位する。第2端部23が、自由状態のときの位置から、対向方向B1の一方B2に隙間S1と同じ距離だけ変位したとき、図8に示すように、第2軸受32の外輪32bのストッパ部49が、ハウジング70の第2収容孔部71bの規制部45に当接する。これにより、第2端部23の対向方向B1の一方B2へのそれ以上の変位が規制され、ウォーム軸20の揺動が規制される。
以上の概略構成を有する電動パワーステアリング装置1において、例えば、長期間にわたるウォーム軸20とウォームホイール21との噛み合いにより、ウォーム軸20の合成樹脂部材28の歯部が摩耗する。このとき、第1弾性部材36が第2軸受32を介して第2端部32を対向方向B1の一方B2に付勢している。これにより、ウォーム軸20の第2端部23は、対向方向B1の一方B2に変位する。第2端部23が、自由状態のときの位置から、対向方向B1の一方B2に隙間S1と同じ距離だけ変位したとき、図8に示すように、第2軸受32の外輪32bのストッパ部49が、ハウジング70の第2収容孔部71bの規制部45に当接する。これにより、第2端部23の対向方向B1の一方B2へのそれ以上の変位が規制され、ウォーム軸20の揺動が規制される。
ウォーム軸20の第2端部23が、自由状態のときの位置から、対向方向B1の他方B3に隙間S1と同じ距離だけ変位したときも、ストッパ部49が規制部45に当接する。
以上説明したように、本実施形態によれば、ハウジング70の規制部45と、第2軸受32のストッパ部49という2つの部分で、対向方向B1の一方B2および他方B3に関して、ウォーム軸20の可動量を規定することができる。このように、2つという少ない要素数でウォーム軸20の可動量を規定できるので、ウォーム軸20の可動量のばらつき(個体差)を抑制できる。
以上説明したように、本実施形態によれば、ハウジング70の規制部45と、第2軸受32のストッパ部49という2つの部分で、対向方向B1の一方B2および他方B3に関して、ウォーム軸20の可動量を規定することができる。このように、2つという少ない要素数でウォーム軸20の可動量を規定できるので、ウォーム軸20の可動量のばらつき(個体差)を抑制できる。
また、弾性変形するという性質を有することから寸法のばらつきが大きい傾向にある第1弾性部材36を用いて、ウォーム軸20の可動量を規定する構成ではない。このため、ウォーム軸20の可動量を規定するために、ハウジング70の規制部45およびストッパ部49を、硬い金属部材で形成できる。その結果、ウォーム軸20の可動量のばらつきをより確実に抑制できる。その結果、ウォームホイール21に対するウォーム軸20の押圧量のばらつきが抑制される。これにより、ウォーム軸20とウォームホイール21との噛み合いのラトル音の発生や、操舵フィーリングのばらつきを抑制できる。
また、弾性部材として、弾性舌片39,40を有する第1弾性部材36を用いている。これにより、弾性変形し易い弾性舌片39,40の弾性反発力を用いて、第2軸受32に、対向方向B1の一方B2を向く付勢力を付与することができる。また、弾性変形し易いことから寸法のばらつきの大きい弾性舌片39,40を含む第1弾性部材36を用いて、ウォーム軸20の変位を規制する構成ではない。したがって、ウォーム軸20の可動量のばらつきを確実に抑制できる。
さらに、第1弾性部材36の外周面47のうち、各弾性舌片39,40の外周面47a,47bのみが、ハウジング70の第2収容孔部71bに当接している。
仮に、第1弾性部材36の外周面47のうち、弾性舌片39,40以外の部分がハウジング70に接触すると、第1弾性部材36から第2軸受32を介してウォーム軸20に付与される付勢力の変動が大きくなってしまい、ウォーム軸20に付与される付勢力の特性にばらつきが生じてしまう。
仮に、第1弾性部材36の外周面47のうち、弾性舌片39,40以外の部分がハウジング70に接触すると、第1弾性部材36から第2軸受32を介してウォーム軸20に付与される付勢力の変動が大きくなってしまい、ウォーム軸20に付与される付勢力の特性にばらつきが生じてしまう。
例えば、前述した特許文献1(特開2005−254864号公報)では、弾性部材の主体部の外周面は、ハウジングの収容孔部の内周面に接触しており、弾性部材に不要な摩擦抵抗が生じている。このため、弾性部材からウォーム軸に作用する付勢力にばらつきが生じてしまう。
これに対し、本実施形態では、第1弾性部材36の内周面47のうち、弾性舌片39,40の外周面47a,47bのみがハウジング70に接触するようにされている。これにより、第1弾性部材36から第2軸受32を介してウォーム軸20に付与される付勢力(荷重)の特性が不用意に変化せず、この付勢力の特性のばらつきを少なくできる。
これに対し、本実施形態では、第1弾性部材36の内周面47のうち、弾性舌片39,40の外周面47a,47bのみがハウジング70に接触するようにされている。これにより、第1弾性部材36から第2軸受32を介してウォーム軸20に付与される付勢力(荷重)の特性が不用意に変化せず、この付勢力の特性のばらつきを少なくできる。
また、第2軸受32は、第2軸受32の軸方向に関する位置が、第2収容孔72bおよび規制部45の双方と重なっている。これにより、第2軸受32の外輪32bの外周面を、第1弾性部材36の主体部37が嵌合される部分として用いることができ、且つ、ストッパ部49が形成される部分としても用いることができる。第2軸受32を第2軸受32の軸方向に長くするという簡易な構成で、第2軸受32と第1弾性部材36とを結合しつつ、第2軸受32にストッパ部49を形成することができる。
本発明は、以上の実施形態の内容に限定されるものではなく、請求項記載の範囲内において種々の変更が可能である。
例えば、上記実施形態では、ストッパ部49を第2軸受32の外輪32b自体に設ける構成を説明したけれども、これに限定されない。図9に示すように、ストッパ部49を、第2軸受32および第1弾性部材36とは別体の部材に形成してもよい。具体的には、ストッパ部49は、ストッパ部材75に形成されている。ストッパ部材75は、合成樹脂または金属部材を用いて形成されている。ストッパ部材75は、環状に形成されており、ウォーム軸20を取り囲んでいる。
例えば、上記実施形態では、ストッパ部49を第2軸受32の外輪32b自体に設ける構成を説明したけれども、これに限定されない。図9に示すように、ストッパ部49を、第2軸受32および第1弾性部材36とは別体の部材に形成してもよい。具体的には、ストッパ部49は、ストッパ部材75に形成されている。ストッパ部材75は、合成樹脂または金属部材を用いて形成されている。ストッパ部材75は、環状に形成されており、ウォーム軸20を取り囲んでいる。
ストッパ部材75は、第2軸受32の外径部としての外輪32bに固定されており、第2軸受32とは対向方向B1に一体移動可能である。ストッパ部材75と外輪32bとの固定構造は特に限定されない。例えば、ストッパ部材75は、外周面に円環状のストッパ部49が形成されたストッパ部材本体75aと、ストッパ部材本体75aの一端面から突出し第2軸受32の外輪32bの内周面に固定された環状凸部75bとを含んでいる。ストッパ部材本体75aは、ハウジング70の規制部45に取り囲まれている。
第2軸受32は、ウォーム軸20の軸方向に関する位置が、第1弾性部材36の主体部37と略一致し、第1弾性部材36に対して電動モータ18側には突出していない。
この場合、第1弾性部材36と比べて、寸法のばらつきを格段に抑制できる樹脂部材または金属部材によって、ストッパ部49が形成されている。これにより、ウォーム軸20の可動量のばらつきを簡易且つ確実に抑制できる。なお、ストッパ部材75が樹脂部材の場合、外輪32bをストッパ部材75の射出成形時に金型にインサートしておき、外輪32bとストッパ部材75とを一体成形してもよい。
この場合、第1弾性部材36と比べて、寸法のばらつきを格段に抑制できる樹脂部材または金属部材によって、ストッパ部49が形成されている。これにより、ウォーム軸20の可動量のばらつきを簡易且つ確実に抑制できる。なお、ストッパ部材75が樹脂部材の場合、外輪32bをストッパ部材75の射出成形時に金型にインサートしておき、外輪32bとストッパ部材75とを一体成形してもよい。
また、図10に示すように、ストッパ部材75に代えて、ストッパ部材76を用いてもよい。ストッパ部材76は、摩擦係数の小さい合成樹脂部材または金属部材を用いて形成されている。ストッパ部材76は、ウォーム軸20の第2端部23の外周面に直接圧入固定されており、第2軸受32と対向方向B1に一体移動可能である。ストッパ部材76は、規制部45に取り囲まれている。ストッパ部材76の外周面にストッパ部49が形成されている。
さらに、第1弾性部材36は、各上記実施形態で説明した構成に限定されない。第1弾性部材36として、コイルばね等の他の弾性部材を用いてもよい。
また、継手として、第1係合部材51、第2係合部材52および第2弾性部材53を有する継手50を用いたけれども、これに限定されない。継手50に代えて、スプライン継手やセレーション継手等の他の継手を用いてもよい。
また、継手として、第1係合部材51、第2係合部材52および第2弾性部材53を有する継手50を用いたけれども、これに限定されない。継手50に代えて、スプライン継手やセレーション継手等の他の継手を用いてもよい。
1…電動パワーステアリング装置、18…電動モータ、19…ウォーム減速機、20…ウォーム軸、21…ウォームホイール、22…第1端部(ウォーム軸の一端)、23…第2端部(ウォーム軸の他端)、32…第2軸受、32b…外輪(外径部)、36…第1弾性部材(弾性部材)、37…主体部、39,40…弾性舌片、45…規制部、47…弾性部材の外周面、47a,47b…弾性舌片の外周面、49…ストッパ部、70…ハウジング、71b…第2収容孔部(孔部)、75,76…ストッパ部材、B1…対向方向(所定方向)、B2…対向方向の一方(付勢方向)、D1…中心間距離。
Claims (5)
- ウォーム軸およびウォームホイールを含むウォーム減速機を備え、電動モータの出力が前記ウォーム軸の一端から前記ウォーム減速機に入力される電動パワーステアリング装置において、
前記ウォーム軸の他端を回転可能に支持する軸受と、
前記ウォーム軸と前記ウォームホイールとの中心間距離が短くなる方向としての付勢方向に前記軸受を介して前記ウォーム軸の他端を弾性的に付勢する弾性部材と、
前記ウォーム減速機を収容するハウジングと、を備え、
前記ハウジングは、前記付勢方向への前記軸受の変位を規制可能な規制部を含み、
前記弾性部材とは別体に形成され前記軸受と前記付勢方向に一体移動可能なストッパ部材、または前記軸受に、前記規制部に当接可能なストッパ部が設けられていることを特徴とする電動パワーステアリング装置。 - 請求項1において、前記弾性部材は、前記軸受の外周に嵌合された有端環状の主体部と、この主体部から突出し前記ハウジングに弾性的に当接する弾性舌片と、を含んでいることを特徴とする電動パワーステアリング装置。
- 請求項2において、前記弾性部材の外周面うち、前記弾性舌片の外周面のみが前記ハウジングに当接していることを特徴とする電動パワーステアリング装置。
- 請求項1〜3の何れか1項において、前記ストッパ部材は、前記軸受の外径部に固定された樹脂部材または金属部材を含むことを特徴とする電動パワーステアリング装置。
- 請求項1〜4の何れか1項において、前記ハウジングは、前記軸受を前記付勢方向と平行な前記所定方向に変位可能に収容した孔部を含み、
前記孔部と前記規制部とは、前記軸受の軸方向に並んで配置されており、
前記軸受は、前記軸方向の位置が前記孔部および前記規制部の双方と重なっており、
前記ストッパ部は、前記軸受に設けられていることを特徴とする電動パワーステアリング装置。
Priority Applications (1)
| Application Number | Priority Date | Filing Date | Title |
|---|---|---|---|
| JP2010237523A JP2012086799A (ja) | 2010-10-22 | 2010-10-22 | 電動パワーステアリング装置 |
Applications Claiming Priority (1)
| Application Number | Priority Date | Filing Date | Title |
|---|---|---|---|
| JP2010237523A JP2012086799A (ja) | 2010-10-22 | 2010-10-22 | 電動パワーステアリング装置 |
Publications (1)
| Publication Number | Publication Date |
|---|---|
| JP2012086799A true JP2012086799A (ja) | 2012-05-10 |
Family
ID=46258882
Family Applications (1)
| Application Number | Title | Priority Date | Filing Date |
|---|---|---|---|
| JP2010237523A Pending JP2012086799A (ja) | 2010-10-22 | 2010-10-22 | 電動パワーステアリング装置 |
Country Status (1)
| Country | Link |
|---|---|
| JP (1) | JP2012086799A (ja) |
Cited By (5)
| Publication number | Priority date | Publication date | Assignee | Title |
|---|---|---|---|---|
| US20130025960A1 (en) * | 2010-04-13 | 2013-01-31 | Jtekt Corporation | Electric power steering system |
| JP2014019292A (ja) * | 2012-07-18 | 2014-02-03 | Jtekt Corp | アクチュエータユニット及びこれを備えた車両用操舵装置 |
| JP2016074071A (ja) * | 2014-10-08 | 2016-05-12 | 株式会社ジェイテクト | 挿入装置 |
| JP2016093047A (ja) * | 2014-11-10 | 2016-05-23 | アスモ株式会社 | 減速機付モータ |
| JP2016095030A (ja) * | 2012-11-06 | 2016-05-26 | 日本精工株式会社 | トルク伝達用継手および電動式パワーステアリング装置 |
Citations (6)
| Publication number | Priority date | Publication date | Assignee | Title |
|---|---|---|---|---|
| JPS5670222U (ja) * | 1979-11-05 | 1981-06-10 | ||
| JP2005254864A (ja) * | 2004-03-09 | 2005-09-22 | Favess Co Ltd | 電動パワーステアリング装置 |
| JP2005297824A (ja) * | 2004-04-13 | 2005-10-27 | Koyo Seiko Co Ltd | 電動パワーステアリング装置 |
| JP2006027368A (ja) * | 2004-07-13 | 2006-02-02 | Koyo Seiko Co Ltd | 電動パワーステアリング装置 |
| JP2006175891A (ja) * | 2004-12-20 | 2006-07-06 | Favess Co Ltd | 電動パワーステアリング装置 |
| JP2007270943A (ja) * | 2006-03-31 | 2007-10-18 | Nsk Ltd | ウォーム減速機及びこれを組み込んだ電動式パワーステアリング装置 |
-
2010
- 2010-10-22 JP JP2010237523A patent/JP2012086799A/ja active Pending
Patent Citations (6)
| Publication number | Priority date | Publication date | Assignee | Title |
|---|---|---|---|---|
| JPS5670222U (ja) * | 1979-11-05 | 1981-06-10 | ||
| JP2005254864A (ja) * | 2004-03-09 | 2005-09-22 | Favess Co Ltd | 電動パワーステアリング装置 |
| JP2005297824A (ja) * | 2004-04-13 | 2005-10-27 | Koyo Seiko Co Ltd | 電動パワーステアリング装置 |
| JP2006027368A (ja) * | 2004-07-13 | 2006-02-02 | Koyo Seiko Co Ltd | 電動パワーステアリング装置 |
| JP2006175891A (ja) * | 2004-12-20 | 2006-07-06 | Favess Co Ltd | 電動パワーステアリング装置 |
| JP2007270943A (ja) * | 2006-03-31 | 2007-10-18 | Nsk Ltd | ウォーム減速機及びこれを組み込んだ電動式パワーステアリング装置 |
Cited By (6)
| Publication number | Priority date | Publication date | Assignee | Title |
|---|---|---|---|---|
| US20130025960A1 (en) * | 2010-04-13 | 2013-01-31 | Jtekt Corporation | Electric power steering system |
| US8684127B2 (en) * | 2010-04-13 | 2014-04-01 | Jtekt Corporation | Electric power steering system |
| JP2014019292A (ja) * | 2012-07-18 | 2014-02-03 | Jtekt Corp | アクチュエータユニット及びこれを備えた車両用操舵装置 |
| JP2016095030A (ja) * | 2012-11-06 | 2016-05-26 | 日本精工株式会社 | トルク伝達用継手および電動式パワーステアリング装置 |
| JP2016074071A (ja) * | 2014-10-08 | 2016-05-12 | 株式会社ジェイテクト | 挿入装置 |
| JP2016093047A (ja) * | 2014-11-10 | 2016-05-23 | アスモ株式会社 | 減速機付モータ |
Similar Documents
| Publication | Publication Date | Title |
|---|---|---|
| JP5708981B2 (ja) | 電動パワーステアリング装置 | |
| JP5645070B2 (ja) | 電動パワーステアリング装置 | |
| JP6020893B2 (ja) | 電動パワーステアリング装置 | |
| JP4356485B2 (ja) | 電動パワーステアリング装置 | |
| JP4868215B2 (ja) | 電動パワーステアリング装置 | |
| US8684127B2 (en) | Electric power steering system | |
| CN102205850B (zh) | 动力转向装置 | |
| JP6007131B2 (ja) | 操舵角センサおよびこれを用いた電動パワーステアリング装置 | |
| JP4385286B2 (ja) | 電動パワーステアリング装置 | |
| JP2006175891A (ja) | 電動パワーステアリング装置 | |
| JP6164477B2 (ja) | 電動パワーステアリング装置 | |
| JP2004203154A (ja) | 電動式パワーステアリング装置 | |
| JP2005337489A (ja) | ウォームギヤ機構及びウォームギヤ機構を搭載した電動パワーステアリング装置 | |
| CN102398627A (zh) | 电动动力转向装置 | |
| JP4052218B2 (ja) | 電動パワーステアリング装置 | |
| JP2012086799A (ja) | 電動パワーステアリング装置 | |
| JP2006151352A (ja) | ステアリング装置 | |
| JP2008105649A (ja) | 電動パワーステアリング装置 | |
| JP2004034874A (ja) | 電動式パワーステアリング装置 | |
| JP2001322554A (ja) | 電動式舵取装置 | |
| JP5618146B2 (ja) | 電動パワーステアリング装置 | |
| JP7495174B2 (ja) | ウォーム減速機 | |
| JP5062465B2 (ja) | ステアリング装置 | |
| JP2004345444A (ja) | 電動パワーステアリング装置 | |
| US20160010740A1 (en) | Worm speed reducer and electric power steering system using the same |
Legal Events
| Date | Code | Title | Description |
|---|---|---|---|
| A621 | Written request for application examination |
Free format text: JAPANESE INTERMEDIATE CODE: A621 Effective date: 20130924 |
|
| A977 | Report on retrieval |
Free format text: JAPANESE INTERMEDIATE CODE: A971007 Effective date: 20140320 |
|
| A131 | Notification of reasons for refusal |
Free format text: JAPANESE INTERMEDIATE CODE: A131 Effective date: 20140417 |
|
| A02 | Decision of refusal |
Free format text: JAPANESE INTERMEDIATE CODE: A02 Effective date: 20140814 |