JP2012036070A - アセチレンを車輌上で熱分解する軽便水素製造装置 - Google Patents

アセチレンを車輌上で熱分解する軽便水素製造装置 Download PDF

Info

Publication number
JP2012036070A
JP2012036070A JP2010186611A JP2010186611A JP2012036070A JP 2012036070 A JP2012036070 A JP 2012036070A JP 2010186611 A JP2010186611 A JP 2010186611A JP 2010186611 A JP2010186611 A JP 2010186611A JP 2012036070 A JP2012036070 A JP 2012036070A
Authority
JP
Japan
Prior art keywords
reactor
hydrogen
vehicle
acetylene
thermal decomposition
Prior art date
Legal status (The legal status is an assumption and is not a legal conclusion. Google has not performed a legal analysis and makes no representation as to the accuracy of the status listed.)
Pending
Application number
JP2010186611A
Other languages
English (en)
Inventor
Tomoki Yamazaki
知機 山崎
Current Assignee (The listed assignees may be inaccurate. Google has not performed a legal analysis and makes no representation or warranty as to the accuracy of the list.)
NIPPON SUISO KK
Original Assignee
NIPPON SUISO KK
Priority date (The priority date is an assumption and is not a legal conclusion. Google has not performed a legal analysis and makes no representation as to the accuracy of the date listed.)
Filing date
Publication date
Application filed by NIPPON SUISO KK filed Critical NIPPON SUISO KK
Priority to JP2010186611A priority Critical patent/JP2012036070A/ja
Publication of JP2012036070A publication Critical patent/JP2012036070A/ja
Pending legal-status Critical Current

Links

Images

Classifications

    • YGENERAL TAGGING OF NEW TECHNOLOGICAL DEVELOPMENTS; GENERAL TAGGING OF CROSS-SECTIONAL TECHNOLOGIES SPANNING OVER SEVERAL SECTIONS OF THE IPC; TECHNICAL SUBJECTS COVERED BY FORMER USPC CROSS-REFERENCE ART COLLECTIONS [XRACs] AND DIGESTS
    • Y02TECHNOLOGIES OR APPLICATIONS FOR MITIGATION OR ADAPTATION AGAINST CLIMATE CHANGE
    • Y02EREDUCTION OF GREENHOUSE GAS [GHG] EMISSIONS, RELATED TO ENERGY GENERATION, TRANSMISSION OR DISTRIBUTION
    • Y02E60/00Enabling technologies; Technologies with a potential or indirect contribution to GHG emissions mitigation
    • Y02E60/30Hydrogen technology
    • Y02E60/50Fuel cells

Landscapes

  • Hydrogen, Water And Hydrids (AREA)
  • Fuel Cell (AREA)

Abstract

【課題】低圧の容器に大量の水素を保有する化合物を搭載し、これを車輌上で低温で加熱分解して、大量の水素を経済的に得るようにした車載式の小型水素発生装置の提供。
【解決手段】12気圧でアセトンなどの溶媒に、その300倍のアセチレンを溶解し、150lのアルミ製の軽量ボンベに30mを充填できるアセチレンを車載し、これを最高500℃で加熱分解し、大量の水素を低温で製造できることを特徴とする車載式超小型水素製造装置。
【選択図】なし

Description

本発明はアセチレンを加熱分解して水素を製造する装置に関するものである。
炭化水素を改質する水蒸気法、部分酸化法、自己熱法などは、いずれもCOを排出し、高耐熱炉を必要とし、発生HのなかにCOを含み、これが燃料電池での利用を妨げている。また生成した水素を車載する場合に、200〜300気圧に耐えるボンベが必要なため、重量が大きく、その割に積載できる水素の量が少なく実用化していない。
特許3844232号「水素製造方法及び水素製造装置」
特許4212312号「水素製造装置」
特許2838192号「炭化水素分解用触媒及び水素製造装置」
発明が解決しようとする課題
軽量のアルミボンベで大量の炭化水素が搭載でき、車載できる小型の分解反応装置でオンサイドに水素を発生させ、これを燃料電池の燃料として利用し、長時間の航続走行を可能にする。
課題を解決するための手段
水素の原料化合物として、アセトンに300倍量溶けるアセチレンを使用し、容器としてFRP強化のアルミボンベを使用して軽量化、大容量搭載をはかった。
またアセチレンは低温で無触媒で熱分解できるので、最高500℃の小型の熱分解反応装置を使用して、車両に搭載できるようにした。
発明の効果
この発明は、アセチレンという三重結合を有する特異な炭化水素化合物の性格から、低温での加熱分解ができ、そのうえ、アセトンなどの一般的な溶媒に、12気圧で300倍容という大量のアセチレンを溶解貯蔵することから、小型乗用車の一般的なLPGタンクに約30m程度の貯蔵ができる。小型熱分解反応器で同程度の水素が得られることからこれを燃料とする自動車は長時間の走行ができる。
発明を実施するための最良の状態
この発明は、大量のアセチレンを少量の溶媒を使って、低耐圧軽量の容器に貯えることを可能にし、このアセチレンを最高500℃の温度で車載規模の小型の熱分解反応器で、熱分解することを可能にし、更にアセチレンカーボンという高価な炭素を補集することは、技術的経済的に水素の利用を促進するものである。
水素を含む化合物のうち炭化水素は分子量の多いもの程、耐圧容器を必要としないが、いずれも加熱分解には高熱が必要で、車輌上で水素を生産することは困難である。
しかし、炭素原子間の結合で2重結合又は3重結合のある分子は極端に分解温度が低いという特徴がある。C化合物であるエタン、エテン、エチン(アセチレンのこと)のうちとりわけアセチレンは最高温度500℃までで水素と炭素に分解される。
アセチレンは溶媒たとえば、N−メチルピロリドン、ジメチルホルムアミド、ケロセン、またはアセトンなどに12気圧で、約300倍容の大量の溶解ができることから、12気圧用のFRPライニングのアルミボンベで、自動車用なら30mのアセチレンガスが収納できるという特徴がある。
この発明は、低耐圧のアルミ製軽量タンクに搭載された大量のアセチレンを車載の加熱分解反応器で加熱分解し、必要な量だけ純度の高い水素を自動車に供給するものである。
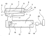
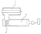
この発明の一例を図1に示す。円筒形の断熱材で覆われたアセチレンの加熱分解反応器1とその下部に発生ガスを冷却する水冷部2、発生ガスからカーボンを分離するカーボンフィルター部3の3部分から成っている。
図2は加熱分解反応器1の1例で、反応器の中心部に管状の加熱筒8があり、加熱筒はバーナー4より送られる火焔6で加熱される。加熱筒8はアセチレン導入口5より矢印7のように導入されたアセチレンを最高温度500℃に加熱し、アセチレンは、水素と炭素に分解される。
上述のように分解されたガスは矢印11のように、冷却室2に入り、常温にまで冷却される。
冷却された分解ガスは、フィルター室3に入り、耐熱フィルター12で炭素を補集し、水素はポンプ14によりボンベ15へ送る。加熱ガスのCOの発生を妨げるには、生成水素の一部をバーナーに送ることで実現できる。
本発明を下記の実施例により詳細に説明する
FRPライニングした低耐圧のアルミ150リットルボンベにアセトンと共に12気圧でアセチレン30mを充填し、車輌に積載した。同様に、この発明になる軽便水素製造装置も搭載し、前記アセチレンを約25℃、常圧で接続し同装置の熱分解反応器(流通管型反応器)の炉中に導入した。工程温度の最大値は500℃に制御される中をアセチレンは0、1秒以内の速度で通過させると、アセチレンは水素と炭素に分解された。この生成ガスを冷却し、炭素をフィルターを使って補集したところ、33kgの炭素と27,4mの水素を得た。水素は小型ポンプを使って圧縮し、貯留ボンベに収容した。
水素の純度は94%で他は未反応のアセチレンで、CO、COは含まれていない。未反応のアセチレンはアセトン液で洗浄すると、水素の純度はほぼ100%になることが確認された。
上述の実施例は、本発明のアセチレンの使用による炭化水素の車輌上での熱分解による水素の製造に適しており、特に原料炭化水素のアセチレンを低圧で大量に搭載可能である点と、低温で加熱分解できることは、炉の機械的強度を維持する点でも役立っている。
円筒形の加熱分解反応器と冷却器、炭素補集フィルターなどの断面図の接続全体部 加熱分解反応器の断面図
符号9:排気ガス、符号10:加熱器の排気口、符号17:分解ガスの流れ
符号18:分解ガスの流れ、符号19:水素ガスの流れ、符号20:水素の流れ

Claims (5)

  1. この発明は、アセチレンを出発原料とし、これを超小型の車載式加熱分解用反応器で、500℃を超えない温度で水素と炭素に分解し、水素を製造することを特徴とする車載用超小型水素発生器とした。
  2. 車載用水素発生装置では、出発原料化合物は、低圧で大容量の化合物の収納することが必要である。この発明は、アセチレンが12気圧で補助溶媒、N−メチルピロリドン、ジメチルホルムアミド、ケロセン、メタノール、またはアセトンに易溶で、アセチレンを300容倍、低圧の軽量アルミボンベに貯蔵、移動できることを特徴とし、請求項1に記載される方法が実施できる。
  3. 該発生装置の反応器を数個直列に接続して、前の反応器で発生した生成ガスの発熱で、あとの反応器の追加化合物を予熱し、吸熱反応等で減衰した熱量分を補うだけの加熱によって反応器の熱量を節約したかたちで加熱分解を行うと大量の請求項1に記載される方法が実施できる。
  4. 該反応器が噴射型反応器、再成反応器、熱交換器つき反応器または流通反応器、特に管型反応器である請求項1からのいずれかの1項に記載された方法。
  5. 該反応器の加熱は炭化水素のバーナーや、電熱線の発熱、アーク放電、並びに酸素原子を1個以上含む化合物との自己加熱法また、製造した水素の一部を利用した酸水素炎法を請求項第1項に記載された方法を含む。
JP2010186611A 2010-08-04 2010-08-04 アセチレンを車輌上で熱分解する軽便水素製造装置 Pending JP2012036070A (ja)

Priority Applications (1)

Application Number Priority Date Filing Date Title
JP2010186611A JP2012036070A (ja) 2010-08-04 2010-08-04 アセチレンを車輌上で熱分解する軽便水素製造装置

Applications Claiming Priority (1)

Application Number Priority Date Filing Date Title
JP2010186611A JP2012036070A (ja) 2010-08-04 2010-08-04 アセチレンを車輌上で熱分解する軽便水素製造装置

Publications (1)

Publication Number Publication Date
JP2012036070A true JP2012036070A (ja) 2012-02-23

Family

ID=45848486

Family Applications (1)

Application Number Title Priority Date Filing Date
JP2010186611A Pending JP2012036070A (ja) 2010-08-04 2010-08-04 アセチレンを車輌上で熱分解する軽便水素製造装置

Country Status (1)

Country Link
JP (1) JP2012036070A (ja)

Similar Documents

Publication Publication Date Title
Kojima et al. Recycling process of sodium metaborate to sodium borohydride
AU2007245431B2 (en) Process for preparing liquid hydrocarbons
JP2024524090A (ja) アンモニア分解プロセス
CN114315514B (zh) 一种二氧化碳加氢制甲醇的方法
KR101882813B1 (ko) 플라즈마 삼중 개질 반응기
US20220306462A1 (en) Method for producing highly pure hydrogen by coupling pyrolysis of hydrocarbons with electrochemical hydrogen separation
CN117534068B (zh) 一种将催化柴油转化为多孔炭的系统与方法
KR20240056511A (ko) 연료 전지를 작동하기 위해 메탄올 또는 암모니아로부터 고순도 수소를 얻는 방법 및 장치
CN107986232A (zh) 甲醇制取高纯度氢气的方法
CN112138728A (zh) 甲醇水重整反应制氢用铜基催化剂活化方法
KR102193200B1 (ko) 바이오가스의 열화학적 고질화 시스템
CN111204706A (zh) 一种利用h型水合物储氢的方法
CN112408323B (zh) 一种天然气制氢设备和方法
JP2012036070A (ja) アセチレンを車輌上で熱分解する軽便水素製造装置
US9334454B2 (en) Method for producing synthesis natural gas using straw gas
KR20140108461A (ko) 글라이딩 아크 플라즈마트론 및 이를 이용한 이산화탄소 저감 시스템
CN115850001B (zh) 二氧化碳联合碘化氢制备甲烷的方法及装置
JP2013001639A (ja) 触媒を用いてアセチレンを車輌上で熱分解する軽便水素製造装置
WO2017051610A1 (ja) 内燃機関
CN117142472A (zh) 一种联产多孔炭与碳纳米管的系统与方法
Jin et al. Ni@ S-1 facilitated efficient reduction of CO2-containing CO via chemical looping
JP2026502054A (ja) メタノール又はアンモニアから高純度水素を得るための方法及び装置
CN117960048A (zh) 甲醇制氢装置、甲醇制氢方法及制氢加氢系统
CN102897713B (zh) 一种甲醇水蒸气重整制氢设备及制氢方法
Sameer et al. Hydrogen production and utilization through electrochemical techniques