JP2012024976A - ラグ部材挿入装置及び加硫済みラグ部材のセット方法 - Google Patents

ラグ部材挿入装置及び加硫済みラグ部材のセット方法 Download PDF

Info

Publication number
JP2012024976A
JP2012024976A JP2010163932A JP2010163932A JP2012024976A JP 2012024976 A JP2012024976 A JP 2012024976A JP 2010163932 A JP2010163932 A JP 2010163932A JP 2010163932 A JP2010163932 A JP 2010163932A JP 2012024976 A JP2012024976 A JP 2012024976A
Authority
JP
Japan
Prior art keywords
lug
lug member
insertion device
center post
vulcanized
Prior art date
Legal status (The legal status is an assumption and is not a legal conclusion. Google has not performed a legal analysis and makes no representation as to the accuracy of the status listed.)
Granted
Application number
JP2010163932A
Other languages
English (en)
Other versions
JP5503443B2 (ja
Inventor
Kohei Irie
皓平 入江
Current Assignee (The listed assignees may be inaccurate. Google has not performed a legal analysis and makes no representation or warranty as to the accuracy of the list.)
Bridgestone Corp
Original Assignee
Bridgestone Corp
Priority date (The priority date is an assumption and is not a legal conclusion. Google has not performed a legal analysis and makes no representation as to the accuracy of the date listed.)
Filing date
Publication date
Application filed by Bridgestone Corp filed Critical Bridgestone Corp
Priority to JP2010163932A priority Critical patent/JP5503443B2/ja
Publication of JP2012024976A publication Critical patent/JP2012024976A/ja
Application granted granted Critical
Publication of JP5503443B2 publication Critical patent/JP5503443B2/ja
Expired - Fee Related legal-status Critical Current
Anticipated expiration legal-status Critical

Links

Images

Landscapes

  • Moulds For Moulding Plastics Or The Like (AREA)
  • Tyre Moulding (AREA)

Abstract

【課題】複数のラグ部材を一度に加硫モールドに挿入配置することが可能となるラグ部材挿入装置、及びこのラグ部材装置を用いた加硫済みラグ部材のセット方法を提供する。
【解決手段】本発明のラグ部材挿入装置は、タイヤの、上下の加硫モールド6間に配置され、両加硫モールドの閉作動に伴って、ラグタイヤの加硫済みラグ部材5を加硫モールド6のラグ形成溝6c内に挿入配置するに当たり、上下の伸長方向に付勢され、加硫モールド6の開閉作動に伴って伸縮変形されるセンターポスト2と、センターポスト2の上下の端部に一端をヒンジ連結され、他端部に契合爪を有する、上下に対をなす揺動アーム3と、センターポスト2の中間部から突設されて加硫モールド6の半径方向外方に向けて水平姿勢で付勢され、対となる揺動アーム3との協働下で、先端に加硫済みラグ部材5を付勢力に抗して掛合保持する押し込みロッド4とを具えてなる。
【選択図】図1

Description

本発明は、ラグタイヤを製造するに当たり、あらかじめ加硫を施した加硫済みラグ部材を用いる場合に使用される、加硫モールドに対するラグ部材の挿入装置、及びこのラグ部材挿入装置を用いた加硫済みラグ部材のセット方法に関するものである。
ラグタイヤを製造するに当たっては、各個のラグに対応する溝を設けた加硫モールドに生タイヤを装填し、型締め成形によって生タイヤのゴムを加硫モールドの溝内に流入させて、タイヤのトレッドにラグを突出形成することが広く一般に行われている(例えば特許文献1参照)。
特開2006−286177号公報
上記のようにして製造されるラグタイヤでは、生タイヤのゴムが加硫モールドの溝内に流入するに伴って、タイヤトレッドのラグの周辺部では、各ラグが大きな体積を占めるが故に、大きな変形が生じ、タイヤの表面に不要の凹凸が発生することがあり、また、ラグ周辺部のタイヤ内部では、カーカスプライやベルトによれが発生して、タイヤの性能に影響を与えることもあった。
このような問題に対応するものとして、あらかじめ加硫を施した加硫済みラグ部材を準備しておき、このラグ部材を加硫モールドのラグ形成溝内に挿入した後、生タイヤを加硫モールドに装入して加硫成形を行って、ラグ部材と生タイヤとを相互に結合させる方法が検討されている。これによれば、加硫モールドの溝内へのゴムの流れ込みは抑えられることになるが、各ラグ部材を所定の溝内に位置決め配置するに当たっては、加硫モールドの内側に手を入れる作業が必要となるという安全上の問題があり、また、ラグ部材を1個ずつ溝内に挿入することに時間がかかってしまうため作業性が悪く、さらに、ラグ部材の、加硫モールドへの手作業による挿入作業は、生タイヤと接合するラグ部材のベースに手が触れて汚れてしまい、接着力が低下して生タイヤとの結合が阻害される懸念もあったので、これらの問題を有効に解決することが望まれていた。
本発明の課題は、加硫モールド内に、作業者の手作業によらずに、加硫済みの複数のラグ部材を、所要の位置に所期した通りに自動的にセットすることができ、それゆえ、ラグ部材のベースに手が触れるおそれがなく、また複数のラグ部材を一度に、同時に位置決め配置することを可能とする、簡単な構造のラグ部材挿入装置、及びこのラグ部材装置を用いた加硫済みラグ部材のセット方法を提供することにある。
本発明は、タイヤの、上下の加硫モールド間に配置され、両加硫モールドの閉作動に伴って、ラグタイヤの加硫済みラグ部材を、加硫モールドのラグ形成溝内に挿入配置するラグ部材挿入装置であって、
上下の伸長方向に付勢され、前記加硫モールドの開閉作動に伴って伸縮変形されるセンターポストと、該センターポストの上下の端部に一端をヒンジ連結され、他端部に掛合爪を有する、上下に対をなす揺動アームと、該センターポストの中間部から突設されて該加硫モールドの半径方向外方に向けて水平姿勢で付勢され、該揺動アーム対との協働下で、先端に前記加硫済みラグ部材を付勢力に抗して掛合保持する押し込みロッドとを具えてなる、ラグ部材挿入装置である。
またこの装置では、センターポストの上部及び下部の少なくとも一方に配設されて、センターポストの中心軸線の周りに間隔をおいて複数配設したそれぞれの揺動アーム間に嵌まり込んで、揺動アームの相互間の角度間隔を特定する位置合わせ部材を設けることが好ましい。
ところで、前記押し込みロッドは、前記センターポストの中心軸線の周りに、上下方向に間隔をおく千鳥状に設けることが好ましい。
この発明の、加硫済みラグ部材のセット方法は、先に述べた何れかのラグ部材挿入装置を用いて、加硫済みラグ部材を加硫モールドの所定位置にセットするに当たり、
複数の加硫済みラグ部材を該ラグ部材挿入装置に装着し、次いで、該ラグ部材挿入装置を上下の加硫モールド間に配置し、その後、該加硫モールドの閉作動に伴って該ラグ部材挿入装置が保持する複数の加硫済みラグ部材を該加硫モールドのラグ形成溝内に挿入し、さらに、該ラグ部材挿入装置を、該加硫モールドの開放姿勢下で加硫モールドから取り出すにある。
この発明のラグ部材挿入装置では、特に、伸長方向に付勢される押し込みロッドの先端に揺動アーム対との協働下で、加硫済みラグ部材を、そのロッドの付勢力に抗して掛合保持した状態でラグ部材挿入装置を加硫モールド内に配置し、この加硫モールドを閉作動させることで、複数のラグ部材を、加硫モールドの所定の位置へ自動的に同時にかつ所期した通りに正確に挿入することができる。従ってこの装置によれば、個々のラグ部材を、作業者の手作業によらずにセットできるので、ラグ部材の取り付け作業性を改善させることができる。
またこの装置で、各揺動アームの間に嵌まり込んで、揺動アームの相互間の角度間隔を特定する位置合わせ部材を設けた場合は、加硫モールドの作動に基づいて装置が作用している間でも、揺動アームのがたつき等に起因する位置精度の低下を抑制することができる。従ってこれによれば、簡易な構造の下で、揺動アームの、経時的な精度低下をも含む各種の精度低下を有効に吸収することができる。
ここで、押し込みロッドをセンターポストの中心軸線の周りに、上下方向に間隔をおく千鳥状に設けた時は、ラグを、トレッド幅方向に左右交互の千鳥状配置とするラグタイヤにあっても、ラグ部材を一度に挿入することができる。従ってこの装置によれば、押し込みロッド高さが異なる複数の装置によらず、1つの装置で、全ての加硫済み部材を一度に挿入することができる。
さらにこの装置を用いて加硫済みラグ部材を加硫モールドの所定位置にセットするに当たっては、複数の加硫済みラグ部材を装着したラグ部材挿入装置を、加硫モールド間に配置して加硫モールドを閉作動させるだけで、それらの各ラグ部材を所定の位置へ自動的に挿入することができる。従ってこの装置によれば、加硫モールドの内側に作業者が手を入れる必要がなくなり、ラグ部材の挿入作業を安全に行うことができるとともに、複数のラグ部材を、一度に、所期した通りに正確に位置決め配置することができる。
本発明にしたがうラグ部材挿入装置の実施の形態を示す、装置中央における断面図である。 図1に示すラグ部材挿入装置の平面図である。 図1に示すラグ部材の保持部分を示した要部拡大図である。 図1に示すラグ部材挿入装置を加硫モールドに配置した状態を示す略線断面図である。 図1に示すラグ部材挿入装置を上下方向に押し込み変形させた状態を示す図である。 図5に示す場合の、ラグ部材の保持部分を示す要部拡大図である。 加硫モールドを閉めてラグ部材を加硫モールドのラグ形成溝内に押し込む状態を示す図である。 本発明にしたがうラグ部材挿入装置の他の実施の形態を示す図であり、(a)は位置合わせ部材の斜視図であり、(b)は位置合わせ部材をラグ部材挿入装置の上部に配置した状態を示す図であり、(c)は位置合わせ部材を破線で表して、ラグ部材挿入装置との関係を示した平面図である。
以下、図面を参照して、本発明をより具体的に説明する。
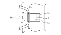
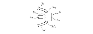
図1に示すところにおいて、1は、ラグ部材挿入装置の全体である。ラグ部材挿入装置1は、その中央に起立するセンターポスト2と、センターポスト2の上下の端部に一端をヒンジ連結され、他端部に掛合爪を有する、上下に対をなす揺動アーム3の複数対と、センターポスト2の中間部から水平方向に突出させて設けた押し込みロッド4とを具えている。対をなす揺動アーム3の掛合爪と押し込みロッド4との間には、後述するようにして、加硫済みのラグ部材5を保持することができる。
センターポスト2は、上下方向に伸縮するテレスコピックとなっており、さらに伸長方向に付勢力を有している。具体的な構造は、例えば図1に示すように、上部先端に先端ロッド2aを設け、この先端ロッド2aから下方に向けて筒体2b乃至2eを順に配置する。先端ロッド2aの下端には、先端ロッド2aの中間部よりも大径となる抜け止めストッパー2aが設けられている。抜け止めストッパー2aの外側は、筒体2bで取り囲まれており、筒体2bの下端にはこの筒体2bよりも大径となる底壁2bが設けられ、筒体2bの上端には、中央に先端ロッド2aの中間部が貫通する孔を形成した天壁2bが設けられている。また抜け止めストッパー2aと底壁2bとの間には、ばねSが設けられており、先端ロッド2aは、上下に摺動可能であるとともに上方へ向けて常時付勢されている。筒体2c、2d、2eも、筒体2bと同様の構成で配置されており、さらに筒体2eの下方には、上記2a乃至2eと対称となるように、2a´乃至2e´が設けられている。
揺動アーム3は、上下に対をなして配置されており、上部に位置する上側揺動アーム3aの一端である支持部3aを、先端ロッド2aの上端フランジにヒンジ連結し、下部に位置する下側揺動アーム3a´の一端である支持部3a´を、先端ロッド2a´の下端フランジにヒンジ連結している。また例えば、上側揺動アーム3a及び下側揺動アーム3a´は、互いに近づく向き(図1に示す矢印の向き)に付勢力を受けている。付勢力の付与は、例えば支持部3a及び3a´の近傍に、ねじりばねや、ひげばね、板ばね等を設けることで実現される。また上側揺動アーム3a及び下側揺動アーム3a´の他端には、それぞれ鉤状の掛合爪3a及び3a´が設けられており、ラグ部材挿入装置1の初期姿勢(センターポスト2が伸びた姿勢)において、それぞれ下方及び上方に延びている。図2に示すように揺動アーム3は、センターポスト2を中心として、放射状に複数(図示の例では12本)設けられている。
押し込みロッド4は、センターポスト2の中間部より、半径方向外方に向けて水平姿勢でもって突設された、水平方向に伸縮するテレスコピックとなっており、さらに伸長方向に付勢力を有している。具体的な構造は、センターポスト2と同様の構成とすることができ、例えば図1に示すように、押し込みロッド4の半径方向最も外方の先端ロッド4aから筒体4eに至るまで、相互間にばねSを配置し、互いを摺動可能に、かつ半径方向外方に向けて常時付勢させている。ここで、押し込みロッド4のばねS全体の付勢力は、センターポスト2のばねS全体の付勢力に対して小さくなっている。このため、図1に示す初期姿勢においては、センターポスト2は伸びた状態となっている一方、押し込みロッド4は、縮んだ状態となっている。また、図2に示すように押し込みロッド4は、揺動アーム3と同様に、センターポスト2を中心として、放射状に複数(図示の例では12本)設けられている。
ラグ部材5は、ラグタイヤのラグに相当するラグ本体5aと、ラグ部材5と生タイヤとの接合部となるベース5bからなり、ベース5bがラグ本体5aからフランジ状に突出している。図1に示す初期姿勢の状態で、ラグ部材5は、図3に詳細に示すように、ベース5bの裏面(ラグ本体5aが突出する側とは反対の面)が、先端ロッド4aの先端フランジ部と当接して、半径方向外方に向かう付勢力が付与されている一方、ベース5bの表面に、揺動アーム3の掛合爪3a及び3a´が、先端ロッド4aの伸長方向と略直交する向きに掛合してこの付勢力に抗しており、先端ロッド4aと掛合爪3a及び3a´の間で保持されている。
ラグ部材挿入装置1を用いて加硫済みラグ部材のセットを行うに当たっては、まずラグ部材挿入装置1に所定の数のラグ部材5を保持しておき、このラグ部材挿入装置1を、例えばローダー等の作用によって、図4に示すように、加硫モールド6の上型6aと下型6bの間に、位置決め配置する。その後加硫モールド6を閉じていくと、ラグ部材挿入装置1のセンターポスト2が縮んでいき、ラグ部材5は、押し込みロッド4の内蔵ばねの付勢力に基づいて、加硫モールド6の半径方向外方へ移動していく。さらに加硫モールド6を閉じると、図5に示すように、センターポスト2は収縮変形し、これに連動して、揺動アーム3は水平方向に近づく向きに揺動し、揺動アーム3の各掛合爪3a、3a´の鉤状先端は、半径方向外方に向けて変位する。このときラグ部材5は、押し込みロッド4に押されて、掛合爪3a、3a´とともに半径方向外方に向けて変位し、図6に示すように、掛合爪3a、3a´それ自体が、先端ロッド4aの伸長方向と平行に近づく向きに傾いていく。このため掛合爪3a、3a´が、さらに平行に近づいていくと、押し込みロッド4の付勢力を阻止することができず、ラグ部材5は、図7に示すように揺動アーム3から外れ、押し込みロッド4によってそれぞれのラグ形成溝6c内に押し込まれる。次いで加硫モールド6を開き、ラグ部材挿入装置1を加硫モールド6からローダー等で取り出し、ラグ部材5のセットが完了する。しかる後は、加硫モールド6内に生タイヤを装入し、ラグタイヤ全体の加硫を行って、ラグ部材5を生タイヤに一体連結させてなる製品タイヤとする。これにより、加硫モールド6に手を入れる必要がなくなり、それ故ラグ形成溝6cへの取り付け時に、ラグ部材5のベース5bに手が触れるおそれがなくなる。さらに複数のラグ部材5を、ラグ形成溝6cに一度に配置することが可能となる。
ラグ部材挿入装置1を上述したように機能させるに当たっては、図8(a)に示す、位置合わせ部材7を設けてなることが好ましい。図示のように位置合わせ部材7は、基部7aが複数の突起7bを具えており、この位置合わせ部材7は、所定の位置、方向等の特定下で、センターポスト2の上部及び下部の少なくとも一方に配置される。このとき突起7bは、図8(b)、(c)に示すように、隣り合う揺動アーム3の相互間に嵌まり込んで、角度間隔が特定される。このため、装置に経時的な誤差等が発生しても揺動アーム3のがたつきが抑制され、確実に周方向の位置決めを行うことができる。位置合わせ部材7を、上部及び下部の両方に配置する場合は、より確実に位置決めを行うことができる。
ところで、現実のラグタイヤのラグの形成態様を考慮したときは、押し込みロッド4を、センターポスト2の軸周りに、上下に間隔をおく千鳥状に設けることが好ましい。ラグを、トレッド幅方向に左右交互の千鳥状配置とするラグタイヤに対しても、押し込みロッド高さの異なる複数のラグ部材挿入装置1を用いることなく、1つのラグ部材挿入装置1によってラグ部材5を挿入することができる。
なお、揺動アーム3は、センターポスト2とのヒンジ連結に代えてセンターポスト2と固着させて、片持ちばりとして機能するようにしてもよい。
また、図示の例でセンターポスト2及び押し込みロッド4は、複数のばねを用いた場合を示したが、例えば筒体2bの底壁2bをはじめとする各中間の筒体の底壁に、ばねを通す穴を設け、先端から根元まで延びる1本のばねで付勢力を与えるようにしてもよい。
1 ラグ部材挿入装置
2 センターポスト
3 揺動アーム
4 押し込みロッド
5 ラグ部材
5a ラグ本体
5b ベース
6 加硫モールド
6a 上型
6b 下型
6c ラグ形成溝
7 位置合わせ部材
7a 基部
7b 突起
ばね
ばね

Claims (4)

  1. タイヤの、上下の加硫モールド間に配置され、両加硫モールドの閉作動に伴って、ラグタイヤの加硫済みラグ部材を、加硫モールドのラグ形成溝内に挿入配置するラグ部材挿入装置であって、
    上下の伸長方向に付勢され、前記加硫モールドの開閉作動に伴って伸縮変形されるセンターポストと、該センターポストの上下の端部に一端をヒンジ連結され、他端部に掛合爪を有する、上下に対をなす揺動アームと、該センターポストの中間部から突設されて該加硫モールドの半径方向外方に向けて水平姿勢で付勢され、該揺動アーム対との協働下で、先端に前記加硫済みラグ部材を付勢力に抗して掛合保持する押し込みロッドとを具えてなる、ラグ部材挿入装置。
  2. センターポストの上部及び下部の少なくとも一方に配設されて、センターポストの中心軸線の周りに間隔をおいて複数配設したそれぞれの揺動アーム間に嵌まり込んで、揺動アームの相互間の角度間隔を特定する位置合わせ部材を設けてなる請求項1記載のラグ挿入装置。
  3. 前記押し込みロッドを、前記センターポストの中心軸線の周りに、上下方向に間隔をおく千鳥状に設けてなる請求項1又は2記載のラグ部材挿入装置。
  4. 請求項1〜3の何れかに記載のラグ部材挿入装置を用いた加硫済みラグ部材のセット方法であって、
    複数の加硫済みラグ部材を該ラグ部材挿入装置に装着し、次いで、該ラグ部材挿入装置を上下の加硫モールド間に配置し、その後、該加硫モールドの閉作動に伴って該ラグ部材挿入装置が保持する複数の加硫済みラグ部材を該加硫モールドのラグ形成溝内に挿入し、さらに、該ラグ部材挿入装置を、該加硫モールドの開放姿勢下で加硫モールドから取り出す、加硫済みラグ部材のセット方法。
JP2010163932A 2010-07-21 2010-07-21 ラグ部材挿入装置及び加硫済みラグ部材のセット方法 Expired - Fee Related JP5503443B2 (ja)

Priority Applications (1)

Application Number Priority Date Filing Date Title
JP2010163932A JP5503443B2 (ja) 2010-07-21 2010-07-21 ラグ部材挿入装置及び加硫済みラグ部材のセット方法

Applications Claiming Priority (1)

Application Number Priority Date Filing Date Title
JP2010163932A JP5503443B2 (ja) 2010-07-21 2010-07-21 ラグ部材挿入装置及び加硫済みラグ部材のセット方法

Publications (2)

Publication Number Publication Date
JP2012024976A true JP2012024976A (ja) 2012-02-09
JP5503443B2 JP5503443B2 (ja) 2014-05-28

Family

ID=45778521

Family Applications (1)

Application Number Title Priority Date Filing Date
JP2010163932A Expired - Fee Related JP5503443B2 (ja) 2010-07-21 2010-07-21 ラグ部材挿入装置及び加硫済みラグ部材のセット方法

Country Status (1)

Country Link
JP (1) JP5503443B2 (ja)

Cited By (1)

* Cited by examiner, † Cited by third party
Publication number Priority date Publication date Assignee Title
JP2013000971A (ja) * 2011-06-16 2013-01-07 Bridgestone Corp タイヤ加硫装置

Citations (3)

* Cited by examiner, † Cited by third party
Publication number Priority date Publication date Assignee Title
JPS60184831A (ja) * 1984-03-03 1985-09-20 Ohtsu Tire & Rubber Co Ltd ラグ付空気タイヤの製造方法
JPH08207056A (ja) * 1995-02-07 1996-08-13 Bridgestone Corp 加硫金型を清浄するプラズマ生成装置及びその電極
JP2006088664A (ja) * 2004-09-27 2006-04-06 Bridgestone Corp ゴムクロ−ラの製法

Patent Citations (3)

* Cited by examiner, † Cited by third party
Publication number Priority date Publication date Assignee Title
JPS60184831A (ja) * 1984-03-03 1985-09-20 Ohtsu Tire & Rubber Co Ltd ラグ付空気タイヤの製造方法
JPH08207056A (ja) * 1995-02-07 1996-08-13 Bridgestone Corp 加硫金型を清浄するプラズマ生成装置及びその電極
JP2006088664A (ja) * 2004-09-27 2006-04-06 Bridgestone Corp ゴムクロ−ラの製法

Cited By (1)

* Cited by examiner, † Cited by third party
Publication number Priority date Publication date Assignee Title
JP2013000971A (ja) * 2011-06-16 2013-01-07 Bridgestone Corp タイヤ加硫装置

Also Published As

Publication number Publication date
JP5503443B2 (ja) 2014-05-28

Similar Documents

Publication Publication Date Title
EP3284625B1 (en) Fuel tank
US9046445B2 (en) Rim assembly, tire testing machine, and rim assembly replacement method
BRPI0917296B1 (pt) Método e dispositivo para transferir e colocar talões de pneus e espaçador a ser usado com os mesmos
JP2015511849A5 (ja)
JP5503443B2 (ja) ラグ部材挿入装置及び加硫済みラグ部材のセット方法
CN103373186A (zh) 用于轮胎拆除机器的轮胎拆除工具和轮胎拆除机器
US20120061028A1 (en) Working tool orienting device in tire demounting machine
CN106715068A (zh) 轮胎安装机
US10150242B2 (en) Mold for container with handle
US20150144273A1 (en) Device for demounting a tired wheel as well as a machine including such device
PT2155464E (pt) Dispositivo de extração do molde para desenformar uma ferramenta de um molde
CN102712151B (zh) 加压硫化机
WO2015118649A1 (ja) タイヤ支持装置、タイヤ冷却システム
CN206034130U (zh) 一种晾衣架升降连接固定机构
BR202017022646U2 (pt) Placa de apoio de suporte para uma mola em uma suspensão de veículo
JP5149067B2 (ja) ターンアップ装置
JP2002284057A (ja) フロントエンドモジュール取付装置および取付方法
EP2832560B1 (en) Puncture coping wheel
CN109129272B (zh) 一种执手锁装配的夹具结构
JP6281643B2 (ja) タイヤ加硫用ブラダ組立体の製造方法および装置
KR20180052199A (ko) 와이어 권취용 보빈
JP4416326B2 (ja) 垂直軸線を有するタイヤカーカス用懸架装置
CN205499077U (zh) 发动机盖撑杆的固定结构
CN217941574U (zh) 汽车消音器锥体模具
CN111386182A (zh) 用于包覆成型玻璃板和嵌件的装置和方法,以及由所述装置和所述方法使用的嵌件

Legal Events

Date Code Title Description
A621 Written request for application examination

Free format text: JAPANESE INTERMEDIATE CODE: A621

Effective date: 20130618

A977 Report on retrieval

Free format text: JAPANESE INTERMEDIATE CODE: A971007

Effective date: 20140205

TRDD Decision of grant or rejection written
A01 Written decision to grant a patent or to grant a registration (utility model)

Free format text: JAPANESE INTERMEDIATE CODE: A01

Effective date: 20140212

A61 First payment of annual fees (during grant procedure)

Free format text: JAPANESE INTERMEDIATE CODE: A61

Effective date: 20140314

R150 Certificate of patent or registration of utility model

Ref document number: 5503443

Country of ref document: JP

Free format text: JAPANESE INTERMEDIATE CODE: R150

R250 Receipt of annual fees

Free format text: JAPANESE INTERMEDIATE CODE: R250

R250 Receipt of annual fees

Free format text: JAPANESE INTERMEDIATE CODE: R250

R250 Receipt of annual fees

Free format text: JAPANESE INTERMEDIATE CODE: R250

R250 Receipt of annual fees

Free format text: JAPANESE INTERMEDIATE CODE: R250

LAPS Cancellation because of no payment of annual fees