JP2012024921A - ギロチン式クロップシャー用上刃 - Google Patents

ギロチン式クロップシャー用上刃 Download PDF

Info

Publication number
JP2012024921A
JP2012024921A JP2011202579A JP2011202579A JP2012024921A JP 2012024921 A JP2012024921 A JP 2012024921A JP 2011202579 A JP2011202579 A JP 2011202579A JP 2011202579 A JP2011202579 A JP 2011202579A JP 2012024921 A JP2012024921 A JP 2012024921A
Authority
JP
Japan
Prior art keywords
blade
rake angle
straight
upper blade
cutting
Prior art date
Legal status (The legal status is an assumption and is not a legal conclusion. Google has not performed a legal analysis and makes no representation as to the accuracy of the status listed.)
Granted
Application number
JP2011202579A
Other languages
English (en)
Other versions
JP5440578B2 (ja
Inventor
Tetsushi Shoji
哲史 小路
Yukio Fujii
幸生 藤井
Kazuo Fujii
和夫 藤井
Keitoku Yuge
佳徳 弓削
Hiromasa Hayashi
宏優 林
Current Assignee (The listed assignees may be inaccurate. Google has not performed a legal analysis and makes no representation or warranty as to the accuracy of the list.)
JFE Steel Corp
Original Assignee
JFE Steel Corp
Priority date (The priority date is an assumption and is not a legal conclusion. Google has not performed a legal analysis and makes no representation as to the accuracy of the date listed.)
Filing date
Publication date
Application filed by JFE Steel Corp filed Critical JFE Steel Corp
Priority to JP2011202579A priority Critical patent/JP5440578B2/ja
Publication of JP2012024921A publication Critical patent/JP2012024921A/ja
Application granted granted Critical
Publication of JP5440578B2 publication Critical patent/JP5440578B2/ja
Anticipated expiration legal-status Critical
Expired - Lifetime legal-status Critical Current

Links

Images

Landscapes

  • Accessories And Tools For Shearing Machines (AREA)
  • Shearing Machines (AREA)

Abstract

【課題】ギロチン式クロップシャーの上刃およびその製造方法を提供する。
【解決手段】刃幅W方向に屈折点cを挟んで、連続する二つの直刃11、12の、刃元14側の直刃11のレーキ角θ1を刃先15側の直刃12のレーキ角θ2より大きくする。
【選択図】図1

Description

本発明は、ギロチン式クロップシャーの上刃に関し、特に切断能力に優れ、高強度鋼の切断に好適なものに関する。
厚板工場では、鋼板の幅方向の両端部をサイドシャーで切断後、長手方向の両端部をギロチン式クロップシャーで切り落として矩形とする。
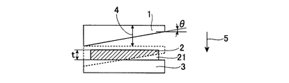
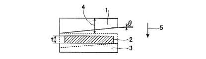
図6はギロチン式クロップシャーの構造を模式的に示し、門型ハウジング(図では省略)の内部で、上方に吊り上げた、レーキ角θを有する上刃1と下刃3の間に載置した鋼板2に、上刃1を落下(落下方向:矢印5)させて剪断する。
鋼板用ギロチン式クロップシャーのレーキ角θは一般に0.5〜5°のものが使用されている。
ギロチン式クロップシャーでは、上方に吊り上げた上刃1と下刃3の間隔は、鋼板2の全厚tを剪断するのに十分なストローク4が得られるように設定される。
ギロチン式クロップシャーの切断力は、上刃1の被切断材への押し付け力と上刃1のレーキ角θに依存し、硬くて厚い等難切断材料を切断する場合は、押し付け力を増大させるか、レーキ角θを大きくする。
押し付け力の増大は上刃の駆動装置の増強や門型フレームの補強が必要で大掛かりな設備工事となるため容易に実施できない。
レーキ角を大きくする場合、1.上刃自体の大きさ(刃基での刃先高さ)は従来のままとし、レーキ角のみを大きくする、2.上刃もレーキ角も大きくすることによる。
しかし、既設の装置において、上刃の大きさを変えずにレーキ角のみを大きくする方法は、図7に示すように鋼板の板厚tによっては、刃先においてストローク4が不足して切り残し部21が発生する。
また、上刃もレーキ角も大きくする方法は図8に示すように、鋼板2の板厚tによっては、上刃1を吊り上げた状態においても、刃元に接触する部分22が発生し、切断のため、鋼板2を上刃の下に移動させることができない。
特許文献1は、レーキ角を大きくして、切断力を向上させた厚鋼板用剪断機に関し、ギロチン式クロップシャーにおいて上刃のレーキ角を、中央部は一定で、両端部にかけて大きくし刃先の幅方向の形状を略鍋底状とする、切断時の門型フレームへの負荷を減少させる厚鋼板用剪断機が記載されている。
実開平2−7911号公報
ところで、ギロチン式クロップシャーにおいて上刃は消耗品で、適宜新品と交換される。例えば、鉄鋼メーカーの厚鋼板製造分野では約4週間に1回の頻度で実施される。
一方、厚板需要分野では、ラインパイプ材でAPI規格X120鋼の商用試作生産も開始される等、鋼材の高強度化が進展し、剪断作業への負荷は増大する傾向で、剪断能力の向上が要望されている。
従って、既設のギロチン式クロップシャーの切断能力を向上させ、且つ製造が容易で安価に入手できる交換用上刃への要望は強いところ、特許文献1記載の厚鋼板用剪断機に用いられる上刃は形状が複雑で生産性に劣ること、及び複雑な形状のため、既存の設備で、切断できる鋼板寸法への影響が懸念される。
そこで、本発明は、製造が容易で切断力に優れる上刃およびその製造方法を提供することを目的とする。
本発明者等は、直線状の刃(以下、直刃)を有する上刃を用いるギロチン式クロップシャーの切断では切断荷重のピークが、切断初期に発生し、その後低下することに着目し、上刃のうち、切断初期を受け持つ領域の刃先のレーキ角を大きくする着想を得た。
本発明の課題は以下の手段により達成可能である。
1.刃幅方向に屈折点を挟んで、連続する二つの直刃の、刃元側の直刃のレーキ角が刃先側の直刃のレーキ角より大きいギロチン式クロップシャー用上刃。
2.刃幅方向に屈折点を挟んで、連続する二つの直刃の、刃元側の直刃のレーキ角が刃先側の直刃のレーキ角より大きいギロチン式クロップシャー用上刃の平面形状を前記刃先側のレーキ角を有する単一の直刃からなる上刃の平面形状から求める方法であって、予め、前記刃先側のレーキ角を有する単一の直刃からなる上刃の切断で尖頭荷重が発生する食い込み量を求め、前記上刃の平面形状において前記食い込み量と前記レーキ角の関係から求めた屈折点を前記上刃の直刃上に設け、前記屈折点から刃元側の直刃のレーキ角は、前記上刃の単一のレーキ角を有する直刃とし、前記屈折点から、前記上刃の平面形状の外側に前記レーキ角より大きい角度のレーキ角を有する直刃を設けて刃幅方向に屈折点を挟んで、連続する二つの直刃の、刃元側の直刃のレーキ角が刃先側の直刃のレーキ角より大きいギロチン式クロップシャー用上刃の平面形状とすることを特徴とするギロチン式クロップシャー用上刃の平面形状の決定方法。
.刃幅方向に複数の屈折点を挟んで、連続する直刃を有するギロチン式クロップシャー用上刃であって、各直刃のレーキ角が、刃元側の直刃から刃先側の直刃にかけて逐次減少することを特徴とするギロチン式クロップシャー用上刃。
本発明によれば,以下の効果が得られ産業上極めて有用である。
1.既存設備の切断において、切断時の尖頭荷重が小さくなるので、切断時にフレームと刃先に作用する反力が低下し、設備寿命と上刃寿命が延長する。
2.切断時の尖頭荷重が小さくなるので、既存設備で、より高強度の鋼材の切断が可能で、更に、刃先が2段に屈折した形状のため、切断可能寸法を変更する必要がない。
3.既存設備より小型で、既存設備と同じ切断能力を備えた設備が可能である。
本発明例。 本発明例。 切断荷重と食い込み量の関係を示す図。 食い込み量と切断材の板厚の関係を示す図。 切断荷重における尖頭荷重と定常最大荷重の関係を示す図。 従来例。 従来例。 従来例。
図3は、ギロチン式クロップシャーの切断における、鋼材への食い込み量と切断荷重の関係を模式的に示す図で、ギロチン式クロップシャーの切断荷重は、切断の初期において、最初のピーク値(以下、尖頭荷重)に達した後、次第に安定して定常最大荷重となる。図5は尖頭荷重/定常最大荷重比と切断荷重の関係を示す図で、図より、定常最大荷重は、尖頭荷重の約80〜45%である。
図4は尖頭荷重が発生する際の食い込み量と材料板厚の関係を示す図で、食い込み量が板厚の約30〜80%となると尖頭荷重が発生する。
本発明では、尖頭荷重を低減するように、切断初期に、材料に食い込む刃のレーキ角を、尖頭荷重が生じた後に材料に新たに食い込みはじめる刃のレーキ角より大きくすることを特徴とする。
図1は、本発明に係る上刃の形状を模式的に説明する上面図で、図において1は上刃、11、12は直刃、13は背、14は刃元、15は刃先、hは刃元における刃面高さ、hは刃先における刃面高さ、hは屈折点における刃面高さを示す。
上刃1は刃幅Wの方向に屈折点cを挟んで、連続する二つの直刃11、12を有し、刃元側の直刃11のレーキ角θが刃先側の直刃12のレーキ角θより大きい。
切断初期は、刃元側の直刃11が受けもつので、刃先側の直刃12と同じレーキ角θの直刃からなる上刃で切断する場合と比較して、尖頭荷重が減少する。以下、図1に示す上刃形状を決定する手順について、図2を用いて具体的に説明する。
図2はレーキ角θの単一の直刃からなる上刃(以下、レーキ角θの直刃からなる上刃)にレーキ角θ1の直刃を付加した外観形状をXY座標軸上において示す図で、図において1´はレーキ角θの直刃12からなる上刃で、四周部をA,B,C,Dとする。
手順1:レーキ角θの直刃からなる上刃1´で、図3に一例を示した上刃の食い込み量と切断荷重の関係を求め、尖頭荷重経過後、切断荷重が当該尖頭荷重の80〜45%となる上刃の食い込み量dを求める。
次に、尖頭荷重を当該尖頭荷重の80〜45%の大きさの切断荷重まで低減させるため、直刃12において、切断開始から尖頭荷重が発生するまでの切断を受け持つ部分のレーキ角をレーキ角θより大きくする。
レーキ角θの直刃からなる上刃1´で尖頭荷重が発生する際の食い込み量をdとすると、鋼板表面における、鋼板端部からの切断長さはd/tanθとなるので、図2に示す幾何学的関係を用いて屈折点Eの位置が特定される。
手順2:XY座標上に、レーキ角θの直刃12からなる上刃1´の形状を、刃元側の端部14´をY軸、その先端部Bを原点としてプロットし、前記直刃12の刃上においてd/tanθがX座標となる点を屈折点Eとする。
手順3:手順2で得られた屈折点Eからレーキ角θの直線を引き、Y軸との交点を、刃元側の端部14´の新たな先端部B´とする。
手順4:手順3で求めた先端部B´と屈折点Eを結んだ直線を刃元側の直刃11、屈折点Eから刃先先端部Cを結んだ直線を刃先側の直刃12とする。
尚、屈折点から刃元側の直刃のレーキ角θは刃先側の直刃のレーキ角θより大きければ良く特に規定しない。但し、レーキ角θが大きすぎると、鋼材に未切断領域が発生するので、切断する鋼材寸法に応じて適宜決定することが必要である。
尚、図4に示すように食い込み量が板厚の約30〜80%となると尖頭荷重が発生するので、屈折点cにおける刃面高さhは、幾何学的関係より求まる下式を満たすように設定することも可能である。但しθは、刃先側の直刃のレーキ角をθとする。
(刃先での刃面高さh+刃幅W×tanθ)−0.8×切断する鋼材の板厚t≦h≦(刃先での刃面高さh+刃幅W×tanθ)−0.3×切断する鋼材の板厚t
上刃の幅が切断する鋼材の幅Wより広い場合は、鋼材の幅Wの部分について刃先形状を求めた後、幅方向にレーキ角に沿って延長する。
以上の説明では、屈折点が一つの場合について述べたが、更に刃元側の直刃に屈折点を設け、刃元側から刃先側にかけて逐次レーキ角が小さくなるようにすると、切断初期における切断荷重の上昇がなだらかとなり、表面性状に優れる切断面が得られ好ましい。
1 上刃
11、12 直刃
13 背
14 刃元
15 刃先
切断材(鋼材)
21 未切断部
22 接触部
3 下刃
4 ストローク
5 圧下方向
刃元高さ
刃先高さ
屈折点における刃の高さ
θ、θ、θ レーキ角

Claims (3)

  1. 刃幅方向に屈折点を挟んで、連続する二つの直刃の、刃元側の直刃のレーキ角が刃先側の直刃のレーキ角より大きいギロチン式クロップシャー用上刃。
  2. 刃幅方向に屈折点を挟んで、連続する二つの直刃の、刃元側の直刃のレーキ角が刃先側
    の直刃のレーキ角より大きいギロチン式クロップシャー用上刃の平面形状を前記刃先側のレーキ角を有する単一の直刃からなる上刃の平面形状から求める方法であって、予め、前記刃先側のレーキ角を有する単一の直刃からなる上刃の切断で尖頭荷重が発生する食い込み量を求め、前記上刃の平面形状において前記食い込み量と前記レーキ角の関係から求めた屈折点を前記上刃の直刃上に設け、前記屈折点から刃元側の直刃のレーキ角は、前記上刃の単一のレーキ角を有する直刃とし、前記屈折点から、前記上刃の平面形状の外側に前記レーキ角より大きい角度のレーキ角を有する直刃を設けて刃幅方向に屈折点を挟んで、連続する二つの直刃の、刃元側の直刃のレーキ角が刃先側の直刃のレーキ角より大きいギロチン式クロップシャー用上刃の平面形状とすることを特徴とするギロチン式クロップシャー用上刃の平面形状の決定方法。
  3. 刃幅方向に複数の屈折点を挟んで、連続する直刃を有するギロチン式クロップシャー用上刃であって、各直刃のレーキ角が、刃元側の直刃から刃先側の直刃にかけて逐次減少することを特徴とするギロチン式クロップシャー用上刃。
JP2011202579A 2011-09-16 2011-09-16 厚鋼板用ギロチン式クロップシャー用上刃および厚鋼板用ギロチン式クロップシャー用上刃の平面形状の決定方法 Expired - Lifetime JP5440578B2 (ja)

Priority Applications (1)

Application Number Priority Date Filing Date Title
JP2011202579A JP5440578B2 (ja) 2011-09-16 2011-09-16 厚鋼板用ギロチン式クロップシャー用上刃および厚鋼板用ギロチン式クロップシャー用上刃の平面形状の決定方法

Applications Claiming Priority (1)

Application Number Priority Date Filing Date Title
JP2011202579A JP5440578B2 (ja) 2011-09-16 2011-09-16 厚鋼板用ギロチン式クロップシャー用上刃および厚鋼板用ギロチン式クロップシャー用上刃の平面形状の決定方法

Related Parent Applications (1)

Application Number Title Priority Date Filing Date
JP2006085510A Division JP4910442B2 (ja) 2006-03-27 2006-03-27 ギロチン式クロップシャー用上刃

Publications (2)

Publication Number Publication Date
JP2012024921A true JP2012024921A (ja) 2012-02-09
JP5440578B2 JP5440578B2 (ja) 2014-03-12

Family

ID=45778478

Family Applications (1)

Application Number Title Priority Date Filing Date
JP2011202579A Expired - Lifetime JP5440578B2 (ja) 2011-09-16 2011-09-16 厚鋼板用ギロチン式クロップシャー用上刃および厚鋼板用ギロチン式クロップシャー用上刃の平面形状の決定方法

Country Status (1)

Country Link
JP (1) JP5440578B2 (ja)

Citations (5)

* Cited by examiner, † Cited by third party
Publication number Priority date Publication date Assignee Title
JPS5919218U (ja) * 1982-07-28 1984-02-06 株式会社アマダ シヤリングマシン
JPS6158016U (ja) * 1984-09-22 1986-04-18
JPH027911U (ja) * 1988-06-30 1990-01-18
JPH07108411A (ja) * 1993-10-08 1995-04-25 Komatsu Ltd シャーリングマシン
JP2000317722A (ja) * 1999-04-28 2000-11-21 Sony Corp カッタ装置

Patent Citations (5)

* Cited by examiner, † Cited by third party
Publication number Priority date Publication date Assignee Title
JPS5919218U (ja) * 1982-07-28 1984-02-06 株式会社アマダ シヤリングマシン
JPS6158016U (ja) * 1984-09-22 1986-04-18
JPH027911U (ja) * 1988-06-30 1990-01-18
JPH07108411A (ja) * 1993-10-08 1995-04-25 Komatsu Ltd シャーリングマシン
JP2000317722A (ja) * 1999-04-28 2000-11-21 Sony Corp カッタ装置

Also Published As

Publication number Publication date
JP5440578B2 (ja) 2014-03-12

Similar Documents

Publication Publication Date Title
CN201376117Y (zh) 一种用于精整机组的可移动式圆盘剪废边挡板
JP4946124B2 (ja) ギロチン式クロップシャー用交換上刃およびそれを用いた鋼材の剪断方法
CN202180252U (zh) 一种圆盘剪机构和酸洗生产线
JP5239276B2 (ja) ダウンカット式クロップシャーおよび上刃材ならびに上刃材の刃先形状の決定方法および上刃材の製造方法
JP5440578B2 (ja) 厚鋼板用ギロチン式クロップシャー用上刃および厚鋼板用ギロチン式クロップシャー用上刃の平面形状の決定方法
CN201760655U (zh) 不锈钢蜂窝斜管波片板的剪切装置
JP4910442B2 (ja) ギロチン式クロップシャー用上刃
CN101219487A (zh) 一种钢格板剪切装置
CN102569710A (zh) 电池极耳整平冲切机
CN203370927U (zh) 多功能液压角钢加工机
JP5088069B2 (ja) ダウンカット式クロップシャー用上刃
CN204621209U (zh) 一种划线切割装置
CN201415284Y (zh) 钎焊金刚石工具
CN201432201Y (zh) 尾料剪切焊接装置
CN205702025U (zh) 修边模具废料切刀及修边模具
CN207695738U (zh) 一种阴极板剪切装置
JP4658851B2 (ja) スポンジチタン用切断機及びこれに使用される切断刃
KR100996964B1 (ko) 높은 재단 효율성의 재단 프레임
CN202192665U (zh) 一种地板加工设备
CN207448672U (zh) 一种保温板切边模具
CN212884394U (zh) 一种钢管冲切模具导向装置
CN201866514U (zh) 金属带
CN105965432A (zh) 一种新型自动锁条装置
CN203890780U (zh) 裁床之新型裁刀
CN207630176U (zh) 保护膜卷料跳步冲切模具

Legal Events

Date Code Title Description
RD04 Notification of resignation of power of attorney

Free format text: JAPANESE INTERMEDIATE CODE: A7424

Effective date: 20120327

A131 Notification of reasons for refusal

Free format text: JAPANESE INTERMEDIATE CODE: A131

Effective date: 20130212

A521 Request for written amendment filed

Free format text: JAPANESE INTERMEDIATE CODE: A523

Effective date: 20130403

A131 Notification of reasons for refusal

Free format text: JAPANESE INTERMEDIATE CODE: A131

Effective date: 20131001

RD13 Notification of appointment of power of sub attorney

Free format text: JAPANESE INTERMEDIATE CODE: A7433

Effective date: 20131009

A521 Request for written amendment filed

Free format text: JAPANESE INTERMEDIATE CODE: A523

Effective date: 20131018

A521 Request for written amendment filed

Free format text: JAPANESE INTERMEDIATE CODE: A821

Effective date: 20131009

TRDD Decision of grant or rejection written
A01 Written decision to grant a patent or to grant a registration (utility model)

Free format text: JAPANESE INTERMEDIATE CODE: A01

Effective date: 20131119

A61 First payment of annual fees (during grant procedure)

Free format text: JAPANESE INTERMEDIATE CODE: A61

Effective date: 20131202

R150 Certificate of patent or registration of utility model

Ref document number: 5440578

Country of ref document: JP

Free format text: JAPANESE INTERMEDIATE CODE: R150

Free format text: JAPANESE INTERMEDIATE CODE: R150

R250 Receipt of annual fees

Free format text: JAPANESE INTERMEDIATE CODE: R250

R250 Receipt of annual fees

Free format text: JAPANESE INTERMEDIATE CODE: R250

R250 Receipt of annual fees

Free format text: JAPANESE INTERMEDIATE CODE: R250

R250 Receipt of annual fees

Free format text: JAPANESE INTERMEDIATE CODE: R250

R250 Receipt of annual fees

Free format text: JAPANESE INTERMEDIATE CODE: R250