JP2012024901A - ワークの加工方法およびマシニングセンタ - Google Patents

ワークの加工方法およびマシニングセンタ Download PDF

Info

Publication number
JP2012024901A
JP2012024901A JP2010167817A JP2010167817A JP2012024901A JP 2012024901 A JP2012024901 A JP 2012024901A JP 2010167817 A JP2010167817 A JP 2010167817A JP 2010167817 A JP2010167817 A JP 2010167817A JP 2012024901 A JP2012024901 A JP 2012024901A
Authority
JP
Japan
Prior art keywords
spindle
attachment
machining
tool
workpiece
Prior art date
Legal status (The legal status is an assumption and is not a legal conclusion. Google has not performed a legal analysis and makes no representation as to the accuracy of the status listed.)
Granted
Application number
JP2010167817A
Other languages
English (en)
Other versions
JP5589645B2 (ja
Inventor
Naoki Hattori
直己 服部
Kenichi Ono
健一 小野
Yoshiro Hirose
義郎 広瀬
Current Assignee (The listed assignees may be inaccurate. Google has not performed a legal analysis and makes no representation or warranty as to the accuracy of the list.)
Howa Machinery Ltd
Original Assignee
Howa Machinery Ltd
Priority date (The priority date is an assumption and is not a legal conclusion. Google has not performed a legal analysis and makes no representation as to the accuracy of the date listed.)
Filing date
Publication date
Application filed by Howa Machinery Ltd filed Critical Howa Machinery Ltd
Priority to JP2010167817A priority Critical patent/JP5589645B2/ja
Publication of JP2012024901A publication Critical patent/JP2012024901A/ja
Application granted granted Critical
Publication of JP5589645B2 publication Critical patent/JP5589645B2/ja
Active legal-status Critical Current
Anticipated expiration legal-status Critical

Links

Images

Landscapes

  • Automatic Tool Replacement In Machine Tools (AREA)
  • Auxiliary Devices For Machine Tools (AREA)

Abstract


【課題】 主軸アタッチメントの製作コストを低減できるワークの加工方法、およびマシニングセンタを提供する。
【解決手段】 主軸アタッチメント30のアタッチメントボディ31を主軸頭4に所定の取付姿勢で支持する主軸アタッチメントクランプ装置20を備える。そして、主軸頭4の前方の加工領域外に、主軸6から脱着した主軸アタッチメント30を保持する主軸アタッチメント保持装置60と、主軸アタッチメント30を旋回して新たな取付姿勢に変更する旋回装置70とから成る主軸アタッチメント30を着脱可能に収納する収納装置55を備える。そして、旋回装置70と主軸6への主軸アタッチメント30の着脱は、主軸頭4をX、Y、Z軸方向に相対移動させて行う。左右勝手の主軸アタッチメントが必要な加工を、同一の主軸アタッチメント30で加工できるようにし、主軸アタッチメントの製作コストを低減した。
【選択図】 図2

Description

本発明は、ワークの加工方法及びマシニングセンタに関し、詳しくは、工作機械の主軸に主軸アタッチメントを装着して所定の加工を行なうワークの加工方法、および当該加工方法を実現可能なマシニングセンタに関する。
マシニングセンタによる加工において、例えば図17(a),(b)に示すような比較的小型のケース状ワークWの加工は、旋回テーブル101を具備する横型マシニングセンタで行なうと加工効率が良い。ケース状ワークWは、多数の加工面を有しているので、ワークWを旋回テーブル上に載置した治具102に取付け、各加工面を主軸(主軸頭)103の正面方向に旋回割出して加工を行なう。
従来、上記ケース状ワークのA,B面のように、壁面104など障害物と近接する箇所をフライス加工するには、通常のフライスカッタ105では短くて加工できないので、図17(c)に示すロングアーバのフライスカッタ106で加工する。ところが、この工具は主軸端からの突き出し量が大きいので、加工面にびびりが発生しやすく、加工精度の低下を招く問題がある。
そこで、特許文献1に記載されているような、主軸頭(主軸ハウジング)に主軸アタッチメント(アタッチメント主軸ヘッド)の本体(フレーム)を支持する主軸アタッチメントクランプ装置(主軸ヘッド支持装置)を備え、主軸アタッチメントが自動交換可能なマシニングセンタを用いて加工を行う。この加工は、図18に示すように、主軸アタッチメントの1種であるフライスカッター107を備えたアンギュラアタッチメント108をマシニングセンタの主軸頭103に装着し、旋回テーブル101で加工面を主軸に対し90度旋回した位置に割出して加工することにより、加工面にびびりを発生させずに加工できる。特許文献1に記載されているアンギュラアタッチメントは、他のツールと同様、自動工具交換装置(以下ATC装置と記す)によって本体ごと自動交換される。
また、特許文献2には、主軸頭に備えた移動機構によってアンギュラーアタッチメントを自動的に主軸頭から着脱する横型マシニングセンタが開示されている。このマシニングセンタは、ATC装置でアンギュラーアタッチメントに取り付けられた工具を自動的に工具マガジンの工具と交換するようになっている。したがって、工具は主軸に装着可能な汎用工具である。アンギュラーアタッチメントを使用しない時は、移動機構の退避位置に移動する。したがって、アンギュラーアタッチメントはマシニングセンタ機内(カバー内)に具備される。
また、特許文献3,4に記載されているような門型マシニングセンタの主軸に主軸アタッチメントを着脱可能に備えた5面加工機で、アンギュラアタッチメントを主軸に装着して上記ワークの加工を行なうことが考えらる。
特開2007−90478号公報 特開2007−307640号公報 特開平6−23642号公報 特開平4−129634号公報
特許文献1に記載のアンギュラアタッチメント(アタッチメント主軸ヘッド)は、フライス加工の重切削に対応する為に本体(フレーム)が大きく質量が重いので、ATC装置のアーム旋回速度を高速にできない。よって、アンギュラアタッチメント以外のツールの工具交換時間にまで影響を与え、これによりサイクルタイムが増加する。また、本体が大きいので、アンギュラアタッチメントの両隣のツールマガジンにツールを収納できない。よって、ツールマガジンに収納するツール本数が減少、すなわち加工に使用できるツール本数が減少し、汎用性が低下する。また、図18に示すようにA,B面のような箇所をフライス加工するには、右勝手と左勝手のアンギュラアタッチメント108,109が必要になり、さらに上記の収納ツール本数が減少し、汎用性が低下すると共に、アンギュラアタッチメントの製作コストが増加する。さらに、アンギュラアタッチメントを具備しない標準機より、ATC装置のアームやツールマガジンの強度、及びそれらの駆動装置の出力を向上させる必要があるのでマシニングセンタ本体の製作コストも増加する。
特許文献2に記載のマシニングセンタは、ツールを取付けるアンギュラーアタッチメントを専用の移動機構により主軸に着脱し、アンギュラーアタッチメントに取り付けられたツールをATC装置で交換するので、特許文献1に記載の工作機械のようにツールの工具交換時間に影響を与えない。また、ツールマガジンにツールのみを収納するので、ツールマガジンに収納するツール本数が減少しないという利点がある一方、フライス加工の際にアンギュラーアタッチメントのテーパー部のみでモーメント荷重を受けるので、特許文献1に記載のアンギュラーアタッチメントボディが主軸頭(主軸ハウジング)に位置決め固定されたものに比べ、フライス加工における重切削の能力が低い。着脱部(テーパー部)が2箇所あるので取付精度が加工精度に影響するおそれがある。また、アンギュラーアタッチメントを使用しない場合、マシニングセンタ機内に収容するので、加工中に飛散した切屑やクーラントがアンギュラーアタッチメントのテーパー部等に付着する可能性があり、主軸に装着する際に装着異常の原因になる。さらに、アンギュラーアタッチメントの着脱の為に、X軸ストロークを長くする必要があるのでマシニングセンタ本体の製作コストが増加する。
このように、特許文献1に記載の主軸アタッチメントを装着するマシニングセンタは、ツールの工具交換時間が長くなってサイクルタイムが増加したり、加工に使用できるツール本数が減少したりする問題がある。
一方、特許文献2に記載のマシニングセンタは、サイクルタイムが増加したり、加工精度が悪化したり、切屑等が影響を及ぼす問題がある。そして、特許文献1,2いずれのマシニングセンタも、標準機に対しコスト増加になる問題がある。
また、特許文献3,4に記載の5面加工機は、主軸やテーブルの移動速度が遅く、少量生産の大型ワーク向きで、短いサイクルタイムが要求される大・中量生産の中・小型ワークには適さないという問題がある。さらに、大型で設備の導入コストが高いといった問題もある。
本発明の課題は、従来技術における上記問題点を解決することであり、工作機械の加工領域内に載置したワークを主軸アタッチメントで加工するワークの加工方法において、主軸アタッチメントの製作コストを低減できる加工方法を提供することを目的とする。
また、本発明の課題は、上記加工方法を実現するマシニングセンタにおいて、重切削の能力が高く、主軸アタッチメント以外のツールの工具交換時間に影響を与えず、サイクルタイムを増加させないマシニングセンタ、およびツールマガジンに収納するツール本数を減少させないマシニングセンタを提供することを目的とする。
上記目的を達成するために第1の課題解決手段は、主軸頭に主軸を回転可能に支承し、該主軸の回転が伝達されて刃具が回転する主軸アタッチメントを主軸に装着した工作機械の加工領域内に載置したワークを、該主軸アタッチメントで加工するワークの加工方法であって、主軸アタッチメントを所定の取付姿勢で主軸に装着してワークの最初の加工部を加工し、該加工部を加工後に主軸アタッチメントを主軸から一旦脱着し、工作機械の加工領域外に備えられ、主軸から脱着した主軸アタッチメントの取付姿勢を変更する旋回手段で主軸アタッチメントを新たな取付姿勢に旋回して主軸に再装着し、ワークの次の加工部を加工する。
第1の課題解決手段の加工方法によれば、例えば、左右勝手の主軸アタッチメントが必要な場合でも、旋回手段で旋回させて主軸に装着し直すことで、同一の主軸アタッチメントで加工できるので、主軸アタッチメントを1台製作すれば良い。
第2の課題解決手段は、第1の課題解決手段の加工方法において、前記主軸アタッチメントは、刃具の回転軸が主軸の軸心に対し所定の角度を成すアンギュラアタッチメントであり、前記最初の加工部は、ワークを前記加工領域内に設けた割出手段上に載置し、該割出手段で所定の角度に割出した第1加工面であり、前記新たな取付姿勢は、アンギュラアタッチメントが主軸の軸心回りに180度旋回した取付姿勢であり、前記次の加工部は、ワークを割出手段で第1加工面から180度旋回した第2加工面であり、該第2加工面を第1加工面と同一のアンギュラアタッチメントで加工する。
第2の課題解決手段の加工方法によれば、第1の課題解決手段の加工方法による作用効果に加え、上記ケース状ワークのA,B面のように、壁面104など障害物と近接する箇所を、アンギュラアタッチメントによって高精度にフライス加工できる。
第3の課題解決手段は、ワークを加工する工具を装着する主軸を回転可能に支承する主軸頭と、工具を収納する工具マガジンと、該工具マガジンの工具と主軸の工具の自動工具交換手段とを備え、主軸に装着した工具で加工領域内に載置したワークを加工するマシニングセンタであって、主軸の回転が伝達されて刃具が回転する主軸アタッチメントを主軸に着脱可能で、該主軸アタッチメントの本体を主軸頭に所定の取付姿勢で支持する支持装置を備えたマシニングセンタにおいて、主軸頭の前方の加工領域外に、主軸から脱着した主軸アタッチメントを保持する主軸アタッチメント保持装置と、主軸アタッチメントを支持装置への取付面内で旋回して新たな取付姿勢に変更する旋回装置と、を備える収納装置を設け、該収納装置に主軸アタッチメントを着脱可能に収納し、収納装置と主軸への主軸アタッチメントの着脱を主軸頭の移動により行う一方、主軸アタッチメントは刃具への回転伝達が主軸のテーパー孔に装着する動力伝達工具を介して行われ、該動力伝達工具のみを工具マガジンに収納し、動力伝達工具は工具マガジンに収納した他の工具と自動工具交換手段で交換することを特徴とする。
第3の課題解決手段のマシニングセンタによれば、例えば、左右勝手の主軸アタッチメントが必要な場合でも、旋回させて装着し直すことで、同一の主軸アタッチメントで加工できるので、主軸アタッチメントを1台製作すれば良い。また、主軸頭の主軸アタッチメントクランプ装置により、主軸アタッチメントを強固に固定できるので、フライス加工における重切削の能力を高めることができる。また、主軸アタッチメント以外のツールの工具交換時間に影響を与えず、ATC時間の増加を防いでサイクルタイムを増加させない。また、工具マガジンは標準仕様のものが使用でき、主軸アタッチメントを工具マガジンに収納しないので、汎用工具の収納本数を減少させない。
第4の課題解決手段は、第3の課題解決手段のマシニングセンタにおいて、前記主軸アタッチメントを主軸に装着しない時は、前記主軸アタッチメントの代わりに保護部材を前記支持装置で主軸頭に支持し、前記収納装置に該保護部材を着脱可能に保持する保護部材保持装置を設け、該保護部材保持装置と前記支持装置への保護部材の着脱を主軸頭の移動により行うことを特徴とする。
第4の課題解決手段のマシニングセンタによれば、第3の課題解決手段のマシニングセンタによる作用効果に加え、主軸アタッチメントを使用しない場合に、主軸アタッチメントクランプ装置を切屑やクーラントによる汚損から保護することができる。
第5の課題解決手段は、第3、または第4の課題解決手段のマシニングセンタにおいて、前記収納装置は、主軸頭の前方に設けられた架台と、該架台上を水平方向に前後移動可能で主軸頭に向かう移動方向前面に遮蔽板を備えて加工領域内外を往復移動し、移動距離の前進端と後退端及びこれらの略中間位置である待機位置で停止するコラムと、を備え、該コラムに前記保護部材保持装置と、前記旋回装置によって旋回する前記主軸アタッチメント保持装置と、を設け、前記収納装置を機体カバーで一体に覆い、該機体カバーにコラムの前進端と待機位置の間で加工領域内外を仕切る壁面を備え、該壁面にコラムが加工領域を出入する開口部を設け、該開口部を遮蔽板で塞いで成る。
第5の課題解決手段のマシニングセンタによれば、第3、または第4の課題解決手段のマシニングセンタによる作用効果に加え、主軸アタッチメントや保護部材の交換時間が短縮可能になる。また、主軸アタッチメント保持装置に収納した主軸アタッチメントが、飛散した切屑等によって汚損されることを確実に防ぐことができ、主軸頭への装着、固定が確実に行われる。さらに、切屑やクーラントが加工領域から出ることが防止できる。
第6の課題解決手段は、第3〜第5いずれかの課題解決手段のマシニングセンタにおいて、ワークを載置し所定の角度に割出する為の旋回テーブルを加工領域内に備え、前記主軸アタッチメントを刃具の回転軸が主軸の軸心に対し90度の角度を成すアンギュラアタッチメントとし、該アンギュラアタッチメントを前記旋回装置で180度旋回して成る。
第6の課題解決手段のマシニングセンタによれば、第3〜第5いずれかの課題解決手段のマシニングセンタによる作用効果に加え、上記ケース状ワークのA,B面のように、壁面104など障害物と近接する箇所を、アンギュラアタッチメントによって高精度にフライス加工できる。
本発明のワークの加工方法によれば、左右勝手の主軸アタッチメントが必要な場合でも、旋回させて装着し直すことで、同一の主軸アタッチメントで加工できるので、主軸アタッチメントを1台製作すれば良い。よって主軸アタッチメントの製作コストを低減できる。
また、本発明のマシニングセンタによれば、上記加工方法と同様に主軸アタッチメントの製作コストを低減できることに加え、重切削の能力が高く、主軸アタッチメント以外のツールの工具交換時間に影響を与えず、サイクルタイムを増加させない。また、工具マガジンに収納する汎用工具の本数を減少させずに汎用性をより高めることができる。
本発明の実施形態のマシニングセンタの正面図である。 図1のX−X断面図である。 図1のY−Y断面図である。 図2のS矢視図である。 図4のU−U断面図である。 図4のV−V断面図である。 アンギュラアタッチメントを装着した主軸頭の正面図である。 図7のR−R断面図である。 アンギュラアタッチメントの正面図(図7のP矢視図)である。 図7のT矢視図で、1部W−W断面図である。 ダミープレートを装着した主軸頭の正面図である。 図11のO−O断面図である。 主軸アタッチメント保持装置の側面図である。 図13のQ矢視図である。 図14のZ−Z断面図である。 ダミープレート保持装置の側面図である。 ワークの加工方法の説明図である。 アンギュラアタッチメントによるワークの加工方法の説明図である。 多軸アタッチメントによるワークの加工方法の説明図である。 主軸アタッチメントが複数ある場合のコラムの側面図である。
以下、本発明の1実施形態であるマシニングセンタについて、上記の図面に基づき詳細に説明する。尚、図2における左側、及び図3における下側をマシニングセンタの前方と表現する。
図1〜5は、本発明の実施形態の1例を示した横型のマシニングセンタである。このマシニングセンタ1は、ベッド2上の加工領域内に旋回テーブル3と、旋回テーブル3上に載置したワークWに対して、X,Y,Zの3軸方向に相対移動可能に設けられた主軸頭4を備えている。さらに、機体の上部に自動工具交換装置(以下ATC装置と記す)5を備えている。
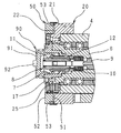
図5に示す主軸頭4には、主軸6が回転可能に支承され、主軸6の前端部には工具Tを装着する為のテーパー孔7が設けられた工具装着部材17が取付けられている。工具Tは、主軸6内に備えた工具クランプ装置8によって主軸6にクランプされる。工具クランプ装置8は、ドローバー9と皿バネ10とクランパ11とコレット12で構成され、皿バネ10の推力でクランパ11を後方に引き込み、コレット12が拡径して工具Tをクランプし、ドローバー9の前方への移動でアンクランプする。ドローバー9は、図示しない油圧装置の圧力で駆動し、主軸6は主軸6の後端部に設けられた図示しない主軸用モータによって正逆回転するようになっている。工具装着部材17は、主軸6の構成部品で主軸端面にボルト18で固定されている。図5に示す工具Tは、後述する主軸アタッチメント30に主軸回転を伝達するための動力伝達工具のクラッチツール90である。クラッチツール90は、回転を伝達するための凸部92を有している。
ATC装置5は、ATCアーム13と工具マガジン14と次工具待機ポット15で構成され、ATCアーム13を旋回、前後移動させて主軸6の工具Tと次工具待機ポット15の工具Tを交換する。そして、マシニングセンタ1は、加工時に切屑やクーラントが加工領域外に飛散しないように、加工領域を含むベッド2上全体が機体カバー16で覆われている。
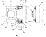
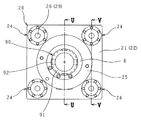
また、このマシニングセンタ1は、図7〜10に示すように、主軸6の回転が伝達されて刃具107が回転する主軸アタッチメント30を、所定の取付姿勢で主軸6に装着可能である。本実施形態における所定の取付姿勢は、図7に示すように刃具107の回転軸が水平で、刃具107が右側になる位置である。主軸アタッチメント30は、主軸6(工具装着部材17)のテーパー孔7に装着されたクラッチツール90を介して主軸6の回転が刃具107に伝達される。そしてマシニングセンタ1は、この主軸アタッチメント30のアタッチメントボディ31を、主軸頭4に上記の取付姿勢で支持する為の支持装置として主軸アタッチメントクランプ装置20を備えている。
まず、主軸アタッチメントクランプ装置20について説明する。主軸アタッチメントクランプ装置20は主軸アタッチメントの支持手段の1つであり、主軸頭4の前端面に取付けられたクランプベース21の上面22の取付孔23に埋設された位置決め固定装置24と、主軸6内に塵埃の浸入を防止するカバー25が設けられている。位置決め固定装置24は、クランプベース上面23から突設される位置決めクランプ機構を構成するテーパーコーン29と、埋設されたクランプ本体27内にクランプ/アンクランプの駆動機構を備えている。位置決め固定装置24は、駆動機構のばねの推力により位置決めクランプ機構を弾性変形させてクランプする。一方のアンクランプは、取付孔23がシリンダ室になっており、そのシリンダ室に作動油を供給して油圧力でアンクランプする。位置決め固定装置24は、例えば、図6に示すような市販のロケートリング(商品名)で、位置決めクランプ機構を構成する摺接し合うテーパーリング28とテーパーコーン29を、クランプ本体27内に備えたプルロッドを駆動し、テーパーの作用で両者を円周方向へ弾性変形させ、テーパーによる増力作用を用いてクランプする周知のクランプ機構なので、構成や作用の説明は省略する。位置決め固定装置24は、主軸6の軸心回りの円周上4箇所に等分角度で配置されている。
次に、主軸アタッチメント30について説明する。本実施形態の主軸アタッチメント30は図7〜10に示すように、刃具107の回転軸が主軸6の軸心に対して所定の角度を有するアンギュラアタッチメントである。本実施形態では上記刃具回転角度は90度で、刃具107はフライスカッターである。アンギュラアタッチメント30のアタッチメントボディ31は、上部のスピンドルケース32と下部のクランプブロック33で構成されている。アンギュラアタッチメント30は、スピンドルケース32内に、主軸6の回転で駆動される駆動軸34、駆動軸34の軸方向を90度変換する中間軸35、先端に刃具107を取付ける工具軸36が夫々軸受37で支持されている。アンギュラアタッチメント30は、これらの軸とハス歯歯車38、平歯車39を適宜組合わせて回転伝達機構が構成されている。駆動軸34の主軸6と対向する軸端面には、クラッチツール90の凸部92に係合する凹状の溝40が形成されている。アンギュラアタッチメント30は、凸部92と溝40の係合により刃具107への回転伝達が行われる。クラッチツール90は、アンギュラアタッチメント30を使用しない時は、クラッチツール90のみが汎用の工具Tを収納する工具マガジン14に収納される。そしてクラッチツール90は、アンギュラアタッチメント30の使用時に、工具マガジン14に収納された他の工具Tと自動工具交換手段であるATC装置5で交換され、主軸6の工具装着部材17のテーパー孔7に装着される。
クランプブロック下面41(アタッチメントボディ31の下面)には、駆動軸34の軸心回りの円周上の4箇所に等分角度で止り孔42が穿設され、止り孔42に主軸アタッチメントクランプ装置20で説明した位置決めクランプ機構を構成するテーパーリング28が嵌入され、取付けボルト43で固定されている。そして、テーパーリング28に、位置決めクランプ機構を構成するもう一方のテーパーコーン29が嵌まり、位置決め固定装置24の駆動機構のばねの推力によりクランプし、アンギュラアタッチメント30が主軸アタッチメントクランプ装置20に位置決め固定され支持される。本実施形態では、主軸アタッチメントクランプ装置20のクランプベース上面22と、アンギュラアタッチメント30のクランプブロック下面41は、夫々同一寸法の正方形に形成されている。したがって、主軸アタッチメントクランプ装置20は、アンギュラアタッチメント30を、主軸6の軸心回りに90度ずつ旋回させた4つの取付姿勢で支持可能である。
また、図7に示すように、クランプブロック33の上面の中央両側部には、中心線(駆動軸34の回転軸中心)を対称に一対の位置決めピン44,44と、基準面プレート45,45を備えている。位置決めピン44,44は、後述する主軸アタッチメント保持装置60の案内ブッシュ55,55に嵌まる。基準面プレート45,45は、図10に示すように、両先端46,46がV字状に形成され、アンギュラアタッチメント30は、後述する主軸アタッチメント保持装置60のボールプランジャ63,63で、基準面プレート45,45の両端部46,46が保持される。
また、クランプブロック33の側面には、同じく主軸アタッチメント保持装置60に備える脱落防止用のロック装置67のロックピン68が挿入される貫通孔49,49を穿設したプレート48,48が取付けられている。
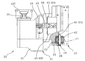
一方、アンギュラアタッチメント30を主軸6に装着しない時は、アンギュラアタッチメント30の代わりに、図11,12に示すダミープレート50を主軸アタッチメントクランプ装置20で支持する。ダミープレート50は、主軸アタッチメントクランプ装置20を切屑やクーラントによる汚損から保護する保護部材である。ダミープレート下面51は、アンギュラアタッチメント30のクランプブロック下面41、および主軸アタッチメントクランプ装置20のクランプベース上面22と同一形状に形成されている。そして、アンギュラアタッチメント30と同様に止り孔52が穿設され、止り孔52にアンギュラアタッチメント30と同様に位置決めクランプ機構のテーパーリング28が嵌入され、取付けボルト53で固定されている。そして、テーパーリング28に主軸アタッチメントクランプ装置20のテーパーコーン29が嵌まり、ばねの推力によりダミープレート50が主軸アタッチメントクランプ装置20に位置決め固定されて支持される。ダミープレート50の厚みは、装着時にダミープレート上面52が主軸前端面と略面一になる程度の寸法を有している。
このようにアンギュラアタッチメント30は、主軸アタッチメントクランプ装置20によって主軸頭4に支持されて主軸6に装着される。またダミープレート50は、主軸アタッチメントクランプ装置20によって主軸頭4に支持される。そして、両者を支持する主軸アタッチメントクランプ装置20のクランプ、アンクランプは、NCプログラムの指令により自動で行なうことができる。また、アンギュラアタッチメント30とダミープレート50は、以下に説明する収納装置55に収納され、両者の収納装置55と主軸アタッチメントクランプ装置20への着脱は、NCプログラムの指令により主軸頭4をX、Y、Z軸方向に相対移動させて行われる。したがって、両者は自動交換が可能である。
では、上記の収納装置55について、図1〜3,及び図13〜16を参照し説明する。
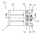
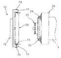
マシニングセンタ1は機台前方、すなわち主軸頭4の前方の加工領域外に、アンギュラアタッチメント30とダミープレート50を着脱可能に収納する収納装置55が設けられている。収納装置55は、アタッチメントクランプ装置20から脱着したアンギュラアタッチメント30を保持する為の主軸アタッチメント保持装置60と、アンギュラアタッチメント30を垂直面内で旋回させる旋回装置70と、アンギュラアタッチメント30と同様にダミープレート50を保持するダミープレート保持装置75から構成されている。旋回装置70は、アンギュラアタッチメント30を所定の角度に旋回し、その取付姿勢を新たな取付姿勢に変更する主軸アタッチメントの旋回手段である。主軸アタッチメント保持装置60は、旋回装置70に取付けられて旋回するようになっている。
さらに収納装置55の説明を続ける。主軸頭4前方のベッド2上には架台56が設けられ、その架台56上を水平方向に移動可能にコラム57が備えられている。そして、そのコラム57がマシニングセンタ1の加工領域の内外を往復移動する。そして、コラム57にダミープレート保持装置75と旋回装置70で旋回する主軸アタッチメント保持装置60が配設されている。架台56は、上面に直動レールと案内ブロックから成るガイド機構58が設けられ、ガイド機構58上にコラム57が置載されている。そして、コラム57の移動装置として、本実施形態では油圧シリンダ59を備えている。
主軸アタッチメント保持装置60は、コラム57の上部に設けられ、コの字状に形成されたフレーム61から主軸頭4に向かって延びる一対のアーム62,62を備えている。そして、それらの両先端部には、アンギュラアタッチメント30の位置決めピン44,44が嵌まる案内ブッシュ63,63とストッパー64が、主軸頭4と対向する面に取付けられている。さらに、対向する一対のボールプランジャ65,65がブラケット66、66に夫々取り付けられている。アンギュラアタッチメント30は、ボールプランジャ65,65のばね力で保持される。そして、一方のアーム62には、脱落防止用のロック装置67が取付けられている。ロック装置67は、ロックピン68がピストンになった押出し単動形のシリンダ装置で、ばねの推力でロックピン68をアンギュラアタッチメント30のプレート48の貫通孔49に挿入し、空圧力または油圧力で引き抜くようになっている。尚、ボールプランジャ65,65の個数は、アンギュラアタッチメント30の質量とボールプランジャ65,65のばねの推力により適宜決定される。
旋回装置70は、旋回面板に取付けられた主軸アタッチメント保持装置60を垂直面内で旋回し、主軸アタッチメント保持装置60で保持したアンギュラアタッチメント30が、その駆動軸34の回転軸を中心に垂直面内で旋回可能になっている。本実施形態では、旋回装置70に油圧シリンダとラック&ピニオンで構成されたロータリータ(商品名)を使用し、180度旋回するようになっている。上述したようにアンギュラアタッチメント30は、主軸6の軸線回りに90度ずつ旋回した位置でも支持可能に主軸アタッチメントクランプ装置20が構成され、アンギュラアタッチメント30の駆動軸34の回転軸と主軸6の回転軸の中心は同じなので、旋回装置70でアンギュラアタッチメント30を180度旋回させても主軸6に装着可能である。尚、本実施形態では使用する主軸アタッチメント(アンギュラアタッチメント)30が1台であるので、主軸アタッチメント保持装置60を旋回装置70に取付けているが、主軸アタッチメント30が複数必要な場合は、図20に示すように、旋回させない主軸アタッチメント保持装置60のみをコラム57に必要数取付け、コラム57の別位置に主軸アタッチメント保持装置60を取付けた旋回装置70を単独で1台設けても良い。
ダミープレート保持装置75は、主軸アタッチメント保持装置60の下方のコラムに取付けられ、ダミープレート50を着脱可能に保持している。ダミープレート保持装置75は、主軸頭4に向かって開口するコの字状に形成されたフレーム76の両先端部77,77にボールプランジャ78,78が同一軸線上に対向して取付けられている。そして、ボールプランジャ78,78間にダミープレート50を挟み込み、ボールプランジャ78,78に内蔵したばねの推力でダミープレート50を保持している。ダミープレート50の側面には、ボールプランジャ78,78が嵌り込むV字条の溝53が形成されている。尚、ボールプランジャ78,78の個数は、ダミープレート50の質量とボールプランジャ78,78のばねの推力により適宜決定される。
マシニングセンタ1の加工領域の内外を往復移動するコラム57は、主軸頭4に向かう移動方向前面に遮蔽板80が備えられ、移動距離Lの前進端と後退端、及びこれらの略中間位置である待機位置で停止する。そして、収納装置55は、図1,3に示すようにマシニングセンタ1の機体カバー16で一体に覆われており、機体カバー16に、コラム57の前進端と待機位置の間で加工領域を内外に仕切る区画カバー81が設けられ、区画カバー81にコラム57が加工領域を出入する為の開口部82が設けられ、コラム57が後退端及び待機位置において、開口部82を遮蔽板80で塞いで切屑やクーラントが加工領域から飛散しないようにしている。
次に、上記のように構成されたマシニングセンタ1におけるワークWの加工方法をアンギュラアタッチメント30の着脱動作と共に説明する。ここで、主軸頭4のZ軸移動方向と、収納装置55の移動方向の表現は以下の通りとする。Z軸は、主軸頭4が主軸アタッチメント収納装置55に接近する方向の移動を前進とし、その逆を後退とする。また、収納装置55は、主軸頭4に接近する方向の移動、すなわち加工領域に向かう移動を前進、その逆を後退とし、スタート時の位置は、移動距離Lの後退端とする。
では、図18に示すケース状ワークのA,B面をフライス加工する加工方法を例に説明する。スタート時の状態は、主軸6に通常の工具Tが装着され、主軸アタッチメントクランプ装置20にはダミープレート50が装着され、アンギュラアタッチメント30は収納装置55に収納されている状態とする。また、工具マガジン14の工具ポットには、クラッチツール90が1個収納されている。クラッチツール90のフランジ部91は通常に使用する汎用工具と同じ大きさで、キー溝も同じなので、ATC装置5で自動交換可能である。また、クラッチツール90のみを工具マガジン14に収納するので、クラッチツール90に隣接する工具ポットにも工具Tを収納できる。よってツールマガジン14に収納する工具本数を減少させない。また、工具マガジン14は、収納する工具Tの許容質量を向上させたり、マガジンの許容旋回速度を抑えたりする必要ない。
まず、ダミープレート50とアンギュラアタッチメント30を交換する。ダミープレート50を収納する為に、収納装置55のコラム57が加工領域内の前進端まで移動する。次に、コラム57のダミープレート保持装置75の保持中心と主軸6の軸心とが一致するように主軸頭4が、まずXY平面内で位置決めされ、続いてZ軸方向に前進する。ダミープレート保持装置75の保持中心とは、ダミープレート50を保持した時の仮想中心であり、主軸アタッチメントクランプ装置20に装着した時の主軸6の軸心位置である。上記動作でダミープレート保持装置75のプランジャ78,78にダミープレート50の溝53が嵌り込む。続いて、主軸アタッチメントクランプ装置20の位置決め固定装置24がアンクランプされ、主軸頭4がZ軸方向に所定量後退し、ダミープレート50は主軸頭4(主軸アタッチメントクランプ装置20)からダミープレート保持装置75に移載される。続いてコラム57が待機位置まで後退する。
次に、クラッチツール90をマシニングセンタ1の自動工具交換手段で主軸6のテーパー孔7に装着する。一連の自動工具交換に係る動作は周知であるので省略するが、自動工具交換手段としては、本実施形態のようにATC装置5に備えたATCアーム13で主軸6の工具Tと次工具待機ポット15の工具Tを交換する方法や、アームレスで主軸頭4が直接工具マガジン14の工具Tにアプローチする方法等がある。テーパー孔7に装着されたクラッチツール90は、主軸6に備えた工具クランプ装置8によりクランプされる。そして、主軸定位置停止(主軸オリエンテーション)が行われ、凸部92は常に一定の角度位置になる。
最初に第1加工面(最初の加工面)であるA面を加工する為に、収納装置55に収納されたアンギュラアタッチメント30を、フライスカッター107によってワークWの加工面A面を加工可能な所定の取付姿勢(図18においてフライスカッター107が上向き)で主軸6に装着する。この場合、右勝手のアンギュラアタッチメント30が必要で、主軸アタッチメント保持装置60に収納されたアンギュラアタッチメント30が左勝手になっている場合は、右勝手になるように旋回装置70で180度旋回させる。次に、コラム57が前進端まで移動し、主軸アタッチメント保持装置60のアンギュラアタッチメント30の保持中心と、クラッチツール90を装着した主軸6の軸心とが一致するように主軸頭4が、まずXY平面内で位置決めされ、続いてZ軸方向に前進移動する。アンギュラアタッチメント30の保持中心とは、駆動軸34の軸心(旋回中心)である。この動作でテーパーリング28にテーパーコーン29が嵌り込み、アンギュラアタッチメント30は主軸アタッチメントクランプ装置20に装着される。そして、位置決め固定装置24で主軸アタッチメントクランプ装置20のクランプベース21にクランプされ支持される。この時、駆動軸34の溝40に主軸定位置停止で角度位置の位置決めがされたクラッチツール90の凸部92が嵌り込んでいる。
この後、主軸アタッチメント保持装置60において、ロック装置67のロックピン68がプレート48の貫通孔49から引き抜かれ、アンギュラアタッチメント30が支持された主軸頭4がZ軸方向に後退し、ダミープレート50とアンギュラアタッチメント30の自動交換が完了する。この時コラム57は後退端まで後退し、開口部82は遮蔽板80で塞がれる。次に、主軸用モータに回転指令が出されて主軸6が回転し、クラッチツール90を介して主軸6の回転がアンギュラアタッチメント30のフライスカッター107に伝達される。そして、旋回テーブル3上に載置したワークWのA面にフライスカッター107で所定の加工が行なわれる。
続いて第2加工面(次の加工面)のB面を加工する為に、主軸頭4に支持されたアンギュラアタッチメント30を左勝手用に付け替える。まず、収納装置55のコラム57が加工領域内に前進し前進端まで移動する。続いてコラム57の主軸アタッチメント保持装置60の保持中心と、アンギュラアタッチメント30を装着した主軸6の軸心とが一致するように主軸頭4が、まずXY平面内で位置決めされ、続いてZ軸方向に前進する。この保持中心とは、主軸アタッチメント保持装置60がアンギュラアタッチメント30を保持した時の仮想中心であり、旋回装置70の旋回中心である。この動作で主軸アタッチメント保持装置60の案内ブッシュ65,65に、アンギュラアタッチメント30の位置決めピン44,44が嵌り込む。続いてロック装置67のロックピン68がプレート48の貫通孔49に挿入され、主軸6の工具クランプ装置8をアンクランプする。続いて、主軸アタッチメントクランプ装置20の位置決め固定装置24がアンクランプされ、主軸頭4がZ軸方向に所定量後退し、アンギュラアタッチメント30は主軸頭4から主軸アタッチメント保持装置60に移載されて一旦保持される。
次に、コラム57が後退して待機位置に移動し、アンギュラアタッチメント30を旋回装置70で180度旋回させ、アンギュラアタッチメント30の取付勝手を右勝手から左勝手にする。そしてコラム57が前進し前進端まで移動する。次に、旋回して左勝手になったアンギュラアタッチメント30が、右勝手の場合と同様の動作で主軸アタッチメントクランプ装置20に装着される。このように1つのアンギュラアタッチメント30を180度異なる取付姿勢で主軸頭4に装着し直し、その取付勝手を右勝手から左勝手に自動交換する。次に、旋回テーブル3を180度旋回してワークWのB面をフライスカッター107で加工する。
以上のように本実施形態の加工方法は、主軸頭4に主軸6を回転可能に支承し、主軸6の回転が伝達されてフライスカッター(刃具)107が回転する主軸アタッチメント30を主軸6に装着した本実施形態のマシニングセンタ(工作機械)1の加工領域内に載置したワークWを、主軸アタッチメント30で加工するワークWの加工方法であって、主軸アタッチメント30を、ワークWの最初の加工部に対応した取付姿勢(フライスカッター107でワークWの第1加工面のA面を加工可能な取付姿勢で、図18においてフライスカッター107が上向き)で主軸6に装着してワークWの最初の加工部(第1加工面)を加工し、マシニングセンタ1の加工領域外に備えられ、主軸6から脱着した主軸アタッチメント30の取付姿勢を変更する旋回装置70で主軸アタッチメント30を上記の取付姿勢とは異なる次の加工部に対応した取付姿勢(図18においてフライスカッター107が下向)に旋回して主軸6に再装着し、ワークWの次の加工部(第2加工面)を加工する。尚、ワークWの加工部は上記のように第2加工面までに限らず、第3、4…と連続する場合もあり得る。
このように、主軸アタッチメントを旋回させて装着し直すことで、同一の主軸アタッチメントでA,B面夫々の加工ができるので主軸アタッチメントを1台製作すれば良い。よって主軸アタッチメントの製作コストを低減できる効果がある。
そして、主軸アタッチメント30は、刃具107の回転軸が主軸6の軸心に対し所定の角度(180度)を成すアンギュラアタッチメントであり、ワークWの最初の加工部は、ワークWを加工領域内に設けた旋回テーブル(割出手段)3上に載置し、その旋回テーブル3で所定の角度に割出した第1加工面(A面)であり、アンギュラアタッチメント30の新たな取付姿勢は、アンギュラアタッチメント30が主軸6の軸心回りに180度旋回した取付姿勢であり、ワークWの次の加工部は、ワークWを旋回テーブル3で第1加工面から180度旋回した第2加工面(B面)であり、その第2加工面を第1加工面と同一のアンギュラアタッチメント30で加工する。
したがって、上記ケース状ワークのA,B面のように、壁面104など障害物と近接する箇所を、アンギュラアタッチメントによって高精度にフライス加工できる。
B面の加工が終了すると、マシニングセンタ1は、上記と同様の動作で主軸アタッチメントクランプ装置20のアンギュラアタッチメント30と収納装置55内のダミープレート保持装置75に保持したダミープレート50を交換し、ATC装置5で主軸6に装着されたクラッチツール90と工具マガジン14の新たな工具Tとを交換し、新たな工具Tによる所定の加工を開始する。
上記加工方法は一例であり、ワークWの加工面はA面(第1加工面)とB面(第2加工面)の2つの加工面に限らない。また、ワークWによって加工面が相違している場合も有り得るし、同一加工面内において加工部が異なる場合も有り得る。
以上のように、上記実施形態のマシニングセンタ1は、ワークWを加工する工具Tを装着する主軸6を回転可能に支承する主軸頭4と、工具Tを収納する工具マガジン14と、主軸6の工具Tと工具マガジン14の工具TのATC装置(自動工具交換手段)5とを備え、主軸6に装着した工具Tで加工領域内に載置したワークWを加工するマシニングセンタであって、主軸6の回転が伝達されて刃具107が回転する主軸アタッチメント30を主軸6に着脱可能で、主軸アタッチメント30のアタッチメントボディ31を主軸頭4に所定の取付姿勢で支持する主軸アタッチメントクランプ装置(支持装置)20を備えている。
そして、主軸頭4の前方に、主軸アタッチメント30を使用しない時に主軸6から脱着した主軸アタッチメント30を保持する主軸アタッチメント保持装置60と、主軸アタッチメント30を主軸アタッチメントクランプ装置20への取付面内で旋回して、その取付姿勢を新たな取付姿勢に変更する旋回装置70を備える収納装置55を設け、主軸アタッチメント30を着脱可能に収納する。そして、収納装置55と主軸6への主軸アタッチメント30の着脱は、主軸頭4をX、Y、Z軸方向に相対移動させて行う。
一方、主軸アタッチメント30は刃具107への回転伝達が主軸7のテーパー孔7に装着するクラッチツール(動力伝達工具)90を介して行われ、主軸アタッチメント30を使用しない時は、クラッチツール90のみを工具マガジン14に収納し、クラッチツール90は工具マガジン14に収納した他の工具TとATC装置5で交換可能である。
これにより、例えば左右の取付勝手の主軸アタッチメントが必要な場合に、一方の勝手の主軸アタッチメントを旋回させて装着し直し、もう一方の勝手とすることで、同一の主軸アタッチメントで加工できるので主軸アタッチメントを1台製作すれば良い。また、主軸アタッチメントを主軸アタッチメントクランプ装置で主軸頭に支持することにより、フライス加工における重切削の能力を高めることができる。また、クラッチツールのみをATC装置で交換する為、主軸アタッチメント以外のツールの工具交換時間に影響を与えないので、ATC時間の増加を防いで主軸アタッチメントを具備しない標準機と同等のサイクルタイムで加工できる。また、工具マガジンは、収納する工具の許容質量を向上させたり、マガジンの許容旋回速度を抑えたりする必要ないので標準機に比べコストアップしない。また、クラッチツールのみを工具マガジンに収納するので、ツールマガジンに収納するツール本数を減少させない。さらに、使用しない主軸アタッチメントの収納スペースを減少できるので装置全体のコンパクト化が可能である。しかも、簡便な方法で主軸アタッチメントを主軸に自動で着脱することができる。
また、主軸アタッチメント30を主軸6に装着しない時は、主軸アタッチメント30の代わりにダミープレート(保護部材)50を主軸アタッチメントクランプ装置(支持装置)20で主軸頭4に支持し、主軸頭4の前方にダミープレート50を着脱可能に保持する保持するダミープレート保持装置(保護部材保持装置)75を設ける。ダミープレート保持装置75と主軸アタッチメントクランプ装置20へのダミープレート50の着脱は、主軸頭4をX、Y、Z軸方向に相対移動させて行う。これにより、主軸アタッチメントを使用しない際に、主軸アタッチメントクランプ装置を切屑やクーラントによる汚損から保護することができる。
さらに、収納装置55は、主軸頭4の前方に設けられた架台56と、架台56上を水平方向に前後移動可能で主軸頭4に向かう移動方向前面に遮蔽板80を備えて加工領域内外を往復移動し、移動距離Lの前進端と後退端及びこれらの略中間位置である待機位置で停止するコラム57を備えている。そして、コラム57にダミープレート保持装置(保護部材保持装置)75と、旋回装置70に取付けられて旋回する主軸アタッチメント保持装置60を設けた。そして、収納装置55を機体カバー16で一体に覆い、機体カバー16にコラム57の前進端と待機位置の間で加工領域内外を仕切る壁面81を備え、壁面81にコラム57が加工領域を出入する開口部82を設け、開口部82を遮蔽板80で塞いだ。
本実施形態のように主軸アタッチメントの収納数が少ない場合(本実施形態では1台)、旋回装置に主軸アタッチメント保持装置を取付ければ、主軸アタッチメントの着脱時間を短縮することができる。また、コラムを移動距離Lの略中間位置である待機位置で停止させることにより、主軸アタッチメントやダミープレートの交換時間が短縮可能になる。また、壁面の開口部を遮蔽板で塞ぐことにより、切屑やクーラントが加工領域から出ることを防止し、使用しない主軸アタッチメントが、飛散した切屑等によって汚損されることを防ぐことができ、主軸アタッチメント保持装置や、主軸アタッチメントクランプ装置への自動着脱が確実に行われる。
また、マシニングセンタ1は主軸アタッチメントが複数必要な場合、収納装置55のコラム57に、旋回装置70で旋回させない主軸アタッチメント保持装置60を備えている。本実施形態では使用する主軸アタッチメント(アンギュラアタッチメント)が1台であるので、主軸アタッチメント保持装置を旋回装置に取付けているが、主軸アタッチメントが複数必要な場合は、旋回装置で旋回させる主軸アタッチメント保持装置に加え、主軸アタッチメント保持装置のみをコラムに必要数取付ける。この場合は、主軸アタッチメント保持装置を旋回装置で旋回させる場合に比べ、主軸アタッチメントの着脱時間が延びることになるが、旋回装置の製作コストを抑えることができる。
また、マシニングセンタ1は、図18に示すケース状ワークのA,B面(第1,2加工面)のような箇所をフライス加工する場合において、ワークWを載置し所定の角度に割出する為の旋回テーブル3を加工領域内に備えた。そして、主軸アタッチメント30を刃具107の回転軸が主軸6の軸心に対し90度の角度を成すアンギュラアタッチメント30とし、アンギュラアタッチメント30を旋回装置3で主軸アタッチメントクランプ装置(支持装置)20への取付面内で180度旋回させた。これにより、上記のA,B面のような壁面など障害物と近接する箇所を、加工面にびびりを発生させずに高精度にフライス加工できる。また、アンギュラアタッチメントを1台製作すれば良いので、その製作コストを半分に低減することができる。
以上のように、本実施形態によれば、自動着脱可能な主軸アタッチメントを主軸に装着するマシニングセンタであっても、主軸アタッチメント以外のツールの工具交換時間に影響を与えず、サイクルタイムを増加させないので、主軸アタッチメントを具備しないマシニングセンタと同等のサイクルタイムで加工可能で、ツールマガジンに収納するツール本数を減少させない汎用性の高いマシニングセンタを低コストで提供することができる。
また、主軸アタッチメント保持装置に収納した使用しないアンギュラ主軸ヘッドが、飛散した切屑の影響を受けず、主軸アタッチメントの着脱が確実に行われる信頼性の高いマシニングセンタを提供できる。
本発明は、上述した実施形態に限定されるものではなく、発明の要旨を逸脱しない範囲内において主軸アタッチメントや主軸アタッチメントクランプ装置、主軸アタッチメント収納装置などの構成の一部を適宜変更して実施することができる。
例えば、主軸アタッチメントは、フライスカッタを取付けたアンギュラアタッチメントに限らず、図19に例示するような孔加工用の刃具(例えばドリルやリーマ)110を取付けた多軸アタッチメント111であっても良い。多軸アタッチメント111は、主軸の軸心回りに180度旋回することで、刃具110の配置が左右対称になる。尚、加工箇所はワークWによって、図19(a)のように加工面が相違している場合も有り得るし、同図(b)のように同一加工面内において加工部が異なる場合も有り得る。
また、主軸アタッチメントがアンギュラアタッチメントの場合も、刃具はフライスカッタに限らず、上記のような孔加工用の刃具であっても良いし、工具角度は90度に限らず、主軸アタッチメントを再装着する際の旋回角度、及び主軸アタッチメント保持装置の旋回装置の旋回角度も180度に限定されない。また、収納装置に収納する主軸アタッチメントは1台に限らず複数であっても良い。この場合、主軸アタッチメント保持装置と旋回装置を複数設けても良いし、主軸アタッチメント保持装置のみを複数設け、主軸アタッチメント保持装置を取付けた旋回装置を1台設ければ、収納装置を安価にできる。
また、旋回装置を電動あるいは油圧モータで駆動しても良い。また、主軸アタッチメントクランプ装置の位置決め固定装置の個数や配列も本実施形態に限定されるものではない。また、コラムの移動装置として油圧シリンダの変わりにモータ駆動の1軸アクチュエータを使用してもよい。
さらに、マシニングセンタは横型でも縦型でも可能であり、門型の5面加工機であっても適用可能である。また、本発明の加工方法は、マシニングセンタに限らず他の工作機械、例えば自動ラインのトランスファマシン等に組込まれる専用機にも適用される。
1 マシニングセンタ(工作機械)
3 旋回テーブル(割出手段)
4 主軸頭
5 ATC装置(自動工具交換手段)
6 主軸
7 テーパー孔
14 工具マガジン
16 機体カバー
20 主軸アタッチメントクランプ装置(支持手段)
30 アンギュラアタッチメント(主軸アタッチメント)
31 アタッチメントボディ(本体)
50 ダミープレート(保護部材)
55 収納装置
56 架台
57 コラム
60 主軸アタッチメント保持装置
70 旋回装置(旋回手段)
75 ダミープレート保持装置(保護部材保持装置)
80 遮蔽板
81 区画カバー(壁面)
82 開口部
90 クラッチツール(動力伝達工具)
107 フライスカッター(刃具)
T 工具
W ワーク
L 移動距離

Claims (6)

  1. 主軸頭に主軸を回転可能に支承し、該主軸の回転が伝達されて刃具が回転する主軸アタッチメントを主軸に装着した工作機械の加工領域内に載置したワークを、該主軸アタッチメントで加工するワークの加工方法であって、
    主軸アタッチメントをワークの最初の加工部に対応した取付姿勢で主軸に装着してワークの最初の加工部を加工し、該加工部を加工後に主軸アタッチメントを主軸から一旦脱着し、工作機械の加工領域外に備えられ、主軸から脱着した主軸アタッチメントの取付姿勢を変更する旋回装置で主軸アタッチメントを次の加工部に対応した取付姿勢に旋回して主軸に再装着し、ワークの次の加工部を加工するようにしたワークの加工方法。
  2. 前記主軸アタッチメントは、刃具の回転軸が主軸の軸心に対し所定の角度を成すアンギュラアタッチメントであり、
    前記最初の加工部は、ワークを前記加工領域内に設けた割出手段上に載置し、該割出手段で所定の角度に割出した第1加工面であり、
    前記新たな取付姿勢は、アンギュラアタッチメントが主軸の軸心回りに180度旋回した取付姿勢であり、
    前記次の加工部は、ワークを割出手段で第1加工面から180度旋回した第2加工面であり、
    該第2加工面を第1加工面と同一のアンギュラアタッチメントで加工する請求項1記載のワークの加工方法。
  3. ワークを加工する工具を装着する主軸を回転可能に支承する主軸頭と、工具を収納する工具マガジンと、該工具マガジンの工具と主軸の工具の自動工具交換手段とを備え、主軸に装着した工具で加工領域内に載置したワークを加工するマシニングセンタであって、主軸の回転が伝達されて刃具が回転する主軸アタッチメントを主軸に着脱可能で、該主軸アタッチメントの本体を主軸頭に所定の取付姿勢で支持する支持装置を備えたマシニングセンタにおいて、
    主軸頭の前方の加工領域外に、主軸から脱着した主軸アタッチメントを保持する主軸アタッチメント保持装置と、主軸アタッチメントを支持装置への取付面内で旋回して新たな取付姿勢に変更する旋回装置と、を備える収納装置を設け、該収納装置に主軸アタッチメントを着脱可能に収納し、収納装置と主軸への主軸アタッチメントの着脱を主軸頭の移動により行う一方、
    主軸アタッチメントは刃具への回転伝達が主軸のテーパー孔に装着する動力伝達工具を介して行われ、該動力伝達工具のみを工具マガジンに収納し、動力伝達工具は工具マガジンに収納した他の工具と自動工具交換手段で交換することを特徴とするマシニングセンタ。
  4. 前記主軸アタッチメントを主軸に装着しない時は、前記主軸アタッチメントの代わりに保護部材を前記支持装置で主軸頭に支持し、前記収納装置に該保護部材を着脱可能に保持する保護部材保持装置を設け、
    該保護部材保持装置と前記支持装置への保護部材の着脱を主軸頭の移動により行うことを特徴とする請求項3記載のマシニングセンタ。
  5. 前記収納装置は、主軸頭の前方に設けられた架台と、
    該架台上を水平方向に前後移動可能で主軸頭に向かう移動方向前面に遮蔽板を備えて加工領域内外を往復移動し、移動距離の前進端と後退端及びこれらの略中間位置である待機位置で停止するコラムと、を備え、
    該コラムに前記保護部材保持装置と、前記旋回装置によって旋回する前記主軸アタッチメント保持装置と、を設け、
    前記収納装置を機体カバーで一体に覆い、該機体カバーにコラムの前進端と待機位置の間で加工領域内外を仕切る壁面を備え、該壁面にコラムが加工領域を出入する開口部を設け、該開口部を遮蔽板で塞いで成る請求項3または4記載のマシニングセンタ。
  6. ワークを載置し所定の角度に割出する為の旋回テーブルを加工領域内に備え、
    前記主軸アタッチメントを刃具の回転軸が主軸の軸心に対し90度の角度を成すアンギュラアタッチメントとし、
    該アンギュラアタッチメントを前記旋回装置で180度旋回して成る請求項3〜5いずれか1項記載のマシニングセンタ。
JP2010167817A 2010-07-27 2010-07-27 ワークの加工方法およびマシニングセンタ Active JP5589645B2 (ja)

Priority Applications (1)

Application Number Priority Date Filing Date Title
JP2010167817A JP5589645B2 (ja) 2010-07-27 2010-07-27 ワークの加工方法およびマシニングセンタ

Applications Claiming Priority (1)

Application Number Priority Date Filing Date Title
JP2010167817A JP5589645B2 (ja) 2010-07-27 2010-07-27 ワークの加工方法およびマシニングセンタ

Publications (2)

Publication Number Publication Date
JP2012024901A true JP2012024901A (ja) 2012-02-09
JP5589645B2 JP5589645B2 (ja) 2014-09-17

Family

ID=45778466

Family Applications (1)

Application Number Title Priority Date Filing Date
JP2010167817A Active JP5589645B2 (ja) 2010-07-27 2010-07-27 ワークの加工方法およびマシニングセンタ

Country Status (1)

Country Link
JP (1) JP5589645B2 (ja)

Cited By (3)

* Cited by examiner, † Cited by third party
Publication number Priority date Publication date Assignee Title
JP2016187838A (ja) * 2015-03-28 2016-11-04 三井精機工業株式会社 工作機械におけるツールマガジン装置
CN113878150A (zh) * 2021-09-16 2022-01-04 山东雷德数控机械股份有限公司 一种环保型数控五轴四铣刀端面铣床
CN118456077A (zh) * 2024-07-10 2024-08-09 宁波迈拓斯数控机械有限公司 一种适用于加工中心的夹持翻转机构

Citations (7)

* Cited by examiner, † Cited by third party
Publication number Priority date Publication date Assignee Title
JPS6094259A (ja) * 1983-10-27 1985-05-27 Shin Nippon Koki Kk アタツチメント自動交換装置
JPS6178538U (ja) * 1984-10-27 1986-05-26
JPH01110049U (ja) * 1988-01-21 1989-07-25
JPH01175140U (ja) * 1988-05-25 1989-12-13
JPH0683230U (ja) * 1993-05-12 1994-11-29 オークマ株式会社 横型マシニングセンタ
JPH09253974A (ja) * 1996-03-26 1997-09-30 Okuma Mach Works Ltd 盲蓋着脱方法及び盲蓋自動着脱装置
JP2008080409A (ja) * 2006-09-25 2008-04-10 Nippei Toyama Corp 工作機械の加工ライン

Patent Citations (7)

* Cited by examiner, † Cited by third party
Publication number Priority date Publication date Assignee Title
JPS6094259A (ja) * 1983-10-27 1985-05-27 Shin Nippon Koki Kk アタツチメント自動交換装置
JPS6178538U (ja) * 1984-10-27 1986-05-26
JPH01110049U (ja) * 1988-01-21 1989-07-25
JPH01175140U (ja) * 1988-05-25 1989-12-13
JPH0683230U (ja) * 1993-05-12 1994-11-29 オークマ株式会社 横型マシニングセンタ
JPH09253974A (ja) * 1996-03-26 1997-09-30 Okuma Mach Works Ltd 盲蓋着脱方法及び盲蓋自動着脱装置
JP2008080409A (ja) * 2006-09-25 2008-04-10 Nippei Toyama Corp 工作機械の加工ライン

Cited By (4)

* Cited by examiner, † Cited by third party
Publication number Priority date Publication date Assignee Title
JP2016187838A (ja) * 2015-03-28 2016-11-04 三井精機工業株式会社 工作機械におけるツールマガジン装置
CN113878150A (zh) * 2021-09-16 2022-01-04 山东雷德数控机械股份有限公司 一种环保型数控五轴四铣刀端面铣床
CN113878150B (zh) * 2021-09-16 2024-05-17 山东雷德数控机械股份有限公司 一种环保型数控五轴四铣刀端面铣床
CN118456077A (zh) * 2024-07-10 2024-08-09 宁波迈拓斯数控机械有限公司 一种适用于加工中心的夹持翻转机构

Also Published As

Publication number Publication date
JP5589645B2 (ja) 2014-09-17

Similar Documents

Publication Publication Date Title
US8887360B2 (en) Composite working lathe
JP5374771B2 (ja) 工作機械および工具ホルダ
EP2708312B1 (en) Machining center
KR102391258B1 (ko) 공작 기계
US20130061726A1 (en) Machine Tool Apparatus And Method
US11167354B2 (en) Machine tool, in particular lathe
JP5554492B2 (ja) 複合工作機械及びワークの加工方法
JPH01264732A (ja) 工作機械
JP2013509307A (ja) 立複合型旋削・フライス盤マシニングセンタ
KR20180027380A (ko) 작업물을 가공하기 위한 공작 기계 및 이러한 공작 기계 상에서 사용하기 위한 스핀들 캐리어 조립체
US20110268520A1 (en) Angle tool holder for five-face machining
WO2014162556A1 (ja) 立形マシニングセンタの5面加工用アングルツールホルダの自動工具交換装置
CN107872994B (zh) 机床
JP2007075995A (ja) 工作機械
JP5589645B2 (ja) ワークの加工方法およびマシニングセンタ
JP2009178804A (ja) ボーリングバーマガジンを有する工作機械およびボーリングバーマガジン
JP2012183601A (ja) ロボットおよびワーク加工システム
JP2015199186A (ja) 工作機械
CN110014774B (zh) 玻璃精雕机
JP5567733B1 (ja) 立形マシニングセンタの5面加工用アングルツールホルダの自動工具交換装置
CN213729337U (zh) 一种阀体用一站式加工中心
JP7213114B2 (ja) 工具ホルダおよび工作機械
JP7717810B2 (ja) 機械部品を機械加工するためのアセンブリ及び装置
KR20220124534A (ko) 내부를 절삭가공하기 위한 가공장치
JP5769146B2 (ja) 旋盤

Legal Events

Date Code Title Description
A621 Written request for application examination

Free format text: JAPANESE INTERMEDIATE CODE: A621

Effective date: 20121203

A131 Notification of reasons for refusal

Free format text: JAPANESE INTERMEDIATE CODE: A131

Effective date: 20131111

A977 Report on retrieval

Free format text: JAPANESE INTERMEDIATE CODE: A971007

Effective date: 20131114

A521 Written amendment

Free format text: JAPANESE INTERMEDIATE CODE: A523

Effective date: 20131219

TRDD Decision of grant or rejection written
A01 Written decision to grant a patent or to grant a registration (utility model)

Free format text: JAPANESE INTERMEDIATE CODE: A01

Effective date: 20140701

A61 First payment of annual fees (during grant procedure)

Free format text: JAPANESE INTERMEDIATE CODE: A61

Effective date: 20140714

R150 Certificate of patent or registration of utility model

Ref document number: 5589645

Country of ref document: JP

Free format text: JAPANESE INTERMEDIATE CODE: R150