JP2011525035A - 電気消費装置に供給される電力を制御するためのプログラム可能なユーザインターフェース装置 - Google Patents

電気消費装置に供給される電力を制御するためのプログラム可能なユーザインターフェース装置 Download PDF

Info

Publication number
JP2011525035A
JP2011525035A JP2011513085A JP2011513085A JP2011525035A JP 2011525035 A JP2011525035 A JP 2011525035A JP 2011513085 A JP2011513085 A JP 2011513085A JP 2011513085 A JP2011513085 A JP 2011513085A JP 2011525035 A JP2011525035 A JP 2011525035A
Authority
JP
Japan
Prior art keywords
user interface
input
unit
display unit
light
Prior art date
Legal status (The legal status is an assumption and is not a legal conclusion. Google has not performed a legal analysis and makes no representation as to the accuracy of the status listed.)
Granted
Application number
JP2011513085A
Other languages
English (en)
Other versions
JP5698662B2 (ja
Inventor
エルモ エム エイ ディーデリクス
Current Assignee (The listed assignees may be inaccurate. Google has not performed a legal analysis and makes no representation or warranty as to the accuracy of the list.)
Koninklijke Philips NV
Original Assignee
Koninklijke Philips NV
Koninklijke Philips Electronics NV
Priority date (The priority date is an assumption and is not a legal conclusion. Google has not performed a legal analysis and makes no representation as to the accuracy of the date listed.)
Filing date
Publication date
Application filed by Koninklijke Philips NV, Koninklijke Philips Electronics NV filed Critical Koninklijke Philips NV
Publication of JP2011525035A publication Critical patent/JP2011525035A/ja
Application granted granted Critical
Publication of JP5698662B2 publication Critical patent/JP5698662B2/ja
Active legal-status Critical Current
Anticipated expiration legal-status Critical

Links

Images

Classifications

    • HELECTRICITY
    • H05ELECTRIC TECHNIQUES NOT OTHERWISE PROVIDED FOR
    • H05BELECTRIC HEATING; ELECTRIC LIGHT SOURCES NOT OTHERWISE PROVIDED FOR; CIRCUIT ARRANGEMENTS FOR ELECTRIC LIGHT SOURCES, IN GENERAL
    • H05B47/00Circuit arrangements for operating light sources in general, i.e. where the type of light source is not relevant
    • H05B47/10Controlling the light source
    • H05B47/165Controlling the light source following a pre-assigned programmed sequence; Logic control [LC]
    • HELECTRICITY
    • H05ELECTRIC TECHNIQUES NOT OTHERWISE PROVIDED FOR
    • H05BELECTRIC HEATING; ELECTRIC LIGHT SOURCES NOT OTHERWISE PROVIDED FOR; CIRCUIT ARRANGEMENTS FOR ELECTRIC LIGHT SOURCES, IN GENERAL
    • H05B47/00Circuit arrangements for operating light sources in general, i.e. where the type of light source is not relevant
    • H05B47/10Controlling the light source
    • HELECTRICITY
    • H05ELECTRIC TECHNIQUES NOT OTHERWISE PROVIDED FOR
    • H05BELECTRIC HEATING; ELECTRIC LIGHT SOURCES NOT OTHERWISE PROVIDED FOR; CIRCUIT ARRANGEMENTS FOR ELECTRIC LIGHT SOURCES, IN GENERAL
    • H05B45/00Circuit arrangements for operating light-emitting diodes [LED]
    • H05B45/30Driver circuits
    • H05B45/37Converter circuits
    • YGENERAL TAGGING OF NEW TECHNOLOGICAL DEVELOPMENTS; GENERAL TAGGING OF CROSS-SECTIONAL TECHNOLOGIES SPANNING OVER SEVERAL SECTIONS OF THE IPC; TECHNICAL SUBJECTS COVERED BY FORMER USPC CROSS-REFERENCE ART COLLECTIONS [XRACs] AND DIGESTS
    • Y02TECHNOLOGIES OR APPLICATIONS FOR MITIGATION OR ADAPTATION AGAINST CLIMATE CHANGE
    • Y02BCLIMATE CHANGE MITIGATION TECHNOLOGIES RELATED TO BUILDINGS, e.g. HOUSING, HOUSE APPLIANCES OR RELATED END-USER APPLICATIONS
    • Y02B20/00Energy efficient lighting technologies, e.g. halogen lamps or gas discharge lamps
    • Y02B20/40Control techniques providing energy savings, e.g. smart controller or presence detection

Abstract

本発明は、電気消費装置130を制御する方法及びユーザインターフェース装置に関するものである。平均的なユーザに対する改善された利便性を持つ費用効果的ユーザインターフェース装置を提供するために、電気消費装置130を制御するためのユーザインターフェース装置が提供され、該ユーザインターフェース装置は、表示ユニット112及びユーザ入力に基づいて切換信号1aを発生する入力ユニット111を含むマニュアル制御装置110と、上記切換信号1aを入力し、該切換信号1a及び/又は消費装置負荷130から入力されるフィードバック信号1eに基づいて情報信号1bを発生すると共に、電気消費装置130に制御信号1dを出力する電子制御装置120とを有する。上記情報信号1bは、表示ユニット112上の提示と電気消費装置130の制御設定との間の直接的関係を少なくとも示す情報を含む。上記表示ユニット112は、上記提示を、入力された情報信号1bに含まれる情報に基づいて表示するように構成される。

Description

本発明は、電気消費装置(electric consumer)を制御する方法及びユーザインターフェース装置に関する。更に、本発明は、このようなユーザインターフェース装置により制御される照明システムにも関する。
電気消費装置を制御する分野では、電力源から電気消費装置に供給される電力の量を調節するために制御スイッチ、ユーザインターフェース装置又は調光器(dimmer)が使用される。上記電気消費装置は、照明システムのランプ若しくは複数の異なるランプを含む照明システム、混練機等の家庭用機器若しくは真空掃除機の電気モータ、又はヒータであり得る。最も容易な場合、上記スイッチは、単に電気消費装置への電源をスイッチオン/オフするためのハード(機械的)スイッチである。オン状態では、最大の利用可能な電力が電気消費装置に供給される一方、オフ状態では電気消費装置に電力は供給されない。調光器等のソフトスイッチは、電気消費装置への電力供給を連続的に調整するために適用することができる。このような調光器は、照明機器を制御する場合に一般的となってきている。
照明機器は、最も重要な環境作成手段の1つである。人は、異なる雰囲気又は行動のための異なる環境を形成するために照明機器を使用する。研究は、これら環境を更に向上させるために人が有色光を使用したがることを示している。従って、照明機器は、人が斯かる環境を形成するのを可能にするために全色(フルカラー)の光源を含む。
更に進化した照明機器は、柔軟的で且つ集積化されている。このような照明機器は、複数の全色光源、可変色温度光源及び"通常の"機能の光源を有している。幾つかの場合には、このような照明機器は、環境の形成を更に向上させるために、ハイファイ装置、電気ヒータ又はエアコン等の他の電気消費装置負荷と更に作用し合う。言い換えると、近代的照明機器は、通常の照明機能のみならず、室内の雰囲気に影響を与えるための環境生成機能も有している。初期には、これらの機能は、オフィス及び店舗における専門的環境のみに適用された。しかしながら、この種の環境生成は、益々、平均的ユーザに普及してきている。
これらの進歩した照明機器は、複数の異なるランプ、特に複数の全色光源及び/又は可変色温度光源を含んでいるので、これら進歩した照明機器の制御は非常に複雑である。該照明コントローラは、環境生成機能の各々に対して固有のスイッチを必要とする。この結果、照明コントローラ全体に対して大きな空間を必要とするのみならず、該照明コントローラを平均的ユーザが使用することも困難にさせる。これらの上述した欠点は、スイッチにより制御されるべき他の電気消費装置負荷にも当てはまる。
国際特許出願公開第WO2007/072315号は、ユーザインターフェース及び該ユーザインターフェースにより電気的に制御されるべき光源を、電子コントローラにより相互接続することを提案している。該電子コントローラは、ユーザインターフェースから命令を入力し、光源における電力を該ユーザの命令に基づいて調整する。
しかしながら、電気消費装置を制御するための従来の制御装置のアプリケーションは、全体のシステムの複雑さの増加に伴い、益々複雑且つ管理不能になってきている。このことは、特に平均的なユーザにとり従来の制御装置を使用することを困難にさせている。
従って、本発明の目的は、平均的なユーザにとり改善された利便性を持つ費用効果的なユーザインターフェース装置を提供することにある。
本発明は、電気消費装置を制御するための良好な対話式解決策は、平均的なユーザが設定の効果をフィードバック的に認識するのを可能にするという思想に基づくものである。このことは、複数の機能が1つのユーザインターフェース装置に統合された場合に特に重要となる。照明機器の場合、これは、輝度設定、色設定、オン/オフ切り換え、タイミング制御等であり得る。従来の制御システムにおいては、ユーザは、設定の効果を事前に明示的に知ることはない。これは、ユーザにより事前に学ばれなければならない。本発明は、制御設定の効果の提示をフィードバック/フィードフォワード的に組み込むことができる。このようにして、ユーザは、当該設定を起動させる前に又は直接設定中に効果を認識することができ、ユーザインターフェース装置を直感的に使用することができる。このことは、使用前に、当該ユーザインターフェース装置で懸命に訓練することを省略することを可能にし、かくして、該ユーザインターフェース装置は、斯様な大変な訓練のための時間が少ない平均的なユーザに特に適している。
従って、本発明は、マニュアル制御装置及び電子制御装置を有する、電気消費装置を制御するためのユーザインターフェース装置を提案する。上記マニュアル制御装置は、入力ユニット及び表示ユニットを含む。ユーザが上記入力ユニットにおいて入力を実行すると、該入力ユニットは上記のユーザ入力に基づいて切換信号を発生し、該信号を上記電子制御装置に送信する。該電子制御装置は、少なくとも上記切換信号及び/又は消費装置負荷のフィードバック信号に基づいて情報信号を発生し、該情報信号を上記マニュアル制御装置の表示ユニットに送信する。上記情報信号は、上記表示ユニット上の提示と上記電気消費装置の制御設定との間の直接的な関係を少なくとも示す情報を含み、該表示ユニットは、受信された情報信号に含まれる該情報に基づいて提示を表示するように構成されている。
上記情報信号中の情報により、ユーザは、当該電気消費装置における自身の設定の効果についての情報を即座に得ることができる。このことは、ユーザが当該ユーザインターフェース装置を直感的に利用するのを可能にする。従って、制御設定に馴染むための所要の訓練は減少される。何故なら、ユーザは設定と該設定の効果との間の関係を学ぶ必要がないからである。従って、本発明のユーザインターフェース装置は、該ユーザインターフェース装置に馴染むための大変な訓練に対し多くの時間を有さないユーザにとり特に適している。更に、本発明のユーザインターフェース装置は、再プログラムすることができる。何故なら、前記電子制御装置は、上記表示ユニットに対して異なる情報信号を、上記電気消費装置に対して異なる制御信号を出力するようにプログラムすることができるからである。
上記情報信号は、前記切換信号のみに基づいて発生することができる。従って、ユーザは、消費装置負荷を切り換えるための各コマンドを出力する前に、意図された設定のフィードフォワード情報を得ることができる。このことは、設定を適用する前に、特定の制御を試行する可能性を提供する。
他方、本発明のユーザインターフェース装置は、接続された消費装置負荷からフィードバック信号を受信することができる。この構成は、当該消費装置が隠れているか又は遠く離れて配置されている場合、ユーザが自身の制御の効果を直接認識したい場合に適し得る。このような場合、当該消費装置負荷は該消費装置負荷を効果的に制御するために要する該負荷の状態又は他のパラメータを供給し、前記電子制御装置は前記情報信号を、このフィードバック信号のみに基づいて発生することができる。欠陥のある消費装置負荷の場合、ユーザインターフェース装置は該消費装置負荷の欠陥状態を前記表示ユニット上に描くことができ、従って、ユーザは意図する制御が可能ではないことを認識することができる。同様にして、消費装置負荷が所要の能力を有していない等の何らかの理由により、何らかの他の意図する制御が可能でない場合も描くことができる。
更に、前記電子制御装置が、両方の信号、即ちユーザの所望の制御を示す前記切換信号及び消費装置負荷から受信されるフィードバック信号を、前記情報信号を発生するために使用することも可能であり、該情報信号は前記表示ユニット上に表示される。この構成により、ユーザは、ユーザ入力の結果である複合情報を得、該情報信号を発生する場合に、接続された消費装置負荷の現在の状態も考慮される。
一例として、消費装置負荷が複雑な照明システムであり、ユーザが穏やかな(smooth)光を達成するよう制御したい場合、前記電子制御装置は、一方では消費装置負荷を制御するための制御信号を発生し、他方ではマニュアル制御装置の表示ユニット上に穏やかな光を示すための情報を含む情報信号を発生する。このように、ユーザは自身の入力の効果の感覚を得る。更に、前記フィードバック信号を付加的に使用することにより、当該ユーザインターフェース装置は、例えば前記表示ユニット上の各欠陥ランプを示す特定部分をスイッチオフすることにより、当該照明システムの欠陥ランプを示すことができる。
好ましい実施例において、前記電気消費装置は照明機器又は照明システムとすることができ、前記電子制御装置により出力される情報信号に含まれる表示情報により示される前記直接的な関係は、前記表示ユニットにより出力される光と、上記照明機器又は照明システムの制御設定との間の直接的な関係である。
近年、照明機器には、輝度の調光、色設定、環境設定、タイミング機能、簡単なオン/オフ切り換え等の益々多くの機能が装備されている。これらの設定のフィーチャの全ては、設定と効果との間の関係を学ぶ訓練を必要とする。しかしながら、本発明により表示ユニットにフィードバック/フィードフォワード情報信号を供給することによって、ユーザは、自身の設定の効果を表示器上で簡潔に直接的に理解することができる。このように、特に近代的照明機器の場合、本発明は特に使用時に有効である。
上記表示ユニットにより出力される光は、当該照明機器の照明設定の特性を表すことができる。この構成は、当該設定の効果を、期待される効果と直接検証することを可能にする。
上記照明設定の特性は、オン/オフ切り換え、輝度の調光、色温度の設定、昼光の設定又は色制御のうちの少なくとも1つとすることができる。これらの機能は、表示ユニット上に理解可能で且つ図解的な形態で提示することができ、その場合において、これら機能の各々は異なる提示法則により供給することができる。一例として、上記オン/オフ切り換えは、簡単なスイッチにより表示することができる。上記輝度の調光は、当該表示器の輝度により直接的に示すことができる。上記色温度設定は、当該表示器上の提示を種々に着色することにより表示することができる。上記昼光設定は、簡単な絵により実現することができる。上記色制御は、カラーバーにより実現することができる。このように、これらの照明設定は、表示ユニット上のユーザに優しい提示に特に適している。
上記表示ユニットは、発光ダイオードのマトリクスとすることができる。この構成は、低解像度の表示器を非常に費用効果的態様で実現するのを可能にする。LEDは、容易に制御することができると共に、当該表示ユニット上に色及び輝度設定を表示するために非常に適した全色範囲を提供する。更に、LEDの電力消費は非常に低く、従って熱放散は管理可能である。LEDを使用することにより、高価なLCDの利用は回避される。全色LEDでも、照明システムの効果を図示的に現すことができる。何故なら、これらは異なる色、色温度、彩度(saturation)レベル、輝度等を表すことができるからである。
前記入力ユニットは、接触(タッチ)感知素子のマトリクスとすることができる。この構成は、複数の異なる入力の可能性を非常に費用効果的態様で提供するのを可能にする。接触感知素子は、容量性感知に基づいて動作することができる。接触感知素子を使用することにより、前記制御装置は容易に再プログラムすることができる一方、異なる制御機能を、異なる入力及び表示ユニットを必要とすることなしに、同一の装置により実現することができる。
容量性感知は、実現するのが技術的に容易であり、プログラムするのが余り複雑でなく、干渉に対して強固である。このように、該解決策は、非常に費用効果的である。更に、平均的なユーザは、漸進的な入力手段には余り馴れていない。このように、複数の異なるユーザのタイプ、典型的な強く押すユーザ及び柔らかく押すユーザ、の入力が同一の設定効果となることが保証されねばならない。容量性感知は干渉に対して強いので、この要件は満足される。
前記入力ユニット及び表示ユニットは、共通層内に相互に入れ子状態で配置することができる。共通層内の上記入力ユニット及び表示ユニットの該配置は、当該ユーザインターフェース装置が少ない材料で軽量に具現化されねばならない場合に、特に適している。更に、このような具現化は、その平らな形状により全体のシステムに対して空間を節約するであろう。
他の例として、上記入力ユニット及び表示ユニットは、互いに重ね合う(積層する)ように配置することができ、その場合において、入力ユニットはユーザから見て表示ユニットの前に配置される。表示ユニットの前の入力ユニットの配置は、入力ユニットの感度の増加のために特に適している。この構成は、入力ユニットの干渉に対する感度が更に低減されるという利点を有する。更に、LEDマトリクスの制御は容易に達成することができる。何故なら、LEDマトリクスは、タッチパッドの背後に配置された場合、容易に接続可能となるからである。更に、熱放散は、当該マニュアル制御装置の全後側表面を使用することができる。
他の例として、上記入力ユニットは、上記表示ユニットの背後に配置することもできる。このような実施例は、入力ユニットが表示ユニットの背後に配置されるので、入力ユニットを透明な方法で実現することなしに何とかなるものである。このように、該入力ユニットを実現するために一層多くの異なる材料タイプが利用可能となり、当該入力ユニットのために更に費用効果的な材料及び構造を使用することを可能にする。
当該ユーザインターフェース装置は、前記情報信号に含まれるオーディオ情報を出力するためのスピーカを更に含むことができる。前記電子制御装置は、上記情報信号に、事前にプログラムされた又はリアルタイムに発生されるオーディオ情報を挿入することができる。この構成は、ユーザに対して何らかのフィードバック情報を提供するための出力の可能性を増加させ、全体のシステムの直感的使用を促進させる。このように、変更ユーザ入力又は前記電子制御装置に制御信号を消費装置負荷に出力することを通知するための確認コマンドを示すためにクリック音又はビープ音を出力することができる。上記オーディオ情報は、前記電子制御装置内に事前にプログラムすることができる。この構成は、複数の異なるタイプのオーディオ情報が出力されるのを可能にするのみならず、当該ユーザインターフェース装置をユーザの個人的考えに適合させるのを可能にする。上記オーディオ情報は、上記電子制御装置内でリアルタイムに発生することもできる。この構成は、事前にプログラムされたオーディオ情報を記憶するための電子制御装置内のメモリ手段を省略することを可能にし、システム全体の複雑さを更に低減する。
前記電子制御装置は、少なくとも1つの電子制御機能を記憶するための少なくとも1つのメモリと、前記切換信号及び前記少なくとも1つの電子制御機能に基づいて前記情報信号を発生する少なくとも1つのマイクロプロセッサとを含むことができる。更に、該電子制御装置は、前記消費装置負荷に対して前記制御信号及び/又はコマンドを出力するための出力ユニットを含む。
このような電子制御機能を用いることにより、前記切換信号を前記表示ユニット上においてユーザに対し表示されるべき適切な提示に変換することが可能となる。このように、該電子制御機能は、ユーザに対し供給される前記フィードバック情報の提示を更に容易化することを可能にすると共に、システム全体の一層直感的な使用を可能にする。
単一のマイクロプロセッサを、複数の電子制御機能を実行するように適合化させることができる。この構成は、当該ユーザインターフェース装置における電子回路のための所要のスペースを低減させる。
しかしながら、単一のマイクロプロセッサを、単一の電子制御機能を実行するように適合化させることもできる。この構成は、1つのマイクロプロセッサ上で例えばマルチタスク機能を可能にするための複雑なオペレーションソフトウェアを実行させることを要せずに、複数の電子制御機能を互いに同期して実行するのを可能にする。更に、複雑なオペレーションソフトウェア、能力のある高価なマイクロプロセッサを必要とする。このように、各電子制御機能に対して単一のマイクロプロセッサを使用することは、一層効果的な制御機能を可能にするのみならず、費用を更に低減させる。
上記マイクロプロセッサは、前記発光ダイオードのマトリクスにおける発光ダイオードを個別にアドレス指定するように構成することができる。この構成は、該発光ダイオードのマトリクスの低解像度機能を最適に使用するのを可能にする。
当該ユーザインターフェース装置は、複数の異なる制御機能を含むことができ、その場合において、斯かる制御機能は通信ポートを介して上記マイクロプロセッサに供給することができる。他の例として、上記制御機能は、前記電子制御装置のメモリに記憶するか、又は交換可能なメモリにより供給することができる。
この構成は、当該ユーザインターフェース装置の製造が完了した後に制御機能を設けるのを可能にする。この構成は、当該ユーザインターフェース装置を、進展する照明機器に対して更新するために重要であり得る。
前記通信ポートは、好ましくは、プログラミングポート又はネットワークポートとすることができる。上記プログラミングポートは、熟練したユーザが、マイクロプロセッサをプログラミングすることにより個々の制御機能を生成するのを可能にする。上記ネットワークポートは、熟練していないユーザが、当該ユーザインターフェース装置を、製造者又はコミュニティにより供給され得る事前にプログラムされた制御機能に基づいて個性化するのを可能にする。
上記ネットワークポートは、DALI(デジタル・アドレッサブル・照明インターフェース)とすることができ、前記制御装置に及び該制御装置から送信されるデータは照明機器のための共通規格に合致したものとする。
前記制御機能のうちの少なくとも1つは、接続された消費装置負荷を制御するための異なる制御機能をユーザが選択するのを可能にするための、前記表示ユニット上に表示されるべきナビゲーション機能とすることができる。更に、該ナビゲーション機能は当該ユーザインターフェース装置の直感的な使用を容易化する。何故なら、表示ユニットは全情報を1つのスクリーン上に表示する必要はなく、明確な可視総覧による構造化された提示を提供することができるからである。前記ナビゲーション機能は、前記マニュアル制御装置上に取り付けられる被覆層のタイプに基づいて、又は該マニュアル制御装置に挿入されるIDカード又は紙(ペーパ)の識別エレメントに基づいて可能化することができる。この構成は、複数の異なるアプリケーション状況に対して標準のユーザインターフェース装置を供給すると共に、所要の制御機能を活性化する斯様な識別エレメントを挿入することによりユーザ側で設置を完了するのを可能にする。上記識別エレメントは、ペーパの象眼(inlay)とすることができる。このようなペーパ象眼は、正しい制御機能を、ユーザマニュアル等のユーザ情報を提供することと組み合わせるのを可能にする。更に、該ペーパは、LEDマトリクスにより照明される特定の表現を表示することができる。
上記識別エレメントは、サーバから又はインターネットからアンテナ又は接続ケーブルを介して受信される識別信号内に含めることもでき、これにより、製造者が当該ユーザインターフェース装置の設置を遠隔的に完了するのを可能にする。
当該ユーザインターフェース装置は、更に、前記マニュアル制御装置を覆う被覆層を含むことができる。第1に、この構成は、上記マニュアル制御装置を、環境からの、特にはユーザとの対話からの汚れから保護する。
好ましくは、上記被覆層は、拡散面を有することができる。これにより、該被覆層は前記表示ユニットによる出力される光を拡散させる光拡散器として作用する。このように、該表示ユニットの提示は、ユーザにとり、穏やかな光の輝き(グロー)で現れる。この構成は、発光ダイオードのマトリクスを使用する場合に特に興味あるものである(発光ダイオードのマトリクスはユーザにとり低解像度のために非常に粗い粒子状に見えるので、一層自然に表示され得る)。
他の実施例において、上記被覆層の表面は、当該入力ユニット上の、ユーザ入力を受けるように適合化された領域を示すように凹凸(relief)を含むことができる。該凹凸は、上記表面上に、ユーザが感じることができる一種の触覚構造を形成する。この構成は、当該ユーザインターフェース装置を操作する場合に、ユーザに対して更なる直感的な情報源を提供する。上記凹凸を使用することにより、当該ユーザインターフェース装置の直感的アプリケーションが更に容易化される。何故なら、ユーザはタッチパッド上で何処に指を動かすべきかの方向を認識するからである。
上記被覆層は、ペーパ又はIDカードを収容するためのスロットを含むこともできる。この構成は、ユーザマニュアル等の更なる情報又は消費装置負荷を制御するための簡単な表現を提供することを可能にする。上記ペーパは、特定の部屋の種々のランプの配置を図示することができる。このように、ユーザは、何のランプが制御されるべきか、及び当該ランプの各状態、例えばオン/オフ、明るい光、穏やかな光、特定のランプの色等を認識することができる。
前記LEDマトリクスは、接続された照明システムの状態又は色を表示することができるのみならず、簡単な記号又はテキストを図示することもできる。このように、LEDマトリクスはユーザに対して更なる情報を提供するために使用することができる。
前記目的は、消費装置負荷を制御する方法であって、入力ユニット上でユーザ入力を受けると共に該ユーザ入力に基づいて切換信号を発生するステップと、前記消費装置負荷を制御するために該切換信号に基づいて制御信号を発生するステップと、前記切換信号に基づいて情報信号を発生し、前記制御信号を前記電気消費装置に出力し、且つ、表示ユニット上の提示と前記電気消費装置の制御設定との間の直接的関係を少なくとも示す情報を含む前記情報信号を前記表示ユニットに出力するステップと、前記表示ユニット上に前記提示を、入力された前記情報信号に含まれる情報に基づいて表示するステップとを有するような方法により解決される。
更に、前記目的は、コンピュータ上で実行された場合に、前記方法のステップを実行するコンピュータプログラム又はコンピュータプログラム製品により解決される。更に、このようなコンピュータプログラムを含むデータ担体も前記目的を解決する。最後に、前記目的は、このようなコンピュータプログラムを実行するコンピュータによっても解決される。
本発明が解決策を提供する他の課題は、前記マニュアル制御装置の重さ及び空間である。従来のマニュアル制御装置は、前記電気消費装置負荷を制御する電子制御装置に対して切換信号を供給するための入力ユニットを含んでいる。最近のマニュアル制御装置は、更に、電気消費装置負荷の設定範囲又は単に短いマニュアルを示す等の更なる情報をユーザに提供するための表示ユニットを含んでいる。しかしながら、上記表示ユニット及び入力ユニットの組み合わせは、当該マニュアル入力装置の重さ及び所要の空間を増加させてしまう。
従って、本発明の更なる目的は、電気消費装置負荷を制御するためのマニュアル制御装置の空間及び重さを低減することである。
この目的は、前記入力ユニット及び表示ユニットが部分構造体に基づいて構成されるという思想に基づいて解決される。例えば、表示ユニットは、通常、マトリクスに配列された複数のLEDを有する。このように、斯かる表示ユニットの部分構造体は単一のLEDである。上記入力ユニットの部分構造体は接触(タッチ)エレメントとすることができる。上記入力ユニット及び表示ユニットのこれら部分構造体を共通の層内で互いに入れ子にすることが提案される。
上記表示ユニット及び入力ユニットの部分構造体は、共通層内に入れ子状態で配置される。共通層内でのLED及びタッチエレメントの配置により、本発明は、上記入力ユニット又は表示ユニットを担持するための第2層を節約することを可能にする。この構成は、上記第2層のための材料を省略し、該第2層のための材料費並びに空間及び重さを節約することを可能にする。このように、当該マニュアル制御装置は、より安価であり、より軽く、且つ、より小さい。このようなマニュアル制御装置は、前述したようなユーザインターフェース装置と組み合わせることができる。
本発明の他の態様においては、入力装置の代替構成が提案される。詳細には、本発明は接触感知装置の代替構成を提案する。従来の接触感知装置は、容量性感知に基づいて動作され、この構成では、接触を検出するために小さなコンデンサの誘電率の変化が決定される。本発明は、光源により導光層を介して受光器まで案内される光を分析して該光の乱れ(妨害)を検出するという思想に基づいている。これらの乱れは、導光層が接触により歪まされる場合に生じる。このように、これらの歪に基づいて、接触の位置を明確に決定することができる。当該接触感知装置は、ユーザ入力面を持つ導光層と、光を出力するための光発生ユニットとを有し、該光は上記導光層の少なくとも1つの側面に導入される。上記光発生ユニットは、基準光、例えば赤外光を発生する。更に、受光ユニットが上記導光層の対向する側面に結合され、該受光ユニットは上記導光層を介して案内された光を受光する。該接触感知装置は、次いで、上記導光層を介して受光された光を上記基準光と比較し、ユーザ入力の位置を受光された光の乱れに基づいて決定する。このような接触感知装置によれば、従来の入力ユニットに対する代替入力ユニットが提供される。特に、上記光発生ユニットにより発生される光の種類は、ユーザにとって見えないものである。この理由により、このような入力装置は前述したユーザインターフェース装置と容易に組み合わせることができる。赤外光は、ユーザに対し各効果を前記表示ユニットを介してフィードバックとして供給するために前記LEDマトリクスにより出力される光を妨害することはない。このような入力装置は、請求項に記載されたユーザインターフェース装置と有利に組み合わせることができる。
本発明の他の態様は、電気消費装置を制御するためのユーザインターフェース装置に関するものである。該ユーザインターフェース装置は、マニュアル制御装置及び電子制御装置を含む。上記マニュアル制御装置は、表示ユニットと入力ユニットとを含み、ユーザ入力に基づいて切換信号を発生する。この切換信号は上記電子制御装置に供給される。該電子制御装置は上記マニュアル制御装置に接続されて、前記表示ユニット上に制御機能を表示する。更に、該電子制御装置は消費装置負荷に接続されて、調整された電力又は上記消費装置負荷を制御するためのコマンドを出力する。該電子制御装置は、当該ユーザインターフェース装置により実行されるべき制御機能を識別するために読取ユニットを含む。当該制御機能の識別情報に基づいて、該電子制御装置は前記表示ユニットに供給される情報信号を発生する。このように、該情報信号は、前記切換信号及び/又は消費装置負荷から入力されるフィードバック信号及び/又は識別された制御機能に基づいたものとなり得る。上記制御機能は、当該制御システムに結合されるIDカードに含まれるRFIDタグを読み取ることにより識別することができる。このように、当該ユーザインターフェース装置は個性化することができる。更に、制御機能の量は、ユニットに対し又はシステム管理者に対し適合させることができる。当該ユーザインターフェース装置がネットワークに接続される場合、前記読取器は受信されたデータ内で制御機能を識別し、当該制御機能を表す各制御エレメントを前記表示ユニット上に図示することができる。このように、該ユーザインターフェース装置は遠隔地から容易にプログラムすることができる。
このようなユーザインターフェース装置は、請求項1〜9に記載されたユーザインターフェース装置と組み合わせて、ユーザ入力の効果に関する情報を前記表示ユニット上に更に供給することができる。更に、従属請求項2〜9の詳細は、請求項14〜16に記載された独立の解決策に適用することもできる。
図1は、本発明による、消費装置負荷に接続された電子制御装置及びマニュアル制御装置の概略構成を示す。 図2は、本発明によるマニュアル制御装置の配置構成を示す。 図3は、共通層内に入力ユニット及び表示ユニットを有するマニュアル制御装置を示す。 図4は、本発明によるユーザインターフェース装置に対して使用可能な発明的入力ユニットを示す。 図5は、本発明による凹凸を持つ拡散被覆層の例を示す。 図6は、本発明による電子制御装置の構成の第1実施例を示す。 図7は、本発明による電子制御装置の第2実施例を示す。 図8は、照明システムを制御するための2つの異なるユーザインターフェース装置を示す。 図9は、本発明によるユーザインターフェース装置のナビゲーション機能を示す。 図10は、本発明によるマニュアル制御装置の別の実現例を示す。
以下、本発明を、図面に示す実施例に関連して、限定しない例示として詳細に説明する。
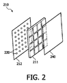
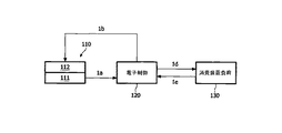
図1は、マニュアル制御装置110、電子制御装置120及び消費装置負荷130を有する、本発明によるユーザインターフェース装置の概略構成を示す。マニュアル制御装置110は、表示ユニット112及び入力ユニット111を有する。該入力ユニット111はユーザ入力に基づいて切換信号1aを発生し、該切換信号は電子制御装置120に供給される。該電子制御装置120は、入力される上記切換信号1aに基づいて情報信号1bを発生し、該情報信号は表示ユニット112に供給される。更に、電子制御装置120は、消費装置負荷130から、該消費装置負荷130の状態又は他のパラメータを示すフィードバック信号1eを入力する。電子制御装置120は制御信号又はコマンド1dを発生し、これら制御信号又はコマンドは消費装置負荷130に供給される電力をマニュアル制御装置110におけるユーザ入力に従って調整するようになっている。電子制御装置120で発生された情報信号1bは、出力された制御信号1d及び/又はユーザ入力の効果の間の直接的関係を含む。このように、ユーザは、表示ユニット112を介して上記消費装置負荷を制御する直前又は該消費装置負荷を制御している最中に、該表示ユニット112上で情報を得ることになる。表示ユニット112は、マトリクス状に配列された複数の全色(フルカラー)LEDを含む。図2及び3に示される、このようなLEDマトリクスを使用することにより、当該ユーザインターフェース装置は、ユーザ入力に基づく制御信号1dを受信した後にユーザに対してユーザ入力の効果についての又は上記の接続された照明システムの状態(ステータス)についてのフィードフォワード又はフィードバック情報を示すための手段を提供する。これも上記表示ユニット112、212上にLEDマトリクス220を介して、意図する/現在実行されている制御の効果を示すことにより、ユーザは、接続された照明システムの輝度、色(カラー)、オン/オフ状態等に関する直接的な情報を受けることができる。
最も簡単な実現例では、マニュアル制御装置110は表示ユニット112及び入力ユニット111を含む。図2に示された実施例によれば、マニュアル制御装置210は3つの層を含む。第1の層は、入力ユニット211を含む第2層により覆われた表示ユニット212であり、上記入力ユニット211は、保護及び/又は拡散層として作用する被覆層240により覆われる。
図2において、感知性入力層211を含む上記第2層は、拡散被覆層240と表示層212との間に配置される。しかしながら、入力層211と表示ユニット212とを入れ換えて、接触感知性入力層211を後側表面に有すると共に表示層212を被覆層240と入力層211との間に有するようなマニュアル制御装置210を得ることも可能である。このような実施例においては、感知性入力ユニット211を透明材料として設ける必要はない。このように、接触感知性入力装置211を実現するために複数の材料を使用することができる。しかしながら、この場合、ユーザ入力は、入力ユニット211と被覆層240との間に配置された表示ユニット212を介して伝えなければならない。LEDマトリクス220を可撓性の形態で構成することにより、ユーザ入力を可撓性被覆層240から表示層212を介して入力ユニット211に伝えることができる。
上記被覆層240は、殆どが、全色LEDマトリクスの光を拡散させるために使用される。このように、ユーザは、単一のLED自体ではなく、穏やかな色を認識することができる。図2に示されたように、マニュアル制御装置210は従来の照明スイッチと類似して見え、従って、ユーザは該マニュアル制御装置を照明コントローラとして認識するであろう。入力層211を表示層212の前に配置する場合、被覆層240は必須であるというものではない。入力ユニットの接触感知層211が拡散及び/保護層としても働き、層の数を1つ減少させることも可能である。
LEDマトリクス220は、複数の小さな全色固体LED(例えば、RGB LED)により実現される。図2又は3には図示されていないが、前記ユーザ入力を処理すると共に該LEDのマトリクスを制御するための構成部品も存在する。ユーザ入力の位置を認識すると共に該LEDマトリクスを制御するための構成部品は、好ましくは、図6及び7に示されるような電子制御装置120内に配置される。
マニュアル制御装置210の他の好ましい実施例が、図3に図示されている。表示ユニット212の各LED220は接触感知エレメント230により囲まれ、該エレメントはLED220と同一の層内に配置される。このように、該マニュアル制御装置210は、LED220と上記接触感知エレメントとを入れ子にすることにより非常にフラットな形状に作製することができる。図3によれば、複数の単一型全色LED220及び接触感知エレメント230を有するLEDマトリクス220は、単一の層内に集積される。図3に示されるように、接触感知エレメント230は各LED220を囲んでいる。しかしながら、2個又は小さなグループのLED220が接触感知エレメント230により囲まれるようにすることも可能である。更に、一種の格子を使用することも可能であり、その場合、LED220は接触感知エレメント230の格子の交差部の間に配置される。LED220及び接触感知エレメント230は、剛性の表面層215又は可撓性箔を用いた可撓性表面層により収容され又は支持される。
LED220のマトリクスは、接続された照明システムに対するユーザ入力の効果及び/又は照明の状態に関するフィードフォワード及びフィードバック情報を提供するために使用される。既述したように、電子制御装置120からマニュアル制御装置110へ供給される情報信号1bを使用することにより、LED220の光は、制御される照明システム130により供給される光と略同様の光を表す。代替的に又は付加的に、LED220のマトリクスは、これらLEDをアドレス指定することにより、グラフィックユーザインターフェースと同等のユーザインターフェースをレンダリングするための低解像度表示器として使用することもできる。該マトリクスは、記号又はテキストを図示するための低解像度表示器として使用することができる。
図2に示すような接触感知性制御層211は、ユーザ入力を測定する。接触感知層211の第1の構成例は、容量性感知により二次元内での物体(指)の位置を測定するタッチパッドであり得る。これは、相対的に正確なユーザ対話を可能にする。他の例として、図2に示すように領域を予め定めることができ、これら領域は容量性感知手段により検出することができる。
入力装置の他の実現例411が図4に示されている。この実施例において、ユーザ入力の位置は、導光層410内の光の案内に基づいて測定される。導光層410は、図2における接触感知層211と同じ位置に配置される。しかしながら、導光層410の側面上には光発生ユニット420が存在し、対向する側面には光検出ユニット440が存在する。ユーザがユーザ入力面を押圧すると、上記光発生ユニット420により出力された光は影響を受け、該影響を受けた光は検出ユニット440により検出される。光発生ユニット420により出力される基準光、及びユーザ入力により影響を受けた受光される光は、共に、マイクロコントローラ450に供給される。該マイクロコントローラ450は、上記の受光された光の基準光との比較に基づいて位置を決定する。このような場合、如何なる干渉も防止するために、前記LEDマトリクス220からの光とは異なる波長を持つ光が使用されるべきである。特定の周波数で光る赤外光を使用することができる。この光は前記側部において導光層420に導入され、他方の側では検出センサ440が、上記層上の圧力による光の透過の妨害(乱れ)を検出する。使用される入力ユニットの種類は、特定のアプリケーションに及び費用要件に依存する。
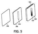
図5を参照して、被覆層540を更に詳細に説明する。被覆層540は、他の2つの層211、212を汚れ及び湿度から保護するために配設される。該被覆層は、LEDマトリクス220からの光がユーザにより穏やかな光の輝きとして認識されるように、光拡散器としても機能する。この構成は、2つの内側の層211、212がユーザには直接は見えないという付加的効果も有する。被覆層540は、図5の左の図に示されるように滑らかな表面を有することができるが、当該ユーザインターフェース装置がユーザに提供する制御機能に応じて、ユーザにより何の領域を押すことができるかを示す凹凸(レリーフ)510を有することもできる。該凹凸510は、図5の真ん中及び右の図に示されるように、ユーザが、触覚的フィードバック、又は何処をユーザが押すことができるか若しくはユーザがどの様に指を動かすことができるかの指示を得るための助けとなり得る。
更に、被覆層540は、当該ユーザインターフェース装置により提供される制御機能に依存して当該ユーザに対し一層詳細な情報(フィードフォワード)を提供するIDカード又はペーパを挿入するためのスロット520も有することができる。
既述したように、本発明によるユーザインターフェース装置は、前記情報信号1b及び制御信号1dを各々発生するために追加の構成部品を必要とする。まず第1に、該ユーザインターフェース装置は接触感知性制御層211、230からの接触入力を変換するモジュールを必要とする。第2に、該ユーザインターフェース装置はLEDマトリクス220を制御するモジュールを必要とする。更に、該ユーザインターフェース装置は、制御信号1dを前記電子制御装置120に接続された照明システム130に送出する出力モジュールを含む必要がある。電子制御装置120により出力される斯かる信号1d、1bは、DMX、DALI又はamBX等の特定のプロトコルのものであり得る。これは、有線又は無線とすることができる。電子制御装置120は、これらプロトコルの1以上に対して対応する接続を有することができる。電子制御装置120は、要求に応じて、従来のオン/オフスイッチのように当該照明の接続を直接制御することもできる。
以下では、電子制御装置の2つの実施例の構成を図6及び7に基づいて説明する。
図6に示される第1実施例による電子制御装置120は中央計算ユニット610を含み、該中央計算ユニットは接触感知マトリクス650から切換信号1aにより各ユーザ入力を受信する。斯かるユーザ入力は接触入力インタプリタ612において処理され、該インタプリタは、検出された各位置を中央計算ユニット610に供給する。中央計算ユニット610は、情報1bをLEDコントローラ611を介してLEDマトリクス640に出力し、各LEDを各々駆動する。
更に、中央計算ユニット610はメモリ620に接続され、該メモリはRAMとして実現することができる。しかしながら、EEPROM等の交換可能な不揮発性メモリも使用することができる。特に、メモリ620は、本発明のユーザインターフェース装置により実行することが可能な異なる制御機能を含むことができる。
中央計算ユニット610は、照明制御インターフェース634を含む出力ユニット630に接続され、該照明制御インターフェースは制御信号1dを、使用されるプロトコルに応じて各プロトコルデータユニット631〜633に伝送する。3つの異なる出力ユニット、例えば、DALIポート631、DMXポート632又は1〜10Vポート633が存在し、これらポートは全て、接続された照明システム130に対して対応する制御コマンドを出力するために設けられている。
更に、該第1実施例の電子制御装置120は、本発明のユーザインターフェース装置により実行され得る、各制御機能のための更新(アップデート)を受信するためのプログラマブル入力ハンドラ661及びプログラミングポート660を含むことができる。
図7に示される実施例も、入力ユニットとして接触感知マトリクス650を含み、該接触感知マトリクスは決定された位置を中央計算ユニット610に供給するために接触入力インタプリタ612に接続される。図7に示されるように、中央計算ユニット610は、一種のROMメモリ620に接続することができる。中央計算ユニット610は、LEDコントローラ611を介してLEDマトリクス640にも接続され、各LED220を制御する。中央計算ユニット610は、出力ユニット630を介して、接続された照明システムの電力を直接出力する。出力ユニット630は、制御信号1dを主電源制御部637のための対応する信号形態に変換する照明制御インターフェース636を含み、該主電源電力制御部は、調整された電力を接続された照明システムに出力するために主電源ポート638に接続される。
中央計算モジュール610は、当該ユーザインターフェース装置により実行することが可能な複数の制御機能を有し、これら制御機能に従ってLEDマトリクス640及び接続された照明システムを制御するためにユーザ入力を使用する。中央計算ユニット610は、プログラム可能(プログラマブル)であり、従って一群の制御機能を含むプログラムがメモリ620に記憶される必要がある。
図6に示されるように、当該電子制御装置は、該電子制御装置によりユーザの接触(タッチ)が検出されたことを示すための聴覚信号を出力するためにスピーカを含むこともできる。この場合、中央計算ユニット610は、聴覚信号がスピーカ670により発音される必要があるとの信号1cを送出する必要がある。この聴覚信号は、ROMモジュール620に事前にプログラムすることができるか、又は例えばクリック音としてリアルタイムに発生することができる。何れの場合においても、小さなスピーカ670を、当該ユーザインターフェース装置に組み込む必要がある。
上記電子制御装置は前記マニュアル制御装置に取り付けることができる。しかしながら、電子制御装置120は、上記マニュアル制御装置から遠くに配置された中央制御ユニットに組み込むことも可能である。電子制御装置120及びマニュアル制御装置110を互いから離隔させて配置する場合、該マニュアル制御装置には、検出された位置を既に含み得る切換信号1aを当該電子制御装置に、及び情報信号1bを前記表示ユニットに無線で又は有線で伝送するために送信及び受信手段を装備する必要がある。
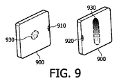
図8に示されるように、当該ユーザインターフェース装置は、異なる制御機能を表す2つのマニュアル制御装置を含むことができる。図8に示されるように、オン/オフ制御機能を提供するための1つのマニュアル制御装置810が存在し得、該装置は、オフ状態である場合に小さな光を図示するような純粋なスイッチを単に表す。他のマニュアル制御装置820は、調光制御又は色目盛を図示する。調光制御又は色目盛制御の場合、ユーザは、当該照明システムの対応する輝度を更に調節することができ、又は当該照明システムの色を制御することができる。当該ユーザインターフェース装置を設置するための少ない空間しか有さない場合、単一の中央計算ユニットを持つ1つのユーザインターフェース装置に複数の制御機能を組み込むことに一層意味があり、その場合において、複数の異なる制御機能を全て同時に提供することができる。しかしながら、これは、当該マニュアル制御装置及び表示ユニットの限られた表面積により、不明瞭になり得る。このように、一時には上記一群の制御機能のうちの1つのみが提示されることの方が一層ありそうである。このことは、或る制御機能から他の制御機能へのナビゲーションの必要性を意味する。図9に示されるように、当該マニュアル制御装置の側面又は側縁にナビゲーション領域910、920を配置することが可能である。ナビゲーション領域910を押圧すると、前記電子制御装置は次の制御機能に切り換わり、当該マニュアル制御装置の表示ユニット上に対応する制御機能又は該制御機能を表すエレメントを図示する。前の制御機能に切り換えて戻す場合、ユーザは、当該マニュアル制御装置の左側の縁部上のナビゲーション領域920を押圧しなければならない。当該マニュアル制御装置の右/左側のナビゲーション領域910、920に斯様な光の小さな点を設けることにより、ユーザは或る制御機能から他の制御機能へとナビゲーションすることができる。
全ての制御機能が事前にプログラムされると共にメモリ620に記憶されることも想起され得る。しかしながら、一時には1つの制御機能のみが使用されるであろう。他の制御機能は拡散被覆層540を変更することにより起動することができ、その場合において、各拡散被覆層540は固有の機能にリンクされ、固有の凹凸を有する。斯かる固有の被覆層540は、例えば、RF-IDタグにより検出される。このように、前記電子制御装置は読取装置を有する必要があり、該読取装置はRF-IDタグを識別することができると共に、メモリ620に又は当該RF-IDタグに記憶された対応する制御機能を当該ユーザインターフェース装置に供給して、該対応する制御機能又は制御エレメントを前記表示ユニット上に各々描くようにする。
他の可能性は、図5に示したようなスロット520に挿入された前記ペーパ象眼を交換することにより、異なる制御機能を起動することができるというものである。この場合、ペーパ象眼は当該電子制御装置により検出される必要があり、これもRF-IDタグによって可能であり得る。当該電子制御装置に組み込まれる前記読取装置は、アンテナ、又は該アンテナからの信号を検出するための何からの電子回路であり得る。これらの電子回路は中央計算ユニット610に接続することができ、検出されたRF-IDタグに応じて異なる制御機能を起動する。異なる制御機能がネットワーク上に、例えばインターネット上に記憶されるようにすることも可能である。ユーザインターフェース装置が、組み込まれたRF-IDタグにより特定の被覆層540又は特定のペーパ象眼を検出した場合、該ユーザインターフェース装置は、当該検出された被覆層540又はペーパ象眼にリンクされたプログラムをネットワークサーバに要求し、該プログラムをダウンロードする。上記特定の被覆層540にリンクされた対応する制御機能をダウンロードした後、該制御機能は起動される。このような機能は、インターネット接続性又は何らかの種類のネットワークサポートを持つ一層進んだコントローラを必要とする。
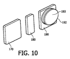
図10は、本発明によるユーザインターフェース装置の外側形状の異なる実現例を示す。図10の左側には、照明スイッチの普通の形状170が示され、この場合、全面積が表示領域及び入力領域として使用される。しかしながら、調光制御機能を提供し又は色温度を調整する等のための一種のスライドスイッチを設けるために、該10図の真ん中に示すように、長方形の領域180のみを有することも可能である。図10の右側に示されるように、マニュアル制御装置190は回転ノブ192を含む。このように、接続された照明システムの特定のパラメータ(調光)を調整するためにノブ192を動かすことにより更なる自由度を達成することができ、その場合において、ダイヤル操作する該ノブ193の表面は、対応する制御機能及び接続された照明システムの効果についてのフィードバック情報を示す。
本発明は、1つのランプのみ又は複数の異なるランプを含む如何なる照明及び照明システムに適用することもできる。しかしながら、本発明は、色制御、タイマ、昼光制御(day light control)等の拡張された制御可能性を備える照明又は照明システムにとり特に有効である。このような照明システムは、商店ドメイン等の専門ドメインのみならずホテルの部屋又は家庭等の消費者ドメインでも利用可能になりつつある。本発明を使用することにより、制御するのが容易であり、接続された制御装置を制御するために必要な所要の制御機能へと再プログラムされる可能性を提供するような、照明システムに対する便利な制御を達成することができる。

Claims (16)

  1. 電気消費装置を制御するユーザインターフェース装置であって、
    − 表示ユニットとユーザ入力に基づいて切換信号を発生する入力ユニットとを含むマニュアル制御装置と、
    − 前記切換信号を入力すると共に、前記切換信号及び/又は前記電気消費装置から入力されるフィードバック信号に基づいて情報信号を発生し、且つ、前記電気消費装置に制御信号を出力する電子制御装置と、
    を有し、
    前記情報信号は、前記表示ユニット上の提示と前記電気消費装置の制御設定との間の直接的関係を少なくとも示す情報を含み、
    前記表示ユニットが、前記提示を、入力される前記情報信号に含まれる前記情報に基づいて表示するユーザインターフェース装置。
  2. 前記電気消費装置は少なくとも1つの照明機器を含み、前記電子制御装置により出力される前記情報信号に含まれる前記情報により示される前記直接的関係が、前記表示ユニットにより出力される光と前記照明機器の制御設定との間の直接的関係である請求項1に記載のユーザインターフェース装置。
  3. 前記表示ユニットにより出力される前記光が、前記照明機器の照明設定の特性を表す請求項2に記載のユーザインターフェース装置。
  4. 前記表示ユニットがLED素子のマトリクスを含み、及び/又は前記入力ユニットが接触感知エレメントのマトリクスを含み、前記接触感知エレメントが好ましくは容量性感知に基づいて動作される請求項1ないし3の何れか一項に記載のユーザインターフェース装置。
  5. 前記入力ユニット及び前記表示ユニットが、共通層内に互いに入れ子状態で配置されるか、又は前記入力ユニットが前記表示ユニットの前又は該表示ユニットの背後に配置されるように互いに積層されて配置される請求項4に記載のユーザインターフェース装置。
  6. 前記電子制御装置が、
    少なくとも1つの電子制御機能を記憶する少なくとも1つのメモリと、
    前記情報信号を、前記切換信号及び前記メモリに記憶された前記少なくとも1つの電子制御機能のうちの1つ及び/又は前記電気消費装置から入力される前記フィードバック信号に基づいて発生する少なくとも1つのマイクロプロセッサと、
    前記電気消費装置に電気信号を出力する出力ユニットと、
    を有し、
    好ましくは1つのマイクロプロセッサが複数の電子制御機能を実行する請求項1〜5の何れか一項に記載のユーザインターフェース装置。
  7. 前記電子制御機能のうちの少なくとも1つは、前記表示ユニット上に表示されてユーザが他の電子制御機能の間で選択することを可能にするナビゲーション機能であり、該ナビゲーション機能は、好ましくは、前記マニュアル制御装置に含まれる被覆層のタイプに基づいて、又はペーパ象眼である識別エレメント又はサーバから若しくはインターネットからアンテナ若しくは接続ケーブルを介して受信される識別信号に含まれる識別エレメントに基づいて可能化される請求項1ないし6の何れか一項に記載のユーザインターフェース装置。
  8. 前記マニュアル制御装置を覆う被覆層を更に含み、該被覆層が拡散面を有する請求項1ないし7の何れか一項に記載のユーザインターフェース装置。
  9. 前記被覆層が、
    前記入力ユニット上のユーザ入力を受ける領域を示すための凹凸、及び/又は
    ペーパ又はIDカードを受け入れるスロット、
    を有する請求項8に記載のユーザインターフェース装置。
  10. 電気消費装置を制御する方法であって、
    − 入力ユニット上でユーザ入力を受けると共に、該ユーザ入力に基づいて切換信号を発生するステップと、
    − 前記切換信号に基づいて前記電気消費装置を制御するための制御信号を発生するステップと、
    − 前記切換信号に基づいて情報信号を発生するステップと、
    − 前記制御信号を前記電気消費装置に出力するステップと、
    − 表示ユニットに、該表示ユニット上の提示と前記電気消費装置の制御設定との間の直接的関係を少なくとも示す情報を含む前記情報信号を出力するステップと、
    − 前記表示ユニット上に、入力された前記情報信号に含まれる情報に基づいて前記提示を表示するステップと、
    を有する方法。
  11. コンピュータ上で実行された場合に請求項10に記載の方法を実行するコンピュータプログラム。
  12. コンピュータ上で実行された場合に請求項10に記載の方法を実行するためのコンピュータプログラムコードを含むデータ担体。
  13. 請求項11に記載のコンピュータプログラムを実行するようにプログラムされたコンピュータ。
  14. 少なくとも1つの電気消費装置を制御するマニュアル制御装置であって、表示ユニットとユーザ入力に基づいて切換信号を発生する入力ユニットとを有し、前記表示ユニット及び前記入力ユニットが共通層内に入れ子状態で配置されるマニュアル制御装置。
  15. ユーザ入力面を有する導光層と、
    前記導光層の少なくとも1つの側面に導入される光を出力すると共に、特にはIR光である基準光を発生する光発生ユニットと、
    前記導光層の反対側の側面に結合された受光ユニットと、
    を有する接触感知性装置であって、前記受光ユニットは前記導光層を介して案内された前記光を受光し、当該接触感知性装置は前記導光層を介して受光された光を前記基準光と比較すると共に、ユーザ入力の位置を該受光された光における乱れに基づいて決定する接触感知性装置。
  16. 電気消費装置を制御するユーザインターフェース装置であって、
    表示ユニットとユーザ入力に基づいて切換信号を発生する入力ユニットとを含むマニュアル制御装置と、
    前記切換信号を入力する電子制御装置と、
    を有し、
    前記電子制御装置が、当該ユーザインターフェース装置により実行されるべき制御機能を識別することができる読取ユニットを含むと共に、情報信号を前記切換信号及び/又はフィードバック信号及び/又は前記識別された制御機能に基づいて発生するユーザインターフェース装置。
JP2011513085A 2008-06-10 2009-06-03 電気消費装置に供給される電力を制御するためのプログラム可能なユーザインターフェース装置 Active JP5698662B2 (ja)

Applications Claiming Priority (3)

Application Number Priority Date Filing Date Title
EP08104340 2008-06-10
EP08104340.8 2008-06-10
PCT/IB2009/052340 WO2009150573A2 (en) 2008-06-10 2009-06-03 Programmable user interface device for controlling an electrical power supplied to an electrical consumer

Publications (2)

Publication Number Publication Date
JP2011525035A true JP2011525035A (ja) 2011-09-08
JP5698662B2 JP5698662B2 (ja) 2015-04-08

Family

ID=41228733

Family Applications (1)

Application Number Title Priority Date Filing Date
JP2011513085A Active JP5698662B2 (ja) 2008-06-10 2009-06-03 電気消費装置に供給される電力を制御するためのプログラム可能なユーザインターフェース装置

Country Status (10)

Country Link
US (1) US20110089857A1 (ja)
EP (1) EP2289286B1 (ja)
JP (1) JP5698662B2 (ja)
KR (1) KR101727129B1 (ja)
CN (1) CN102057755B (ja)
ES (1) ES2537818T3 (ja)
PL (1) PL2289286T3 (ja)
RU (1) RU2523442C2 (ja)
TW (1) TW201007529A (ja)
WO (1) WO2009150573A2 (ja)

Cited By (2)

* Cited by examiner, † Cited by third party
Publication number Priority date Publication date Assignee Title
JP2013115039A (ja) * 2011-11-24 2013-06-10 Lextar Electronics Corp 調光装置及びそれを備えるライトシステム
JP2016507153A (ja) * 2013-02-19 2016-03-07 コーニンクレッカ フィリップス エヌ ヴェKoninklijke Philips N.V. 照明を制御するための方法及び装置

Families Citing this family (11)

* Cited by examiner, † Cited by third party
Publication number Priority date Publication date Assignee Title
WO2009150571A1 (en) * 2008-06-10 2009-12-17 Koninklijke Philips Electronics N. V. User interface device and method for controlling a connected consumer load, and light system using such user interface device
US8553014B2 (en) 2008-06-19 2013-10-08 Neonode Inc. Optical touch screen systems using total internal reflection
US9158416B2 (en) 2009-02-15 2015-10-13 Neonode Inc. Resilient light-based touch surface
JP4990990B2 (ja) * 2010-02-25 2012-08-01 東芝テック株式会社 タッチパネル表示装置およびタッチパネル表示装置の検出方法
KR101761966B1 (ko) 2010-03-31 2017-07-26 가부시키가이샤 한도오따이 에네루기 켄큐쇼 전력 공급 장치와 그 구동 방법
CN102130899B (zh) 2010-12-28 2015-04-29 华为技术有限公司 一种电源协议管理方法、装置及其应用的电源系统
WO2013138003A1 (en) * 2012-03-11 2013-09-19 Neonode Inc. Optical touch screen using total internal reflection
US9674919B2 (en) 2012-06-14 2017-06-06 Philips Lighting Holding B.V. Lighting fixture with touch-sensitive light emitting surface
TWI514125B (zh) * 2013-03-22 2015-12-21 System General Corp 電源供應器的程式化方法
JP6245610B2 (ja) 2014-03-28 2017-12-13 シーシーエス株式会社 照明制御電源
CA3018905C (en) 2016-03-24 2023-09-26 Lutron Electronics Co., Inc. Remote load control device capable of orientation detection

Citations (7)

* Cited by examiner, † Cited by third party
Publication number Priority date Publication date Assignee Title
JPH05313816A (ja) * 1992-05-01 1993-11-26 Nhk Spring Co Ltd ポインティングデバイス
JPH10106756A (ja) * 1996-09-25 1998-04-24 Matsushita Electric Works Ltd 照明装置
US6466234B1 (en) * 1999-02-03 2002-10-15 Microsoft Corporation Method and system for controlling environmental conditions
JP2003162368A (ja) * 2001-11-26 2003-06-06 Canon Inc 遠隔制御装置、遠隔制御システムおよびそれらの制御方法ならびに入力領域提示カード
JP2004318890A (ja) * 2003-04-18 2004-11-11 Agilent Technol Inc 指認識及びフィンガ・ナビゲーションを組み合わせるための画像入力システム及び装置
JP2005136518A (ja) * 2003-10-28 2005-05-26 Sanyo Electric Co Ltd 遠隔操作システム
WO2007105151A1 (en) * 2006-03-13 2007-09-20 Koninklijke Philips Electronics N.V. Control device for controlling the hue of light emitted from a light source

Family Cites Families (30)

* Cited by examiner, † Cited by third party
Publication number Priority date Publication date Assignee Title
SU365745A1 (ru) * 1970-09-08 1973-01-08 УСТРОЙСТВО дл УПРАВЛЕНИЯ ОСВЕТИТЕЛЬНЫМИ
US6437774B1 (en) * 1996-03-26 2002-08-20 Idec Izumi Corporation Display and input device and display and input system
JP3968477B2 (ja) * 1997-07-07 2007-08-29 ソニー株式会社 情報入力装置及び情報入力方法
US5962992A (en) * 1997-10-14 1999-10-05 Chaw Khong Co., Ltd. Lighting control system
US6314248B1 (en) * 1998-04-21 2001-11-06 Fuji Photo Film, Co., Ltd. Image photography apparatus, image reproducing apparatus, image photography and reproducing apparatus, stereographic projector, jig for image stereoscopic vision, and printer
CA2332866A1 (en) * 1998-05-18 1999-11-25 Leviton Manufacturing Co., Inc. Network based electrical control system with distributed sensing and control
US6275741B1 (en) * 1998-10-05 2001-08-14 Husky Injection Molding Systems Ltd. Integrated control platform for injection molding system
US6437527B1 (en) * 1999-06-18 2002-08-20 Duane A. Rhodes Garage door security device
US6608617B2 (en) * 2000-05-09 2003-08-19 Marc O. Hoffknecht Lighting control interface
EP1160160A3 (de) * 2000-05-31 2002-01-30 EADS Airbus GmbH Vorrichtung zur Steuerung und Überwachung von Flugzeug-Kabinensystemen
US6927384B2 (en) * 2001-08-13 2005-08-09 Nokia Mobile Phones Ltd. Method and device for detecting touch pad unit
RU27187U1 (ru) * 2002-07-01 2003-01-10 ООО "Уренгойгазпром" ОАО "Газпром" Осветительное устройство для создания световых эффектов
WO2004006578A2 (en) * 2002-07-04 2004-01-15 Koninklijke Philips Electronics N.V. Method of and system for controlling an ambient light and lighting unit
WO2004031930A1 (en) * 2002-09-30 2004-04-15 Sanyo Electric Co., Ltd. Mobile digital devices
CN1784932B (zh) * 2003-05-07 2011-09-28 皇家飞利浦电子股份有限公司 用来控制发光二极管的用户界面
US7271543B1 (en) * 2003-05-09 2007-09-18 Jeffrey Jay Goldstein Method for providing bi-level illumination in a stair well
US7382356B2 (en) * 2003-09-15 2008-06-03 Sharper Image Corp. Input unit for games and musical keyboards
US20070084989A1 (en) * 2003-09-22 2007-04-19 Koninklijke Philips Electronics N.V. Light guide touch screen
US7426157B2 (en) * 2004-03-04 2008-09-16 Nathan James Arnold Electronic practice device
CN100541516C (zh) * 2004-10-27 2009-09-16 乐金电子(天津)电器有限公司 智能标签解读电器设备
RU2281614C1 (ru) * 2004-11-26 2006-08-10 Закрытое акционерное общество "ПРО-САМ" Интегрированная многофункциональная система контроля и управления
US7456754B1 (en) * 2005-05-25 2008-11-25 Derek Haynes Antifratricide beacon
US20070018965A1 (en) * 2005-07-22 2007-01-25 Tyco Electronics Canada, Ltd. Illuminated touch control interface
WO2007072315A1 (en) 2005-12-22 2007-06-28 Koninklijke Philips Electronics N.V. User interface and method for control of light systems
US7791595B2 (en) * 2006-06-20 2010-09-07 Lutron Electronics Co., Inc. Touch screen assembly for a lighting control
US20080238665A1 (en) * 2006-12-15 2008-10-02 Robin Peng Sensory feedback systems for non-contact electrical switches
EP2132960B1 (en) * 2007-03-29 2012-05-16 Koninklijke Philips Electronics N.V. Natural daylight mimicking system and user interface
US7690802B2 (en) * 2007-04-17 2010-04-06 Cree, Inc. Light emitting diode emergency lighting methods and apparatus
TW200910243A (en) * 2007-05-24 2009-03-01 Koninkl Philips Electronics Nv System and method for automatically creating a specific atmosphere by controlling contributions of sensorial perceptible stimulus means
US8070669B2 (en) * 2008-08-04 2011-12-06 Gestion Ultra International Inc. Wall integrated multisensory therapy device

Patent Citations (7)

* Cited by examiner, † Cited by third party
Publication number Priority date Publication date Assignee Title
JPH05313816A (ja) * 1992-05-01 1993-11-26 Nhk Spring Co Ltd ポインティングデバイス
JPH10106756A (ja) * 1996-09-25 1998-04-24 Matsushita Electric Works Ltd 照明装置
US6466234B1 (en) * 1999-02-03 2002-10-15 Microsoft Corporation Method and system for controlling environmental conditions
JP2003162368A (ja) * 2001-11-26 2003-06-06 Canon Inc 遠隔制御装置、遠隔制御システムおよびそれらの制御方法ならびに入力領域提示カード
JP2004318890A (ja) * 2003-04-18 2004-11-11 Agilent Technol Inc 指認識及びフィンガ・ナビゲーションを組み合わせるための画像入力システム及び装置
JP2005136518A (ja) * 2003-10-28 2005-05-26 Sanyo Electric Co Ltd 遠隔操作システム
WO2007105151A1 (en) * 2006-03-13 2007-09-20 Koninklijke Philips Electronics N.V. Control device for controlling the hue of light emitted from a light source

Cited By (2)

* Cited by examiner, † Cited by third party
Publication number Priority date Publication date Assignee Title
JP2013115039A (ja) * 2011-11-24 2013-06-10 Lextar Electronics Corp 調光装置及びそれを備えるライトシステム
JP2016507153A (ja) * 2013-02-19 2016-03-07 コーニンクレッカ フィリップス エヌ ヴェKoninklijke Philips N.V. 照明を制御するための方法及び装置

Also Published As

Publication number Publication date
WO2009150573A3 (en) 2010-04-22
CN102057755A (zh) 2011-05-11
JP5698662B2 (ja) 2015-04-08
KR20110015691A (ko) 2011-02-16
RU2010154542A (ru) 2012-07-20
RU2523442C2 (ru) 2014-07-20
EP2289286A2 (en) 2011-03-02
WO2009150573A2 (en) 2009-12-17
PL2289286T3 (pl) 2015-08-31
CN102057755B (zh) 2014-07-23
US20110089857A1 (en) 2011-04-21
KR101727129B1 (ko) 2017-04-14
TW201007529A (en) 2010-02-16
EP2289286B1 (en) 2015-04-15
ES2537818T3 (es) 2015-06-12

Similar Documents

Publication Publication Date Title
JP5698662B2 (ja) 電気消費装置に供給される電力を制御するためのプログラム可能なユーザインターフェース装置
EP2308270B9 (en) User interface device and method for controlling a connected consumer load, and light system using such user interface device
EP3417677B1 (en) Wireless switch
US9465407B2 (en) Controller with dynamically indicated input devices
EP2289285B1 (en) User interface device for controlling a consumer load and light system using such user interface device
US20140062334A1 (en) Illumination control system
EP2245906B1 (en) Color selection input device and method
WO2011007325A1 (en) Luminaire with touch pattern control interface
US20050050478A1 (en) Keypad and methods of operation
JP2026022165A (ja) 制御方法、プログラム、情報端末、スイッチ装置、及び負荷システム
JP2026022164A (ja) 制御方法、プログラム、情報端末、スイッチ装置、及び負荷システム
JP2026022167A (ja) 制御方法、プログラム、情報端末、スイッチ装置、及び負荷システム
KR20220096005A (ko) 무드등을 갖는 감성 조명 온습도계
KR20180089662A (ko) 전구 및 소켓

Legal Events

Date Code Title Description
A621 Written request for application examination

Free format text: JAPANESE INTERMEDIATE CODE: A621

Effective date: 20120531

A131 Notification of reasons for refusal

Free format text: JAPANESE INTERMEDIATE CODE: A131

Effective date: 20130618

A601 Written request for extension of time

Free format text: JAPANESE INTERMEDIATE CODE: A601

Effective date: 20130917

RD02 Notification of acceptance of power of attorney

Free format text: JAPANESE INTERMEDIATE CODE: A7422

Effective date: 20130917

A602 Written permission of extension of time

Free format text: JAPANESE INTERMEDIATE CODE: A602

Effective date: 20130925

A521 Request for written amendment filed

Free format text: JAPANESE INTERMEDIATE CODE: A523

Effective date: 20131218

A131 Notification of reasons for refusal

Free format text: JAPANESE INTERMEDIATE CODE: A131

Effective date: 20140430

A521 Request for written amendment filed

Free format text: JAPANESE INTERMEDIATE CODE: A523

Effective date: 20140708

A131 Notification of reasons for refusal

Free format text: JAPANESE INTERMEDIATE CODE: A131

Effective date: 20140825

A521 Request for written amendment filed

Free format text: JAPANESE INTERMEDIATE CODE: A523

Effective date: 20141104

TRDD Decision of grant or rejection written
A01 Written decision to grant a patent or to grant a registration (utility model)

Free format text: JAPANESE INTERMEDIATE CODE: A01

Effective date: 20150116

A61 First payment of annual fees (during grant procedure)

Free format text: JAPANESE INTERMEDIATE CODE: A61

Effective date: 20150213

R150 Certificate of patent or registration of utility model

Ref document number: 5698662

Country of ref document: JP

Free format text: JAPANESE INTERMEDIATE CODE: R150

S111 Request for change of ownership or part of ownership

Free format text: JAPANESE INTERMEDIATE CODE: R313113

R350 Written notification of registration of transfer

Free format text: JAPANESE INTERMEDIATE CODE: R350

R250 Receipt of annual fees

Free format text: JAPANESE INTERMEDIATE CODE: R250

R250 Receipt of annual fees

Free format text: JAPANESE INTERMEDIATE CODE: R250

S531 Written request for registration of change of domicile

Free format text: JAPANESE INTERMEDIATE CODE: R313531

S533 Written request for registration of change of name

Free format text: JAPANESE INTERMEDIATE CODE: R313533

R350 Written notification of registration of transfer

Free format text: JAPANESE INTERMEDIATE CODE: R350

R250 Receipt of annual fees

Free format text: JAPANESE INTERMEDIATE CODE: R250

R250 Receipt of annual fees

Free format text: JAPANESE INTERMEDIATE CODE: R250

R250 Receipt of annual fees

Free format text: JAPANESE INTERMEDIATE CODE: R250

R250 Receipt of annual fees

Free format text: JAPANESE INTERMEDIATE CODE: R250

R250 Receipt of annual fees

Free format text: JAPANESE INTERMEDIATE CODE: R250

R250 Receipt of annual fees

Free format text: JAPANESE INTERMEDIATE CODE: R250

R250 Receipt of annual fees

Free format text: JAPANESE INTERMEDIATE CODE: R250