JP2011190833A - 止水方法および止水装置 - Google Patents

止水方法および止水装置 Download PDF

Info

Publication number
JP2011190833A
JP2011190833A JP2010055629A JP2010055629A JP2011190833A JP 2011190833 A JP2011190833 A JP 2011190833A JP 2010055629 A JP2010055629 A JP 2010055629A JP 2010055629 A JP2010055629 A JP 2010055629A JP 2011190833 A JP2011190833 A JP 2011190833A
Authority
JP
Japan
Prior art keywords
water
water stop
bag
stopping
fluid
Prior art date
Legal status (The legal status is an assumption and is not a legal conclusion. Google has not performed a legal analysis and makes no representation as to the accuracy of the status listed.)
Pending
Application number
JP2010055629A
Other languages
English (en)
Inventor
Hajime Yamamoto
一 山本
Yoshiaki Date
義明 伊達
Current Assignee (The listed assignees may be inaccurate. Google has not performed a legal analysis and makes no representation or warranty as to the accuracy of the list.)
Chugoku Electric Power Co Inc
Original Assignee
Chugoku Electric Power Co Inc
Priority date (The priority date is an assumption and is not a legal conclusion. Google has not performed a legal analysis and makes no representation as to the accuracy of the date listed.)
Filing date
Publication date
Application filed by Chugoku Electric Power Co Inc filed Critical Chugoku Electric Power Co Inc
Priority to JP2010055629A priority Critical patent/JP2011190833A/ja
Publication of JP2011190833A publication Critical patent/JP2011190833A/ja
Pending legal-status Critical Current

Links

Images

Landscapes

  • Underground Structures, Protecting, Testing And Restoring Foundations (AREA)

Abstract

【課題】 簡易な構成で部材と部材との間からの水漏れを容易にかつ確実に防止することが可能な止水方法および止水装置を提供する。
【解決手段】 管路2と電力ケーブル3との間に、内圧によって膨出可能な止水袋4を配置し、止水袋4内にゲル5を圧送するとともに、圧送されたゲル5を止水袋4内に封入し、ゲル5の封入によって膨出した止水袋4を管路2と電力ケーブル3の双方に密着させる。
【選択図】 図1

Description

この発明は、部材と部材との間からの液漏れを容易にかつ確実に防止することが可能な止水方法および止水装置に関する。
地中送電線路の電力ケーブルは、地下に埋設された管路内に敷設されている。管路の各所には、電力ケーブル同士を接続するためのマンホールが設けられている。管路のマンホールへの開口部には、地中から管路内に浸入した水がマンホール内に流入するのを防止するための止水具が設けられている。
図11および図12は、従来の止水具の一例を示している。図11に示すように、管路2のマンホールへの開口部2bには、止水具200が設けられている。止水具200は、対向して配置されるフランジ201を有しており、左右のフランジ201の間にコンパウンド202が配設されている。止水具200は、長軸ボルト203を使用してコンパウンド202を軸方向に圧縮することによりコンパウンド202を膨出させ、電力ケーブル3の外面と管路2の内面との間を塞ぐようにしている。
従来から、防水混和物を用いて管路内への水の浸入を防止する技術は知られている(例えば、特許文献1参照。)。また、地中送電線路においては、屈曲可能なフレックス管を用いて電力ケーブルを敷設することが行われており、フレックス管同士の接続部からの水の浸入を防止するための技術も知られている(例えば、特許文献2、3参照。)。
実用新案登録第3137882号公報 特開平08−28767号公報 実用新案登録第3048631号公報
しかし、図11および図12に示す止水具200は、コンパウンド202が管路2に浸入した水と接触することにより劣化が進行し、止水機能を長期にわたって維持することが難しいという問題がある。特許文献1のように、防水混和物を用いて管路内への水の浸入を防止する技術は、現場で防水混和物を管路に充填する必要があり、作業効率が悪いという問題がある。また、特許文献2、3のように、フレックス管の接続部からの水漏れを確実に防止するためには、例えば継手を高精度に加工する必要があり、コストが著しく高くなるという問題がある。このような部材と部材との間からの水漏れの問題は、地中送電線路に限られず、他の構造物にも存在する。
そこで本発明は、簡易な構成で部材と部材との間からの液漏れを容易にかつ確実に防止することが可能な止水方法および止水装置を提供することを目的とする。
上記目的を達成するために請求項1に記載の発明は、第1の部材と第2の部材との間からの液漏れを防止する止水方法であって、前記第1の部材と前記第2の部材との間に、内圧によって膨出可能な止水袋を配置し、前記止水袋内に止水用流体を圧送するとともに、圧送された止水用流体を前記止水袋内に封入し、前記止水用流体の封入によって膨出した前記止水袋を前記第1の部材と前記第2の部材の双方に密着させることを特徴とする止水方法である。
この発明によれば、止水袋に圧送される止水用流体によって止水袋内の圧力が上昇し、止水袋は第1の部材と第2の部材に向かって膨出する。圧送された止水用流体が止水袋内に封入された状態では、止水袋が第1の部材と第2の部材の双方に密着し、第1の部材と第2の部材との間からの液漏れが防止される。
請求項2に記載の発明は、第1の部材と第2の部材との間からの液漏れを防止する止水装置であって、前記第1の部材と前記第2の部材との間に配置可能で内圧によって膨出可能な止水袋と、前記止水袋内に圧送された止水用流体を前記止水袋内に封入する流体封入手段と、を備え、前記止水袋は、前記止水用流体の封入による膨出によって前記第1の部材と前記第2の部材の双方に密着可能であることを特徴とする止水装置である。
請求項3に記載の発明は、請求項1に記載の止水方法または請求項2に記載の止水装置において、前記止水用流体は、少なくとも水、空気、ゲルのいずれかであることを特徴としている。
請求項4に記載の発明は、請求項2に記載の止水装置において、前記止水袋の前記止水用流体の流入口には、前記止水用流体の前記止水袋への流入を許容するとともに、前記止水用流体の前記止水袋からの流出を阻止する逆止弁が設けられていることを特徴としている。
請求項5に記載の発明は、請求項1に記載の止水方法または請求項2に記載の止水装置において、前記第1の部材は地中に埋設されマンホールと接続される管路であり、前記第2の部材は前記管路内に敷設される電力ケーブルである、ことを特徴としている。
請求項6に記載の発明は、請求項1に記載の止水方法または請求項2に記載の止水装置において、前記第1の部材は地中に埋設される止水用パイプであり、前記第2の部材は少なくとも前記止水用パイプの内側に配置され地中に埋設されるフレックス管、異径管、異種管のいずれかである、ことを特徴としている。
請求項1および2に記載の発明によれば、止水用流体を止水袋に封入するのみで、止水袋を第1の部材と第2の部材の双方に密着させることができるので、防水混和物を管路に充填する従来技術に比べて著しく作業が容易となり、現場における作業能率を高めることができる。また、止水袋は内圧によって第1の部材と第2の部材に密着するので、第1の部材と第2の部材の加工精度が低い場合や表面が凹凸状態であっても、第1の部材と第2の部材との間を確実に塞ぐことが可能となり、第1の部材と第2の部材との間からの液漏れを確実に防止することができる。
請求項3に記載の発明によれば、止水用流体として少なくとも水、空気、ゲルのいずれかを用いているので、止水袋をこれらの流体を利用して膨出させることができる。とくに、水、空気は取り扱いが容易であり、安価であるので、止水コストを低減することができる。また、止水用流体をゲルとした場合は、止水用流体を空気とした場合に比べてゲルが止水袋から抜けにくくなり、止水機能を長期にわたり維持することができる。
請求項4に記載の発明によれば、逆止弁によって止水用流体の圧送完了時の逆流を防止することができる。したがって、止水袋内部の圧力を十分に高めることができ、止水袋の第1の部材と第2の部材の密着度をさらに高めることができる。
請求項5に記載の発明によれば、管路と電力ケーブルとの間からの液漏れを防止することが可能となるので、地中から管路に浸入した液体(水)のマンホール内への流入を防止することができる。
請求項6に記載の発明によれば、第2の部材を少なくとも止水用パイプの内側に配置され地中に埋設されるフレックス管、異径管、異種管のいずれかとしたので、第1の部材と第2の部材との間がフレックス管などによって滑らかな形状に形成されない場合でも、止水袋の密着によって止水用パイプとフレックス管などとの間からの液漏れを防止することが可能となる。これにより、地中の液体(水)が止水用パイプとフレックス管などとの間に流入するのを確実に防止することができる。
本発明の実施の形態1に係わる止水装置の拡大断面図である。 図1の止水装置が設けられるマンホール付近の断面図である。 図1の止水装置の展開状態を示す斜視図である。 図1の止水装置が設けられたマンホールの管路開口部近傍の拡大斜視図である。 図1の止水装置の流体封入手段における逆止弁の拡大斜視図である。 本発明の実施の形態2に係わる止水装置が設けられた管路の拡大断面図である。 図6の止水装置の斜視図である。 図6の変形例を示す斜視図である。 本発明の実施の形態3に係わる止水装置の拡大断面図である。 図9の止水装置の断面斜視図である。 従来の止水金具を用いた管路の防水構造を示す断面図である。 図11の止水金具の正面図である。
次に、この発明の実施の形態について、図面を用いて詳しく説明する。
(実施の形態1)
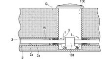
図1ないし図5は、本発明の実施の形態1を示しており、特に地中送電線路のマンホール100に適用した場合を示している。図2に示すように、地中Gに埋設された左右の管路2の端部は、マンホール100の下部側に接続されている。各管路2内に敷設された電力ケーブル(単相電力ケーブル)3は、マンホール100内まで延びており、この電力ケーブル3同士はマンホール100の下部に設けられた接続箱101内で接続されている。各管路2のマンホール100への開口部2bには、地中Gから管路2内に浸入した水Wのマンホール100への流入を防止する止水装置1が設けられている。
図1および図3に示すように、止水装置1は、止水袋4と、流体封入手段6を有している。止水袋4は、内圧によって膨出可能な構造となっており、例えば弾性変形可能なゴム袋から構成されている。止水袋4は、高い内圧に十分耐えることができ、かつ水や泥などの接触に対して耐久性の高い材料から構成されている。さらに、止水袋4はあらゆる方向に変形自在であり、第1の部材としての管路2の形状および第2の部材としての電力ケーブル3の形状に対して密着できる柔軟性を有している。
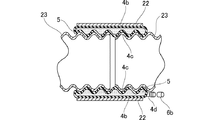
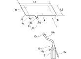
図3に示すように、止水袋4は展開形状が長方形となっており、円筒状に丸めることか可能となっている。止水袋4は、管路2の内面2aと密着可能な第1の押圧部4bと、電力ケーブル3の外面3aと密着可能な第2の押圧部4cを有している。第1の押圧部4bと第2の押圧部4cは、互いに対向するように配置されている。止水袋4は、管路2の大きさに合わせて種々の大きさのものを作成することが可能であり、実施の形態1においては、例えば止水袋4の長手方向の長さL1は約30cmに設定されており、幅方向の長さL2が約10cmに設定されている。止水袋4の長手方向の端部には、重ね合わせ部4jが形成されている。止水袋4の長辺部分には、止水袋4内に止水用流体としてのゲル5を注入するための流入口4dが設けられている。止水袋4は、流入口4dを除く部位のすべてが閉塞されている。
止水袋4の流入口4dには、流体封入手段6が設けられている。流体封入手段6は、止水袋4の流入口4dの外面に形成されたネジ部6aと、キャップ6bとから構成されている。キャップ6bは、ネジ部6aと螺合可能となっており、止水袋4内に圧送されたゲル5を止水袋4内に封入する機能を有している。ここで、ゲルとは、高い粘性を有する流動体であり、適度な弾力を有し固化しにくい性質をもつ物質を意味する。
図5は、止水袋4の流入口4dに設けられる逆止弁40を示している。逆止弁40は、端壁40aと、流入孔40bと、弁体40cと、支持軸40dとを有している。弁体40cは、支持軸40dを中心として端壁40aに対して揺動可能となっている。弁体40cが端壁40aに密着した状態では、流入孔40bが弁体40cによって塞がれ、ゲル5の逆流が防止されるようになっている。このように、逆止弁40は、ゲル5の止水袋4への流入を許容するとともに、ゲル5の止水袋4からの流出を阻止する機能を有している。逆止弁40は、強制的に弁体40cを流入孔40bから離れる方向に押圧することにより、止水袋4内のゲル5を流入口4dから排出させることが可能となっている。
つぎに、止水装置1を用いた止水方法および作用について説明する。
まず、図3に示すように、展開状態の止水袋4を電力ケーブル3の外周面に沿って延ばし、止水袋4の長手方向の両端部に位置する重ね合わせ部4jを重ね合わせる。この状態では、止水袋4は管路2の内面2aと電力ケーブル3の外面3aとの間に位置している。つぎに、止水袋4にポンプ10を接続する。ポンプ10と止水袋4の接続は、ポンプ10のチューブ10bの先端部10cを止水袋4の流入口4dのネジ部6aと螺合させることにより行う。止水袋4とポンプ10との接続が完了すると、ポンプ10のレバー10aを操作し、ポンプ10内のゲル5を止水袋4に圧送し、止水袋4を徐々に膨出させる。ポンプ10には、ゲル5の圧送時の圧力を指示する圧力計10dが設けられており、この圧力計10dが所定の設定値に到達するまで、ゲル5の止水袋4への圧送が行われる。そして、圧力計10dが所定の設定値に到達した時点で、ゲル5の止水袋4への圧送を停止する。その後、ポンプ10のチューブ10bの先端部10cを止水袋4の流入口4dから取り外し、流入口4dにキャップ6bを取付ける。
ここで、ゲル5の止水袋4への圧送を停止した状態では、逆止弁40の弁体40cによって流入孔40bが塞がれ、止水袋4へ圧送されたゲル5はキャップ6bを取付ける前に、止水袋4内に封入された状態となる。この状態では、図1に示すように、止水袋4の第1の押圧部4bが管路2の内面2aと密着し、止水袋4の第2の押圧部4cが電力ケーブル3の外面3aと密着する。これにより、管路2と電力ケーブル3との間は、止水袋4によって完全に塞がれた状態となる。したがって、管路2と電力ケーブル3との間からの水漏れを防止することが可能となり、地中Gから管路2へ浸入した水Wのマンホール100内への流入を防止することができる。実施の形態1においては、逆止弁40と流体封入手段6とを併用してゲル5の止水袋4への封入を行っているが、流体封入手段6のみでもゲル5の止水袋4への封入は可能である。流体封入手段6のみでゲル5を封入する場合は、ゲル5の注入完了時に流入口4dを一時的に折り曲げることにより、ゲル5の止水袋4からの漏出を防止することが可能となる。
このように、ゲル5を止水袋4に封入するのみで、止水袋4を管路2と電力ケーブル3の双方に密着させることできるので、防水混和物を管路に充填する従来技術に比べて著しく作業が容易となり、現場における作業能率を高めることができる。また、止水袋4は内圧によって管路2と電力ケーブル3に密着するので、管路2と電力ケーブル3の表面粗さが低い場合であっても、管路2と電力ケーブル3との間を確実に塞ぐことが可能となる。すなわち、止水袋4を用いる止水方法においては、止水袋4が密着する相手側の加工精度が高くなくとも、水漏れを確実に防止することが可能となる。
また、止水用流体はゲルから構成されているので、止水用流体を気体とした場合に比べてゲル5が止水袋4から抜けにくくなり、止水機能を長期にわたり維持することができる。さらに、止水袋4の流入口4dに逆止弁40を設けることにより、ゲル5の圧送完了時の逆流を防止することができる。したがって、止水袋4内の圧力を十分に高めることができ、止水袋4の管路2と電力ケーブル3の密着度をさらに高めることができる。
止水装置1は、地中送電線路の変更などに伴う管路2の撤去の際は、取外して別の場所での再利用が可能である。
(実施の形態2)
図6および図7は、本発明の実施の形態2を示している。実施の形態2が実施の形態1と異なるところは、管路2を通る電力ケーブル3の本数であり、その他の部分は実施の形態1に準じるので、準じる部分については実施の形態1と同一の符号を付すことにより、その説明を省略する。後述する他の実施の形態も同様とする。
図6および図7に示す止水装置20は、交流3相電力を供給するための電力ケーブルに適用される止水装置20を示している。実施の形態1では、1個の止水袋4を用いて止水する構成としたが、実施の形態2においては、3個の止水袋24を用いて止水する構成としている。止水袋24は、横断面形状が略扇状となっており、管路2に密着可能な第1の押圧部24bと、2本の電力ケーブル3にそれぞれ密着可能な第2の押圧部24cを有している。
止水袋24における一方の第2の押圧部24cと他方の第2の押圧部24cとの間には、区画部24aが形成されている。3個の止水袋24における各区画部24aは、止水袋24へのゲル5の封入によって、後述するシール用ブロック25に密着可能となっている。各止水袋24には、3個の止水袋24を組み合わせる際に用いる位置合わせ用の係合孔24fと係合突起24gが形成されている。
実施の形態2においては、3本の電力ケーブル3が集合するので、止水機能を高めるために、3本の電力ケーブル3で囲まれた空間部には弾性を有するシール用ブロック25を配置している。シール用ブロック25は、例えばゴム部材から構成されている。シール用ブロック25は、略3角錐状に形成されており、外面には3本の電力ケーブル3の外面の一部が密着可能な湾曲面25aと、止水袋24の区画部24aが密着可能な受圧面25bを有している。
このように構成された実施の形態2においては、3個の止水袋24にゲル5を圧送することにより、止水袋24の第1の押圧部24bが管路2の内面2aと密着し、止水袋4の第2の押圧部24cが電力ケーブル3の外面3aの一部と密着する。また、シール用ブロック25の湾曲面25aには電力ケーブル3の外面3aの一部が密着し、シール用ブロック25の受圧面25bには止水袋24の区画部24aが密着する。したがって、交流3相電力を供給するための電力ケーブル3が集合する形態であっても、管路2と電力ケーブル3との間を確実に塞ぐことが可能となり、管路2と電力ケーブル3との間からの水漏れを確実に防止することができる。
図8は、実施の形態2の変形例を示している。実施の形態2においては、分離可能な3個の止水袋24を用いて3本の電力ケーブル3の止水構造を説明したが、図8は3個の止水袋34が連結された止水装置30により3本の電力ケーブル3の止水を可能としている。図8に示すように、止水装置30では、管路2の軸心と同一軸心上に位置する中心部Cを中心として、3つの止水袋34が連結されている。各止水袋34には、管路2に密着可能な第1の押圧部34bと、電力ケーブル3にそれぞれ密着可能な第2の押圧部34cを有している。
図8の止水装置30では、各止水袋34の間にそれぞれ電力ケーブル3を配置した後、電力ケーブル3をF10方向から各止水袋34で覆い、この状態で各止水袋34にゲル5を圧送することにより、止水袋34の第1の押圧部34bが管路2の内面2aと密着し、止水袋34の第2の押圧部34cが電力ケーブル3の外面3aの一部と密着する。したがって、管路2と電力ケーブル3との間を確実に塞ぐことが可能となり、管路2と電力ケーブル3との間からの水漏れを確実に防止することができる。
(実施の形態3)
図9および図10は、本発明の実施の形態3を示しており、止水装置1をフレックス管の接続に適用した場合を示している。図10に示すように、第1の部材としての止水用パイプ22および第2の部材としてのフレックス管23は、接続後に地中に埋設されるようになっている。左右のフレックス管23の端部は、止水用パイプ22の内側に配置されている。フレックス管23は、上下および左右方向に屈曲可能であり、縦断面形状が波形をしている。すなわち、フレックス管23の外面は凹凸面に形成されている。止水装置1の止水袋4の膨出量は、例えば30mmに設定されている。
このように構成された実施の形態3においては、止水袋4を止水用パイプ22とフレックス管23との間に配置した状態で、止水袋4にポンプ10を接続し、ポンプ10内のゲル5を止水袋4に圧送して止水袋4を徐々に膨出させる。そして、ポンプ10の圧力計10dが所定の設定値に到達した時点で、ゲル5の止水袋4への圧送を停止する。ゲル5の止水袋4への圧送を停止した状態では、逆止弁(図示略)によって止水袋4へ圧送されたゲル5は止水袋4内に封入された状態となる。その後、ポンプ10のチューブ10bの先端部10cを止水袋4の流入口4dから取り外し、流入口4dにキャップ6bを取付ける。
この状態では、図9に示すように、止水袋4の第1の押圧部4bが止水用パイプ22の内面と密着し、止水袋4の第2の押圧部4cがフレックス管23の外面と密着する。これにより、フレックス管23の外面が波形(凹凸面)であっても止水用パイプ22とフレックス管23との間を完全に塞ぐことが可能となる。したがって、地中内の水が左右のフレックス管23の接続部からフレックス管23内へ浸入することを防止することができる。
以上、この発明の実施の形態を詳述してきたが、具体的な構成は上記の実施の形態に限られるものではなく、この発明の要旨を逸脱しない範囲の設計の変更等があっても、この発明に含まれる。例えば、実施の形態1〜3における止水装置1、20、30の流体封入手段6では、止水袋4の流入口4dをキャップ6bで塞いでいるが、止水袋4の流入口4dを例えばクリップを用いて塞ぐ構成としてもよい。
実施の形態1〜3においては、止水装置1、20、30を地中送電線路に適用した場合を説明したが、用途は地中送電線路だけでなく、他の構造物にも適用可能である。また、止水用流体はゲル5に限定されることはなく、止水用流体を水、空気などの気体または液体としてもよい。さらに、第2の部材は、フレックス管23に限定されることはなく、第2の部材として異径管、異種管などを用いる構成としてもよい。すなわち、図9および図10に示す止水方法および止水装置を適用することにより、外径の異なる配管同士を接続することや、種類の異なる配管同士を接続することが可能となる。
1 止水装置
2 管路(第1の部材)
3 電力ケーブル(第2の部材)
4 止水袋
4b 第1の押圧部
4c 第2の押圧部
5 ゲル(止水用流体)
6 流体封入手段
20 止水装置
22 止水用パイプ(第1の部材)
23 フレックス管(第2の部材)
24 止水袋
24b 第1の押圧部
24c 第2の押圧部
40 逆止弁

Claims (6)

  1. 第1の部材と第2の部材との間からの液漏れを防止する止水方法であって、前記第1の部材と前記第2の部材との間に、内圧によって膨出可能な止水袋を配置し、前記止水袋内に止水用流体を圧送するとともに、圧送された止水用流体を前記止水袋内に封入し、前記止水用流体の封入によって膨出した前記止水袋を前記第1の部材と前記第2の部材の双方に密着させることを特徴とする止水方法。
  2. 第1の部材と第2の部材との間からの液漏れを防止する止水装置であって、
    前記第1の部材と前記第2の部材との間に配置可能で内圧によって膨出可能な止水袋と、
    前記止水袋内に圧送された止水用流体を前記止水袋内に封入する流体封入手段と、
    を備え、
    前記止水袋は、前記止水用流体の封入による膨出によって前記第1の部材と前記第2の部材の双方に密着可能であることを特徴とする止水装置。
  3. 前記止水用流体は、少なくとも水、空気、ゲルのいずれかであることを特徴とする請求項1に記載の止水方法または請求項2に記載の止水装置。
  4. 前記止水袋の前記止水用流体の流入口には、前記止水用流体の前記止水袋への流入を許容するとともに、前記止水用流体の前記止水袋からの流出を阻止する逆止弁が設けられていることを特徴とする請求項2に記載の止水装置。
  5. 前記第1の部材は地中に埋設されマンホールと接続される管路であり、前記第2の部材は前記管路内に敷設される電力ケーブルである、ことを特徴とする請求項1に記載の止水方法または請求項2に記載の止水装置。
  6. 前記第1の部材は地中に埋設される止水用パイプであり、前記第2の部材は少なくとも前記止水用パイプの内側に配置され地中に埋設されるフレックス管、異径管、異種管のいずれかである、ことを特徴とする請求項1に記載の止水方法または請求項2に記載の止水装置。
JP2010055629A 2010-03-12 2010-03-12 止水方法および止水装置 Pending JP2011190833A (ja)

Priority Applications (1)

Application Number Priority Date Filing Date Title
JP2010055629A JP2011190833A (ja) 2010-03-12 2010-03-12 止水方法および止水装置

Applications Claiming Priority (1)

Application Number Priority Date Filing Date Title
JP2010055629A JP2011190833A (ja) 2010-03-12 2010-03-12 止水方法および止水装置

Publications (1)

Publication Number Publication Date
JP2011190833A true JP2011190833A (ja) 2011-09-29

Family

ID=44795973

Family Applications (1)

Application Number Title Priority Date Filing Date
JP2010055629A Pending JP2011190833A (ja) 2010-03-12 2010-03-12 止水方法および止水装置

Country Status (1)

Country Link
JP (1) JP2011190833A (ja)

Cited By (2)

* Cited by examiner, † Cited by third party
Publication number Priority date Publication date Assignee Title
KR101738539B1 (ko) 2016-02-29 2017-05-22 우주환경건설 주식회사 노후 하수관로 비굴착 전체 보수 보강공법 및 장치
KR20170121755A (ko) * 2016-04-25 2017-11-03 한국전력공사 관로구 방수장치

Citations (2)

* Cited by examiner, † Cited by third party
Publication number Priority date Publication date Assignee Title
JPS5762713A (en) * 1980-09-30 1982-04-15 Tadao Hanaoka Waterproof device for buried cable protecting tube end
JPH08501138A (ja) * 1992-09-04 1996-02-06 エヌ・ヴェ・レイケム・ソシエテ・アノニム 周囲シーリング

Patent Citations (2)

* Cited by examiner, † Cited by third party
Publication number Priority date Publication date Assignee Title
JPS5762713A (en) * 1980-09-30 1982-04-15 Tadao Hanaoka Waterproof device for buried cable protecting tube end
JPH08501138A (ja) * 1992-09-04 1996-02-06 エヌ・ヴェ・レイケム・ソシエテ・アノニム 周囲シーリング

Cited By (3)

* Cited by examiner, † Cited by third party
Publication number Priority date Publication date Assignee Title
KR101738539B1 (ko) 2016-02-29 2017-05-22 우주환경건설 주식회사 노후 하수관로 비굴착 전체 보수 보강공법 및 장치
KR20170121755A (ko) * 2016-04-25 2017-11-03 한국전력공사 관로구 방수장치
KR102521050B1 (ko) * 2016-04-25 2023-04-14 한국전력공사 관로구 방수장치

Similar Documents

Publication Publication Date Title
US5353842A (en) Inflatable plug for use in plugging a large diameter pipe
AU2008293696B2 (en) Device and method for repairing pipe
AU2015203930B2 (en) Method and apparatus for lining a pipe
KR20110033548A (ko) 나선형 파형관용 이음장치
CN111155625B (zh) 检查井
JP2011190833A (ja) 止水方法および止水装置
TW312652B (en) The construction method for lining the pipe
JP4948081B2 (ja) 水圧試験装置
CN107975652B (zh) 管维修工具
KR102521050B1 (ko) 관로구 방수장치
JP2016180596A (ja) 水密試験装置及びその水密試験装置を用いた水密試験方法
JP2022110386A (ja) マンホールの下水バイパス装置用止水プラグ
KR100637586B1 (ko) 상,하수도관로의 보수-보강장치 및 방법
KR102847710B1 (ko) 다양한 규격의 관로에 적용 가능한 관로 부분 보수장치 및 이를 이용한 관로 부분 보수공법
JP3117923B2 (ja) 内張りライニング用反転装置
KR200333419Y1 (ko) 유체 저장조의 누수 및 누설 방지 연결 장치
KR101513849B1 (ko) 배관 연결부 밀봉 구조
KR101246779B1 (ko) 누설 방지 기능을 가진 보수액 주입 장치
KR100885023B1 (ko) 액압잭 장치 및 그의 제조방법
CN212131611U (zh) 一种混凝土顶管
WO2011036125A1 (en) Apparatus and method for lining a conduit
US12092256B2 (en) Pressurized push rod system and device
CN107542982A (zh) 一种直插式管道连接装置
AU2018232892B2 (en) Device and method for repairing pipe
RU89657U1 (ru) Резьбовое соединение для труб

Legal Events

Date Code Title Description
A977 Report on retrieval

Free format text: JAPANESE INTERMEDIATE CODE: A971007

Effective date: 20120625

A131 Notification of reasons for refusal

Free format text: JAPANESE INTERMEDIATE CODE: A131

Effective date: 20120703

A521 Written amendment

Free format text: JAPANESE INTERMEDIATE CODE: A523

Effective date: 20120810

A131 Notification of reasons for refusal

Free format text: JAPANESE INTERMEDIATE CODE: A131

Effective date: 20121016

A521 Written amendment

Free format text: JAPANESE INTERMEDIATE CODE: A523

Effective date: 20121205

A02 Decision of refusal

Free format text: JAPANESE INTERMEDIATE CODE: A02

Effective date: 20130625