JP2011069861A - 電気光学装置及び電子機器 - Google Patents
電気光学装置及び電子機器 Download PDFInfo
- Publication number
- JP2011069861A JP2011069861A JP2009218631A JP2009218631A JP2011069861A JP 2011069861 A JP2011069861 A JP 2011069861A JP 2009218631 A JP2009218631 A JP 2009218631A JP 2009218631 A JP2009218631 A JP 2009218631A JP 2011069861 A JP2011069861 A JP 2011069861A
- Authority
- JP
- Japan
- Prior art keywords
- electro
- substrate
- dust
- optical device
- light
- Prior art date
- Legal status (The legal status is an assumption and is not a legal conclusion. Google has not performed a legal analysis and makes no representation as to the accuracy of the status listed.)
- Withdrawn
Links
- 239000000758 substrate Substances 0.000 claims abstract description 99
- 239000004973 liquid crystal related substance Substances 0.000 abstract description 31
- 239000000428 dust Substances 0.000 description 30
- 239000010408 film Substances 0.000 description 9
- 239000003566 sealing material Substances 0.000 description 5
- 238000001816 cooling Methods 0.000 description 4
- 230000005611 electricity Effects 0.000 description 4
- 238000005070 sampling Methods 0.000 description 4
- 230000003068 static effect Effects 0.000 description 4
- 239000003086 colorant Substances 0.000 description 3
- 239000011521 glass Substances 0.000 description 3
- 238000004519 manufacturing process Methods 0.000 description 3
- 238000000034 method Methods 0.000 description 3
- 230000002093 peripheral effect Effects 0.000 description 3
- 229910052782 aluminium Inorganic materials 0.000 description 2
- XAGFODPZIPBFFR-UHFFFAOYSA-N aluminium Chemical compound [Al] XAGFODPZIPBFFR-UHFFFAOYSA-N 0.000 description 2
- 230000007547 defect Effects 0.000 description 2
- 238000004512 die casting Methods 0.000 description 2
- 230000000694 effects Effects 0.000 description 2
- 238000007689 inspection Methods 0.000 description 2
- 239000011810 insulating material Substances 0.000 description 2
- 239000000463 material Substances 0.000 description 2
- 229910052751 metal Inorganic materials 0.000 description 2
- 239000002184 metal Substances 0.000 description 2
- 239000010409 thin film Substances 0.000 description 2
- 238000002834 transmittance Methods 0.000 description 2
- 239000012780 transparent material Substances 0.000 description 2
- PXGOKWXKJXAPGV-UHFFFAOYSA-N Fluorine Chemical compound FF PXGOKWXKJXAPGV-UHFFFAOYSA-N 0.000 description 1
- 239000004988 Nematic liquid crystal Substances 0.000 description 1
- 239000011324 bead Substances 0.000 description 1
- 230000015572 biosynthetic process Effects 0.000 description 1
- 230000000593 degrading effect Effects 0.000 description 1
- 230000003111 delayed effect Effects 0.000 description 1
- 230000006866 deterioration Effects 0.000 description 1
- 230000002542 deteriorative effect Effects 0.000 description 1
- 238000001962 electrophoresis Methods 0.000 description 1
- 238000005516 engineering process Methods 0.000 description 1
- 229910052731 fluorine Inorganic materials 0.000 description 1
- 239000011737 fluorine Substances 0.000 description 1
- 239000003365 glass fiber Substances 0.000 description 1
- 229910052736 halogen Inorganic materials 0.000 description 1
- 150000002367 halogens Chemical class 0.000 description 1
- AMGQUBHHOARCQH-UHFFFAOYSA-N indium;oxotin Chemical compound [In].[Sn]=O AMGQUBHHOARCQH-UHFFFAOYSA-N 0.000 description 1
- 239000011159 matrix material Substances 0.000 description 1
- 230000003287 optical effect Effects 0.000 description 1
- 239000003973 paint Substances 0.000 description 1
- 238000003825 pressing Methods 0.000 description 1
- 239000011347 resin Substances 0.000 description 1
- 229920005989 resin Polymers 0.000 description 1
- 238000005507 spraying Methods 0.000 description 1
- 229910001220 stainless steel Inorganic materials 0.000 description 1
- 239000010935 stainless steel Substances 0.000 description 1
- 238000003786 synthesis reaction Methods 0.000 description 1
Images
Landscapes
- Liquid Crystal (AREA)
- Devices For Indicating Variable Information By Combining Individual Elements (AREA)
Abstract
【課題】液晶装置等の電気光学装置において、高品質な画像を表示可能とする。
【解決手段】電気光学装置は、光を入射させることで画像を表示する電気光学パネル(100)と、電気光学パネルにおける光の入射側及び出射側の少なくとも一方の面に貼り合わされた防塵用基板(121,122)と、防塵用基板の少なくとも一部と接するように配置されると共に、電気光学パネル及び防塵用基板を収納する保持部材(630)と、保持部材に接地電位を供給する接地電位供給手段(660)とを備える。
【選択図】図6
【解決手段】電気光学装置は、光を入射させることで画像を表示する電気光学パネル(100)と、電気光学パネルにおける光の入射側及び出射側の少なくとも一方の面に貼り合わされた防塵用基板(121,122)と、防塵用基板の少なくとも一部と接するように配置されると共に、電気光学パネル及び防塵用基板を収納する保持部材(630)と、保持部材に接地電位を供給する接地電位供給手段(660)とを備える。
【選択図】図6
Description
本発明は、例えば液晶装置等の電気光学装置、及び該電気光学装置を備えた、例えば液晶プロジェクター等の電子機器の技術分野に関する。
この種の電気光学装置として、例えば液晶パネル等の電気光学パネルが実装ケースに実装或いは収容されてなるものが知られている。このような電気光学装置では、実装ケースに発生する静電気によって、例えば装置内部の薄膜トランジスタ等が破壊され、装置の製品不良が発生してしまう場合がある。このため、実装ケースを固定する固定ネジと基準電位が供給される電極とを互いに接続することで、実装ケースを基準電位とするという技術が提案されている(例えば、特許文献1参照)。
ここで、電気光学パネルの表面には、埃等が直接表示面に付着してしまうことを防止するために、防塵用基板が設けられることがある。しかしながら、この防塵用基板が静電気等によって帯電すると、埃等が付着しやすくなり、結果的に装置の表示品質の低下を招くおそれがある。上述した技術では、このような防塵用基板における静電気の影響を取り除くことが極めて困難である。即ち、上述した技術には、防塵用基板に埃等が付着することによる表示品質の低下を防止することができないという技術的問題点がある。
本発明は、例えば上述した問題点に鑑みなされたものであり、高品質な画像を表示することが可能な電気光学装置及び電子機器を提供することを課題とする。
本発明の電気光学装置は上記課題を解決するために、光を入射させることで画像を表示する電気光学パネルと、前記電気光学パネルにおける前記光の入射側及び出射側の少なくとも一方の面に貼り合わされた防塵用基板と、前記防塵用基板の少なくとも一部と接するように配置されると共に、前記電気光学パネル及び前記防塵用基板を収納する保持部材と、前記保持部材に接地電位を供給する接地電位供給手段とを備える。
本発明の電気光学装置によれば、例えば液晶パネル等の電気光学パネルに対して、白色ランプ等の光源より投射光が入射され、液晶において変調された光が表示光として出射されることにより表示が行われる。電気光学パネルとしての液晶パネルでは、例えば画素領域における各画素の単位で印加される電圧レベルに応じて液晶分子の配向方向が制御され、入射した光が画素毎に変調される。
本発明では、電気光学パネルにおける光の入射側及び出射側の少なくとも一方の面に、電気光学パネルに対して直接埃等が付着してしまうことを防止する防塵用基板が貼り合わされている。電気光学パネル及び防塵用基板は、例えばフック及びフレーム等からなる保持部材に収納されている。尚、保持部材は、電気光学パネル及び防塵用基板を全体的に覆うような形状であってもよいし、部分的に覆うような形状であってもよい。保持部材は、防塵用基板の少なくとも一部と接するように配置されている。
ここで特に、保持部材には、接地電位供給手段によって接地電位が供給されている。具体的には、例えば保持部材の一部が、装置における接地電位とされた部位に電気的に接続される。これにより、保持部材の電位を接地電位とすることができる。更に、保持部材は防塵用基板の少なくとも一部と接するように配置されているため、防塵用基板の電位も接地電位となる。
尚、保持部材には絶縁性の材料を用いて塗装が施される場合があるが、この場合は、防塵用基板に接する部分の塗装を部分的に剥がすことによって、確実に防塵用基板を接地電位とすることができる。
電気光学パネルを備える電気光学装置では、例えば装置の動作時等に発生する静電気等によって各部位が帯電することがある。この際、防塵用基板が帯電すると、表面に埃等が付着しやすくなってしまう。特に、冷却ファン等を用いた風冷を行う装置では、冷却風で埃が舞い上がってしまうため、防塵用基板への埃の付着が発生し易い。防塵用基板に埃が付着すると、表示品質が低下してしまうおそれがある。
しかるに本発明では、上述したように、防塵用基板が接地電位とされている。言い換えれば、防塵用基板に発生する電荷を逃がすことによって、防塵用基板が帯電してしまうことを防止している。このため、防塵用基板の表面に埃が付着してしまうことを効果的に防止することができる。従って、防塵用基板に埃等が付着してしまうことによる、表示品質の低下を防止することができる。
以上説明したように、本発明の電気光学装置によれば、高品質な画像を表示することが可能である。
本発明の電気光学装置の一態様では、前記保持部材は、前記電気光学パネルにおける前記光の出射側の面に貼り合わされた防塵用基板とのみ接している。
この態様によれば、保持部材は、電気光学パネルにおける光の出射側の面に貼り合わされた防塵用基板とのみ接しており、光の入射側の面に貼り合わされた防塵用基板とは接していない。尚、ここでの「接する」とは、保持部材及び防塵用基板が互いに電気的に接続されていることを意味している。また、電気光学パネルにおける光の入射側には、防塵用基板が貼り合わされていてもよいし、貼り合わされていなくともよい。
ここで本願発明者の研究者によれば、光の出射側における防塵用基板に付着した埃は、光の入射側における防塵用基板に付着した埃と比べて、表示画像に与える影響が大きいことが判明している。言い換えれば、光の入射側における防塵用基板に埃が付着しやすい状況となっていても、光の出射側における防塵用基板に埃が付着することを防止できれば、表示品質の低下を防止することができる。尚、このような光の入射側及び出射側における影響の違いは、例えば電気光学パネルから出射した光を投影する投影レンズやマイクロレンズ等との距離に関係していると考えられる。
本態様では、上述したように、保持部材が電気光学パネルにおける光の出射側の面に貼り合わされた防塵用基板とのみ接しているため、光の出射側における防塵用基板のみが接地電位とされる。よって、光の入射側における防塵用基板を接地電位とする場合と比べて、装置構成や製造工程を簡略化することができる。従って、本態様に係る電気光学装置では、効率的に表示品質の低下を防止することが可能である。
本発明の電気光学装置の他の態様では、前記保持部材には、前記接地電位供給手段と電気的に接続するための突起部が設けられている。
この態様によれば、保持部材に突起部が設けられているため、例えばコネクタ等を用いて接地電位供給手段との電気的接続を実現することが容易である。よって、確実に保持部材を接地電位とし、防塵用基板を接地電位とすることができる。従って、防塵用基板に埃等が付着してしまうことによる、表示品質の低下を防止することができる。
本発明の電気光学装置の他の態様では、前記防塵用基板の表面には、導電性の膜が形成されている。
この態様によれば、防塵用基板の表面には、例えば反射防止等を目的として、フッ素等がコーティングされている。よって、仮にガラス等の絶縁性の材料で防塵用基板が形成されていたとしても、防塵用基板の表面が帯電するおそれがある。
しかるに本態様では、上述したように、防塵用基板が接地電位とされている。従って、防塵用基板に埃等が付着してしまうことによる、表示品質の低下を防止することができる。
本発明の電子機器は上記課題を解決するために、上述した本発明の電気光学装置(但し、その各種態様も含む)を備える。
本発明の電子機器によれば、上述した本発明に係る電気光学装置を具備してなるので、高品質な表示を行うことが可能な、投射型表示装置、テレビ、携帯電話、電子手帳、ワードプロセッサー、ビューファインダー型又はモニタ直視型のビデオテープレコーダー、ワークステーション、テレビ電話、POS端末、タッチパネルなどの各種電子機器を実現できる。また、本発明の電子機器として、例えば電子ペーパーなどの電気泳動装置等も実現することも可能である。
本発明の作用及び他の利得は次に説明する発明を実施するための形態から明らかにされる。
以下では、本発明の実施形態について図を参照しつつ説明する。
<電気光学装置>
本実施形態に係る電気光学装置について、図1から図6を参照して説明する。尚、各図面は、各層・各部材を図面上で認識可能な程度の大きさとするため、図ごとに各層・各部材ごとの縮尺を異ならしめて図示されることがある。以下では、本発明の電気光学装置として駆動回路内蔵型のTFT(Thin Film Transistor)アクティブマトリクス駆動方式の液晶装置を例にとり説明する。
本実施形態に係る電気光学装置について、図1から図6を参照して説明する。尚、各図面は、各層・各部材を図面上で認識可能な程度の大きさとするため、図ごとに各層・各部材ごとの縮尺を異ならしめて図示されることがある。以下では、本発明の電気光学装置として駆動回路内蔵型のTFT(Thin Film Transistor)アクティブマトリクス駆動方式の液晶装置を例にとり説明する。
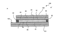
先ず、本実施形態に係る電気光学装置に設けられた電気光学パネルの構成について、図1及び図2を参照して説明する。ここに図1は、本実施形態に係る電気光学パネルの全体構成を示す平面図であり、図2は、図1のH−H'線での断面図である。
図1及び図2において、本実施形態に係る電気光学パネル100では、TFTアレイ基板10と対向基板20とが対向配置されている。TFTアレイ基板10と対向基板20との間に液晶層50が封入されており、TFTアレイ基板10と対向基板20とは、画像表示領域10aの周囲に位置するシール領域に設けられたシール材52により相互に接着されている。
シール材52は、両基板を貼り合わせるための、紫外線硬化樹脂からなり、製造プロセスにおいてTFTアレイ基板10上に塗布された後、紫外線照射により硬化させられたものである。また、シール材52中には、TFTアレイ基板10と対向基板20との間隔(基板間ギャップ)を所定値とするためのグラスファイバ或いはガラスビーズ等のギャップ材(図示せず)が散布されている。
図1において、シール材52が配置されたシール領域の内側に並行して、画像表示領域10aの額縁領域を規定する遮光性の額縁遮光膜53が、対向基板20側に設けられている。周辺領域のうち、シール材52が配置されたシール領域の外側に位置する領域には、画像信号が供給される画像信号端子を含む外部回路接続端子102がTFTアレイ基板10の一辺に沿って設けられている。この一辺に沿ったシール領域よりも内側にサンプリング回路7が額縁遮光膜53に覆われるようにして設けられている。また、走査線駆動回路104は、この一辺に隣接する2辺に沿ったシール領域の内側に、額縁遮光膜53に覆われるようにして設けられている。また、TFTアレイ基板10上には、対向基板20の4つのコーナー部に対向する領域に、両基板間を上下導通材107で接続するための上下導通端子106が配置されている。これらにより、TFTアレイ基板10と対向基板20との間で電気的な導通をとることができる。
TFTアレイ基板10上には、外部回路接続端子102と、サンプリング回路7、走査線駆動回路104、上下導通端子106等とを電気的に接続するための引回配線90が形成されている。
図2において、TFTアレイ基板10上には、駆動素子である画素スイッチング用TFTや走査線、データ線等の配線が作り込まれた積層構造が形成される。この積層構造の詳細な説明については図示を省略してあるが、画像表示領域10aには、画素スイッチング用TFTや走査線、データ線等の配線の上層に画素電極9aが設けられている。画素電極9aは典型的にはITO(Indium Tin Oxide)等の透明材料により、画素毎に所定のパターンで島状に形成される。
画素電極9a上には、配向膜(図示せず)が形成されている。他方、対向基板20におけるTFTアレイ基板10との対向面上には、遮光膜23が形成されている。そして、遮光膜23上に、ITO等の透明材料からなる対向電極21が複数の画素電極9aと対向して形成されている。対向電極21上には配向膜(図示せず)が形成されている。また、液晶層50は、例えば一種又は数種類のネマティック液晶を混合した液晶からなり、これら一対の配向膜間で、所定の配向状態をとる。
電気光学パネル100の駆動時において、画素毎に画素電極9aには画像信号が供給され、対向電極21との間で一定期間保持される。このようにして印加される電圧レベルにより液晶層50を構成する液晶は、分子集合の配向や秩序が変化することにより、光を変調し、階調表示を可能とする。ノーマリーホワイトモードであれば、各画素の単位で印加された電圧に応じて入射光に対する透過率が減少し、ノーマリーブラックモードであれば、各画素の単位で印加された電圧に応じて入射光に対する透過率が増加され、全体として画像表示領域10aにおいて画像信号に応じたコントラストをもつ光が出射する。尚、詳細な説明は省略するが、各画素はデータ線や走査線に画像信号等の各種信号が供給されることにより駆動され、画素電極9aは画素スイッチング用TFTによりスイッチング制御される。
図2において、TFTアレイ基板10及び対向基板20の各々の液晶層50に対向しない側には、例えばガラス等の透明基板を用いて構成される防塵用基板121及び122が設けられている。この防塵用基板121及び122は、TFTアレイ基板10及び対向基板20の各々の外側表面に直接埃や塵が付着することを防止したり、デフォーカス作用を利用したりすることで、付着した埃や塵が表示画像の品質を低下させてしまうことを防止する。尚、電気光学パネル100は、防塵用基板121及び122のほか、図示しない反射防止板等の光学要素が設けられるようにしてもよい。
また、ここでは図示しないが、TFTアレイ基板10上には、サンプリング回路7、走査線駆動回路104の他に、製造途中や出荷時の当該液晶装置の品質、欠陥等を検査するための検査回路、検査用パターン等が形成されていてもよい。
本実施形態に係る電気光学装置は、以上に説明したような電気光学パネル100が実装ケース内に収容されてなる。以下に電気光学装置の構成について、図3から図6を参照して説明する。
図3は電気光学装置を光入射側から見た平面図である。また図4は、電気光学装置を実装ケースの側面側から見た側面図であり、図5は図4に示す液晶装置を、実装ケースの主要な構成要素ごとに分解した分解側面図である。図6は、図3に示すA0−A0'線における電気光学装置の断面部分の構成を示す断面図である。
図3から図5において、電気光学パネル100を収容する実装ケース600は、フレーム610、第1のフック620及び第2のフック630を含む。尚、第2のフック630は、本発明に係る「保持部材」の一例である。フレーム610は、例えば、ダイキャスティング(金型鋳造)により、アルミニウム等の金属から形成されている。第1のフック620及び第2のフック630は夫々、例えば、プレス加工により、アルミニウム、ステンレス等の金属から形成されている。
図5に示すように、実装ケース600においては、フレーム610に対して、いわば蓋として機能し得る第1のフック620及び第2のフック630が装着される。即ち、フレーム610における開口部615により規定される開口(図6参照)は、第1のフック620及び第2のフック630が互いに反対側から装着されることにより閉じられた状態となる。
図6に示すように、フレーム610を構成する部材は、電気光学パネル100を収容するためくり抜かれたような状態となっており、これによる開口を開口部615が規定している。フレーム610内において、電気光学パネル100はその周縁部側から開口部615に包囲され、その開口内に収容される。
第1のフック620は板状の部材であって、実装ケース600内において電気光学パネル100の一面に対向して開口部615を覆うようにフレーム610に対して装着される。この状態で、電気光学パネル100は、第1のフック620に載置されるが如き状態でフレーム610内に収容される。
第1のフック620は、それを構成する部材が開口形状に形成された一部である、第1の窓625hを規定する窓部625を有する。第1のフック620がフレーム610に装着された状態で、窓部625は電気光学パネル100と好ましくは相互に直接に当接する。窓部625は、電気光学パネル100の画像表示領域10aに対応して第1の窓625hを規定しており、表示の際に照射される投射光は第1の窓625hから電気光学パネル100の画像表示領域10aに入射される。即ち窓部625によって、電気光学パネル100の画像表示領域10aの周辺に位置する周辺領域が当接される状態となる。電気光学パネル100と窓部625の辺縁とが相互に接触していることにより、前者から後者への熱の伝達が滞りなく行われるようになる。
第2のフック630は、第1のフック620とは反対側から、電気光学パネル100の他の面に対向して開口部615を覆うようにフレーム610に対して装着される。第2のフック630は、第1のフック620と同様に第2の窓635hを規定する窓部635を有し、窓部635において電気光学パネル100と好ましくは相互に当接する。電気光学パネル100の画像表示領域10aを透過した投射光は、第2のフック630において第2の窓635hから出射される。第2のフック630の側においても、第1のフック620と同様に電気光学パネル100と窓部635の辺縁とが相互に接触していることにより、前者から後者への熱の伝達が滞りなく行われるようになる。
図6において、電気光学パネル100は、外部回路接続端子102において配線基板200を介して駆動用ICチップ300に電気的に接続される。駆動用ICチップ300は、例えばTAB(Tape Automated Bonding)技術により配線基板200に固着される。駆動用ICチップ300は、電気光学パネル100に画像信号等を含む各種信号を供給するための各種回路が作り込まれている。即ち、画像を表示する際には、TFTアレイ基板10上の走査線駆動回路104やサンプリング回路7に加えて駆動用ICチップ300により電気光学パネル100が駆動されることによりなされる。
図4から図6に示すように、本実施形態に係る電気光学装置では特に、第2のフック630に設けられた突起部650に、接続配線655を介して、接地電位供給部660が電気的に接続されている。接地電位供給部660は、本発明の「接地電位供給手段」の一例であり、接続配線655及び突起部650を介して、第2のフック630に接地電位を供給する。これにより、静電等によって発生した第2のフック630の電荷を逃がすことができるようになる。
図6において、第2のフック630は、光の出射側に設けられた防塵用基板121と接地するように配置される。従って、第2のフック630を介して、防塵用基板121にも接地電位が供給される。即ち、防塵用基板121の電荷も、上述した第2のフック630同様に逃がすことができるようになる。
ここで仮に、防塵用基板121が帯電してしまうと、冷却風等で埃が舞い上がった埃や塵が表面に付着しやすくなる。防塵用基板に埃や塵が付着すると、装置の表示品質が低下してしまうおそれがある。特に、本願発明者の研究者によれば、光の出射側における防塵用基板121に付着した埃は、光の入射側における防塵用基板122に付着した埃と比べて、表示画像に与える影響が大きいことが判明している。
これに対し、本実施形態に係る電気光学装置では、防塵用基板121が接地電位とされている。このため、防塵用基板121の表面に埃や塵が付着してしまうことを効果的に防止することができる。尚、本実施形態では、光の出射側の防塵用基板121のみが接地電位とされる場合について説明しているが、光の入射側の防塵用基板122も接地電位とされて構わない。即ち、第1のフック620に接地電位供給部660が接続されていてもよい。また、フレーム610と防塵用基板121が互いに接するような場合には、第2のフック630に代えて、フレーム610に接地電位供給部660が接続されていてもよい。
以上説明したように、本実施形態に係る電気光学装置によれば、防塵用基板121を接地電位とすることで、表面に埃や塵が付着してしまうことを防止することができる。従って、高品質な画像を表示することが可能である。
<電子機器>
次に、上述した電気光学装置である液晶装置を各種の電子機器に適用する場合について説明する。ここに図7は、プロジェクターの構成例を示す平面図である。以下では、この液晶装置をライトバルブとして用いたプロジェクターについて説明する。
次に、上述した電気光学装置である液晶装置を各種の電子機器に適用する場合について説明する。ここに図7は、プロジェクターの構成例を示す平面図である。以下では、この液晶装置をライトバルブとして用いたプロジェクターについて説明する。
図7に示されるように、プロジェクター1100内部には、ハロゲンランプ等の白色光源からなるランプユニット1102が設けられている。このランプユニット1102から射出された投射光は、ライトガイド1104内に配置された4枚のミラー1106及び2枚のダイクロイックミラー1108によってRGBの3原色に分離され、各原色に対応するライトバルブとしての液晶パネル1110R、1110B及び1110Gに入射される。
液晶パネル1110R、1110B及び1110Gの構成は、上述した液晶装置と同等であり、画像信号処理回路から供給されるR、G、Bの原色信号でそれぞれ駆動されるものである。そして、これらの液晶パネルによって変調された光は、ダイクロイックプリズム1112に3方向から入射される。このダイクロイックプリズム1112においては、R及びBの光が90度に屈折する一方、Gの光が直進する。従って、各色の画像が合成される結果、投射レンズ1114を介して、スクリーン等にカラー画像が投写されることとなる。
ここで、各液晶パネル1110R、1110B及び1110Gによる表示像について着目すると、液晶パネル1110Gによる表示像は、液晶パネル1110R、1110Bによる表示像に対して左右反転することが必要となる。
尚、液晶パネル1110R、1110B及び1110Gには、ダイクロイックミラー1108によって、R、G、Bの各原色に対応する光が入射するので、カラーフィルターを設ける必要はない。
尚、図7を参照して説明した電子機器の他にも、モバイル型のパーソナルコンピュータや、携帯電話、液晶テレビや、ビューファインダー型、モニタ直視型のビデオテープレコーダー、カーナビゲーション装置、ページャー、電子手帳、電卓、ワードプロセッサー、ワークステーション、テレビ電話、POS端末、タッチパネルを備えた装置等が挙げられる。そして、これらの各種電子機器に適用可能なのは言うまでもない。
また、本発明は上述の各実施形態で説明した液晶装置以外にも反射型液晶装置(LCOS)、プラズマディスプレイ(PDP)、電界放出型ディスプレイ(FED、SED)、有機ELディスプレイ、デジタルマイクロミラーデバイス(DMD)、電気泳動装置等にも適用可能である。
本発明は、上述した実施形態に限られるものではなく、特許請求の範囲及び明細書全体から読み取れる発明の要旨或いは思想に反しない範囲で適宜変更可能であり、そのような変更を伴う電気光学装置、及び該電気光学装置を備えた電子機器もまた本発明の技術的範囲に含まれるものである。
10…TFTアレイ基板、10a…画像表示領域、20…対向基板、50…液晶層、121,122…防塵用基板、600…実装ケース、610…フレーム、620…第1のフック、630…第2のフック、650…突起部、660…接地電位供給部
Claims (5)
- 光を入射させることで画像を表示する電気光学パネルと、
前記電気光学パネルにおける前記光の入射側及び出射側の少なくとも一方の面に貼り合わされた防塵用基板と、
前記防塵用基板の少なくとも一部と接するように配置されると共に、前記電気光学パネル及び前記防塵用基板を収納する保持部材と、
前記保持部材に接地電位を供給する接地電位供給手段と
を備えることを特徴とする電気光学装置。 - 前記保持部材は、前記電気光学パネルにおける前記光の出射側の面に貼り合わされた防塵用基板とのみ接していることを特徴とする請求項1に記載の電気光学装置。
- 前記保持部材には、前記接地電位供給手段と電気的に接続するための突起部が設けられていることを特徴とする請求項1又は2に記載の電気光学装置。
- 前記防塵用基板の表面には、導電性の膜が形成されていることを特徴とする請求項1から3のいずれか一項に記載の電気光学装置。
- 請求項1から4のいずれか一項に記載の電気光学装置を具備してなることを特徴とする電子機器。
Priority Applications (1)
| Application Number | Priority Date | Filing Date | Title |
|---|---|---|---|
| JP2009218631A JP2011069861A (ja) | 2009-09-24 | 2009-09-24 | 電気光学装置及び電子機器 |
Applications Claiming Priority (1)
| Application Number | Priority Date | Filing Date | Title |
|---|---|---|---|
| JP2009218631A JP2011069861A (ja) | 2009-09-24 | 2009-09-24 | 電気光学装置及び電子機器 |
Publications (1)
| Publication Number | Publication Date |
|---|---|
| JP2011069861A true JP2011069861A (ja) | 2011-04-07 |
Family
ID=44015235
Family Applications (1)
| Application Number | Title | Priority Date | Filing Date |
|---|---|---|---|
| JP2009218631A Withdrawn JP2011069861A (ja) | 2009-09-24 | 2009-09-24 | 電気光学装置及び電子機器 |
Country Status (1)
| Country | Link |
|---|---|
| JP (1) | JP2011069861A (ja) |
-
2009
- 2009-09-24 JP JP2009218631A patent/JP2011069861A/ja not_active Withdrawn
Similar Documents
| Publication | Publication Date | Title |
|---|---|---|
| JP5533001B2 (ja) | 電気光学装置及び電子機器 | |
| US7916247B2 (en) | Electro-optic device, and electronic apparatus including the same | |
| JP5731122B2 (ja) | 電気光学装置及び電子機器 | |
| CN102193220B (zh) | 电光装置及电子设备 | |
| JP5104176B2 (ja) | 電気光学装置及び電子機器 | |
| JP2011164248A (ja) | 電気光学装置及び電子機器 | |
| JP2010223690A (ja) | フレキシブル基板、並びに電気光学装置及び電子機器 | |
| JP5470800B2 (ja) | 電気光学装置及び電子機器 | |
| JP5195260B2 (ja) | 電子機器 | |
| JP2010256666A (ja) | 電気光学装置及び電子機器 | |
| JP2009204958A (ja) | 電気光学装置及びその製造方法、並びに電子機器 | |
| JP5532944B2 (ja) | 電気光学装置用基板、電気光学装置及び電子機器 | |
| JP2010256662A (ja) | 電気光学装置及び電子機器 | |
| JP2011069861A (ja) | 電気光学装置及び電子機器 | |
| JP5124974B2 (ja) | 電気光学装置、及びこれを備えた電子機器 | |
| JP6108004B2 (ja) | 電気光学装置及び電子機器 | |
| JP2010256667A (ja) | 電気光学装置及び電子機器 | |
| JP6269749B2 (ja) | 電気光学装置及び電子機器 | |
| JP5994907B2 (ja) | 電気光学装置及び電子機器 | |
| JP5834402B2 (ja) | 電気光学装置及び電子機器 | |
| JP5332482B2 (ja) | 電気光学装置及び電子機器 | |
| JP5370168B2 (ja) | 電気光学装置及び電子機器 | |
| JP5928571B2 (ja) | 電気光学装置及び電子機器 | |
| JP5817112B2 (ja) | 電気光学装置及び電子機器 | |
| JP2010175889A (ja) | 電気光学装置及び電子機器 |
Legal Events
| Date | Code | Title | Description |
|---|---|---|---|
| A300 | Withdrawal of application because of no request for examination |
Free format text: JAPANESE INTERMEDIATE CODE: A300 Effective date: 20121204 |