JP2011069412A - 動力伝達チェーンおよび動力伝達装置 - Google Patents

動力伝達チェーンおよび動力伝達装置 Download PDF

Info

Publication number
JP2011069412A
JP2011069412A JP2009219401A JP2009219401A JP2011069412A JP 2011069412 A JP2011069412 A JP 2011069412A JP 2009219401 A JP2009219401 A JP 2009219401A JP 2009219401 A JP2009219401 A JP 2009219401A JP 2011069412 A JP2011069412 A JP 2011069412A
Authority
JP
Japan
Prior art keywords
link
pin
chain
lubricating oil
power transmission
Prior art date
Legal status (The legal status is an assumption and is not a legal conclusion. Google has not performed a legal analysis and makes no representation as to the accuracy of the status listed.)
Withdrawn
Application number
JP2009219401A
Other languages
English (en)
Inventor
Yoshihisa Miura
義久 三浦
Teruko Nagaoka
照子 長岡
Current Assignee (The listed assignees may be inaccurate. Google has not performed a legal analysis and makes no representation or warranty as to the accuracy of the list.)
JTEKT Corp
Original Assignee
JTEKT Corp
Priority date (The priority date is an assumption and is not a legal conclusion. Google has not performed a legal analysis and makes no representation as to the accuracy of the date listed.)
Filing date
Publication date
Application filed by JTEKT Corp filed Critical JTEKT Corp
Priority to JP2009219401A priority Critical patent/JP2011069412A/ja
Publication of JP2011069412A publication Critical patent/JP2011069412A/ja
Withdrawn legal-status Critical Current

Links

Images

Landscapes

  • Transmissions By Endless Flexible Members (AREA)

Abstract

【課題】ピンの端部に潤滑油を維持して潤滑油の供給量を削減し、さらにピン端面の摩耗を防止することができる動力伝達チェーンおよび動力伝達装置を提供する。
【解決手段】動力伝達チェーン1は、チェーン長さ方向に並ぶリンク11、16同士を長さ方向に屈曲可能に連結する複数の相対的に長さが異なる2種類のピン14およびインターピース15を備えている。少なくともチェーン幅方向最外側に配置されるリンク16の外径側に、潤滑油の径方向外方への飛散を防止する潤滑油保持部16bが、チェーン幅方向外側に延びて形成されている。
【選択図】図1

Description

この発明は、動力伝達チェーン、さらに詳しくは、自動車等の車両の無段変速機(CVT)に好適な動力伝達チェーンおよび動力伝達装置に関する。
自動車用無断変速機として、図12に示すように、円錐状のシーブ面を有する固定シーブ(2a)および円錐状のシーブ面を有する可動シーブ(2b)を有しエンジン側に設けられたドライブプーリ(2)と、固定シーブ (3b) および可動シーブ(3a)を有し駆動輪側に設けられたドリブンプーリ(3)と、両者間に架け渡された無端状動力伝達チェーン(1)とからなり、油圧アクチュエータによって可動シーブ(2b)(3a)を固定シーブ(2a)(3b)に対して接近・離隔させることにより、油圧でチェーン(1)をクランプして接触させ、この接触部の摩擦力によりトルクを伝達するものが知られている。
動力伝達チェーンとしては、特許文献1に、ピンが挿通される前後挿通部を有する複数のリンクと、一のリンクの前挿通部と他のリンクの後挿通部とが対応するようにチェーン幅方向に並ぶリンク同士を連結する前後に並ぶ複数の第1ピンおよび複数の第2ピンとを備え、第1ピンと第2ピンとが相対的に転がり接触移動することにより、リンク同士の長さ方向の屈曲が可能とされており、無段変速機のプーリ間に掛け渡されて、第1ピンおよび第2ピンの少なくとも一方の両端面がプーリのシーブ面に接触して摩擦力により動力が伝達されるものが提案されている。
特開2005−233275号公報
上記の動力伝達チェーンは、チェーンの遠心力により潤滑油が飛散しやすく、潤滑油が飛散すると、ピンの端部の潤滑油が不足してピンとプーリとの間の摩擦力によりピン端面が摩耗するおそれがある。そこで、ピンの端部に潤滑油を維持するとともに潤滑油の供給量を削減することが望まれている。
この発明の目的は、ピンの端部に潤滑油を維持して潤滑油の供給量を削減し、さらにピン端面の摩耗を防止することができる動力伝達チェーンおよび動力伝達装置を提供することにある。
この発明による動力伝達チェーンは、ピンが挿通される前後挿通部を有する複数のリンクと、一のリンクの前挿通部と他のリンクの後挿通部とが対応するようにチェーン幅方向に並ぶリンク同士を連結する前後に並ぶ複数の第1ピンおよび複数の第2ピンとを備え、第1ピンと第2ピンとが相対的に転がり接触移動することにより、リンク同士の長さ方向の屈曲が可能とされている動力伝達チェーンにおいて、少なくともチェーン幅方向最外側に配置されるリンクの外径側に、潤滑油の径方向外方への飛散を防止する潤滑油保持部が、チェーン幅方向外側に延びて形成されていることを特徴とするものである。
この明細書において、チェーンの進行方向を前後方向といい、これに直交する方向(プーリ半径方向)を上下方向というものとする。
複数のリンクは、チェーン幅方向外側に配置され潤滑油保持部が形成された端部リンクと、端部リンクに挟まれて配置される中間リンクとからなる。端部リンクと中間リンクとは、チェーン外径側部分のみが異なった形状とされる。
潤滑油保持部は、チェーン幅方向最外側に配置されたリンクだけに設けられてもよく、最外側リンクのすぐ内側にあるリンクの最外側リンクに挟まれていない部分にも設けられるようにしてもよい。
潤滑油保持部は、端部リンクのチェーン外径側部分の上下方向の長さ(前後挿通部の上縁とリンクの上縁との距離)が、中間リンクのチェーン外径側部分の上下方向の長さよりも長く形成され、その長く形成された部分がチェーン幅方向外側に向かって屈曲させられることで形成される。これにより、端部リンクは、前後方向から見てL字状とされる。屈曲させる角度は、例えば、直角とされるが、これより大きい角度でもよい。
潤滑油保持部は、その先端からプーリまでの最短距離が、例えば、0.01〜1mmとされ、プーリとの接触が回避できる長さで形成される。
チェーンは、幅方向同位相の複数のリンクで構成されるリンク列を進行方向(前後方向)に3つ並べて1つのリンクユニットとし、この3列のリンク列からなるリンクユニットを進行方向に複数連結して形成されている。リンク枚数が9枚のリンク列(相対的に多いリンク列)1つとリンク枚数が8枚のリンク列(相対的に少ないリンク列)2つとが1つのリンクユニットとされている。
潤滑油保持部は、9枚のリンク列の最外側のリンクに形成されていればよく、さらに8枚のリンク列の最外側のリンク前半部(または後半部)に形成されてもよい。8枚のリンク列の最外側のリンクにおいて、潤滑油保持部が、リンクの前半部(または後半部)のみに形成されることで、9枚のリンク列の最外側のリンクとの干渉が防がれる。
8枚のリンク列に形成される潤滑油保持部は、9枚のリンク列に形成される潤滑油保持部よりも若干長く形成される。8枚のリンク列に形成される潤滑油保持部を相対的に長くすると、プーリのシーブ面から潤滑油保持部までの距離が9枚のリンク列に形成される潤滑油保持部と等しくなり、シーブ面から潤滑油保持部までの距離が均一となる。
8枚のリンク列にも潤滑油保持部が形成されていると、9枚のリンク列の端部リンクのみに潤滑油保持部が形成された場合に比べて、より一層潤滑油を維持することができる。
チェーンを潤滑する潤滑油は、チェーンの内径側から外径側に向かって供給され、チェーンの遠心力によって径方向外側に飛散しやすいものとなっている。そして、ピンの端部の潤滑油が飛散すると、ピン端面が摩耗しやすくなる。そこで、プーリとピンとの間に潤滑油を維持させるために、端部リンクの外径側に、潤滑油保持部が形成されると、潤滑油の飛散が防止でき、ピン端面に潤滑油を維持することができる。これにより、潤滑油の供給量を削減することができる。さらに、端部リンクは、潤滑油保持部が形成されることで、リンク外径部分の剛性が向上するので、端部リンクに付加される応力への抵抗力が増加し、端部リンクの破損確率を低下させることができる。
この発明による動力伝達チェーンでは、第1ピンおよび第2ピンの少なくとも一方がプーリと接触して摩擦力により動力伝達する。いずれか一方のピンがプーリと接触するチェーンにおいては、第1ピンおよび第2ピンのうちのいずれか一方は、このチェーンが無断変速機で使用される際にプーリに接触する方のピン(以下では、「第1ピン」または「ピン」と称す)とされ、他方は、プーリに接触しない方のピン(インターピースまたはストリップと称されており、以下では、「第2ピン」または「インターピース」と称す)とされる。
第1ピンおよび第2ピンは、異なる断面形状であってもよく、同一形状であってもよい。ピンの材質としては、軸受鋼などの適宜な鋼が使用される。
ピン(インターピース)は前後挿通部に固定されてもよく、その場合の前後挿通部へのピンの固定は、例えば、機械的圧入による挿通部内縁とピン外周面との嵌合固定とされるが、これに代えて、焼き嵌めまたは冷やし嵌めによってもよい。1つの挿通部には、ピンとインターピースとがチェーンの長さ方向に対向するように嵌め合わせられ、このうちのいずれか一方がリンクの挿通部の周面に嵌合固定される。嵌合固定は、挿通部の長さ方向に対して直交する部分の縁(上下の縁)で行われることが好ましい。
第1ピンおよび第2ピンは、例えば、いずれか一方の転がり接触面が平坦面とされ、他方の転がり接触面が相対的に転がり接触移動可能なように所要の曲面に形成される。また、第1ピンおよび第2ピンは、それぞれの転がり接触面が所要の曲面に形成されるようにしてもよい。いずれの場合でも、各ピンの転がり接触面形状がそれぞれ2種類(例えば相対的に曲率が大のものと相対的に曲率が小のもの)形成されることで、転がり接触移動の軌跡が相違するピンの組が2種類存在するようにしてもよい。第1ピンと第2ピンとの接触位置の軌跡は、例えば、インボリュート曲線とされる。
上記の動力伝達チェーンは、いずれか一方のピン(インターピース)が他方のピン(ピン)よりも短くされ、長い方のピンの端面が無段変速機のプーリの円錐状シーブ面に接触し、この接触による摩擦力により動力を伝達するものであることが好ましい。各プーリは、円錐状のシーブ面を有する固定シーブと、固定シーブのシーブ面に対向する円錐状のシーブ面を有する可動シーブとからなり、両シーブのシーブ面間にチェーンを挟持し、可動シーブを油圧アクチュエータによって移動させることにより、無断変速機のシーブ面間距離にしたがってチェーンの巻き掛け半径が変化し、スムーズな動きで無段の変速を行うことができる。
この発明による動力伝達装置は、円錐状のシーブ面を有する第1のプーリと、円錐状のシーブ面を有する第2のプーリと、これら第1および第2のプーリに掛け渡される動力伝達チェーンとを備え、動力伝達チェーンが上記に記載のものとされる。
この動力伝達装置は、自動車などの車両の無段変速機(CVT)としての使用に好適なものとなる。
この発明の動力伝達チェーンによると、少なくともチェーン幅方向最外側に配置されるリンクの外径側に、潤滑油の径方向外方への飛散を防止する潤滑油保持部が、チェーン幅方向外側に延びて形成されているので、潤滑油の飛散を防止して、ピンの端部に潤滑油を維持でき、ピン端面の摩耗を防止することができる。これにより、潤滑油の供給量を削減することができる。
図1は、この発明による動力伝達チェーンの第1実施形態の一部を示す平面図である。 図2は、チェーン幅方向中央に配置されるリンクの側面図である。 図3は、チェーン幅方向外側に配置されるリンクである。 図4は、チェーンの一部を示す側面図である。 図5は、動力伝達チェーンがプーリに取り付けられた状態を示す正面図である。 図6は、図5の一部を示す斜視図である。 図7は、この発明による動力伝達チェーンの第2実施形態の一部を示す平面図である。 図8は、チェーン幅方向外側に配置されるリンクである。 図9は、チェーンの一部を示す側面図である。 図10は、動力伝達チェーンがプーリに取り付けられた状態を示す正面図である。 図11は、図10の一部を示す斜視図である。 図12は、無断変速機を示す斜視図である。
以下、図面を参照して、この発明の実施形態について説明する。以下の説明において、上下は、図2の上下をいい、前後については、同図の右を前、左を後というものとする。
図1から図6までは、この発明による動力伝達チェーン(1)の第1実施形態を示している。図1は、この発明の動力伝達チェーン(1)の一部を示しており、動力伝達チェーン(1)は、ピン(14)(15)が挿通される前後挿通部(12)(13)を有する複数のリンク(11)(16)と、一のリンク(11)(16)の前挿通部(12)と他のリンク(11)(16)の後挿通部(13)とが対応するようにチェーン幅方向に並ぶリンク(11)(16)同士を連結する前後に並ぶ複数の第1ピン(ピン)(14)および複数の第2ピン(インターピース)(15)とを備え、ピン(14)とインターピース(15)とが相対的に転がり接触移動することにより、リンク(11)(16)同士の長さ方向の屈曲が可能とされている。インターピース(15)は、ピン(14)よりも短くなされ、両者(14)(15)は、インターピース(15)が前側に、ピン(14)が後側に配置された状態で対向させられている。
チェーン(1)は、幅方向同位相の複数のリンク(11)(16)で構成されるリンク列を進行方向(前後方向)に3つ並べて1つのリンクユニットとし、この3列のリンク列からなるリンクユニットを進行方向に複数連結して形成されている。この実施形態では、リンク(11)(16)枚数が9枚のリンク列とリンク(11)(16)枚数が8枚のリンク列2つとが1つのリンクユニットとされている。
複数のリンク(11)(16)は、ピン(14)の中間に配置された中間リンク(11)と、中間リンク(11)を挟みチェーン幅方向最外側に配置された端部リンク(16)とから構成されている。端部リンク(16)と中間リンク(11)とは、チェーン外径側のみが異なった形状とされている。この実施形態において、端部リンク(16)は、9枚のリンク列のチェーン幅方向最外側のみに位置するように配置されている。
図2は、ピン(14)およびインターピース(15)が挿通された中間リンク(11)の側面形状を示している。
図2に示すように、前挿通部(12)は、ピン(二点鎖線で示す)(14)が移動可能に嵌め合わせられるピン可動部(12a)およびインターピース(15)(実線で示す)が固定されるインターピース固定部(12b)からなり、後挿通部(13)は、ピン(実線で示す)(14)が固定されるピン固定部(13a)およびインターピース(15)(二点鎖線で示す)が移動可能に嵌め合わせられるインターピース可動部(13b)からなる。
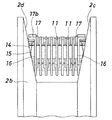
図3は、端部リンク(16)を示している。同図(a)は、チェーン進行方向右側の端部リンク(16)の側面図であり、同図(b)は、同図(a)のb−b線に沿う断面図である。同図(c)は、チェーン進行方向左側の端部リンク(16)であり、同図(a)の端部リンク(16)と同じ方向から見た側面図である。同図(d)は、同図(c)のd−d線に沿う断面図である。図3において、チェーン外径側以外の部分については、図2と同じ符号を付し、その説明を省略する。
図3に示すように、端部リンク(16)は、前後挿通部(12)(13)を有する平坦なリンク本体(16a)と、リンク本体(16a)の上部(チェーン外径側部分)に形成されたチェーン幅方向外側にのびる潤滑油保持部(16b)とからなる。潤滑油保持部(16b)は、端部リンク(16)のチェーン外径側部分の上下方向の長さ(前後挿通部(12)(13)の上縁とリンク(16)の上縁との距離)が、中間リンクのチェーン外径側部分の上下方向の長さよりも長く形成され、その長く形成された部分がチェーン幅方向外側に向かって屈曲させられることで形成されている。これにより、端部リンク(16)は、前後方向から見てL字状とされている。端部リンク(16)の上下方向の長さは、中間リンク(11)の上下方向の長さより潤滑油保持部(16b)の厚さ分長く形成されている。図5に示すように、潤滑油保持部(16b)は、その先端からプーリ(2)(3)までの最短距離が0.01〜1mmとされ、プーリ(2)(3)との接触が回避できる長さで形成されている。
図1および図4に示すように、チェーン幅方向に並ぶリンク(11)(16)を連結するに際しては、一のリンク(11)(16)の前挿通部(12)と他のリンク(11)(16)の後挿通部(13)とが対応するようにリンク(11)(16)同士が重ねられ、ピン(14)が一のリンク(11)(16)の後挿通部(13)に固定されかつ他のリンク(11)(16)の前挿通部(12)に移動可能に嵌め合わせられ、インターピース(15)が一のリンク(11)(16)の後挿通部(13)に移動可能に嵌め合わされかつ他のリンク(11)(16)の前挿通部(12)に固定される。そして、このピン(14)とインターピース(15)とが相対的に転がり接触移動することにより、リンク(11)(16)同士の長さ方向(前後方向)の屈曲が可能とされる。
この動力伝達チェーン(1)は、必要な数のピン(14)およびインターピース(15)を台上に垂直状に保持した後、リンク(11)(16)を1つずつあるいは数枚まとめて圧入していくことにより製造される。端部リンク(16)は、ピン(14)端面に加わる摩擦やチェーン(1)の張力による弾性変形を考慮してシーブ面から若干の隙間が設けられるように圧入されている。この圧入は、ピン(14)およびインターピース(15)の上下縁部とピン固定部(12a)およびインターピース固定部(13b)の上下縁部との間において行われており、その圧入代は0.005mm〜0.1mmとされている。このように、ピン(14)およびインターピース(15)の固定は、例えば、機械的圧入により嵌合固定されるが、これに変えて、焼き嵌めまたは冷やし嵌めによってもよい。嵌合固定の後、予張力付与行程において予張力が付与されることにより、リンク(11)(16)のピン固定部(13a)およびインターピース固定部(12b)に均等にかつ適正な残留圧縮応力が付与される。
ピン(14)の転がり接触面(14a)は、曲面(断面形状がインボリュート曲線)に、インターピース(15)の転がり接触面(15a)は、平坦面(断面形状が直線)とされている。
ピン(14)を基準としたピン(14)とインターピース(15)との接触位置の軌跡は、インボリュート曲線とされており、この実施形態では、ピン(14)の転がり接触面(14a)が断面において半径Rb、中心Mの基礎円を持つインボリュート形状を有し、インターピース(15)の転がり接触面(15a)が平坦面(断面形状が直線)とされている。これにより、各リンク(11)(16)がチェーン(1)の直線部分から円弧部分へまたは円弧部分から直線部分へと移行する際、前挿通部(12)においては、ピン(14)がピン可動部(12a)内を固定状態のインターピース(15)に対してその転がり接触面(14a)がインターピース(15)の転がり接触面(15a)に転がり接触(若干のすべり接触を含む)しながら移動し、後挿通部(13)においては、インターピース(15)が固定状態のピン(14)に対してその転がり接触面(15a)がピン(14)の転がり接触面(14a)に転がり接触(若干のすべり接触を含む)しながらインターピース可動部(13b)内を移動する。なお、符号AおよびBで示す箇所は、チェーン(1)の直線部分においてピン(14)とインターピース(15)とが接触している線(断面では点)であり、AB間の距離がピッチである。
チェーン(1)を潤滑するための潤滑油は、チェーン(1)の遠心力によって径方向外側に飛散しやすいものとなっており、ピン(14)の端部の潤滑油が飛散すると、ピン(14)とプーリ(2)(3)との間の摩擦力によりピン(14)端面が摩耗するおそれがある。そこで、図5および図6に示すように、潤滑油保持部(16b)が形成されていると、潤滑油保持部(16b)とプーリ(2)(3)との間が0.01〜1mmに形成され、隙間がごく僅かなものとされているので、遠心力による潤滑油の飛散を防止でき、潤滑油がピン(14)とプーリ(2)(3)との間に維持され、ピン(14)端面の摩耗が防止される。これにより、潤滑油の供給量を削減することができる。さらに、潤滑油保持部(16b)が形成されることにより、端部リンク(16)の外径側の剛性が向上するので、端部リンク(16)に付加される応力への抵抗力が増加し、端部リンク(16)の破損確率を低下させることができる。
上記のチェーン式動力伝達チェーン(1)では、ピン(14)の上下移動の繰り返しにより、多角形振動が生じ、これが騒音の要因となるが、ピン(14)とインターピース(15)とが相対的に転がり接触移動しかつピン(14)を基準としたピン(14)とインターピース(15)との接触位置の軌跡がインボリュート曲線とされていることにより、ピン(14)およびインターピース(15)の接触面がともに円弧面である場合などと比べて、振動を小さくすることができ、騒音を低減することができる。また、チェーン幅方向に並ぶリンク(11)(16)の隣り合うもの同士が接触するようになされていることにより、リンク(11)(16)間の接触による摩擦力によってチェーン(1)の弦振動が抑えられる。そして、上記の動力伝達チェーン(1)は、図12に示したV型プーリ式CVTで使用されるが、この際、図5に示すように、例えば、インターピース(第2ピン)(15)がピン(第1ピン)(14)よりも短くされ、インターピース(15)の端面がプーリ(2)の固定シーブ(2a)および可動シーブ(2b)の各円錐状シーブ面(2c)(2d)に接触しない状態で、ピン(14)の端面がプーリ(2)の円錐状シーブ面(2c)(2d)に接触し、この接触による摩擦力により動力が伝達される。ピン(14)とインターピース(15)とは、上述のように、転がり接触移動するので、プーリ(2)のシーブ面(2c)(2d)に対してピン(14)はほとんど回転しないことになり、摩擦損失が低減し、高い動力伝達率が確保される。
図7から図11に異なる実施形態が示されている。以下の説明において、第1実施形態と同じ構成には同じ符号を付しその説明を省略する。この実施形態において、複数のリンク(11)(16)(17)は、ピン(14)の中間に配置された中間リンク(11)と、中間リンク(11)を挟み9枚のリンク列および8枚のリンク列のチェーン幅方向最外側に配置された端部リンク(16)(17)とから構成されている。
図8に、8枚のリンク列のチェーン幅方向最外側に配置された端部リンク(17)が示されている。端部リンク(17)と中間リンク(11)とは、チェーン外径側の前半部のみが異なった形状とされている。同図(a)は、チェーン進行方向右側の端部リンク(17)の側面図であり、同図(b)は、同図(a)のb−b線に沿う断面図である。同図(c)は、チェーン進行方向左側の端部リンク(17)であり、同図(a)の端部リンク(17)と同じ方向から見た側面図である。同図(d)は、同図(c)のd−d線に沿う断面図である。
図8に示すように、端部リンク(17)は、前後挿通部(12)(13)を有する平坦なリンク本体(17a)と、リンク本体(17a)の上部(チェーン外径側部分)に形成されたチェーン幅方向外側にのびる潤滑油保持部(17b)とからなる。
図7および図9に示すように、この実施形態において、潤滑油保持部(16b)(17b)は、9枚のリンク列のチェーン幅方向最外側の端部リンク(16)と、8枚のリンク列のチェーン幅方向最外側の端部リンク(17)の前半部とに形成されている。潤滑油保持部(17b)は、端部リンク(17)のチェーン外径側の前半部分の上下方向の長さ(前挿通部(12)の上縁とリンク(17)の上縁との距離)が、中間リンク(11)のチェーン外径側部分の上下方向の長さよりも長く形成され、その長く形成された部分がチェーン幅方向外側に向かって屈曲させられることで形成されている。これにより、端部リンク(17)は、前後方向から見てL字状とされている。端部リンク(17)の前半部の上下方向の長さは、中間リンク(11)の上下方向の長さより潤滑油保持部(17b)の厚さ分長く形成されている。
図10に示すように、潤滑油保持部(17b)は、その先端からプーリ(2)(3)までの最短距離が0.01〜1mmとされ、プーリ(2)(3)との接触が回避できる長さで形成されている。8枚のリンク列に形成された潤滑油保持部(17b)は、相対的に長く形成されており、プーリ(2)(3)からの最短距離が9枚のリンク列に形成された潤滑油保持部(16b)と同等の長さとされている。
図9および図11に示すように、潤滑油保持部(16b)(17b)が、9枚のリンク列のチェーン幅方向最外側の端部リンク(16)と、8枚のリンク列のチェーン幅方向最外側の端部リンク(17)の前半部とに形成されていると、9枚のリンク列のみに形成されている場合に比べ、より一層ピン(14)の端部に供給された潤滑油の飛散を防止することができる。これにより、潤滑油がピン(14)とプーリ(2)(3)との間に維持され、ピン(14)端面の摩耗が防止される。したがって、潤滑油の供給量をより削減することができる。さらに、潤滑油保持部(17b)が形成されることにより、端部リンク(17)の外径側前半部の剛性が向上するので、端部リンク(17)に付加される応力への抵抗力が増加し、8枚のリンク列の端部リンク(17)の破損確率を低下させることができる。
上記の潤滑油保持部(16b)(17b)が形成されたリンク(16)(17)は、第1ピンおよび第2ピンの長さがほぼ等しく、両方ともがシーブ面に接触するチェーンにも適用することができ、さらに、第1ピンおよび第2ピンの両方が前後挿通部(12)(13)に対し移動可能に嵌め入れられるチェーンにも適用可能である。
(1) 動力伝達チェーン
(2)(3) プーリ
(2a)(3b) 固定シーブ
(2b)(3a) 可動シーブ
(2c)(2d) 円錐状シーブ面
(11) 中間リンク
(12) 前挿通部
(13) 後挿通部
(14) ピン(第1ピン)
(15) インターピース(第2ピン)
(16)(17) 端部リンク
(16b)(17b) 潤滑油保持部

Claims (2)

  1. ピンが挿通される前後挿通部を有する複数のリンクと、一のリンクの前挿通部と他のリンクの後挿通部とが対応するようにチェーン幅方向に並ぶリンク同士を連結する前後に並ぶ複数の第1ピンおよび複数の第2ピンとを備え、第1ピンと第2ピンとが相対的に転がり接触移動することにより、リンク同士の長さ方向の屈曲が可能とされている動力伝達チェーンにおいて、
    少なくともチェーン幅方向最外側に配置されるリンクの外径側に、潤滑油の径方向外方への飛散を防止する潤滑油保持部が、チェーン幅方向外側に延びて形成されていることを特徴とする動力伝達チェーン。
  2. 円錐状のシーブ面を有する第1のプーリと、円錐状のシーブ面を有する第2のプーリと、これら第1および第2のプーリに掛け渡される動力伝達チェーンとを備え、動力伝達チェーンが請求項1に記載の動力伝達装置。
JP2009219401A 2009-09-24 2009-09-24 動力伝達チェーンおよび動力伝達装置 Withdrawn JP2011069412A (ja)

Priority Applications (1)

Application Number Priority Date Filing Date Title
JP2009219401A JP2011069412A (ja) 2009-09-24 2009-09-24 動力伝達チェーンおよび動力伝達装置

Applications Claiming Priority (1)

Application Number Priority Date Filing Date Title
JP2009219401A JP2011069412A (ja) 2009-09-24 2009-09-24 動力伝達チェーンおよび動力伝達装置

Publications (1)

Publication Number Publication Date
JP2011069412A true JP2011069412A (ja) 2011-04-07

Family

ID=44014874

Family Applications (1)

Application Number Title Priority Date Filing Date
JP2009219401A Withdrawn JP2011069412A (ja) 2009-09-24 2009-09-24 動力伝達チェーンおよび動力伝達装置

Country Status (1)

Country Link
JP (1) JP2011069412A (ja)

Cited By (1)

* Cited by examiner, † Cited by third party
Publication number Priority date Publication date Assignee Title
JP2015129565A (ja) * 2014-01-08 2015-07-16 本田技研工業株式会社 チェーン式無段変速機

Cited By (1)

* Cited by examiner, † Cited by third party
Publication number Priority date Publication date Assignee Title
JP2015129565A (ja) * 2014-01-08 2015-07-16 本田技研工業株式会社 チェーン式無段変速機

Similar Documents

Publication Publication Date Title
JP2011069412A (ja) 動力伝達チェーンおよび動力伝達装置
JP4910978B2 (ja) 動力伝達チェーンおよび動力伝達装置
JP4946462B2 (ja) 動力伝達装置
JP2007270914A (ja) 動力伝達チェーンおよびこれを備える動力伝達装置
JP4882764B2 (ja) 動力伝達チェーンおよび動力伝達装置
JP2008267578A (ja) 動力伝達チェーンおよび動力伝達装置
JP2007032815A (ja) 動力伝達チェーンおよび動力伝達装置
JP4821258B2 (ja) 動力伝達チェーンおよび動力伝達装置
JP5125648B2 (ja) 動力伝達チェーンおよび動力伝達装置
JP2011069414A (ja) 動力伝達チェーンおよび動力伝達装置
JP4770554B2 (ja) 動力伝達チェーンおよび動力伝達装置
JP2008185166A (ja) 動力伝達チェーンおよび動力伝達装置
JP2008144825A (ja) 動力伝達チェーンおよび動力伝達装置
JP5151140B2 (ja) 動力伝達チェーンおよび動力伝達装置
JP2008190554A (ja) 動力伝達チェーンおよび動力伝達装置
JP4839716B2 (ja) 動力伝達チェーンおよび動力伝達装置
JP2008208920A (ja) 動力伝達チェーンおよび動力伝達装置
JP2008169879A (ja) 動力伝達チェーンおよび動力伝達装置
JP4830707B2 (ja) 動力伝達チェーンおよび動力伝達装置
JP2008151319A (ja) 動力伝達チェーンおよび動力伝達装置
JP2008151317A (ja) 動力伝達チェーンおよび動力伝達装置
JP2008215448A (ja) 動力伝達チェーンおよび動力伝達装置
JP2008215522A (ja) 動力伝達チェーンおよび動力伝達装置
JP2011202716A (ja) 動力伝達チェーンおよび動力伝達装置
JP2008275006A (ja) 動力伝達チェーンおよび動力伝達装置

Legal Events

Date Code Title Description
A300 Withdrawal of application because of no request for examination

Free format text: JAPANESE INTERMEDIATE CODE: A300

Effective date: 20121204