JP2010520522A - 変形検知手段を備える電子決済カード、情報カード、またはidカード - Google Patents

変形検知手段を備える電子決済カード、情報カード、またはidカード Download PDF

Info

Publication number
JP2010520522A
JP2010520522A JP2009551198A JP2009551198A JP2010520522A JP 2010520522 A JP2010520522 A JP 2010520522A JP 2009551198 A JP2009551198 A JP 2009551198A JP 2009551198 A JP2009551198 A JP 2009551198A JP 2010520522 A JP2010520522 A JP 2010520522A
Authority
JP
Japan
Prior art keywords
card
information
signal
mode
detection means
Prior art date
Legal status (The legal status is an assumption and is not a legal conclusion. Google has not performed a legal analysis and makes no representation as to the accuracy of the status listed.)
Granted
Application number
JP2009551198A
Other languages
English (en)
Other versions
JP5770974B2 (ja
JP2010520522A5 (ja
Inventor
フィン ニールセン
ルネ ドムステン
Current Assignee (The listed assignees may be inaccurate. Google has not performed a legal analysis and makes no representation or warranty as to the accuracy of the list.)
Cardlab APS
Original Assignee
Cardlab APS
Priority date (The priority date is an assumption and is not a legal conclusion. Google has not performed a legal analysis and makes no representation as to the accuracy of the date listed.)
Filing date
Publication date
Application filed by Cardlab APS filed Critical Cardlab APS
Publication of JP2010520522A publication Critical patent/JP2010520522A/ja
Publication of JP2010520522A5 publication Critical patent/JP2010520522A5/ja
Application granted granted Critical
Publication of JP5770974B2 publication Critical patent/JP5770974B2/ja
Active legal-status Critical Current
Anticipated expiration legal-status Critical

Links

Images

Classifications

    • GPHYSICS
    • G06COMPUTING OR CALCULATING; COUNTING
    • G06KGRAPHICAL DATA READING; PRESENTATION OF DATA; RECORD CARRIERS; HANDLING RECORD CARRIERS
    • G06K19/00Record carriers for use with machines and with at least a part designed to carry digital markings
    • G06K19/06Record carriers for use with machines and with at least a part designed to carry digital markings characterised by the kind of the digital marking, e.g. shape, nature, code
    • G06K19/067Record carriers with conductive marks, printed circuits or semiconductor circuit elements, e.g. credit or identity cards also with resonating or responding marks without active components
    • G06K19/07Record carriers with conductive marks, printed circuits or semiconductor circuit elements, e.g. credit or identity cards also with resonating or responding marks without active components with integrated circuit chips
    • G06K19/077Constructional details, e.g. mounting of circuits in the carrier
    • GPHYSICS
    • G06COMPUTING OR CALCULATING; COUNTING
    • G06KGRAPHICAL DATA READING; PRESENTATION OF DATA; RECORD CARRIERS; HANDLING RECORD CARRIERS
    • G06K19/00Record carriers for use with machines and with at least a part designed to carry digital markings
    • G06K19/06Record carriers for use with machines and with at least a part designed to carry digital markings characterised by the kind of the digital marking, e.g. shape, nature, code
    • G06K19/067Record carriers with conductive marks, printed circuits or semiconductor circuit elements, e.g. credit or identity cards also with resonating or responding marks without active components
    • G06K19/07Record carriers with conductive marks, printed circuits or semiconductor circuit elements, e.g. credit or identity cards also with resonating or responding marks without active components with integrated circuit chips
    • G06K19/0701Record carriers with conductive marks, printed circuits or semiconductor circuit elements, e.g. credit or identity cards also with resonating or responding marks without active components with integrated circuit chips at least one of the integrated circuit chips comprising an arrangement for power management
    • G06K19/0702Record carriers with conductive marks, printed circuits or semiconductor circuit elements, e.g. credit or identity cards also with resonating or responding marks without active components with integrated circuit chips at least one of the integrated circuit chips comprising an arrangement for power management the arrangement including a battery
    • G06K19/0705Record carriers with conductive marks, printed circuits or semiconductor circuit elements, e.g. credit or identity cards also with resonating or responding marks without active components with integrated circuit chips at least one of the integrated circuit chips comprising an arrangement for power management the arrangement including a battery the battery being connected to a power saving arrangement
    • GPHYSICS
    • G06COMPUTING OR CALCULATING; COUNTING
    • G06KGRAPHICAL DATA READING; PRESENTATION OF DATA; RECORD CARRIERS; HANDLING RECORD CARRIERS
    • G06K19/00Record carriers for use with machines and with at least a part designed to carry digital markings
    • G06K19/06Record carriers for use with machines and with at least a part designed to carry digital markings characterised by the kind of the digital marking, e.g. shape, nature, code
    • G06K19/067Record carriers with conductive marks, printed circuits or semiconductor circuit elements, e.g. credit or identity cards also with resonating or responding marks without active components
    • G06K19/07Record carriers with conductive marks, printed circuits or semiconductor circuit elements, e.g. credit or identity cards also with resonating or responding marks without active components with integrated circuit chips
    • G06K19/0716Record carriers with conductive marks, printed circuits or semiconductor circuit elements, e.g. credit or identity cards also with resonating or responding marks without active components with integrated circuit chips at least one of the integrated circuit chips comprising a sensor or an interface to a sensor
    • GPHYSICS
    • G06COMPUTING OR CALCULATING; COUNTING
    • G06KGRAPHICAL DATA READING; PRESENTATION OF DATA; RECORD CARRIERS; HANDLING RECORD CARRIERS
    • G06K19/00Record carriers for use with machines and with at least a part designed to carry digital markings
    • G06K19/06Record carriers for use with machines and with at least a part designed to carry digital markings characterised by the kind of the digital marking, e.g. shape, nature, code
    • G06K19/067Record carriers with conductive marks, printed circuits or semiconductor circuit elements, e.g. credit or identity cards also with resonating or responding marks without active components
    • G06K19/07Record carriers with conductive marks, printed circuits or semiconductor circuit elements, e.g. credit or identity cards also with resonating or responding marks without active components with integrated circuit chips
    • G06K19/077Constructional details, e.g. mounting of circuits in the carrier
    • G06K19/07701Constructional details, e.g. mounting of circuits in the carrier the record carrier comprising an interface suitable for human interaction
    • G06K19/07703Constructional details, e.g. mounting of circuits in the carrier the record carrier comprising an interface suitable for human interaction the interface being visual
    • GPHYSICS
    • G06COMPUTING OR CALCULATING; COUNTING
    • G06QINFORMATION AND COMMUNICATION TECHNOLOGY [ICT] SPECIALLY ADAPTED FOR ADMINISTRATIVE, COMMERCIAL, FINANCIAL, MANAGERIAL OR SUPERVISORY PURPOSES; SYSTEMS OR METHODS SPECIALLY ADAPTED FOR ADMINISTRATIVE, COMMERCIAL, FINANCIAL, MANAGERIAL OR SUPERVISORY PURPOSES, NOT OTHERWISE PROVIDED FOR
    • G06Q20/00Payment architectures, schemes or protocols
    • G06Q20/30Payment architectures, schemes or protocols characterised by the use of specific devices or networks
    • G06Q20/34Payment architectures, schemes or protocols characterised by the use of specific devices or networks using cards, e.g. integrated circuit [IC] cards or magnetic cards
    • G06Q20/341Active cards, i.e. cards including their own processing means, e.g. including an IC or chip
    • GPHYSICS
    • G06COMPUTING OR CALCULATING; COUNTING
    • G06QINFORMATION AND COMMUNICATION TECHNOLOGY [ICT] SPECIALLY ADAPTED FOR ADMINISTRATIVE, COMMERCIAL, FINANCIAL, MANAGERIAL OR SUPERVISORY PURPOSES; SYSTEMS OR METHODS SPECIALLY ADAPTED FOR ADMINISTRATIVE, COMMERCIAL, FINANCIAL, MANAGERIAL OR SUPERVISORY PURPOSES, NOT OTHERWISE PROVIDED FOR
    • G06Q20/00Payment architectures, schemes or protocols
    • G06Q20/30Payment architectures, schemes or protocols characterised by the use of specific devices or networks
    • G06Q20/34Payment architectures, schemes or protocols characterised by the use of specific devices or networks using cards, e.g. integrated circuit [IC] cards or magnetic cards
    • G06Q20/352Contactless payments by cards
    • GPHYSICS
    • G06COMPUTING OR CALCULATING; COUNTING
    • G06QINFORMATION AND COMMUNICATION TECHNOLOGY [ICT] SPECIALLY ADAPTED FOR ADMINISTRATIVE, COMMERCIAL, FINANCIAL, MANAGERIAL OR SUPERVISORY PURPOSES; SYSTEMS OR METHODS SPECIALLY ADAPTED FOR ADMINISTRATIVE, COMMERCIAL, FINANCIAL, MANAGERIAL OR SUPERVISORY PURPOSES, NOT OTHERWISE PROVIDED FOR
    • G06Q20/00Payment architectures, schemes or protocols
    • G06Q20/30Payment architectures, schemes or protocols characterised by the use of specific devices or networks
    • G06Q20/34Payment architectures, schemes or protocols characterised by the use of specific devices or networks using cards, e.g. integrated circuit [IC] cards or magnetic cards
    • G06Q20/354Card activation or deactivation
    • GPHYSICS
    • G07CHECKING-DEVICES
    • G07FCOIN-FREED OR LIKE APPARATUS
    • G07F7/00Mechanisms actuated by objects other than coins to free or to actuate vending, hiring, coin or paper currency dispensing or refunding apparatus
    • G07F7/08Mechanisms actuated by objects other than coins to free or to actuate vending, hiring, coin or paper currency dispensing or refunding apparatus by coded identity card or credit card or other personal identification means
    • G07F7/0806Details of the card
    • GPHYSICS
    • G07CHECKING-DEVICES
    • G07FCOIN-FREED OR LIKE APPARATUS
    • G07F7/00Mechanisms actuated by objects other than coins to free or to actuate vending, hiring, coin or paper currency dispensing or refunding apparatus
    • G07F7/08Mechanisms actuated by objects other than coins to free or to actuate vending, hiring, coin or paper currency dispensing or refunding apparatus by coded identity card or credit card or other personal identification means
    • G07F7/0806Details of the card
    • G07F7/0813Specific details related to card security
    • GPHYSICS
    • G07CHECKING-DEVICES
    • G07FCOIN-FREED OR LIKE APPARATUS
    • G07F7/00Mechanisms actuated by objects other than coins to free or to actuate vending, hiring, coin or paper currency dispensing or refunding apparatus
    • G07F7/08Mechanisms actuated by objects other than coins to free or to actuate vending, hiring, coin or paper currency dispensing or refunding apparatus by coded identity card or credit card or other personal identification means
    • G07F7/0866Mechanisms actuated by objects other than coins to free or to actuate vending, hiring, coin or paper currency dispensing or refunding apparatus by coded identity card or credit card or other personal identification means by active credit-cards adapted therefor

Landscapes

  • Engineering & Computer Science (AREA)
  • Physics & Mathematics (AREA)
  • General Physics & Mathematics (AREA)
  • Microelectronics & Electronic Packaging (AREA)
  • Theoretical Computer Science (AREA)
  • Business, Economics & Management (AREA)
  • Computer Hardware Design (AREA)
  • Computer Networks & Wireless Communication (AREA)
  • Accounting & Taxation (AREA)
  • Strategic Management (AREA)
  • General Business, Economics & Management (AREA)
  • Computer Security & Cryptography (AREA)
  • Credit Cards Or The Like (AREA)
  • Measurement Of The Respiration, Hearing Ability, Form, And Blood Characteristics Of Living Organisms (AREA)
  • Financial Or Insurance-Related Operations Such As Payment And Settlement (AREA)
  • Power Sources (AREA)
  • Control Of Vending Devices And Auxiliary Devices For Vending Devices (AREA)

Abstract

プロセッサおよび変形可能なスイッチ要素またはセンサ等の電子機器をその中に有するクレジットカード等の携帯型カードであって、センサ/スイッチの変形または曲がりが、電子機器を制御するために判断および使用される。ある側面によれば、圧電要素の曲がり方は、プロセッサをスリープモードから覚醒させるために電力を提供する。
【選択図】図4

Description

発明の詳細な説明
本発明は、ユーザの指示に応じて、あるモードから別のモードへ移行する電気回路を有するIDカード、情報カード、または決済カード等の携帯型カードに関する。
この種類の技術は、多種多様の目的で使用されうる。その一例が、決済カードまたは身分証明書におけるスイッチに見られる。このカードにおいて、プロセッサまたは他の電子回路が動作し、またはスイッチを介してユーザからの命令を受信する。カードの寿命を延ばすには、プロセッサおよびスイッチが、必要な場合にだけ電力を使用することが望ましい。
通常、このようなカードは、例えば、プロセッサを起動するために、ユーザによって押下される機械的なドームスイッチまたはメンブレンスイッチを備える。このようなスイッチは、多数の不利点を有する。ドームは、カードの平坦面から突出する。カードの生産/積層過程によって、ドームスイッチは無用になりうる。両スイッチのソリューションは、動作中に電流を必要とし、押下状態で変形し続けるスイッチは、カードの電池を急速に消耗しうる。
様々な種類のカードセンサやその同等物が、US2003/169574,DE19947180,JP02307792,DE10342054,WO03/027949に記載されているかもしれない。
既存の変形検知手段の別の目的は、カードの変形を検出または決定する際に使用することである。例えばユーザに可視情報を提供する。回転中に情報を提供する最良のものは、US5,791,966またはUS2005/0277360に記載されているかもしれない。
次のURLには、振られている最中に情報を提供する製品が、次のURLに提示されている。
http://www.loadsmorestuff.com/product_info.php?products_id=1085
http://web.mit.edu/6.111/www/s2005/PROJECT/Groups/1/main.html
しかしながら、これらの製品は剛性の箱体であり、かなり単純な設計であると思われる。
第1の捉え方によれば、本発明は、第1のモードおよび第2のモードで動作しうる電子回路と、前記電子回路に電子的に接続される検知手段とを備える携帯型カードであって、前記検知手段は、変形時に電気信号を出力しうる圧電要素を備え、前記電子回路は、前記電気信号の受信時に、前記第1のモードから前記第2のモードに移行しうるように構成され、前記電子回路はプロセッサを備え、前記第1のモードは前記プロセッサのスリープモードであり、前記第2のモードは前記プロセッサの通常モードである、携帯型カードに関する。
ここで、検知手段を変形することは、(通常そこに力を加えることによって)検知手段を静止位置から動かすことを意味する。この力は、通常、検知手段がそれに垂直よりも大きい長さを有する方向に角度をつけて加えられる。したがって、細長い物体を曲げることは、通常、その長手方向軸に角度をつけて力を加えることによって達成され、円板状の要素を曲げることは、通常、円形状要素または板状要素の平面に対して角度をつけて力を加えることによって達成される。
当然ながら、検知手段は、静止位置において平面状である必要はなく、曲げられた状態または応力/変形された状態において平面状であってもよい。
センサの種類は、変形されている時や曲げられている時に電力を提供する能力を更に有するという点において圧電要素である。したがって、この種類のセンサは、動作するために電力を必要とせず、ゆえに、任意の電源に接続される必要はない。
通常、スリープモードは低電力消費のモードであり、通常モードは高電力消費のモードである。そこで、検知手段は、変形を受けた時に、プロセッサをスリープモードから通常モードにするように、信号または電力をプロセッサに提供しうる。したがって、センサが曲げられたり変形を受けたりする前は、電力を全く消費しないか又は殆ど消費しないプロセッサを用いれば、省電力が達成されうる。
好ましくは、カードはかなり小型であり、例えば、外形サイズが長さ10cm未満、幅5cm未満、厚さ2mm未満である。最も好適なカードは、標準的なクレジットカードまたはIDカードのサイズを有する。
適切には、カードを曲げたり変形させたりできるように、カードは柔軟性を有する基体要素を有する。この基体要素に検知手段が搭載されることにより、検知手段が曲げや変形を推定することができる。そこで、検知手段は、動作が可能であれば、カードにおいて層構造の中などに完全に埋め込まれてもよい。当然ながら、カードは、基体要素に積層される層などの、任意の数の層を備えてもよい。これは、例えば、チップガードを提供する技術分野において既知である。
一実施形態では、検知手段は、カードの面に垂直な断面において、外側の部分(に配置される材料または要素)よりも柔らかい層または要素に検知手段の中心が隣接するように配される。したがって、検知手段が変形を受けている間、検知手段は、当該柔軟層を変形させるために、柔らかい層の方へ押されてもよい。したがって、通常はカードの2つの平坦な主要面内に完全に配置されうるスイッチ型要素を依然として用いることができる。当然ながら、検知手段の上にドームを使用して、ドームの押下時にハンマー効果を提供してもよい。
検知手段が曲げられたり変形されたりすると、モードの変更が実行されるが、特定の状況では、さらなる操作を必要とせずに、検知手段またはカードが頻繁に曲げられたり変形されたりすることを通知してもよく、それによって、結果的にモードの変更が発生しないように操作されうる。曲げや変形は、偶発的になされる場合がある。1つの状況として、歩いていたり走っていたりダンスしている最中の人によってセンサが曲げられたり変形されたりする場合など、リズムを持って曲げられることが検出される場合が挙げられるかもしれない。
このような状況では、カードは、検知手段の変形に対する感度を低下させる手段、または検知手段からの信号に対する回路の感度を低下させる手段をさらに備えてもよい。
好適な実施形態では、カードは、制御され且つタスクを開始しうる機能手段をさらに備える。この低下手段は、機能手段により何の機能も実行されない間に、検知手段により変形が所定回数検出されると作動する。
上記機能手段は、上記検知手段が再び動作することを表してもよく、またカードのキーボードによるコードの入力、カードの指紋読み取り器による指紋の読み取り等の別の入力を検知する手段であってもよい。また、カード読み取り器や、カードを走査するための光信号やそれに似たような信号を検知する光学センサであってもよい。
当然ながら、モードの変更は、検知手段により新しい変更が検知されるまで、または変形直後から一定期間の間、実行または維持される。この期間は、単にタイミング装置によって決定されてもよい。つまり、検知装置の変形時に(実際には変形によって)電圧が提供され、その後減衰するRC回路を用いてもよい。モード変更の時点は、変形時か、RC回路を減衰する電圧が閾値に到達する際のいずれかである。
一実施形態では、上記電子回路はRFIDタグの回路であってもよい。この回路において、その送受信回路は、検知手段の変形時、またはその後の所定の時間に有効化または無効化される。実際には、RFIDタグの動作は、変形時に、検知手段によって提供される電力によって電力供給されうる。この状況では、RFIDタグの動作に電池は不要になりうる。
検知手段の変形が、様々な目的のために判断および使用されうることに留意されたい。モード変更のために、第1の動作またはその「クリック」を使用してもよい。所定のタスクを開始するために(コンピュータのマウスまたは携帯電話機のように)「ダブルクリック」を使用してもよく、また、一定時間内または互いに間隔を開けずに実行される所定の回数の変形を、入力として、およびカード回路の動作の制御のために使用してもよい。以下にさらに詳細に説明するように、変形の定量化を代替的に使用して、モードを選択してもよい。
特に、カードが、プロセッサに組み合わされる電源を更に備え、検知手段の動作から電力/信号を供給することが可能であり、検知手段が電源を必要としない場合、または電源に接続されない場合、利点がある。つまり、検知手段の故障のために電源を消耗する必要がない。
通常、インテリジェントカードは、カードから情報を出力する手段も備える。このような手段は、カード上の導電性パッドを介して、または電波、磁場、RFID、IR放射、もしくはBluetooth(登録商標)等の無線手段を介して、能動的または受動的な(回路/プロセッサによって変更可能または変更不可能な)1つ以上の磁気ストリップであり得る。当然ながら、このような通信は、プロセッサによって制御されてもよく、また、例えば、プロセッサがセンサの動作によって目覚めさせられた場合にのみ開始されてもよい。
多くの興味深い実施形態では、カードは、視覚情報を提示する手段を更に備える。この可視情報は、回路の状態について、または回路が実行するプロセスについてユーザに報告しうる。他のプロセスで使用するために、ATM、コンピュータ、コンソール、またはその同等物に入力されるコードなどの情報をユーザに出力するために使用されうる。
特定の実施形態では、カードは、検知手段からの信号に基づいて、第2の情報または信号を提示手段に提供する手段を備える。したがって、変形の度合いもしくは量、変形の方向、変形の頻度、または変形から導出可能である他の情報に関する情報が導出および使用されうる。
検知手段は、変形の度合いおよび/または方向に関連する電圧および/または電流を有する信号を出力しうるように構成されていてもよい。また、信号の時間長が、変形の度合いを推定するために使用されてもよい。
本発明の第2の捉え方は、カードが、
・ 柔軟性を有する基体要素と、
・ 視覚情報を提示する手段と、
・ 基体要素が曲げられることを検出し、信号を出力する検知手段と、
・ 検知手段から信号を受信し、その信号に基づいて、提示手段に対する第2の情報または信号を決定する手段と、
を備えるタイプのカードに関する。
ここで、柔軟性要素は、振られる時に柔軟に曲がることのできる要素である。
例えば、人が要素の一部を保持し、要素を往復するように動かすことにより、振られるであろう。次いで、要素は、その加速度の変化や柔軟性、振られている最中にカードに作用する風の抵抗の変化に起因して曲げられる。
また、カードは、ここでは、主に、望むように曲げられやすいという点において、幅および長さの2つの寸法よりも、厚みの寸法が大幅に小さい要素である。しかしながら、基体要素が依然として柔軟性である限りは、例えば、クレジットカードと比較して比較的大きい「厚み」を有してもよい。
視覚情報は、画像、絵、写真、テキスト、またはその同等物等の任意の種類の視覚情報であり得る。断面の小さな一次元の提示部によって提示されても、ヒトの眼球系の遅い性質に起因して、この情報は、2D画像として人に視認される。
曲げの検出または定量化は、提示手段の動きを記述する情報を生成することが可能であり、この情報は、提示手段を制御する受信手段によって使用される。
第1の捉え方における特定の実施形態において、または第2の捉え方において、検知手段は、基体要素の側面もしくは側面上に、またはカードの外部、表面、もしくは端部に配置されてもよく、また、検知手段の伸張/圧縮に対応する信号を出力可能でありうる。したがって、圧電変換器、歪みゲージ、または圧力感応抵抗器等の標準的な要素を使用してもよい。
いくつかの種類の加速度計または変形検出器は、実際に、適切な信号が供給される場合、音声を出力することが可能である。したがって、第1の捉え方における特定の実施形態における、または第2の捉え方における一状況では、検知手段は、受信した信号に対応する音声を提供するように更に構成され、カードは、信号を検知手段に提供する手段を更に備える。
好ましくは、カードは、第1の端部と、それに対向する1つ以上の対向端部とを有し、提示手段は、カードの第1の端部又はその上に配置され、検知手段は、第1の端部よりも対向端部に近い方に配置される。このように、カードは、実際には、上記対向端部と検出手段との間で保持されるように適合され、カードを振ることによって、好ましくは、検知手段の部分において最も大きく曲げられる。
好適な実施形態では、提示手段は、1列以上の、通常は互いに平行な発光体の列を備え、その各々は、決定手段によって制御可能である。任意の数の列を使用してよく、また、LED、レーザ、vxel等の任意の種類の発光体を使用してもよい。多色情報を提供しうるように単色発光体を混ぜてもよく、または可変色を発光しうる複数の発光体を使用してもよい。
発光体を端部に提供することによって、振動距離(振幅)を容易に最大化することができる。発光体は、カードの任意の位置において提供されうる。
好ましくは、カードまたは決定手段は、タイミング情報を提供しうるタイミング手段を更に備え、前記決定手段は、前記タイミング情報にも基づいて前記第2の情報を提供する。ここで、曲げや加速だけでなく、曲げや加速が検知されない場合に、例えば、振動の最終転換点または最終時点等からの時点も使用されうる。
好適な実施形態において、上記決定手段は、信号およびタイミング情報から、提示手段が往復行程中に移動する第1の距離を推定しうる。したがって、この第1の距離は、往復行程の2つの極点の間の距離であり得る。この距離およびタイミング情報は、決定手段が、全ての時点において、情報提示部の実際の位置を決定することを可能にしうる。
次いで、決定手段は、提供されるべき2D情報を保持し、2D情報のそれぞれ隣り合う細長い部分を表すデータを提示手段に次々に転送可能でありうる。往復移動中、提供手段は、距離を「走査」し、受信機は、距離に沿った提示部の位置に従って、情報を提示部に転送する。次いで、当然ながら、提示部に伝送される情報は、曲がり方や振動の方向を横切るように分割される、2D情報全体の細長い部分を表す。
したがって、2D情報は、多数の線または縦列として提供されるものとして考えられる。多数の線または縦列は、CRTと同様に、提示手段に連続的に伝送される。CRTのビームの標準的な一方向走査は、一方向に移動する場合にだけ情報を提供するために使用されうる。代替として、同一の情報が両方向に提供されてもよく、したがって、発光手段への情報の供給は、移動の実際の方向に適合される。
提示手段が1列以上の発光体の列を有する状況では、決定手段は、第1の方向に沿った2D情報の所望の長さを、距離に関連付けるように適合され、また、往復行程中にカードによって提示される2D情報が、振動の方向に沿った寸法とそれに垂直な方向に沿った寸法との間に所定の関係を保持するように、提示手段の列毎の発光体の数を適合させるように構成される。
別の状況では、決定手段は、情報を提示するのに必要な第2の距離を、2D情報から判断し、第1の距離と第2の距離との間の関係に対応する2D情報の一部を提示手段に転送しうる。したがって、往復行程の距離が、所要の第2の距離よりも小さい場合、発光体の列に沿った方向に適合させる代わりに、2D情報の一部のみが提供される。次いで、ユーザは、より大きな振幅で振ることを望んでもよく、または、情報の一部を初めに「振出」してから、カードを横に移動した後等に、残りの情報を「振出」することを望んでもよい。
したがって、所定の画像またはテキストが提供される場合、発光体の列に沿った長さは、往復の振動距離とともに変動する。距離が大きい場合、多くの発光体の列を利用し距離が小さい場合、発光体の列の方向における情報の全体の広がりも小さくなる。
当然ながら、往復行程中に提供されるテキストまたは情報は、固定(同一)であってもよく、または情報をスクロールすること等によって変化してもよい。このスクロールは、水平型スクロールであってもよく、この場合、提供される情報は、個々のデータ(数字または文字等)が個々の発光体(本明細書において、2次元ディスプレイ)の電源をオンまたはオフすることによって表面上にスクロールする旧式のスクロール型ティッカーテープ広告または掲示板のように、移動の方向に沿って移動される。代替として、スクロールは、映画の終わりのクレジット表示のように垂直方向であってもよい。
一実施形態では、決定手段は、曲げ平面(plane of bending)において、提示手段が移動する曲線を推定可能であり、また、第2の情報を適宜適合させるように構成される。実際は、この曲線を推定することは必ずしも必要はない。受信機において事前にプログラミングされてもよく、または既知であってもよい。この適合は、例えば、提供される情報を、曲線要素の代わりに平面要素によって提供されるようにしてもよい。これは、決定手段が、特定の方法で、2D要素の個々の部分の提供の時期を選ぶことを意味する。
一般に、決定手段は、信号およびタイミング情報に基づいて、提示手段の位置を推定し、推定された位置に基づいて第2の情報を提供可能でありうる。したがって、同一部分の情報を同一の位置において提供することが好適である場合、この位置判断は、非常に有用である。
別の捉え方によれば、本発明は、プロセッサと、圧電要素を備える検知手段とを備える電子回路を具備する携帯型カードを制御する方法に関する。本方法は、圧電要素を変形させることを含み、それによって、圧電要素は信号を出力し、プロセッサは、圧電要素から信号を受信し、スリープモードから通常モードに移行する。
プロセッサは、曲げによってセンサに生成された電力または信号にだけに基づいて、スリープモードから通常モードになりうる。この状況では、プロセッサがスリープモードにあり、かつセンサが曲げられていない間、検知手段は、カードの電源から電力を引き込む必要がない(または、単に変形されることによって圧電要素が電力を提供しうるため、常に必要がない)。
次いで、上述のように、カードは、検知手段が固定される柔軟性基体層を備えてもよく、変形ステップは、カードまたは基体層を曲げることを含む。
別の例では、検知手段は、カードの面に垂直な断面において、外側の部分(に配置される材料または要素)よりも柔らかい層または要素に検知手段の中心が隣接するように配される。変形ステップは、検知手段の少なくとも中心部分を軟質層側に押し、それによって、軟質層を変形させることを含む。このように、検出手段は、カードの所望の均一な面内に提供されうるが、またスイッチとして動作可能である。検知手段の変形は、軟質材料側に検知手段(または、軟質材料上の部分)を押下して、この材料も変形することによって得られる。
当然ながら、軟質材料または要素は、検知手段がその中に変形する空間を提供するような、基体層における孔または空洞に置き換えられうる。
ある実施形態において、本方法は、検知手段または回路の感度を低下させるステップをさらに含む。これは、特に、このステップが、タスクを実行する如何なる命令も受信しない間に所定の回数の変形や曲げを検知するステップの後に行われるような場合に便利である。このような命令は、スイープセンサ、接触パッド、他のスイッチ、または同一のスイッチ等の他の種類のセンサを介して受信されうる。これは、上記に説明されている。
ある実施形態において、本方法は、カードからユーザに視覚情報を提示するステップをさらに含む。この提示することは、カードのディスプレイを介してもよい。
次いで、検知手段からの信号に基づいて、回路が、第2の情報を提示手段に提供するステップをさらに含む実施形態が提供されてもよい。
したがって、特定の動作モードが、カードの検知手段の変形時に開始されてもよく、また、カードまたはプロセッサ/回路がどのモードであるかに関する情報が、ユーザに提供されてもよい。
別の実施形態では、情報を提供するために、曲げや変形中のカードの一部の変位が使用される。
これは、次の側面の目的であり、上記の特定の実施形態または第2の捉え方の使用に関し、本側面は、
・ カードを曲げることと、
・ 検知手段が、信号を回路に提供することと、
・ 回路が、信号を受信し、かつ第2の情報を提示手段に提供することと、
・ 提示手段が、第2の情報に関する視覚情報を提示することと、
を含む、方法に関する。
一実施形態では、検知手段は、基体要素の側面又は側面上に配置され、検知手段の伸張/圧縮に対応する信号を出力する。
別の実施形態では、検知手段は、第2の信号に対応する音声を更に提供する。この第2の信号は、例えば、プロセッサ/回路から、または別のソースから検知手段に提供される。好ましくは、第2の信号を検知手段に提供する場合、曲げや変形は検出されない。
好適な実施形態では、カードは、第1の端部と、それに対向する1つ以上の対向端部とを有し、提示手段は、カードの第1の端部又はその上に配置され、前記カードは、前記第1の端部よりも前記対向端部に近い方で曲がり、検知手段は、第1の端部よりも対向端部に近い方に配置される。
前述のように、提示ステップは、提供手段によって制御される1列以上の発光体の列を含む、多数の発光体を使用してもよい。
好ましくは、本方法は、タイミング情報を提供するステップをさらに含み、第2の情報は、タイミング情報にも基づいて判断される。
次いで、本方法は、信号およびタイミング情報から、提示手段が往復行程中に移動する第1の距離を推定するステップをさらに含んでもよい。これは、提供される情報の可能な(物理的)程度に関する知識を提供しうる。
次いで、提供手段は、提供されるべき2D情報を保持し、2D情報のそれぞれ隣り合う細長い部分を表すデータを提示手段に次々に転送しうる。このように、情報は、提示手段がその行程を移動する間に連続的に提供される。
ある実施形態において、本方法は、第1の方向に沿った2D情報の長さを第1の距離に関連付けるステップと、往復行程中にカードによって提示される2D情報が、往復移動の方向に沿った寸法とそれに垂直の方向に沿った寸法との間に所定の関係を保持するように、曲げの方向に垂直の方向において提示ステップにおいて提供される情報の長さを適合させるステップとを含んでもよい。つまり、寸法間の関係を保ったまま、大きさが変更されうる。
別の実施形態では、本方法は、情報を提示するのに必要な第2の距離を2D情報から判断し、第1の距離と第2の距離との間の関係に対応する2D情報の一部を提示手段に転送するステップを含む。次いで、距離が小さ過ぎると、情報の一部だけしか提供されないということが生じうる。
ある実施形態において、本方法は、曲げ平面において、提示手段が移動する曲線を推定するステップと、第2の情報を適宜適合させるステップを含んでもよい。これは、例えば、平面要素によって情報が提供されるということを推定するためのものであり得る。
別の実施形態では、本方法は、信号およびタイミング情報に基づいて、提示手段の位置を推定するステップと、推定された位置に基づいて第2の情報を提供するステップとを含む。
最終捉え方によれば、本発明は、第1のモードおよび第2のモードで動作しうる電子回路と、前記電子回路に電子的に接続される検知手段とを備える携帯型カードに関し、検知手段は、変形時に電気信号を出力可能であり、回路は、信号の受信時に、第1のモードから第2のモードに移行しうるように構成され、カードの面に垂直な断面において、検知手段は、その外側部分よりも、検知手段の中心におけるより軟質の層に隣接して提供される。
ここで、検知手段を変形することは、通常、そこに力を加えることによって、検知手段が静止位置から動かすことを意味する。この力は、通常、検知手段がそれに垂直な方向よりも大きい長さを有する方向に角度をつけて加えられる。したがって、細長い物体を曲げることは、通常、その長手方向軸に角度をつけて力を加えることによって達成され、円板状の要素を曲げることは、通常、円形状要素または板状要素の平面に対して角度をつけて力を加えることによって達成される。
当然ながら、検知手段は、静止位置において平面状である必要はなく、曲げられた状態または応力/変形された状態において平面状であってもよい。
本発明の本側面によると、検知手段は、カードの面に垂直な断面において、外側の部分(に配置される材料または要素)よりも柔らかい層または要素に検知手段の中心が隣接するように配される。実際は、中心に材料を提供する必要はなく、開口部、くぼみ、または孔でも十分であり得る。したがって、検知手段が変形を受けている間、検知手段は、当該柔軟層を変形させるために、柔らかい層の方へ押されてもよい。したがって、通常はカードの2つの平坦な主要面内に完全に配置されうるスイッチ型要素を依然として用いることができる。当然ながら、検知手段の上にドームを使用して、ドームの押下時にハンマー効果を提供してもよい。
好ましくは、カードはかなり小型であり、例えば、外形サイズが長さ10cm未満、幅5cm未満、厚さ2mm未満である。最も好適なカードは、標準的なクレジットカードまたはIDカードのサイズを有する。
適切には、カードを曲げたり変形させたりできるように、カードは柔軟性を有する基体要素を有する。この基体要素に検知手段が搭載されることにより、検知手段が曲げや変形を推定することができる。そこで、検知手段は、動作が可能であれば、カードにおいて層構造の中などに完全に埋め込まれてもよい。当然ながら、カードは、基体要素に積層される層などの、任意の数の層を備えてもよい。これは、例えば、チップガードを提供する技術分野において既知である。
一般に、歪みゲージ、力感応性抵抗器、曲げセンサ、容量センサ、誘導センサ、変位センサなど、多数の種類のセンサを利用することができ、曲げや変形によってアクティブにされうる。最も好適なセンサの種類は、変形されている時や曲げられている時に電力を提供する能力を自動的に有するという点において圧電要素である。したがって、この種類のセンサは、動作するために電力を必要としない。
検知手段が曲げられたり変形されたりする時にモード変更が実行される。特定の状況では、さらなる操作を必要とせずに、検知手段またはカードが頻繁に曲げられたり変形されたりすることを通知してもよく、それによって、結果的にモードの変更が発生しないように操作されうる。曲げや変形は、偶発的になされる場合がある。1つの状況として、歩いていたり走っていたりダンスしている最中の人によってセンサが曲げられたり変形されたりする場合など、リズムを持って曲げられることが検出される場合が挙げられるかもしれない。
このような状況では、カードは、検知手段の変形に対する感度を低下させる手段、または検知手段からの信号に対する回路の感度を低下させる手段をさらに備えてもよい。
好適な実施形態では、カードは、制御され且つタスクを開始しうる機能手段をさらに備える。この低下手段は、機能手段により何の機能も実行されない間に、検知手段により変形が所定回数検出されると作動する。
機能手段は、再度動作される検知手段を意味してもよく、またカードのキーボードによるコードの入力、カードの指紋読み取り器による指紋の読み取り等の別の入力を検知する手段であってもよい。また、カード読み取り器や、カードを走査するための光信号やそれに似たような信号を検知する光学センサであってもよい。
一般に、電気回路は、非常に単純な回路または要素であってもよく、または単一のフリップフロップ(例えば、双安定)等の個別的な要素であってもよいが、さらに複雑な回路であってもよい。当然ながら、プロセッサにより実現可能な任意の機能または動作は、個別回路を使用しても実現されうる。
個別回路は、検知手段の変形時に不安定モードになる単安定フリップフロップであり得る。このモードでは、フリップフロップは、LEDまたは送受信回路等の他の回路に電力供給しうる。
回路のモードは、フリップフロップモードまたは例えば、プロセッサが実行する全く異なるタスク等の、単純なモードであり得る。回路は、異なるモードを実行または処理する色々な部分を備えてもよく、または同一の部分が、2つのモードにおいて共に動作可能であり得る。
当然ながら、回路は、第1のモードがスリープモード(低電力消費のモード等)であり、第2のモードが通常モード(高電力消費のモード等)であり得るプロセッサをしばしば備え得る。そこで、検知手段は、変形を受けた時に、プロセッサをスリープモードから通常モードにするように、信号または電力をプロセッサに提供しうる。したがって、センサが曲げられたり変形を受けたりする前は、電力を全く消費しないか又は殆ど消費しないプロセッサを用いれば、省電力が達成されうる。
当然ながら、モードの変更は、検知手段により新しい変更が検知されるまで、または変形直後から一定期間の間、実行または維持される。この期間は、単にタイミング装置によって決定されてもよい。つまり、検知装置の変形時に(実際には変形によって)電圧が提供され、その後減衰するRC回路を用いてもよい。モード変更の時点は、変形時か、RC回路を減衰する電圧が閾値に到達する際のいずれかである。
一実施形態では、上記電子回路はRFIDタグの回路であってもよい。この回路において、その送受信回路は、検知手段の変形時、またはその後の所定の時間に有効化または無効化される。実際には、RFIDタグの動作は、変形時に、検知手段によって提供される電力によって電力供給されうる。この状況では、RFIDタグの動作に電池は不要になりうる。
検知手段の変形が、様々な目的のために判断および使用されうることに留意されたい。モード変更のために、第1の動作またはその「クリック」を使用してもよい。所定のタスクを開始するために「ダブルクリック」を使用してもよく、また、一定時間内において、または間隔を開けずに実行される所定の回数の変形(コンピュータのマウスまたは携帯電話機の使用のような)を、入力として、およびカード回路の動作の制御のために使用してもよい。以下にさらに詳細に説明するように、変形の定量化を代替的に使用して、モードを選択してもよい。
特に、カードが、プロセッサに組み合わされる電源を更に備え、検知手段の動作から電力/信号を供給することが可能であり、検知手段が電源を必要としない場合、または電源に接続されない場合、利点がある。つまり、検知手段の故障のために電源を消耗する必要がない。
以下において、本発明の好適な実施形態について、図面を参照して説明する。
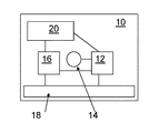
カード10は、センサ14、電源16、出力手段18、ディスプレイ20に接続されるプロセッサ12を有する。電池またはその同等物であって充電式または非充電式であり得る電源16は、出力手段18およびディスプレイ20に電力を供給する。
好ましくは、カードは、標準的なクレジットカードのサイズを有し、身分証明書の物理的特徴に関するISO規格第7810号の要件を満たす。
出力手段18は、「旧式」な磁気ストリップ、動的な磁気ストリップ等の任意の種類の出力手段であってもよく、これは、磁場を提供するか否か、および磁場を介してどの情報を提供するか否かの両方に関してプロセッサによって制御されうる。代替的にまたは付加的に、出力手段は、プロセッサ12に接続される1つ以上の導電性パッドであってもよく、プロセッサを介して、読み取り器との通信を発生しうる。カードと読み取り器との間の通信に関するさらなる方法は、Bluetooth(登録商標)、RFID、磁場、電波等の無線規格を介するか、または電磁放射を介する。適切な出力手段については、本出願人による国際公開第WO2005/086102号に記載されうる。
プロセッサは、ROM、FRAM、RAM、PROM、EPROM、EEPROM、Flash、またはその同等物等の、カード、カード所有者、およびカードユーザに関するデータ、ならびにプロセッサを制御するプログラム命令に関するデータの両方を格納するための、1つ以上のメモリを備え得る。プロセッサは、電力を消費しないか、またはほとんど電力を消費しないモード等のスリープモードに入り得る種類である。センサ14から信号を受信すると、プロセッサ12は、アクティブまたは動作可能になり、その後、そのプログラムは、その実行を制御する。これは、電源16からの電力を使用して実行される。好適なプロセッサは、Atmel AVR TinyまたはMegaシリーズであり得る。
プロセッサは、情報をユーザに提供するために使用されうる出力手段18ならびにディスプレイ20を介する通信を制御しうる。この情報は、カードを紛失した場合のユーザの身元情報であってもよく、または例えば、現金取引に使用するコード(時間依存コード等)をユーザに提供するものであり得る。当然ながら、ディスプレイ20は、カードを多数回使用する動作では不必要である。
ディスプレイは、電子インクディスプレイまたはプラスチックLCDディスプレイ等の、任意の適切なディスプレイであり得る。
当然ながら、プロセッサは、スタティック又はハードワイヤードの回路によって置き換えられうる。ソフトウェア制御のプロセッサにより実現されうる全ての機能は、ハードワイヤードの回路を使用して実現可能である。この回路は、例えばフリップフロップのみを使用するような極めて単純でものであることができる。また、出力手段18の制御(有効化または無効化)に使用されうる。
センサ14は、曲げられた状態または他の変形により作動しうるセンサである。したがって、例えば、カード10を曲げることによってセンサ14を曲げる場合、センサ14は、プロセッサ12に所定のタスクを実行させるため、またはある動作モードから別のモードへ移行させるために、信号をプロセッサ12に伝送する。ここで、プロセッサ12は、省電力スリープモードであれば、センサ14からの信号によって覚醒し、その後、所定の機能がプロセッサ12を制御するプログラムによって規定される。
好適なセンサ14は、薄型で平坦の圧電要素である。この要素は、曲げられたり変形されたりすると発電する(本例では電圧を生ずる)という利点を有する。この電力は、スリープモード時にプロセッサ12に伝送される。したがって、センサ14は、電力供給を受ける必要がないことから、センサ14の誤作動によって、電源16から不必要な電力を引き込むことはない。
したがって、プロセッサ12は、センサ14が提供する信号によって覚醒される。加えて、センサ14は、曲げられている最中のみ信号を供給するため、センサが曲げられた状態が保持されているだけでは信号は生成されない。そのため、プロセッサ12を覚醒状態に維持したり、プロセッサ12に出力手段18もしくはディスプレイ20を動作させたりして、余計な電力の損失を招くことはない。
センサ14は、カード10の任意の所望の位置に配置されうる。標準的なID/クレジットカードは、可曲性等に関する特定の必要性を満たさなければならないため、このようなカードの全ての部分は、センサ14を収容することができる。ユーザがカード10を適切に把持してカードを曲げるためには、センサ14をカードの中心に配置することが好ましい。
センサ14の適切な変形を容易に入手するためには、センサ14のサイズ(カードの面の長さ又は少なくとも曲がり方の方向)は、具体的な必要性に応じて適合されうる。
カードの動作に応じて、カードを制御するため、またはカード10もしくはプロセッサ12に所望の作動を実行させるために、他の種類のセンサまたは他の手段を採用してもよい。
最も単純なカード10は、単に、動作/開始されることだけを必要とし、その後、さらなる相互作用は必要とされない。
別のカードは、より複雑であってもよく、例えば、カード読み取り器や読み取りヘッドの先端部が近づいた時にそれを検知するためのセンサを有してもよく、その検知時に、カードは、磁気ストリップを介して情報を提供するように作動しうる。
他の種類のカードは、IR、磁場、RFID、Bluetooth、電波、またはその同等物等の無線技術を使用して、情報を受信または出力可能であってもよく、また、その技術を使用して情報を実際に受信してから、情報の出力を開始しうる。
代替として、センサ14は、カードが特定の機能を実行するために、再度(例えば所定の作動間隔のタイミングで)使用されてもよい。
カード10の要素のこのような追加の作動は、センサ14の曲げや変形が生じた直後に、特定の命令や操作、信号を受け取った場合にのみ実行されうる。このような追加の命令/操作/信号を受け取らない場合、センサ14に生じた曲げは、偶発的であると解釈され、プロセッサ12は、スリープモードに戻り得る。
このような追加の命令/操作/信号を受信せずに、センサ14が、頻繁に、例えば、律動的に曲げられたり作動されたりする場合、プロセッサ12は、センサ14の感度が高過ぎると判断し、次いで、センサ14の偶発的または意図しない作動の回数を減少させるために、センサの感度を低下させうる。当然ながら、ある一定の時間、作動が検出されない場合、または、作動後に追加の命令/操作/信号を受信する場合は、この感度を再度上昇させてもよい。
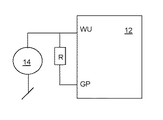
圧電センサ14の感度を低下させる1つの方法について図2に示す。本図面において、センサ14は、プロセッサ12のグランドと覚醒(Wake-Up; WU)用の入力部との間に配置される。また、センサ14の出力部は、プロセッサの汎用(General Purpose; GP)出力部に接続される抵抗器Rを介する。GP出力部が動作していない場合、GP出力部は、(電気的に言う)浮遊状態になり、センサ14の出力部を、妨害またはロードせずにWU入力部に直接提供する。しかしながら、GP出力部を接地すると、センサ14の出力が取り込まれてしまうため、WU入力部が受信または検知する信号が減少する。つまり、プロセッサ12のWU入力部は、高レベルの入力閾値未満の信号によっては、プロセッサ12の覚醒を促すことができないため、センサ14の感度全体(むしろ、センサ14の出力に対する感度)が低下する。抵抗器Rやセンサ14の内部出力抵抗による分圧効果により、センサは、プロセッサ12を覚醒させるために、より大きな信号を供給する必要がある。
したがって、感度は、いくつかの閾値のうちの1つに設定されうる。ある閾値に設定される場合に、カードまたはプロセッサが、依然として非使用時に覚醒される場合、閾値はさらに上昇されうる。
実際には、閾値は、有効化または覚醒がかなり難しくなるように十分高く設定されうる。センサ14が圧電要素である状況では、閾値は高く設定されるため、低速または中速の曲がり方では十分ではなく、高速の曲げまたは実際にはカード上のスナップ(カードを押すことまたは硬表面を激しく押すこと)が必要とされる。
また、センサ14は、変形の度合いまたは変形の速度に応じて、異なる出力を出力しうるため、異なる出力を使用して、回路において異なるモードを選択してもよい。
代替として、変形の数(例えば、所定の時間内の変形の数)を使用して、所望のモードを選択してもよい。
図3は、本発明のある実施形態に従うカード10の断面を示す。カード10が、センサ14が配される基体要素22を有すること、ならびに外層24が、センサ14を保護するため、およびカード10の所望の表面を提供するために設けられることが分かる。当然ながら、クレジットカードの技術分野に一般的であるように、さらなる層を提供してもよい。センサ14は、シリコンダイがRFIDカードに存在するのと同様に、またはマイクロモジュールがチップカードに存在するのと同様に、カードに積層/成型/圧延されうる。
センサ14の下に、基体要素22の材料よりも軟質である材料からなる要素または層26が存在する。当然ながら、要素26は、基体要素22における孔または空洞として単に提供されてもよい。
この構成によれば、センサ14は、要素26の中へまたは要素26の側へ単に押されることにより変形し、従って動作しうる。カード10の層の中に埋め込まれたままセンサ14を変形させうるように、カード10の部分26が変形可能であるので、カード10自体を曲げたり変形させたりする必要はなく、また、カード10の平坦面28の外部に隆起部または突起部も形成しない。
センサ14が、カード内およびカード10の2つの略平坦主要表面28と30との間に配されうるという事実は、全ての実施形態において当てはまる。したがって、カード10は、チップカード、RFIDカード、またはその同等物に既知でありかつ広く用いられる製造手順を使用して製造されてもよい。したがって、カードの平坦面から隆起するスイッチまたはその同等物が、生産過程において永久に変形されていることに起因して、カードの生産によって欠陥カード10がもたらされるという危険性がない。
本発明に従うカードの異なる実施形態について図4および図5に示す。
図4において、カード10は、1つの端部32において、発光体40の列を備える。発光体40は、曲がり推定器/センサ14から情報を受信する受信機またはコントローラ12によって制御される。
曲がり推定器14は、圧電要素、歪みゲージ、圧力感応抵抗器、またはその同等物であり得る。この推定器12は、カード10が曲げられている最中に、推定器14がその形状の平面の中へまたは平面から外へ伸張または圧縮され、その圧縮/伸張に対応する信号を出力するべく、カード10の基板材料22(通常、プラスチック)の側面上または側面に配される。
推定器およびコントローラ12は、発光体40のように、例えば、クレジットカードにおいて既知であるように、カード10の基体要素22の表面の中へ積層されるか、表面上に固定されうる。
カード10は、端部32の反対側の端部34または端部34に近い位置で保持され、「振られる」ように意図される。振られることによってカード10は曲げられる。この曲げは、振動に関する情報を提供する。推定器14は、端部34が、曲がり方が最大となる位置であることから、端部34に近接して配置される。なお、曲がり量は少ないが、他の位置を使用してもよい。
推定器14からの情報または信号は、受信機12に供給され、次いで、受信機12は、そこに提供されるタイミング回路に基づいて、曲がり方の度合いまたは端部32の位置のいずれかについて判断しうる。例えば、往復行程における転換点が、端部32の位置を示してから経過した時間と、カード10の曲がり方が結び付けられることが明らかである。
加えて、連続する転換点の間の曲がり方(加速)ならびに時間経過は、往復行程の全行程に関する推定を提供する。
したがって、受信機は、端部32の移動ならびに端部32および発光体40の実際の位置の両方を推定することが可能である。
発光体40が発光する光を使用して情報を提供するため、コントローラ12は、提供される2D画像またはその同等物に関する情報をその中に保持する。この画像は、絵、写真、またはテキストであり得る。任意の種類の2D情報を提供してもよい。
この情報は、揺動中に、1つ以上の比較的狭い細長い列の発光体40によって提供されるため、コントローラ12は、往復行程における端部32の位置に対応する情報または信号を発光体40に転送する。この情報は、結果として提供される情報が2D情報に対応するために、2D情報の正確な部分を発光部40に転送するように、コントローラ12によって使用される。この位置判断は、視認される画像全体が、往復行程の通過から通過へ躍動しうるという点において、比較的重要である。
一実施形態では、コントローラ12は、端部32の移動を追跡し、2D情報の全てを提示可能にするために、全往復距離を2D情報の幅に適合させる。
別な例において、2D情報は、例えば正確な解像度などの要求から、最低限の振幅を必要としうる。振られ方がこの振幅を満たさない場合、コントローラは、2D情報の一部のみを提供することを決定しうる。したがって、最小必要振幅が得られる場合、テキスト「Mickey is a mouse」を提供しうるが、振動中に得られる距離が小さい場合、「Mickey」または「Mickey is a」のみを提供する。画像に関しても同様の状況になりうる。
別の方式では、発光体40の往復行程によって生成される2D情報は、「表面」または「ディスプレイ」においてスクロールしてもよい。このスクロールは、映画の終わりのクレジット表示のように垂直であってもよく、またはティッカーテープ表示、例えば株価情報のように水平であってもよい。
本実施形態は、例えば、端部34に対する端部32の相対位置だけでなく、端部32の実際の位置が追跡される状況に変更されてもよく、カード10を小さい距離だけ振動させて、「Mickey」を提供し、次いで、「M」から「y」の方向にカードを移動させて、代わりにコントローラに「is a」を提供させ、その方向にさらに移動することによって、「mouse」を提供する。したがって、小さい距離の振動は、カード10をその方向に移動することによって補償されうるが、依然としてより小さな距離を振動する。
別の実施形態では、提供される情報の発光体の列の幅Wに沿った長さを、振動の実際の距離を考慮して変化させうる。したがって、提供されるべき2D情報が、Wの方向とそれに垂直の方向との間に特定の関係を有する場合、振幅が小さくなると、Wに沿って提供される情報の長さが減少しうる。振幅が大きくなると、コントローラ12は、Wの方向に沿った情報(画像等)の寸法を大きくするように、使用する発光体の数を増加させうる。
テキストの例では、コントローラ12は、振動される実際の距離においてテキストが完全に表現されるように、フォントサイズを変更してもよい。次いで、振動の距離が大きくなると、フォントサイズを大きくする。
一実施形態では、カード10は、音声を出力するようにも構成される。そこで、コントローラ12は、音声に関する情報を保持しうる。実際、圧電結晶等のいくつかの曲がり推定器は、対応する信号を受信すると、音声を出力可能でありうる。したがって、曲がり推定器14は、コントローラ12から信号を受信するため、および対応する音声を出力するためにも使用されうる。両方の目的で推定器14を使用可能にするためには、曲げられてなく光を発生しない場合にのみ、音声出力機能を有効にするのがよいかもしれない。
図5は、上述の振動/曲がり方を示す。カード10はの1つの極位置は36で示され、他の極位置は38で示される。
端部32から移動する距離は、端部が移動する実際の曲線Cに沿った距離と考えられ得るか、または、極点36、38間の直線Lに沿った位置として解釈されうる。
図面の右から提示された情報を視認するユーザは、当然ながら、曲線Cから提示された情報を見る。しかしながら、コントローラ12は、平坦画面上への情報の提示を模倣するように、情報の個々の部分を発光体40に伝送するタイミングを訂正しうる。したがって、これは、コントローラ12が、曲線Cに沿って等間隔に全部分を出力せずに(図5の平面を出入りする方向に)、線Lに沿って等間隔に出力することを必要とする。
当然ながら、コントローラ12が振動(距離、曲がり方、速度、加速、またはその同等物)に関する知識を入手し、かつ移動の異なる位置に情報を提供する方法について決定するために、コントローラ12は、カード10が数回振動した後に、所望の情報を提供しうる。別様に、または付加的に、コントローラ12は、振幅の変動に応じて振動中に提供する情報を変更するように構成されてもよい。
また、コントローラ12は、一方の方向(図5における上から下または下から上)のみに動作する場合に情報を提供してもよく、または両方の方向において情報を提供してもよい。
任意の数の列の発光体を使用してもよい。また、任意の種類の発光体を使用してもよい(LED、レーザ、VXELまたはその同等物)。また、単色発光体40を使用してもよく、例えば、他の色の他の発光体と混合してもよく、または可変色を出力可能な発光体を使用してもよい。
当然ながら、カードには、多数組の推定器14および発光体40が提供されてもよく、例えば、別の組の発光体が、端部34等の別の端部に提供され、その組の発光体40に関する推定器14は、反対に、つまり、端部32に近接して提供される。この状況では、2つの異なる組は、2つの異なるメッセージまたは情報を提供するために使用されうる。また、2つの異なるコントローラ12を提供してもよく、またはコントローラ12は、どの推定器14が最大曲がりを検出するかを決定することによって、どの組を使用するかを決定してもよい。
3D画像または3D情報は、端部32からの異なる距離にある発光手段を提供することによって提供されうる。このように、複数の2D情報が提供され、発光手段の組毎に1つ、すなわち、どの情報が利用可能であるかに関して「深さ」毎に1つ提供される。これらの追加の発光手段は、その基板材料が半透明である場合、カード10の側面上またはカードの内部の端部から距離を置いて提供されうる。
コントローラ12は、任意の種類の情報について事前に設定されてもよく、または所定の情報のみを出力可能であってもよい。コントローラ12は、任意の適切な方法で提供される情報を変更可能であってもよく、例えば、そこに格納される情報間で、またはコントローラ12に提供される情報を入力しうる外部機器と通信することによって確率的にまたは連続的に変更する。この通信は無線または有線であってもよい。
代替として、カード10は、図3に示すスイッチのキーボード等のキーボードを備え得る。さらに代替として、カード10は、コントローラ12に接続される光学センサ42を備え得る。光学センサ42は、例えば、センサ42を介して情報をコントローラ12に伝送するために、そこから発光される照明を変調するように動作するコンピュータモニタに暴露されうる。当然ながら、磁気ストリップ18、RFID、Bluetooth(登録商標)、無線のイーサネット(登録商標)、または任意の他の規格等を介して、他の全種類の情報転送を使用してもよい。
一般に、これらの方法は、コントローラ12の動作モードを制御するために使用されてもよく、または、発光体40によって提供される所望の情報をコントローラ12に入力するために使用されてもよい。
本発明に従うカードの第1の好適な実施形態の要素を示す。 圧電センサの感度を低下させる方法を示す。 本発明に従うカードにスイッチを設ける1つの方法を示す。 本発明の第2の好適な実施形態に従うカードを示す。 図4のカードが動かされているとき(振られているとき)の曲がり方を示す。

Claims (48)

  1. 第1のモードおよび第2のモードで動作しうる電子回路と、前記電子回路に電子的に接続される検知手段とを備える携帯型カードであって、
    前記検知手段は、変形時に電気信号を出力しうる圧電要素を備え、
    前記電子回路は、前記電気信号の受信時に、前記第1のモードから前記第2のモードに移行しうるように構成され、
    前記電子回路はプロセッサを備え、前記第1のモードは前記プロセッサのスリープモードであり、前記第2のモードは前記プロセッサの通常モードである、
    携帯型カード。
  2. 外形サイズが長さ10cm未満、幅5cm未満、厚さ2mm未満である、請求項1に記載のカード。
  3. 前記カードは、前記検知手段が固定される、柔軟性を有する基体要素を有する、請求項1に記載のカード。
  4. 前記カードの面に垂直な断面において、外側の部分よりも柔らかい層に前記検知手段の中心が隣接するように配される、請求項1または2に記載のカード。
  5. 前記検知手段の変形に対する感度を低下させる手段を更に備える、先行する請求項のいずれかに記載のカード。
  6. 前記電子回路は、制御され且つタスクを開始しうる機能手段をさらに備え、前記感度低下手段は、前記機能手段により何の機能も実行されない間に、前記検知手段により変形が所定回数検出されると作動する、請求項5に記載のカード。
  7. 前記プロセッサに組み合わされる電源をさらに備え、前記検知手段は、前記検知手段の変形から電力を提供しうる、先行する請求項のいずれかに記載のカード。
  8. 視覚情報を提示する手段を更に備える、先行する請求項のいずれかに記載のカード。
  9. 前記検知手段からの信号に基づいて、前記提示手段に対する第2の情報または信号を決定する手段を備える、請求項3および8に記載のカード。
  10. ・ 柔軟性を有する基体要素と、
    ・ 視覚情報を提示する手段と、
    ・ 前記基体要素が曲げられることを検出し、信号を出力する検知手段と、
    ・ 前記検知手段から信号を受信し、その信号に基づいて、前記提示手段に対する第2の情報または信号を決定する手段と、
    を備える、カード。
  11. 前記検知手段は、前記基体要素の側面又は側面上に配置され、前記検知手段の伸張/圧縮に対応する信号を出力するように構成される、請求項9または10に記載のカード。
  12. 前記検知手段は、受信した第2の信号に対応する音声を提供するように更に構成され、前記カードは、第2の信号を前記検知手段に提供する手段を更に備える、請求項10〜11のいずれかに記載のカード。
  13. 前記カードは、第1の端部と、それに対向する1つ以上の対向端部とを有し、前記提示手段は、前記カードの前記第1の端部又はその上に配置され、前記検知手段は、前記第1の端部よりも前記対向端部に近い方に配置される、請求項10〜12のいずれかに記載のカード。
  14. 前記提示手段は1列以上の発光体の列を備え、その各々は、前記決定手段によって制御可能である、請求項10〜13のいずれかに記載のカード。
  15. 前記決定手段は、タイミング情報を提供しうるタイミング手段を更に備え、前記決定手段は、前記タイミング情報にも基づいて前記第2の情報を提供する、請求項10〜14のいずれかに記載のカード。
  16. 前記決定手段は、前記信号および前記タイミング情報から、前記提示手段が往復行程中に移動する第1の距離を推定するように構成される、請求項15に記載のカード。
  17. 前記決定手段は、提供されるべき2D情報を保持し、かつ前記2D情報のそれぞれ隣り合う細長い部分を表すデータを前記提示手段に次々に転送するように構成される、請求項16に記載のカード。
  18. 前記決定手段は、第1の方向に沿った前記2D情報の長さを前記第1の距離に関連付け、前記往復行程中に前記カードによって提示される前記2D情報が、振動の方向に沿った寸法とそれに垂直な方向に沿った寸法との間に所定の関係を保持するように、前記提示手段の列毎の発光体の数を適合させるように構成される、請求項14および17に記載のカード。
  19. 前記決定手段は、前記情報を提示するのに必要な第2の距離を、前記2D情報から判断し、前記第1の距離と前記第2の距離との間の関係に対応する前記2D情報の一部を前記提示手段に転送するように構成される、請求項17に記載のカード。
  20. 前記決定手段は、可曲面において、前記提示手段が移動する曲線を推定し、第2の情報を適宜適合させるように構成される、請求項9または10に記載のカード。
  21. 前記決定手段は、前記信号および前記タイミング情報に基づいて、前記提示手段の位置を推定し、前記推定された位置に基づいて前記第2の情報を提供するように構成される、請求項15に記載のカード。
  22. プロセッサと、圧電要素を備える検知手段とを備える電子回路を具備する携帯型カードを制御する方法であって、前記圧電要素を変形させることを含み、それによって、前記圧電要素は信号を出力し、前記プロセッサは、前記圧電要素から前記信号を受信し、かつスリープモードから通常モードに移行する、方法。
  23. 前記カードは前記検知手段が固定される柔軟性の基体層を備え、前記変形させることは前記カードを曲げることを含む、請求項22に記載の方法。
  24. 前記カードの面に垂直な断面において、前記検知手段は、外側の部分よりも軟質の層に検知手段の中心が隣接するように配され、前記変形させることは、検知手段の少なくとも中心部分を前記軟質層側に押しつけ、それによって前記軟質層を変形させることを含む、請求項22に記載の方法。
  25. 前記検知手段の感度を低下させるステップをさらに含む、請求項22〜24のいずれかに記載の方法。
  26. 前記、感度を低下させるステップが、追加のタスクを実行する命令を受信しない間に前記検知手段が所定回数の変形を検知した後に行われる、請求項25に記載の方法。
  27. 前記カードからユーザに視覚情報を提示するステップをさらに含む、請求項22〜26に記載の方法。
  28. 前記検知手段からの信号に基づいて、前記電子回路が、第2の情報を前記提示手段に提供するステップをさらに含む、請求項25および27に記載の方法。
  29. ・ 前記カードを曲げることと、
    ・ 前記検知手段が、前記信号を前記電子回路に提供することと、
    ・ 前記電子回路が、前記信号を受信し、かつ前記第2の情報を前記提示手段に提供することと、
    ・ 前記提示手段が、前記第2の情報に関する視覚情報を提示することと、
    を含む、請求項9または10に記載のカードを制御する方法。
  30. 前記検知手段は、前記基体要素の側面又は側面上に配置され、前記検知手段の伸張/圧縮に対応する信号を出力する、請求項28または29に記載の方法。
  31. 前記検知手段は、第2の信号に対応する音声を更に提供する、請求項28または29に記載の方法。
  32. 前記カードは、第1の端部と、それに対向する1つ以上の対向端部とを有し、前記提示手段は、前記カードの前記第1の端部又はその上に配置され、前記カードは、前記第1の端部よりも前記対向端部に近い方で曲がり、前記検知手段は、前記第1の端部よりも前記対向端部に近い方に配置される、請求項28または29に記載の方法。
  33. 前記提示ステップは、前記提供手段によって制御される1列以上の発光体の列のうちの各々を備える、請求項28または29に記載の方法。
  34. タイミング情報を提供することをさらに含み、前記第2の情報は、前記タイミング情報にも基づいて決定される、請求項28または29に記載の方法。
  35. 前記信号および前記タイミング情報から、前記提示手段が往復行程中に移動する第1の距離を推定するステップをさらに含む、請求項34に記載の方法。
  36. 前記提供手段は、提供されるべき2D情報を保持し、前記2D情報のそれぞれ隣り合う細長い部分を表すデータを前記提示手段に次々に転送する、請求項35に記載の方法。
  37. 第1の方向に沿った前記2D情報の長さを前記第1の距離に関連付けることと、前記往復行程中に前記カードによって提示される前記2D情報が、往復移動の方向に沿った寸法とそれに垂直の方向に沿った寸法との間に所定の関係を保持するように、曲げの方向に垂直の方向において前記提示ステップにおいて提供される前記情報の長さを適合させることとを含む、請求項33および36に記載の方法。
  38. 前記情報を提示するのに必要な第2の距離を、前記2D情報から判断し、前記第1の距離と前記第2の距離との間の関係に対応する前記2D情報の一部を前記提示手段に転送することを含む、請求項36に記載の方法。
  39. 可曲面において、前記提示手段が移動する曲線を推定することと、第2の情報を適宜適合させることとを含む、請求項28〜38のいずれかに記載の方法。
  40. 前記信号および前記タイミング情報に基づいて、前記提示手段の位置を推定することと、前記推定された位置に基づいて、前記第2の情報を提供することとを含む、請求項34に記載の方法。
  41. 第1のモードおよび第2のモードで動作しうる電子回路と、前記電子回路に電子的に接続される検知手段とを備える携帯型カードであって、前記検知手段は、変形時に電気信号を出力可能であり、前記電子回路は、前記電気信号の受信時に、前記第1のモードから前記第2のモードに移行しうるように構成され、前記カードの面に垂直な断面において、前記検知手段は、その外側部分よりも、前記検知手段の中心におけるより軟質の層に隣接して提供される、携帯型カード。
  42. 外形サイズが長さ10cm未満、幅5cm未満、厚さ2mm未満である、請求項41に記載のカード。
  43. 前記カードは、前記検知手段が固定される、柔軟性を有する基体要素を有する、請求項41に記載のカード。
  44. 前記検知手段は、圧電要素、歪みゲージ、力感応性抵抗器、曲げセンサ、容量センサ、誘導センサ、および/または変位センサから成る群から選択される、請求項41〜43のいずれかに記載のカード。
  45. 前記検知手段の変形に対する感度を低下させる手段を更に備える、請求項41〜44のいずれかに記載のカード。
  46. 前記電子回路は、制御され且つタスクを開始しうる機能手段をさらに備え、前記感度低下手段は、前記機能手段により何の機能も実行されない間に、前記検知手段により変形が所定回数検出されると作動する、請求項45に記載のカード。
  47. 前記電子回路は、プロセッサを備え、前記第1のモードは、前記プロセッサのスリープモードであり、前記第2のモードは前記プロセッサの通常モードである、請求項41〜46のいずれかに記載のカード。
  48. 前記プロセッサに組み合わされる電源をさらに備え、前記検知手段は、前記検知手段の変形から電力を提供するように構成される、請求項47に記載のカード。
JP2009551198A 2007-02-28 2008-02-27 変形検知手段を備える電子決済カード、情報カード、またはidカード Active JP5770974B2 (ja)

Applications Claiming Priority (3)

Application Number Priority Date Filing Date Title
US90383407P 2007-02-28 2007-02-28
US60/903,834 2007-02-28
PCT/EP2008/052377 WO2008104567A1 (en) 2007-02-28 2008-02-27 An electronic payment, information, or id card with a deformation sensing means

Related Child Applications (1)

Application Number Title Priority Date Filing Date
JP2013137852A Division JP2013242885A (ja) 2007-02-28 2013-07-01 変形検知手段を備える電子決済カード、情報カード、またはidカード

Publications (3)

Publication Number Publication Date
JP2010520522A true JP2010520522A (ja) 2010-06-10
JP2010520522A5 JP2010520522A5 (ja) 2011-03-24
JP5770974B2 JP5770974B2 (ja) 2015-08-26

Family

ID=38535486

Family Applications (3)

Application Number Title Priority Date Filing Date
JP2009551198A Active JP5770974B2 (ja) 2007-02-28 2008-02-27 変形検知手段を備える電子決済カード、情報カード、またはidカード
JP2013137852A Pending JP2013242885A (ja) 2007-02-28 2013-07-01 変形検知手段を備える電子決済カード、情報カード、またはidカード
JP2015067954A Pending JP2015149087A (ja) 2007-02-28 2015-03-30 変形検知手段を備える電子決済カード、情報カード、またはidカード

Family Applications After (2)

Application Number Title Priority Date Filing Date
JP2013137852A Pending JP2013242885A (ja) 2007-02-28 2013-07-01 変形検知手段を備える電子決済カード、情報カード、またはidカード
JP2015067954A Pending JP2015149087A (ja) 2007-02-28 2015-03-30 変形検知手段を備える電子決済カード、情報カード、またはidカード

Country Status (15)

Country Link
US (1) US8061622B2 (ja)
EP (2) EP2115666B1 (ja)
JP (3) JP5770974B2 (ja)
KR (2) KR101593105B1 (ja)
CN (1) CN101647032B (ja)
AT (1) ATE533123T1 (ja)
AU (1) AU2008220772B2 (ja)
BR (1) BRPI0808147B1 (ja)
CA (2) CA2923790C (ja)
DK (1) DK2115666T3 (ja)
ES (1) ES2374333T3 (ja)
MY (1) MY151768A (ja)
NZ (1) NZ579102A (ja)
WO (1) WO2008104567A1 (ja)
ZA (1) ZA200905775B (ja)

Cited By (4)

* Cited by examiner, † Cited by third party
Publication number Priority date Publication date Assignee Title
JP2014119780A (ja) * 2012-12-13 2014-06-30 Sony Corp カード、情報処理装置および情報処理プログラム
KR101593680B1 (ko) 2015-05-13 2016-02-15 한양대학교 산학협력단 압전 소자를 이용한 전력 소자의 열응력 저감 장치 및 그 제조 방법
WO2016136565A1 (ja) * 2015-02-27 2016-09-01 株式会社村田製作所 Rfモジュール及びrfシステム
WO2016182396A1 (ko) * 2015-05-13 2016-11-17 한양대학교 산학협력단 압전 소자를 이용한 전력 소자의 온도 계측 장치, 열응력 저감 장치 및 그 제조 방법

Families Citing this family (30)

* Cited by examiner, † Cited by third party
Publication number Priority date Publication date Assignee Title
US20090159703A1 (en) 2007-12-24 2009-06-25 Dynamics Inc. Credit, security, debit cards and the like with buttons
JP5204676B2 (ja) * 2009-01-19 2013-06-05 パナソニック株式会社 入退場管理システム
EP2224378B1 (en) 2009-02-25 2012-08-01 Ingecom Sàrl Method for switching an RFID tag from deep sleep to active mode
EP2267649A1 (fr) * 2009-06-12 2010-12-29 Gemalto SA Dispositif électronique portable à faible consommation électrique
WO2011067429A1 (es) * 2009-12-04 2011-06-09 Servicios Para Medios De Pago, S.A. Tarjeta inteligente con contactos
WO2011090230A1 (ko) * 2010-01-25 2011-07-28 Kang Min Soo Led 전원용 압전회로부를 포함하는 전자식 카드
US10693263B1 (en) * 2010-03-16 2020-06-23 Dynamics Inc. Systems and methods for audio connectors for powered cards and devices
EP2369752A1 (fr) 2010-03-22 2011-09-28 Gemalto SA Dispositif portable avec batterie autonome et interface de communication radiofréquence
EP2390823A1 (fr) 2010-05-31 2011-11-30 Gemalto SA Carte bancaire avec écran d'affichage
EP2393045A1 (fr) * 2010-06-04 2011-12-07 Gemalto SA Carte bancaire avec écran d'affichage
KR101102944B1 (ko) * 2010-08-31 2012-01-10 주식회사 지투테크 압전회로부를 포함하는 전자식 카드
DE102010052982B4 (de) 2010-11-30 2021-11-25 Giesecke+Devrient Mobile Security Gmbh Portabler Datenträger
CA2779880C (en) 2010-12-03 2013-06-25 Pluritag Inc. Auricular livestock identification tag
US8313037B1 (en) * 2011-07-08 2012-11-20 Thomas David Humphrey Simulated magnetic stripe card system and method for use with magnetic stripe card reading terminals
US10510070B2 (en) 2011-10-17 2019-12-17 Capital One Services, Llc System, method, and apparatus for a dynamic transaction card
US20150012426A1 (en) * 2013-01-04 2015-01-08 Visa International Service Association Multi disparate gesture actions and transactions apparatuses, methods and systems
US10223710B2 (en) 2013-01-04 2019-03-05 Visa International Service Association Wearable intelligent vision device apparatuses, methods and systems
EP2932438B1 (en) 2012-12-14 2020-04-01 Avery Dennison Corporation Rfid devices configured for direct interaction
KR20160005709A (ko) 2013-04-12 2016-01-15 카드랩 에이피에스 오프셋 필드 생성기를 갖는 카드
BR112015025775A2 (pt) 2013-04-12 2017-07-25 Cardlab Aps cartão, montagem, método para montar o cartão e método de emissão de informações
DE102013214020A1 (de) * 2013-07-17 2015-02-19 Stabilo International Gmbh Digitaler Stift
DE102015204018A1 (de) * 2015-03-05 2016-09-08 Bundesdruckerei Gmbh Wert- oder Sicherheitsdokument mit einer elektronischen Schaltung und Verfahren zum Herstellen des Wert- oder Sicherheitsdokuments
CA2982764C (en) * 2015-04-14 2023-05-23 Capital One Services, Llc A system, method, and apparatus for a dynamic transaction card
US10339433B2 (en) * 2015-11-04 2019-07-02 Visa International Service Association Integrated power source on a payment device
GB2547905B (en) 2016-03-02 2021-09-22 Zwipe As Fingerprint authorisable device
GB2551848A (en) * 2016-07-01 2018-01-03 Zwipe As Biometric device with low power usage
US10984304B2 (en) 2017-02-02 2021-04-20 Jonny B. Vu Methods for placing an EMV chip onto a metal card
USD956760S1 (en) * 2018-07-30 2022-07-05 Lion Credit Card Inc. Multi EMV chip card
GB2584434A (en) * 2019-05-31 2020-12-09 Advanide Holdings Pte Ltd Enrolment device for a biometric smart card
US12277543B2 (en) * 2022-08-03 2025-04-15 Capital One Services, Llc Tone verification of a physical card

Citations (4)

* Cited by examiner, † Cited by third party
Publication number Priority date Publication date Assignee Title
JPH01196518A (ja) * 1988-01-30 1989-08-08 Dainippon Printing Co Ltd センサカード
JPH01287535A (ja) * 1988-05-16 1989-11-20 Minolta Camera Co Ltd カメラ用情報伝達icカード
JP2005293485A (ja) * 2004-04-05 2005-10-20 Nippon Telegr & Teleph Corp <Ntt> Icタグ
JP2006300749A (ja) * 2005-04-21 2006-11-02 Denso Corp ノックセンサ

Family Cites Families (18)

* Cited by examiner, † Cited by third party
Publication number Priority date Publication date Assignee Title
US5247164A (en) * 1989-01-26 1993-09-21 Hitachi Maxell, Ltd. IC card and portable terminal
JPH02307792A (ja) 1989-05-23 1990-12-20 Canon Inc Icカード
FR2728710A1 (fr) 1994-12-23 1996-06-28 Solaic Sa Carte electronique comportant un element fonctionnel activable manuellement
US5791966A (en) 1996-02-09 1998-08-11 Noise Toys, Inc. Rotating toy with electronic display
US6244514B1 (en) * 1998-04-20 2001-06-12 Ayao Wada Smart card for storage and retrieval of digitally compressed color images
JP2001005079A (ja) * 1999-06-22 2001-01-12 Olympus Optical Co Ltd 衝撃検出装置
DE19947180A1 (de) * 1999-10-01 2001-04-05 Philips Corp Intellectual Pty Chipkarte
KR100376213B1 (ko) * 2000-03-04 2003-03-15 구홍식 종합금융정보 전자카드수첩
DE10140662C1 (de) * 2001-08-24 2003-03-20 Orga Kartensysteme Gmbh Chipkarte mit integriertem Schalter
DE10146804A1 (de) * 2001-09-22 2003-04-10 Philips Corp Intellectual Pty Verfahren und Schaltungsanordnung zum Ansteuern eines Displays sowie Chipkarte mit Display
JP3928082B2 (ja) 2002-03-08 2007-06-13 富士通株式会社 Icカード及びその使用方法
AU2003279502A1 (en) 2003-01-02 2004-07-29 Gyora Mihaly Pal Benedek Rotating toy with rotation measurement means
DE10342054B4 (de) 2003-09-11 2015-06-03 Giesecke & Devrient Gmbh Kartenförmiger Datenträger
US7681232B2 (en) 2004-03-08 2010-03-16 Cardlab Aps Credit card and a secured data activation system
JP2006134086A (ja) * 2004-11-05 2006-05-25 Alps Electric Co Ltd 指紋センサ付きicカード
US7347381B2 (en) * 2004-12-16 2008-03-25 Pitney Bowes Inc. Secure radio frequency identification documents
JP2006276967A (ja) * 2005-03-28 2006-10-12 Renesas Technology Corp 半導体装置
ATE438901T1 (de) * 2006-03-30 2009-08-15 Nxp Bv Datenträger mit dehnungsmessung

Patent Citations (4)

* Cited by examiner, † Cited by third party
Publication number Priority date Publication date Assignee Title
JPH01196518A (ja) * 1988-01-30 1989-08-08 Dainippon Printing Co Ltd センサカード
JPH01287535A (ja) * 1988-05-16 1989-11-20 Minolta Camera Co Ltd カメラ用情報伝達icカード
JP2005293485A (ja) * 2004-04-05 2005-10-20 Nippon Telegr & Teleph Corp <Ntt> Icタグ
JP2006300749A (ja) * 2005-04-21 2006-11-02 Denso Corp ノックセンサ

Cited By (8)

* Cited by examiner, † Cited by third party
Publication number Priority date Publication date Assignee Title
JP2014119780A (ja) * 2012-12-13 2014-06-30 Sony Corp カード、情報処理装置および情報処理プログラム
WO2016136565A1 (ja) * 2015-02-27 2016-09-01 株式会社村田製作所 Rfモジュール及びrfシステム
JPWO2016136565A1 (ja) * 2015-02-27 2017-10-12 株式会社村田製作所 Rfモジュール及びrfシステム
CN107251056A (zh) * 2015-02-27 2017-10-13 株式会社村田制作所 Rf模块以及rf系统
US10037486B2 (en) 2015-02-27 2018-07-31 Murata Manufacturing Co., Ltd. RF module and RF system
KR101593680B1 (ko) 2015-05-13 2016-02-15 한양대학교 산학협력단 압전 소자를 이용한 전력 소자의 열응력 저감 장치 및 그 제조 방법
WO2016182396A1 (ko) * 2015-05-13 2016-11-17 한양대학교 산학협력단 압전 소자를 이용한 전력 소자의 온도 계측 장치, 열응력 저감 장치 및 그 제조 방법
US10732053B2 (en) 2015-05-13 2020-08-04 Industry-University Cooperation Foundation Hanyang University Apparatus for measuring temperature of power device using piezoelectric device, apparatus for reducing thermal stress, and method for manufacturing the same

Also Published As

Publication number Publication date
HK1138663A1 (en) 2010-08-27
EP2115666B1 (en) 2011-11-09
US8061622B2 (en) 2011-11-22
KR101593105B1 (ko) 2016-02-11
JP5770974B2 (ja) 2015-08-26
CN101647032B (zh) 2013-01-23
AU2008220772A1 (en) 2008-09-04
BRPI0808147A2 (pt) 2014-07-01
EP2423858B1 (en) 2016-08-03
ZA200905775B (en) 2018-11-28
NZ579102A (en) 2011-10-28
EP2115666A1 (en) 2009-11-11
KR20100014653A (ko) 2010-02-10
EP2423858A1 (en) 2012-02-29
WO2008104567A1 (en) 2008-09-04
KR20140131552A (ko) 2014-11-13
DK2115666T3 (da) 2012-02-27
CA2923790C (en) 2018-08-14
JP2013242885A (ja) 2013-12-05
MY151768A (en) 2014-07-14
CN101647032A (zh) 2010-02-10
US20100320274A1 (en) 2010-12-23
ES2374333T3 (es) 2012-02-15
CA2923790A1 (en) 2008-09-04
CA2678793A1 (en) 2008-09-04
JP2015149087A (ja) 2015-08-20
ATE533123T1 (de) 2011-11-15
BRPI0808147B1 (pt) 2019-01-29
AU2008220772B2 (en) 2013-06-27
CA2678793C (en) 2016-05-24
KR101554942B1 (ko) 2015-09-22

Similar Documents

Publication Publication Date Title
JP5770974B2 (ja) 変形検知手段を備える電子決済カード、情報カード、またはidカード
CN114741007B (zh) 具有力传感器的输入设备
CN208611802U (zh) 智能卡
US8717151B2 (en) Devices and methods for presenting information to a user on a tactile output surface of a mobile device
US20070057790A1 (en) RFID transponder arrays for sensing input and controlling processes
EP2406706A1 (en) Touch panel device, display device equipped with touch panel device, and control method of touch panel device
TWI734954B (zh) 壓敏電子配置
CN104969242A (zh) 配置为用于直接交互的rfid装置
CN103257783A (zh) 用于在移动设备上共享反馈的交互模型
US8983444B2 (en) Method for controlling portable device by using humidity sensor and portable device thereof
CN116149494A (zh) 具有声学谐振器的外围设备
CN108351715A (zh) 应用于人体触摸的常驻传感器设备
KR20190019723A (ko) 터치 감지 신호를 제어하는 전자 장치, 방법 및 저장 매체
US10564725B2 (en) Haptic effects using a high bandwidth thin actuation system
HK1138663B (en) Electronic payment, information, or id card with a deformation sensing means
CN104915016A (zh) 使用波纹曲面细分来创建表面特征的设备、系统和方法
KR100659228B1 (ko) 센서가 내장된 휴대 단말 장치
TWM652587U (zh) 樣品鞋管理系統
JP2019215179A (ja) 触覚呈示装置

Legal Events

Date Code Title Description
A521 Request for written amendment filed

Free format text: JAPANESE INTERMEDIATE CODE: A523

Effective date: 20110201

A621 Written request for application examination

Free format text: JAPANESE INTERMEDIATE CODE: A621

Effective date: 20110201

A977 Report on retrieval

Free format text: JAPANESE INTERMEDIATE CODE: A971007

Effective date: 20120926

A131 Notification of reasons for refusal

Free format text: JAPANESE INTERMEDIATE CODE: A131

Effective date: 20121009

A601 Written request for extension of time

Free format text: JAPANESE INTERMEDIATE CODE: A601

Effective date: 20121221

A602 Written permission of extension of time

Free format text: JAPANESE INTERMEDIATE CODE: A602

Effective date: 20130104

A521 Request for written amendment filed

Free format text: JAPANESE INTERMEDIATE CODE: A523

Effective date: 20130125

A131 Notification of reasons for refusal

Free format text: JAPANESE INTERMEDIATE CODE: A131

Effective date: 20130408

A02 Decision of refusal

Free format text: JAPANESE INTERMEDIATE CODE: A02

Effective date: 20130805

A521 Request for written amendment filed

Free format text: JAPANESE INTERMEDIATE CODE: A523

Effective date: 20150303

A61 First payment of annual fees (during grant procedure)

Free format text: JAPANESE INTERMEDIATE CODE: A61

Effective date: 20150626

R150 Certificate of patent or registration of utility model

Ref document number: 5770974

Country of ref document: JP

Free format text: JAPANESE INTERMEDIATE CODE: R150

R250 Receipt of annual fees

Free format text: JAPANESE INTERMEDIATE CODE: R250

R250 Receipt of annual fees

Free format text: JAPANESE INTERMEDIATE CODE: R250

R250 Receipt of annual fees

Free format text: JAPANESE INTERMEDIATE CODE: R250

R250 Receipt of annual fees

Free format text: JAPANESE INTERMEDIATE CODE: R250

R250 Receipt of annual fees

Free format text: JAPANESE INTERMEDIATE CODE: R250

R250 Receipt of annual fees

Free format text: JAPANESE INTERMEDIATE CODE: R250

R250 Receipt of annual fees

Free format text: JAPANESE INTERMEDIATE CODE: R250

R250 Receipt of annual fees

Free format text: JAPANESE INTERMEDIATE CODE: R250