JP2010253233A - 鏡台 - Google Patents

鏡台 Download PDF

Info

Publication number
JP2010253233A
JP2010253233A JP2009135888A JP2009135888A JP2010253233A JP 2010253233 A JP2010253233 A JP 2010253233A JP 2009135888 A JP2009135888 A JP 2009135888A JP 2009135888 A JP2009135888 A JP 2009135888A JP 2010253233 A JP2010253233 A JP 2010253233A
Authority
JP
Japan
Prior art keywords
mirror
sleeve
plate member
folded
sleeve plate
Prior art date
Legal status (The legal status is an assumption and is not a legal conclusion. Google has not performed a legal analysis and makes no representation as to the accuracy of the status listed.)
Pending
Application number
JP2009135888A
Other languages
English (en)
Inventor
Taichi Hanmyo
太一 半妙
Current Assignee (The listed assignees may be inaccurate. Google has not performed a legal analysis and makes no representation or warranty as to the accuracy of the list.)
Individual
Original Assignee
Individual
Priority date (The priority date is an assumption and is not a legal conclusion. Google has not performed a legal analysis and makes no representation as to the accuracy of the date listed.)
Filing date
Publication date
Application filed by Individual filed Critical Individual
Priority to JP2009135888A priority Critical patent/JP2010253233A/ja
Publication of JP2010253233A publication Critical patent/JP2010253233A/ja
Pending legal-status Critical Current

Links

Images

Landscapes

  • Mirrors, Picture Frames, Photograph Stands, And Related Fastening Devices (AREA)

Abstract

【課題】背面を映す背面鏡を、適切な位置に簡単に設定でき、見栄えよく収納できる鏡台を提供することである。
【解決手段】正面鏡1の両側に、正面鏡1側を回動中心として垂直軸の回りに回動する袖板部材としての袖鏡2を設け、袖鏡2の正面鏡1と反対側に、袖鏡2側を回動中心として垂直軸の回りに回動して、袖鏡2の表面側へ重ねるように折り畳まれ、拡げられるように回動されたときに、正面鏡1側に向けられる表面3aを鏡面とする背面鏡3を設けることにより、袖鏡2と背面鏡3を正面鏡1とで横断面が略コ字状を形成するように回動させて、背面を映す背面鏡3を適切な位置に簡単に設定できるようにするとともに、背面鏡3を袖鏡2に重ねるように折り畳んで見栄えよく収納できるようにした。
【選択図】図2

Description

本発明は、背面を見えるようにした鏡台に関する。
独立した鏡台や、洗面台、家具等に組み込まれた鏡台には、正面を見るための正面鏡のみを有するものと、側面も見えるように、正面鏡の片側または両側に、垂直な回動軸の回りに回動可能な袖鏡を設けたものがある。これらの鏡台の前で背面を見るときは、片手に背面を映すように手鏡を持って、手鏡に映る背面を正面鏡で見るようにしていた。このため、片手に手鏡を持つために、背面側の髪や服装等の手入れを自由な姿勢で行うことができず、手鏡を持つ手も疲れやすい問題があった。
このような問題に対して、背面側に独立に設置されるようにした背面鏡台(例えば、特許文献1参照)や、鏡台に屈曲節を有する回動自在な自在アームを介して補助鏡を取り付け、この補助鏡を背面側へ移動可能としたもの(例えば、特許文献2、3参照)が提案されている。
実開昭59−7646号公報 実公昭42−12619号公報 実開昭49−123099号公報
特許文献1に記載された独立した背面鏡台は、使用時に鏡台の前へ持ち運ぶ必要があるとともに、不使用時の収納場所を必要とする問題がある。
特許文献2、3に記載された自在アームを介して補助鏡を取り付けた鏡台は、このような問題はないが、不使用時に自在アームを折り畳んでも、平面的な鏡台に見栄えよく補助鏡を収納することができない問題がある。また、自在アームを屈曲させたり、回動させたりして、補助鏡を3次元的に移動させるので、背面を映す補助鏡を適切な位置に設定するのが難しい問題もある。
そこで、本発明の課題は、背面を映す背面鏡を、適切な位置に簡単に設定でき、見栄えよく収納できる鏡台を提供することである。
上記の課題を解決するために、本発明の鏡台は、正面鏡の少なくとも片側に、正面鏡側を回動中心として垂直軸の回りに回動し、両側辺が平行な平板状の袖板部材を設け、この袖板部材の前記正面鏡と反対側に、袖板部材側を回動中心として垂直軸の回りに回動して、前記袖板部材の表面側または裏面側へ重ねるように折り畳まれ、拡げられるように回動されたときに、前記正面鏡側に向けられる表面を鏡面とする背面鏡を設けた構成を採用した。
すなわち、正面鏡の少なくとも片側に、正面鏡側を回動中心として垂直軸の回りに回動し、両側辺が平行な平板状の袖板部材を設け、この袖板部材の正面鏡と反対側に、袖板部材側を回動中心として垂直軸の回りに回動して、袖板部材の表面側または裏面側へ重ねるように折り畳まれ、拡げられるように回動されたときに、正面鏡側に向けられる表面を鏡面とする背面鏡を設けることにより、袖板部材と背面鏡を正面鏡とで横断面が略コ字状を形成するように回動させて、背面を映す背面鏡を適切な位置に簡単に設定できるようにするとともに、背面鏡を袖板部材に重ねるように折り畳んで見栄えよく収納できるようにした。
前記背面鏡を前記折り畳まれる袖板部材の表面側または裏面側に沿って水平方向へスライドさせる手段を設け、前記背面鏡を前記袖板部材の前記正面鏡と反対側へ引き出して回動させるようにすることにより、正面鏡の前に十分なスペースを開けて、背面を映す背面鏡の位置を設定することができる。
前記背面鏡を、前記袖板部材の表面側または裏面側へ重ねるように、水平方向に折り畳まれる1枚または複数枚の折り畳み部材を介して、前記袖板部材に取り付けることによっても、折り畳まれる折り畳み部材を水平方向に展開させ、正面鏡の前に十分なスペースを開けて、背面を映す背面鏡の位置を設定することができる。
前記背面鏡を前記袖板部材よりも小さい面積のものとし、前記袖板部材の上部に重ねるように折り畳むようにすることにより、背面鏡をコンパクトに形成して、背面を見ることが多い頭部等の身体の上部を映すものとすることができる。
前記袖板部材は、回動されたときに前記正面鏡側に向けられる表面を鏡面とする袖鏡とすることができる。
前記背面鏡を、前記袖鏡に取り付け可能な取り付け部品とすることにより、袖鏡を有する既存の鏡台を利用して、上述した背面鏡を設けた鏡台とすることができる。
本発明の鏡台は、正面鏡の少なくとも片側に、正面鏡側を回動中心として垂直軸の回りに回動し、両側辺が平行な平板状の袖板部材を設け、この袖板部材の正面鏡と反対側に、袖板部材側を回動中心として垂直軸の回りに回動して、袖板部材の表面側または裏面側へ重ねるように折り畳まれ、拡げられるように回動されたときに、正面鏡側に向けられる表面を鏡面とする背面鏡を設けたので、背面を映す背面鏡を適切な位置に簡単に設定できるとともに、背面鏡を見栄えよく収納することができる。
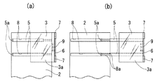
第1の実施形態の鏡台を示す外観斜視図 aは図1の背面鏡を袖鏡の表面側に折り畳んだ状態を示す横断面図、bはaの背面鏡を拡げた状態を示す横断面図 第2の実施形態の鏡台を示す外観斜視図 aは図3の袖鏡の裏面側に折り畳んだ背面鏡を示す正面図、bはaの背面鏡を袖鏡の裏面側から引き出した状態を示す正面図 aは図3の背面鏡を袖鏡の裏面側に折り畳んだ状態を示す横断面図、bはaの背面鏡を拡げた状態を示す横断面図 aは第3の実施形態の鏡台の背面鏡を袖鏡の裏面側に折り畳んだ状態を示す横断面図、bはaの背面鏡を拡げた状態を示す横断面図
以下、図面に基づき、本発明の実施形態を説明する。図1および図2は、第1の実施形態を示す。この鏡台は、図1に示すように、正面鏡1の両側に、正面鏡1側を回動中心として垂直軸の回りに回動し、両側辺が平行な平板状の袖板部材としての袖鏡2を設けた既存の3面鏡を利用したものであり、両方の袖鏡2の正面鏡1と反対側に、袖鏡2側を回動中心として垂直軸の回りに回動する背面鏡3が取り付け部品として取り付けられている。
前記背面鏡3は、図2(a)に示すように、袖鏡2の正面鏡1と反対側の端面に蝶番4で取り付けられ、袖鏡2の表面側へ重ねるように折り畳まれるようになっており、表面3aと裏面3bの両方が鏡面とされている。したがって、袖鏡2の表面側へ重ねられたときには、背面鏡3の裏面3bが3面鏡の袖鏡の役割をするようになっている。
図2(b)は、前記袖鏡2と背面鏡3を正面鏡1とで横断面が略コ字状を形成するように回動させた状態を示す。この状態で、正面鏡1側に向けられる背面鏡3の表面3aに、鏡台の前の人Aの背面が映される。
上述した第1の実施形態では、3面鏡の両側の袖鏡2に背面鏡3を取り付けたが、いずれか一方の袖鏡2のみに背面鏡3を取り付けることもでき、3面鏡を片側のみに袖鏡2を有する2面鏡とすることもできる。
図3乃至図5は、第2の実施形態を示す。この鏡台は、図3に示すように、正面鏡1の片側に、正面鏡1側を回動中心として垂直軸の回りに回動する袖板部材としての袖鏡2を設け、この袖鏡2の正面鏡1と反対側に、袖鏡2側を回動中心として垂直軸の回りに回動する背面鏡3を設けたものである。
前記背面鏡3は、図4(a)および図5(a)に示すように、袖鏡2よりも小さい面積のものとされ、袖鏡2の裏面側に沿って水平方向へスライドさせる上下一対のスライドバー5の先端に取り付けられた垂直な軸部材6に、軸部材6に回動可能に外嵌されたヒンジ7で取り付けられている。したがって、スライドバー5を袖鏡2の裏面側へ押し込んで、背面鏡3を回動させることにより、背面鏡3を袖鏡2の裏面側の上部へ重ねるように折り畳むことができる。この背面鏡3は、表面3aのみが鏡面とされており、各スライドバー5は、袖鏡2の裏面に設けられたガイド溝8に案内されてスライドするようになっている。また、軸部材6には、スライドバー5を引き出すための把手9が取り付けられている。
図4(b)は、前記スライドバー5をスライドさせて、背面鏡3を袖鏡2の裏面側から引き出した状態を示す。ガイド溝8の正面鏡1と反対側の部分には、スライドバー5を抱え込むように内向きに張り出す庇部8aが設けられ、スライドバー5の基端にはガイド溝8から突出する突出部5aが設けられており、この突出部5aが庇部8aの端に係止されて、スライドバー5は2/3程度の長さが引き出し可能とされている。
図5(b)は、前記袖鏡2の裏面側から引き出した背面鏡3を軸部材6の回りに回動させて、袖鏡2およびスライドバー5と背面鏡3を正面鏡1とで横断面が略コ字状を形成するようにした状態を示す。背面鏡3は、表面3aが軸部材6の把手9に当接されて、回動位置を位置決めされている。この状態で、正面鏡1側に向けられる背面鏡3の表面3aに、鏡台の前の人Aの上部の背面が映される。この実施形態では、背面鏡3がスライドバー5によって人Aの後方に引き出されるので、正面鏡1との間に人Aが介在する十分なスペースが開けられる。
図6(a)、(b)は、第3の実施形態を示す。この鏡台は、第1の実施形態のものと同様に、正面鏡1の両側に袖鏡2を設けた既存の3面鏡を利用したものである。各袖鏡2の正面鏡1と反対側には、垂直軸の回りに回動して袖鏡2の裏面側へ水平方向に折り畳んで重ねられる折り畳み部材10が蝶番4aで取り付けられ、これらの折り畳み部材10の展開先端側に、垂直軸の回りに回動して袖鏡2の裏面側へ折り畳まれる背面鏡3が蝶番4bで取り付けられており、折り畳み部材10と背面鏡3が取り付け部品とされている。
この実施形態では、図6(b)に示すように、折り畳み部材10と背面鏡3を袖鏡2の裏面側から展開することにより、正面鏡1側に向けられる背面鏡3と正面鏡1との間に、人Aが介在する十分なスペースが開けられる。なお、各背面鏡3は、人Aの背面に向けられる表面3aのみが鏡面とされ、各折り畳み部材10は、人Aに向けられる内側面が鏡面10aとされている。また、袖鏡2、背面鏡3および折り畳み部材10の幅寸法は同一寸法とされている。
第3の実施形態では、袖鏡の裏面側へ折り畳まれる折り畳み部材を1枚としたが、2枚以上の折り畳み部材をヒンジ等で水平方向に展開可能に連結し、これらの複数枚の折り畳み部材を介して、背面鏡を袖鏡の裏面側または表面側へ折り畳むように取り付けることもできる。また、袖鏡、背面鏡および折り畳み部材の幅寸法を同一寸法に合致させたが、これらの幅寸法は互いに異なる寸法としてもよい。
1 正面鏡
2 袖鏡
3 背面鏡
3a 表面
3b 裏面
4、4a、4b 蝶番
5 スライドバー
5a 突出部
6 軸部材
7 ヒンジ
8 ガイド溝
8a 庇部
9 把手
10 折り畳み部材
10a 鏡面

Claims (6)

  1. 正面鏡の少なくとも片側に、正面鏡側を回動中心として垂直軸の回りに回動し、両側辺が平行な平板状の袖板部材を設け、この袖板部材の前記正面鏡と反対側に、袖板部材側を回動中心として垂直軸の回りに回動して、前記袖板部材の表面側または裏面側へ重ねるように折り畳まれ、拡げられるように回動されたときに、前記正面鏡側に向けられる表面を鏡面とする背面鏡を設けた鏡台。
  2. 前記背面鏡を前記折り畳まれる袖板部材の表面側または裏面側に沿って水平方向へスライドさせる手段を設け、前記背面鏡を前記袖板部材の前記正面鏡と反対側へ引き出して回動させるようにした請求項1に記載の鏡台。
  3. 前記背面鏡を、前記袖板部材の表面側または裏面側へ重ねるように、水平方向に折り畳まれる1枚または複数枚の折り畳み部材を介して、前記袖板部材に取り付けた請求項1に記載の鏡台。
  4. 前記背面鏡を前記袖板部材よりも小さい面積のものとし、前記袖板部材の上部に重ねるように折り畳むようにした請求項1乃至3のいずれかに記載の鏡台。
  5. 前記袖板部材を、回動されたときに前記正面鏡側に向けられる表面を鏡面とする袖鏡とした請求項1乃至4のいずれかに記載の鏡台。
  6. 前記背面鏡を、前記袖鏡に取り付け可能な取り付け部品とした請求項5に記載の鏡台。
JP2009135888A 2009-04-03 2009-06-05 鏡台 Pending JP2010253233A (ja)

Priority Applications (1)

Application Number Priority Date Filing Date Title
JP2009135888A JP2010253233A (ja) 2009-04-03 2009-06-05 鏡台

Applications Claiming Priority (2)

Application Number Priority Date Filing Date Title
JP2009091003 2009-04-03
JP2009135888A JP2010253233A (ja) 2009-04-03 2009-06-05 鏡台

Publications (1)

Publication Number Publication Date
JP2010253233A true JP2010253233A (ja) 2010-11-11

Family

ID=43314842

Family Applications (1)

Application Number Title Priority Date Filing Date
JP2009135888A Pending JP2010253233A (ja) 2009-04-03 2009-06-05 鏡台

Country Status (1)

Country Link
JP (1) JP2010253233A (ja)

Cited By (3)

* Cited by examiner, † Cited by third party
Publication number Priority date Publication date Assignee Title
CN109198914A (zh) * 2018-09-21 2019-01-15 九牧厨卫股份有限公司 一种盖板组件和柜体
CN109640737A (zh) * 2016-08-19 2019-04-16 谢尔盖·乔吉维奇·比留科夫 用于反应人的外部形象的装置
CN109907543A (zh) * 2019-04-04 2019-06-21 广州欧派集成家居有限公司 一种梳妆柜

Citations (3)

* Cited by examiner, † Cited by third party
Publication number Priority date Publication date Assignee Title
JPS4964199A (ja) * 1972-10-30 1974-06-21
JPS50154199A (ja) * 1974-04-30 1975-12-11
JPH0339437A (ja) * 1989-07-07 1991-02-20 Showa Alum Corp 電解コンデンサ陰極用アルミニウム合金箔

Patent Citations (3)

* Cited by examiner, † Cited by third party
Publication number Priority date Publication date Assignee Title
JPS4964199A (ja) * 1972-10-30 1974-06-21
JPS50154199A (ja) * 1974-04-30 1975-12-11
JPH0339437A (ja) * 1989-07-07 1991-02-20 Showa Alum Corp 電解コンデンサ陰極用アルミニウム合金箔

Cited By (4)

* Cited by examiner, † Cited by third party
Publication number Priority date Publication date Assignee Title
CN109640737A (zh) * 2016-08-19 2019-04-16 谢尔盖·乔吉维奇·比留科夫 用于反应人的外部形象的装置
CN109198914A (zh) * 2018-09-21 2019-01-15 九牧厨卫股份有限公司 一种盖板组件和柜体
CN109907543A (zh) * 2019-04-04 2019-06-21 广州欧派集成家居有限公司 一种梳妆柜
CN109907543B (zh) * 2019-04-04 2021-03-19 广州欧派集成家居有限公司 一种梳妆柜

Similar Documents

Publication Publication Date Title
USD562485S1 (en) Detachable computer light
JP2010253233A (ja) 鏡台
TWI253289B (en) Electrical device with hanging mechanism
KR100893387B1 (ko) 테이블을 구비한 절첩식 의자
JP2018047086A (ja) 折畳み式テーブルの幕板装置
KR200394832Y1 (ko) 접철식 거울
JP4261499B2 (ja) 車両用テーブル構造
JP3782403B2 (ja) 三面鏡
JP6276974B2 (ja) 折畳み椅子
KR20130093199A (ko) 거울 조립체
JP5393865B2 (ja) 折畳み椅子
JP3158591U (ja) 三面鏡
JP2005253683A (ja) 拡大鏡付化粧料容器
JP3112617U (ja) 後頭部を見ることの出来る三面鏡
CN109407322A (zh) 折叠式头戴显示器
KR200390432Y1 (ko) 접이식의자용 보조책상 브라켓트
JP2010077604A (ja) 自立型扇状装飾部材
KR200425221Y1 (ko) 강의용 책상
JP2012090666A (ja) 鏡装置
CN211609011U (zh) 一种便携式折叠镜子
KR200343463Y1 (ko) 독서대
JP2009039338A (ja) ミラーキャビネット
JPS5933375B2 (ja) 化粧鏡装置
JP2018100182A (ja) エレベータの乗り場側ドア解錠器具
JP2005304914A (ja) アイメイク用化粧料容器

Legal Events

Date Code Title Description
A131 Notification of reasons for refusal

Effective date: 20110823

Free format text: JAPANESE INTERMEDIATE CODE: A131

A02 Decision of refusal

Effective date: 20120110

Free format text: JAPANESE INTERMEDIATE CODE: A02