JP2010231663A - 人体異常判別装置 - Google Patents

人体異常判別装置 Download PDF

Info

Publication number
JP2010231663A
JP2010231663A JP2009080523A JP2009080523A JP2010231663A JP 2010231663 A JP2010231663 A JP 2010231663A JP 2009080523 A JP2009080523 A JP 2009080523A JP 2009080523 A JP2009080523 A JP 2009080523A JP 2010231663 A JP2010231663 A JP 2010231663A
Authority
JP
Japan
Prior art keywords
human body
laser beam
frequency
abnormality
normal
Prior art date
Legal status (The legal status is an assumption and is not a legal conclusion. Google has not performed a legal analysis and makes no representation as to the accuracy of the status listed.)
Granted
Application number
JP2009080523A
Other languages
English (en)
Other versions
JP4338770B1 (ja
Inventor
Toshio Kobayashi
敏夫 小林
Current Assignee (The listed assignees may be inaccurate. Google has not performed a legal analysis and makes no representation or warranty as to the accuracy of the list.)
TAISEI DENSHI SEISAKUSHO KK
Original Assignee
TAISEI DENSHI SEISAKUSHO KK
Priority date (The priority date is an assumption and is not a legal conclusion. Google has not performed a legal analysis and makes no representation as to the accuracy of the date listed.)
Filing date
Publication date
Application filed by TAISEI DENSHI SEISAKUSHO KK filed Critical TAISEI DENSHI SEISAKUSHO KK
Priority to JP2009080523A priority Critical patent/JP4338770B1/ja
Application granted granted Critical
Publication of JP4338770B1 publication Critical patent/JP4338770B1/ja
Publication of JP2010231663A publication Critical patent/JP2010231663A/ja
Expired - Fee Related legal-status Critical Current
Anticipated expiration legal-status Critical

Links

Images

Landscapes

  • Measuring And Recording Apparatus For Diagnosis (AREA)
  • Emergency Alarm Devices (AREA)
  • Alarm Systems (AREA)
  • Measuring Pulse, Heart Rate, Blood Pressure Or Blood Flow (AREA)
  • Measurement Of The Respiration, Hearing Ability, Form, And Blood Characteristics Of Living Organisms (AREA)

Abstract

【課題】人体に非接触の状態で、人体の異常の有無を容易に判別できる人体異常判別装置を提供する。
【解決手段】人体に対してレーザー光線を照射して人体の異常の有無を判別する人体異常判別装置10であって、レーザー光線を人体に対して照射するレーザー光線出射部12Aと、人体で反射したレーザー光線を受光するレーザー光線受光部12Bと、レーザー光線受光部12Bで受光したレーザー光線の周波数に基づいて人体の異常の有無を判別するCPU14Aと、を有する。
【選択図】 図1

Description

本発明は、人体に非接触の状態で、人体の異常の有無を判別する人体異常判別装置に関する。
核家族化が進む今日では、老人だけの世帯が多くなっている。老人夫婦で暮らしている場合は、ともかく、一方が病気や寿命などにより亡くなっていると、老人の一人暮らしという状況になる。また、近年では、生涯独身で通す男女が増加しており、この場合も、将来的には、老人の一人暮らしという状況を作り出す。最近、都心部では、特に、老人の一人暮らしという世帯が多くなっているのは、いろいろなメディアを通じて、周知の事実である。
ところで、老人の一人暮らしでは、必然的に、老人の体調不良や病気などによる孤独死が多くなる。すなわち、老人が一人で暮らしていると、自身の体調の変化に誰も気づかず、孤独死に至る確率も多くなる。
なお、この孤独死の問題は、なにも老人だけに限られるものではなく、一人暮らしをしている人の全てに当てはまるものである。人間が一人で暮らしていると、突発的な病気などにより、家の中で倒れていても、誰も気がつかず、最悪の事態にもなりかねない。
特表2009−504356号公報(公表番号)
このような孤独死などの一人暮らしをしている人の健康の対応策として、いろいろな健康商品などが提案されている。例えば、生命維持に大きな影響を与える心臓の健康状態を判別する医療装置として、例えば、医師が使用する聴診器が知られている。この聴診器は、胸部に接触させて、心臓、肺、血管などの出す音を聞き診断するための医療装置である。この聴診器は市販されているため、自身で購入し、日頃から健康状態をチェックすることも可能であるが、聴診器を用いた体調チェックでは、異常の有無を判別するための専門的な知識や技術が必要になり、専門知識を有していない人には馴染まない。
また、聴診器の原理を採用した装置を用いて、人体の異常の有無を判別する方法も考えられるが、かかる装置を用いると、人体に接触させなければならず、違和感や不快感の原因となる。この結果、このような装置は使用されず、結局、体調管理を怠ることになる。
そこで、本発明は、人体に非接触の状態で、人体の異常の有無を容易に判別できる人体異常判別装置を提供することを目的とする。
第1の発明は、人体に対してレーザー光線を照射して人体の異常の有無を判別する人体異常判別装置であって、前記レーザー光線を人体に対して照射するレーザー光線照射手段と、人体で反射した前記レーザー光線を受光するレーザー光線受光手段と、前記レーザー光線受光手段で受光した前記レーザー光線の周波数に基づいて人体の異常の有無を判別する異常判別手段と、を有することを特徴とする。
第1の発明によれば、レーザー光線照射手段からレーザー光線が人体に対して照射され、人体で反射したレーザー光線がレーザー光線受光手段で受光される。ここで、人体の表面は、心臓やその他の内蔵器、呼吸、血管中の血液の流れなどにより絶えず振動を繰り返しているため、この振動している人体にレーザー光線が照射されると、ドップラー効果によって、レーザー光線の周波数が変化する。この周波数が変化したレーザー光線を受光し、異常判別手段によりレーザー光線の周波数に基づいて人体の異常の有無が判別される。これにより、人体で反射したレーザー光線を受光するだけで、非接触にて人体の異常の有無を容易に判別することができる。
なお、本明細書において「人体に照射する」とは、人体の肌、皮膚に直接照射するという意味の他に、人体が着ている衣服、人体を覆っている寝具など、人体と間接的に接触している物に対して照射する意味も含まれる。
第2の発明は、第1の発明において、正常である人体で反射した前記レーザー光線の周波数を記憶する周波数記憶手段を有し、前記異常判別手段は、前記レーザー光線受光手段で受光した前記レーザー光線の周波数と、前記周波数記憶手段に記憶された前記レーザー光線の周波数と、に基づいて、人体の異常の有無を判別することを特徴とする。
第2の発明によれば、レーザー光線受光手段で受光したレーザー光線の周波数と、周波数記憶手段に記憶されたレーザー光線の周波数と、に基づいて、人体の異常の有無が異常判別手段により判別される。これにより、正常時の人体で反射したレーザー光線の周波数を基準にして、現在における人体の異常の有無を判定することができるため、異常の有無の判別処理が容易になる。
第3の発明は、第2の発明において、前記周波数記憶手段は、正常である人体で反射した前記レーザー光線の周波数に対して所定の範囲をもたせた正常周波数を記憶し、前記異常判別手段は、前記レーザー光線受光手段で受光した前記レーザー光線の周波数が前記正常周波数の範囲内であれば、人体の異常が無く、前記レーザー光線受光手段で受光した前記レーザー光線の周波数が前記正常周波数の範囲外であれば、人体の異常が有ると判定することを特徴とする。
第3の発明によれば、レーザー光線受光手段で受光したレーザー光線の周波数が正常周波数の範囲内であれば、人体の異常が無く、レーザー光線受光手段で受光したレーザー光線の周波数が正常周波数の範囲外であれば、人体の異常が有ると異常判別手段により判定される。これにより、正常である人体においても体調良好の程度によって、受光したレーザー光線の周波数の変化に影響を及ぼすが、正常である人体で反射したレーザー光線の周波数の値に所定の幅を持たせておくことにより、異常の有無に関して誤った判別がされることを防止できる。この結果、人体異常判別装置の誤認防止を図ることができる。
第4の発明は、第1の発明から第3の発明のいずれかにおいて、前記異常判別手段が人体に異常有りと判定した場合に、人体に異常が有ることを外部に通信機器に報知する通信報知手段を備えたことを特徴とする。
第4の発明によれば、異常判別手段が人体に異常有りと判定した場合に、人体に異常が有ることが通信報知手段により外部に通信機器に報知される。これにより、人体の異常の有無を他人に知らせることができる。
なお、「通信機器」とは、有線又は無線により通信可能な機器であり、例えば、電話装置(固定電話や携帯電話など)、インターネットに接続した端末装置などが含まれる。
第5の発明は、第1の発明から第4の発明のいずれかにおいて、前記レーザー光線の波長は、900nm以上1100nm以下であることを特徴とする。
第5の発明によれば、レーザー光線の波長が900nm以上1100nm以下であるため、人体にレーザー光線を照射しても人体に違和感や悪影響を及ぼすことがない。
本発明によれば、人体に非接触の状態で、人体の異常の有無を容易に判別できる。
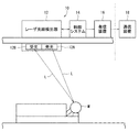
本発明の第1実施形態の人体異常判別装置の構成図である。 本発明の第1実施形態の人体異常判別装置のブロック図である。 本発明の第1実施形態の人体異常判別装置の人体異常判別処理を示したフローチャートである。
本発明の第1実施形態に係る人体異常判別装置について、図面を参照して説明する。なお、以下の説明では、「設置者」とは、本発明の人体異常判別装置で人体の異常を判別される人間を意味している。
図1及び図2に示すように、人体異常判別装置10は、主として、レーザー光線検出器12と、制御システム14と、発信装置(通信報知手段)16と、で構成されている。また、人体異常判別装置10は、外部の通信装置(通信機器)18と通信可能に構成されている。
レーザー光線検出器12は、レーザー光線Lを照射するレーザー光線出射部(レーザー光線照射手段)12Aと、人体Mで反射したレーザー光線Lを受光するレーザー光線受光部(レーザー光線受光手段)12Bと、制御システム14との間で信号の送受信を行う信号送受信部12Cと、構成されている。
レーザー光線出射部12Aは、いわゆる発光源であり、例えば、波長が900nm以上1100nm以下(nm:ナノメートル、10−9メートル)のレーザー光線Lを発射するものである。このレーザー光線Lは、人体Mに照射されるものであり、波長が900nm以上1100nm以下とすることにより、人体Mへの不快感や悪影響を防止している。なお、レーザー光線Lの波長は、1060nmが特に好ましい。
レーザー光線受光部12Bは、例えば、受光センサなどが適用され、人体Mで反射されたレーザー光線Lを受光する。
レーザー光線出射部12A及びレーザー光線受光部12Bの一例として、フォトカプラが適している。フォトカプラとは、入力された電気信号を光に変換し、その光で受光素子を導通させることにより、信号を伝達するものである。内部には、発光素子と受光素子とが収容され、外部からの光を遮断するパッケージに封じ込められた構造になっている。一般的に、発光素子には発光ダイオード、受光素子にはフォトトランジスタが用いられる。
信号送受信部12Cは、レーザー光線受光部12Bで受光したレーザー光線Lの周波数を特定して電気信号として後述の制御システム14に出力する。レーザー光線Lの周波数を制御システムに対して出力することにより、制御システム14で人体Mの異常有無の判定に、人体で反射したレーザー光線Lの周波数の測定結果を参照できる。また、信号送受信部12Cは、制御システム14からの駆動命令に関する信号を受信する。信号送受信部12Cが制御システム14からの駆動命令に関する信号を受信することにより、レーザー光線出射部12Aの発光制御(駆動制御)が実行される。
レーザー光線検出機器12には、レーザー光線検出機器12の駆動を制御するための制御システム14が電気的に接続されている。なお、制御システム14は、レーザー光線検出機器12に内蔵されていてもよいし、レーザー光線検出機器12に対して有線により電気的に接続されていてもよい。
制御システム14は、人体Mの異常の有無を判定するCPU(異常判別手段)14Aと、正常である人体で反射したレーザー光線Lの周波数に関する情報を記憶したROM(あるいはRAM)14B(周波数記憶手段)と、レーザー光線検出機器12や発信装置16に対して信号を出力したり、レーザー光線検出機器12からの信号を受信するための信号送受信部14Cと、を有している。
ROM14Bには、正常である人体Mに照射して反射したレーザー光線Lの周波数が記憶されている。すなわち、正常である人体Mに照射して反射したレーザー光線Lの周波数の所定時間における変化のパターン(既定周波数パターン)が記憶されている。人体Mは、正常であるときも異常であるときも、生きている以上、心拍数、脈拍数が存在する。一般的には、正常である人体Mの脈拍数(心拍数)は、1分間に下限:50回から上限:100回までである。このような人体Mに対してレーザー光線Lを照射すると、照射対象である人体Mの皮膚や照射部は、心拍数、脈拍数に応じた微振動を繰り返しているため、レーザー光線Lが人体Mで反射すると、レーザー光線Lの照射対象が微小移動していることに他ならないから、ドップラー効果が発生する。このため、人体Mで反射したレーザー光線Lの周波数は、人体Mの心拍数、脈拍数などに対応して一定の割合で変化している。このように、正常である人体Mで反射したレーザー光線Lの周波数の所定時間における変化が既定周波数パターンとしてROM14Bに記憶されている。
特に、正常である人体Mについても、人体Mの脈拍数(心拍数)は、1分間に下限:50回から上限:100回までの範囲にわたる。このため、正常である人体Mで反射したレーザー光線Lの周波数の所定時間における変化の既定周波数パターンに対しても所定の幅を設ける必要がある。具体的には、人体Mで反射したレーザー光線Lの周波数の振幅値の大小の範囲に所定の許容値が設けられ、また、人体Mで反射したレーザー光線Lの周波数の変化の間隔に対しても所定の許容値が設けられた補正周波数パターンがROM14Bに記憶されている。
なお、ROM14Bには、正常である人体Mで反射したレーザー光線Lの周波数の既定周波数パターンに替えて、正常な人体Mの脈拍数(心拍数)の所定時間における変化(心拍数パターン)が記憶されていてもよい。この正常な心拍数パターンが、CPU14Aによりレーザー光線受光部12Bで受光したレーザー光線Lの周波数パターンと比較される。また、正常な人体Mの脈拍数(心拍数)の所定時間における変化(心拍数パターン)に対しても、所定の幅を設ける必要がある。具体的には、正常な人体Mの脈拍数(心拍数)の所定時間における変化の振幅値の大小の範囲に所定の許容値が設けられ、また、正常な人体Mの脈拍数(心拍数)の所定時間における変化の間隔に対しても所定の許容値が設けられた補正心拍数パターンが、ROM14Bに記憶されている。
CPU14Aは、レーザー光線受光部12Bで受光したレーザー光線Lの周波数と、ROM14Bに記憶された正常である人体Mに照射して反射したレーザー光線Lの周波数と、に基づいて、人体Mの異常の有無を判定する。具体的には、人体Mに対して所定の時間だけレーザー光線Lを照射し続けると、人体Mで反射したレーザー光線Lの周波数は、人体Mの脈拍数(脈拍の状態)に応じて変化する(周波数パターン)。レーザー光線受光部12Bで受光したレーザー光線Lの周波数の所定時間における変化と、正常である人体で反射したレーザー光線Lの周波数の所定時間における変化(既定値、既定周波数パターン)と、を比較することにより、人体Mの異常の有無を判定することができる。例えば、レーザー光線受光部12Bで受光したレーザー光線の周波数の所定時間における変化の間隔が規定値よりも短いときや長いときには、正常であるときの脈拍数(心拍数)よりも現在の脈拍数(心拍数)が早くなったり、遅くなったりしているため、人体Mの異常が有りと判定する。一方、レーザー光線受光部12Bで受光したレーザー光線Lの周波数の所定時間における変化の間隔が規定値と略同じ長さの場合には、正常であるときの脈拍数(心拍数)と現在の脈拍数(心拍数)とが略同じであるため、人体Mの異常が無しと判定する。一例として、正常である人体Mの脈拍数(心拍数)は、1分間に下限:50回から上限:100回までである。そして、レーザー光線受光部12Bで受光したレーザー光線Lの周波数の所定時間における変化の間隔が1分間に下限:50回を下回ったり、上限:100回を上回ったりすると、人体Mに異常があることになり、下限:50回から上限:100回までの範囲であれば、人体Mに異常がないことになる。このように、レーザー光線受光部12Bで受光したレーザー光線Lの周波数パターンと、ROM14Bに予め記憶されたレーザー光線Lの既定周波数パターンと、を比較して、現在の人体Mの異常の有無が判定される。
特に、CPU14Aは、レーザー光線受光部12Bで受光したレーザー光線Lの周波数パターンと、ROM14Bに記憶されている補正周波数パターンと、を比較して、人体Mの異常の有無を判定することにより、正常である人体Mがたまたまその日にとった行動や調子(例えば、運動後や入浴後の脈拍数や心拍数などは、安静にしている状態のそれらと異なるものとなる)によって変動が生じている場合も考慮して、人体Mの異常の有無を判定することができる。このように、人体Mの個人差や環境変化なども考慮して人体Mの異常の有無を判定することにより、正常である人体Mに対して、異常有りと誤認することを防止できる。
CPU14Aは、レーザー光線受光部12Bで受光したレーザー光線Lの周波数パターンと、正常な人体Mの脈拍数(心拍数)の所定時間における変化(心拍数パターン)と比較して異常の有無を判定してもよい。この場合も、補正心拍数パターンを考慮して、人体Mの異常の有無を判定することが好ましい。
信号送受信部14Cは、レーザー光線検出機器12を駆動するための制御信号をレーザー光線検出機器12に対して出力する。また、レーザー光線検出機器12から出力された信号を受信する。ここで、レーザー光線検出機器12から出力された信号には、レーザー光線受光部12Bで受光したレーザー光線Lの周波数パターンを特定した信号が該当する。また、信号送受信部14Cは、CPU14Aにより人体Mの異常が有ると判定された場合に、発信装置16に対して異常を報知するための信号を出力する。
発信装置16は、無線又は有線により外部の通信装置18に対して通信できる装置である。具体的には、発信装置16は、外部の電話装置を呼び出すための電話装置(例えば、固定電話、携帯電話など)が該当する。この場合には、外部の通信装置18、電話装置(例えば、固定電話、携帯電話など)になる。このように、発信装置16と外部の通信装置18のそれぞれに電話装置を適用することにより、発信装置16から外部の通信装置18に対して呼び出し、外部に対して人体Mの異常有りを知らせることができる。この場合、有線電話でも無線電話でもよい。また、発信装置16がインターネット接続可能な端末装置でもよい。この場合には、外部の通信装置18は、インターネット接続可能な端末装置になる。このように、発信装置16と外部の通信装置18のそれぞれに端末装置を適用することにより、例えば、インターネットを経由した電子メールの送受信で外部に対して人体Mの異常有りを知らせることができる。
次に、人体異常判別装置10の設置場所として、居住部屋である天井に設けることが好ましい。天井に人体異常判別装置10を設けることにより、人目を避けた位置となって設置者に不快感を与えることがない。また、天井という高い部位に人体異常判別装置10を設けることにより、設置者が部屋のどの場所にいても、レーザー光線Lを照射させることができ、人体Mの異常の有無を判定することができる。
また、外部の通信装置18は、例えば、病院の内部、身内の自宅などに設けることが好ましい。発信装置16からの報知により、医師や身内に異常であることを早急に知らせることができ、救急車の手配をしたり、早期に治療することにより、設置者の生命を危険から救うことが可能になる。
次に、本発明の第1実施形態の人体異常判別装置10を用いた人体異常判別処理について説明する。
図3に示すように、先ず、レーザー光線検出器12のレーザー光線出射部12Aからレーザー光線Lが出射される(S100)。これにより、人体Mの肌部にレーザー光線Lが照射する。このとき、出射されるレーザー光線Lの波長は900nm以上1100nm以下であるため、人体Mに不快感や悪影響を及ぼすことがない。
人体Mに照射されたレーザー光線Lは、人体Mの肌部や皮膚で反射される(S110)人体Mの肌部や皮膚で反射したレーザー光線Lがレーザー光線受光部12Bで受光される(S120)。ここで、上述した通り、人体Mの肌部や皮膚は、鼓動、血液の流れなどの生理現象により微小振動を繰り返しているため、光源であるレーザー光線出射部12Aと人体Mの照射部位との相対距離が変化している。このため、人体Mにレーザー光線Lが照射すると、ドップラー効果が発生して、人体Mの肌部や皮膚に照射する直前のレーザー光線の周波数と、人体Mの肌部や皮膚で反射したレーザー光線Lの周波数が異なるものになる。レーザー光線受光部12Bでレーザー光線Lを所定時間にわたって受光し続けることにより、レーザー光線受光部12Bで受光したレーザー光線Lの周波数の変化(周波数パターン)を特定することができる(S130)。なお、レーザー光線受光部12Bで受光したレーザー光線Lの周波数の変化(周波数パターン)を特定処理は、レーザー光線受光部12BにCPUを内蔵して実行してもよいし、制御システム14のCPU14A側で実行してもよい。受光したレーザー光線Lの周波数の変化(周波数パターン)は、レーザー光線検出器12の信号送受信部12Cから制御システム10に対して出力される。
レーザー光線受光部12Bで受光したレーザー光線Lの周波数の変化(周波数パターン)を特定した後、制御システム14のCPU14Aにより、人体Mの異常の有無が判定される(S140)。この判定方法(原理)については、既に上述した通りであり、ROM14Bに記憶されたレーザー光線Lの既定周波数パターンと比較してCPU14Aにより検討される。
この結果、人体Mの異常有りと判定された場合(S140:YES)には、制御システム14の信号送受信部14Cから発信装置16に対して報知する指示を示した報知信号が出力される(S150)。そして、報知信号を受けて、外部の通信装置18に対する報知処理が発信装置16により実行される(S160)。具体的には、発信装置16は、外部の通信装置18に対して、電話により、人体異常の緊急事態であることを示す内容の通信をしたり、インターネットを利用した電子メールの送信により人体異常の緊急事態であることを報知する。なお、発信装置16には、外部の通信装置18と電話通信した際に発声する音声(例えば、「人体に異常あり。早急にきてください。」など)のデータをROM14Bなどに記憶させておくことが好ましい。また、発信装置16には、外部の通信装置18と電子メールで通信した際に送信するためのコンテンツ(例えば、「人体に異常あり。早急にきてください。」など)のテキストデータを記憶させておくことが好ましい。
発信装置16には、警告音を出力するためのスピーカが設けられていてもよい。発信装置16にスピーカを設けることにより、人体Mに異常がある場合に、スピーカから警告音が出力される。これにより、共同で生活する人や近所に住んでいる人に対して、異常があることを知らせることができる。例えば、1つの家に複数人で生活している場合でも、誰かに異常があると判定されれば、警告音が出力されるため、他の人に知らせることができる。また、一人暮らしの場合でも、周辺近所の人に異常であることを報知することができ、救急車の手配や早期の治療も可能になる。
なお、本発明は、人体Mの脈拍数、心拍数、呼吸数に基づいて、人体Mの異常の有無を判別する構成であるため、特に、人体Mの心臓の機能の異常の有無を判別することができる。
以上のように、本発明の第1実施形態によれば、レーザー光線Lを利用して人体Mの異常の有無を判別することになるため、人体Mに対して物体が非接触の状態を維持して、人体Mの異常の有無を判別することができる。特に、レーザー光線Lを利用するため、人体Mと人体異常判別装置10とが3m(メートル)以上離れていても、人体Mの異常の有無を判別することができる。そして、正常である人体Mで反射したレーザー光線Lの周波数パターンと比較して、異常の有無を検討することにより、人体Mの異常の有無を容易に判別することができる。人体Mの異常がある場合には、外部の通信装置18に緊急事態を報知することにより、設置者を早期に治療することができ、生命の危険から救うことが可能になる。なお、設置者が就寝中であるときも、人体Mの皮膚や肌部にレーザー光線Lを照射することにより、脈拍数から人体Mの異常の有無を判定することができる。
また、正常である人体Mで反射したレーザー光線Lの周波数パターンに所定の許容範囲をもたせた補正周波数パターンをROM14Bに記憶させておき、この補正周波数パターンと比較して、人体Mの異常の有無を判定することにより、正常である人体Mのわずかな誤差を考慮して、人体Mの異常の有無を判定することができる。これにより、人体Mの異常の有無の判定において、正常である人に対して異常であると判定してしまう誤認(誤判定)を防止できる。
また、本実施形態では、ビデオカメラなどで設置者を録画しているわけではないので、設置者は人に見られている不快感を持つことがない。
なお、第1実施形態では、設置者の皮膚や肌部にレーザー光線Lを照射して、ここで反射したレーザー光線Lの周波数の変化に基づいて、人体Mの異常の有無を判定する構成を説明したが、レーザー光線を照射する部位として、設置者の衣服や布団などでもよい。
すなわち、衣服や布団は、設置者の呼吸(呼吸数)に合わせて、腹部が振幅し、その腹部の振幅の影響を受けて、同様に振幅(振動)している状態になっている。このため、微小振動している皮膚と同じように、ドップラー効果が発生するため、衣服や布団にレーザー光線Lを照射すると、衣服や布団で反射したレーザー光線Lの周波数が、照射する前のレーザー光線Lの周波数と異なるようになる。
そして、ROM14Bには、正常あるときの設置者の衣服や布団で反射したレーザー光線Lの周波数パターンが記憶されており、受光したレーザー光線Lの周波数パターンと比較することにより、人体Mの異常の有無を容易に判定することができる。
このように、就寝中や衣服を着ている場合でも、人体Mの異常の有無を判定することが可能になる。特に、就寝中における異常を判別することにより、就寝中に発生する生命の危険から救うことができる。このように、設置者が布団に潜り込んでいる場合や、衣服で肌が露出していない場合でも、布団や衣服にレーザー光線Lを照射することにより、人体Mの異常の有無を容易に判別することができる。
10 人体異常判別装置
12A レーザー光線出射部(レーザー光線照射手段)
12B レーザー光線受光部(レーザー光線受光手段)
14A CPU(異常判別手段)
14B ROM(周波数記憶手段)
16 発信装置(通信報知手段)
18 通信装置(通信機器)
L レーザー光線
M 人体

Claims (5)

  1. 人体に対してレーザー光線を照射して人体の異常の有無を判別する人体異常判別装置であって、
    前記レーザー光線を人体に対して照射するレーザー光線照射手段と、
    人体で反射した前記レーザー光線を受光するレーザー光線受光手段と、
    前記レーザー光線受光手段で受光した前記レーザー光線の周波数に基づいて人体の異常の有無を判別する異常判別手段と、
    を有することを特徴とする人体異常判別装置。
  2. 正常である人体で反射した前記レーザー光線の周波数を記憶する周波数記憶手段を有し、
    前記異常判別手段は、前記レーザー光線受光手段で受光した前記レーザー光線の周波数と、前記周波数記憶手段に記憶された前記レーザー光線の周波数と、に基づいて、人体の異常の有無を判別することを特徴とする請求項1に記載の人体異常判別装置。
  3. 前記周波数記憶手段は、正常である人体で反射した前記レーザー光線の周波数に対して所定の範囲をもたせた正常周波数を記憶し、
    前記異常判別手段は、前記レーザー光線受光手段で受光した前記レーザー光線の周波数が前記正常周波数の範囲内であれば、人体の異常が無く、前記レーザー光線受光手段で受光した前記レーザー光線の周波数が前記正常周波数の範囲外であれば、人体の異常が有ると判定することを特徴とする請求項2に記載の人体異常判別装置。
  4. 前記異常判別手段が人体に異常有りと判定した場合に、人体に異常が有ることを外部に通信機器に報知する通信報知手段を備えたことを特徴とする請求項1乃至3のいずれか1項に記載の人体異常判別装置。
  5. 前記レーザー光線の波長は、900nm以上1100nm以下であることを特徴とする請求項1乃至4のいずれか1項に記載の人体異常判別装置。
JP2009080523A 2009-03-27 2009-03-27 人体異常判別装置 Expired - Fee Related JP4338770B1 (ja)

Priority Applications (1)

Application Number Priority Date Filing Date Title
JP2009080523A JP4338770B1 (ja) 2009-03-27 2009-03-27 人体異常判別装置

Applications Claiming Priority (1)

Application Number Priority Date Filing Date Title
JP2009080523A JP4338770B1 (ja) 2009-03-27 2009-03-27 人体異常判別装置

Publications (2)

Publication Number Publication Date
JP4338770B1 JP4338770B1 (ja) 2009-10-07
JP2010231663A true JP2010231663A (ja) 2010-10-14

Family

ID=41253434

Family Applications (1)

Application Number Title Priority Date Filing Date
JP2009080523A Expired - Fee Related JP4338770B1 (ja) 2009-03-27 2009-03-27 人体異常判別装置

Country Status (1)

Country Link
JP (1) JP4338770B1 (ja)

Cited By (1)

* Cited by examiner, † Cited by third party
Publication number Priority date Publication date Assignee Title
JP2014514113A (ja) * 2011-04-21 2014-06-19 コーニンクレッカ フィリップス エヌ ヴェ 人のバイタルサイン測定のためのデバイス及び方法

Families Citing this family (1)

* Cited by examiner, † Cited by third party
Publication number Priority date Publication date Assignee Title
CN116726405A (zh) * 2023-06-01 2023-09-12 固安翌光科技有限公司 一种光疗装置

Citations (14)

* Cited by examiner, † Cited by third party
Publication number Priority date Publication date Assignee Title
JPH034207B2 (ja) * 1987-03-02 1991-01-22 Goro Matsumoto
JPH0471905U (ja) * 1990-10-31 1992-06-25
JP2000060812A (ja) * 1998-08-18 2000-02-29 Hiroshi Matsumoto 冠状動脈病変診断装置および診断方法
JP2000083927A (ja) * 1998-09-11 2000-03-28 Nippon Avionics Co Ltd 非接触式心肺機能監視装置
JP2000166880A (ja) * 1998-12-02 2000-06-20 Nippon Colin Co Ltd 体表面変位検出装置
JP2000217802A (ja) * 1999-01-28 2000-08-08 Japan Science & Technology Corp 検体の胸郭内の空気の流れの測定法およびその装置
JP2002159453A (ja) * 2000-11-27 2002-06-04 Matsushita Electric Works Ltd 人体異常検知器
JP2002360522A (ja) * 2001-06-13 2002-12-17 Japan Science & Technology Corp 独居老人安全生活支援装置
JP2002372593A (ja) * 2001-06-14 2002-12-26 Matsushita Electric Ind Co Ltd 目覚まし装置
JP2003085679A (ja) * 2001-07-03 2003-03-20 Amenitex Inc 車椅子着座人異常検知装置
JP2005270570A (ja) * 2004-03-26 2005-10-06 Canon Inc 生体情報モニタ装置
JP2006280615A (ja) * 2005-03-31 2006-10-19 Sumitomo Osaka Cement Co Ltd 状態解析装置及びソフトウエアプログラム
JP2008513145A (ja) * 2004-09-21 2008-05-01 ディジタル シグナル コーポレイション 生理学的機能を遠隔的にモニターするシステムおよび方法
JP2009060989A (ja) * 2007-09-05 2009-03-26 Kitakyushu Foundation For The Advancement Of Industry Science & Technology 呼吸監視方法及び装置

Patent Citations (14)

* Cited by examiner, † Cited by third party
Publication number Priority date Publication date Assignee Title
JPH034207B2 (ja) * 1987-03-02 1991-01-22 Goro Matsumoto
JPH0471905U (ja) * 1990-10-31 1992-06-25
JP2000060812A (ja) * 1998-08-18 2000-02-29 Hiroshi Matsumoto 冠状動脈病変診断装置および診断方法
JP2000083927A (ja) * 1998-09-11 2000-03-28 Nippon Avionics Co Ltd 非接触式心肺機能監視装置
JP2000166880A (ja) * 1998-12-02 2000-06-20 Nippon Colin Co Ltd 体表面変位検出装置
JP2000217802A (ja) * 1999-01-28 2000-08-08 Japan Science & Technology Corp 検体の胸郭内の空気の流れの測定法およびその装置
JP2002159453A (ja) * 2000-11-27 2002-06-04 Matsushita Electric Works Ltd 人体異常検知器
JP2002360522A (ja) * 2001-06-13 2002-12-17 Japan Science & Technology Corp 独居老人安全生活支援装置
JP2002372593A (ja) * 2001-06-14 2002-12-26 Matsushita Electric Ind Co Ltd 目覚まし装置
JP2003085679A (ja) * 2001-07-03 2003-03-20 Amenitex Inc 車椅子着座人異常検知装置
JP2005270570A (ja) * 2004-03-26 2005-10-06 Canon Inc 生体情報モニタ装置
JP2008513145A (ja) * 2004-09-21 2008-05-01 ディジタル シグナル コーポレイション 生理学的機能を遠隔的にモニターするシステムおよび方法
JP2006280615A (ja) * 2005-03-31 2006-10-19 Sumitomo Osaka Cement Co Ltd 状態解析装置及びソフトウエアプログラム
JP2009060989A (ja) * 2007-09-05 2009-03-26 Kitakyushu Foundation For The Advancement Of Industry Science & Technology 呼吸監視方法及び装置

Cited By (2)

* Cited by examiner, † Cited by third party
Publication number Priority date Publication date Assignee Title
JP2014514113A (ja) * 2011-04-21 2014-06-19 コーニンクレッカ フィリップス エヌ ヴェ 人のバイタルサイン測定のためのデバイス及び方法
US10178957B2 (en) 2011-04-21 2019-01-15 Koninklijke Philips N.V. Device and method for vital sign measurement of a person

Also Published As

Publication number Publication date
JP4338770B1 (ja) 2009-10-07

Similar Documents

Publication Publication Date Title
US10743115B2 (en) Hearing device and monitoring system thereof
US20250009227A1 (en) Patient monitoring device with remote alert
US12310716B2 (en) Fall prediction system including an accessory and method of using same
RU2669619C2 (ru) Система и способ определения показателей жизненно важных функций организма
CN112136162B (zh) 用于将紧急情况消息传达给护理提供者的腕戴式医学警报设备
JPWO2016052747A1 (ja) 排便予測装置及び排便予測方法
CN117355251A (zh) 婴幼儿生理状态确定设备
JPWO2018185904A1 (ja) 排尿予測装置及び排尿予測方法
CN117547234A (zh) 一种耳后健康监测助听装置
CN102822878B (zh) 防止徘徊的设备和方法
JP4338770B1 (ja) 人体異常判別装置
JP2011234830A (ja) 生体状況判定装置、除細動器、生体監視装置、及び生体監視システム
JP2010158289A (ja) 安静誘導付き血圧測定装置
KR101003837B1 (ko) 무호흡/저호흡 경보장치 및 경보시스템
JP4460316B2 (ja) 生体情報計測装置及び健康管理システム
ES2967807T3 (es) Sistema de atención médica a distancia
JP2008188104A (ja) パルスオキシメーターを使用した遠隔ケアシステム、その方法およびプログラム
JP2001190504A (ja) 在宅患者などのための救急自動通報装置
JP2008102893A (ja) 生体振動センサ通報装置
JP2004127027A (ja) 情報管理システム
KR20170066893A (ko) 음성통신 및 유선통신을 이용하는 전자파 프리 기반 신체 및 거동정보 수집제공 시스템
KR20190099154A (ko) 헬스 케어 시스템
TW202117680A (zh) 看護通報系統與方法
KR20200068859A (ko) 스마트 베개, 그리고 스마트 베개 기반의 환자 응급 조치 제공 시스템 및 방법
TWM527313U (zh) 具有監測呼吸頻率功能之頸部穿戴件

Legal Events

Date Code Title Description
TRDD Decision of grant or rejection written
A01 Written decision to grant a patent or to grant a registration (utility model)

Free format text: JAPANESE INTERMEDIATE CODE: A01

Effective date: 20090630

A01 Written decision to grant a patent or to grant a registration (utility model)

Free format text: JAPANESE INTERMEDIATE CODE: A01

A61 First payment of annual fees (during grant procedure)

Free format text: JAPANESE INTERMEDIATE CODE: A61

Effective date: 20090630

R150 Certificate of patent or registration of utility model

Free format text: JAPANESE INTERMEDIATE CODE: R150

FPAY Renewal fee payment (event date is renewal date of database)

Free format text: PAYMENT UNTIL: 20120710

Year of fee payment: 3

FPAY Renewal fee payment (event date is renewal date of database)

Free format text: PAYMENT UNTIL: 20120710

Year of fee payment: 3

FPAY Renewal fee payment (event date is renewal date of database)

Free format text: PAYMENT UNTIL: 20130710

Year of fee payment: 4

FPAY Renewal fee payment (event date is renewal date of database)

Free format text: PAYMENT UNTIL: 20130710

Year of fee payment: 4

FPAY Renewal fee payment (event date is renewal date of database)

Free format text: PAYMENT UNTIL: 20150710

Year of fee payment: 6

R250 Receipt of annual fees

Free format text: JAPANESE INTERMEDIATE CODE: R250

R250 Receipt of annual fees

Free format text: JAPANESE INTERMEDIATE CODE: R250

R250 Receipt of annual fees

Free format text: JAPANESE INTERMEDIATE CODE: R250

LAPS Cancellation because of no payment of annual fees