JP2010146888A - コネクタ用固定具 - Google Patents

コネクタ用固定具 Download PDF

Info

Publication number
JP2010146888A
JP2010146888A JP2008323848A JP2008323848A JP2010146888A JP 2010146888 A JP2010146888 A JP 2010146888A JP 2008323848 A JP2008323848 A JP 2008323848A JP 2008323848 A JP2008323848 A JP 2008323848A JP 2010146888 A JP2010146888 A JP 2010146888A
Authority
JP
Japan
Prior art keywords
connector
fixing
cable
mounting
fixed
Prior art date
Legal status (The legal status is an assumption and is not a legal conclusion. Google has not performed a legal analysis and makes no representation as to the accuracy of the status listed.)
Granted
Application number
JP2008323848A
Other languages
English (en)
Other versions
JP5096305B2 (ja
Inventor
Takashi Shiroyanagi
孝 白▲柳▼
Current Assignee (The listed assignees may be inaccurate. Google has not performed a legal analysis and makes no representation or warranty as to the accuracy of the list.)
OHM Electric Co Ltd
Original Assignee
OHM Electric Co Ltd
Priority date (The priority date is an assumption and is not a legal conclusion. Google has not performed a legal analysis and makes no representation as to the accuracy of the date listed.)
Filing date
Publication date
Application filed by OHM Electric Co Ltd filed Critical OHM Electric Co Ltd
Priority to JP2008323848A priority Critical patent/JP5096305B2/ja
Publication of JP2010146888A publication Critical patent/JP2010146888A/ja
Application granted granted Critical
Publication of JP5096305B2 publication Critical patent/JP5096305B2/ja
Active legal-status Critical Current
Anticipated expiration legal-status Critical

Links

Images

Landscapes

  • Clamps And Clips (AREA)
  • Details Of Connecting Devices For Male And Female Coupling (AREA)
  • Connector Housings Or Holding Contact Members (AREA)
  • Installation Of Indoor Wiring (AREA)

Abstract

【課題】コネクタとケーブルを固定することができ、ケーブルやコネクタに外力が加わってもケーブルから引き出されコネクタに接続されている電線部分に曲げ応力や引張り応力が生じないようにする。
【解決手段】コネクタ用固定具1は、コネクタ固定部11と、このコネクタ固定部11の両端部に位置する一対のケーブル固定部12、12および本体取付用固定部20を一体に有し、本体取付用固定部20が基板2の取付面2aに止め具6によって固定される。ケーブル固定部11の上面は、コネクタ載置面14を形成し、結束バンド9Aによってコネクタ4A、4Bが固定されている。ケーブル固定部12、12の上面は、ケーブル固定面30を形成し、結束バンド9Bによってケーブル3A、3Bの端部がそれぞれ固定されている。
【選択図】 図2

Description

本発明は、コネクタ用固定具に関し、さらに詳しくはケーブルどうしを電気的に接続するコネクタをケーブルとともに筐体や基板などの装置側取付部に固定するためのコネクタ用固定具に関するものである。
電気機器などにおいてケーブル(電線ケーブル)どうしを接続するコネクタを電気機器の筐体や基板などの装置側取付部に固定するコネクタ用固定具としては、例えば特許文献1、2に開示されているコネクタ用固定具が知られている。
特許文献1に開示されているコネクタ用固定具は、コネクタを取付方向に係止する第1の係止部と、コネクタを取外方向に係止する第2の係止部と、コネクタを取付方向および取外方向と直角方向に係止する第3の係止部と、コネクタを取付方向に係止する第4の係止部とを設けることによりコネクタを確実に固定し、コネクタに加えられる取付方向への力を第1および第4の係止部に分担させることによって力が第1の係止部に集中することを防止するとともに、第3の係止部が変形することを防止するようにしている。
特許文献2に記載されているコネクタ用固定具は、抜け止め構造を持たない雄型コネクタと雌型コネクタの離脱を防止するためのもので、一方のコネクタの側部に沿って略並行に配設されるとともに、この一方のコネクタの嵌合方向前方に突出して設けられ、他方のコネクタに、その嵌合方向において係合、離脱する一対の係合片と、この一対の係合片を相互に接近させるように付勢し、他方のコネクタに係合させる付勢部材とを備えている。
この他、コネクタおよびケーブルの接続部を覆い保護するようにしたコネクタカバー(例えば、特許文献3参照)や、ケーブルを固定するケーブル用固定具(例えば、特許文献4)も知られている。
特開平7−226265号公報 特開2000−173713号公報 特開2007−018894号公報 特開2003−224377号公報
上記したように従来のコネクタ用固定具は、単にコネクタのみを固定しているため、電気機器を移動させたり、配線時にケーブルを変形させて引き回すと、ケーブルに外力が加わる。このため、ケーブルから引き出されコネクタに接続されている電線部分に曲げ応力や引張り応力が生じ、このような応力が繰り返し生じると、電線が金属疲労により断線したり、コネクタのピンが接触不良するおそれがあった。
そこで、ケーブルについても固定する必要がある場合は、ケーブル用固定具を別途用意して固定する必要がある。しかし、そうすると2種類の固定具が必要で、部品点数、取付工数等が増加するという問題が生じる。
コネクタカバーによってコネクタとケーブルを固定保持する構造では、コネクタの大きさや形状とケーブルの径に適合した専用のコネクタカバーを多種類用意する必要があるため、その製造、管理が煩わしく、高価になるという問題があった。
本発明は上記した従来の問題を解決するためになされたもので、その目的とするところは、コネクタとケーブルの双方を固定することができ、ケーブルやコネクタに外力が加わってもケーブルから引き出されコネクタに接続されている電線部分に曲げ応力や引張り応力が生じず、電線の断線およびコネクタのピンの接触不良を防止するようにしたコネクタ用固定具を提供することにある。また、コネクタの大きさ、形状やケーブルの径が異なる場合でも対応できる汎用性を有するコネクタ用固定具を提供することにある。
上記目的を達成するために本発明は、コネクタ固定部と、このコネクタ固定部の両端部に位置する一対のケーブル固定部および本体取付用固定部を一体に有し、前記コネクタ固定部は、平板状に形成され、上面にコネクタ載置面を形成し、下面にコネクタを固定するための結束バンドの移動を規制するバンド規制子が設けられ、前記ケーブル固定部は、前記コネクタ固定部より上方に突出する突起で構成され、その上面にケーブル固定面を形成し、このケーブル固定面の下側にケーブルを固定するための結束バンドが挿通される挿通孔を設けたものである。
また、本発明は、上記発明において、前記コネクタ固定部の両端部に、前記ケーブル固定部をコネクタ載置面から離間させる延在部を一体に設けたものである。
さらに、本発明は、上記発明において、前記本体取付用固定部が、前記延在部またはケーブル固定部の側縁で幅方向中心線から幅方向にずれた位置に一体に突設された取付片を備えているものである。
本発明においては、コネクタ固定部とケーブル固定部とを備えているので、コネクタとケーブルとを1つの固定具と市販の結束バンドとによって固定することができるから、低廉なコネクタ用固定具を提供できる。また、コネクタの大きさや形状およびケーブルの径が異なる場合であっても、一種類のコネクタ用固定具で対応できるから、工事費等の低減が図れる。コネクタ固定部のバンド規制子は、結束バンドの遊動を規制する。ケーブル固定部の挿通孔は、結束バンドの取付部を構成する。
コネクタ固定部の両端部に設けられた延在部の上方空間は、ケーブルから引き出されコネクタに接続される電線部分の配線引き回し空間を形成する。
本体取付用固定部の取付片は、延在部またはケーブル固定部の側縁で幅方向中心線から幅方向にずれた位置に突設されているので、この取付片を装置側取付部に固定手段によって固定する際、固定手段とコネクタまたはケーブルが干渉せず、コネクタ用固定具の取付けを容易にする。
以下、本発明を図面に示す実施の形態に基づいて詳細に説明する。
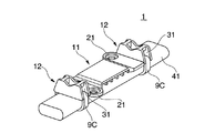
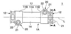
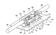
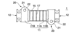
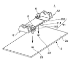
図1は本発明に係るコネクタ用固定具の使用態様を示し、コネクタとケーブルを結束バンドで固定する直前の状態を示す外観斜視図、図2は同じくコネクタとケーブルを結束バンドで固定した状態を示す外観斜視図、図3はコネクタ用固定具の外観斜視図、図4はコネクタ用固定具の平面図、図5はコネクタ用固定具の正面図、図6はコネクタ用固定具の底面図、図7は図4のA−A線断面図、図8はコネクタ用固定具を止め具によって基板に固定するときの様子を示す斜視図、図9はコネクタ用固定具を止めねじによって基板に固定するときの様子を示す外観斜視図、図10はコネクタ用固定具を結束バンドによって装置側取付部に固定した状態を示す外観斜視図である。
図1〜図7において、1はコネクタ用固定具、2はコネクタ用固定具1が取付けられる装置側取付部としての基板、3A、3Bはケーブル、4A、4Bは各ケーブル3A、3Bの一端から剥き出された電線部分5A、5Bにそれぞれ取付けられた雄型と雌型のコネクタで、これらのコネクタ4A、4Bは互いに接続され、コネクタ用固定具1にケーブル3A、3Bとともに固定されている。
ここで、図1、図2および図8に示す使用の形態においては、コネクタ用固定具1を基板2に固定するための固定手段として、市販品からなる2つの止め具6を用い、コネクタ用固定具1にコネクタ4A、4Bとケーブル3A、3Bを固定するための固定手段として、広く市販されている結束バンド(ケーブルバンド)9A、9B、9Cを用いた例を示している。
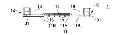
図1〜図7において、前記コネクタ用固定具1は、合成樹脂の成形によって一体に形成されたもので、本体(本体部)1Aと、この本体部1Aを基板2の取付面2aに固定するための本体取付用固定部20とを備えている。本体部1Aは、コネクタ固定部11と、このコネクタ固定部11の長手方向両端部にそれぞれ上方に向かって突設された略箱型の突起体からなる一対のケーブル固定部12、12とで構成されている。
前記コネクタ固定部11は、ケーブル3A、3Bの軸線方向に長い平板状に形成され、中央部がコネクタ4A、4Bの載置部11Aを形成し、その両側に前記ケーブル固定部12を載置部11Aから所要距離離間させる延在部11B、11Bが一体に設けられている。言い換えれば、コネクタ固定部11は、載置部11Aと、この載置部11Aの両側にそれぞれ延設された一対の延在部11B、11Bとからなり、各延在部11B、11Bの外側縁に前記ケーブル固定部12、12がそれぞれ一体に突設されたものである。
コネクタ固定部11の載置部11Aは、上面がコネクタ4A、4Bが載置されるコネクタ載置面14を形成し、下面が延在部11B、11Bの下面およびケーブル固定部12、12の下面より上方に位置することにより、基板2にコネクタ用固定具1を取付けたとき、その取付面2aから離間しており、これにより基板2の取付面2aと載置部11Aの下面15との間にコネクタ固定用の結束バンド9Aを挿通させるための挿通空間16が形成されている。また、載置部11Aの下面15には、前記結束バンド9Aの幅方向の移動を規制する複数のバンド規制子17が、コネクタ固定部11の長手方向に結束バンド9Aの幅と略等しい間隔を保って平行に垂設されている。なお、バンド規制子17は、連続した突条に形成したが、要は結束バンド9Aの遊動を規制するためのものであるから、連続した突条に限らず複数の突子であってもよい。
前記延在部11B、11Bは、それぞれ平板状に形成されてはいるが、上面が載置部11Aのコネクタ載置面14より一段低く形成され、下面が基板2の取付面2aに接触している。これらの延在部11B、11Bの上方空間は、ケーブル3A、3Bの絶縁被覆から剥き出されてコネクタ4A、4Bにそれぞれ接続される電線部分5A、5Bの配線引き回し空間18(図5)をそれぞれ形成している。
また、各延在部11B、11Bには、前記本体取付用固定部20がそれぞれ一体に突設されている。この本体取付用固定部20は、各延在部11B、11Bの幅方向側縁でかつ互いに反対側の側縁にそれぞれ突設された平面視半円状の取付片21と、この取付片21の中央に形成された挿通孔22(図3)を有し、前記挿通孔22および基板2に設けた挿通孔23(図8)に前記止め具6を挿通して挿通孔23に係止することにより、コネクタ用固定具1が基板2に着脱可能に固定される。取付片21を延在部11Bの幅方向側縁に突設した理由は、コネクタ用固定具1の幅方向における中心線L(図4)から取付片21を幅方向にずらすことにより、止め具6を挿通孔22、23に挿通するとき、止め具6がコネクタ4A、4Bやケーブル3A、3Bの電線部分5A、5Bに当たらないようにするためである。この場合、本実施の形態においては、2つの取付片21を各延在部11B、11Bの互いに反対側の幅方向側縁にそれぞれ突設した例を示したが、これに限らず、コネクタ用固定具1の大きさによっては、各延在部11B、11Bの両側縁にそれぞれ1つずつ、合計4つの取付片21を突設してもよい。
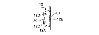
前記ケーブル固定部12は、図3に示すようにコネクタ用固定具1の長手方向に所定の間隔を保って平行に対向する左右一対の側壁板12A、12Bと、これらの側壁板12A、12Bの上端を互いに連結する前後一対の連結片12C、12Dと、同じく側壁板12A、12Bの下端部を連結する底板12Eとで前後に開放する側面視台形の箱型突起で構成されている。側壁板12A、12Bの上面中央部は、ケーブル3A(3B)の端部を固定するためのケーブル固定面30を形成している。ケーブル固定面30は、前後一対の連結片12Cと12Dの間の部分で、V字状の面からなり、これによりケーブル3A(3B)を位置決めし、その軸線をコネクタ用固定具1の幅方向中心線L(図4)と一致させるようにしている。ケーブル固定面30の下側には、ケーブル固定用の結束バンド9Bが挿通される挿通孔31が設けられている。この挿通孔31は、側壁板12A、12B、連結片12C、12Dおよび底板12Eによって囲まれた穴で構成することにより、コネクタ用固定具1の前後に開放している。
このような構造からなるコネクタ用固定具1において、ケーブル3A、3Bおよびコネクタ4A、4Bを固定する際には、第1の方法として先ずコネクタ用固定具1を基板2に固定する。すなわち、コネクタ用固定具1を基板2の取付面2aに載置し、取付片21の挿通孔22を基板2に設けた挿通孔23に一致させる。そして、止め具6を挿通孔22、23に挿入して挿通孔23に係止することにより、コネクタ用固定具1を基板2の取付面2aに固定する。
この場合、止め具6の代わりに止めねじを用いることも可能であり、その場合は図9に示すように止めねじ40を同じくコネクタ用固定具1の挿通孔22に挿通し、基板2に設けたねじ孔または基板2の挿通孔に挿通した後、基板2が固定されているフレームに設けたねじ孔にねじ込むことにより、コネクタ用固定具1を基板2に固定すればよい。
また、止め具6や止めねじ40の代わりにリベットや結束バンドによって固定することも可能である。リベットを用いて固定する場合は、止め具6や止めねじ40と同様にコネクタ用固定具1と基板2の挿通孔22、23にリベットを挿通してその先端部をかしめればよい。
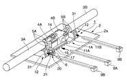
結束バンドを用いて固定する場合は、図10に示すように、コネクタ用固定具1が取付けられる装置側取付部が棒状や型材等からなる固定部材41である場合に用いて好適である。このときは、結束バンド9Cを各ケーブル固定部12の挿通孔31に挿通してケーブル固定部12を固定部材41に結束すればよい。
コネクタ用固定具1の装置側取付部への取付が終了すると、ケーブル3A、3Bとコネクタ4A、4Bをコネクタ用固定具1に固定する。すなわち、ケーブル3A、3Bの固定に際しては、図1に示すようにケーブル3A、3Bの端部を各ケーブル固定部12のケーブル固定面30(図3)に載せて、結束バンド9Bを各ケーブル固定部12の挿通孔31に挿通した後、図2に示すように結束バンド9Bをケーブル3A、3Bの外周面に押し付けてケーブル固定部12に結束する。
同じくコネクタ4A、4Bを固定する際には、図1に示すようにコネクタ4A、4Bをコネクタ固定部11のコネクタ載置面14(図3)に載置する。そして、結束バンド9Aを載置部11Aの下方空間16に挿通してコネクタ4A、4Bの上方に導き、図2に示すように結束バンド9Aをコネクタ4A、4Bの接続部上面に押し付けて載置部11Aに結束する。
第2の方法としては、先にケーブル3A、3Bおよびコネクタ4A、4Bをコネクタ用固定具1に固定した後でコネクタ用固定具1を基板2等に固定する。
このように本発明においては、1つのコネクタ用固定具1によってコネクタ4A、4Bとケーブル3A、3Bを固定することができるため、部品点数、組立工数等を削減することができる。また、ケーブル3A、3Bとコネクタ4A、4Bを固定しているので、ケーブル3A、3Bやコネクタ4A、4Bに外力が加わってもケーブル3A、3Bから剥き出されコネクタ4A、4Bに接続されている電線部分5A、5Bに曲げ応力や引張り応力が生じることがなく、電線の断線やコネクタのピンのの接触不良を確実に防止することができる。
なお、上記した実施の形態においては、1本の結束バンド9Aによってコネクタ4A、4Bをコネクタ固定部11に固定した例を示したが、これに限らずコネクタ4A、4Bの大きさによっては複数本の結束バンド9Aによって固定してもよい。
また、本体取付用固定部20の取付片21は、延在部11Bの側縁に限らず、図4に二点鎖線で示すようにケーブル固定部12の一側縁にコネクタ用固定具1の幅方向中心線Lからずらして突設されるものであってもよい。
さらに、図2に二点鎖線50で示すようにコネクタ用固定具1にケーブル3A、3Bとコネクタ4A、4Bを固定した後、さらにカバーによってケーブル3A、3Bとコネクタ4A、4Bを被冠してもよく、このようなカバーを用いることにより、外観の体裁を良くすることができる。
本発明に係るコネクタ用固定具の使用の態様を示すコネクタとケーブルを結束バンドで固定する直前の状態を示す外観斜視図である。 同じくコネクタとケーブルを結束バンドで固定した状態を示す外観斜視図である。 コネクタ用固定具の外観斜視図である。 コネクタ用固定具の平面図である。 コネクタ用固定具の正面図である。 コネクタ用固定具の底面図である。 図4のA−A線断面図である。 コネクタ用固定具を止め具によって基板に固定するときの様子を示す斜視図である。 コネクタ用固定具を止めねじによって基板に固定するときの様子を示す外観斜視図である。 コネクタ用固定具を結束バンドによって装置側取付部に固定した状態を示す外観斜視図である。
符号の説明
1…コネクタ用固定具、1A…本体、2…基板、3A、3B…ケーブル、4A、4B…コネクタ、5A、5B…電線部分、6…止め具、9A〜9C…結束バンド、11…コネクタ固定部、11A…載置部、11B…延在部、12…ケーブル固定部、14…コネクタ載置面、17…バンド規制子、20…本体取付用固定部、21…取付片、22…挿通孔、30…ケーブル固定面、31…挿通孔。

Claims (3)

  1. コネクタ固定部と、このコネクタ固定部の両端部に位置する一対のケーブル固定部および本体取付用固定部を一体に有し、
    前記コネクタ固定部は、平板状に形成され、上面にコネクタ載置面を形成し、下面にコネクタを固定するための結束バンドの移動を規制するバンド規制子が設けられ、
    前記ケーブル固定部は、前記コネクタ固定部より上方に突出する突起で構成され、その上面にケーブル固定面を形成し、このケーブル固定面の下側にケーブルを固定するための結束バンドが挿通される挿通孔が設けられているコネクタ用固定具。
  2. 請求項1記載のコネクタ用固定具において、
    前記コネクタ固定部の両端部に、前記ケーブル固定部をコネクタ載置面から離間させる延在部が一体に設けられているコネクタ用固定具。
  3. 請求項2記載のコネクタ用固定具において、
    前記本体取付用固定部は、前記延在部またはケーブル固定部の側縁で幅方向中心線から幅方向にずれた位置に一体に突設された取付片を備えているコネクタ用固定具。
JP2008323848A 2008-12-19 2008-12-19 コネクタ用固定具 Active JP5096305B2 (ja)

Priority Applications (1)

Application Number Priority Date Filing Date Title
JP2008323848A JP5096305B2 (ja) 2008-12-19 2008-12-19 コネクタ用固定具

Applications Claiming Priority (1)

Application Number Priority Date Filing Date Title
JP2008323848A JP5096305B2 (ja) 2008-12-19 2008-12-19 コネクタ用固定具

Publications (2)

Publication Number Publication Date
JP2010146888A true JP2010146888A (ja) 2010-07-01
JP5096305B2 JP5096305B2 (ja) 2012-12-12

Family

ID=42567074

Family Applications (1)

Application Number Title Priority Date Filing Date
JP2008323848A Active JP5096305B2 (ja) 2008-12-19 2008-12-19 コネクタ用固定具

Country Status (1)

Country Link
JP (1) JP5096305B2 (ja)

Cited By (7)

* Cited by examiner, † Cited by third party
Publication number Priority date Publication date Assignee Title
JP2019153508A (ja) * 2018-03-05 2019-09-12 いすゞ自動車株式会社 コネクタの固定構造及びブラケット
JP2020511916A (ja) * 2017-02-27 2020-04-16 ノキア シャンハイ ベル カンパニー リミテッド ケーブルクランピング技術のための装置及び方法
WO2022190803A1 (ja) * 2021-03-09 2022-09-15 住友電装株式会社 コネクタブラケット及びワイヤハーネス
JP2022191774A (ja) * 2021-06-16 2022-12-28 コイズミ照明株式会社 コネクタ用アッセンブリ、及び照明器具
WO2023145409A1 (ja) * 2022-01-25 2023-08-03 住友電装株式会社 コネクタブラケット及びワイヤハーネス
EP4300739A3 (en) * 2022-07-01 2024-02-14 B/E Aerospace, Inc. System including connector bracket
US12548945B2 (en) 2022-07-01 2026-02-10 B/E Aerospace, Inc. System including connector bracket

Citations (6)

* Cited by examiner, † Cited by third party
Publication number Priority date Publication date Assignee Title
JPS569680U (ja) * 1979-07-02 1981-01-27
JPS5865777U (ja) * 1981-10-28 1983-05-04 株式会社フジクラ 固定用バンド付コネクタ
JPS6182383U (ja) * 1984-11-05 1986-05-31
JP2003224377A (ja) * 2002-01-29 2003-08-08 Ohm Denki Kk ケーブル保持具
JP2004079361A (ja) * 2002-08-20 2004-03-11 Japan Aviation Electronics Industry Ltd コネクタの抱え込み式取付構造
JP2005235443A (ja) * 2004-02-17 2005-09-02 Toyota Motor Corp コネクタの固定構造

Patent Citations (6)

* Cited by examiner, † Cited by third party
Publication number Priority date Publication date Assignee Title
JPS569680U (ja) * 1979-07-02 1981-01-27
JPS5865777U (ja) * 1981-10-28 1983-05-04 株式会社フジクラ 固定用バンド付コネクタ
JPS6182383U (ja) * 1984-11-05 1986-05-31
JP2003224377A (ja) * 2002-01-29 2003-08-08 Ohm Denki Kk ケーブル保持具
JP2004079361A (ja) * 2002-08-20 2004-03-11 Japan Aviation Electronics Industry Ltd コネクタの抱え込み式取付構造
JP2005235443A (ja) * 2004-02-17 2005-09-02 Toyota Motor Corp コネクタの固定構造

Cited By (11)

* Cited by examiner, † Cited by third party
Publication number Priority date Publication date Assignee Title
JP2020511916A (ja) * 2017-02-27 2020-04-16 ノキア シャンハイ ベル カンパニー リミテッド ケーブルクランピング技術のための装置及び方法
JP2019153508A (ja) * 2018-03-05 2019-09-12 いすゞ自動車株式会社 コネクタの固定構造及びブラケット
WO2022190803A1 (ja) * 2021-03-09 2022-09-15 住友電装株式会社 コネクタブラケット及びワイヤハーネス
JP2022137854A (ja) * 2021-03-09 2022-09-22 住友電装株式会社 コネクタブラケット及びワイヤハーネス
JP7501411B2 (ja) 2021-03-09 2024-06-18 住友電装株式会社 コネクタブラケット及びワイヤハーネス
JP2022191774A (ja) * 2021-06-16 2022-12-28 コイズミ照明株式会社 コネクタ用アッセンブリ、及び照明器具
WO2023145409A1 (ja) * 2022-01-25 2023-08-03 住友電装株式会社 コネクタブラケット及びワイヤハーネス
JP2023108252A (ja) * 2022-01-25 2023-08-04 住友電装株式会社 コネクタブラケット及びワイヤハーネス
JP7711598B2 (ja) 2022-01-25 2025-07-23 住友電装株式会社 コネクタブラケット及びワイヤハーネス
EP4300739A3 (en) * 2022-07-01 2024-02-14 B/E Aerospace, Inc. System including connector bracket
US12548945B2 (en) 2022-07-01 2026-02-10 B/E Aerospace, Inc. System including connector bracket

Also Published As

Publication number Publication date
JP5096305B2 (ja) 2012-12-12

Similar Documents

Publication Publication Date Title
JP5096305B2 (ja) コネクタ用固定具
CN102290755B (zh) 线束夹具
JP5958583B1 (ja) 電気コネクタ
US20170327061A1 (en) Wire harness attachment structure and wiring unit
CN104931736B (zh) 电流传感器和导电部件的装接结构
JP2005123120A (ja) 基板用コネクタ
JP6555028B2 (ja) ケーブル圧着端子実装体
US9991632B2 (en) Lock mechanism, connector and wire harness
JP2009146768A (ja) 電線ホルダ
JP2016009527A (ja) コネクタ
JP2015220919A (ja) 電線固定構造
CN103109418A (zh) 插入式连接器
CN105591212A (zh) 插座端子结构
JP2019110026A (ja) コネクタの取付構造
US20090183915A1 (en) Onboard interior lighting system
JP2008041268A (ja) ロック機構を備えたコネクタ
JP2017163717A (ja) 結束バンドおよびそれを用いたワイヤハーネスの固定構造
KR20090022961A (ko) 커넥터하우징
EP3671959B1 (en) Connector
KR20160054685A (ko) 케이블 레이스 웨이용 조인트
CN107834264B (zh) 布线装置、安装框架及布线装置系统
JP2002008766A (ja) コンセント
JP6448479B2 (ja) 保護カバー及び導電条体付電気コネクタと保護カバーの組立体
US7044766B2 (en) Automotive electrical connection box and method of assembling thereof
US20130309890A1 (en) Connector holding structure

Legal Events

Date Code Title Description
A621 Written request for application examination

Free format text: JAPANESE INTERMEDIATE CODE: A621

Effective date: 20110422

A521 Request for written amendment filed

Free format text: JAPANESE INTERMEDIATE CODE: A523

Effective date: 20110603

A977 Report on retrieval

Free format text: JAPANESE INTERMEDIATE CODE: A971007

Effective date: 20120828

TRDD Decision of grant or rejection written
A01 Written decision to grant a patent or to grant a registration (utility model)

Free format text: JAPANESE INTERMEDIATE CODE: A01

Effective date: 20120911

A01 Written decision to grant a patent or to grant a registration (utility model)

Free format text: JAPANESE INTERMEDIATE CODE: A01

A61 First payment of annual fees (during grant procedure)

Free format text: JAPANESE INTERMEDIATE CODE: A61

Effective date: 20120920

R150 Certificate of patent or registration of utility model

Ref document number: 5096305

Country of ref document: JP

Free format text: JAPANESE INTERMEDIATE CODE: R150

Free format text: JAPANESE INTERMEDIATE CODE: R150

FPAY Renewal fee payment (event date is renewal date of database)

Free format text: PAYMENT UNTIL: 20150928

Year of fee payment: 3

R250 Receipt of annual fees

Free format text: JAPANESE INTERMEDIATE CODE: R250

R250 Receipt of annual fees

Free format text: JAPANESE INTERMEDIATE CODE: R250

R250 Receipt of annual fees

Free format text: JAPANESE INTERMEDIATE CODE: R250