JP2010142874A - 部品の停止位置決め部材 - Google Patents

部品の停止位置決め部材 Download PDF

Info

Publication number
JP2010142874A
JP2010142874A JP2008336124A JP2008336124A JP2010142874A JP 2010142874 A JP2010142874 A JP 2010142874A JP 2008336124 A JP2008336124 A JP 2008336124A JP 2008336124 A JP2008336124 A JP 2008336124A JP 2010142874 A JP2010142874 A JP 2010142874A
Authority
JP
Japan
Prior art keywords
magnet
hole
protective plate
parts
positioning member
Prior art date
Legal status (The legal status is an assumption and is not a legal conclusion. Google has not performed a legal analysis and makes no representation as to the accuracy of the status listed.)
Granted
Application number
JP2008336124A
Other languages
English (en)
Other versions
JP5142046B2 (ja
Inventor
Yoshitaka Aoyama
好高 青山
Shoji Aoyama
省司 青山
Current Assignee (The listed assignees may be inaccurate. Google has not performed a legal analysis and makes no representation or warranty as to the accuracy of the list.)
Individual
Original Assignee
Individual
Priority date (The priority date is an assumption and is not a legal conclusion. Google has not performed a legal analysis and makes no representation as to the accuracy of the date listed.)
Filing date
Publication date
Application filed by Individual filed Critical Individual
Priority to JP2008336124A priority Critical patent/JP5142046B2/ja
Publication of JP2010142874A publication Critical patent/JP2010142874A/ja
Application granted granted Critical
Publication of JP5142046B2 publication Critical patent/JP5142046B2/ja
Active legal-status Critical Current
Anticipated expiration legal-status Critical

Links

Images

Landscapes

  • Branching, Merging, And Special Transfer Between Conveyors (AREA)

Abstract

【課題】 磁石に作用する衝撃力をなくすかまたは最小化して、磁石の破損を回避することのできる部品の停止位置決め部材を提供する。
【解決手段】 収容孔28に磁石20をはめ込みその表面側を保護板21で覆って磁性材料製の部品1、38を吸引して受け止める形式のものにおいて、前記磁石20は部品1、38の進入方向に進退可能な状態で収容孔28内に挿入され、前記保護板21とは反対側の磁石20の背面30と、収容孔28の底面29の間に、緩衝部材31が配置してある。部品から磁石20に作用する衝撃力は緩衝部材31で吸収され、磁石20のひび割れ等が防止される。
【選択図】図1

Description

この発明は、移送されてきた部品を受け止めるとともに、磁石で吸引して部品の停止位置を設定する部品の停止位置決め部材に関している。
一般的に部品の停止位置決め部材は種々な箇所に採用されているが、その一例として特許第3985237号公報に記載されたプロジェクションナット供給装置がある。これは、図3に示され、移送されるプロジェクションナットは、図2に示されている。以下の説明において、プロジェクションナットを単にナットと表現する場合もある。
図2に示したプロジェクションナット1について説明すると、本体部2は真上から見ると正方形であり、その中央にねじ孔3が設けられている。本体部2の片側の四隅に溶着用突起4が形成されている。この溶着用突起4は図2から明らかなように、ねじ孔3の軸線方向に突出しているとともに、ねじ孔3の直径方向にも本体部2から突き出ている。ナット1の各部の寸法は、本体部2の縦横寸法は13mm、高さ寸法は6mm、ねじ孔3の内径は6mmである。
図3に示したプロジェクションナット供給装置5について説明すると、これは所定の位置に一時係止されたナット1を供給ロッドで串刺しにして目的箇所へ供給する形式のものである。パーツフィーダ(図示していない)から送出されたナット1は、断面矩形の供給管6によって仮止室7に到達する。供給管6の端部にガイド管8が溶接されて、供給管6とガイド管8は直交した位置関係とされ、ナット1の進出方向の端部に停止位置決め部材9が配置してある。このようにして供給管6とガイド管8と位置決め部材9によって形成された空間が、仮止室7とされている。仮止室7には、ナット1が送出される出口開口10が設けてある。
前記ガイド管8内に、供給ロッド12が進退可能な状態で収容されている。この供給ロッド12は、ガイド管8内を摺動する大径の摺動部13と、これよりも小径でナット1のねじ孔3を貫通するガイドロッド14によって構成されている。ガイド管8にエアシリンダ11が取り付けられ、そのピストンロッドが供給ロッド12に結合されている。
前記停止位置決め部材9について説明する。
この停止位置決め部材9は、仮止室7の内壁面の一部を構成するもので、ガイド管8に溶接された押さえ金具15に固定ボルト16をねじ込んで固定されている。この固定は、ガイド管8の端部外周部に形成した受け面17に停止位置決め部材9が押し付けられることによってなされている。
停止位置決め部材9は3層構造になっていて、厚い鋼板で形成された主部材19に貫通孔をあけ、そこに磁石(永久磁石)20をはめ込み、仮止室7側に保護板21が貼り付けられ、その反対側に背板22が貼り付けられている。つまり、主部材19の厚さと磁石20の厚さが同じに設定され、その両側に保護板21と背板22が貼り付けてある。仮止室7に入ってきたナット1は、矢線26で示す方向に作用する磁石20の吸引力によって勢いよく保護板21に受け止められ、そのねじ孔3とガイドロッド14がほぼ同軸になった状態で停止する。
一方、ナット1が供給される箇所は電気抵抗溶接の電極である。固定電極23上に鋼板部品24が載置され、この鋼板部品24を貫通して突き出ているガイドピン25に、2点鎖線図示のようにナット1が供給される。この供給動作は、供給ロッド12の進出によってガイドロッド14がねじ孔3を貫通し、摺動部13の端面18でナット1を押し出してガイドロッド14の先端部がガイドピン25の直近で停止すると、ナット1はガイドロッド14を滑動してガイドピン25に合致する。その後、供給ロッド12が後退し可動電極36が進出して、ナット1が鋼板部品24に溶接される。
そして、供給ロッド12が進出している間は、2番目のナット1は摺動部13によって移動が禁止されているが、供給ロッド12が図2の位置まで戻ると、2番目のナット1が磁石20に吸引されて勢いよく保護板21に衝突し、位置決めがなされて次の供給ロッド12の進出に備える。
特許第3985237号公報
上述のような停止位置決め部材9は、主部材19の厚さと磁石20の厚さが同じに設定され、その両側に保護板21と背板22を貼り付けたものであるから、次のような問題がある。
ナット1が保護板21に衝突すると、保護板21の厚さ方向の弾性変形によって、磁石20に衝撃力が作用する。このような磁石20に対する衝撃力が繰り返して作用すると、磁石20に割れが発生し、さらに最悪の場合には複数個に破砕されたような状態になり、正常な吸引作用に支障を来すこととなる。このような現象は、永久磁石自体の脆性が低いために発生する。
本発明は、上記の問題点を解決するために提供されたもので、磁石に作用する衝撃力をなくすかまたは最小化して、磁石の破損を回避することのできる部品の停止位置決め部材の提供を目的とする。
問題を解決するための手段
請求項1記載の発明は、収容孔に磁石をはめ込みその表面側を保護板で覆って磁性材料製の部品を吸引して受け止める形式のものにおいて、前記磁石は部品の進入方向に進退可能な状態で収容孔内に挿入され、前記保護板とは反対側の磁石の背面と収容孔の底面との間に緩衝部材が配置してあることを特徴とする部品の停止位置決め部材である。
発明の効果
部品が保護板に衝突して保護板が弾性変形をすると、この保護板の変位が磁石に伝えられる。磁石は、収容孔内で部品の進出方向と同じ方向に進退できるように挿入されているから、保護板の変位は磁石を経て緩衝部材に伝えられ、これによって緩衝部材が圧縮される。このような緩衝部材の圧縮作用により磁石に対する衝撃力が緩和され、磁石にひび割れ等が発生することが防止できる。
請求項2記載の発明は、前記収容孔は保護板が密着される主部材に形成されている請求項1記載の部品の停止位置決め部材である。
前記主部材に収容孔が形成され、その表側に保護板が密着してあるので、収容孔内に緩衝部材と磁石を積層させることが容易に達成でき、磁石が保護板で確実に保護される。
請求項3記載の発明は、前記収容孔は前記主部材に貫通孔を設け、主部材の背面に背板を固定して形成されている請求項2記載の部品の停止位置決め部材である。
収容孔は主部材に貫通孔をあけて、その背面側に背板が固定されているものであるから、磁石を収容するための収容孔の形成が簡単に実現する。
請求項4記載の発明は、前記収容孔は前記主部材に有底の孔を設けて形成されている請求項2記載の部品の停止位置決め部材である。
収容孔が有底の形状とされているから、背板の採用を省くことができ、停止位置決め部材の構造が簡素化される。
請求項5記載の発明は、前記磁石の表面と保護板との間にわずかな隙間が設けられている請求項1〜請求項4のいずれかに記載の部品の停止位置決め部材である。
上記のように隙間が設置されていることにより、この隙間が保護板の弾性変形を許容する空間となる。したがって、保護板の弾性変形に伴う変位が磁石に伝えられることがなく、磁石には部品受け止めによる衝撃力が作用しない。このため、磁石にひび割れ等が発生することがない。また、保護板が弾性変形をして磁石を加圧するようなことがあっても、前記隙間によって加圧力が低減されているので、磁石に対する衝撃的影響は軽微なものとなる。さらに、このときに緩衝部材が衝撃吸収機能を果たすので、実質的には磁石への悪影響をなくすことができる。
請求項6記載の発明は、磁石の表面側をN極またはS極、背面側をS極またはN極に設定し、収容孔の底面を形成する部材が磁性材料製とされている請求項1〜請求項5のいずれかに記載の部品の停止位置決め部材である。
磁石の極性がこのように設定されているとともに、磁石が収容孔内で摺動できるようになっているので、磁力線は収容孔の底面部を直角に横切る方向にループ状となる。このような磁力線の形成によって、磁石は底面部側に引きつけられる。したがって、収容孔の底部に緩衝部材を挿入し、次いで磁石を挿入すると、磁石は緩衝部材を挟み付けて底面部側に吸引され、磁石の組み込み一体化が確実に達成され、製造時の組み付けにおいて有利である。
つぎに、本発明の部品の停止位置決め部材を実施するための最良の形態を説明する。
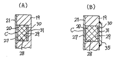
図1は、実施例1を示す。図2および図3にもとづいて説明した部分と同じ機能を果たす部分については、同一の名称と符号が記載してある。
図1にしたがって説明すると、これは前記寸法のナット1を受け止めるものであり、幅寸法は34mm、長さ寸法は45mm、保護板21の厚さは1mm、主部材19の厚さは5.5mm、背板22の厚さは3.5mmである。
分厚い鋼板で作られた主部材19には、あらかじめ貫通孔28があけられ、主部材19の背面に背板22が固定されている。これによって底面29が形成される。貫通孔28の中心軸線は、矢線26で示したナット1の進出方向と同方向とされている。なお、貫通孔28が収容孔であり、収容孔にも同じ符号を記載してある。この収容孔28は円形の孔であり、その内径は16.2mmである。
磁石20は永久磁石であり、分厚い円板型とされ、その直径は16.1mmで、厚さは4.3mmである。磁石20の背面30と収容孔28の底面29との間に緩衝部材31が配置してある。磁石20の表面側をN極、背面側をS極に設定し、収容孔28の底面29を形成する部材すなわち背板22が磁性材料製である鋼板とされている。なお、この極性を逆にすることも可能である。
組立順序は、貫通孔28があけられた主部材19に、背板22を部分的に溶接する。符号32はこの部分溶接部を示している。それから図1(D)に示す円盤形の緩衝部材31を底面29に密着させるように押し込む。つぎに磁石20をわずかな挿入空隙のもとで収容孔28に挿入する。この挿入によって、図1(B)に示すように、磁力線33がループ状に形成されるので、磁石20は背板22の方へ吸引されて緩衝部材31を挟み付けた状態となる。最後に、保護板21を主部材19の表面に密着させて、部分溶接部34で溶接する。この保護板21は、非磁性材料であるステンレス鋼で作られており、こうすることによってより磁力線の透過性を良好にして、ナット1に対する吸引力を強くすることができる。
上述の各部材の組み合わせによって、収容孔28に磁石20をはめ込みその表面側を保護板21で覆って磁性材料製のナット1を吸引して受け止める形式のものにおいて、前記磁石20はナット1の進入方向に進退可能な状態で収容孔28内に挿入され、前記保護板21とは反対側の磁石20の背面30と収容孔28の底面29との間に緩衝部材31が配置されたものとなっている。そして、図1(C)は理解しやすくするために、保護板21を外した状態にして示してある。
磁石20の表面27と保護板21との間に、わずかな隙間Cが設けられている。この隙間Cを形成するために、磁石20や緩衝部材31の厚さが選定されており、板状の部材で構成された緩衝部材31は、その厚さが0.8mmに設定されている。このような厚さ設定により、隙間Cの空間厚さは0.4mmとされている。隙間Cの設置によって、ナット1が保護板21に衝突することによる保護板21の弾性変形が許容されている。このような弾性変形を良好に発生させるためには、保護板21の厚さは薄く設定することが望ましく、ここでは前記のとおり1mmである。
このような弾性変形を適度に発生させるために、保護板21の厚さに対する収容孔28の内径の比を、適正に設定することが重要である。ここではその比が13〜23に設定され、好ましくは15〜20、最適値は16である。この比が13未満であると、収容孔28の内径に対する保護板21厚さが過大になって保護板21の剛性が過剰となり、弾性変形が期待できないこととなる。この比が24以上であると、収容孔28の内径に対する保護板21厚さが過小になって保護板21の剛性が不足し、保護板21が過剰に弾性変形をすることとなり、磁石20に対して衝撃力が作用しすぎることとなる。最悪の場合には、磁石20にひび割れ等が発生する。
前記緩衝部材31を形成する材料としては種々なものが採用できる。そして、非磁性材料を用いることが望ましい。例えば、厚紙、ポリアミド樹脂やウレタン樹脂等の合成樹脂、半流動性の接着剤、亜鉛、アルミニウム、銅等の金属である。これらの材料は、硬度が高くて脆い磁石に対して緩衝性の良好な材料として機能する。図示の実施例では、厚紙が採用されている。
以上に説明した実施例1の作用効果は、つぎのとおりである。
ナット1が保護板21に衝突して保護板21が弾性変形をすると、この保護板21の変位が磁石20に伝えられる。磁石20は、収容孔28内でナット1の進出方向と同じ方向に進退できるように挿入されているから、保護板21の変位は磁石20を経て緩衝部材31に伝えられ、これによって緩衝部材31が圧縮される。このような緩衝部材31の圧縮作用により磁石20に対する衝撃力が緩和され、磁石20にひび割れ等が発生することが防止できる。
前記収容孔28は、保護板21が密着される主部材19に形成されている。
前記主部材19に収容孔28が形成され、その表側に保護板21が密着してあるので、収容孔28内に緩衝部材31と磁石20を積層させることが容易に達成でき、磁石20が保護板21で確実に保護される。
前記収容孔28は前記主部材19に貫通孔28を設け、主部材19の背面に背板22を固定して形成されている。
収容孔28は主部材19に貫通孔28をあけて、その背面側に背板22が固定されているものであるから、磁石20を収容するための収容孔28の形成が簡単に実現する。
前記磁石20の表面27と保護板21との間にわずかな隙間Cが設けられている。
上記のように隙間Cが設置されていることにより、この隙間Cが保護板21の弾性変形を許容する空間となる。したがって、保護板21の弾性変形に伴う変位が磁石20に伝えられることがなく、磁石20には部品受け止めによる衝撃力が作用しない。このため、磁石20にひび割れ等が発生することがない。また、保護板21が弾性変形をして磁石20を加圧するようなことがあっても、前記隙間Cによって加圧力が低減されているので、磁石20に対する衝撃的影響は軽微なものとなる。さらに、このときに緩衝部材31が衝撃吸収機能を果たすので、実質的には磁石20への悪影響をなくすことができる。
磁石20の表面側をN極またはS極、背面側をS極またはN極に設定し、収容孔28の底面29を形成する部材が磁性材料製とされている。
磁石20の極性がこのように設定されているとともに、磁石20が収容孔28内で摺動できるようになっているので、磁力線33は収容孔28の底面部を直角に横切る方向にループ状となる。このような磁力線33の形成によって、磁石20は底面部側に引きつけられる。したがって、収容孔28の底部に緩衝部材31を挿入し、次いで磁石20を挿入すると、磁石20は緩衝部材31を挟み付けて底面部側に吸引され、磁石20の組み込み一体化が確実に達成される。
図4は、実施例2を示す。
図4(A)に示したものは、実施例1のような背板22がなく、収容孔28が有底の孔、すなわち実施例1のような貫通孔28ではない形式のものである。それ以外の構成は、図示されていない部分も含めて先の実施例と同じであり、同様な機能の部材には同一の符号が記載してある。
図4(B)に示したものは、主部材19の背面全体を覆うような背板ではなく、収容孔28の部分だけを封鎖する蓋板35を主部材に溶接したものである。それ以外の構成は、図示されていない部分も含めて先の各実施例と同じであり、同様な機能の部材には同一の符号が記載してある。
前記収容孔28は前記主部材19に有底の孔を設けて形成されているものであるから、前記のような背板22の採用を省くことができ、停止位置決め部材9の構造が簡素化される。
実施例2の作用効果は、実施例1の作用効果と同じである。
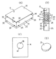
図5は、実施例3を示す。
この実施例3は、パーツフィーダ等から連続的に送出されてきた鉄製の部品を1つずつ送り出す部品送出装置37に、前記各停止位置決め部材9のいずれかを組み付けた場合である。ここでの部品は、円柱状の円柱部品38であり、パーツフィーダ(図示していない)から移送されてきた円柱部品38は、ガイド管39を経てケース本体40に入る。ケース本体40に入口孔41が形成され、前記ガイド管39が入口孔41に連通している。入口孔41の反対側に停止位置決め部材9が取り付けられ、入口孔41に到達した円柱部品38を磁石20によって引き込み、停止位置が設定される。
この停止した円柱部品38を移行させる押出し部材42が、エアシリンダ43によって進退するようになっている。磁石20に吸引されている1つの円柱部品38は押出し部材42の進出によってそれだけが左方へ移行され、出口孔44に到達すると空気噴射によって目的箇所へ移送されてゆく。
図5(B)には、蓋板45を図示しているが、同図(A)には理解しやすくするために、蓋板45を外した状態が図示されている。そして、前記空気噴射は、蓋板45に設けた空気噴射口46からおこなわれる。
実施例3における作用効果は、先の各実施例の作用効果と同じである。
上述のように、本発明によれば、磁石に作用する衝撃力をなくすかまたは最小化して、磁石の破損を回避することのできる部品の停止位置決め部材であるから、自動車の部品移送工程や、家庭電化製品の部品供給などの広い産業分野で利用できる。
部品の停止位置決め部材の斜視図や断面図である。 プロジェクションナットの斜視図である。 プロジェクションナット供給装置の断面図である。 部品の停止位置決め部材の変形例を示す部分的な断面図である。 部品送出装置に適用した実施例の平面図と正面図である。
符号の説明
1 プロジェクションナット
9 停止位置決め部材
19 主部材
20 磁石(永久磁石)
21 保護板
22 背板
27 表面
28 貫通孔、収容孔
29 底面
30 背面
31 緩衝部材
33 磁力線
C 隙間
38 円柱部品

Claims (6)

  1. 収容孔に磁石をはめ込みその表面側を保護板で覆って磁性材料製の部品を吸引して受け止める形式のものにおいて、前記磁石は部品の進入方向に進退可能な状態で収容孔内に挿入され、前記保護板とは反対側の磁石の背面と収容孔の底面との間に緩衝部材が配置してあることを特徴とする部品の停止位置決め部材。
  2. 前記収容孔は保護板が密着される主部材に形成されている請求項1記載の部品の停止位置決め部材。
  3. 前記収容孔は前記主部材に貫通孔を設け、主部材の背面に背板を固定して形成されている請求項2記載の部品の停止位置決め部材。
  4. 前記収容孔は前記主部材に有底の孔を設けて形成されている請求項2記載の部品の停止位置決め部材。
  5. 前記磁石の表面と保護板との間にわずかな隙間が設けられている請求項1〜請求項4のいずれかに記載の部品の停止位置決め部材。
  6. 磁石の表面側をN極またはS極、背面側をS極またはN極に設定し、収容孔の底面を形成する部材が磁性材料製とされている請求項1〜請求項5のいずれかに記載の部品の停止位置決め部材。
JP2008336124A 2008-12-18 2008-12-18 部品の停止位置決め部材 Active JP5142046B2 (ja)

Priority Applications (1)

Application Number Priority Date Filing Date Title
JP2008336124A JP5142046B2 (ja) 2008-12-18 2008-12-18 部品の停止位置決め部材

Applications Claiming Priority (1)

Application Number Priority Date Filing Date Title
JP2008336124A JP5142046B2 (ja) 2008-12-18 2008-12-18 部品の停止位置決め部材

Publications (2)

Publication Number Publication Date
JP2010142874A true JP2010142874A (ja) 2010-07-01
JP5142046B2 JP5142046B2 (ja) 2013-02-13

Family

ID=42563843

Family Applications (1)

Application Number Title Priority Date Filing Date
JP2008336124A Active JP5142046B2 (ja) 2008-12-18 2008-12-18 部品の停止位置決め部材

Country Status (1)

Country Link
JP (1) JP5142046B2 (ja)

Cited By (3)

* Cited by examiner, † Cited by third party
Publication number Priority date Publication date Assignee Title
JP2012158472A (ja) * 2012-02-02 2012-08-23 Yoshitaka Aoyama 部品の停止位置決め部材
JP2013099772A (ja) * 2011-11-07 2013-05-23 Yoshitaka Aoyama 電気抵抗溶接電極のガイドピン
CN115350460A (zh) * 2022-09-14 2022-11-18 江苏傲达康复合材料股份有限公司 一种碳纤维羽毛球拍杆及加工方法

Citations (4)

* Cited by examiner, † Cited by third party
Publication number Priority date Publication date Assignee Title
JPS59162182U (ja) * 1983-04-11 1984-10-30 青山 好高 磁石係止式部品供給装置
JPS61169180A (ja) * 1985-01-21 1986-07-30 Tetsuya Nagao スポツト溶接装置
JPH04319076A (ja) * 1991-04-13 1992-11-10 Yoshitaka Aoyama 部品の受渡し構造部
JP3985237B2 (ja) * 2004-09-11 2007-10-03 好高 青山 プロジェクションナットの供給制御方法

Patent Citations (4)

* Cited by examiner, † Cited by third party
Publication number Priority date Publication date Assignee Title
JPS59162182U (ja) * 1983-04-11 1984-10-30 青山 好高 磁石係止式部品供給装置
JPS61169180A (ja) * 1985-01-21 1986-07-30 Tetsuya Nagao スポツト溶接装置
JPH04319076A (ja) * 1991-04-13 1992-11-10 Yoshitaka Aoyama 部品の受渡し構造部
JP3985237B2 (ja) * 2004-09-11 2007-10-03 好高 青山 プロジェクションナットの供給制御方法

Cited By (3)

* Cited by examiner, † Cited by third party
Publication number Priority date Publication date Assignee Title
JP2013099772A (ja) * 2011-11-07 2013-05-23 Yoshitaka Aoyama 電気抵抗溶接電極のガイドピン
JP2012158472A (ja) * 2012-02-02 2012-08-23 Yoshitaka Aoyama 部品の停止位置決め部材
CN115350460A (zh) * 2022-09-14 2022-11-18 江苏傲达康复合材料股份有限公司 一种碳纤维羽毛球拍杆及加工方法

Also Published As

Publication number Publication date
JP5142046B2 (ja) 2013-02-13

Similar Documents

Publication Publication Date Title
WO2008005821A3 (en) Linear electromechanical vibrator with axially movable magnet
US20130021124A1 (en) Magnetic Trigger Mechanism
US20100097165A1 (en) Solenoid Assembly with Shock Absorbing Feature
US20150325778A1 (en) Power generating element
JP5142046B2 (ja) 部品の停止位置決め部材
EP3748288B1 (en) Level with magnetic coupling
ATE494624T1 (de) Spulenanordnung mit einem spulenträger eines elektromagnetischen antriebs
JP7076063B2 (ja) ストロークセンサ
JP2008277588A (ja) 磁気吸着装置、及びその製造方法
JP5142049B2 (ja) 部品の停止位置決め部材
JP5344325B2 (ja) 部品の停止位置決め部材
JP4905319B2 (ja) 部品供給装置
EP3096011A1 (en) Liquid supply device and liquid cooling system
KR101418199B1 (ko) 리니어 모터의 곤포·조립 치구
CN101056735B (zh) 凸焊螺母的进给装置
JP5013341B2 (ja) 部品吸引用磁石ユニット
JP5321887B2 (ja) 部品送出装置
JP5645004B2 (ja) 軸部挿入式の部品供給装置
JP5858334B2 (ja) 電気抵抗溶接電極のガイドピン
CN112888875B (zh) 能在多个方向上使用的主动减振器
JP3214257U (ja) ソケットビット
JP2012240119A (ja) 部品供給構造部および部品供給方法
JP7422974B2 (ja) プロジェクションナットの供給装置
CN108149204B (zh) 长寿命的环件结构
JP2013180391A (ja) 孔あき部品の供給装置

Legal Events

Date Code Title Description
A977 Report on retrieval

Free format text: JAPANESE INTERMEDIATE CODE: A971007

Effective date: 20120329

A131 Notification of reasons for refusal

Free format text: JAPANESE INTERMEDIATE CODE: A131

Effective date: 20120508

A521 Written amendment

Effective date: 20120703

Free format text: JAPANESE INTERMEDIATE CODE: A523

TRDD Decision of grant or rejection written
A01 Written decision to grant a patent or to grant a registration (utility model)

Free format text: JAPANESE INTERMEDIATE CODE: A01

Effective date: 20121030

A01 Written decision to grant a patent or to grant a registration (utility model)

Free format text: JAPANESE INTERMEDIATE CODE: A01

A61 First payment of annual fees (during grant procedure)

Free format text: JAPANESE INTERMEDIATE CODE: A61

Effective date: 20121108

FPAY Renewal fee payment (prs date is renewal date of database)

Year of fee payment: 16

Free format text: PAYMENT UNTIL: 20281130

R150 Certificate of patent (=grant) or registration of utility model

Free format text: JAPANESE INTERMEDIATE CODE: R150