JP2010142469A - 門形物干し具 - Google Patents
門形物干し具 Download PDFInfo
- Publication number
- JP2010142469A JP2010142469A JP2008324032A JP2008324032A JP2010142469A JP 2010142469 A JP2010142469 A JP 2010142469A JP 2008324032 A JP2008324032 A JP 2008324032A JP 2008324032 A JP2008324032 A JP 2008324032A JP 2010142469 A JP2010142469 A JP 2010142469A
- Authority
- JP
- Japan
- Prior art keywords
- gate
- column
- movable
- support
- clothes drying
- Prior art date
- Legal status (The legal status is an assumption and is not a legal conclusion. Google has not performed a legal analysis and makes no representation as to the accuracy of the status listed.)
- Pending
Links
- 238000001035 drying Methods 0.000 title claims abstract description 26
- 238000005034 decoration Methods 0.000 abstract 1
- 230000000087 stabilizing effect Effects 0.000 abstract 1
- 230000000694 effects Effects 0.000 description 1
- 238000004804 winding Methods 0.000 description 1
Images
Landscapes
- Holders For Apparel And Elements Relating To Apparel (AREA)
Abstract
【解決手段】立設した中心支柱2に対し可動支柱4を横方向に並べて横部材3により連結するとともに可動支柱4を中心支柱2の軸線2aを中心に横部材3を介して回動し得るように立設し、中心支柱2と可動支柱4と横部材3とにより形成した門形部材1の内側に設けた窓1aで物干し竿10を架設し得る支持腕8を門形部材1の中心支柱2及び可動支柱4に設けた。
【効果】門形部材1の回動により窓1aの向きを適宜変更することにより、物干しとしての本来の機能を高めるばかりでなく、門形部材1を設置した庭等の外観に変化を与えて、物干し具に対し庭等の装飾用品としての別機能をも持たせることができる。また、可動支柱4により門形部材1の回動を安定させることができる。
【選択図】図6
【効果】門形部材1の回動により窓1aの向きを適宜変更することにより、物干しとしての本来の機能を高めるばかりでなく、門形部材1を設置した庭等の外観に変化を与えて、物干し具に対し庭等の装飾用品としての別機能をも持たせることができる。また、可動支柱4により門形部材1の回動を安定させることができる。
【選択図】図6
Description
本発明は物干し具の形態の改良に関するものである。
従来、下記特許文献1にかかる物干し具では、複数の物干し竿を外周に配設した一本の支柱が基台に対し回転自在に立設されている。
実開昭63−129593号公報
上記特許文献1にかかる物干し具は、一本の支柱の外周に複数の物干し竿を配設した構造を有しているに過ぎず、支柱を回動させても外観上は外周の各物干し竿だけが目立ち、物干しとしての本来の機能しか発揮することができない。
この発明は、物干し具としての機能を高めることを目的としている。
後記実施形態の図面(図1〜6)の符号を援用して本発明を説明する。
請求項1の発明にかかる門形物干し具においては、立設した中心支柱2に対し可動支柱4を横方向に並べて横部材3により連結するとともにこの可動支柱4をその中心支柱2の軸線2aを中心に横部材3を介して回動し得るように立設し、この中心支柱2と可動支柱4と横部材3とにより形成した門形部材1の内側に設けた窓1aで物干し竿10を支持し得る支持腕8をこの門形部材1に設けた。請求項1の発明では、門形部材1の回動により窓1aの向きを適宜変更することにより、物干しとしての本来の機能を高めるばかりでなく、門形部材1を設置した庭等の外観に変化を与えて、物干し具に対し庭等の装飾用品としての別機能をも持たせることができる。また、可動支柱4により門形部材1の回動を安定させることができる。
請求項1の発明にかかる門形物干し具においては、立設した中心支柱2に対し可動支柱4を横方向に並べて横部材3により連結するとともにこの可動支柱4をその中心支柱2の軸線2aを中心に横部材3を介して回動し得るように立設し、この中心支柱2と可動支柱4と横部材3とにより形成した門形部材1の内側に設けた窓1aで物干し竿10を支持し得る支持腕8をこの門形部材1に設けた。請求項1の発明では、門形部材1の回動により窓1aの向きを適宜変更することにより、物干しとしての本来の機能を高めるばかりでなく、門形部材1を設置した庭等の外観に変化を与えて、物干し具に対し庭等の装飾用品としての別機能をも持たせることができる。また、可動支柱4により門形部材1の回動を安定させることができる。
請求項1の発明を前提とする請求項2の発明において、前記支持腕8は中心支柱2と可動支柱4とにそれぞれ設けられて互いに横方向に並べられ、中心支柱2側の支持腕8と可動支柱4側の支持腕8との間で物干し竿10を架設し得る。請求項2の発明では、門形部材1の窓1aを有効利用して物干し竿10を支持することができる。
請求項1または請求項2の発明を前提とする請求項3の発明において、前記中心支柱2は回動支持部5上に立設されてその軸線2a回りで回動可能に支持されている。請求項3の発明では、回動支持部5上に中心支柱2を立設して回動支持部5に対し回動可能に支持するだけの簡単な構造により、門形部材1を回動させることができる。
請求項1または請求項2または請求項3の発明を前提とする請求項4の発明において、前記門形部材1には柔軟シ−ト12を収容し得る収容部13を設けてその収容部13から柔軟シ−ト12を前記窓1aに引き出せるようにした。請求項4の発明では、物干し具において柔軟シ−ト12を各種目的に利用することができる。
請求項1から請求項4のうちいずれか一つの請求項の発明を前提とする請求項5の発明において、前記門形部材1には載置台15を設けた。請求項5の発明では、物干し具において載置台15を各種目的に利用することができる。
本発明は、物干しとしての本来の機能に庭等の装飾用品としての別機能をも持たせて、物干し具としての機能を高めることができる。
以下、本発明の一実施形態に係る門形物干し具について図1〜6を参照して説明する。
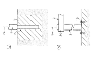
図1に示す門形部材1は中心支柱2と横部材3と可動支柱4とにより互いに門形状に組まれ、この門形部材1の内側には中心支柱2と横部材3と可動支柱4との間で空間である窓1aが形成されている。図2(a)に示すように、庭等の地面に埋設されたコンクリートからなる回動支持部5に支持孔6が形成されている。前記中心支柱2は、この回動支持部5の支持孔6に対し着脱可能に挿嵌されて立設され、軸線2a回りで回動可能に支持されている。この中心支柱2の上端部に前記横部材3の基端部が一体的に連結されている。前記可動支柱4は中心支柱2に対し横方向に並べられて立設され、この可動支柱4の上端部に横部材3の先端部が一体的に連結されている。この可動支柱4の下端部には車輪7が庭等の地面に接した状態で取り付けられている。この可動支柱4は中心支柱2の軸線2aを中心に横部材3を介して360度範囲で回動し得る。この可動支柱4の回動位置の設定時には可動支柱4が庭等の地面に対しロックされて可動支柱4及びその車輪7が位置決めされる。
図1に示す門形部材1は中心支柱2と横部材3と可動支柱4とにより互いに門形状に組まれ、この門形部材1の内側には中心支柱2と横部材3と可動支柱4との間で空間である窓1aが形成されている。図2(a)に示すように、庭等の地面に埋設されたコンクリートからなる回動支持部5に支持孔6が形成されている。前記中心支柱2は、この回動支持部5の支持孔6に対し着脱可能に挿嵌されて立設され、軸線2a回りで回動可能に支持されている。この中心支柱2の上端部に前記横部材3の基端部が一体的に連結されている。前記可動支柱4は中心支柱2に対し横方向に並べられて立設され、この可動支柱4の上端部に横部材3の先端部が一体的に連結されている。この可動支柱4の下端部には車輪7が庭等の地面に接した状態で取り付けられている。この可動支柱4は中心支柱2の軸線2aを中心に横部材3を介して360度範囲で回動し得る。この可動支柱4の回動位置の設定時には可動支柱4が庭等の地面に対しロックされて可動支柱4及びその車輪7が位置決めされる。
図1及び図3に示すように、前記中心支柱2と可動支柱4とには横部材3よりも下方で支持腕8が傾動支持部9により上下方向へ傾動可能に支持されて互いに横方向に並べられている。この両支持腕8には物干し竿10を着脱可能に挿入して掛けるための複数の掛止孔11が長手方向へ並設されている。この両支持腕8は、中心支柱2及び可動支柱4に沿って傾動支持部9から鉛直方向へ垂れ下がる不使用状態と、水平方向またはその水平方向よりも上方へ傾動支持部9から突出する使用状態とを取り得るように、傾動支持部9でロックされて位置決めされる。物干し竿10はこの使用状態で互いに横方向に並ぶ両支持腕8間に架設される。
図1及び図4に示すように、前記中心支柱2と可動支柱4との間で横部材3の下側には柔軟シ−ト12を巻いて収容し得る収容部13が取り付けられている。この柔軟シ−ト12が収容部13に収容されて前記門形部材1内の窓1aの全体が開放された状態で、柔軟シ−ト12を収容部13から窓1a側に引き出して適宜引出位置で柔軟シ−ト12を収容部13によりロックして位置決めすると、柔軟シ−ト12により門形部材1内の窓1aの全体または適宜高さまでの一部を閉塞することができる。この柔軟シ−ト12を下方へ若干引いて収容部13によるロックを外すと、柔軟シ−ト12が収容部13内のばねにより収容部13に戻って収容される。
図1及び図5に示すように、前記中心支柱2と可動支柱4とには両支持腕8よりも下方で固定支持部14が横方向に並べられている。この両固定支持部14間に架設される載置台15は、両固定支持部14に対し着脱可能に連結される両端部材16と、この両端部材16に対し軸線17aを中心に回動可能に挿嵌される軸17と、この軸17に対し両端部材16間で一体的に取着されたテーブル18とを備えている。この載置台15が中心支柱2及び可動支柱4の固定支持部14から離脱されて前記門形部材1内の窓1aの全体が開放された状態で、両端部材16を両固定支持部14に連結すると、載置台15が使用状態となる。その使用状態で、軸17を両端部材16に対し軸線17aを中心に回動させると、テーブル18は、軸17から下方へ垂れ下がった状態と軸17から水平に起きた状態とを取り得るように、両端部材16でロックされて位置決めされる。
図6に示すように、使用状態で前記両支持腕8間に架設された物干し竿10に前記柔軟シ−ト12を引掛けて屋根として利用することもできる。そのほか、両支持腕8と柔軟シ−ト12とテーブル18とを互いに組み合わせた種々の使用状態で門形部材1を利用することができる。
本実施形態は下記の効果を有する。
* 門形部材1の回動により窓1aの向きを日光の向きに応じて適宜変更することにより、物干しとしての本来の機能を高めることができる。
* 門形部材1の回動により窓1aの向きを日光の向きに応じて適宜変更することにより、物干しとしての本来の機能を高めることができる。
* 門形部材1の回動により窓1aの向きを適宜変更することにより、門形部材1を設置した庭等の外観に変化を与えて、物干し具に対し庭等の装飾用品としての別機能をも持たせることができるとともに、門形部材1による遮光を防止して庭等に面した部屋へ日光を取り入れ易い。従って、物干し具としての機能を高めることができる。
* 門形部材1は可動支柱4により支えられながら中心支柱2を中心に回動するので、門形部材1の回動を安定させることができる。
* 物干し具において、柔軟シ−ト12を各種目的、例えば、庭等に面した部屋への遮光や、庭等の上方を覆う屋根などに利用することができる。
* 物干し具において、柔軟シ−ト12を各種目的、例えば、庭等に面した部屋への遮光や、庭等の上方を覆う屋根などに利用することができる。
* 物干し具において、載置台15を各種目的、例えば、洗濯物の載置や、庭等で食事をする場合における食品の載置などに利用することができる。
前記実施形態以外にも例えば下記のように構成してもよい。
前記実施形態以外にも例えば下記のように構成してもよい。
・ 図2(b)に示すように、庭等の地面に敷設されたコンクリートに固定された台板19上に中心支柱2を一体的に立設し、この中心支柱2の上端部に対し横部材3の基端部を回動支持部20により回動可能に支持する。この場合も、可動支柱4は中心支柱2の軸線2aを中心に横部材3を介して360度範囲で回動し得る。
・ 可動支柱4を360度範囲ではなく、例えば180度範囲だけ回動し得るようにする。
・ 物干し竿10を両支持腕8に対し一体的に設ける。
・ 物干し竿10を両支持腕8に対し一体的に設ける。
・ 載置台15において両端部材16を中心支柱2及び可動支柱4の固定支持部14に対し一体的に設ける。
1…門形部材、1a…門形部材の窓、2…中心支柱、2a…中心支柱の軸線、3…横部材、4…可動支柱、5…回動支持部、8…支持腕、10…物干し竿、12…柔軟シ−ト、13…収容部、15…載置台。
Claims (5)
- 立設した中心支柱に対し可動支柱を横方向に並べて横部材により連結するとともにこの可動支柱をその中心支柱の軸線を中心に横部材を介して回動し得るように立設し、この中心支柱と可動支柱と横部材とにより形成した門形部材の内側に設けた窓で物干し竿を支持し得る支持腕をこの門形部材に設けたことを特徴とする門形物干し具。
- 前記支持腕は中心支柱と可動支柱とにそれぞれ設けられて互いに横方向に並べられ、中心支柱側の支持腕と可動支柱側の支持腕との間で物干し竿を架設し得ることを特徴とする請求項1に記載の門形物干し具。
- 前記中心支柱は回動支持部上に立設されてその軸線回りで回動可能に支持されていることを特徴とする請求項1または請求項2に記載の門形物干し具。
- 前記門形部材には柔軟シ−トを収容し得る収容部を設けてその収容部から柔軟シ−トを前記窓に引き出せるようにしたことを特徴とする請求項1または請求項2または請求項3に記載の門形物干し具。
- 前記門形部材には載置台を設けたことを特徴とする請求項1から請求項4のうちいずれか一つの請求項に記載の門形物干し具。
Priority Applications (1)
| Application Number | Priority Date | Filing Date | Title |
|---|---|---|---|
| JP2008324032A JP2010142469A (ja) | 2008-12-19 | 2008-12-19 | 門形物干し具 |
Applications Claiming Priority (1)
| Application Number | Priority Date | Filing Date | Title |
|---|---|---|---|
| JP2008324032A JP2010142469A (ja) | 2008-12-19 | 2008-12-19 | 門形物干し具 |
Publications (1)
| Publication Number | Publication Date |
|---|---|
| JP2010142469A true JP2010142469A (ja) | 2010-07-01 |
Family
ID=42563509
Family Applications (1)
| Application Number | Title | Priority Date | Filing Date |
|---|---|---|---|
| JP2008324032A Pending JP2010142469A (ja) | 2008-12-19 | 2008-12-19 | 門形物干し具 |
Country Status (1)
| Country | Link |
|---|---|
| JP (1) | JP2010142469A (ja) |
Cited By (1)
| Publication number | Priority date | Publication date | Assignee | Title |
|---|---|---|---|---|
| CN103791708A (zh) * | 2014-03-07 | 2014-05-14 | 赵�智 | 一种太阳能供电式旋转晾晒装置 |
Citations (3)
| Publication number | Priority date | Publication date | Assignee | Title |
|---|---|---|---|---|
| JPS6264495U (ja) * | 1985-10-15 | 1987-04-21 | ||
| JPS633390U (ja) * | 1986-06-23 | 1988-01-11 | ||
| JPS63103589U (ja) * | 1986-12-19 | 1988-07-05 |
-
2008
- 2008-12-19 JP JP2008324032A patent/JP2010142469A/ja active Pending
Patent Citations (3)
| Publication number | Priority date | Publication date | Assignee | Title |
|---|---|---|---|---|
| JPS6264495U (ja) * | 1985-10-15 | 1987-04-21 | ||
| JPS633390U (ja) * | 1986-06-23 | 1988-01-11 | ||
| JPS63103589U (ja) * | 1986-12-19 | 1988-07-05 |
Cited By (2)
| Publication number | Priority date | Publication date | Assignee | Title |
|---|---|---|---|---|
| CN103791708A (zh) * | 2014-03-07 | 2014-05-14 | 赵�智 | 一种太阳能供电式旋转晾晒装置 |
| CN103791708B (zh) * | 2014-03-07 | 2015-07-29 | 诸暨市基麦罗进出口有限公司 | 一种太阳能供电式旋转晾晒装置 |
Similar Documents
| Publication | Publication Date | Title |
|---|---|---|
| US5816417A (en) | Mini clothes line | |
| JP2010142469A (ja) | 門形物干し具 | |
| KR200456736Y1 (ko) | 빨래 건조대 | |
| JP6722025B2 (ja) | 突っ張り棒、及び突っ張り物干し | |
| KR101862627B1 (ko) | 베란다 난간용 빨래 건조대 | |
| JP2001096094A (ja) | 掛止杆の収納構造 | |
| KR20110007989U (ko) | 건조체의 기울기 조절이 자유로운 접이식 빨래 건조대 | |
| KR101252352B1 (ko) | 회전식 건조대 | |
| KR200461651Y1 (ko) | 빨래 건조대 | |
| KR20170095080A (ko) | 파라솔이 장착된 빨래 건조대 | |
| JP2006192205A (ja) | 風力回転式物干し具 | |
| KR200482242Y1 (ko) | 빨래 건조대 | |
| JP2003175300A (ja) | 物干し竿掛け及び使用方法 | |
| KR101660642B1 (ko) | 스탠드형 세탁물 건조대 | |
| JP3168864U (ja) | オーニング | |
| JP4816131B2 (ja) | 物干し器 | |
| KR200439022Y1 (ko) | 빨래 건조대용 수평 유지장치 | |
| JP6426546B2 (ja) | 物干し竿の支持具 | |
| JP4064839B2 (ja) | 物干装置 | |
| KR200225434Y1 (ko) | 자전거 정차대 | |
| JP2013081631A (ja) | 物干し具 | |
| KR101697005B1 (ko) | 스탠드형 세탁물 건조대 | |
| JP2002018195A (ja) | 物干し台 | |
| JP3743557B2 (ja) | 物干し | |
| JP3115346U (ja) | 回転機能を備えた物干し具 |
Legal Events
| Date | Code | Title | Description |
|---|---|---|---|
| A621 | Written request for application examination |
Free format text: JAPANESE INTERMEDIATE CODE: A621 Effective date: 20111128 |
|
| A977 | Report on retrieval |
Effective date: 20130208 Free format text: JAPANESE INTERMEDIATE CODE: A971007 |
|
| A131 | Notification of reasons for refusal |
Effective date: 20130219 Free format text: JAPANESE INTERMEDIATE CODE: A131 |
|
| A02 | Decision of refusal |
Effective date: 20130702 Free format text: JAPANESE INTERMEDIATE CODE: A02 |