JP2010141947A - 細径同軸ケーブルハーネス及びその製造方法 - Google Patents
細径同軸ケーブルハーネス及びその製造方法 Download PDFInfo
- Publication number
- JP2010141947A JP2010141947A JP2008313132A JP2008313132A JP2010141947A JP 2010141947 A JP2010141947 A JP 2010141947A JP 2008313132 A JP2008313132 A JP 2008313132A JP 2008313132 A JP2008313132 A JP 2008313132A JP 2010141947 A JP2010141947 A JP 2010141947A
- Authority
- JP
- Japan
- Prior art keywords
- coaxial cable
- diameter
- small
- inch
- cable harness
- Prior art date
- Legal status (The legal status is an assumption and is not a legal conclusion. Google has not performed a legal analysis and makes no representation as to the accuracy of the status listed.)
- Granted
Links
Images
Landscapes
- Details Of Indoor Wiring (AREA)
- Insulated Conductors (AREA)
- Communication Cables (AREA)
Abstract
【解決手段】束ねられた複数の細径同軸ケーブル24の端末がコネクタ25に接続されて成端処理されて機器内の湾曲、回動または摺動する箇所に使用される細径同軸ケーブルハーネス20であって、複数の細径同軸ケーブル24が合成繊維を経編した筒状の経編スリーブ23に通されて束ねられ、経編スリーブ23は、合成繊維の引っ張り強度が3.0cN/dtex以上であり、合成繊維の繊維径が30μm以上60μm以下であり、厚さが0.1mm以下であり、編み密度が、幅方向でループ数55個/inch以上ループ数75個/inch以下であり、長さ方向でループ数25個/inch以上ループ数35個/inch以下である。
【選択図】図1
Description
前記複数の細径同軸ケーブルは、合成繊維を経編した筒状の経編スリーブに通されて束ねられ、
前記経編スリーブは、前記合成繊維の引っ張り強度が3.0cN/dtex以上であり、前記合成繊維の繊維径が30μm以上60μm以下であり、厚さが0.1mm以下であり、編み密度が、幅方向でループ数55個/inch以上ループ数75個/inch以下であり、長さ方向でループ数25個/inch以上ループ数35個/inch以下であることを特徴とする。
なお、ここでいう成端処理とは、細径同軸ケーブルの端末がコネクタ付けまたはFPC(フレキシブルプリント基板)付けされていて、基板に対して間接的に接続可能な状態であること、または、細径同軸ケーブルの端部から中心導体や外部導体を段階的に露出させて端末処理されていて、基板に対して直接的に接続可能な状態であること、を指す。
複数の細径同軸ケーブルの端末を成端処理した後、前記複数の細径同軸ケーブルをまとめて前記経編スリーブに通して束ねることを特徴とする。
また、経編スリーブに用いる合成繊維として、引っ張り強度が3.0cN/dtex以上であり、その繊維径が30μm以上60μm以下の合成繊維を用いたので、良好な耐久性を得ることができる。
図1および図2に示すように、本実施形態では、上下に重ねて配置され前後(図1,図2の左右方向)に水平移動する二つの基板11,12間が、複数本(20〜60本)の細径同軸ケーブル24を含む細径同軸ケーブルハーネス20によって接続されている。基板11,12は、例えば、携帯電話等の機器の相対的にスライドする筐体内にそれぞれ組み込まれている。細径同軸ケーブルハーネス20の両方の端末は、コネクタ25を取り付けて成端処理することで、基板11,12との接続を容易としている。そして、細径同軸ケーブルハーネス20は、両端部21a,21bを除いて経編スリーブ23により複数の細径同軸ケーブル24が束ねられており、全体としてU字状(またはJ字状)になるように両基板に接続されている。これにより、細径同軸ケーブルハーネス20を基板11,12の平面視方向におけるU字状形状として両基板11,12間に配線することができる。なお、図1は細径同軸ケーブルハーネス20の両端部21a,21bが最も離れた状態であり、図2は両端部21a,21bが最も近接した状態である。基板11,12の水平移動距離は、例えば30mmから60mm程度である。
また、経編の形態には、基本組織として、デンビー編み、コード編み、アトラス編み及び鎖編みなどがあり、何れも、編み込むことにより、複数のループが形成される。
なお、繊維を編み込むときに、断面が楕円のダミーコアを使用したり、断面が円のダミーコアを複数本並べて使用して、その周囲に繊維を編み込むと、断面が楕円の経編スリーブが製造される。
コネクタ25および細径同軸ケーブル24を経編スリーブ23に通した後は、経編スリーブ23の両端を接着テープ等で固定し、経編スリーブ23が解けないようにするのが好ましい。経編スリーブ23の端部を接着テープ等で細径同軸ケーブル24に貼り付けて固定するのでもよい。
これらの場合も、経編スリーブ23の端の口径を広げて細径同軸ケーブル24を経編スリーブ23に容易に通すことができる。
また、本発明の細径同軸ケーブルハーネスには、外部導体を有さない絶縁電線を適宜混在させることができる。絶縁電線をグランドとして使用することや、絶縁電線を給電線として使用することができる。
図6の例では、非移動側の筐体32に直線溝32aと曲線溝32bが形成され、これらの溝32a,32bに移動側の筐体31に設けられたピン31a,31bが嵌挿されている。筐体31の移動時には、図6(A)に示した状態から、筐体31がピン31aの移動に伴い上方に変位するとともにピン31bの移動に伴い反時計回りに回動され、図6(B)の状態を経て、筐体31がピン31aの移動に伴い下方に変位するとともにピン31bの移動に伴いさらに反時計回りに回動されて、図6(C)の状態となる。これにより、筐体31が筐体32に対して90度回転される。このとき、筐体31の基板と筐体32の基板に接続された細径同軸ケーブルハーネス20は、筐体32に接続された端部21b付近は動かず、筐体31に接続された端部21aが上下に変位するとともに90度回動する。図6(A)から(C)の動きと、その逆の動きの繰り返しにより、細径同軸ケーブルハーネス20には端部21a近傍部分が繰り返し曲げられ、筐体31,32内で摺動されるが、細径同軸ケーブル24は経編スリーブ23内で負荷を逃がすように移動し、中心導体が破断することが防がれる。また、経編スリーブ23が摩擦により損傷することも防がれる。
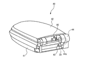
図7に示す形態では、第1筐体41及び第2筐体42を備えた携帯電話端末40のそれぞれの第1筐体41及び第2筐体42が、細径同軸ケーブルハーネス20によって接続されている。
携帯電話端末40は、第1筐体41及び第2筐体42の端部同士が、ヒンジ44によって回動可能に連結され、開閉されることにより位置関係が変化する。第1筐体41及び第2筐体42は、その連結側の端面に、ケーブル挿通孔45,46がそれぞれ形成されており、これらのケーブル挿通孔45,46から、細径同軸ケーブルハーネス20の両端がそれぞれ導入されている。また、ヒンジ44には、連通孔44aが形成されており、この連通孔44a内に細径同軸ケーブルハーネス20が挿通されている。
第1筐体41と第2筐体42とがヒンジ44により相対的な回動を繰り返しても、細径同軸ケーブルハーネス20の経編スリーブ23は摩擦により損傷することがなく、細径同軸ケーブル24は経編スリーブ23内で負荷を逃がすように移動し、中心導体の破断も生じない。
なお、実施例1,2における編み密度、外径及び肉厚の測定は、外径1.4mmの芯棒を挿入して行った。
その結果を表1に示す。
また、円周方向の伸びである内径の変化は、実施例1,2のいずれも1.4mmから約5.0mmに変化し、長さ方向の伸びは、実施例1で約12%であり、実施例2で約6%であった。
このように、実施例1,2の何れの経編スリーブにおいても、その内径を十分に拡径させることが可能であることがわかった。
AWG44の細径同軸ケーブルを40本、実施例1のスリーブまたは実施例2のスリーブで束ねた細径同軸ケーブルハーネスを高さ2.4mmの隙間に入れて摺動させた場合に曲げ及び摺動を10万回繰り返しても中心導体の破断が生じず、強度の点で十分であった。
Claims (2)
- 複数の細径同軸ケーブルが束ねられ、その端末が成端処理されていて、機器内の湾曲、回動または摺動する箇所に使用される細径同軸ケーブルハーネスであって、
前記複数の細径同軸ケーブルは、合成繊維を経編した筒状の経編スリーブに通されて束ねられ、
前記経編スリーブは、前記合成繊維の引っ張り強度が3.0cN/dtex以上であり、前記合成繊維の繊維径が30μm以上60μm以下であり、厚さが0.1mm以下であり、編み密度が、幅方向でループ数55個/inch以上ループ数75個/inch以下であり、長さ方向でループ数25個/inch以上ループ数35個/inch以下であることを特徴とする細径同軸ケーブルハーネス。 - 引っ張り強度が3.0cN/dtex以上であり、繊維径が30μm以上60μm以下の合成繊維を、編み密度が、幅方向でループ数55個/inch以上ループ数75個/inch以下、長さ方向でループ数25個/inch以上ループ数35個/inch以下に経編して、厚さが0.1mm以下の筒状の経編スリーブを作り、
複数の細径同軸ケーブルの端末を成端処理した後、前記複数の細径同軸ケーブルをまとめて前記経編スリーブに通して束ねることを特徴とする細径同軸ケーブルハーネスの製造方法。
Priority Applications (1)
| Application Number | Priority Date | Filing Date | Title |
|---|---|---|---|
| JP2008313132A JP5191875B2 (ja) | 2008-12-09 | 2008-12-09 | 細径同軸ケーブルハーネス及びその製造方法 |
Applications Claiming Priority (1)
| Application Number | Priority Date | Filing Date | Title |
|---|---|---|---|
| JP2008313132A JP5191875B2 (ja) | 2008-12-09 | 2008-12-09 | 細径同軸ケーブルハーネス及びその製造方法 |
Publications (2)
| Publication Number | Publication Date |
|---|---|
| JP2010141947A true JP2010141947A (ja) | 2010-06-24 |
| JP5191875B2 JP5191875B2 (ja) | 2013-05-08 |
Family
ID=42351572
Family Applications (1)
| Application Number | Title | Priority Date | Filing Date |
|---|---|---|---|
| JP2008313132A Expired - Fee Related JP5191875B2 (ja) | 2008-12-09 | 2008-12-09 | 細径同軸ケーブルハーネス及びその製造方法 |
Country Status (1)
| Country | Link |
|---|---|
| JP (1) | JP5191875B2 (ja) |
Citations (2)
| Publication number | Priority date | Publication date | Assignee | Title |
|---|---|---|---|---|
| JP2006024372A (ja) * | 2004-07-06 | 2006-01-26 | Sumitomo Electric Ind Ltd | ケーブルハーネスとその製造方法 |
| JP2008156801A (ja) * | 2006-12-26 | 2008-07-10 | Teijin Techno Products Ltd | 極細メタ型全芳香族ポリアミド繊維及びその製造万法 |
-
2008
- 2008-12-09 JP JP2008313132A patent/JP5191875B2/ja not_active Expired - Fee Related
Patent Citations (2)
| Publication number | Priority date | Publication date | Assignee | Title |
|---|---|---|---|---|
| JP2006024372A (ja) * | 2004-07-06 | 2006-01-26 | Sumitomo Electric Ind Ltd | ケーブルハーネスとその製造方法 |
| JP2008156801A (ja) * | 2006-12-26 | 2008-07-10 | Teijin Techno Products Ltd | 極細メタ型全芳香族ポリアミド繊維及びその製造万法 |
Also Published As
| Publication number | Publication date |
|---|---|
| JP5191875B2 (ja) | 2013-05-08 |
Similar Documents
| Publication | Publication Date | Title |
|---|---|---|
| KR101001804B1 (ko) | 동축케이블 접속구조, 그것에 이용되는 동축케이블 하네스, 및 휴대단말기기 | |
| KR101109835B1 (ko) | 다심케이블과 그 제조방법 | |
| JP2010092621A (ja) | 細径同軸ケーブルハーネス及びその製造方法 | |
| KR101061636B1 (ko) | 세경 동축 케이블 하니스 및 그 제조 방법 | |
| TW200845051A (en) | A flat cable | |
| US8975521B2 (en) | Shielded flat cable and cable harness using the same | |
| US7934947B2 (en) | Electronic apparatus with movable casings connected by an U-shaped wire harness | |
| JP4867389B2 (ja) | 多心ケーブルの製造方法 | |
| JP2013026181A (ja) | 細径ケーブルハーネス | |
| JP5169783B2 (ja) | 細径同軸ケーブルハーネス | |
| JP5191875B2 (ja) | 細径同軸ケーブルハーネス及びその製造方法 | |
| JP2005141923A (ja) | 多心ケーブル及び多心ケーブルの製造方法 | |
| CN102262929B (zh) | 扁平电缆 | |
| JP5204730B2 (ja) | フラットケーブルハーネス | |
| JP2010092620A (ja) | 細径同軸ケーブルハーネス及びその製造方法 | |
| CN102195221B (zh) | 细径同轴电缆束及其制造方法 | |
| JP5320775B2 (ja) | 細径同軸ケーブルハーネス | |
| JP5621206B2 (ja) | 複合ハーネス及びその製造方法 | |
| KR200466631Y1 (ko) | 소경 동축 케이블 하네스 | |
| CN102194545A (zh) | 细径同轴电缆束 | |
| JP4910418B2 (ja) | 多心ケーブルの製造方法 | |
| JP5170033B2 (ja) | 基板付き細径同軸電線ハーネス | |
| TWI412197B (zh) | 細徑同軸纜線線束及其連接構造與製造方法 | |
| JP5331401B2 (ja) | 極細同軸ケーブルアセンブリの作製方法及び極細同軸ケーブルアセンブリ | |
| TWI409005B (zh) | 帶有基板之細徑同軸電線線束 |
Legal Events
| Date | Code | Title | Description |
|---|---|---|---|
| A521 | Request for written amendment filed |
Free format text: JAPANESE INTERMEDIATE CODE: A523 Effective date: 20100811 |
|
| A711 | Notification of change in applicant |
Free format text: JAPANESE INTERMEDIATE CODE: A711 Effective date: 20100811 |
|
| A521 | Request for written amendment filed |
Free format text: JAPANESE INTERMEDIATE CODE: A821 Effective date: 20100812 |
|
| A621 | Written request for application examination |
Free format text: JAPANESE INTERMEDIATE CODE: A621 Effective date: 20101125 |
|
| A977 | Report on retrieval |
Free format text: JAPANESE INTERMEDIATE CODE: A971007 Effective date: 20120329 |
|
| A131 | Notification of reasons for refusal |
Free format text: JAPANESE INTERMEDIATE CODE: A131 Effective date: 20120717 |
|
| A521 | Request for written amendment filed |
Free format text: JAPANESE INTERMEDIATE CODE: A523 Effective date: 20120910 |
|
| RD02 | Notification of acceptance of power of attorney |
Free format text: JAPANESE INTERMEDIATE CODE: A7422 Effective date: 20120910 |
|
| A521 | Request for written amendment filed |
Free format text: JAPANESE INTERMEDIATE CODE: A523 Effective date: 20120925 |
|
| TRDD | Decision of grant or rejection written | ||
| A01 | Written decision to grant a patent or to grant a registration (utility model) |
Free format text: JAPANESE INTERMEDIATE CODE: A01 Effective date: 20130122 |
|
| A61 | First payment of annual fees (during grant procedure) |
Free format text: JAPANESE INTERMEDIATE CODE: A61 Effective date: 20130130 |
|
| R150 | Certificate of patent or registration of utility model |
Ref document number: 5191875 Country of ref document: JP Free format text: JAPANESE INTERMEDIATE CODE: R150 Free format text: JAPANESE INTERMEDIATE CODE: R150 |
|
| FPAY | Renewal fee payment (event date is renewal date of database) |
Free format text: PAYMENT UNTIL: 20160208 Year of fee payment: 3 |
|
| R250 | Receipt of annual fees |
Free format text: JAPANESE INTERMEDIATE CODE: R250 |
|
| R250 | Receipt of annual fees |
Free format text: JAPANESE INTERMEDIATE CODE: R250 |
|
| R250 | Receipt of annual fees |
Free format text: JAPANESE INTERMEDIATE CODE: R250 |
|
| R250 | Receipt of annual fees |
Free format text: JAPANESE INTERMEDIATE CODE: R250 |
|
| R250 | Receipt of annual fees |
Free format text: JAPANESE INTERMEDIATE CODE: R250 |
|
| R250 | Receipt of annual fees |
Free format text: JAPANESE INTERMEDIATE CODE: R250 |
|
| LAPS | Cancellation because of no payment of annual fees |
