JP2010101585A - 排風循環型穀粒乾燥機 - Google Patents

排風循環型穀粒乾燥機 Download PDF

Info

Publication number
JP2010101585A
JP2010101585A JP2008274845A JP2008274845A JP2010101585A JP 2010101585 A JP2010101585 A JP 2010101585A JP 2008274845 A JP2008274845 A JP 2008274845A JP 2008274845 A JP2008274845 A JP 2008274845A JP 2010101585 A JP2010101585 A JP 2010101585A
Authority
JP
Japan
Prior art keywords
grain
exhaust
drying
temperature
exhaust air
Prior art date
Legal status (The legal status is an assumption and is not a legal conclusion. Google has not performed a legal analysis and makes no representation as to the accuracy of the status listed.)
Granted
Application number
JP2008274845A
Other languages
English (en)
Other versions
JP5422965B2 (ja
Inventor
Eiji Nishino
栄治 西野
Naoki Mukoyama
直樹 向山
Current Assignee (The listed assignees may be inaccurate. Google has not performed a legal analysis and makes no representation or warranty as to the accuracy of the list.)
Iseki and Co Ltd
Iseki Agricultural Machinery Mfg Co Ltd
Original Assignee
Iseki and Co Ltd
Iseki Agricultural Machinery Mfg Co Ltd
Priority date (The priority date is an assumption and is not a legal conclusion. Google has not performed a legal analysis and makes no representation as to the accuracy of the date listed.)
Filing date
Publication date
Application filed by Iseki and Co Ltd, Iseki Agricultural Machinery Mfg Co Ltd filed Critical Iseki and Co Ltd
Priority to JP2008274845A priority Critical patent/JP5422965B2/ja
Publication of JP2010101585A publication Critical patent/JP2010101585A/ja
Application granted granted Critical
Publication of JP5422965B2 publication Critical patent/JP5422965B2/ja
Expired - Fee Related legal-status Critical Current
Anticipated expiration legal-status Critical

Links

Images

Landscapes

  • Drying Of Solid Materials (AREA)
  • Adjustment And Processing Of Grains (AREA)

Abstract

【課題】寒冷地域にあっても必要な穀粒温度を確保することにより、胴割れを抑えた高速乾燥を可能とする排風循環型穀粒乾燥機を提供する。
【解決手段】排風循環型穀粒乾燥機は、バーナー、熱風室、排風ファン、排風戻し路、水分値検出手段、張込量検出手段、排風戻し量およびバーナーの燃焼量を調節して所定の乾燥速度で乾燥制御する制御部等を備えて構成され、穀粒温度検出手段および外気温度検出手段をさらに設け、かつ、穀粒内部の水分移行に必要な穀粒温度範囲の最低の温度を最低穀温Cとして外気温度B別に前記制御部に登録した上で、乾燥開始時の穀粒温度が外気温度Bより低い場合に、上記最低穀温Cに到達するまで前記バーナーの燃焼量を増加し、その後は上記所定の乾燥速度により乾燥制御するものである。
【選択図】図20

Description

本発明は、熱風供給部から熱風を受けて穀粒を乾燥する乾燥部に排風循環用の吸引排出部を備える排風循環型穀粒乾燥機に関するものである。
従来、特許文献1に示すように、熱風供給部から熱風を受けて穀粒を乾燥する熱風透過構成の乾燥部と、この乾燥部の排風を戻し可能に吸引排出する吸引排出部とを備える排風循環型穀粒乾燥機が知られている。この排風循環型穀粒乾燥機は、吸引排出部からの戻し排風を合わせた高温高湿の混合熱風による熱と水を同時に穀粒に供給することにより、表面からの水分蒸発を抑制しながら穀粒内部の水分移行を促進させることにより、胴割れを抑えた高速乾燥が可能となる。
特開2008−133957号公報
しかしながら、寒冷地域では、穀粒内部の水分移行に必要な穀粒温度を確保できずに水分移行が不十分となる場合があり、その結果、胴割れを招くという問題があった。
解決しようとする問題点は、寒冷地域にあっても必要な穀粒温度を確保することにより、胴割れを抑えた高速乾燥を可能とする排風循環型穀粒乾燥機を提供することにある。
請求項1に係る発明は、熱風を生成するバーナー(5)と、このバーナー(5)からの熱風を穀粒に供給する熱風室(11)と、この熱風室(11)から穀粒に供給した熱風を吸引して排風として排出する排風ファン(6)と、この排風ファン(6)から排風の一部を戻して熱風室(11)に戻す排風戻し路(21)と、穀粒の水分値を検出する水分値検出手段(10)と、穀粒量を検出する張込量検出手段と、上記熱風室(11)に戻す排風戻し量およびバーナー(5)の燃焼量を調節して所定の乾燥速度で乾燥制御する制御部(F)とを備える排風循環型穀粒乾燥機において、穀粒温度検出手段(32)および外気温度検出手段(38)を設け、かつ、穀粒内部の水分移行に必要な穀温を最低穀温(C)として熱風温度(D)と外気温度(B)との関係から予め制御部(F)に設定し、乾燥開始時の穀粒温度が最低穀温(C)に到達していない場合に、上記最低穀温(C)に到達するまでバーナー(5)の燃焼量を増加し、その後は上記所定の乾燥速度により乾燥制御することを特徴とする。
上記穀粒乾燥機は、穀粒温度が低い場合にあっても、最低穀温を基準として必要な穀粒温度を確保することにより穀粒内部の水分移行が促進され、その後において所定の乾燥速度で乾燥運転される。
請求項2に係る発明は、請求項1の構成において、前記制御部(F)は、穀粒の水分値に対応して最低穀温(C)を設定する構成としたことを特徴とする。
請求項1の発明は、乾燥開始時に熱風温度と外気温度との関係から設定される穀粒温度が最低穀温に到達していない場合に、最低穀温に到達するまでバーナーの燃焼量を増加することにより、穀粒温度が低い寒冷時にあっても、最低限必要な穀粒温度が確保されて穀粒内部の水分移行が促進され、その後において所定の乾燥速度で乾燥運転されるので、乾燥開始時の胴割れを抑えつつ、排風循環による高速乾燥が可能となる。
請求項2の発明は、請求項1の発明による効果に加え、穀粒の水分値に応じて最低穀温を補正することにより、水分値が低い場合でも補正された最低穀温によって穀粒内部の水分移行が確保されて胴割れを回避することができる。
本実施の形態の穀粒乾燥機について説明する。
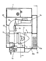
図1、図2は穀粒乾燥機の全体を示す図、図3は穀粒乾燥機の内部を説明する斜視図で、直方体形状の本体1の内部に上部から穀粒を貯留する貯留部2、貯留部2で貯留した穀粒を下方に流下しながら乾燥する乾燥部3、乾燥部3で乾燥した穀粒が集まる集穀部4を設ける。そして貯留部2に張り込まれた穀粒は乾燥部3で乾燥されて集穀部4に供給され、再度貯留部2に供給され調質される構成のいわゆる循環式の穀粒乾燥機の構成である。
なお、本実施の形態では本体1の長手方向sを前後方向、短手方向tを左右方向と呼ぶ。
本体1の前後方向の前側でかつ乾燥部3に対向する左右中央位置に、スリット状の外気取り入れ口50を正面側に多数形成したバーナケース40を取り付け、該バーナケース40内には燃焼バーナ5を収容配置している。そして、燃焼バーナ5の燃焼盤面5dを本体1側と対向するよう燃焼バーナ5を載置している。
本体1の前後方向の後側には乾燥部3に対向する左右中央位置に排風ファン6を設ける。
また、本体1の前後方向の前側でバーナケース40に隣接する位置には穀粒を揚穀する昇降機7を設け、本体1の上部には移送螺旋(図示せず)を内装し、昇降機7で揚穀した穀粒を貯留部2に搬送する上部搬送装置8及び上部搬送装置8で搬送中の穀粒に混入する藁屑等の夾雑物を吸引除去する吸塵ファン9を設けている。
10は穀粒の水分を検出する水分計で、昇降機7に取り付け設定時間毎に揚穀中の穀粒のうちサンプル穀粒を取り込み単粒毎の電気抵抗値を検出することにより水分値を算出する。
乾燥部3は、本体1の左右両側に燃焼バーナ5で生成した乾燥熱風が通過する熱風室11を設け、本体1の左右中央部に排風ファン6と連通する排風室12を設け、熱風室11と排風室12との間には穀粒流下通路13を設け、穀粒流下通路13の下端部には穀粒を集穀部4に繰り出すロータリバルブ14を設け、ロータリバルブ14の回転により貯留室2の穀粒が順次通過する構成である。
集穀部4には穀粒を昇降機7に搬送する下部螺旋15を設けている。
排風ファン6は断面円形のファン胴6a内部に、軸流式のファン羽根6bと、ファン羽根6bで発生させる排風に圧力を与える固定板6cとを内装し、排風ファン6の排風排出側には断面円形の排風ダクト20を連結している。
図6、図7に示すように、排風ダクト20内には排風を排風ダクト20外と排風供給ダクト21に排出する量の割合を調節する第一調節弁23を設けている。
排風ダクト20の上部には排風を本体1内側に供給するための断面方形の排風供給ダクト21を設け、排風供給ダクト21の排風入口には排風供給ダクト21内に供給される排風の量を調節する第二調節弁22を設けている。
第一調節弁23と第二調節弁22は横軸心の回動軸23a及び回動軸22aでそれぞれ回動する構成とし、このうち回動軸23aには調節弁駆動モータ25を連結している。第一調節弁23と第二調節弁22とは連結ロッド24で連結し、第一調節弁23と第二調節弁22との回動動作が連動する構成としている。第二調節弁22が全閉位置gaにあって排風が排風供給ダクト21内に排出されない時には、第一調節弁23が全開位置faにあって排風を全て機外に排出される。
反対に第二調節弁22が全開位置gbにあって、排風が最も排風供給ダクト21内に最も多くの排風が排出される時には、第一調節弁23が最も排風の量を排風供給ダクト21側に排風を排出する閉位置fbに位置する。なお、第一調節弁23と第二調節弁22はそれぞれ無段階に開閉調節できる構成とし、排風供給ダクト21に排出する排風量を制御部Fで適宜調節している。
図8,図9に示すように、例えば制御部Fでは、以下の演算によって排風戻し量を設定する。すなわち、熱風室11と排風室12との間に形成される前記穀粒流下通路13に、該通路13内穀粒に作用する乾燥風の温度Tを検出する温度センサ30と、該乾燥風の相対湿度Hsを検出する相対湿度センサ31を設け、これらの検出結果を制御部Fに入力する構成とする。
上記制御部Fには、記憶部ME1を接続し湿り空気線図に相当するデータ、乾燥風温度毎における飽和水蒸気圧に相当する絶対湿度HFの値、及び飽和水蒸気圧近傍であるか否かの判定を行なうための閾値とする係数α、β及び該係数αに絶対湿度HFを乗じたα・HF(例えばα=0.7)、及び係数βに絶対湿度HFを乗じたβ・HF(例えばβ=0.1)の値を記憶している。該制御部Fには第一、第二算出部、比較部が構成され、このうち第一算出部により上記検出温度Tと検出相対湿度Hsとから絶対湿度HD(=f(T,Hs))を、第二算出部により検出温度T時の飽和水蒸気圧における絶対湿度HFを夫々算出するものである。そして比較部はこれら絶対湿度HDと絶対湿度HFの夫々の値を比較することにより、穀粒が存在する乾燥室としての穀粒流下通路13内における乾燥風の絶対湿度(HD)が、この絶対湿度(HF)の近傍に設定した上限絶対湿度(β・HF)を上回ることを検出すると、排風戻し量を減少側に制御する。また、比較部は該乾燥風の絶対湿度HDが係数αに絶対湿度HFを乗じた下限絶対湿度α・HFの値以下と判定されるときは、排風戻し量を増加側に制御する。
従って、乾燥風の絶対湿度HDが上限絶対湿度β・HF以下で、乾燥風の絶対湿度HAが下限絶対湿度α・HFより大であると判定されると、乾燥風は飽和水蒸気圧近傍でかつ飽和水蒸気圧を超えない程度と判定されて排風循環量はその状態を維持させる。
上記の制御のうち、上限絶対湿度に代えて飽和水蒸気圧における絶対湿度HFに代替し、この絶対湿度HFに達したか否かによっても同様の効果がある。
上記のような制御を行ないながら、適正な排風循環量にフィードバック制御することによって排風循環量を制御することができる。なお、排風戻し量の増減制御によって、例えば前記調節弁駆動モータ25を予め設定した単位ステップ毎に作動して第一調節弁23の回動角度θを単位角度Δθ毎に連動する構成とする。
上記のように、排風戻り量の演算によって、第一調節弁23の回動角度θが決定され、軸23aに組み込んだ角度検出センサ23bにて回動角度θが検出されるまで調節弁駆動モータ25を正逆転連動する構成としている。なお、第二調節弁22は、第一調節弁23に連動するものであるから、その回動角度は検出しない構成としているが、両調節弁を独立的に回動調節するように構成してもよくこの場合には夫々に角度検出センサおよび調節弁駆動モータを設けるものである。
ここで、図10により、乾燥用熱風が戻り排風と合流して乾燥室内に作用し、排風として排出される状況を絶対湿度の変化を説明すると、所定絶対湿度の外気はバーナで加熱された後排風と合流する。加熱によっては絶対湿度の変化はないが、排風との合流によって絶対湿度は上昇し、熱風室から乾燥室(穀粒流下通路13)に入ると(本出願では乾燥室内の流通空気を「乾燥風」としている)、乾燥風は穀粒との接触によって絶対湿度は直ちに上昇し以後余り絶対湿度は高くならないままに排風室に抜けていくものである。本発明では、前記の説明のように、図17における上限絶対湿度β・HFから下限絶対湿度α・HFの範囲となるよう戻り排風の量を調節制御するものである。
第一調節弁23が最も排風の量を排風供給ダクト21側に排風を排出する閉位置fbにあるときに、排風ダクト20の下部の内周面20aと第一調節板23の該周縁23aとの間に設定間隔の隙間zができるよう第一調節弁23の回動軸23aから外周までの長さbを排風ダクト20の中心から内周面20aまでの長さより短くし、第一調節弁23の面積を排風ダクト20の開口面積より小さく構成している。jは第一調節弁23の回動軌跡である。
また、第一調節弁23がもっとも排風の量を排風供給ダクト21側に排風を排出する閉位置fbは、図4に示すように前下がり傾斜に位置する構成とし、第二調節弁22は後ろ下がり傾斜に位置する構成とすることで、排風を排風供給ダクト21内に案内し易くしている。
排風供給ダクト21と本体1との間には排風供給ダクト21内を通過した排風を左右両側に分散する排風分散通路となる排風分散ケース26を排風ファン6の上部から左右両側に亘って設ける。排風分散ケース26の左右両端部と後述する熱風室内貫通通路を形成する戻りダクト27の後端部とを第一排風開口部mで連通する構成としている。
戻りダクト27は左右の熱風室11内前後方向に沿って備える筒形状の通路で、本実施の形態では断面形状で上部が尖った台形状に形成している。
本体1とバーナケース40の間には本体1内を通過して戻された排風が通過する第一戻し通路41と燃焼バーナ5で生成した熱風が通過する熱風通路42を内部に形成する熱排風通過ケース43を備えている。そして、戻りダクト27の一端と第一戻し通路41とを第二排風開口部pで連通する構成とすると共に、第一戻し通路41とバーナケース40の左右両側に形成する第二戻し通路44とを第三排風開口部rで連通する構成としている。バーナケース40の下方には塵埃貯留ケース45を形成している。塵埃貯留ケース45の左右両側の上端部に第四排風開口部dを形成して第二戻し通路44と連通する構成としている。
図11から図13に基づき熱排風通過ケース43の構成について詳述する。
熱排風通過ケース43内の熱風通路42は、バーナケース40と第一熱風開口部cで連通する第一熱風通路46と、第一熱風通路46を通過した熱風を第二熱風開口部vから第三熱風開口部wを経て熱風室11に供給する第二熱風通路47とを設けている。
第一戻し通路41と第二熱風通路47とは本体1の正面左右両側にあって上下二段に形成し、第一熱風通路46は左右中央側にあってバーナケース40に対向する位置に設けている。第一熱風開口部cは第一熱風通路46及びバーナケース40の中央部に形成している。
なお、本実施の形態では排風供給ダクト21から第二戻し通路44に至るまでの排風が通過する経路を総称して戻し通路と呼ぶ。
燃焼バーナ5の周囲について説明する。
バーナケース40内にあって燃焼バーナ5の左右に隣接して設ける第二戻し通路44には排風を排出する第五排風開口部eを設ける。第五排風開口部eの位置は燃焼バーナ5の燃焼盤面位置kより本体1側に向かって設け、多数のスリット状に形成している。そして、第五排風開口部eは燃焼バーナ5の燃焼盤面5dと同様本体1側と対向するよう形成している。
そして、第五排風開口部eから排出される排風と燃焼バーナ5で生成した熱風とを燃焼バーナ5の燃焼炎Q側に位置する熱排風混合部40aで混合され、混合された熱排風が熱風通路42、すなわち第一熱風通路46と第二熱風通路47の順に通過し、熱風室11に供給される構成である。
また、第五排風開口部eは図7及び図8に示すように、本体下側に向かっても多数のスリットが形成されている。
燃焼バーナ5の上方でかつ燃焼盤面位置kより本体1側には燃焼バーナ5の一次空気を吸引して燃焼バーナ5に供給するバーナファン5aを設け、燃焼炎Qの上方に位置することで暖気化して空気ダクト5bを介して燃焼バーナ5に送風できる構成としている。
70は風の流れの有無を検出する風検知板である。5cは燃焼バーナ5に燃料を供給する燃料ポンプである。
熱排風通過ケース43の側壁に燃焼炎Qの状態を確認するスリット状の燃焼炎確認用開口部43aを設け、燃焼炎の状態を確認できるだけでなく外気を導入できるため熱風が通過する熱排風通過ケース43の熱で側壁を熱くなり難くしている。
次に燃焼バーナ5で生成した熱風が排風ファン6の吸引作用を受けて乾燥風として熱風室11から流下通路13の穀粒に作用した後、排風となって排風室12及び戻し通路を経て、熱風と混合して熱風室11に供給されるまでの過程について説明する。
燃焼バーナ5で生成した熱風はバーナケース40から第一熱風開口部cを通過し、第一熱風通路46から第二熱風開口部v、第二熱風通路47、第三熱風開口部wを通過して熱風室11に供給される。
熱風室11内の熱風は多数のスリット(図示省略)を形成する穀粒流下通路13を流下する穀粒内を乾燥風として通過し、穀粒に作用して水分を吸収して排風室12に排出され、排風ファン6にて排風ダクト20に排風として排出される。
排風ダクト20内の排風は第一調節弁23及び第二調節弁22の開度の制御により適宜必要な排風量を戻し通路を経て再度熱風室11側に循環すべく排風供給ダクト21に供給される。
排風供給ダクト21に供給された排風は排風分散ケース26で左右に分散され、第一排風開口部mから戻りダクト27に供給される。そして、戻りダクト27内の排風は第二排風開口部pから第一戻し通路41、第三排風開口部r、第二戻し通路44を経て第五排風開口部eから燃焼バーナ5の燃焼炎Qの側方から燃焼炎Qの噴出する方向と並行して排出され、燃焼バーナ盤面と対向する位置にある熱排風混合部40aで熱風と混合して第一熱風開口部cから第一熱風通路46に供給される。なお、第二戻し通路44の排風に含まれる塵埃は自重で落下して第四排風開口部dを通過して塵埃貯留ケース45に貯留される。
次に本実施の形態の構成に伴う作用及び効果について説明する。
排風ファン6からの排風を熱風室11に供給することによって、燃焼バーナ5で供給する熱風に排風中の熱が加わり、熱風室11ひいては流下通路13の穀粒に作用させ得て短時間で穀粒温度を上昇させることができる。そして、排風の戻し量を制御することによって穀粒流下通路13の穀粒に作用する乾燥熱風の絶対湿度を高くし、穀粒表面からの気化量を抑止することができる。
すなわち、排風と混合した乾燥熱風を供給すると、乾燥風は穀粒表面から蒸発しようとする気化量を高くなった穀粒表面の絶対湿度により抑止する一方、穀粒に作用する乾燥風の熱は主に穀粒温度の上昇を促進し、穀粒内の水分流動性を高め、穀粒単位の内部と表面側との水分勾配を小さくでき、胴割れが少なく、かつ高速で乾燥作業を行なえる。
戻しダクト27から第一熱風通路46に排風を供給するまでにバーナケース40に隣接する第二戻し通路44を経て第五排風開口部eから燃焼バーナ5の燃焼炎Qの側方において燃焼炎Qの噴出方向と並行状態で熱排風混合部40aに排風を排出することで、燃焼炎Qが乱流せず、安定した燃焼バーナ5の燃焼を行なうことができるものである。しかも燃焼バーナ5の燃焼側で排風を合流させるため、戻し排風量の変化による燃焼バーナ5周辺を通過する風の量の変化を小さくすることができ、燃焼炎Qの変化を小さくすることができる。そして、排風と熱風の混合を促進させることができる。そして、排風を燃焼バーナ5に直接晒さないことにより、塵埃や水分等の作用による燃焼バーナ5の劣化を防止することができる。
また、塵埃貯留ケース45に排風中の塵埃を多く落下堆積させることが可能になり、第一熱風通路46及び熱風室11に供給される塵埃の量を減少させることができる。戻し通路をバーナケース40に隣接して設けることで、排風の保温性を向上させることができる。
本実施の形態のように、外気を直接燃焼バーナ5で加熱して燃焼ガスに含まれた空気を乾燥対象物に供給する乾燥機においては、塵埃の含まれる排風を燃焼バーナ5の燃焼炎Qで加熱すると塵埃が燃焼し、該燃焼した塵埃が穀粒に供給されて穀粒の品質が低下する場合が生じていたが、本実施の形態により、塵埃の燃焼がされ難く穀粒の品質低下を防止することができる。
次に、本実施の形態の乾燥制御について説明する。
図14は乾燥作業に伴う穀粒温度の変化及び水分値の変化を示すグラフで、L1は本実施の形態の乾燥工程を示し、L2は従来の乾燥行程を示す。また、L3は本実施の形態の水分値の変化を示し、L4は従来の水分値の行程を示す。
L2は従来の乾燥工程で、燃焼バーナ5が燃焼量を一定にした場合のグラフであるが、燃焼を開始してから次第に穀粒温度が上昇し、仕上げ水分に到達するまで穀粒温度が略一定の傾きで上昇していることを示している。
それに対して、L1の乾燥行程は以下の行程を行なう。
まず、燃焼バーナ5の燃焼開始後、所定時間(例えば張り込み穀粒が一循環する時間)においては第一調節板23を全開し、排風を略全量を機外に排出し、燃焼開始直後に多く発生する塵埃が再度戻し通路から熱風室11内に供給されることを防止する(乾燥初期全量機外排出工程A1)。
所定時間経過すると、戻す排風の割合が所定以上(例えば75%以上)の状態でしばらく一定にするよう第一調節板23と第二調節板22を調節し、排風ファン6から排出された排風の多くを戻し通路側に排出し、熱排風混合部40a内に供給される。そして、排風と燃焼バーナ5で発生した熱風と混合され、熱風室11から流下通路13の穀粒に供給される(乾燥初期全量戻し工程A2)。
そのため、供給された熱により水分が穀粒の表面から蒸発しようとするが、熱と共に供給された水分によって抑止され、水分が穀粒内部にとどまる。そして穀粒温度については、燃焼バーナで生成した熱に排風の熱がプラスされて穀粒に付与されることにより、多くの熱が与えられ穀粒温度が急激に上昇する。
なお、この工程は外気温度によって戻し量が補正され、外気温度が高くなるほど戻す排風の割合を低くするよう第一調節板23と第二調節板22を調節している。また、この工程は全乾燥工程で最も多くの排風を戻す工程である。
その後、設定時間毎に水分計10で検出する穀粒水分値に応じた水分量を含む排風絶対湿度Haの排風を戻す調節を行なう(排風絶対湿度戻し工程A3)。そして、穀粒流下通路13内が飽和水蒸気圧を超えて結露しない程度に、すなわち飽和水蒸気圧未満でかつ飽和水蒸気圧近傍になる排風絶対湿度Haの排風を供給する。
仕上げ水分値に近くなると、第一調節弁23と第二調節弁22は排風を順次機外に排出する割合を高くするよう調節制御することで、穀粒温度を順次低下させ、設定水分に到達して乾燥作業終了した後の籾摺り工程を早く行なえるようにしている(仕上排出工程A4)。
ここで、穀粒を例に乾燥理論、すなわち、穀粒に水分と熱を与えるということを図15で説明する。従来の乾燥制御では図15(A)に示すように、燃焼バーナ5で発生して穀粒に供給された乾燥熱風による乾燥熱量を100とすると、乾燥初期には主として穀粒内の水分が蒸発されるための熱量である気化熱量に消費され(例えば95)、残りは穀粒温度の上昇に用いられる。すなわち、乾燥初期は穀粒の水分値が高いために供給された熱量の多くが水分の気化に用いられる。そのため、乾燥熱量を単純に増加させるだけでは穀粒表面側の乾燥が穀粒内部側より促進され、かえって穀粒中の水分勾配が高くなり胴割れがしやすくなってしまう。
それに対し、本実施の形態の乾燥制御については、図15(B)で示すように、乾燥初期に排風を戻して所定条件の乾燥熱風を生成することにより、胴割れし難く高速乾燥を可能にするものである。すなわち、燃焼バーナ5で発生した熱量を100とし、さらにこの乾燥熱風の熱量に排風中に含まれる排風の熱量50が加わるとすると、乾燥熱風に排風が合流した熱量全体は150となる。ここで乾燥熱風に排風が合流することによって生じる新たな乾燥風の条件は、絶対湿度が飽和水蒸気圧近傍の上限絶対湿度よりも低く、かつかつ該飽和水蒸気圧に対して所定限度に設定した下限絶対湿度よりも高いことを知見している。例えば、籾の乾燥の場合、上限の飽和水蒸気圧における絶対湿度から下限はこの飽和水蒸気圧の状態から最大で30%程度低い下限絶対湿度の範囲で制御される。上限・下限の絶対湿度の値は、乾燥対象物の種類や環境によって個々に設定されるものである。
そして、新たな乾燥風が穀粒に作用すると熱量を与えられた穀粒中の水分が穀粒表面から気化しようとする一方で、絶対湿度が上記のように飽和水蒸気圧近傍でかつ飽和水蒸気圧以下に調整されることにより穀粒表面からの水分蒸発は抑止され、付与される熱量は穀粒内部に作用し、例えば気化熱量に用いられる熱量は従来の95より低い60となり、穀粒温度上昇に用いられる熱量が90となる。そのため、穀粒温度が急激に上昇するが穀粒中の水分移行が促進され水分勾配が急激に高くならず、胴割れが発生し難いものである。
そして、戻り排風の排風量を、後述のように、乾燥中に検出する穀粒の水分値に対応して調節することができるため、排風の湿度を検出する湿度センサ等を必要とせず、コスト高にならず、また、適正な水分、すなわち穀粒流下通路13が飽和水蒸気圧未満でかつ飽和水蒸気圧近傍を保つ程度の水分を乾燥対象物に与えながら乾燥することができる。
以上に説明の新たな乾燥風の条件は、燃焼バーナ5による乾燥熱風と排風との合流によって得られることを知見している。すなわち、穀粒に作用する乾燥風は水分を吸収して排風となって排出されるが、この排風の絶対湿度に着目して排風戻し量を調整しようとする。
ここで、図16のグラフに示すように排風絶対湿度は穀粒の水分値に略対応していることが試験により知見されている。すなわち、穀粒の水分値が高い程排風絶対湿度も高くなっている。なお、これまでに記載のとおり、熱風室11の乾燥熱風は穀粒流下通路13内で乾燥風として穀粒に作用し、排風室12から排風されるが、このうち乾燥風と排風の絶対湿度は略等しいから(図10中、「絶対湿度HD≒仮想排風絶対湿度U」の関係にある)、排風絶対湿度の検出あるいは推定は穀粒流下通路13内乾燥風の絶対湿度が仮想できる。
穀粒水分値が高いほど排風絶対湿度の高いことは、穀粒表面から気化しようとする水蒸気圧が高いため、それを抑止するためにその分多くの排風湿度を必要としているためであり、乾燥作業が進行し、穀粒水分値が下がるほど穀粒から気化する水分量が減り、穀粒中の水分を抑止するための水分量が少なくともよくなるためである。本実施例では、図16の関係グラフを制御部Fの記憶部MEに記憶し、若しくは水分値を変数とした回帰式を求めることによって、仮想絶対湿度Uを算出する仮想絶対湿度算出部を構成し、検出水分値のデータに基づき必要とする排風絶対湿度HDを仮想する構成としている。
飽和水蒸気を超えると結露して穀粒が蒸れて品質が損なわれる恐れがあるが、超えない程度に、排風中に含まれる熱と水分を穀粒に与えることで穀粒内部に多くの熱を供給すると共に、穀粒の表面から蒸発しようとする水分を排風中の水分により穀物対象物の内部に抑止する。穀粒内部に熱と供給すると内部水分の表面側の移行が促進されるため、穀粒内部の水分勾配を小さくすることができ、高速で乾燥させるものでありながら穀粒の内部が亀裂等を起こし難くすることができる。
そして、上記の仮想排風絶対湿度Uは穀粒の水分値Mnに略対応していること知見をもって穀粒乾燥において排風戻し量を制御するが、その一例について、図17のフローチャート、図18のブロック図に基づき説明する。
乾燥運転を開始すると共に、外気温度センサ38、外気湿度センサ39にて外気温度TA・外気湿度HAの検出、穀粒の水分値Mnの検出が行われ、これらの検出データが制御部Fに入力される。制御部Fでは、外気温度TAと外気湿度HAに基づき絶対湿度HAを算出し、所定時間毎の水分値の検出結果に基づき乾減率算出部は乾燥速度(乾減率)を算出する。さらに、この制御部Fは、前記図16における検出水分値Mnと仮想排風絶対湿度Uの関係を呼び出す。
制御部Fは上記の仮想絶対湿度U、乾減率、及び予め入力された穀粒の張込量に加え、仮想排風絶対湿度Uを元にして、排風戻し量を算出する。なお、これらの条件に基づく排風戻し量の関係は、穀粒の乾燥風の絶対湿度HDが、前記のように飽和水蒸気圧付近を上限絶対湿度とし、所定値以下を下限絶対湿度とするが、これらは実験等によって予め適当な値を求めておく。
上記の排風戻し量の算出に基づき、第一調節弁23の角度θが設定され、この角度となるよう調節弁駆動モータ25に正逆転連動出力され、第1調節弁23及び第2調節弁22が作動する。
また乾燥が継続し、定期的に外気温度TA・外気湿度HA、及び水分値Mnを検出し、その都度絶対湿度Zや乾減率を算出するが、この値が前回の値と異なり変動したときには排風戻し量を補正する。即ち、絶対湿度Zが下ると、予定の乾燥風絶対湿度(略排風絶対湿度Uに等しい)を確保するため、排風の戻し量を増加補正し、逆に絶対湿度Zが上がると排風戻し量を減少補正する。
また、水分値Mnの検出によって、乾減率が変動すると同様に排風戻し量の増・減補正が行われる。即ち、乾減率が高くなると、戻り排風に含まれる水分割合が高くなるので、排風戻し量を減少補正し、逆の場合には増加補正する。
なお、図17、図18における例では、絶対湿度Z、乾減率、張込量、及び、仮想排風絶対湿度Uを元に、排風戻し量を第一調節弁23の作動角度θの設定制御を行う構成としたが、第一調節弁23の目標値に対する偏差を補正する前記図9の制御方法によって行ってもよい。この場合には、所定時間間隔をおいて、飽和水上気圧近傍であってこの飽和水蒸気圧相当の絶対湿度HFとの偏差を知ることとなるので、排風の戻し量をきめ細かく制御することができる。
次に調節弁の開度を調節するための制御例について代表数値を用いて説明する。
外気温度センサで検出された外気温TAが20℃で、外気湿度センサで検出された外気湿度HAが70%で制御部Fで演算された絶対湿度(Z)が13g/m3とする。そして、前述の図16で水分計10で検出した穀粒水分値に対応して設定されている制御目標とする排風の仮想排風絶対湿度(U)が25g/m3である場合とする。そして、本実施例の排風ファン6の風量は1900kg/hで、穀粒乾燥機に供給された穀粒(籾)量を800kg、乾燥速度を示す乾減率(一時間あたりに乾燥される水分の割合)を1.2%/hとした場合、どの程度の割合の排風を熱風室11に戻すかを以下の式より求める。
仮想排風絶対湿度(U)−絶対湿度(Z)=12(g/m3) (式1)
外気が吸水できる最大吸水量は
12×1900/1000≒23(kg) (式2)
そして、一時間あたりに穀粒から除去される水分量は
800(kg)×1.2(%/h)=9.6(kg/h) (式3)
B2の式とB3の式より
23/(9.6+23)≒0.71 →71% (式4)
すなわち、排風ファン6から排出される排風量の71%を熱風室11に戻すべく調節弁駆動モータ25を制御して第一調節弁23のθ角を制御し、これによって第二調節弁22を調節する。すなわち、排風の戻し割合に見合う前記第一調節弁23の回動角度θを予め記憶部MEに記憶しておき、上記計算結果に基づく排風割合71%に対応するよう調節弁駆動モータ25を正・逆転連動する。
前述の演算式についてさらに詳述すると、前記外気温度センサTAと前記外気湿度センサHAでそれぞれ検出された外気の温度と湿度から制御部Fで外気の絶対湿度(Z)を演算し、外気の絶対湿度(Z)と水分計10で検出された穀粒水分の条件から予め設定する排風の絶対湿度(U)との差異(増加水量)を外気が吸収できる最大の吸水量として演算する(式1と式2)。そして、一方では乾燥作業により穀粒から蒸発する蒸発水量(本実施の形態では前述の一時間あたりに穀粒から除去される水分量)を求め(式3)、増加水量が乾燥作業による蒸発水量と合算された値に対する割合が、排風を戻す割合と考えるものである。
すなわち、前記式4は
増加水量/(穀物から蒸発する水量+増加水量)
を示している。この式においては、いわゆる連続的に乾燥対象物に乾燥作用をなす乾燥機について特に有効である。
但し、本実施の形態のように穀粒を貯留部2と乾燥部3とを循環させて乾燥作用と調質作用(いわゆるテンパリング)を交互に行なう穀粒乾燥機においては、前述のように乾燥部で熱と水分を供給した穀粒が貯留部2に循環されると、供給する熱と水分が多すぎた場合に、穀粒内部の水分の移行より穀粒表面からの乾燥が進行し、穀粒の胴割れが増加する場合がある。
そこで、特に穀粒乾燥機の場合には式4に変わって下記の式B5に基づいて乾燥制御を行なっても良い。
増加水量/(穀物から蒸発する水量+排風の絶対湿度(U)) (式5)
23/(9.6+47.5)≒0.42 すなわち、42%の排風を戻すようにする。
なお、47.5(kg)とは前述の絶対湿度(U)の25g/m3と排風ファンの風量1900kg/hとから算出される。
47.5=25×1900/1000 (式6)
テンパリング方式で乾燥を行なう循環型の乾燥機においては、貯留部2に停留している間の表面乾燥を抑制するために、式5では貯留部2を通過する絶対湿度が設定する排風の絶対湿度になるように、単位時間あたりに穀物内を通過する風が持つ総水量を変更補正する。
なお、第一調節弁23及び第二調節弁22が排風量の71%より多くの量を熱風室11に戻すよう調節された場合には、多くなればなるほど戻される水分量が多くなるため、穀粒から新たに水分を除去し難くなる。また、第一調節弁23及び第二調節弁22が排風量の71%より少ない量を熱風室11に戻した場合には熱風室11に戻される熱量が少なくなるため、穀粒の温度の上昇がし難くなり乾燥速度が遅くなる。
本実施の形態の式から排風を戻す割合を調節することで、排風ファン6から排出された排風が帯びる熱、すなわち吸水力をできる限り適正に利用することで燃焼効率の良い乾燥作業を行うことができる。
図19は前述の図16に基づく穀粒水分値と仮想排風絶対湿度に基づいて設定する排風を戻す割合を補正することを示す図である。
補正する条件として外気温度と穀粒張込量を示している。すなわち、外気温度が高い程排風を戻す割合を低減させるよう補正する。そして曲線M1,M2,M3,M4,M5は張込量毎による排風戻し率の補正を示し、張込量が多いほど排風を戻す割合を低減させるよう補正する。
外気温度が高くなるほど穀粒の乾燥が促進するのでその分排風を戻す量を低減できる。また、張込量が多いほど最も上昇する穀粒温度が高くなるためその分排風を戻す量を低減できる。
上記実施例では、排風戻し量を調節弁の回動角度θをもって制御する構成について説明したが、戻し量自体を検出して制御してもよく、あるいは全排風量に対する排風戻し割合を制御する形態でもよい。
また、本実施の形態では乾燥速度を示す乾減率を1.2%としたが、乾減率によって排風を戻す割合が変更される。
なお、本実施の形態では外気湿度センサHAから外気の絶対湿度を求めているが、外気湿度センサの代わりに外気温度基準による外気の絶対湿度を定めてこれを代用値としても良い。
本実施の形態では籾・麦・豆等の穀粒乾燥機について記載したが、そのほかに椎茸や材木や海産物等の自然から採取された物で、乾燥対象物の表面部分と内部中心部分に水分勾配を伴うものを乾燥対象物とする乾燥機の場合にも利用可能である。
(寒冷条件対応制御)
次に、寒冷条件対応の乾燥運転制御について説明する。
所定の乾燥速度で上記排風循環乾燥を行う場合において、乾燥開始時に穀温センサ(32)で検出した穀粒温度Aが外気温度Bより低いときは、水分移行に必要な穀粒の最低穀温すなわち最低穀温Cに到達するまでバーナー5の燃焼量を増加し、その後は上記所定の乾燥速度により乾燥制御を続行する。
あるいは穀粒温度が外気温度Bより若干高い程度(例えば2℃〜3℃程度まで)でも、最低穀温Cに達していない場合は、穀粒の最低穀温Cに到達するまで前述と同様バーナ5の燃焼量を増加させるようにする。
詳細に説明すると、特に寒冷時における乾燥制御について、穀粒温度が外気温度Cより低い場合、あるいは若干高い場合には穀粒内部の水分移行に必要な穀粒温度を別途見極めた上で、その最低穀温Cになるように燃焼量と排風循環量を制御する。
最低穀温Cは、図20の線図に示すように、熱風温度Dから外気温度Bを減算した温度差である加温度と対応して定められる。なお、穀粒の初期水分値Eが低いほど穀粒内部の水分移行がし難く、水分値Eの低下に対して最低穀温Cが上昇するので、その変動分を補正した最低穀温Cを基準にバーナー5の燃焼量と排風循環量を調節する。
最低穀温Cに到達するまでの間のバーナ5の燃焼量の上昇制御は、図21の乾燥開始後の燃焼量の制御パターンに示すように、所定時間おきに一定量ずつ燃焼量を上昇させ、これを数回繰り返す制御(燃焼量初期上昇制御G)を行ない、最低穀温Cに達すると燃焼量の上昇を停止し、その後、所定の燃焼量、すなわち張込穀粒量に応じて設定される燃焼量となるように制御する。なお、この上昇制御は上限回数あるいは上限値を設け、最低穀温Cに達しなくても停止させる機能を備えている。
また、燃焼量を上昇させる一方で、乾燥開始後の排風循環率の制御線図に示すように制御する。すなわち、前述の燃焼バーナ5の燃焼開始後、所定時間第一調節板23を全開し、排風を略全量を機外に排出し、燃焼開始直後に多く発生する塵埃が再度戻し通路から熱風室11内に供給されることを防止する乾燥初期全量機外排出工程A1を行った後、図21に示す燃焼量の上昇(燃焼量初期上昇制御G)と略同じタイミングで排風循環率を段階的に上昇させるように調節弁(第1調節弁23と第2調節弁22)の制御(排風循環率上昇制御A5)を行なう。すなわち、燃焼量を上昇させるのに伴い、排風の戻し量を増加させて穀粒に水分を与えながら穀温を上昇させることで、急激な乾燥を防いで穀粒の胴割れを防止することができる。
そして、穀粒温度が最低穀温に到達すると排風循環率上昇制御A5を停止し、以後は、設定時間毎に水分計10で検出する穀粒水分値に応じた水分量を含む排風絶対湿度Haの排風を戻す調節を行なう排風絶対湿度戻し工程A3を行なう。そして、穀粒流下通路13内が飽和水蒸気圧を超えて結露しない程度に、すなわち飽和水蒸気圧未満でかつ飽和水蒸気圧近傍になる排風絶対湿度Haの排風を供給する。
(種子乾燥の取扱い)
種子乾燥を行う乾燥モードにおける高速化制御は、穀物品種と熱風温度には密接な関係があり、品種や地域による熱風温度のリミット温度を予め入力しておき、この温度を超えないように制御する。この乾燥制御により、品種によってはかなり高温でも発芽率の高いものもあり、その逆もあることから、きめ細かに設定することにより、種子における限界乾燥速度が可能となる。
(上限温度の取扱い)
熱風温度と穀粒温度の上限温度は、基本仕様として定められた上限値以下の範囲において、乾燥機運転の利用者が設定できるように構成する。乾燥機の運転に際しては、熱風温度は乾燥速度や外気条件により変化し、利用者が希望していない温度まで上昇するときもあり、そうかといって、固定温度にすると速度調整ができない不具合もあることから、一定範囲の中で作業者が設定することができる。
(最低穀温制御の適用制限)
最低穀温制御による温度管理の適用は、乾燥開始から所定時間の範囲内に制限し、その後は、通常の乾燥運転に戻し、あるいは、通常制御に所定値熱風温度と循環量を増加するように制御する。高速乾燥するために必要な最低穀温制御は、穀物品質の犠牲を伴うものであるから、上記のように、最低穀温制御について時間制限を設ける。
(吸引排出部)
排風ファン6を中心とする吸引排出部における第二調節弁22の開度検出異常の対応制御は、図22の要部拡大側面図に示すように、ポテンショメーター61を第二調節弁22の開度検出手段として構成し、その異常検出により、乾燥機待機時にポテンショの検出ができない場合に「ポテンショの異常表示」を出す。
詳細には、ポテンショメーター61の短絡、完全導通、異常なばらつき(モータが作動しないのにポテンショの電圧比が所定値以上変化する場合)が発生した場合に、張込、通風、排出の運転では、異常表示を出し、循環弁モータは作動させないで、そのまま受け付け動作し、乾燥運転では、異常検出が改善されない限り開始できないように制御処理を構成することにより、張込、通風、排出の運転の際は、第二調節弁22の異常であっても、直接的な影響を受けないので、乾燥機の運転を継続することができる。
吸引排出部の構成については、内部構成の透視平面図(a)およびその側面図(b)を図23に示すように、排風ダクト20から上方に連通する排風供給ダクト21内の幅向中央位置に流れを左右均等化する中央整流板63を固設し、また、第二調節弁22の幅方向中央位置に同様の整流板64を設ける。これら両整流板63,64により、第二調節弁22が開いたときは、戻し排風が戻し用の左右のダクト27,27に均等に配分される。
排風ファン6の排出側には固定板65を設け、その後方に第一調節弁23を近接配置し、第二調節弁22との間を連結ロッド24で連結する。固定板65は、その中心をなすケーシングのエリアを同固定板65に対して窪んだ位置にし、このエリアを利用して第一調節弁23の回転エリアとし、その上、このエリアにかかる第一調節弁23の縁を切断して切欠23bとする。この切欠23bは、全閉時に排風ダクト20のごみ抜きとして機能するとともに、排風ダクト20の長さEの短縮化によってよって設置条件の改善を図ることができる。
第一調節弁23と第二調節弁22の駆動は、機体前面寄りに位置する方、すなわち第二調節弁22に電動駆動部68を設け、他方を排風供給ダクト21内の連結ロッド24で連結して従動式に構成することにより、電動駆動部68までの範囲を建家内に収容し、その後方に延びる機体後部の範囲Fを壁抜き設置することによって小さい納屋等にも排風循環型穀粒乾燥機を設置することができる。
連結ロッド24は、吸引排出部の排風排出時(a)と排風戻し時(b)の動作状態の側面図を図24に示すように、第一調節弁23と第二調節弁22との間を互いに異なる作動角度を確保して連結する。具体的には、第一調節弁23の回動範囲Gは、仕切でありながらも排風の案内ガイドとして90度以下とし、第二調節弁22の回動範囲Hは、仕切弁として0〜90度とする。また、連結ロッド24の形状を「く」の字状に形成することにより、後方排出の排風ダクト20から前方に戻す排風供給ダクト21の中で、中央整流板63との干渉なしに上記2つの弁23,22の回動範囲を個々に確保することができる。
穀粒乾燥機全体の正面図 穀粒乾燥機全体の側面図 穀粒乾燥機全体の内部を説明する斜視図 乾燥部と集穀部の構成を説明する斜視図 乾燥部と集穀部の構成を説明する正面図 第一調節弁と第二調節弁の連動構成を説明する排風ファンの側面図(A)及び背面図(B) 排風供給ダクトと排風分散ケースと排風ファンを示した斜視図 ブロック図 フローチャート 絶対湿度の変動を示す概要図 バーナケース及び熱排風通過ケースの内部を説明する斜視図 バーナケース内部を説明する側面図 バーナケース内部を説明する斜視図 乾燥行程と穀粒温度、又は穀粒水分値の関係を示すグラフ 穀粒に供給する熱について説明する図(A)(B) 排風絶対湿度と穀粒水分値との関係を示す図 フローチャート ブロック図 外気温度及び張込量による排風を戻しする割合を変更することを示す図 外気温度別の最低穀温の線図 乾燥開始後の燃焼制御と排風循環制御のパターン 混合調節弁の要部拡大側面図 吸引排出部の内部構成の透視平面図(a)およびその側面図(b) 吸引排出部の排風排出時(a)と排風戻し時(b)の動作状態の側面図
符号の説明
3 乾燥部
4 集穀部
5 バーナー(熱風供給部)
6 排風ファン(吸引排出部)
10 水分計(水分値検出手段)
11 熱風室
20 排風ダクト
21 排風供給ダクト(排風戻し路)
22 第二調節弁
32 穀温センサ
38 外気温度センサ
B 外気温度
C 最低穀温
F 制御部

Claims (2)

  1. 熱風を生成するバーナー(5)と、このバーナー(5)からの熱風を穀粒に供給する熱風室(11)と、この熱風室(11)から穀粒に供給した熱風を吸引して排風として排出する排風ファン(6)と、この排風ファン(6)から排風の一部を戻して熱風室(11)に戻す排風戻し路(21)と、穀粒の水分値を検出する水分値検出手段(10)と、穀粒量を検出する張込量検出手段と、上記熱風室(11)に戻す排風戻し量およびバーナー(5)の燃焼量を調節して所定の乾燥速度で乾燥制御する制御部(F)とを備える排風循環型穀粒乾燥機において、
    穀粒温度検出手段(32)および外気温度検出手段(38)を設け、かつ、穀粒内部の水分移行に必要な穀温を最低穀温(C)として熱風温度(D)と外気温度(B)との関係から予め制御部(F)に設定し、乾燥開始時の穀粒温度が最低穀温(C)に到達していない場合に、上記最低穀温(C)に到達するまでバーナー(5)の燃焼量を増加し、その後は上記所定の乾燥速度により乾燥制御することを特徴とする排風循環型穀粒乾燥機。
  2. 前記制御部(F)は、穀粒の水分値に対応して最低穀温(C)を設定する構成としたことを特徴とする請求項1記載の排風循環型穀粒乾燥機。
JP2008274845A 2008-10-24 2008-10-24 排風循環型穀粒乾燥機 Expired - Fee Related JP5422965B2 (ja)

Priority Applications (1)

Application Number Priority Date Filing Date Title
JP2008274845A JP5422965B2 (ja) 2008-10-24 2008-10-24 排風循環型穀粒乾燥機

Applications Claiming Priority (1)

Application Number Priority Date Filing Date Title
JP2008274845A JP5422965B2 (ja) 2008-10-24 2008-10-24 排風循環型穀粒乾燥機

Publications (2)

Publication Number Publication Date
JP2010101585A true JP2010101585A (ja) 2010-05-06
JP5422965B2 JP5422965B2 (ja) 2014-02-19

Family

ID=42292376

Family Applications (1)

Application Number Title Priority Date Filing Date
JP2008274845A Expired - Fee Related JP5422965B2 (ja) 2008-10-24 2008-10-24 排風循環型穀粒乾燥機

Country Status (1)

Country Link
JP (1) JP5422965B2 (ja)

Cited By (1)

* Cited by examiner, † Cited by third party
Publication number Priority date Publication date Assignee Title
JP2015187520A (ja) * 2014-03-27 2015-10-29 井関農機株式会社 穀物乾燥機

Citations (4)

* Cited by examiner, † Cited by third party
Publication number Priority date Publication date Assignee Title
JPS61195266A (ja) * 1985-02-22 1986-08-29 井関農機株式会社 穀粒乾燥機
JPS63282476A (ja) * 1987-05-15 1988-11-18 井関農機株式会社 穀物乾燥機の乾燥制御装置
JP2007010247A (ja) * 2005-06-30 2007-01-18 Iseki & Co Ltd 穀粒乾燥機
JP2009287831A (ja) * 2008-05-29 2009-12-10 Iseki & Co Ltd 排風循環型穀粒乾燥機

Patent Citations (4)

* Cited by examiner, † Cited by third party
Publication number Priority date Publication date Assignee Title
JPS61195266A (ja) * 1985-02-22 1986-08-29 井関農機株式会社 穀粒乾燥機
JPS63282476A (ja) * 1987-05-15 1988-11-18 井関農機株式会社 穀物乾燥機の乾燥制御装置
JP2007010247A (ja) * 2005-06-30 2007-01-18 Iseki & Co Ltd 穀粒乾燥機
JP2009287831A (ja) * 2008-05-29 2009-12-10 Iseki & Co Ltd 排風循環型穀粒乾燥機

Cited By (1)

* Cited by examiner, † Cited by third party
Publication number Priority date Publication date Assignee Title
JP2015187520A (ja) * 2014-03-27 2015-10-29 井関農機株式会社 穀物乾燥機

Also Published As

Publication number Publication date
JP5422965B2 (ja) 2014-02-19

Similar Documents

Publication Publication Date Title
JP5125419B2 (ja) 乾燥装置
JP5573913B2 (ja) 農作物用乾燥機
JP5151289B2 (ja) 乾燥機
JP2009024948A5 (ja)
JP2010144969A (ja) 排風循環型穀粒乾燥機
JP6094358B2 (ja) 穀物乾燥機
JP6464564B2 (ja) 穀物乾燥機
JP5310786B2 (ja) 乾燥機
JP5245317B2 (ja) 農産物用乾燥機
JP5422965B2 (ja) 排風循環型穀粒乾燥機
JP5211856B2 (ja) 排風循環型穀粒乾燥機
JP2009036465A5 (ja)
JP2009024955A (ja) 乾燥装置
JP5267634B2 (ja) 穀粒乾燥機
JP4992442B2 (ja) 穀粒乾燥機
JP5796585B2 (ja) 農作物用乾燥機
JP5040384B2 (ja) 排風循環式穀物乾燥機
JP4737048B2 (ja) 排風還流式穀物乾燥機
JP2007205600A (ja) 穀粒乾燥機
JP6349919B2 (ja) 穀物乾燥機
JP5201230B2 (ja) 排風還流式穀物乾燥機
JP2005114238A5 (ja)
JP2005114238A (ja) 循環式穀物乾燥機
JP5152283B2 (ja) 穀粒乾燥機
JP6597828B2 (ja) 穀物乾燥機

Legal Events

Date Code Title Description
A621 Written request for application examination

Free format text: JAPANESE INTERMEDIATE CODE: A621

Effective date: 20111012

A131 Notification of reasons for refusal

Free format text: JAPANESE INTERMEDIATE CODE: A131

Effective date: 20130226

A521 Request for written amendment filed

Free format text: JAPANESE INTERMEDIATE CODE: A523

Effective date: 20130415

TRDD Decision of grant or rejection written
A01 Written decision to grant a patent or to grant a registration (utility model)

Free format text: JAPANESE INTERMEDIATE CODE: A01

Effective date: 20131029

A61 First payment of annual fees (during grant procedure)

Free format text: JAPANESE INTERMEDIATE CODE: A61

Effective date: 20131111

R150 Certificate of patent or registration of utility model

Free format text: JAPANESE INTERMEDIATE CODE: R150

Ref document number: 5422965

Country of ref document: JP

Free format text: JAPANESE INTERMEDIATE CODE: R150

LAPS Cancellation because of no payment of annual fees