JP2010100893A - 成膜装置および成膜方法 - Google Patents

成膜装置および成膜方法 Download PDF

Info

Publication number
JP2010100893A
JP2010100893A JP2008273001A JP2008273001A JP2010100893A JP 2010100893 A JP2010100893 A JP 2010100893A JP 2008273001 A JP2008273001 A JP 2008273001A JP 2008273001 A JP2008273001 A JP 2008273001A JP 2010100893 A JP2010100893 A JP 2010100893A
Authority
JP
Japan
Prior art keywords
substrate
monitor
holding member
film
film forming
Prior art date
Legal status (The legal status is an assumption and is not a legal conclusion. Google has not performed a legal analysis and makes no representation as to the accuracy of the status listed.)
Granted
Application number
JP2008273001A
Other languages
English (en)
Other versions
JP5163422B2 (ja
Inventor
Mitsuru Kobayashi
満 小林
Current Assignee (The listed assignees may be inaccurate. Google has not performed a legal analysis and makes no representation or warranty as to the accuracy of the list.)
Nikon Corp
Original Assignee
Nikon Corp
Priority date (The priority date is an assumption and is not a legal conclusion. Google has not performed a legal analysis and makes no representation as to the accuracy of the date listed.)
Filing date
Publication date
Application filed by Nikon Corp filed Critical Nikon Corp
Priority to JP2008273001A priority Critical patent/JP5163422B2/ja
Publication of JP2010100893A publication Critical patent/JP2010100893A/ja
Application granted granted Critical
Publication of JP5163422B2 publication Critical patent/JP5163422B2/ja
Expired - Fee Related legal-status Critical Current
Anticipated expiration legal-status Critical

Links

Images

Landscapes

  • Physical Vapour Deposition (AREA)
  • Surface Treatment Of Optical Elements (AREA)

Abstract

【課題】カルーセル式の成膜装置を用いて成膜作業を行う際に、モニター基板の裏面に成膜される事態を回避して正確なモニター計測を行う。
【解決手段】基板保持部材5にモニター用通路20が基板保持部材5の側面を貫通する形で形成されている。モニター用通路20の一端部にモニター基板21がその表面を基板保持部材5上の成膜基板の表面と同じ成膜条件とするように装着されている。成膜基板の成膜時にターゲットからスパッタされた粒子がモニター基板21の裏面に到達する経路を遮断する経路遮断手段22が設けられている。これにより、成膜時にモニター基板21の裏面に成膜される事態を回避でき、正確なモニター計測を行うことができる。
【選択図】図2

Description

本発明は、レンズその他の光学部材を製造する際に適用するに好適な成膜装置および成膜方法に関するものである。
従来、この種の光学部材を効率よく製造するには、カルーセル式の成膜装置により、成膜基板の表面に薄膜を成膜する場合がある(例えば、特許文献1、2参照)。
このカルーセル式の成膜装置を用いて成膜作業を行う際には、成膜基板が取り付けられた基板保持部材を回転させながら、基板保持部材の周囲に配設されたターゲットから成膜基板に向けて粒子をスパッタすることにより、成膜基板の表面に薄膜を積み重ねて成膜する。
ところが、このようにして成膜作業を行うと、成膜中(成膜開始から成膜完了までの間)に成膜された膜厚や光学特性が若干変動する恐れがある。したがって、精密な制御を行う場合には、基板保持部材に形成されたモニター用通路の一端部にモニター基板を成膜基板と同様に取り付けておき、成膜中に、基板保持部材の回転を一旦停止し、モニター基板に光を透過させてモニター計測を行うことにより、モニター基板の膜厚や光学特性を測定する必要がある。
特開2006−124778号公報 特開平8−176821号公報
しかしながら、このモニター用通路は、モニター計測時におけるモニター基板の透光性を確保すべく一直線状に形成されている。そのため、成膜時に、ターゲットからスパッタされた粒子がモニター用通路にその他端部(モニター基板が取り付けられていない端部)から侵入してモニター基板の裏面に付着する形で成膜されてしまい、正確なモニター計測を阻害するという課題があった。
本発明は、このような事情に鑑み、モニター基板の裏面に成膜される事態を回避して正確なモニター計測を行うことが可能な成膜装置および成膜方法を提供することを目的とする。
本発明に係る第1の成膜装置は、1枚以上の成膜基板(7)を保持しうるドラム状の基板保持部材(5)が回転自在に支持され、前記基板保持部材の周囲にターゲット(11、12)が配設され、前記基板保持部材の側面に成膜基板が保持された状態で当該基板保持部材を回転させつつ、スパッタ法により、前記成膜基板の表面に薄膜を成膜する成膜装置(1)であって、前記基板保持部材にモニター用通路(20)が当該基板保持部材の側面を貫通する形で形成され、前記モニター用通路の一端部にモニター基板(21)がその表面を前記基板保持部材上の成膜基板の表面と同じ成膜条件とするように装着され、前記成膜基板の成膜時に前記ターゲットからスパッタされた粒子が前記モニター基板の裏面に到達する経路を遮断する経路遮断手段(22、27、29、31)が設けられている成膜装置としたことを特徴とする。
本発明に係る成膜方法は、上記成膜装置(1)により、前記成膜基板(7)に薄膜を成膜する成膜方法としたことを特徴とする。
なお、ここでは、本発明をわかりやすく説明するため、実施の形態を表す図面の符号に対応づけて説明したが、本発明が実施の形態に限定されるものでないことは言及するまでもない。
本発明によれば、成膜時にターゲットからスパッタされた粒子がモニター基板の裏面に到達する経路を遮断することができるため、モニター基板の裏面に成膜される事態を回避して正確なモニター計測を行うことが可能となる。
以下、本発明の実施の形態について説明する。
[発明の実施の形態1]
図1乃至図4は、本発明の実施の形態1に係る図である。
まず、構成を説明する。
カルーセル式の成膜装置1は、図1に示すように、八角形筒状のチャンバ(真空槽)2を有しており、チャンバ2の内部には成膜室3が形成されている。成膜室3の中央部には所定の直径の円筒状の基板保持部材5が、その中心軸CT1を中心として所定の回転速度(例えば、100rpm)で矢印M方向に回転駆動自在に支持されている。基板保持部材5の外周には、その全周にわたって所定個数のホルダ6がねじ止めで設置されており、各ホルダ6にはそれぞれ所定枚数(例えば、7枚)の成膜基板7が着脱自在に取り付けられている。
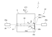
また、チャンバ2の外周面、つまり基板保持部材5の周囲には、図1に示すように、第1ターゲット11および第2ターゲット12が互いに180°の角度位置で基板保持部材5を挟んで対向するように設置されている。ここで、第1ターゲット11の材料としてはケイ素(Si)が用いられており、第2ターゲット12の材料としてはニオブ(Nb)が用いられている。また、チャンバ2の外周面には、酸化源(ラジカル源)13が、第1ターゲット11および第2ターゲット12に対して90°の角度位置に設置されている。さらに、チャンバ2の外周面には、第1真空排気装置15が第1ターゲット11と酸化源13との中間に取り付けられているとともに、第2真空排気装置16が第2ターゲット12と酸化源13との中間に取り付けられている。また、チャンバ2には給気管(図示せず)が取り付けられており、この給気管を通じて成膜室3にアルゴンガス(Ar)を供給することができる。
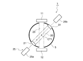
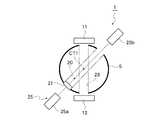
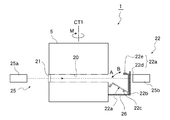
ところで、基板保持部材5には、図2および図3に示すように、モニター用通路20が、基板保持部材5の側面を貫通する形で基板保持部材5の径方向に一直線状に形成されている。モニター用通路20の一端部にはモニター基板21が、その表面を成膜基板7の表面と同じ成膜条件とするように着脱自在に取り付けられている。また、基板保持部材5の外側には、図2および図4に示すように、透過式のモニター計測手段25が配設されている。このモニター計測手段25は、光源などの送光系25aおよび光検出器などの受光系25bを備えており、送光系25aと受光系25bとは、図4に示すように、モニター用通路20の両側に対向する形で互いに180°の角度位置に設置されている。
一方、モニター用通路20の他端部の内側には、図2に示すように、開閉部材(モニター開閉機構、経路遮断手段)22が設けられている。この開閉部材22は、蓋体22a、ヒンジ22bおよびストッパ22cを備えている。ここで、蓋体22aは基板保持部材5の内側にヒンジ22bを介して矢印A、B方向に揺動自在に取り付けられており、ストッパ22cおよび基板保持部材5の内周面によってそれぞれ矢印A、B方向の揺動が規制されている。さらに、蓋体22aは、逆L字形の蓋本体22dおよび重錘22eから構成されている。ここで、重錘22eは蓋本体22d上に蓋体22a全体の重心をヒンジ22bより基板保持部材5の内側に位置させるように載置されている。そのため、蓋体22aは、基板保持部材5が停止していると、蓋体22aに自重のみが作用するため、図2に想像線で示すように、矢印A方向に揺動してストッパ22cに支持され、モニター用通路20を開放した状態となっているとともに、基板保持部材5が回転していると、その回転に伴い、蓋体22aの自重に打ち勝つほどの遠心力が作用するため、図2に実線で示すように、矢印B方向に揺動して基板保持部材5の内周面に当接し、モニター用通路20を閉塞した状態となっている。
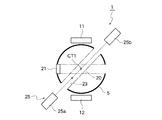
また、基板保持部材5には、図3に示すように、リファレンス用通路23が、基板保持部材5の側面を貫通して基板保持部材5の径方向に一直線状に形成されており、リファレンス用通路23は、モニター用通路20に対して所定の角度(例えば、45°)をなしている。
次に、作用について説明する。
カルーセル式の成膜装置1は以上のような構成を有するので、この成膜装置1を用いて成膜作業を行う際には、次の手順による。
まず、準備工程で、成膜基板7およびモニター基板21の取付作業、成膜室3の真空引き作業を行う。すなわち、基板保持部材5にホルダ6を介して成膜基板7を取り付けるとともに、モニター用通路20の一端部にモニター基板21を取り付ける。なお、開口があるホルダーにモニター基板21を取り付け、このホルダーを基板保持部材5に取り付ける構成としてもよい。このとき、モニター基板21の表面を成膜基板7の表面と同じ成膜条件とするようにする。また、第1真空排気装置15および第2真空排気装置16を駆動してチャンバ2の内部のガスを排気することにより、成膜室3を所定の真空度(例えば、1×10-5〜1×10-3Pa)の真空にする。
次に、基板回転工程に移行し、基板保持部材5を中心軸CT1を中心として所定の回転速度(例えば、100rpm)で矢印M方向に回転させる。すると、基板保持部材5の回転に同期して基板7が中心軸CT1を中心として同じ回転速度で公転する。
次いで、1層目成膜工程に移行し、成膜基板7に対して、二酸化ケイ素からなる1層目の成膜を行う。それには、第1ターゲット11の電源をオンすることにより、第1ターゲット11からケイ素(Si)をスパッタして成膜基板7の表面に付着させた後、酸化源13から酸素ガスを放出して二酸化ケイ素からなる透明な誘電体を生成する。すると、成膜基板7の表面に1層目の成膜が行われる。
この1層目成膜工程においては、モニター基板21の表面も成膜基板7の表面と同じ成膜条件で成膜される。他方、モニター基板21の裏面は成膜を回避することができる。なぜなら、基板保持部材5が回転しているため、上述したとおり、モニター用通路20は開閉部材22によって閉塞されている。したがって、第1ターゲット11からスパッタされた粒子(ケイ素)がモニター用通路20を通過してモニター基板21の裏面に到達する経路が遮断される。そのため、モニター基板21の裏面に二酸化ケイ素が成膜される事態が発生しないのである。
その後、2層目成膜工程に移行し、成膜基板7に対して、五酸化二ニオブからなる2層目の成膜を行う。それには、基板保持部材5を回転させたまま、第1ターゲット11の電源をオフするとともに、第2ターゲット12の電源をオンすることにより、第2ターゲット12からニオブ(Nb)をスパッタして成膜基板7の表面(1層目の二酸化ケイ素の上)に付着させた後、酸化源13から酸素ガスを放出して五酸化二ニオブからなる透明な誘電体を生成する。すると、成膜基板7の表面に2層目の成膜が行われる。
この2層目成膜工程においては、モニター基板21の表面も成膜基板7の表面と同じ成膜条件で成膜される。他方、モニター基板21の裏面は成膜を回避することができる。なぜなら、基板保持部材5が回転しているため、上述したとおり、モニター用通路20は開閉部材22によって閉塞されている。したがって、第2ターゲット12からスパッタされた粒子(ニオブ)がモニター用通路20を通過してモニター基板21の裏面に到達する経路が遮断される。そのため、モニター基板21の裏面に五酸化二ニオブが成膜される事態が発生しないのである。
その後、このような成膜工程を所定の回数だけ繰り返す。これらの成膜工程においても、モニター基板21は、表面が成膜基板7の表面と同じ成膜条件で成膜されるとともに、1層目成膜工程、2層目成膜工程と同じ理由により、裏面は成膜を回避することができる。
そして、これらの成膜工程において精密な制御を行うため、この成膜基板7の成膜中(成膜開始から成膜完了までの間)に、基板保持部材5の回転を一旦停止してモニター計測を行う。
それには、まず、図3に示すように、モニター計測手段25の送光系25aと受光系25bとを結ぶ直線にリファレンス用通路23が一致するように基板保持部材5を位置決めし、送光系25aからリファレンス光を送光してリファレンス用通路23を通過させて受光系25で受光することにより、リファレンス光の光量(モニター基板21を透過させないときの光量)を得る。
次いで、図4に示すように、モニター計測手段25の送光系25aと受光系25bとを結ぶ直線にモニター用通路20が一致するように基板保持部材5を位置決めし、送光系25aからモニター基板21に送光し、モニター基板21を透過した光をモニター用通路20を通過させて受光系25で受光することにより、モニター基板21を透過させたときの光量を得る。
次に、先ほど得たリファレンス光の光量に基づき、モニター基板21を透過させたときの光量を校正した後、この光量を入射光の光量(送光系25aの送光量)で除して透過率を算出し、この透過率からモニター基板21の膜厚および光学特性を求める。なお、光量を校正した後に暗電流の値を減じてから透過率を求めてもよい。
ここで、モニター基板21の表面は、上述したとおり、成膜基板7の表面と同じ成膜条件で成膜されているので、モニター基板21の膜厚および光学特性を成膜基板7の膜厚および光学特性とみなす。
そして、この結果を成膜作業にフィードバックすることにより、精密な制御を行う。
このとき、基板保持部材5が停止しているため、上述したとおり、モニター用通路20は開閉部材22によって開放されている。したがって、モニター計測を支障なく実行することができる。しかも、上述したとおり、成膜中にモニター基板21の裏面に成膜される事態は回避されているので、正確なモニター計測を行うことが可能となる。
[発明の実施の形態2]
図5は、本発明の実施の形態2に係る図である。
この成膜装置1は、図5に示すように、開閉部材22が基板保持部材5の内側ではなく外側にステー26を介して取り付けられている点を除き、上述した実施の形態1と同じ構成を有している。なお、実施の形態1と同一の部材については、同一の符号を付してその説明を省略する。
したがって、この成膜装置1では、上述した実施の形態1と同じ作用効果を奏する。これに加えて、開閉部材22を基板保持部材5の内側に設置する必要がないので、基板保持部材5の内部構造の如何にかかわらず開閉部材22を設けることができる。その結果、開閉部材22を備えた成膜装置1を設計するときの自由度が高くなる。
[発明の実施の形態3]
図6は、本発明の実施の形態3に係る図である。
この成膜装置1は、図6に示すように、モニター用通路20の他端部の内側に、開閉部材22の代わりに、円弧状のシャッター(モニター開閉機構、経路遮断手段)27が矢印C、D方向に電磁的に移動自在に取り付けられている。そして、成膜基板7の成膜時には、図6に実線で示すように、矢印C方向に移動してモニター用通路20を閉塞するとともに、モニター基板21のモニター計測時には、図6に想像線で示すように、矢印D方向に移動してモニター用通路20を開放するように構成されている。また、基板保持部材5には、モニター用通路20のみが形成されており、リファレンス用通路23が形成されていない。これら以外の構成については、上述した実施の形態1と同じ構成を有している。なお、実施の形態1と同一の部材については、同一の符号を付してその説明を省略する。
したがって、この成膜装置1では、上述した実施の形態1と同じ作用効果を奏する。これに加えて、図2や図5に示す開閉部材22と比べて、容易に小型軽量化することができるため、基板保持部材5の回転バランスの崩れ、ひいては成膜基板7間の成膜条件のばらつきを抑制することができる。
[発明の実施の形態4]
図7は、本発明の実施の形態4に係る図である。
この成膜装置1は、モニター用通路20の他端部の内側に開閉部材22が取り付けられる代わりに、図7に示すように、基板保持部材5の内部に円筒状のシールド(モニター開閉機構、リファレンス開閉機構、経路遮断手段)29が基板保持部材5と同心円状に配設されている。このシールド29は、基板保持部材5の回転・停止とは関係なく常に固定された状態を維持するように設けられている。そして、シールド29には、2つの丸孔29a、29bが、それぞれ送光系25a、受光系25bの設置位置に合わせて互いに180°の角度位置に穿設されている。これ以外の構成については、上述した実施の形態1と同じ構成を有している。なお、実施の形態1と同一の部材については、同一の符号を付してその説明を省略する。
したがって、成膜基板7の成膜時には、ターゲット(第1ターゲット11、第2ターゲット12)からスパッタされた粒子がモニター基板21の裏面に到達する経路をシールド29で遮断することができる。そのため、モニター基板21の裏面に成膜される事態を回避することができる。また、モニター基板21のモニター計測時には、図7に示すように、送光系25aから送光されてモニター基板21を透過した光がシールド29の丸孔29a、29bを通過して受光系25で受光されるので、モニター計測を支障なく実行することができる。
さらに、シールド29は、このようにモニター開閉機構として機能するのみならず、リファレンス開閉機構としても機能する。すなわち、成膜基板7の成膜時に、一方のターゲット(第1ターゲット11または第2ターゲット12)からスパッタされた粒子(ケイ素またはニオブ)が他方のターゲット(第2ターゲット12または第1ターゲット11)に向けてリファレンス用通路23をまっすぐに通過するのをシールド29で阻止することができるので、一方のターゲットの粒子が他方のターゲットに付着して成膜基板7の特性不良を引き起こす事態を回避することができる。
[発明の実施の形態5]
図8は、本発明の実施の形態5に係る図である。
この成膜装置1は、モニター用通路20の他端部の内側に開閉部材22が取り付けられる代わりに、図8に示すように、モニター用通路20の他端部に別個のモニター基板(経路遮断手段)31が、その表面を成膜基板7の表面と同じ成膜条件とするように着脱自在に取り付けられている。これ以外の構成については、上述した実施の形態1と同じ構成を有している。なお、実施の形態1と同一の部材については、同一の符号を付してその説明を省略する。
したがって、成膜基板7の成膜時には、ターゲット(第1ターゲット11、第2ターゲット12)からスパッタされた粒子がモニター基板21の裏面に到達する経路をモニター基板31で遮断することができると同時に、ターゲット(第1ターゲット11、第2ターゲット12)からスパッタされた粒子がモニター基板31の裏面に到達する経路をモニター基板21で遮断することができる。そのため、各モニター基板21、31の裏面に成膜される事態を同時に回避することができる。また、モニター基板21のモニター計測時には、送光系25aから送光された光が2枚のモニター基板21、31を透過して受光系25で受光されることになるが、その後の演算処理によってモニター基板21の膜厚および光学特性を適正に求められるため、モニター計測を支障なく実行することができる。
[発明の実施の形態6]
図9は、本発明の実施の形態6に係る図である。
この成膜装置1は、図9に示すように、第1ターゲット11および第2ターゲット12が互いに180°ではなく90°の角度位置に設置されている点を除き、上述した実施の形態1と同じ構成を有している。なお、実施の形態1と同一の部材については、同一の符号を付してその説明を省略する。
したがって、この成膜装置1では、上述した実施の形態1と同じ作用効果を奏する。これに加えて、第1ターゲット11および第2ターゲット12が基板保持部材5を挟んで互いに対向していないので、成膜基板7の成膜時に、一方のターゲット(第1ターゲット11または第2ターゲット12)からスパッタされた粒子(ケイ素またはニオブ)がリファレンス用通路23をまっすぐに通過して他方のターゲット(第2ターゲット12または第1ターゲット11)に付着し、成膜基板7の膜に不純物が混ざるなど特性不良につながる事態を回避することができる。
[発明のその他の実施の形態]
なお、上述した実施の形態1では、モニター用通路20の他端部(つまり、モニター基板21が取り付けられない端部)の内側に開閉部材22を設ける場合について説明したが、モニター用通路20の一端部(つまり、モニター基板21が取り付けられる端部)の内側に開閉部材22を設けるようにしても構わない。また、モニター基板21の近傍に開閉部材22を配置することにより、スパッタ粒子のわずかな回り込みがある場合でも、回り込んだ粒子の付着を有効に防止することが期待できる。
また、上述した実施の形態3では、モニター用通路20の他端部(つまり、モニター基板21が取り付けられない端部)の内側にシャッター27を取り付ける場合について説明したが、シャッター27の取付位置はモニター用通路20の他端部の内側に限るわけではない。例えば、モニター用通路20の他端部の外側にシャッター27を取り付けることもできる。或いは、モニター用通路20の一端部(つまり、モニター基板21が取り付けられる端部)の内側にシャッター27を取り付けるようにしても構わない。また、モニター用通路20の端部に限らず、モニター用通路20の途中にシャッター27を設けてもよい。
さらに、上述した実施の形態1〜6では、円筒状の基板保持部材5を備えた成膜装置1について説明したが、基板保持部材5の形状は、円筒状に限るわけではなく、ドラム状であればよい。ここで、「ドラム状」とは、成膜基板を保持しうる側面を備えた形状を意味し、円筒状の他に円柱状、多角形柱状、多角形筒状などの形状を含む概念である。
また、上述した実施の形態1〜6では、モニター基板21の裏面に成膜される事態を回避すべく、成膜基板7の成膜時にターゲット(第1ターゲット11、第2ターゲット12)からスパッタされた粒子がモニター基板21の裏面に到達する経路を遮断する種々の経路遮断手段(開閉部材22、シャッター27、シールド29、モニター基板31)を設ける場合について説明したが、これらの経路遮断手段に代えて、或いは、これらの経路遮断手段に加えて、アルゴンガスの流量を増やすようにしてもよい。この場合、一方のターゲット(第1ターゲット11または第2ターゲット12)からスパッタされた粒子(ケイ素またはニオブ)がアルゴンガスの粒子に衝突して直進性が妨げられ、他方のターゲット(第2ターゲット12または第1ターゲット11)に到達しなくなる可能性が高くなる。その結果、モニター基板21の裏面に成膜される事態を抑制することができる。
また、上述した実施の形態1〜6では、経路遮断手段を1つだけ設ける場合について説明したが、複数(2つ以上)の経路遮断手段を設けてもよいことは言うまでもない。なお、こうして経路遮断手段を1つ以上設けると、モニター計測時には経路遮断手段が送光系25aから受光系25bまでの間から退避されていることを確認する必要が生じる。それには、例えば、受光系25bで受光するリファンレンス光の光量またはモニター基板21の測定時の光量が所定値以下であるときは、遮光部材が退避されていないと判断するようにすればよい。
また、上述した実施の形態1、2では、モニター開閉機構として開閉部材22を用いる場合について説明し、また、上述した実施の形態3では、モニター開閉機構としてシャッター27を用いる場合について説明した。しかし、これらの開閉部材22、シャッター27をリファレンス開閉機構として用いることもできる。
また、上述した実施の形態1、2では、基板保持部材5が停止しているときに、蓋体22aの自重により、開閉機構が開くように構成した場合について説明したが、蓋体22aに重錘22eを設けずに、蓋体22aに重力が作用するような部材(図示せず)を設けて、この重力の作用により停止時に蓋体22aが下がるように構成してもよい。
また、上述した実施の形態6では、成膜基板7の特性不良を回避するため、第1ターゲット11および第2ターゲット12を90°の角度位置に設置する場合について説明したが、第1ターゲット11および第2ターゲット12の角度位置は、180°以外であればよく、90°に限るわけではない。
また、上述した実施の形態1、2、4〜6では、リファレンス用通路23が形成された基板保持部材5について説明したが、リファレンス用通路23に経路遮断手段を設けない場合は、スパッタされた粒子がリファレンス用通路23を通って対向する位置にあるターゲットの表面に付着する恐れがある。すると、ターゲットの物質とは異なる物質が表面に付着し、これが再度スパッタされることにより、膜の不純物の原因となり得る。リファレンス用通路23に経路遮断手段を設けることにより、このような不具合を回避することができる。
本発明は、反射防止膜付きレンズ、反射ミラー、ハーフミラー、フィルターなど各種の光学部材の製造業に広く適用することができる。
本発明の実施の形態1に係る成膜装置を模式的に示す平面図である。 同実施の形態1に係る成膜装置の要部を示す垂直断面図である。 同実施の形態1に係る成膜装置の基板保持部材のキャリブレーション時における位置関係を示す水平断面図である。 同実施の形態1に係る成膜装置の基板保持部材のモニター計測時における位置関係を示す水平断面図である。 本発明の実施の形態2に係る成膜装置の要部を示す垂直断面図である。 本発明の実施の形態3に係る成膜装置の要部を示す水平断面図である。 本発明の実施の形態4に係る成膜装置の要部を示す水平断面図である。 本発明の実施の形態5に係る成膜装置の要部を示す水平断面図である。 本発明の実施の形態6に係る成膜装置の要部を示す水平断面図である。
符号の説明
1……成膜装置
2……チャンバ
3……成膜室
5……基板保持部材
6……ホルダ
7……成膜基板
11……第1ターゲット(ターゲット)
12……第2ターゲット(ターゲット)
13……酸化源
15……第1真空排気装置
16……第2真空排気装置
20……モニター用通路
21……モニター基板
22……開閉部材(モニター開閉機構、経路遮断手段)
22a……蓋体
22b……ヒンジ
22c……ストッパ
22d……蓋本体
22e……重錘
23……リファレンス用通路
25……モニター計測手段
25a……送光系
25b……受光系
26……ステー
27……シャッター(モニター開閉機構、経路遮断手段)
29……シールド(モニター開閉機構、リファレンス開閉機構、経路遮断手段)
29a、29b……丸孔
31……モニター基板(経路遮断手段)
CT1……基板保持部材の中心軸

Claims (11)

  1. 1枚以上の成膜基板を保持しうるドラム状の基板保持部材が回転自在に支持され、前記基板保持部材の周囲にターゲットが配設され、前記基板保持部材の側面に成膜基板が保持された状態で当該基板保持部材を回転させつつ、スパッタ法により、前記成膜基板の表面に薄膜を成膜する成膜装置であって、
    前記基板保持部材にモニター用通路が当該基板保持部材の側面を貫通する形で形成され、
    前記モニター用通路の一端部にモニター基板がその表面を前記基板保持部材上の成膜基板の表面と同じ成膜条件とするように装着され、
    前記成膜基板の成膜時に前記ターゲットからスパッタされた粒子が前記モニター基板の裏面に到達する経路を遮断する経路遮断手段が設けられていることを特徴とする成膜装置。
  2. 前記基板保持部材は、ほぼ円筒状であり、その中心軸を中心として回転可能で、その側面に前記成膜基板および前記モニター基板を保持可能であることを特徴とする請求項1に記載の成膜装置。
  3. 前記経路遮断手段は、前記成膜基板の成膜時に前記モニター用通路を閉塞するとともに、前記モニター基板のモニター計測時に前記モニター用通路を開放するモニター開閉機構であることを特徴とする請求項1または2に記載の成膜装置。
  4. 前記モニター開閉機構は、前記成膜基板の成膜時に前記基板保持部材の回転に伴う遠心力を利用して前記モニター用通路を閉塞するとともに、前記モニター基板のモニター計測時に重力によって前記モニター用通路を開放するように、前記基板保持部材に設けられた開閉部材であることを特徴とする請求項3に記載の成膜装置。
  5. 前記モニター開閉機構は、前記モニター用通路を電磁的に開閉するシャッターであることを特徴とする請求項3に記載の成膜装置。
  6. 前記経路遮断手段は、前記成膜基板の成膜時に前記ターゲットからスパッタされた粒子の進路を遮蔽するとともに、前記モニター基板のモニター計測時に前記モニター基板を透過する光を通過させるように、前記基板保持部材の内部に配設されたシールドであることを特徴とする請求項1または2に記載の成膜装置。
  7. 前記経路遮断手段は、前記モニター基板とは別個のモニター基板であって、その表面が前記基板保持部材上の成膜基板の表面と同じ成膜条件となるように前記モニター用通路の他端部に装着されたモニター基板であることを特徴とする請求項1または2に記載の成膜装置。
  8. 前記基板保持部材には、前記モニター基板のモニター計測時に前記モニター基板を透過する光を校正するためのリファレンス光を透過させるリファレンス用通路が当該基板保持部材の側面を貫通する形で形成されていることを特徴とする請求項1乃至7のいずれかに記載の成膜装置。
  9. 前記成膜基板の成膜時に前記リファレンス用通路を閉塞するとともに、前記リファレンス光の透過時に前記リファレンス用通路を開放するリファレンス開閉機構が設けられていることを特徴とする請求項8に記載の成膜装置。
  10. 前記基板保持部材の内部には、前記成膜基板の成膜時に前記ターゲットからスパッタされた粒子の進路を遮蔽するとともに、前記リファレンス光の透過時に前記リファレンス用通路を開放するシールドが設けられていることを特徴とする請求項8または9に記載の成膜装置。
  11. 請求項1乃至10のいずれかに記載の成膜装置により、前記成膜基板に薄膜を成膜することを特徴とする成膜方法。
JP2008273001A 2008-10-23 2008-10-23 成膜装置および成膜方法 Expired - Fee Related JP5163422B2 (ja)

Priority Applications (1)

Application Number Priority Date Filing Date Title
JP2008273001A JP5163422B2 (ja) 2008-10-23 2008-10-23 成膜装置および成膜方法

Applications Claiming Priority (1)

Application Number Priority Date Filing Date Title
JP2008273001A JP5163422B2 (ja) 2008-10-23 2008-10-23 成膜装置および成膜方法

Publications (2)

Publication Number Publication Date
JP2010100893A true JP2010100893A (ja) 2010-05-06
JP5163422B2 JP5163422B2 (ja) 2013-03-13

Family

ID=42291782

Family Applications (1)

Application Number Title Priority Date Filing Date
JP2008273001A Expired - Fee Related JP5163422B2 (ja) 2008-10-23 2008-10-23 成膜装置および成膜方法

Country Status (1)

Country Link
JP (1) JP5163422B2 (ja)

Cited By (1)

* Cited by examiner, † Cited by third party
Publication number Priority date Publication date Assignee Title
US9053883B2 (en) 2010-10-12 2015-06-09 Mitsubishi Electric Corporation Gas circuit breaker

Citations (3)

* Cited by examiner, † Cited by third party
Publication number Priority date Publication date Assignee Title
JPH10330934A (ja) * 1997-06-03 1998-12-15 Natl Res Council Of Canada コーティングを基板上に堆積する堆積方法および堆積装置
JPH11241162A (ja) * 1997-12-01 1999-09-07 Natl Res Council Of Canada 光学的にモニタできるスパッタリング方法及びそのための装置
WO2002063064A1 (en) * 2001-02-07 2002-08-15 Asahi Glass Company, Limited Spatter device and spatter film forming method

Patent Citations (3)

* Cited by examiner, † Cited by third party
Publication number Priority date Publication date Assignee Title
JPH10330934A (ja) * 1997-06-03 1998-12-15 Natl Res Council Of Canada コーティングを基板上に堆積する堆積方法および堆積装置
JPH11241162A (ja) * 1997-12-01 1999-09-07 Natl Res Council Of Canada 光学的にモニタできるスパッタリング方法及びそのための装置
WO2002063064A1 (en) * 2001-02-07 2002-08-15 Asahi Glass Company, Limited Spatter device and spatter film forming method

Cited By (1)

* Cited by examiner, † Cited by third party
Publication number Priority date Publication date Assignee Title
US9053883B2 (en) 2010-10-12 2015-06-09 Mitsubishi Electric Corporation Gas circuit breaker

Also Published As

Publication number Publication date
JP5163422B2 (ja) 2013-03-13

Similar Documents

Publication Publication Date Title
US6649208B2 (en) Apparatus and method for thin film deposition onto substrates
US5940175A (en) Method and apparatus for surface inspection in a chamber
TWI242602B (en) Thin film forming apparatus and method
US10002417B2 (en) Ready for rotation state detection device, method of detecting ready for rotation state and substrate processing apparatus
JP2010206026A (ja) 成膜装置、成膜方法、プログラム、およびコンピュータ可読記憶媒体
WO2011135810A1 (ja) 成膜装置
JP5319856B1 (ja) 膜厚測定装置及び成膜装置
WO2009101909A1 (ja) マグネトロンスパッタ装置及びマグネトロンスパッタ方法
JP5163422B2 (ja) 成膜装置および成膜方法
KR20190002834U (ko) 진공에서의 박막 코팅 증착용 인-라인 코터
CN101586231A (zh) 镀膜装置
JP4667204B2 (ja) 多層膜の形成方法
CN108315704A (zh) 一种磁控溅射光学镀膜设备及镀膜方法
WO2015004755A1 (ja) 光学式膜厚計,薄膜形成装置及び膜厚測定方法
US7832353B2 (en) Semiconductor manufacturing apparatus equipped with wafer inspection device and inspection techniques
JP4755475B2 (ja) スパッタ装置
JP5921351B2 (ja) 成膜装置
JP2014034732A (ja) 蒸着装置及び蒸着物質の残余量測定方法
JP5649426B2 (ja) スパッタリング装置及びスパッタリング成膜方法並びにスパッタリング装置の電源制御方法
JP2007051347A (ja) 多層膜とその形成装置及び形成方法、及び多層膜を有する光学素子
KR20170105614A (ko) 박막 형성 장치
JP4049458B2 (ja) 薄膜の膜厚計測装置及び薄膜の膜厚計測方法
CN114323264A (zh) 一种测量真空设备内激光的原位能量测量装置及测量方法
TWI414616B (zh) 光學鍍膜裝置
JP6668618B2 (ja) 電子顕微鏡観察用の試料保持チップ

Legal Events

Date Code Title Description
A621 Written request for application examination

Free format text: JAPANESE INTERMEDIATE CODE: A621

Effective date: 20110927

A521 Request for written amendment filed

Free format text: JAPANESE INTERMEDIATE CODE: A523

Effective date: 20120323

A977 Report on retrieval

Free format text: JAPANESE INTERMEDIATE CODE: A971007

Effective date: 20121106

TRDD Decision of grant or rejection written
A01 Written decision to grant a patent or to grant a registration (utility model)

Free format text: JAPANESE INTERMEDIATE CODE: A01

Effective date: 20121120

A61 First payment of annual fees (during grant procedure)

Free format text: JAPANESE INTERMEDIATE CODE: A61

Effective date: 20121203

FPAY Renewal fee payment (event date is renewal date of database)

Free format text: PAYMENT UNTIL: 20151228

Year of fee payment: 3

R150 Certificate of patent or registration of utility model

Ref document number: 5163422

Country of ref document: JP

Free format text: JAPANESE INTERMEDIATE CODE: R150

Free format text: JAPANESE INTERMEDIATE CODE: R150

FPAY Renewal fee payment (event date is renewal date of database)

Free format text: PAYMENT UNTIL: 20151228

Year of fee payment: 3

R250 Receipt of annual fees

Free format text: JAPANESE INTERMEDIATE CODE: R250

R250 Receipt of annual fees

Free format text: JAPANESE INTERMEDIATE CODE: R250

R250 Receipt of annual fees

Free format text: JAPANESE INTERMEDIATE CODE: R250

R250 Receipt of annual fees

Free format text: JAPANESE INTERMEDIATE CODE: R250

R250 Receipt of annual fees

Free format text: JAPANESE INTERMEDIATE CODE: R250

R250 Receipt of annual fees

Free format text: JAPANESE INTERMEDIATE CODE: R250

R250 Receipt of annual fees

Free format text: JAPANESE INTERMEDIATE CODE: R250

R250 Receipt of annual fees

Free format text: JAPANESE INTERMEDIATE CODE: R250

R250 Receipt of annual fees

Free format text: JAPANESE INTERMEDIATE CODE: R250

LAPS Cancellation because of no payment of annual fees