JP2010095995A - ハブ組立体 - Google Patents
ハブ組立体 Download PDFInfo
- Publication number
- JP2010095995A JP2010095995A JP2009255487A JP2009255487A JP2010095995A JP 2010095995 A JP2010095995 A JP 2010095995A JP 2009255487 A JP2009255487 A JP 2009255487A JP 2009255487 A JP2009255487 A JP 2009255487A JP 2010095995 A JP2010095995 A JP 2010095995A
- Authority
- JP
- Japan
- Prior art keywords
- hub assembly
- hub
- flexible member
- pole
- poles
- Prior art date
- Legal status (The legal status is an assumption and is not a legal conclusion. Google has not performed a legal analysis and makes no representation as to the accuracy of the status listed.)
- Granted
Links
- 240000009023 Myrrhis odorata Species 0.000 claims description 3
- 235000007265 Myrrhis odorata Nutrition 0.000 claims description 3
- 235000012550 Pimpinella anisum Nutrition 0.000 claims description 3
- 230000037431 insertion Effects 0.000 claims 1
- 238000003780 insertion Methods 0.000 claims 1
- 239000007787 solid Substances 0.000 claims 1
- 239000004677 Nylon Substances 0.000 description 1
- 239000004744 fabric Substances 0.000 description 1
- 238000007373 indentation Methods 0.000 description 1
- 238000012423 maintenance Methods 0.000 description 1
- 229920001778 nylon Polymers 0.000 description 1
Images
Classifications
-
- E—FIXED CONSTRUCTIONS
- E04—BUILDING
- E04H—BUILDINGS OR LIKE STRUCTURES FOR PARTICULAR PURPOSES; SWIMMING OR SPLASH BATHS OR POOLS; MASTS; FENCING; TENTS OR CANOPIES, IN GENERAL
- E04H15/00—Tents or canopies, in general
- E04H15/32—Parts, components, construction details, accessories, interior equipment, specially adapted for tents, e.g. guy-line equipment, skirts, thresholds
- E04H15/34—Supporting means, e.g. frames
- E04H15/44—Supporting means, e.g. frames collapsible, e.g. breakdown type
- E04H15/48—Supporting means, e.g. frames collapsible, e.g. breakdown type foldable, i.e. having pivoted or hinged means
-
- E—FIXED CONSTRUCTIONS
- E04—BUILDING
- E04B—GENERAL BUILDING CONSTRUCTIONS; WALLS, e.g. PARTITIONS; ROOFS; FLOORS; CEILINGS; INSULATION OR OTHER PROTECTION OF BUILDINGS
- E04B1/00—Constructions in general; Structures which are not restricted either to walls, e.g. partitions, or floors or ceilings or roofs
- E04B1/18—Structures comprising elongated load-supporting parts, e.g. columns, girders, skeletons
- E04B1/19—Three-dimensional framework structures
- E04B1/1903—Connecting nodes specially adapted therefor
-
- E—FIXED CONSTRUCTIONS
- E04—BUILDING
- E04H—BUILDINGS OR LIKE STRUCTURES FOR PARTICULAR PURPOSES; SWIMMING OR SPLASH BATHS OR POOLS; MASTS; FENCING; TENTS OR CANOPIES, IN GENERAL
- E04H15/00—Tents or canopies, in general
- E04H15/32—Parts, components, construction details, accessories, interior equipment, specially adapted for tents, e.g. guy-line equipment, skirts, thresholds
-
- E—FIXED CONSTRUCTIONS
- E04—BUILDING
- E04H—BUILDINGS OR LIKE STRUCTURES FOR PARTICULAR PURPOSES; SWIMMING OR SPLASH BATHS OR POOLS; MASTS; FENCING; TENTS OR CANOPIES, IN GENERAL
- E04H15/00—Tents or canopies, in general
- E04H15/32—Parts, components, construction details, accessories, interior equipment, specially adapted for tents, e.g. guy-line equipment, skirts, thresholds
- E04H15/34—Supporting means, e.g. frames
-
- E—FIXED CONSTRUCTIONS
- E04—BUILDING
- E04B—GENERAL BUILDING CONSTRUCTIONS; WALLS, e.g. PARTITIONS; ROOFS; FLOORS; CEILINGS; INSULATION OR OTHER PROTECTION OF BUILDINGS
- E04B1/00—Constructions in general; Structures which are not restricted either to walls, e.g. partitions, or floors or ceilings or roofs
- E04B1/32—Arched structures; Vaulted structures; Folded structures
- E04B2001/3235—Arched structures; Vaulted structures; Folded structures having a grid frame
- E04B2001/3241—Frame connection details
- E04B2001/3247—Nodes
Landscapes
- Engineering & Computer Science (AREA)
- Architecture (AREA)
- Civil Engineering (AREA)
- Structural Engineering (AREA)
- Physics & Mathematics (AREA)
- Electromagnetism (AREA)
- Tents Or Canopies (AREA)
- Joining Of Building Structures In Genera (AREA)
Abstract
【課題】簡単であり、組立てるのに時間がかからないハブ組立体を提供する。
【解決手段】折りたたみ可能構造用のハブ組立体であって、該ハブ組立体は、中心開口を有するハブ本体(20)と、中心開口に配置できるカバー(22)と、複数の第1部分及び複数の第2部分を有する複数の可撓性部材(24)と、複数のヒンジ(28)によって可撓性部材(24)の第2部分に連結された複数のポール(26)とを備え、ハブ本体は中心開口からハブ本体の周囲まで延びる複数のスロットを有し、第1部分は、スロットに配置され、可撓性部材(24)は、一定の回転中心を有するポールの各々を閉位置と開位置の間で回転するために、第1部分と第2部分の間の複数の接点(36)を中心に移動するように作動できる。
【選択図】図3
【解決手段】折りたたみ可能構造用のハブ組立体であって、該ハブ組立体は、中心開口を有するハブ本体(20)と、中心開口に配置できるカバー(22)と、複数の第1部分及び複数の第2部分を有する複数の可撓性部材(24)と、複数のヒンジ(28)によって可撓性部材(24)の第2部分に連結された複数のポール(26)とを備え、ハブ本体は中心開口からハブ本体の周囲まで延びる複数のスロットを有し、第1部分は、スロットに配置され、可撓性部材(24)は、一定の回転中心を有するポールの各々を閉位置と開位置の間で回転するために、第1部分と第2部分の間の複数の接点(36)を中心に移動するように作動できる。
【選択図】図3
Description
本発明は、組立体に関する。特に、本発明は、折りたためる構造用のハブ組立体に関する。
折りたたみ可能テントは、何千年の間軍によって広く使用されてきた。使用の容易さのために、折りたたみ可能テントは、軍隊に好評である。一般的に、異なるタイプのハブが折りたたみ可能テントに用いられる。或るタイプのハブは、支持ポールの端部が、薄片にされて頭が丸く形成されるようなものである(”層薄片状端部”)。層薄片状端部の中心内に形成された小さな穴があり、中空弾性ピン(”ピン”)がその穴に挿入される。支持ポールを広げたり引込めたりするとき、支持ポールはピンを回転中心として使用する。しかしながら、テントが広げられるとき、テントが垂直線とピンの軸線の間の方向にわずかに回転する傾向があることは避けられない。そのような状況下では、薄片状端部が曲げられる可能性がある。ピンを取り除いて、一端に開口を有するリングと交換する、上記のハブと同様のさらに他のタイプのハブがある。第1のタイプのハブでは、全ての支持ポールは、ピンを同伴し、第2のタイプのハブでは、いくつかの支持ポールがリングでキャップされる。そのような構造の組立は、面倒であり、特に組立によって与えられる限られた空間のため、テントのメンテナンス中テントについて作業を行なうことを困難にする。さらに、1つの支持ポールを取り替えるために、テントを、必要な交換をするために分解しなければならない。これは、大きなサイズのテントのため相当な困難性を引き起こす。
これら2つのタイプのハブは、支持ポールの薄片状端部と主本体の両方をピンを用いて連結するという点で、共通のデメリットを共有する。その上、隣接する支持ポールのピンは、互いに面する。これは、収納中、ピンの頭部が互いに接触して、それによってテントの折りたたみを妨げるので、支持ポールの収納に影響を及ぼす。さらに、ピンが支持ポールの収納中互いに頻繁に接触するとき、磨耗が容易に起こる。
したがって、上記のような2つのタイプのハブの前述のデメリットを解決するために、本発明は、問題を解決するためのより単純なハブ組立体を使用する。
中心開口を有するハブ本体と、中心開口に配置できるカバーと、複数の第1部分及び複数の第2部分を有する複数の可撓性部材と、複数のヒンジによって可撓性部材の第2部分に連結された複数のポールとを備え、ハブ本体は中心開口からハブ本体の円周まで延びる複数のスロットを有し、第1部分は、スロットに配置され、可撓性部材は、一定の回転中心を有するポールの各々を閉位置と開位置の間で回転するために、第1部分と第2部分の間の複数の接点を中心に移動するように作動でき、折りたたみ可能構造用のハブ組立体が提供される。カバーは、ハブ本体に嵌り込むねじをさらに含み、中心開口は、可撓性部材上の複数のスエージ加工クリップを、可撓性部材に座らせるくぼみをさらに含む。可撓性部材の各々は、一方が第1部分に配置され、他方が第2部分に配置される2つのスエージ加工クリップを含む。可撓性部材の第1部分は、ポールが閉位置と開位置の間で回転されるとき、スロットに対して位置的に固定される。可撓性部材の第1スエージ加工クリップは、ハブ本体のくぼみに着座させられ、可撓性部材の第2スエージ加工クリップは、ポールに連結されたヒンジに納められる。可撓性部材は、接点で変形するように作動できる。接点は、複数のヒンジの出口に配置され、出口は、一定の回転中心を中心とするポールの各々の回転を確実にするようにポールを回転させるとき、可撓性部材の一定長さを維持するように湾曲されている。各ヒンジは、管に挿入する円筒体を含み、ヒンジと管はピンによって適所に保持される。ポールの各ピンは、ポールが閉位置と開位置の間で回転されるとき、そのピンヘッドがポールの磨耗を回避するように外方に面するように配置される。ポールを、最大90度まで回転させることができ、最大8つである。好ましい実施形態では、カバーは円形であり、ハブ本体は、形状が円形又はアニス(anise)形であり、可撓性部材は、ワイヤロープ又は他の可撓性テープである。
本発明は、添付図面と関連して下記の詳細な説明によって容易に理解される。この説明を容易にするために、同じ参照番号は、同じ構造要素を示す。
折りたたみ可能構造で使用するハブ組立体を提供する。以下の記述では、沢山の具体的な詳細を、本発明の完全な理解を与えるために述べる。しかしながら、これらの具体的な詳細のいくつか又は全てなしに本発明を実施してもよいことが、当業者に理解される。
軍事用折りたたみ可能テントは、典型的に、テントフレーム構造体と、ナイロン生地で作られた外皮(スキン)と、を有する。テント構造体は、ポールを特別な方法でハブ組立体に連結することによって形成される。図1は、テントの外面図を示す。図2は、ポールを用いて組立てられる基本的なテントフレーム構造体を示す。図2に示すように、テントフレーム構造体は、いくつかのポールに連結されたハブ組立体を用いて形成される。ハブに連結されたポールの数は、テント内のハブの位置に依存する。1つのハブは、最大8つの支持ポールに連結可能である。
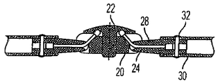
図3は、開位置でのハブ組立体を示し、図4は、閉位置でのハブ組立体を示す。ハブ組立体は、中心開口を有するハブ本体(20)とを含み、ハブ本体(20)は、中心開口からハブ本体(20)の周囲まで延びる複数のスロットを有する。カバー(22)は、中心開口で使い捨て可能である。また、スロットに配置される複数の第1部分、及び複数の第2部分を有する複数の可撓性部材(24)と、複数のヒンジ(28)によって可撓性部材(24)の第2部分に連結される複数のポール(26)と、があり、可撓性部材(24)は、一定の回転中心を有するポール(24)の各々を閉位置と開位置の間で回転させるために、第1部と第2部の間の複数の接点(36)を中心に動かすことができる。これは図5及び図6でわかる。カバー(22)は、ハブ本体(20)に嵌まり込むねじをさらに含み、中心開口は、可撓性部材(24)上の複数のスエージ加工クリップ(34)を、可撓性部材に座らせるくぼみをさらに含む。カバーは、シートをハブ本体(20)に固定し、且つ可撓性部材のスエージ加工クリップを適所に押し付けるのに役立つ。
図7は、スエージ加工クリップを有する可撓性部材を示す。可撓性部材(24)の各々は、一方が第1部分に配置され、他方が第2部分に配置される2つのスエージ加工クリップ(34)を含む。可撓性部材(24)の第1部分は、ポール(26)が閉位置と開位置の間で回転されるとき、スロットに対して位置的に固定されている。可撓性部材の第1スエージ加工クリップは、ハブ本体(20)のくぼみに着座させられ、可撓性部材の第2スエージ加工クリップは、ポール(26)に連結されたヒンジ(28)に納められる。そのような構成により、スエージ加工クリップはハブ本体(20)とそれぞれのヒンジをしっかりと保持する。さらに、可撓性部材(24)は、接点(36)で変形するように作動できる。図8に示すように、これらの接点は、複数のヒンジ(28)の出口に配置され、一定回転中心を中心としたポールの各々の回転を確実にするように、ポールが回転されるとき、出口は可撓性部材(24)の一定長さを維持するように湾曲されている。したがって、ポールが、軸線を中心に回転されようと、開位置に上方に回転されようと又は閉位置に下方に回転されようと、可撓性部材の長さは、不変のままである。その結果、ハブ本体とヒンジを保持する緊張も、一定のままである。
図9に示すように、各ヒンジ(28)は、管(30)に嵌まり込む円筒体を含み、ヒンジと管はピン(32)によって適所に保持される。ポール(26)の各ピン(32)は、ポール(26)が閉位置と開位置の間で回転されるとき、ピンヘッドがポールの磨耗を回避するために外方に面するように配置される。ピン(32)の配置は、閉位置及び開位置中、ポール(26)が互いに確実に接触しないようにする。さらに、ポール(26)を最大90度まで回転させることができ、最大8つのポールがある。これらのポール(26)は、それぞれ、使用及び保管のためにテントを広げたり折りたたんだりどちらのためにも同時に開閉される。好ましい実施形態では、カバー(22)は、円形であり、ハブ本体(20)は、円形又はアニス(anise)形状であり、可撓性部材は針金ロープ又は他の可撓性テープである。
ハブ組立体の構造は、簡単であり、組み立てるのに時間がかからない。磨耗中、部品、すなわちポール又は可撓性部材も、取り除いて容易に交換することができる。
本発明の他の実施形態は、本発明の明細書及び実施を考慮して、当業者に明らかである。さらに、或る専門用語は、本発明を限定することなく、記述の明瞭化の目的のために用いられている。上記実施形態及び好ましい特徴は、本発明は特許請求の範囲によって定められるので、例示として考慮されるべきである。
Claims (15)
- 折りたたみ可能構造用のハブ組立体であって、中心開口を有するハブ本体(20)と、前記中心開口に配置できるカバー(22)と、複数の第1部分及び複数の第2部分を有する複数の可撓性部材(24)と、複数のヒンジ(28)によって前記可撓性部材(24)の前記第2部分に連結された複数のポール(26)とを備え、ハブ本体は前記中心開口から前記ハブ本体の周囲まで延びる複数のスロットを有し、前記第1部分は、前記スロットに配置され、前記可撓性部材(24)は、一定の回転中心を有する前記ポール(26)の各々を閉位置と開位置の間で回転するために、前記第1部分と前記第2部分の間の複数の接点(36)を中心に移動するように作動できる、ことを特徴とする、上記ハブ組立体。
- 前記カバー(22)は、前記ハブ本体(20)に嵌まり込むねじをさらに含む、請求項1に記載のハブ組立体。
- 前記中心開口は、前記可撓性部材(24)上の複数のスエージ加工クリップ(34)を、前記可撓性部材に座らせるようなくぼみをさらに含む、請求項1に記載のハブ組立体。
- 前記可撓性部材(24)の各々は、一方が前記第1部分に配置され、他方が前記第2部分に配置される2つのスエージ加工クリップ(34)を含む、請求項1に記載のハブ組立体。
- 前記可撓性部材(24)の前記第1部分は、前記ポール(26)が前記閉位置と前記開位置の間で回転されるとき、前記スロットに対して位置的に固定される、請求項1に記載のハブ組立体。
- 前記可撓性部材の前記第1スエージ加工クリップは、前記ハブ本体の前記くぼみに着座させられ、前記可撓性部材(24)の前記第2スエージ加工クリップは、前記ポール(26)に連結された前記ヒンジ(28)に納められる、請求項4に記載のハブ組立体。
- 前記可撓性部材(24)は、前記接点(36)で変形するように作動できる、請求項1に記載のハブ組立体。
- 前記可撓性部材(24)は、ワイヤロープ又は他の可撓性テープである、請求項1に記載のハブ組立体。
- 前記接点(36)は、複数のヒンジ(28)の出口に配置される、請求項7に記載のハブ組立体。
- 前記出口は、前記ポール(26)が前記一定の回転中心を中心とする前記ポールの各々の回転を確実にするように回転されるとき、前記可撓性部材(24)の一定長さを維持するように湾曲されている、請求項9に記載のハブ組立体。
- 各ヒンジ(28)は、管(30)に挿入する円筒体を含み、前記ヒンジと管はピン(32)によって適所に保持される、請求項1に記載のハブ組立体。
- 前記ポール(26)の各ピン(32)は、前記ポール(26)が前記閉位置と前記開位置の間で回転されるとき、そのピンヘッドが前記ポール(26)の磨耗を回避するように外方に面するように配置される、請求項11に記載のハブ組立体。
- 前記ポール(26)を、最大90度まで回転させることができる、請求項1に記載のハブ組立体。
- 前記ポール(26)は、最大8つである、請求項12に記載のハブ組立体。
- 前記カバー(22)は形状が円形であり、前記ハブ本体(20)は、形状が円形又はアニス(anise)形である、請求項1に記載のハブ組立体。
Applications Claiming Priority (2)
| Application Number | Priority Date | Filing Date | Title |
|---|---|---|---|
| US12/253,600 US7896016B2 (en) | 2008-10-17 | 2008-10-17 | Hub assembly |
| US12/253,600 | 2008-10-17 |
Publications (2)
| Publication Number | Publication Date |
|---|---|
| JP2010095995A true JP2010095995A (ja) | 2010-04-30 |
| JP5442397B2 JP5442397B2 (ja) | 2014-03-12 |
Family
ID=41277755
Family Applications (1)
| Application Number | Title | Priority Date | Filing Date |
|---|---|---|---|
| JP2009255487A Expired - Fee Related JP5442397B2 (ja) | 2008-10-17 | 2009-10-16 | ハブ組立体 |
Country Status (3)
| Country | Link |
|---|---|
| US (1) | US7896016B2 (ja) |
| JP (1) | JP5442397B2 (ja) |
| GB (1) | GB2464373B (ja) |
Cited By (3)
| Publication number | Priority date | Publication date | Assignee | Title |
|---|---|---|---|---|
| KR101132710B1 (ko) | 2011-06-13 | 2012-04-02 | (주)우교 | 텐트 및 텐트 결합봉 조절장치 |
| CN103216011A (zh) * | 2013-04-10 | 2013-07-24 | 姚传海 | 一种应用于复杂建筑空间结构体系中的杆件连接装置 |
| KR102567728B1 (ko) * | 2022-12-02 | 2023-08-17 | 주식회사 지피아웃도어 | 텐트 프레임 지지용 연결 허브 |
Families Citing this family (18)
| Publication number | Priority date | Publication date | Assignee | Title |
|---|---|---|---|---|
| GB2491991B (en) * | 2010-02-05 | 2015-11-04 | Q Yield Outdoor Gear Ltd | Quick-pitch foldable tent structure. |
| US8820025B1 (en) * | 2011-06-30 | 2014-09-02 | Alexis Rochas | Universal node for space frame structures |
| CN102505897A (zh) * | 2011-11-22 | 2012-06-20 | 深圳市五洲行户外用品有限公司 | 一种用于账蓬的连接器 |
| GB2510610A (en) * | 2013-02-08 | 2014-08-13 | Damian Nicholas Nunez Cardozo | Collapsible covered frame |
| WO2015054535A1 (en) * | 2013-10-11 | 2015-04-16 | Garden Right, LLC | Dome hubs, dome assembly kits, and dome assembly methods |
| CN103993667A (zh) * | 2014-03-24 | 2014-08-20 | 淮海工学院 | 一种适用于张弦桁架撑杆与多索相连的节点 |
| US9731773B2 (en) * | 2015-03-11 | 2017-08-15 | Caterpillar Inc. | Node for a space frame |
| US20190085585A1 (en) * | 2016-03-09 | 2019-03-21 | Joseph Pomerantz | Collapsible ceiling structure |
| DE102016010883A1 (de) | 2016-09-12 | 2018-03-29 | Technische Universität Chemnitz | Variables Verbindungselement |
| WO2018102580A1 (en) | 2016-12-02 | 2018-06-07 | Plano Molding Company | Enclosure and expansion structure therefor |
| CN106638948B (zh) * | 2016-12-29 | 2018-10-02 | 哈尔滨工业大学 | 万向无级差装配式空间网格节点及施工方法 |
| US20190335702A1 (en) * | 2018-05-02 | 2019-11-07 | Kids Ii, Inc. | Universal dynamic hinge for a foldable apparatus |
| CN109914610B (zh) * | 2019-03-20 | 2020-05-19 | 西安建筑科技大学 | 提高空间网格结构抗连续倒塌性能的实现系统及方法 |
| USD972677S1 (en) | 2020-10-19 | 2022-12-13 | Zhejiang Hengfeng Top Leisure Co., Ltd. | Tent |
| USD953467S1 (en) | 2020-10-19 | 2022-05-31 | Zhejiang Hengfeng Top Leisure Co., Ltd. | Tent |
| CN113338443B (zh) * | 2021-06-21 | 2022-03-01 | 重庆大学 | 一种快速装配的蜂巢建筑 |
| USD1034874S1 (en) | 2021-12-15 | 2024-07-09 | Zhejiang Hengfeng Top Leisure Co., Ltd. | Tent |
| USD1085312S1 (en) * | 2025-03-12 | 2025-07-22 | Lei Ding | Inflatable tent |
Citations (1)
| Publication number | Priority date | Publication date | Assignee | Title |
|---|---|---|---|---|
| JP2008248683A (ja) * | 2008-05-28 | 2008-10-16 | Toyo Bussan Kk | 展開折畳み自在の天幕付きテント |
Family Cites Families (15)
| Publication number | Priority date | Publication date | Assignee | Title |
|---|---|---|---|---|
| US4437275A (en) * | 1979-06-04 | 1984-03-20 | Nomadic Structures, Inc. | Collapsible self-supporting structures |
| US4280521A (en) * | 1979-06-19 | 1981-07-28 | Zeigler Theodore Richard | Hub assembly for collapsible structures |
| DE3330860A1 (de) * | 1983-08-26 | 1985-03-14 | Knut Jaeger Marketing & Produktion Big Pack GmbH, 7311 Bissingen | Gestaenge fuer ein zelt |
| US4627210A (en) * | 1985-10-28 | 1986-12-09 | Beaulieu Bryan J | Hub assembly for collapsible structure |
| US4750509A (en) * | 1985-11-25 | 1988-06-14 | Kim Soon Tae | Folding device of a tent-framework |
| KR930006812Y1 (ko) * | 1988-12-27 | 1993-10-07 | 주식회사 진웅 | 도옴형 텐트용 지주 커넥터 |
| DE3910106A1 (de) * | 1989-03-29 | 1990-10-25 | Connec Ag | Bausatz fuer ein tragwerk oder geruest mit staeben und kupplungen zu deren verbinden |
| US5069572A (en) * | 1990-01-08 | 1991-12-03 | T. A. Pelsue Company | Nub assembly for tent frame struts |
| US5626434A (en) * | 1995-08-21 | 1997-05-06 | Cook; Robert W. | Connector for variable-curvature spaceframe structural system |
| US5797695A (en) * | 1995-09-01 | 1998-08-25 | Prusmack; A. Jon | Articulating hub asssembly |
| US6475117B1 (en) * | 1998-07-15 | 2002-11-05 | Landscape Structures, Inc. | Connection/Structure |
| US6378265B1 (en) * | 1999-03-01 | 2002-04-30 | Matias Konstandt | Space frame construction assembly |
| US7766023B2 (en) * | 2004-01-12 | 2010-08-03 | Inkling, Inc. | Portable structure with linking pole |
| WO2006101303A1 (en) * | 2005-03-25 | 2006-09-28 | Kwon, Beom-Chul | Automatic folding tent |
| US8069872B2 (en) * | 2007-09-20 | 2011-12-06 | Poong Han (Xiamen) Engineering Co., Ltd | Automatic control device of foldable tent |
-
2008
- 2008-10-17 US US12/253,600 patent/US7896016B2/en not_active Expired - Fee Related
-
2009
- 2009-09-15 GB GB0916191A patent/GB2464373B/en not_active Expired - Fee Related
- 2009-10-16 JP JP2009255487A patent/JP5442397B2/ja not_active Expired - Fee Related
Patent Citations (1)
| Publication number | Priority date | Publication date | Assignee | Title |
|---|---|---|---|---|
| JP2008248683A (ja) * | 2008-05-28 | 2008-10-16 | Toyo Bussan Kk | 展開折畳み自在の天幕付きテント |
Cited By (6)
| Publication number | Priority date | Publication date | Assignee | Title |
|---|---|---|---|---|
| KR101132710B1 (ko) | 2011-06-13 | 2012-04-02 | (주)우교 | 텐트 및 텐트 결합봉 조절장치 |
| CN102852379A (zh) * | 2011-06-13 | 2013-01-02 | 株式会社友桥 | 帐篷及帐篷连杆调节装置 |
| WO2012173346A3 (ko) * | 2011-06-13 | 2013-03-28 | 주식회사 우교 | 텐트 및 텐트 결합봉 조절장치 |
| CN103216011A (zh) * | 2013-04-10 | 2013-07-24 | 姚传海 | 一种应用于复杂建筑空间结构体系中的杆件连接装置 |
| CN103216011B (zh) * | 2013-04-10 | 2015-12-30 | 姚传海 | 一种应用于复杂建筑空间结构体系中的杆件连接装置 |
| KR102567728B1 (ko) * | 2022-12-02 | 2023-08-17 | 주식회사 지피아웃도어 | 텐트 프레임 지지용 연결 허브 |
Also Published As
| Publication number | Publication date |
|---|---|
| US7896016B2 (en) | 2011-03-01 |
| GB2464373A (en) | 2010-04-21 |
| US20100095994A1 (en) | 2010-04-22 |
| GB0916191D0 (en) | 2009-10-28 |
| JP5442397B2 (ja) | 2014-03-12 |
| GB2464373B (en) | 2011-04-06 |
Similar Documents
| Publication | Publication Date | Title |
|---|---|---|
| JP5442397B2 (ja) | ハブ組立体 | |
| US11206905B2 (en) | Umbrella hub assembly | |
| JP2761660B2 (ja) | 旋回連結具 | |
| US20130090583A1 (en) | Ball acupressure device | |
| US9629428B1 (en) | Sunshade device | |
| US10694823B2 (en) | Foldable head type parasol, and method for folding the head of such a parasol | |
| WO2013107090A1 (zh) | 帐篷支架的顶部支撑结构 | |
| TWI331895B (ja) | ||
| JPH10234471A (ja) | 歯間クリーニング装置 | |
| CN112205735B (zh) | 结构改良的梳子 | |
| JP7112121B2 (ja) | 弓 | |
| JP2005290837A (ja) | 折り畳み式テントのフレーム構造 | |
| CN212327291U (zh) | 一种便于收纳的呼啦圈 | |
| CN119068848A (zh) | 鼓架 | |
| CN111345659B (zh) | 一种可折叠晾衣架 | |
| CN212478748U (zh) | 一种便携式围栏 | |
| CN215550967U (zh) | 3d打印支撑结构 | |
| CN213354735U (zh) | 一种电动滑板车的折叠把手结构 | |
| CN212282850U (zh) | 一种手柄摇杆 | |
| CN217216639U (zh) | 铰链组件以及柔性屏移动终端 | |
| JP2010012238A (ja) | 傘 | |
| CN218606979U (zh) | 一种身姿矫正器 | |
| CN220630617U (zh) | 一种折叠猫兜及猫树 | |
| KR200398524Y1 (ko) | 헤어 클램핑 부재 일체형 헤어 롤러 | |
| JP3176351U (ja) | ヘアバンド |
Legal Events
| Date | Code | Title | Description |
|---|---|---|---|
| A621 | Written request for application examination |
Free format text: JAPANESE INTERMEDIATE CODE: A621 Effective date: 20121016 |
|
| A977 | Report on retrieval |
Free format text: JAPANESE INTERMEDIATE CODE: A971007 Effective date: 20131108 |
|
| TRDD | Decision of grant or rejection written | ||
| A01 | Written decision to grant a patent or to grant a registration (utility model) |
Free format text: JAPANESE INTERMEDIATE CODE: A01 Effective date: 20131118 |
|
| A61 | First payment of annual fees (during grant procedure) |
Free format text: JAPANESE INTERMEDIATE CODE: A61 Effective date: 20131218 |
|
| R150 | Certificate of patent or registration of utility model |
Free format text: JAPANESE INTERMEDIATE CODE: R150 |
|
| LAPS | Cancellation because of no payment of annual fees |