JP2010095948A - 防護体 - Google Patents

防護体 Download PDF

Info

Publication number
JP2010095948A
JP2010095948A JP2008269150A JP2008269150A JP2010095948A JP 2010095948 A JP2010095948 A JP 2010095948A JP 2008269150 A JP2008269150 A JP 2008269150A JP 2008269150 A JP2008269150 A JP 2008269150A JP 2010095948 A JP2010095948 A JP 2010095948A
Authority
JP
Japan
Prior art keywords
protective
snow
cover
cover body
columns
Prior art date
Legal status (The legal status is an assumption and is not a legal conclusion. Google has not performed a legal analysis and makes no representation as to the accuracy of the status listed.)
Granted
Application number
JP2008269150A
Other languages
English (en)
Other versions
JP4310813B1 (ja
Inventor
Mitsuaki Yamamoto
満明 山本
Yoichi Nishida
陽一 西田
Toshihiro Fujii
智弘 藤井
Toshimitsu Nomura
利充 野村
Current Assignee (The listed assignees may be inaccurate. Google has not performed a legal analysis and makes no representation or warranty as to the accuracy of the list.)
Protec Engineering Inc
Original Assignee
Protec Engineering Inc
Priority date (The priority date is an assumption and is not a legal conclusion. Google has not performed a legal analysis and makes no representation as to the accuracy of the date listed.)
Filing date
Publication date
Application filed by Protec Engineering Inc filed Critical Protec Engineering Inc
Priority to JP2008269150A priority Critical patent/JP4310813B1/ja
Application granted granted Critical
Publication of JP4310813B1 publication Critical patent/JP4310813B1/ja
Publication of JP2010095948A publication Critical patent/JP2010095948A/ja
Active legal-status Critical Current
Anticipated expiration legal-status Critical

Links

Images

Landscapes

  • Devices Affording Protection Of Roads Or Walls For Sound Insulation (AREA)

Abstract

【課題】雪庇による荷重の増加を抑制することができる防護体を提供する。
【解決手段】間隔を置いて支柱2,3…3,2を立設すると共に、これら支柱2,3…3,2間に防護面13を設けた防護体において、上部の前後に、雪が滑り落ちる傾斜面22Aを有する覆い体21を設ける。覆い体21の傾斜面22Aにより雪が滑り落ち、雪庇が大型化することが防止され、雪庇による荷重を削減できる。また、雪庇が大型化して道路などに落下することを防止できる。さらに、前後の傾斜面22A,22Aのなす角度は34〜40度が好ましく、雪により防護柵に加わる沈降力を軽減できる。また、隣合う支柱2,3…3,2の上部間に角型鋼材23を配置し、この角型鋼材23に覆い体21を外装したから、角型鋼材23により覆い体21の強度を向上することができる。
【選択図】図7

Description

本発明は、防護体に関する。
従来、この種の防護体として、所定の間隔で支柱を設け、各支柱の間に水平ロープ材を設け、各支柱間を水平ロープ材に掛止させたワイヤ製のネットで遮蔽した防護柵(例えば特許文献1)や、各支柱間にコンクリート製や金属製などからなる横杆を多段に設けた防護柵や、前記支柱の上部と支柱前側の斜面とを控えロープ材により連結した防護柵(例えば、特許文献2)などが知られている。
特開平6−173221号公報 特開2000−273827号公報
上記従来技術においては、図14に示すように、防護柵101の上部に、道路102側に張り出す雪庇103が発生し、この雪庇103により、防護柵101に上部からの荷重Fが加わると共に、防護柵101に加わる水平力Fhが増加するという問題がある。特に、上部からの荷重Fは、前後の雪荷重を加えた沈降力として防護柵101に加わるため、影響が大きい。
また、雪庇103が大型化してから道路102に落下すると、通行の妨げとなり、その除雪作業も煩雑となる。
そこで、本発明は、雪庇による荷重の増加を抑制することができる防護体を提供することを目的とする。
請求項1の発明は、間隔を置いて支柱を立設すると共に、これら支柱間に防護面を設けた防護体において、上部に、雪が滑り落ちる滑り面を有する覆い体を設けたものである。
また、請求項2の発明は、前記滑り面が傾斜面である。
また、請求項3の発明は、前記覆い体は前後に滑り面を有するものである。
また、請求項4の発明は、前記覆い体の前後幅は前記支柱の前後寸法より大きいものである。
また、請求項5の発明は、前記滑り面が傾斜面であり、これら前後の傾斜面のなす角度が34〜40度である。
また、請求項6の発明は、隣合う前記支柱の上部間に構造材を配置し、この構造材に前記覆い体を外装したものである。
また、請求項7の発明は、前記構造体と前記覆い体とを複数の連結材により連結したものである。
請求項1の構成によれば、覆い体の滑り面により雪が滑り落ち、雪庇が大型化することが防止され、雪庇による荷重を削減できる。また、雪庇が大型化して道路などに落下することを防止できる。
また、請求項2の構成によれば、傾斜面に沿って雪が滑り落ちる。
また、請求項3の構成によれば、垂直方向から加わる沈降力を軽減できる。
また、請求項4の構成によれば、覆い体により支柱の上部を覆うことができる。
また、請求項5の構成によれば、沈降力の影響を軽減できる。
また、請求項6の構成によれば、構造材により覆い体の強度が向上する。
また、請求項7の構成によれば、複数の連結材により構造体と覆い体とを一体化することができる。
本発明における好適な実施の形態について、添付図面を参照しながら詳細に説明する。尚、以下に説明する実施の形態は、特許請求の範囲に記載された本発明の内容を限定するものではない。また、以下に説明される構成の全てが、本発明の必須要件であるとは限らない。各実施例では、従来とは異なる新規な防護体を採用することにより、従来にない防護体が得られ、その防護体について記述する。
以下、本発明の実施例1について、図1〜図12を参照して説明する。同図に示すように、落石や土砂崩れ,雪崩等の防護柵1は、設置場所である斜面の下部の地面Gに、端末支柱2,2と中間支柱3,3を立設し、両端の端末支柱2,2の間に複数の中間支柱3,3を所定間隔を置いて配置し、この場合、支柱2,3の下部を地面Gに埋設固定している。尚、前記支柱2,3は、基礎を用いることなく、地面Gを掘削した掘削孔4に建て込まれる。
また、前記支柱2,3…3,2間に横方向の横ロープ材11,11…を多段に設けると共に、それら支柱2,3…3,2の間に網体12を張設し、前記横ロープ材11と網体12とにより防護面13を構成し、この防護面13は山側に対向する。
また、支柱2,3…3,2間に位置して、縦方向の間隔保持具14を設け、この間隔保持具14はフラットバー等からなり、上下多段に設けた前記横ロープ材11,11…にクリップ15などにより連結され、それら上下多段の横ロープ材11,11…の間隔を保持する。
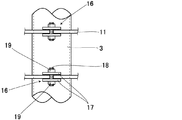
また、中間支柱3には、前記横ロープ材11を係止する係止部16が上下多段に設けられている。この係止部16は、上下に間隔を置いて中間支柱3に固定した係止片17,17と、この係止片17,17の先端側に挿通する両ネジボルト18と、このボルト18に螺合するナット19,19とからなり、係止片17,17間に横ロープ材11を挿入した状態で、閉塞部材たるボルト18を挿通し、このボルト18の両端にナット19,19を螺合することにより、係止片17,17間の横ロープ材11がボルト18により抜け止め状態となる。
前記支柱2,3,3・・・,2の上部間には、略二等辺三角形の形状をなす覆い体21が設けられている。この覆い体21は、前後に傾斜板22,22を備え、内部に構造材たる角型鋼材23が設けられている。前記傾斜面22,22の外面22A,22Aが、雪が滑る落ちる滑り面であり、それら外面22A,22Aのなす角度θが34〜40度である。
覆い体21は、隣合う支柱2,3,3・・・,2の間隔に対応した長さを有し、長さ方向に間隔をおいて連結材たる連結リブ24,24を設け、これら連結リブ24により、傾斜板22の内面と角型鋼材23の外面とを連結している。
図8〜図10などに示すように、前記覆い体21は、支柱2の上部に回動可能に連結される。前記支柱2,3の上部にキャップ31を設け、このキャップ31の中央にボルト32を固設し、このボルト32に、平板状をなす取付部材33を、ナット34により連結する。前記取付部材33は、肉薄部35と、この肉薄部35の略2倍の厚さの肉厚部36とを備え、前記肉薄部35に前記ボルト32を挿通する挿通孔35Aを穿設し、肉厚部36に前後一対の挿通孔36A,36Aを穿設する。
端末の支柱2では、図8に示すように、1個の取付部材33を固定し、中間の支柱3では、図9に示すように、上下を逆にした取付部材33,33を左右に配置し、この左右の取付部材33,33の肉薄部35,35を重ね合わせた状態で、それらの挿通孔35A,35Aにボルト32を挿通し、ナット34により固定する。
一方、前記覆い体21の両端下部には、前後に接続板25,25を固着し、これら接続板25,25に、前記挿通孔35A,35Aに対応して、左右方向に長い長孔25Aをそれぞれ穿設する。そして、前記肉厚部35の上に、前記接続板25を重ね合わせ、挿通孔35Aと長孔25Aにボルト37を挿通し、この回転中心たるボルト37にナット37Aを螺合して、支柱2,3に覆い体21を接続する。尚、隣合う覆い体21,21の間には、隙間26が設けられている。
したがって、長孔25Aとボルト37との係合により、支柱2,3,3・・・,2間の間隔の寸法誤差又は間隔の変位に対応することができ、また、支柱2,3,3・・・,2に対して覆い体21をボルト37を中心に回転することができ、覆い体21と支柱2,3,3・・・,2の連結箇所に無理な力が加わることがない。
また、覆い体21の前後方向の幅Hは、前記支柱2,3の前後幅より大きく、覆い体21の真下に支柱2,3が位置し、支柱2,3及び防護面13を含む防護柵1の上部が、覆い体21により覆われている。
前記端末の支柱2及び中間の支柱3の外面に、前記掘削孔4の周囲の地面Gに接地してそれら支柱2,3の落下を防止する落下防止部材51を設けている。尚、この場合の接地とは、前記地面Gや地面Gの上のものに接することを言う。前記落下防止部材51は、支柱2,3の円周方向等間隔に設けた複数の脚部52,52・・・からなり、この例は4つの脚部52,52,52,52を備える。この脚部52は、縦方向で略L形の板材53を支柱2,3の外面に溶着などにより固定し、その板材53の下端に載置板54を溶着などにより固定し、その載置板54の内縁を前記支柱2,3に溶着などにより固定する。尚、載置板54の下面は略水平方向をなす。そして、脚部52が地面Gにより支持されて支柱2,3の落下が防止される。この場合、地面Gを掘削した後に、掘削孔4の周囲にベースプレートを置き、前記ベースプレートに脚部52を接地してもよい。
また、載置板54の高さ位置は、支柱2,3を掘削孔4に設計挿入寸法だけ挿入した場合、地面Gの上方に位置し、その高さ寸法は10〜50mm程度である。すなわち、支柱2,3の設計地面位置に対して、載置板54は僅かに上方に位置する。
そして、地面Gを掘削して掘削孔4を形成し、支柱2,3を吊り上げて、その下部を掘削孔4に挿入すると、地面Gに脚部52が接して支持された位置で落下が防止され、設計寸法より深く支柱2,3が掘削孔4に落ち込むことが防止される。そして、支柱2を僅かに持ち上げて設計高さ位置に合せ、掘削孔4内に無収縮モルタルなどの固化型充填材(図示せず)を充填し、支柱2,3を固定することができる。尚、載置板54と地面Gとの間にスペーサなどを設けて支柱2,3の高さを調整してもよい。
また、このように本実施例では、請求項1に対応して、間隔を置いて支柱2,3…3,2を立設すると共に、これら支柱2,3…3,2間に防護面を設けた防護体において、上部に、雪が滑り落ちる滑り面たる傾斜面22Aを有する覆い体21を設けたから、覆い体21の傾斜面22Aにより雪が滑り落ち、雪庇が大型化することが防止され、雪庇による荷重を削減できる。また、雪庇が大型化して道路などに落下することを防止できる。
また、このように本実施例では、請求項2に対応して、滑り面が傾斜面22Aであるから、傾斜面22Aに沿って雪が滑り落ちる。
また、このように本実施例では、請求項3に対応して、覆い体21は前後に滑り面たる傾斜面22A,22Aを有するから、垂直方向から加わる沈降力を軽減できる。
また、このように本実施例では、請求項4に対応して、覆い体21の前後幅Hは支柱2,3…3,2の前後寸法より大きいから、覆い体21により支柱2,3…3,2の上部を覆うことができる。
また、このように本実施例では、請求項5に対応して、前後の傾斜面22A,22Aのなす角度θが34〜40度であるから、沈降力の影響を軽減できる。
また、このように本実施例では、請求項6に対応して、隣合う支柱2,3…3,2の上部間に構造材たる角型鋼材23を配置し、この角型鋼材23に覆い体21を外装したから、角型鋼材23により覆い体21の強度を向上することができる。
また、このように本実施例では、請求項7に対応して、構造体たる角型鋼材23と覆い体21とを複数の連結材たる連結リブ24により連結したから、複数の連結材リブ24により角型鋼材23と覆い体21とを一体化することができる。
また、実施例上の効果として、隣合う覆い体21,21の間には、隙間26が設けられ、前記覆い体21は、支柱2の上部に回動可能に連結され、また、長孔25Aとボルト37との係合により、支柱2,3,3・・・,2間の間隔の寸法誤差又は間隔の変位に対応することができ、また、支柱2,3,3・・・,2に対して覆い体21をボルト37を中心に回転することができ、覆い体21と支柱2,3,3・・・,2の連結箇所に無理な力が加わることがない。
なお、本発明は、前記実施例に限定されるものではなく、種々の変形実施が可能である。例えば、実施例では、三角形の覆い体を示したが、逆U字形でもよい。
本発明の実施例1を示す防護柵上部の正面図である。 同上、覆い体の正面図である。 同上、覆い体の底面図である。 同上、覆い体の断面図である。 同上、覆い体の端部側の断面図である。 同上、防護柵の要部の正面図である。 同上、防護柵の要部の側面図である。 同上、端部の支柱の上部回りの正面図である。 同上、一部を断面にした中間の支柱の上部回りの正面図である。 同上、取付部材を示し、図10(A)は平面図、図10(B)は正面図である。 同上、中間の支柱の要部の正面図である。 同上、落下防止部材の正面図である。 同上、一部を断面にした落下防止部材の平面図である。 従来例を示す防護柵の断面図である。
符号の説明
1 防護柵
2 支柱
3 中間支柱
4 掘削孔
S 斜面
G 地面
21 覆い体
22 傾斜板
22A 傾斜面(滑り面)
θ 角度
23 角型鋼材(構造材)
24 連結リブ(連結材)

Claims (7)

  1. 間隔を置いて支柱を立設すると共に、これら支柱間に防護面を設けた防護体において、上部に、雪が滑り落ちる滑り面を有する覆い体を設けたことを特徴とする防護体。
  2. 前記滑り面が傾斜面であることを特徴とする請求項1記載の防護体。
  3. 前記覆い体は前後に滑り面を有することを特徴とする請求項1又は2記載の防護体。
  4. 前記覆い体の前後幅は前記支柱の前後寸法より大きいことを特徴とする請求項3記載の防護体。
  5. 前記滑り面が傾斜面であり、これら前後の傾斜面のなす角度が34〜40度であることを特徴とする請求項3記載の防護体。
  6. 隣合う前記支柱の上部間に構造材を配置し、この構造材に前記覆い体を外装したことを特徴とする請求項3〜5のいずれか1に記載の防護体。
  7. 前記構造体と前記覆い体とを複数の連結材により連結したことを特徴とする請求項6記載の防護体。
JP2008269150A 2008-10-17 2008-10-17 防護体 Active JP4310813B1 (ja)

Priority Applications (1)

Application Number Priority Date Filing Date Title
JP2008269150A JP4310813B1 (ja) 2008-10-17 2008-10-17 防護体

Applications Claiming Priority (1)

Application Number Priority Date Filing Date Title
JP2008269150A JP4310813B1 (ja) 2008-10-17 2008-10-17 防護体

Publications (2)

Publication Number Publication Date
JP4310813B1 JP4310813B1 (ja) 2009-08-12
JP2010095948A true JP2010095948A (ja) 2010-04-30

Family

ID=41036699

Family Applications (1)

Application Number Title Priority Date Filing Date
JP2008269150A Active JP4310813B1 (ja) 2008-10-17 2008-10-17 防護体

Country Status (1)

Country Link
JP (1) JP4310813B1 (ja)

Cited By (1)

* Cited by examiner, † Cited by third party
Publication number Priority date Publication date Assignee Title
JP2012193556A (ja) * 2011-03-17 2012-10-11 Shinko Kenzai Ltd 雪崩防止構造

Cited By (1)

* Cited by examiner, † Cited by third party
Publication number Priority date Publication date Assignee Title
JP2012193556A (ja) * 2011-03-17 2012-10-11 Shinko Kenzai Ltd 雪崩防止構造

Also Published As

Publication number Publication date
JP4310813B1 (ja) 2009-08-12

Similar Documents

Publication Publication Date Title
JP2013538952A5 (ja)
KR20130135246A (ko) 건설장비용 전복방지구조 캡
KR20130088983A (ko) 회동의 안정성이 확보되고 자유로운 회동각 구현이 가능한 브라켓 어셈블리 및 상기 브라켓 어셈블리가 구비된 지주
JP4310813B1 (ja) 防護体
JP6410553B2 (ja) 橋梁用防護柵の設置構造、橋梁用防護柵用のベース部材、橋梁用防護柵の設置工法
JP2011047245A (ja) 防護柵とその捕捉物除去方法
US7338113B2 (en) Working machine
JP6652461B2 (ja) 橋梁用防護柵
JP6080553B2 (ja) グレーチング
JP2005351047A (ja) 防護柵の補強構造
JP2005120577A (ja) 歩道および中央分離帯の防護用のプレートまたは網付防護柵
JP5705171B2 (ja) 車両用防護柵
KR101228375B1 (ko) 그레이팅의 결속구조
JP5334883B2 (ja) 防護柵
KR200456716Y1 (ko) 자전거 도로용 안전 펜스
JP5688039B2 (ja) 仕切り構造体
JP6588804B2 (ja) ミニショベル
JP2020002703A (ja) 道路用防護柵の基礎部材及び道路用防護柵並びにその構築工法
KR200471064Y1 (ko) 그레이팅 고정장치
JP2006183327A (ja) 雪崩予防柵
JP2007315055A (ja) 防護柵用支柱
JP6733933B2 (ja) 橋梁地覆への車両乗り上げ抑制構造
JP6652462B2 (ja) 橋梁用防護柵
JP6691808B2 (ja) 橋梁用防護柵の設置構造、橋梁用防護柵の設置工法
CN223343173U (zh) 一种悬索桥主缆防护棚

Legal Events

Date Code Title Description
TRDD Decision of grant or rejection written
A01 Written decision to grant a patent or to grant a registration (utility model)

Free format text: JAPANESE INTERMEDIATE CODE: A01

A61 First payment of annual fees (during grant procedure)

Free format text: JAPANESE INTERMEDIATE CODE: A61

Effective date: 20090503

FPAY Renewal fee payment (event date is renewal date of database)

Free format text: PAYMENT UNTIL: 20120522

Year of fee payment: 3

R150 Certificate of patent or registration of utility model

Ref document number: 4310813

Country of ref document: JP

Free format text: JAPANESE INTERMEDIATE CODE: R150

Free format text: JAPANESE INTERMEDIATE CODE: R150

FPAY Renewal fee payment (event date is renewal date of database)

Free format text: PAYMENT UNTIL: 20120522

Year of fee payment: 3

FPAY Renewal fee payment (event date is renewal date of database)

Free format text: PAYMENT UNTIL: 20130522

Year of fee payment: 4

R250 Receipt of annual fees

Free format text: JAPANESE INTERMEDIATE CODE: R250

R250 Receipt of annual fees

Free format text: JAPANESE INTERMEDIATE CODE: R250

R250 Receipt of annual fees

Free format text: JAPANESE INTERMEDIATE CODE: R250

R250 Receipt of annual fees

Free format text: JAPANESE INTERMEDIATE CODE: R250

R250 Receipt of annual fees

Free format text: JAPANESE INTERMEDIATE CODE: R250

R250 Receipt of annual fees

Free format text: JAPANESE INTERMEDIATE CODE: R250

R250 Receipt of annual fees

Free format text: JAPANESE INTERMEDIATE CODE: R250

R250 Receipt of annual fees

Free format text: JAPANESE INTERMEDIATE CODE: R250

R250 Receipt of annual fees

Free format text: JAPANESE INTERMEDIATE CODE: R250

R250 Receipt of annual fees

Free format text: JAPANESE INTERMEDIATE CODE: R250