JP2010094972A - インクジェット記録装置 - Google Patents
インクジェット記録装置 Download PDFInfo
- Publication number
- JP2010094972A JP2010094972A JP2009164549A JP2009164549A JP2010094972A JP 2010094972 A JP2010094972 A JP 2010094972A JP 2009164549 A JP2009164549 A JP 2009164549A JP 2009164549 A JP2009164549 A JP 2009164549A JP 2010094972 A JP2010094972 A JP 2010094972A
- Authority
- JP
- Japan
- Prior art keywords
- pulse
- drive
- pressure chamber
- ink
- volume
- Prior art date
- Legal status (The legal status is an assumption and is not a legal conclusion. Google has not performed a legal analysis and makes no representation as to the accuracy of the status listed.)
- Granted
Links
Images
Classifications
-
- B—PERFORMING OPERATIONS; TRANSPORTING
- B41—PRINTING; LINING MACHINES; TYPEWRITERS; STAMPS
- B41J—TYPEWRITERS; SELECTIVE PRINTING MECHANISMS, i.e. MECHANISMS PRINTING OTHERWISE THAN FROM A FORME; CORRECTION OF TYPOGRAPHICAL ERRORS
- B41J2202/00—Embodiments of or processes related to ink-jet or thermal heads
- B41J2202/01—Embodiments of or processes related to ink-jet heads
- B41J2202/10—Finger type piezoelectric elements
Landscapes
- Particle Formation And Scattering Control In Inkjet Printers (AREA)
Abstract
【解決手段】一印刷周期内の各駆動パルスは、前記圧力室の容積を膨張させる膨張パルスと、該膨張パルスから所定時間後に前記圧力室の容積を収縮させる収縮パルスとを有し、これらの駆動パルス間の時間間隔が0.3AL(ALは圧力室の音響的共振周期の1/2)以上1.0AL以下であることを特徴とするインクジェット記録装置。
【選択図】図4
Description
一印刷周期内の各駆動パルスは、前記圧力室の容積を膨張させる膨張パルスと、該膨張パルスから所定時間後に前記圧力室の容積を収縮させる収縮パルスとを有し、これらの駆動パルス間の時間間隔が0.3AL(ALは圧力室の音響的共振周期の1/2)以上1.0AL以下であることを特徴とするインクジェット記録装置。
各駆動パルスにおける膨張パルスの駆動電圧Von(V)は互いに実質的に等しく、かつ、収縮パルスの駆動電圧Voff(V)は互いに実質的に等しいことを特徴とする前記1に記載のインクジェット記録装置。
V1≦(V1+V2+V3)/3
また、一画素周期内の各駆動パルスにより吐出される各インク滴の速度が、±20%以内の範囲内にあることが好ましい。
《画像形成と評価1》
(実施例1〜8)
図2に示すシェアモードタイプの記録ヘッドA(ノズルピッチ:180dpi、ノズル数:256、ノズル径:23μm、AL:2.5μs、インク滴量:4pl)を2つ用意し、各ヘッドのノズル列が、相互に1/2ピッチずらされ、千鳥状に配置するように貼り合わせた。これにより、各ヘッドのそれぞれが180dpiのヘッドであるので、ノズルのピッチを互いに1/2ずらせることで、360dpiの記録ヘッドとして使用することが可能となり、ノズル数を増やし、高密度の記録ヘッドとすることができる。
〔出射安定性の測定方法〕
それぞれの駆動パルス印加条件において、駆動電位Von、Voffを変化させることによりインク滴の飛翔速度を上げていき、飛翔状態を観察した。吐出方向の曲がりやサテライトの飛散などが起こらない飛翔速度の上限を安定出射速度上限と定めた。SD1〜SD7の平均値で評価した。
出射安定性の評価基準
○:8.5m/s≦安定出射速度上限
△:8m/s≦安定出射速度上限<8.5m/s
×:安定出射速度上限<8m/s
〔画素形状の評価〕
各駆動パルスは、各膨張パルスの駆動電圧Vonを16V、各収縮パルスの駆動電圧Voffを8Vとし、上質紙に形成した画像について、1画素に打ち込まれた7滴のインク滴による1ドットの形状をルーペで拡大観察し、下記の評価基準に則りドット形状の評価を行った。
○:1画素を形成する7つのSD(インク滴)がほぼ同一位置に着弾し、ドット形状の乱れがほぼない。
△:1画素を形成する7つのSD(インク滴)が互いに若干離れて着弾し、ドット形状もやや乱れているが、許容の範囲である。
×:1画素を形成する7つのSD(インク滴)が互いに離れて着弾し、画素が乱れ、ドット形状が悪く、実用上問題となるレベル。
圧力室の長さLを長くしてAL:5.0μsとした以外は、上記記録ヘッドAと同様にして記録ヘッドBを作製し、各駆動パルスの時間間隔(Y1〜Y6)を表1に示す12通りに変化させた以外は、同様にして評価した。
《画像形成と評価2》
(実施例21〜30)
評価1と同様の記録ヘッドを用いて、表1の実施例5または実施例15と同一の条件で、各膨張パルスのパルス幅B(B1〜B7)を1ALで固定し、各収縮パルスのパルス幅C(C1〜C7)、各膨張パルスと各収縮パルスの時間間隔K(K1〜K7)を表2に示す通りに変化させた以外は、同様にして評価した。評価結果を表2に示す。
《画像形成と評価3》
(実施例31〜40)
評価1と同様の記録ヘッドを用いて、表1の実施例5または実施例15と同一の条件で、各膨張パルスの駆動電圧Vonと各収縮パルスの駆動電圧Voffの比(|Voff|/|Von|)を表3に示す通りに変化させた以外は、同様にして評価した。評価結果を表3に示す。
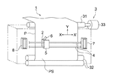
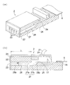
2 記録ヘッド
21 インクチューブ
22 ノズル形成部材
23 ノズル
24 カバープレート
25 インク供給口
26 基板
27 隔壁
28 圧力室
3 搬送機構
31 搬送ローラ
32 搬送ローラ対
33 搬送モータ
4 ガイドレール
5 キャリッジ
6 フレキシケーブル
7、8 インク受け器
100 駆動信号生成手段
P 記録媒体
PS 記録面
Claims (11)
- インク滴を吐出するノズルと、前記ノズルに連通する圧力室と、前記圧力室の容積を変化させる圧力発生手段を有する記録ヘッドと、インク滴をそれぞれ吐出させるための複数の駆動パルスを一印刷周期内に連続的に印加する駆動信号を生成する駆動信号生成手段とを備え、前記駆動信号を印加することによって、前記圧力発生手段を作動させて前記ノズルからインク滴を吐出させるようにしたインクジェット記録装置において、
一印刷周期内の各駆動パルスは、前記圧力室の容積を膨張させる膨張パルスと、該膨張パルスから所定時間後に前記圧力室の容積を収縮させる収縮パルスとを有し、これらの駆動パルス間の時間間隔が0.3AL(ALは圧力室の音響的共振周期の1/2)以上1.0AL以下であることを特徴とするインクジェット記録装置。 - 前記膨張パルスの駆動電圧をVon(V)、前記収縮パルスの駆動電圧をVoff(V)としたとき、
各駆動パルスにおける膨張パルスの駆動電圧Von(V)は互いに実質的に等しく、かつ、収縮パルスの駆動電圧Voff(V)は互いに実質的に等しいことを特徴とする請求項1に記載のインクジェット記録装置。 - 前記膨張パルスのパルス幅と前記所定時間と前記収縮パルスのパルス幅とがともに1ALであることを特徴とする請求項1または2に記載のインクジェット記録装置。
- 前記一印刷周期内の最初の駆動パルスにより吐出されるインク滴の体積をV1、n個(nは2以上の整数)の駆動パルスにより吐出されるn個のインク滴の総体積をVnとしたとき、V1≦(Vn)/nであることを特徴とする請求項1乃至3の何れか1項に記載のインクジェット記録装置。
- 前記一印刷周期内の各駆動パルスにより吐出される各インク滴の速度が、±20%以内の範囲内にあることを特徴とする請求項1乃至4の何れか1項に記載のインクジェット記録装置。
- 前記膨張パルスの駆動電圧をVon(V)、前記収縮パルスの駆動電圧をVoff(V)としたとき、
|Voff|/|Von|<1であることを特徴とする請求項1乃至5の何れか1項に記載の液滴吐出装置。 - |Voff|/|Von|=1/2であることを特徴とする請求項6に記載の液滴吐出装置。
- 各駆動パルスは矩形波からなるパルスであることを特徴とする請求項1乃至7の何れか1項に記載のインクジェット記録装置。
- 前記圧力発生手段は、電気・機械変換手段であることを特徴とする請求項1乃至8の何れか1項に記載のインクジェット記録装置。
- 前記電気・機械変換手段は、隣接する圧力室間の隔壁の少なくとも一部を形成し、且つ駆動パルスを印加することによりせん断モードで変形する圧電材料により構成されることを特徴とする請求項9に記載のインクジェット記録装置。
- 各駆動パルスは、所定の基準状態から前記圧力室の容積を膨張させた後、前記基準状態に戻す膨張パルスと、前記基準状態が保持される所定時間と、前記圧力室の容積を収縮させた後、前記基準状態に戻す収縮パルスとを有し、これらの駆動パルス間においては前記基準状態が保持されることを特徴とする請求項1乃至10の何れか1項に記載のインクジェット記録装置。
Priority Applications (1)
| Application Number | Priority Date | Filing Date | Title |
|---|---|---|---|
| JP2009164549A JP5304498B2 (ja) | 2008-09-17 | 2009-07-13 | インクジェット記録装置 |
Applications Claiming Priority (3)
| Application Number | Priority Date | Filing Date | Title |
|---|---|---|---|
| JP2008237747 | 2008-09-17 | ||
| JP2008237747 | 2008-09-17 | ||
| JP2009164549A JP5304498B2 (ja) | 2008-09-17 | 2009-07-13 | インクジェット記録装置 |
Publications (3)
| Publication Number | Publication Date |
|---|---|
| JP2010094972A true JP2010094972A (ja) | 2010-04-30 |
| JP2010094972A5 JP2010094972A5 (ja) | 2012-07-05 |
| JP5304498B2 JP5304498B2 (ja) | 2013-10-02 |
Family
ID=42257003
Family Applications (1)
| Application Number | Title | Priority Date | Filing Date |
|---|---|---|---|
| JP2009164549A Active JP5304498B2 (ja) | 2008-09-17 | 2009-07-13 | インクジェット記録装置 |
Country Status (1)
| Country | Link |
|---|---|
| JP (1) | JP5304498B2 (ja) |
Cited By (2)
| Publication number | Priority date | Publication date | Assignee | Title |
|---|---|---|---|---|
| JP2011245822A (ja) * | 2010-05-31 | 2011-12-08 | Konica Minolta Ij Technologies Inc | インクジェット記録装置 |
| JP2016034720A (ja) * | 2014-08-01 | 2016-03-17 | 株式会社東芝 | インクジェットヘッド |
Citations (3)
| Publication number | Priority date | Publication date | Assignee | Title |
|---|---|---|---|---|
| JPH09123445A (ja) * | 1995-11-02 | 1997-05-13 | Brother Ind Ltd | インクジェットヘッド駆動装置 |
| JP2007152873A (ja) * | 2005-12-08 | 2007-06-21 | Konica Minolta Holdings Inc | インクジェット記録方法及びそれに用いるインクジェット記録用インク |
| JP2009000960A (ja) * | 2007-06-25 | 2009-01-08 | Toshiba Tec Corp | インクジェットヘッド |
-
2009
- 2009-07-13 JP JP2009164549A patent/JP5304498B2/ja active Active
Patent Citations (3)
| Publication number | Priority date | Publication date | Assignee | Title |
|---|---|---|---|---|
| JPH09123445A (ja) * | 1995-11-02 | 1997-05-13 | Brother Ind Ltd | インクジェットヘッド駆動装置 |
| JP2007152873A (ja) * | 2005-12-08 | 2007-06-21 | Konica Minolta Holdings Inc | インクジェット記録方法及びそれに用いるインクジェット記録用インク |
| JP2009000960A (ja) * | 2007-06-25 | 2009-01-08 | Toshiba Tec Corp | インクジェットヘッド |
Cited By (2)
| Publication number | Priority date | Publication date | Assignee | Title |
|---|---|---|---|---|
| JP2011245822A (ja) * | 2010-05-31 | 2011-12-08 | Konica Minolta Ij Technologies Inc | インクジェット記録装置 |
| JP2016034720A (ja) * | 2014-08-01 | 2016-03-17 | 株式会社東芝 | インクジェットヘッド |
Also Published As
| Publication number | Publication date |
|---|---|
| JP5304498B2 (ja) | 2013-10-02 |
Similar Documents
| Publication | Publication Date | Title |
|---|---|---|
| JP6497383B2 (ja) | インクジェットヘッドの駆動方法及びインクジェット記録装置 | |
| JP5458808B2 (ja) | インクジェット記録装置及びインクジェット記録方法 | |
| CN108698403B (zh) | 喷墨记录装置以及喷墨头的驱动方法 | |
| JP4779578B2 (ja) | 液滴吐出装置及び液滴吐出ヘッドの駆動方法 | |
| JP5867072B2 (ja) | 液滴射出装置及び液滴射出装置の駆動方法 | |
| JP4534504B2 (ja) | 液滴吐出装置及び液滴吐出ヘッドの駆動方法 | |
| JP4792752B2 (ja) | 液滴吐出装置及び液滴吐出ヘッドの駆動方法 | |
| JP5533298B2 (ja) | インクジェット記録装置 | |
| JP2019059131A (ja) | 液体吐出装置 | |
| JP2012196902A (ja) | 液体噴射装置 | |
| JP2018114676A (ja) | 液体噴射装置、制御装置、記録システム、液体噴射装置の制御プログラム、記録媒体、及び、画像形成方法 | |
| JP5605185B2 (ja) | 液体噴射装置、および、その制御方法 | |
| CN112776481B (zh) | 液体喷射头及液体喷射记录装置 | |
| JP5304498B2 (ja) | インクジェット記録装置 | |
| JP5440392B2 (ja) | インクジェット記録装置 | |
| JP5282301B2 (ja) | 液体吐出装置 | |
| JP2011025679A (ja) | インクジェット記録装置及び記録ヘッドの駆動方法 | |
| JP7401261B2 (ja) | 液体噴射ヘッドおよび液体噴射記録装置 | |
| JP2011110716A (ja) | 液体噴射装置、及び、その制御方法 | |
| JP5181711B2 (ja) | インクジェットヘッド、インクジェットヘッドを備えた塗布装置及びインクジェットヘッドの駆動方法 | |
| JP5286840B2 (ja) | インクジェットヘッド及びインクジェットヘッドを備えた塗布装置 | |
| JP2006159817A (ja) | 液滴吐出装置及び液滴吐出ヘッドの駆動方法 | |
| JP2012011635A (ja) | インクジェットヘッドの駆動方法及びその装置 | |
| JP2016087918A (ja) | インクジェットヘッドの駆動方法及びインクジェット記録装置 | |
| JP2025101450A (ja) | 液体噴射ヘッドおよび液体噴射記録装置 |
Legal Events
| Date | Code | Title | Description |
|---|---|---|---|
| A521 | Written amendment |
Free format text: JAPANESE INTERMEDIATE CODE: A523 Effective date: 20120521 |
|
| A621 | Written request for application examination |
Free format text: JAPANESE INTERMEDIATE CODE: A621 Effective date: 20120521 |
|
| RD02 | Notification of acceptance of power of attorney |
Free format text: JAPANESE INTERMEDIATE CODE: A7422 Effective date: 20120521 |
|
| A711 | Notification of change in applicant |
Free format text: JAPANESE INTERMEDIATE CODE: A712 Effective date: 20130417 |
|
| TRDD | Decision of grant or rejection written | ||
| A01 | Written decision to grant a patent or to grant a registration (utility model) |
Free format text: JAPANESE INTERMEDIATE CODE: A01 Effective date: 20130528 |
|
| A61 | First payment of annual fees (during grant procedure) |
Free format text: JAPANESE INTERMEDIATE CODE: A61 Effective date: 20130610 |
|
| R150 | Certificate of patent or registration of utility model |
Free format text: JAPANESE INTERMEDIATE CODE: R150 Ref document number: 5304498 Country of ref document: JP Free format text: JAPANESE INTERMEDIATE CODE: R150 |
