JP2010094304A - 椅子 - Google Patents

椅子 Download PDF

Info

Publication number
JP2010094304A
JP2010094304A JP2008267964A JP2008267964A JP2010094304A JP 2010094304 A JP2010094304 A JP 2010094304A JP 2008267964 A JP2008267964 A JP 2008267964A JP 2008267964 A JP2008267964 A JP 2008267964A JP 2010094304 A JP2010094304 A JP 2010094304A
Authority
JP
Japan
Prior art keywords
fluid
shell
seat
support
bag
Prior art date
Legal status (The legal status is an assumption and is not a legal conclusion. Google has not performed a legal analysis and makes no representation as to the accuracy of the status listed.)
Granted
Application number
JP2008267964A
Other languages
English (en)
Other versions
JP5311385B2 (ja
Inventor
Toshiharu Yamanaka
俊治 山中
Yojiro Kinoshita
洋二郎 木下
Osamu Sakai
理 坂井
Hidekazu Watabe
英一 渡部
Koryo Tokui
厚亮 徳井
Current Assignee (The listed assignees may be inaccurate. Google has not performed a legal analysis and makes no representation or warranty as to the accuracy of the list.)
Kokuyo Co Ltd
Leading Edge Design Corp
Original Assignee
Kokuyo Co Ltd
Leading Edge Design Corp
Priority date (The priority date is an assumption and is not a legal conclusion. Google has not performed a legal analysis and makes no representation as to the accuracy of the date listed.)
Filing date
Publication date
Application filed by Kokuyo Co Ltd, Leading Edge Design Corp filed Critical Kokuyo Co Ltd
Priority to JP2008267964A priority Critical patent/JP5311385B2/ja
Publication of JP2010094304A publication Critical patent/JP2010094304A/ja
Application granted granted Critical
Publication of JP5311385B2 publication Critical patent/JP5311385B2/ja
Active legal-status Critical Current
Anticipated expiration legal-status Critical

Links

Images

Landscapes

  • Chair Legs, Seat Parts, And Backrests (AREA)
  • Mattresses And Other Support Structures For Chairs And Beds (AREA)

Abstract

【課題】座や背凭れに流体バッグを内蔵したものであっても、設計の自由度を無理なく高めることができる椅子を提供する。
【解決手段】シェル本体27a、55aの左右両側に背面視凹陥形状をなすサイドサポート形成部27b、55bを有してなるシェル27、55と、クッション機能を果たすべくこのシェル27、55の着座面4a、5a側に添設された複数の流体バッグ31、33、59、61と、前記サイドサポート形成部27b、55bの凹陥した背面側に収容され前記流体バッグ31、33、59、61への流体の導出入操作を掌る流体制御機器と、前記流体バッグ31、33、59、61を覆い隠すようにして前記シェル27、55の着座面4a、5a側に装着した外装材29、57とを具備してなることを特徴とする椅子。
【選択図】図1

Description

本発明は、着座者の姿勢に追随して保持状態を変化させ得る椅子に関するものである。
従来、エアバッグ等を座や背凭れに内蔵して、そのエアバッグの膨らみによって着座者に対する保持状態を多様化させた椅子が知られている(例えば、特許文献1)。
このような椅子では、座や背凭れに内蔵したエアバッグに空気を導出入させる必要がある。そのため、前記エアバッグにポンプやバルブを配管を介して接続しているのが一般的である。ところが、従来のものは前記ポンプやバルブを背や座の外部に配置しており、さらに、これらポンプやバルブを前記エアバッグに接続する配管の一部も外部に露出していた。
また、このような椅子では、椅子としての本来の機能要素以外に前記バルブ等を配置するためのスペースを確保しなければならず、さらに前記配管を隠すための対策も講じなければならない。したがって、設計の自由度に一定の制限が加わらざるを得ないという問題があった。
特開平11−032866号公報
本発明は、以上のような背景に基づいてなされたもので、座や背凭れに流体バッグを内蔵したことにより発生する前述した課題を解消し、設計の自由度を無理なく高めることができる椅子を提供することを目的としている。
以上のような課題を解決するためになされた本発明に係る椅子は、シェル本体の左右両側に背面視凹陥形状をなすサイドサポート形成部を有してなるシェルと、クッション機能を果たすべくこのシェルの着座面側に添設された複数の流体バッグと、前記サイドサポート形成部の凹陥した背面側に収容され前記流体バッグへの流体の導出入操作を掌る流体制御機器と、前記流体バッグを覆い隠すようにして前記シェルの着座面側に装着した外装材とを具備してなることを特徴とする。
ここで、「着座面」とは、着座者を支持し得る面を指すものであり、着座者の大腿部から臀部を支持する座面のみならず、着座者の腰部から上体を支持し得る背凭れ面をも含む概念とする。
また本発明において「流体」とは、流路内を流動し得るものであれば、気体であっても液体であってもよく、気体、液体の種類についてもなんら限定するものではなく、種々の気体並びに液体を適用することが可能である。
さらに本発明における「流体制御機器」とは、流体バッグへの流体の導入操作を行うポンプや、導出入切換を行うバルブ、それらのポンプやバルブを配管を介して流体バッグに接続する接続部を含む概念とする。
このようなものであれば、ポンプやバルブ、及び配管等が外部に露出することなく、サイドサポート形成部の凹陥した背面側に収容されるため、椅子の少なくとも前面からは視認されない構造となっており、ポンプ等を椅子に配置しているにもかかわらず、家具としての美観や格調を高く保つことが容易になる。また、椅子としての本来の機能要素以外に前記バルブ等を配置するためのスペース、及び、前記配管を隠すための対策も講じる必要がなくなり、椅子の設計の自由度を高めることができる。さらに、流体制御機器たるポンプやバルブが着座面のサイドに設けられているため、着座した使用者にとって手の届きやすく操作しやすいものにできる。
前記流体制御機器を前記サイドサポート形成部の凹陥した背面側に保持しておくための保持部材をさらに備えていれば、着座者の姿勢の変化による椅子の動きにかかわらず、流体制御機器を一定状態に保つことができる。
前記シェルが、シェル本体の着座面側とサイドサポート形成部の凹陥した背面側とを連通させる通路を備えてなり、前記通路に前記流体バッグと前記流体制御機器とを接続するための配管を挿通させているものが好適である。このようなものであれば、配管をシェル本体の着座面側からサイドサポート形成部の背面側へ容易に接続させることができる。すなわち、シェル本体の着座面側とサイドサポート形成部の背面側を配管で接続する場合に、その配管が椅子の外部を通ることなく最短距離で接続され得るものである。
このようなシェルの好適な例としては、座を構成する座インナーシェルであり、この座インナーシェルを座アウターシェル上に装着するものである。
前記保持部材が、外観上、前記座アウターシェルの一部となる形態をなしていれば、下面の出っ張りがなくなり引っかかり等を抑制できるとともに、家具としての外観が好ましくなる。具体的には、保持部材が、前記座アウターシェルの外部に面する開口部を備えており、この開口部を用いて前記流体制御機器の操作体を前記座アウターシェルの外部に臨ませるようにしているものであれば、操作体を露出させつつ操作体以外の流体制御機器を隠蔽することができる。そのため、家具としての美観や格調を高く保つことができ、外観のデザインの自由度を高めることができるとともに、操作体を着座した使用者にとって操作しやすいものにできる。ここで「開口部」とは、形状や大きさ等を具体的に限定するものでなく、孔の他に切り欠き等を含む概念とする。
また、このようなシェルの好適な他の例としては、背凭れを構成する背インナーシェルであり、この背インナーシェルを背アウターシェルの前面に装着するものである。
前記保持部材が、前記サイドサポート形成部の凹陥した背面を塞ぐ蓋状のものであれば、サイドサポート形成部及び保持部材の両者により形成される閉ざされた空間内に流体制御機器が保護されるとともに、前面のみからならず側面及び背面からの見た目も好ましくなり、外観のデザインの自由度を高めることができる。
前記保持部材が、外観上、前記背アウターシェルの外面に連続する形態をなしていれば、背面の出っ張りがなくなり引っかかり等を抑制できるとともに、家具としての外観が好ましくなる。また、前記保持部材が、前記背アウターシェルの外部に面する開口部を備えており、この開口部を用いて前記流体制御機器の操作体を前記背アウターシェルの外部に臨ませるようにしているものであれば、操作体を露出させつつ操作体以外の流体制御機器を隠蔽することができる。そのため、家具としての美観や格調を高く保つことができ、外観のデザインの自由度を高めることができるとともに、操作体を着座した使用者にとって操作しやすいものにできる。ここで「開口部」とは、形状や大きさ等を具体的に限定するものでなく、孔の他に切り欠き等を含む概念とする。
前記通路が、背面視溝状をなすトンネル部と、このトンネル部の内部をシェルの表面側に連通させる孔とを具備してなるものであれば、前記通路をシェルと一体形成することができるとともに、配管の側面部を覆う面積が大きくなることで保持状態が安定し、着座者の姿勢の変化による椅子の動きにかかわらず配管を一定状態に保つことができる。
このような流体制御機器の好適な例としては、対をなす流体バッグ間の連通を断続させる開閉バルブであるもの、もしくは、前記各流体バッグが着座面に作用する荷重に応じて膨縮する流体室を有し無負荷状態でその流体室が外部流体存在環境に開放された場合に自己復帰用弾性体の反発力によって外部流体を流入させつつ所期の基準状態に復帰するようにしたものであり、前記流体制御機器が対をなす流体バッグの流体室間の連通を断続させる開閉バルブ、及び、少なくとも一方の流体バッグの流体室を外部流体存在環境に開放するためのリリースバルブであるものが挙げられる。
本発明によれば、座や背凭れに流体バッグを内蔵した椅子において、設計の自由度を無理なく高めることができる。
以下、本発明をシンクロチルトタイプの事務用回転椅子に適用した場合の一実施形態につき、図1ないし図16を参照して説明する。
この椅子は、図1ないし図3に示すように、脚部1に支持された支持基部2上に座受け3を介して座4を配するとともに、前記支持基部2に背凭れ5を後傾動作可能に取り付けたものである。前記背凭れ5には、ランバーサポート6、ヘッドレスト7、及び肘掛け8が装着してある。以下、各部の構成を説明する。
<脚部1の構成> 脚部1は、図1ないし図3に示すように、キャスター11aを有した脚羽根タイプの脚ベース11と、この脚ベース11の中心部に立設した脚支柱13とを具備してなる。前記脚支柱13は、ガススプリングを主体に構成された通常のもので、この脚支柱13の上端部に前記支持基部2が取り付けられている。
<支持基部2の構成> 支持基部2は、図2及び図3に示すように、前記脚部1によって水平旋回可能に支持されたもので、前記脚支柱13に装着されたハウジング15と、このハウジング15に貫装される背凭れ支持用の支軸17と、この支軸17に力を付与して前記背凭れ5の後傾動作に対して弾性反発力を発生させる図示しない傾動反力発生機構とを具備してなる。前記傾動反力発生機構は、図示しないコイルスプリングやガススプリング等を用いて前記支軸17に回転方向の弾性反発力を付与し得るように構成されたものであるが、通常のものであるため説明を省略する。
<座受け3の構成> 座受け3は、図3及び図4に示すように、座受本体19と、この座受本体19の上面にビス等により取り付けられ前記座4を前後移動可能に案内する案内部材21とを具備してなる。座受本体19は、多数のリブにより補強された厚板状のもので、その前端側19aが前記支持基部2に前後動自在に支持されているとともに、後端側19bが後述するようにして前記背凭れ5に相対回動可能に支持されている。この構成によって、この座受け3上に配される座4が、前記背凭れ5の後傾動作に対して一定の角度比率をもって沈み込む動作、換言すれば、シンクロチルト動作が実現されるようになっている。
<座4の構成> 座4は、図1ないし図9に示すように、大腿部サポート領域4bと、臀部サポート領域4cと、左、右のサイドサポート領域4d、4eとを有したもので、具体的構造としては、座アウターシェル23上に座ユニット25を装着してなる。
座アウターシェル23は、前記座受本体19上に前後方向にスライド可能に跨座させたシェル本体23aと、このシェル本体23aの左、右両側に設けたサイドサポート形成部23b、23cとを備えたもので、合成樹脂により一体に成形されている。前記シェル本体23aには、図4に示すように、前後方向に伸びるスリット23dが形成されている。これらのスリット23dは、底面側が上面側よりも幅狭となる逆L字形の横断面形状をなしており、これらスリット23dにスライド可能に係わり合わせた前記案内部材21を前記座受本体19にビス等を用いて止着することによって、この座アウターシェル23を前記座受本体19に前後移動可能に、且つ離脱不能に取り付けている。なお、前記座アウターシェル23と前記座受本体19との間には、座4の前後方向の固定位置を調節するための図示しないロック機構が設けてある。このロック機構は、常時は前記座アウターシェル23を前記座受本体19にロックしておき、後述する非流体バッグ用操作体4yの一つを操作することによってそのロック状態を解除することができるようにした通常のものである。前記座アウターシェル23の一方のサイドサポート形成部23bには、流体バッグ用操作体4x、すなわち、後述する開閉操作体35c及びリリース操作体37cを表出させるための欠除窓23eが設けてあり、他方のサイドサポート形成部23cには、前記非流体バッグ用操作体4yを取り付けるための操作体取付部23fが設けてある。このようにしてなる座アウターシェル23の上に前記座ユニット25を装着している。
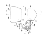
座ユニット25は、図4に示すように、座インナーシェル27と、この座インナーシェル27の表面側を覆う外装材29とを具備してなるもので、前記座インナーシェル27と前記外装材29との間には、流体である空気の導出入により膨縮する大腿部支持用の流体バッグ31と、臀部支持用の流体バッグ33が介在させてある。これら両流体バッグ31、33は、図4、図7及び図8に示すように、開閉バルブ35により開閉される連通流路39により連通可能に接続されており、また、一方の流体バッグ31は、リリースバルブ37により開閉されるリリース流路41を介して外部流体存在環境である大気中に開放され得るようになっている。流体制御機器であるこれらのバルブ35、37は保持部材である下面カバー43によって前記座インナーシェル27に取り付けられている。
座インナーシェル27は、図4及び図9に示すように、座4の着座面4aに作用する荷重を受け止めるためのもので、シェル本体27aと、このシェル本体27aの左右両側に設けられたサイドサポート形成部27bとを具備してなる。前記シェル本体27aと前記サイドサポート形成部27bとは、合成樹脂等により一体に成形されたもので、前記サイドサポート形成部27bは、背面側において凹陥した形態をなしている。前記両流体バッグ31、33は、図4及び図7に示すように、前記シェル本体27aの表面側に添えられており、流体制御機器である前記開閉バルブ35、及びリリースバルブ37は、前記サイドサポート形成部27bの背面側にリブ27fにより位置決めされて配されている。そして、前記下面カバー43をビス等により前記サイドサポート形成部27bに取り付けることによって、前記両バルブ35、37がこの座インナーシェル27に保持されるようになっている。前記シェル本体27aと前記サイドサポート形成部27bとの境界部分には対をなす通路27cが形成されており、これらの通路27cに前記流体バッグ31、33と前記バルブ35、37とを接続させるための配管39a、39bを挿通させている。前記各通路27cは、図4及び図9に示すように、前記座インナーシェル27の背面側を溝状に凹陥させて形成したトンネル部27dと、このトンネル部27d内を該座インナーシェル27の表面側に連通させる孔27eとを備えてなる。前記トンネル部27dの幅及び深さは、前記配管39a、39bを嵌め込むことができる寸法に設定してある。このようにしてなる座インナーシェル27の周縁部下面側に前記外装材29の周縁部を図示しないタッカ等を用いて止着している。
外装材29は、図3ないし図6に示すように、モールドウレタン等により作られた外部クッション29aと、この外部クッション29aの表面側を覆う張地29bとを具備してなる。この外装材29は、座4の前後方向中間箇所において座インナーシェル27側に引き込まれており、それによって前記大腿部サポート領域4bと前記臀部サポート領域4cとを区画する境界k1が形成されている。前記大腿部支持用の流体バッグ31は前記大腿部サポート領域4bに内蔵されるとともに、前記臀部支持用の流体バッグ33は前記臀部サポート領域4cに内蔵されている。換言すれば、これら両流体バッグ31、33は前記境界k1を挟んで隣接するように配されている。前記外装材29の引き込み部分の構成を具体的に説明すれば次の通りである。図6に拡大して示すように、前記外部クッション29aの表面側における前記境界k1に対応する部位に領域区成溝k1mを形成しておく。そして、前記張地29bの表面側に添えた引込線材k1sを前記座インナーシェル27方向に牽引して前記引込線材k1sを前記張地29bと共に前記領域区成溝k1m内に没入させることによって前記境界k1を形成している。前記引込線材k1sの引き込みには、前記外部クッション29a及び座インナーシェル27に貫通させた紐k1h等が用いられる。
なお、図5に示すように、前記外部クッション29aの底面側における前記境界k1に対応する部位には、前記領域区成溝k1mを内包する壁k1kが形成されており、この壁k1kによって前記境界k1に実質的な厚みが付与されている。換言すれば、この壁k1kによって、隣接する前記流体バッグ31、33同士が一定距離以下に接近しないように位置決めされている。この座4においては、図1に示すように、前記大腿部サポート領域4bと前記左、右のサイドサポート領域4d、4eとの間にも境界k2、k3が形成され、また、前記臀部サポート領域4cと前記左、右のサイドサポート領域4d、4eとの間にも境界k4、k5が形成されている。そして、前記外部クッション29aの背面側における前記境界k2、k3に対応する部位に形成された壁k2k、k3kによって、前記大腿部支持用の流体バッグ31の左右方向の位置決めを行うとともに、前記境界k4、k5に対応する部位に形成された壁k4k、k5kによって、前記臀部支持用の流体バッグ33の左右方向の位置決めを行なっている。
大腿部支持用の流体バッグ31は、図4、図7及び図8に示すように、合成樹脂フィルム等により作られ内部に膨縮可能な流体室31bを形成する袋体31aと、前記流体室31b内に収容した自己復帰用弾性体たる内部クッション31cとを具備してなるもので、その一端部には、前記流体室31bに連通する流体導出入口31dを有している。前記内部クッション31cは、スラブウレタン等により作られたもので、前記流体導出入口31dに対応する部位に空洞を形成するための欠除部31fを有するとともに、着座面4a側の面に流体である空気の流れを円滑化するための流動制御手段たる流通溝31gを備えている。前記流通溝31gは、例えば、複数本平行に形成されている。この流体バッグ31は、その周縁に立壁部31eを有した厚みのあるもので、立壁部を有しない同一平面形状の流体バッグに比べて厚み変化率が小さく設定されている。
ここで、「厚み変化率」とは、外部から荷重をかけない状態で前記大腿部支持用の流体バッグ31、前記臀部支持用の流体バッグ33、後述する背中支持用の流体バッグ59、及び後述する腰部支持用の流体バッグ61に流体たる空気を導出入させる場合における単位流量当たりの厚み寸法の変化値を意味している。なお、前記厚み寸法とは、着座面4a、5aに直交する方向の寸法であって、最も変化の大きな部位の値をいう。換言すれば、前記厚み寸法とは、着座面4a、5aに直交する方向の寸法であって、着座面4a、5aに最も影響を与える部位の値をいう。着座感を設定するには、前記流体バッグ31、33、59、61の全容積がどのように変化するかという点よりも、前記流体バッグ31、33、59、61がどれだけ着座面4a、5a方向に膨縮するかという点に着目する必要があるからである。
流体バッグ31、33、59、61の厚み変化率は、座4や背凭れ5に内蔵させた前記流体バッグ31、33、59、61が前記座4や背凭れ5の着座面4a、5aに及ぼす影響の大小を表す特性値である。厚み変化率が大きな値を示すということは、同じ量の流体たる空気の導出入に対して前記流体バッグ31、33、59、61の厚みがより変化しやすいということを意味しており、厚み変化率が小さな値を示すということは、その逆を意味している。
厚み変化率は、基本的には流体バッグ31、33、59、61の実質的な容量を異ならせることにより調節することができる。しかし、椅子に適用される流体バッグ31、33、59、61においては、座4や背凭れ5の全体形状、あるいは、流体バッグ31、33、59、61を内蔵させる領域の形状や広狭によって、着座面側からの投影面積や形状に一定の制限を受ける。そのため、かかる制限下で流体バッグ31、33、59、61の厚み変化率を調整するには、流体バッグ31、33、59、61の周縁形態、すなわち、立壁部31e、33eの有無や、立壁部31e、33eの変形特性が重要な要素となる。
臀部支持用の流体バッグ33は、図4、図7及び図8に示すように、合成樹脂フィルム等により作られ内部に膨縮可能な流体室33bを形成する袋体33aと、前記流体室33b内に収容した自己復帰用弾性体である内部クッション33cとを具備してなるもので、その一端部には、前記流体室33bに連通する流体導出入口33dを有している。前記内部クッション33cは、スラブウレタン等により作られたもので、前記流体導出入口33dに対応する部位に空洞を形成するための欠除部33fを有するとともに、着座面4a側の面に流体である空気の流れを円滑化するための流動制御手段たる流通溝33gを備えている。前記流通溝33gは、例えば、複数本平行に形成されている。この流体バッグ33は、その周縁に立壁部33eを有した厚みのあるもので、立壁部を有しない同一平面形状の流体バッグに比べて厚み変化率が小さく設定されている。この流体バッグ33の流体導出入口33dは、連通流路39を介して前記流体バッグ31の流体導出入口31dに接続されており、この連通流路39を前記開閉バルブ35によって断続させ得るようになっている。
開閉バルブ35は、図4及び図7に示すように、一端に第1ポート35aを、他端に第2ポート35bをそれぞれ有し、内部に前記両ポート35a、35b間の連通を断続させるための図示しない弁体を備えた通常のものである。この開閉バルブ35は、図7に示すように、レバー状をなす開閉操作体35cを実線で示す開位置oに操作した場合に前記第1ポート35aと第2ポート35bとを連通させ、想像線で示す閉位置cに操作した場合に前記両ポート35a、35b間の連通を遮断するように構成されている。この開閉バルブ35の第1ポート35aは、前記連通流路39の一部を構成する配管39aを介して前記大腿部支持用流体バッグ31の流体導出入口31dに接続され、第2ポート35bは、前記連通流路39の一部を構成する配管39bを介して前記臀部支持用流体バッグ33の流体導出入口33dに接続されている。この開閉バルブ35に前記リリースバルブ37を隣接させている。
リリースバルブ37は、図4及び図7に示すように、一端に第1ポート37aを、他端に第2ポート37bをそれぞれ有し、内部に前記両ポート37a、37b間の連通を断続させるための図示しない弁体を備えた通常のものである。このリリースバルブ37は、押しボタン状をなすリリース操作体37cを有してなるもので、そのリリース操作体37cをリリース位置まで押圧操作した場合に前記第1ポート37aと第2ポート37bとを連通させ、操作を止めた場合に前記両ポート37a、37b間の連通を遮断するように構成されている。このリリースバルブ37の第1ポート37aは、外部流体存在環境である大気中に開放されており、第2ポート37bは、前記リリース流路41の一部を構成する配管41aを介して前記大腿部支持用流体バッグ31の流体導出入口31dに接続されている。このリリースバルブ37と前記開閉バルブ35は、前述したように保持部材たる下面カバー43を用いて前記座4の一方のサイドサポート領域4dの下面側に取り付けられている。
下面カバー43は、図4及び図9に示すように、前記開閉バルブ35の開閉操作体35cを取り付けるための孔43aと、前記リリースバルブ37のリリース操作体37cを外部に表出させるための孔43bを有した板状のもので、ビス等を用いて前記座インナーシェル27のサイドサポート形成部27bに取り付けられる。下面カバー43を取り付けた状態では、前記リブ27fにより位置決めされた両バルブ35、37が該下面カバー43と前記サイドサポート形成部27bとの間に挟持状態で保持される。この下面カバー43の外面側に配される開閉操作体35cは、図2に示すように、前記孔43aを介して前記開閉バルブ35に機械的に取り付けられ、前記リリースバルブ37のリリース操作体37cは、前記孔43bを介して外部に表出するようになっている。なお、以上のようにしてなる座ユニット25を前記座アウターシェル23上に装着した状態では、前記下面カバー43が前記座アウターシェル23の欠除窓23eに嵌まり込み、外観上、その下面カバー43の外面が前記座アウターシェル23の外面の一部をなすように形作られている。より具体的には、前記下面カバー43の一部、下面カバー43のうち孔43a、43bを有する下面視凸形の嵌め込み部分43cが、その嵌め込み部分43cに対応した形状が切りかかれている前記座アウターシェル23の欠除窓23eに嵌まり込み、外観上、その下面カバー43における嵌め込み部分43cの外面が前記座アウターシェル23の外面の一部をなすように形作られている。座ユニット25の座インナーシェル27と前記座アウターシェル23との結合構造は、通常のものであるため図示及び説明を省略する。なお、以上のような構成によれば、両バルブ35、37の操作部35c、37cも座ユニット25の一構成要素になるため、操作部35c、37cを含む座ユニット25を一体として着脱したり、移動させることが可能になる。また、この座ユニット25を座アウターシェル23に装着した場合には、椅子の外方から直接操作できるように構成される。
<背凭れ5の構成> 背凭れ5は、図1ないし図3及び図10ないし図16に示すように、背中サポート領域5bと、腰部サポート領域5cと、左、右のサイドサポート領域5d、5eとを有したもので、具体的構造としては、背アウターシェル51の表面に背ユニット53を装着してなる。
背アウターシェル51は、図2及び図3に示すように、起立したシェル本体51aと、前記座4の下方に位置させた下端部51bと、前記シェル本体51aをこの下端部51bに滑らかに連続させる中間屈曲部51cとを具備してなる。換言すれば、この背アウターシェル51は、その下端部51bを前記支持基部2にまで延長してなるもので、その延長端51b1を前記支持基部2における背凭れ支持用の支軸17に取り付けている。この背アウターシェル51は、例えば、アルミダイキャスト製の一体成形品であり、通常の椅子における背支桿に匹敵する強度を備えている。そして、この背アウターシェル51は、前記背支桿と同様に、前記支軸17の回転に伴って後傾動作を行い得るようになっている。この背アウターシェル51の下端部51bにおける上面側には、前記座受本体19の後端側19bを相対回転可能に支持するための座受け取付部51dを備えている。また、前記中間屈曲部51cの表面側には前記肘掛け8を取り付けるための肘掛け取付部51eが一体に設けてある。このようにしてなる背アウターシェル51の表面に前記背ユニット53が取り付けてある。
背ユニット53は、図10、図12及び図16に示すように、背インナーシェル55と、この背インナーシェル55の表面側を覆う外装材57とを具備してなるもので、前記背インナーシェル55と前記外装材57との間には、流体である空気の導出入により膨縮する背中支持用の流体バッグ59と、腰部支持用の流体バッグ61が介在させてある。これら両流体バッグ59、61は、図10及び図13に示すように、開閉バルブ65により開閉される連通流路69により連通可能に接続されており、また、一方の流体バッグ61は、リリースバルブ67により開閉されるリリース流路71を介して外部流体存在環境である大気中に開放され得るようになっている。流体制御機器であるこれらのバルブ65、67は保持部材である背面カバー73によって前記背インナーシェル55に取り付けられている。
背インナーシェル55は、図10及び図15に示すように、背凭れ5の着座面5aに作用する荷重を受け止めるためのもので、シェル本体55aと、このシェル本体55aの左右両側に設けられたサイドサポート形成部55bとを具備してなる。前記シェル本体55aと前記サイドサポート形成部55bとは、合成樹脂等により一体に成形されたもので、前記サイドサポート形成部55bは、図15に拡大して示すように、背面側において凹陥した形態をなしている。前記両流体バッグ59、61は、前記シェル本体55aの表面側に添えられており、流体制御機器である前記開閉バルブ65、及びリリースバルブ67は、前記サイドサポート形成部55bの背面側にリブ55fにより位置決めされて配されている。そして、前記背面カバー73をビスや弾性爪等により前記サイドサポート形成部55bに取り付けることによって、前記両バルブ65、67がこの背インナーシェル55に保持されるようになっている。図10及び図15に示すように、前記シェル本体55aと前記サイドサポート形成部55bとの境界部分には対をなす通路55cが形成されており、これらの通路55cに前記流体バッグ59、61と前記バルブ65、67とを接続させるための配管69a、69bを挿通させている。前記各通路55cは、前記背インナーシェル55の背面側を溝状に凹陥させて形成したトンネル部55dと、このトンネル部55d内を該背インナーシェル55の表面側に連通させる孔55eとを備えてなる。前記トンネル部55dの幅及び深さは、前記配管69a、69bを嵌め込むことができる寸法に設定してある。このようにしてなる背インナーシェル55の周縁部背面側に前記外装材57の周縁部を図示しないタッカ等を用いて止着している。
外装材57は、図10ないし図12及び図16に示すように、モールドウレタン等により作られた外部クッション57aと、この外部クッション57aの表面側を覆う張地57bとを具備してなる。この外装材57は、前記背凭れ5の上下方向中間箇所において前記背インナーシェル55側に引き込まれており、それによって前記背中サポート領域5bと前記腰部サポート領域5cとを区画する境界k11が形成されている。前記背中支持用の流体バッグ59は前記背中サポート領域5bに内蔵されるとともに、前記腰部支持用の流体バッグ61は前記腰部サポート領域5cに内蔵されている。換言すれば、これら両流体バッグ59、61は前記境界k11を挟んで隣接するように配されている。前記外装材57の引き込み部分の構成を具体的に説明すれば次の通りである。図12に拡大して示すように、前記外部クッション57aの表面側における前記境界k11に対応する部位に領域区成溝k11mを形成しておく。そして、前記張地57bの表面側に添えた引込線材k11sを前記背インナーシェル55方向に牽引して前記引込線材k11sを前記張地57bと共に前記領域区成溝k11m内に没入させることによって前記境界k11を形成している。前記引込線材k11sの引き込みには、前記外部クッション57a及び背インナーシェル55に貫通させた紐k11h等が用いられる。
なお、図11に示すように、前記外部クッション57aの背面側における前記境界k11に対応する部位には、前記領域区成溝k11mを内包する壁k11kが形成されており、この壁k11kによって前記境界k11に実質的な厚みが付与されている。換言すれば、この壁k11kによって、隣接する前記流体バッグ59、61同士が一定距離以下に接近しないように位置決めされている。この背凭れ5においては、図1に示すように、前記背中サポート領域5bと前記左、右のサイドサポート領域5d、5eとの間にも境界k12、k13が形成され、また、前記腰部サポート領域5cと前記左、右のサイドサポート領域5d、5eとの間にも境界k14、k15が形成されている。そして、前記外部クッション57aの背面側における前記境界k12、k13に対応する部位に形成された壁k12k、k13kによって、前記背中支持用の流体バッグ59の左右方向の位置決めを行うとともに、前記境界k14、k15に対応する部位に形成された壁k14k、k15kによって、前記腰部支持用の流体バッグ61の左右方向の位置決めを行なっている。
背中支持用の流体バッグ59は、図13及び図14に示すように、合成樹脂フィルム等により作られ内部に膨縮可能な流体室59bを形成する袋体59aと、前記流体室59b内に収容した自己復帰用弾性体たる内部クッション59cとを具備してなるもので、その一端部には、前記流体室59bに連通する流体導出入口59dを有している。前記内部クッション59cは、スラブウレタン等により作られたもので、前記流体導出入口59dに対応する部位に空洞を形成するための欠除部59fを有するとともに、着座面4a側の面に流体である空気の流れを円滑化するための流動制御手段たる流通溝59gを備えている。前記流通溝59gは、例えば、複数本平行に形成されている。この流体バッグ59は、その周縁に立壁部を有しないもので、立壁部を有する同一正面形状の流体バッグに比べて厚み変化率が大きく設定されている。
腰部支持用の流体バッグ61は、図13及び図14に示すように、合成樹脂フィルム等により作られ内部に膨縮可能な流体室61bを形成する袋体61aと、前記流体室61b内に収容した自己復帰用弾性体である内部クッション61cとを具備してなるもので、その一端部には、前記流体室61bに連通する流体導出入口61dを有している。前記内部クッション61cは、スラブウレタン等により作られたもので、前記流体導出入口61dに対応する部位に空洞を形成するための欠除部61fを有するとともに、着座面5a側の面に流体である空気の流れを円滑化するための流動制御手段たる流通溝61gを備えている。前記流通溝61gは、例えば、複数本平行に形成されている。この流体バッグ61は、その周縁に立壁部を有しない薄手のもので、立壁部を有する同一正面形状の流体バッグに比べて厚み変化率が大きく設定されている。なお、この流体バッグ61は、正面視において、前記背中支持用の流体バッグ59よりも小さな面積を有しており、その流体室61bの容積は前記背中支持用の流体バッグ59の流体室59bの容積よりも小さく設定されている。すなわち、この腰支持用流体バッグ61の厚み変化率は、前記背中支持用流体バッグ59の厚み変化率よりも大きく設定されている。この流体バッグ61の流体導出入口61dは、連通流路69を介して前記流体バッグ59の流体導出入口59dに接続されており、この連通流路69を前記開閉バルブ65によって断続させ得るようになっている。
開閉バルブ65は、図10及び図13に示すように、一端に第1ポート65aを、他端に第2ポート65bをそれぞれ有し、内部に前記両ポート65a、65b間の連通を断続させるための図示しない弁体を備えた通常のものである。この開閉バルブ65は、図13に示すように、レバー状をなす開閉操作体65cを実線で示す開位置oに操作した場合に前記第1ポート65aと第2ポート65bとを連通させ、想像線で示す閉位置cに操作した場合に前記両ポート65a、65b間の連通を遮断するように構成されている。この開閉バルブ65の第1ポート65aは、前記連通流路69の一部を構成する配管69aを介して前記腰部支持用流体バッグ61の流体導出入口61dに接続され、第2ポート65bは、前記連通流路69の一部を構成する配管69bを介して前記背中支持用流体バッグ59の流体導出入口59dに接続されている。この開閉バルブ65に前記リリースバルブ67を隣接させている。
リリースバルブ67は、図10及び図13に示すように、一端に第1ポート67aを、他端に第2ポート67bをそれぞれ有し、内部に前記両ポート67a、67b間の連通を断続させるための図示しない弁体を備えた通常のものである。このリリースバルブ67は、押しボタン状をなすリリース操作体67cを有してなるもので、そのリリース操作体67cをリリース位置まで押圧操作した場合に前記第1ポート67aと第2ポート67bとを連通させ、操作を止めた場合に前記両ポート67a、67b間の連通を遮断するように構成されている。このリリースバルブ67の第1ポート67aは、外部流体存在環境である大気中に開放されており、第2ポート67bは、前記リリース流路71の一部を構成する配管71aを介して前記腰部支持用流体バッグ61の流体導出入口61dに接続されている。このリリースバルブ67と前記開閉バルブ65は、前述したように保持部材たる背面カバー73を用いて前記背凭れ5の一方のサイドサポート領域5dの背面側に取り付けられている。
背面カバー73は、図2及び図15に示すように、前記開閉バルブ65の開閉操作体65cを取り付けるための孔73aと、前記リリースバルブ67のリリース操作体67cを外部に表出させるための孔73bを有した板状のもので、ビスや弾性爪等を用いて前記背インナーシェル55のサイドサポート形成部55bに取り付けられる。背面カバー73を取り付けた状態では、前記リブ55fにより位置決めされた両バルブ65、67が該背面カバー73と前記サイドサポート形成部55bとの間に挟持状態で保持される。この背面カバー73の外面側に配される開閉操作体65cは、前記孔73aを介して前記開閉バルブ65に機械的に取り付けられ、前記リリースバルブ67のリリース操作体67cは、前記孔73bを介して外部に表出するようになっている。なお、以上のようにしてなる背ユニット53を前記背アウターシェル51の表面に装着した状態では、前記背面カバー73の外面が、前記背アウターシェル51の背面と連続するように形作られている。前記背ユニット53の背インナーシェル55と前記背アウターシェル51との結合構造は、通常のものであるため図示及び説明を省略する。なお、以上のような構成によれば、両バルブ65、67の操作部65c、67cも背ユニット53の一構成要素になるため、操作部65c、67cを含む背ユニット53を一体として着脱したり、移動させることが可能になる。また、この背ユニット53を背アウターシェル51に装着した場合には、椅子の外方から直接操作できるように構成される。以上のようにしてなる背凭れ5にランバーサポート6を設けている。
<ランバーサポート6の構成> ランバーサポート6は、図3及び図16に示すように、前記腰支持用の流体バッグ61の背面に食い込むようにして前記背インナーシェル55の表面側に配されたランバーサポート部材75と、このランバーサポート部材75を上下方向に移動させるための位置調節機構77とを具備してなる。前記ランバーサポート部材75は、前記流体バッグ61の背面を押圧しつつ摺れ動くための曲面75aを有してなるもので、具体的には、例えば、蒲鉾形をなしている。このランバーサポート部材75の背面には、対をなす突起75bが設けてある。前記位置調節機構77は、前記両突起75bを案内するために背インナーシェル55に設けた上下に延びる対をなすスリット77aと、前記背インナーシェル55の背面側に配され上端部77cを前記スリット77aを通して前記背面側に臨ませた前記突起75bにビス75cを用いて結合させた昇降操作レバー77bとを具備してなる。この昇降操作レバー77bの把持部77dは、前記背ユニット53の両側縁よりも外方に突出させてあり、この把持部77dに上下方向の操作力を加えることによって、前記ランバーサポート部材75の上下方向位置を変更することができるようになっている。
<その他オプション類の構成> ヘッドレスト7は、図1ないし図3に示すように、ヘッドレスト本体79と、このヘッドレスト本体79を支えるヘッドレストフレーム81と、このヘッドレストフレーム81を昇降可能に保持する取付部83とを具備してなるもので、その取付部83を前記背アウターシェル51の上端部表面側にビス等を用いて取り付けている。その取付構造は通常のものであるため、図示及び説明を省略する。
肘掛け8は、図1ないし図3に示すように、背凭れ5の両側にそれぞれ設けられたもので、基端部を前記背アウターシェル51の肘掛け取付部51eに取り付けた肘支柱87と、この肘支柱87に支持された肘当て89とを具備してなる。
次いで、以上説明した実施形態の作動について説明する。
この椅子は、背凭れ5に凭れかかることによって、この背凭れ5が弾性反発力を伴いつつ後傾動作を行なう。背凭れ5が後傾すると、この背凭れ5の背アウターシェル51の下端部に後端側を支持させた座受け3がシンクロ動作を行い、後退しながら後端側が沈み込む方向に傾動する。座4の右側のサイドサポート領域4eの下面側に設けた非流体バッグ用操作体4yを選択的に操作することによって、背凭れ5を所望の後傾位置にロックしたり、脚部1の支柱13の伸縮位置を変更して座面の高さ位置を変えたり、座受け3に対する座4の前後方向固定位置を変更することができる。以上の操作は、通常の事務用回転椅子に採用されている公知の技術又はそれに準じた技術により実現されるものであり、詳細な説明は省略する。以下、流体バッグに関する作動を詳細に説明する。
<座に関する作動> 座4の左側のサイドサポート部4dの下面側に配設された流体バッグ操作体4x、すなわち、開閉操作体35cとリリース操作体37cを操作することによって、前記座4に内蔵した大腿部支持用の流体バッグ31と、臀部支持用の流体バッグ33とを相反的に膨縮させて着座者に対する保持状態を調節することができる。
まず、図7に実線で示すように、開閉操作体35cを開位置oに操作すると、大腿部支持用流体バッグ31の流体室31bと臀部支持用流体バッグ33の流体室33bとが連通流路39を介して連通状態となる。この状態で着座者が体重を前方に移して大腿部で座4の着座面4aを圧迫すると、大腿部支持用流体バッグ31に対する圧縮方向の荷重が、臀部支持用流体バッグ33に対する荷重よりも大きくなる。その結果、大腿部支持用流体バッグ31内の空気が連通流路39を通して臀部支持用流体バッグ33に流入することになり、大腿部支持用流体バッグ31が縮小するとともに、臀部支持用流体バッグ33が膨らむ。逆に、着座者が体重を後方に移して臀部で座4の着座面4aを圧迫すると、臀部支持用流体バッグ33に対する荷重が大腿部支持用流体バッグ31に対する荷重よりも大きくなる。その結果、臀部支持用流体バッグ33内の空気が連通流路39を通して大腿部支持用流体バッグ31に流入することになり、臀部部支持用流体バッグ33が縮小するとともに、大腿部支持用流体バッグ31が膨らむ。
以上のように、開閉操作体35cを開位置oに操作した場合には、座4の着座面4aに作用する荷重に応じて前記両流体バッグ31、33が相反的に膨縮するものであり、前記座4が着座者の姿勢変更に追従してそのサポート状態を変える機能を発揮する。一方、図7に想像線で示すように、前記開閉操作体35cを閉位置cに操作して開閉バルブ35を遮断状態に切換えると、前記両流体バッグ31、33が所望の変形状態においてロックされることになる。すなわち、大腿部支持用流体バッグ31が縮小するとともに臀部支持用流体バッグ33が膨らんだ状態でロックすると、座4の着座面4aが前傾姿勢で着座者を保持する状態となり、執務に適した姿勢を適切に維持することが可能となる。一方、臀部支持用流体バッグ33が縮小するとともに大腿部支持用流体バッグ31が膨らんだ状態でロックすると、座4の着座面4aが後傾姿勢で着座者を保持する状態となり、リラックスした姿勢を許容し得るものとなる。以上説明した前傾姿勢と後傾姿勢の中間所望位置で両流体バッグ31、33をロックすることもできるのは勿論である。そして、ロック状態においても各流体バッグ31、33内における空気の流動や体積変化は起こり得るため、各流体バッグ31、33は個別にクッション機能を発揮し得るものとなる。
なお、前記流体バッグ31、33内の空気は袋体を構成する合成樹脂シート等を通して徐々に外部に漏洩することがあり、長期間使用していると前記流体バッグ31、33の適切な膨らみが得られなくなる。その場合には、前記開閉バルブ35を開くとともに座4の着座面4aに荷重をかけない状態を維持した上で、リリース操作体37cをリリース位置に押圧操作してリリースバルブ37を開成状態にする。その結果、前記両流体バッグ31、33の流体室31b、33bはリリース流路41を介して大気中に開放されることになる。その結果、前記両流体バッグ31、33は、内部に収容した内部クッション31c、33cの弾性反発力によって外気を吸引しながら膨らみ、正規の基準状態にまで自己復帰することになる。前記両流体バッグ31、33が前記基準位置にまで自己復帰し終わった段階で、前記リリース操作体37cへの押圧操作を止めてリリース流路41を閉じれば、再び前述したような作用を営ませることが可能となる。
<背凭れの作動> 背凭れ5の左側に形成されたサイドサポート部5dの背面側に配設された開閉操作体65cとリリース操作体67cを操作することによって、前記背凭れ5に内蔵した背中支持用の流体バッグ59と、腰部支持用の流体バッグ61とを相反的に膨縮させて着座者に対する保持状態を調節することができる。
まず、図13に実線で示すように、開閉操作体65cを開位置oに操作すると、背中支持用流体バッグ59の流体室59bと腰部支持用流体バッグ61の流体室61bとが連通流路69を介して連通状態となる。この状態で着座者が後傾動作等に伴って背中で背凭れ5の着座面5aを圧迫すると、背中支持用流体バッグ59に対する圧縮方向の荷重が、腰部支持用流体バッグ61に対する荷重よりも大きくなる。その結果、背中支持用流体バッグ59内の空気が連通流路69を通して腰部支持用流体バッグ61に流入することになり、背中支持用流体バッグ59が縮小するとともに、腰部支持用流体バッグ61が膨らむ。逆に、着座者が前傾動作等に伴って腰部で背凭れ5の着座面5aを圧迫すると、腰部支持用流体バッグ61に対する荷重が背中支持用流体バッグ59に対する荷重よりも大きくなる。その結果、腰部支持用流体バッグ61内の空気が連通流路69を通して背中支持用流体バッグ59に流入することになり、腰部支持用流体バッグ61が縮小するとともに、背中支持用流体バッグ59が膨らむ。
以上のように、開閉操作体65cを開位置oに操作した場合には、背凭れ5の着座面5aに作用する荷重に応じて前記両流体バッグ59、61が相反的に膨縮するものであり、前記背凭れ5が着座者の姿勢変更に追従してそのサポート状態を変える機能を発揮する。一方、図13に想像線で示すように、前記開閉操作体65cを閉位置cに操作して開閉バルブ65を遮断状態に切換えると、前記両流体バッグ59、61が所望の変形状態においてロックされることになる。すなわち、背中支持用流体バッグ59が縮小するとともに腰部支持用流体バッグ61が膨らんだ状態でロックすると、背凭れ5の着座面5aが後傾姿勢で着座者を保持する状態となり、リラックスした姿勢あるいはストレッチ等に適した姿勢を維持することが可能となる。一方、腰部支持用流体バッグ61が縮小するとともに背中支持用流体バッグ59が膨らんだ状態でロックすると、背凭れ5の着座面5aが着座者の背中を前方に押し出すような姿勢を保持する状態となり、執務に適した姿勢を維持することが可能となる。以上説明した両姿勢の中間所望位置で両流体バッグ59、61をロックすることもできるのは勿論である。そして、ロック状態においても各流体バッグ59、61内における空気の流動や体積変化は起こり得るため、各流体バッグ59、61は個別にクッション機能を発揮し得るものとなる。
なお、前記流体バッグ59、61内の空気は前述した座4と同様に徐々に外部に漏洩することがあり、長期間使用していると前記流体バッグ59、61の適切な膨らみが得られなくなる。その場合には、前記開閉バルブ65を開くとともに背凭れ5の着座面5aに荷重をかけない状態を維持した上で、リリース操作体67cをリリース位置に押圧操作してリリースバルブ67を開成状態にする。その結果、前記両流体バッグ59、61の流体室59b、61bはリリース流路71を介して大気中に開放されることになる。その結果、前記両流体バッグ59、61は、内部に収容した内部クッション61cの弾性反発力によって外気を吸引しながら膨らみ、正規の基準状態にまで自己復帰することになる。前記両流体バッグ59、61が前記基準状態にまで自己復帰し終わった段階で、前記リリース操作体67cへの押圧操作を止めてリリース流路71を閉じれば、再び前述したような作用を営ませることが可能となる。
また、この実施形態では、前記腰部支持用流体バッグ61と背インナーシェル55との間に、ランバーサポート部材75を介在させ、このランバーサポート部材75の上下方向位置を昇降レバー77bを操作して変更することができるようにしているので、腰部のサポート感をより精妙に調節することが可能となる。すなわち、前記ランバーサポート部材75は、前記腰部支持用流体バッグ61の背面に食い込むように摺接しているため、ランバーサポート部材75の位置を変更しても背凭れ5の着座面5aに外観上目立った変化は生じない。しかし、ランバーサポート部材75の存在する位置付近で腰部支持用流体バッグ61から着座者に付与される反発感が大きくなるため、ランバーサポート部材75の位置を調整することによって、腰部のホールド感を調整することが可能になる。
以上のような構成とすることにより、本実施形態に係る椅子は、シェル本体27a、55aの左右両側に背面視凹陥形状をなすサイドサポート形成部27b、55bを有してなる座インナーシェル27及び背インナーシェル55と、クッション機能を果たすべくこれらの座インナーシェル27及び背インナーシェル55の着座面4a、5a側に添設された2個ずつの流体バッグ31、33、59、61と、前記サイドサポート形成部27b、55bの凹陥した背面側に収容され前記流体バッグ31、33、59、61への流体の導出入操作を掌る流体制御機器である開閉バルブ35、65及びリリースバルブ37、67と、前記流体バッグ31、33、59、61を覆い隠すようにして座インナーシェル27及び背インナーシェル55の着座面4a、5a側に装着した外装材29、57とを具備してなるので、開閉バルブ35、65及びリリースバルブ37、67、並びに配管39a、39b、41a、69a、69b、71a等が外部に露出することなく、サイドサポート形成部27b、55bの凹陥した背面側に収容されるため、椅子の少なくとも前面からは視認されない構造となっている。したがって、開閉バルブ35、65及びリリースバルブ37、67、並びに配管39a、39b、41a、69a、69b、71a等を椅子に配置しているにもかかわらず、家具としての美観や格調を高く保つことが容易になる。さらに、流体バッグ31、33、59、61が座インナーシェル27及び背インナーシェル55に添設され、座インナーシェル27及び背インナーシェル55のそれぞれにサイドサポート形成部27b、55bが設けられているため、座4及び背凭れ5それぞれについてユニット化しやすいという利点がある。つまり、流体バッグ31、33、59、61、インナーシェル27、55、開閉バルブ35、65及びリリースバルブ37、67、並びに配管39a、39b、41a、69a、69b、71a、外装材29、57を座4及び背凭れ5それぞれでまとまった構造としてユニット化しやすくなる。また、椅子としての本来の機能要素以外に前記開閉バルブ35、65及びリリースバルブ37、67を配置するためのスペース、並びに、前記配管39a、39b、41a、69a、69b、71aを隠すための対策も講じる必要がなくなり、椅子の設計の自由度を高めることができる。さらに、流体制御機器たる開閉バルブ35、65及びリリースバルブ37、67が着座面4a、5aのサイドに設けられているため、着座した使用者にとって手の届きやすく操作しやすいものにできる。
さらに、開閉バルブ35、65及びリリースバルブ37、67を前記サイドサポート形成部27b、55bの凹陥した背面側に保持しておくための座4の下面カバー43及び背凭れ5の背面カバー73を備えているので、着座者の姿勢の変化による椅子の動きにかかわらず、開閉バルブ35、65及びリリースバルブ37、67を一定状態に保つことができる。
また、座インナーシェル27及び背インナーシェル55が、シェル本体27a、55aの着座面4a、5a側とサイドサポート形成部27b、55bの凹陥した背面側とを連通させる通路27c、55cを備えてなり、前記通路27c、55cに前記流体バッグ31、33、59、61と開閉バルブ35、65とを接続するための配管39a、39b、69a、69bを挿通させているものであるので、シェル本体27a、55aの着座面4a、5a側とサイドサポート形成部27b、55bの背面側を配管39a、39b、69a、69bで接続する場合に、その配管39a、39b、69a、69bが椅子の外部を通ることなく最短距離で接続されるため、配管39a、39b、69a、69bをシェル本体27a、55aの着座面4a、5a側からサイドサポート形成部27b、55bの背面側へ容易に接続させることができる。
前記下面カバー43が、前記座アウターシェル23の外部に面する孔43a、43bを備えており、この孔43a、43bを用いて開閉バルブ35及びリリースバルブ37の操作体35c、37cを前記座アウターシェル23の外部に臨ませるようにしているものであるので、座ユニット25を前記座アウターシェル23に取り付けた場合であっても、座アウターシェル23の欠除窓23eの存在により下面カバー43の孔43a、43bを介して開閉操作体35c及びリリース操作体37cを外部に露出させつつ、それらの操作体35c、37c以外のポート等を隠蔽することができる。そのため、家具としての美観や格調を高く保つことができるとともに、操作体35c、37cを着座した使用者にとって操作しやすいものにできる。
また、前記背面カバー73が、前記サイドサポート形成部55bの凹陥した背面を塞ぐ蓋状のものであるので、サイドサポート形成部55b及び背面カバー73の両者により形成される閉ざされた空間内に開閉バルブ65及びリリースバルブ67が保護されるとともに、前面のみからならず側面及び背面からの見た目も好ましくなる。
さらにこのような背面カバー73が、外観上、前記背アウターシェル51の外面に連続する形態をなしているので、背面の出っ張りがなくなり引っかかり等を抑制できるとともに、家具としての外観が好ましくなる。
また背面カバー73が、前記背アウターシェル51の外部に面する孔73a、73bを備えており、この孔73a、73bを用いて開閉バルブ65及びリリースバルブ67の操作体65c、67cを前記背アウターシェル51の外部に設けるようにしているので、操作体65c、67cを露出させつつ操作体65c、67c以外の開閉バルブ65及びリリースバルブ67を隠蔽することができる。そのため、家具としての美観や格調を高く保つことができるとともに、操作体65c、67cを着座した使用者にとって操作しやすいものにできる。
さらに通路27c、55cが、溝状をなすトンネル部27d、55dと、このトンネル部27d、55dの内部を座インナーシェル27又は背インナーシェル55の表面側に連通させる孔27e、55eとを具備してなるので、前記通路27c、55cを座インナーシェル27又は背インナーシェル55と一体形成することができるとともに、配管39a、39b、69a、69bの側面部を覆う面積が大きくなることで保持状態が安定し、着座者の姿勢の変化による椅子の動きにかかわらず配管39a、39b、69a、69bを一定状態に保つことができる。
なお、本発明は以上に述べたような実施形態に限らず種々変更可能である。
サイドサポート形成部は、座インナーシェル及び背インナーシェルの側部に設けたものに限られず、座アウターシェル及び背アウターシェルの側部に設けたものでもよく、さらに、座及び背凭れが一体に形成されている背座一体型のシェルの側部に設けたものであってもよい。
保持部材については、例えばサイドサポート形成部の凹陥した背面側に保持しておくための部材をサイドサポート形成部自体に設ける等することも考えられ、上述した下面カバー及び背面カバーを別途サイドサポート形成部に取り付けるものに限られない。
また、通路は、トンネル部及び孔によって形成されるものに限られず、シェル本体の着座面側とサイドサポート形成部の凹陥した背面側とを連通させるものであれば、孔のみによって構成されるものであっても構わない。
さらに本実施例においては、各流体バッグが着座面に作用する荷重に応じて膨縮する流体室を有し無負荷状態でその流体室が大気中に開放された場合に自己復帰用弾性体の反発力によって外部流体を流入させつつ所期の基準状態に復帰するようにした椅子について説明したが、このような構造のために開閉バルブ及びリリースバルブの両者が必要となる場合のみならず、自己復帰用弾性体の反発力を利用しない通常のポンプを有するものや、開閉バルブのみ有するものに本発明を適用することも可能である。
また、流体は空気に限られず、流路内を流動し得るものであれば、空気以外の気体又は液体であってもよく、さらに、気体、液体の種類についてもなんら限定するものではなく、種々の気体並びに液体を適用することが可能である。
なお、以上の実施形態においては、容量の異なる複数の流体バッグを接続したり、容量に大差はなくても例えば立壁部の有無等によりその形状を異ならせたりすることで、接続されている複数の流体バッグ間等で厚み変化率を異ならせた場合について説明したが、本発明は、このような構成に限られるものではない。しかしながら、この実施形態のように、流体バッグ相互間で厚み変化率を異ならせるようにすれば、例えば、ランバーサポート部のように流体バッグの膨縮の変化を強く感じさせたほうが良い部分には厚み変化率が大きいものを、また、流体バッグの膨縮の変化をあまり実感させなくてもよい部分には厚み変化率が小さいものを配置することができ、椅子全体として快適なホールド感を得ることが可能になる。
以上、本実施形態について詳述したが、本発明は上記実施形態に限定されるものではなく、その他各部の具体的構成は、本発明の趣旨を逸脱しない範囲で種々変形が可能である。
本発明の一実施形態を示す全体斜視図。 同実施形態の背面側を示す全体斜視図。 同実施形態の分解斜視図。 同実施形態の座を示す分解斜視図。 同実施形態における座の外部クッションを下面側から示す斜視図。 同実施形態における座の部分拡大断面図。 同実施形態における座の流体バッグを示す底面図。 図7におけるX−X線断面図。 同実施形態における座のインナーシェルを下面側から示す分解斜視図。 同実施形態の背凭れを示す分解斜視図。 同実施形態における背凭れの外部クッションを背面側から示す斜視図。 同実施形態における背凭れの部分拡大断面図。 同実施形態における背凭れの流体バッグを示す背面図。 図13における一部省略したY−Y線断面図。 同実施形態における背凭れのインナーシェルを背面側から示す部分拡大斜視図。 同実施形態の背凭れのランバーサポート部を示す部分断面図。
符号の説明
23…座アウターシェル
27…座インナーシェル
27a、55a…シェル本体
27b、55b…サイドサポート形成部
27c、55c…通路
27d、55d…トンネル部
29、57…外装材
31、33、59、61…流体バッグ
31b、33b、59b、61b…流体室
35、65…開閉バルブ
37、67…リリースバルブ
39a、39b、41a、69a、69b、71a…配管
43、73…保持部材
51…背アウターシェル
55…背インナーシェル

Claims (13)

  1. シェル本体の左右両側に背面視凹陥形状をなすサイドサポート形成部を有してなるシェルと、クッション機能を果たすべくこのシェルの着座面側に添設された複数の流体バッグと、前記サイドサポート形成部の凹陥した背面側に収容され前記流体バッグへの流体の導出入操作を掌る流体制御機器と、前記流体バッグを覆い隠すようにして前記シェルの着座面側に装着した外装材とを具備してなることを特徴とする椅子。
  2. 前記流体制御機器を前記サイドサポート形成部の凹陥した背面側に保持しておくための保持部材をさらに備えている請求項1記載の椅子。
  3. 前記シェルが、シェル本体の着座面側とサイドサポート形成部の凹陥した背面側とを連通させる通路を備えてなり、前記通路に前記流体バッグと前記流体制御機器とを接続するための配管を挿通させている請求項1又は2記載の椅子。
  4. 前記シェルが、座を構成する座インナーシェルであり、この座インナーシェルを座アウターシェル上に装着している請求項1、2又は3記載の椅子。
  5. 前記保持部材が、外観上、前記座アウターシェルの一部となる形態をなしている請求項4記載の椅子。
  6. 前記保持部材が、前記座アウターシェルの外部に面する開口部を備えており、この開口部を用いて前記流体制御機器の操作体を前記座アウターシェルの外部に臨ませるようにしている請求項5記載の椅子。
  7. 前記シェルが、背凭れを構成する背インナーシェルであり、この背インナーシェルを背アウターシェルの前面に装着している請求項1、2又は3記載の椅子。
  8. 前記保持部材が、前記サイドサポート形成部の凹陥した背面を塞ぐ蓋状のものである請求項7記載の椅子。
  9. 前記保持部材が、外観上、前記背アウターシェルの外面に連続する形態をなしている請求項8記載の椅子。
  10. 前記保持部材が、前記背アウターシェルの外部に面する開口部を備えており、この開口部を用いて前記流体制御機器の操作体を前記背アウターシェルの外部に臨ませるようにしている請求項8又は9記載の椅子。
  11. 前記通路が、外面視溝状をなすトンネル部と、このトンネル部の内部をシェルの表面側に連通させる孔とを具備してなるものである請求項3、4、5、6、7、8、9又は10記載の椅子。
  12. 前記流体制御機器が、対をなす流体バッグ間の連通を断続させる開閉バルブである請求項1、2、3、4、5、6、7、8、9、10又は11記載の椅子。
  13. 前記各流体バッグが、着座面に作用する荷重に応じて膨縮する流体室を有し無負荷状態でその流体室が外部流体存在環境に開放された場合に自己復帰用弾性体の反発力によって外部流体を流入させつつ所期の基準状態に復帰するようにしたものであり、前記流体制御機器が、対をなす流体バッグの流体室間の連通を断続させる開閉バルブ、及び、少なくとも一方の流体バッグの流体室を外部流体存在環境に開放するためのリリースバルブである請求項1、2、3、4、5、6、7、8、9、10又は11記載の椅子。
JP2008267964A 2008-10-16 2008-10-16 椅子 Active JP5311385B2 (ja)

Priority Applications (1)

Application Number Priority Date Filing Date Title
JP2008267964A JP5311385B2 (ja) 2008-10-16 2008-10-16 椅子

Applications Claiming Priority (1)

Application Number Priority Date Filing Date Title
JP2008267964A JP5311385B2 (ja) 2008-10-16 2008-10-16 椅子

Publications (2)

Publication Number Publication Date
JP2010094304A true JP2010094304A (ja) 2010-04-30
JP5311385B2 JP5311385B2 (ja) 2013-10-09

Family

ID=42256414

Family Applications (1)

Application Number Title Priority Date Filing Date
JP2008267964A Active JP5311385B2 (ja) 2008-10-16 2008-10-16 椅子

Country Status (1)

Country Link
JP (1) JP5311385B2 (ja)

Citations (5)

* Cited by examiner, † Cited by third party
Publication number Priority date Publication date Assignee Title
JPS6081575A (ja) * 1983-10-12 1985-05-09 Nissan Motor Co Ltd 吸排気バルブのプツシユボタン構造
JPS641545U (ja) * 1987-06-24 1989-01-06
JPH03221006A (ja) * 1990-01-29 1991-09-30 Mazda Motor Corp 自動車のシート構造
JPH11299585A (ja) * 1998-04-20 1999-11-02 Achilles Corp シート用クッション体及び同クッション体を組込んだ椅子
JP2009082521A (ja) * 2007-10-01 2009-04-23 Kokuyo Co Ltd 椅子の座

Patent Citations (5)

* Cited by examiner, † Cited by third party
Publication number Priority date Publication date Assignee Title
JPS6081575A (ja) * 1983-10-12 1985-05-09 Nissan Motor Co Ltd 吸排気バルブのプツシユボタン構造
JPS641545U (ja) * 1987-06-24 1989-01-06
JPH03221006A (ja) * 1990-01-29 1991-09-30 Mazda Motor Corp 自動車のシート構造
JPH11299585A (ja) * 1998-04-20 1999-11-02 Achilles Corp シート用クッション体及び同クッション体を組込んだ椅子
JP2009082521A (ja) * 2007-10-01 2009-04-23 Kokuyo Co Ltd 椅子の座

Also Published As

Publication number Publication date
JP5311385B2 (ja) 2013-10-09

Similar Documents

Publication Publication Date Title
US20140054948A1 (en) Seat cushion and seating apparatus using the same, and kit
US7424760B2 (en) Body support, comfort device
JP5124797B2 (ja) 椅子の座
JP5476592B2 (ja) 椅子
US6682145B2 (en) Inflatable lumbar support
JP5311385B2 (ja) 椅子
JP5477801B2 (ja) 椅子
JP5408644B2 (ja) 椅子
JP5347143B2 (ja) 椅子
JP5292596B2 (ja) 椅子
JP2010094305A (ja) 椅子
JP5390127B2 (ja) 椅子
JP5391417B2 (ja) 椅子
JP4185754B2 (ja) 椅子の背もたれ構造
JP2002272563A (ja) エアー座布団及びエアー座布団を備えた椅子
JP7330844B2 (ja) 椅子
JP2010094302A (ja) 椅子
JP2010094310A (ja) 椅子
JP2010172474A (ja) 椅子
JP2010094307A (ja) 椅子
JP2010094311A (ja) 椅子
JP2021061967A (ja) 椅子の背凭れロック機構及び椅子
JP4630491B2 (ja) 脚用空気マッサージ機及び椅子型マッサージ装置
JP5630802B2 (ja) 椅子
JP4960689B2 (ja) 椅子

Legal Events

Date Code Title Description
A621 Written request for application examination

Free format text: JAPANESE INTERMEDIATE CODE: A621

Effective date: 20111011

A977 Report on retrieval

Free format text: JAPANESE INTERMEDIATE CODE: A971007

Effective date: 20130529

TRDD Decision of grant or rejection written
A01 Written decision to grant a patent or to grant a registration (utility model)

Free format text: JAPANESE INTERMEDIATE CODE: A01

Effective date: 20130604

A61 First payment of annual fees (during grant procedure)

Free format text: JAPANESE INTERMEDIATE CODE: A61

Effective date: 20130626

R150 Certificate of patent or registration of utility model

Ref document number: 5311385

Country of ref document: JP

Free format text: JAPANESE INTERMEDIATE CODE: R150

Free format text: JAPANESE INTERMEDIATE CODE: R150

S111 Request for change of ownership or part of ownership

Free format text: JAPANESE INTERMEDIATE CODE: R313117

SZ03 Written request for cancellation of trust registration

Free format text: JAPANESE INTERMEDIATE CODE: R313Z03

R350 Written notification of registration of transfer

Free format text: JAPANESE INTERMEDIATE CODE: R350

S111 Request for change of ownership or part of ownership

Free format text: JAPANESE INTERMEDIATE CODE: R313115

R350 Written notification of registration of transfer

Free format text: JAPANESE INTERMEDIATE CODE: R350

S111 Request for change of ownership or part of ownership

Free format text: JAPANESE INTERMEDIATE CODE: R313117

R250 Receipt of annual fees

Free format text: JAPANESE INTERMEDIATE CODE: R250

R350 Written notification of registration of transfer

Free format text: JAPANESE INTERMEDIATE CODE: R350

R250 Receipt of annual fees

Free format text: JAPANESE INTERMEDIATE CODE: R250

R250 Receipt of annual fees

Free format text: JAPANESE INTERMEDIATE CODE: R250

R250 Receipt of annual fees

Free format text: JAPANESE INTERMEDIATE CODE: R250

R250 Receipt of annual fees

Free format text: JAPANESE INTERMEDIATE CODE: R250