JP2010093433A - 可変特性型信号変換装置および方法 - Google Patents
可変特性型信号変換装置および方法 Download PDFInfo
- Publication number
- JP2010093433A JP2010093433A JP2008259780A JP2008259780A JP2010093433A JP 2010093433 A JP2010093433 A JP 2010093433A JP 2008259780 A JP2008259780 A JP 2008259780A JP 2008259780 A JP2008259780 A JP 2008259780A JP 2010093433 A JP2010093433 A JP 2010093433A
- Authority
- JP
- Japan
- Prior art keywords
- discrete data
- sampling function
- function
- basic
- value
- Prior art date
- Legal status (The legal status is an assumption and is not a legal conclusion. Google has not performed a legal analysis and makes no representation as to the accuracy of the status listed.)
- Granted
Links
Images
Landscapes
- Complex Calculations (AREA)
Abstract
【解決手段】信号変換処理部2では、制御標本化関数c0(t)の値に乗算される可変パラメータαの値を反映した補間値を算出することにより、可変パラメータαの値を変更することで標本化関数sN(t)で補間処理して得られるアナログ信号の特性を可変パラメータαに応じて調整することができる。これにより、音楽再生環境、音源、曲調等の各種条件に応じて、ユーザが可変パラメータαを適宜変更することで、アナログ信号の周波数特性が変化したユーザ所望の音質からなる高音質な音楽を再生することができる。
【選択図】図1
Description
制御標本化関数をC0(t)=Cr(t)+Cr(−t)としたときに、Cr(t)は、
図1は、本発明の補間処理に用いられる標本化関数を構成する基本標本化関数f(t)と制御標本化関数c0(t)の波形形状を示す図である。図1において、横軸は離散データの標本位置tを、縦軸は各標本関数値をそれぞれ示している。当該離散データの標本位置[−2,2]間での基本標本化関数f(t)および制御標本化関数c0(t)からなる標本化関数s2(t)は、次式で表される。
・第1としては、S2(0)=1、S2(±1)=S2(±2)=0となること。
・第2としては、偶関数、すなわちy軸に関して対称となること。
・第3としては、標本位置区間[−∞,−2]、[2,+∞]で恒等的に0であること。
・第4としては、各区間[n/2,(n+1)/2](−4≦n≦3)においては高々二次の多項式であること。
・第5としては、全区間で連続、かつ、一回微分可能であること。
・第6としては、標本位置区間[−1/2,1/2]において、次式で表されること。
次に、上述した標本化関数sN(t)用いて補間処理を実行する可変特性型信号変換装置について説明する。
(3−1)信号変換処理部における補間処理の概略説明
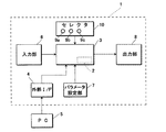
図3は、プログラマブル信号処理プロセッサ3内の信号変換処理部2の構成を示す図である。この信号変換処理部2は、所定数(この場合4つ)の離散データを順次抽出して保持する離散データ抽出部15と、離散データ抽出部15で抽出保持された所定数の離散データを一度に受け取り、これらの離散データを用いて補間処理を実行する関数処理部14とから構成されており、入力部6から順次入力される離散データ間を所定の時間間隔でデータ補間する。
次に、時間的に連続して並ぶ4つの離散データに基づいて所定の2つの離散データ間の補間値を算出する補間処理について説明する。
基本補間値算出処理の内容としては、図6(A)〜(D)に示すように、各標本位置t1、t2、t3、t4毎に、基本標本化関数f(t)のt=0(中心位置)におけるピーク高さを一致させ、このときの補間位置t0におけるそれぞれの基本標本化関数f(t)の値を求めることになる。
一方、制御補間値算出処理の内容としては、図7(A)〜(D)に示すように、各標本位置t1、t2、t3、t4毎に、制御標本化関数c0(t)のt=0(中心位置)を一致させて、各制御標本化関数c0(t)に対応した離散データd1、d2、d3、d4の値Y(t1)、Y(t2)、Y(t3)、Y(t4)を乗算し、このときの補間位置t0におけるそれぞれの制御標本化関数c0(t)の値を求めることになる。
線形加算部19は、基本項演算部16により算出された着目点に対応する基本補間値yaと、制御項演算部17および係数乗算部18により算出された着目点に対応する制御補間値ybとを線形加算することにより、補間位置t0における補間値yを出力する。
上述した構成に加えて、信号変換処理部2では、パラメータ設定部7によって係数乗算部18の可変パラメータαの数値が変更されることにより標本化関数sN(t)の値が変更され、その結果、補間値yが変動してアナログ信号の周波数特性が変化するようになっている。以下では、可変パラメータαを変更した際に、標本化関数sN(t)がどのように変化するかについて、図1に示した基本標本化関数f(t)が示す波形と、制御標本化関数c0(t)が示す波形とを合成した波形に着目して説明する。
このように、本実施形態の信号変換処理部2では、基本項演算部16に基本標本化関数f(t)を記憶しておき、離散データ抽出部15によって抽出された各離散データd1、d2、d3、d4毎に補間位置t0までの距離をtとして基本標本化関数f(t)の値を計算し、離散データd1、d2、d3、d4のそれぞれに対応させた基本標本化関数f(t)の値を畳み込み演算することより、補間位置t0での基本補間値yaを計算している。
なお、上述した実施形態においては、基本項演算部16および制御項演算部17によって、離散データ間にある複数の補間値を1つずつ順次算出してゆくようにした場合について説明したが、本発明はこれに限らず、離散データ間にある複数の補間値を一括で算出するようにしてもよい。
3 プログラマブル信号処理プロセッサ
10 セレクタ
14 関数処理部
15 離散データ抽出部
16 基本項演算部
17 制御項演算部
18 係数乗算部
19 線形加算部
32 基本項行列演算回路
33 制御項行列演算回路
Claims (23)
- それぞれが有限台の区分的多項式で表される基本標本化関数および制御標本化関数の線形結合で構成された標本化関数を用いて複数の離散データに対する畳み込み演算を行うことにより、前記離散データ間の補間値を算出する関数処理部を備えることを特徴とする可変特性型信号変換装置。
- 請求項1において、
順次入力される複数の前記離散データの中から入力順番が連続する所定個数の離散データを抽出する離散データ抽出部をさらに備え、
前記関数処理部は、前記離散データ抽出部によって抽出された所定個数の前記離散データを用いて補間値の算出を行うことを特徴とする可変特性型信号変換装置。 - 請求項1または2において、
前記基本標本化関数をf(t)、前記制御標本化関数をC(t)、ユーザによって任意に設定可能なパラメータをαとしたときに、
前記関数処理部は、前記線形結合を、
f(t)+αC(t)
で演算することを特徴とする可変特性型信号変換装置。 - 請求項3において、
前記関数処理部は、
前記基本標本化関数を用いて複数の前記離散データに対する畳み込み演算を行う基本項演算部と、
前記制御標本化関数を用いて複数の前記離散データに対する畳み込み演算を行う制御項演算部と、
前記制御項演算部による算出結果に前記パラメータを乗算する係数乗算部と、
を備えることを特徴とする可変特性型信号変換装置。 - 請求項3において、
前記関数処理部は、前記パラメータの値が指定されたときに、前記基本標本化関数と前記制御標本化関数とを線形結合して得られる前記標本化関数を特定し、この標本化関数を用いて、前記離散データに対する前記畳み込み演算を行うことにより前記補間値を算出することを特徴とする可変特性型信号変換装置。 - 請求項4または5において、
ユーザの指示に応じて前記パラメータの値を任意に設定するパラメータ設定部をさらに備えることを特徴とする可変特性型信号変換装置。 - 請求項4または5において、
ユーザが操作することにより、予め設定された前記パラメータの複数の値の中から一つが選択されるセレクタをさらに備えることを特徴とする可変特性型信号変換装置。 - 請求項1〜7のいずれかにおいて、
前記基本標本化関数は、前記離散データの標本位置の区間[−1,1]において1回だけ微分可能な区分的多項式で、他の区間は恒等的に0で表される関数であり、
前記制御標本化関数は、前記離散データの標本位置の区間[−2、2]において1回だけ微分可能な区分的多項式で、他の区間では恒等的に0となる関数であることを特徴とする可変特性型信号変換装置。 - 請求項1〜9のいずれかにおいて、
ユーザの指定したプログラムデータに基づいて、ユーザ所望の制御形態でなる演算構成を形成するプログラマブル信号処理プロセッサにプログラミングされることを特徴とする可変特性型信号変換装置。 - 請求項1〜10のいずれかにおいて、
前記基本標本化関数および前記制御標本化関数のそれぞれは、前記離散データ間の所定の区分数に応じて予め計算された関数値がテーブル化されてテーブル値として保持されており、
このテーブル化された関数値を用いて前記離散データに対する畳み込み演算が行われることを特徴とする可変特性型信号変換装置。 - 請求項11において、
前記離散データ間の異なる複数の区分数について、それらの区分数の最小公倍数の区分数に対応する前記テーブル値が予め演算されて保持されていることを特徴とする可変特性型信号変換装置。 - それぞれが有限台の区分的多項式で表される基本標本化関数および制御標本化関数の線形結合で構成された標本化関数を用いて複数の離散データに対する畳み込み演算を行うことにより、前記離散データ間の補間値を関数処理部によって算出する関数処理ステップを有することを特徴とする可変特性型信号変換方法。
- 請求項13において、
順次入力される複数の前記離散データの中から入力順番が連続する所定個数の離散データを離散データ抽出部によって抽出する離散データ抽出ステップをさらに有し、
前記関数処理ステップでは、前記離散データ抽出ステップにおいて抽出された所定個数の前記離散データを用いて補間値の算出を行うことを特徴とする可変特性型信号変換方法。 - 請求項13または14において、
前記基本標本化関数をf(t)、前記制御標本化関数をC(t)、ユーザによって任意に設定可能なパラメータをαとしたときに、
前記関数処理ステップでは、前記線形結合を、
f(t)+αC(t)
で演算することを特徴とする可変特性型信号変換方法。 - 請求項15において、
前記関数処理ステップは、
前記基本標本化関数を用いて複数の前記離散データに対する畳み込み演算を基本項演算部によって行う基本項演算ステップと、
前記制御標本化関数を用いて複数の前記離散データに対する畳み込み演算を制御項演算部によって行う制御項演算ステップと、
前記制御項演算ステップにおける算出結果に前記パラメータを乗算する演算を係数乗算部によって行う係数乗算ステップと、
を備えることを特徴とする可変特性型信号変換方法。 - 請求項15において、
前記関数処理ステップでは、前記パラメータの値が指定されたときに、前記基本標本化関数と前記制御標本化関数とを線形結合して得られる前記標本化関数を特定し、この標本化関数を用いて、前記離散データに対する前記畳み込み演算を行うことにより前記補間値を算出することを特徴とする可変特性型信号変換方法。 - 請求項16または17において、
ユーザの指示に応じて前記パラメータの値をパラメータ設定部によって任意に設定するパラメータ設定ステップをさらに有することを特徴とする可変特性型信号変換方法。 - 請求項16または17において、
ユーザの操作指示に応じて、予め設定された前記パラメータの複数の値の中から一つを選択するパラメータ選択ステップをさらに有することを特徴とする可変特性型信号変換方法。 - 請求項13〜19のいずれかにおいて、
前記基本標本化関数は、前記離散データの標本位置の区間[−1,1]において1回だけ微分可能な区分的多項式で、他の区間は恒等的に0で表される関数であり、
前記制御標本化関数は、前記離散データの標本位置の区間[−2、2]において1回だけ微分可能な区分的多項式で、他の区間では恒等的に0となる関数であることを特徴とする可変特性型信号変換方法。 - 請求項13〜21のいずれかにおいて、
前記基本標本化関数および前記制御標本化関数のそれぞれは、前記離散データ間の所定の区分数に応じて予め計算された関数値がテーブル化されてテーブル値として前記関数処理部に保持されており、
前記関数化処理ステップでは、このテーブル化された関数値を用いて前記離散データに対する畳み込み演算が行われることを特徴とする可変特性型信号変換方法。 - 請求項22において、
前記離散データ間の異なる複数の区分数について、それらの区分数の最小公倍数の区分数に対応する前記テーブル値が予め演算されて前記関数処理部に保持されていることを特徴とする可変特性型信号変換方法。
Priority Applications (4)
| Application Number | Priority Date | Filing Date | Title |
|---|---|---|---|
| JP2008259780A JP5036677B2 (ja) | 2008-10-06 | 2008-10-06 | 可変特性型信号変換装置および方法 |
| US12/989,344 US8594343B2 (en) | 2008-05-01 | 2009-05-01 | Sound processing apparatus and sound processing method |
| PCT/JP2009/058567 WO2009133948A1 (ja) | 2008-05-01 | 2009-05-01 | 音響処理装置及び音響処理方法 |
| EP09738885.4A EP2299368B1 (en) | 2008-05-01 | 2009-05-01 | Audio processing device and audio processing method |
Applications Claiming Priority (1)
| Application Number | Priority Date | Filing Date | Title |
|---|---|---|---|
| JP2008259780A JP5036677B2 (ja) | 2008-10-06 | 2008-10-06 | 可変特性型信号変換装置および方法 |
Publications (2)
| Publication Number | Publication Date |
|---|---|
| JP2010093433A true JP2010093433A (ja) | 2010-04-22 |
| JP5036677B2 JP5036677B2 (ja) | 2012-09-26 |
Family
ID=42255767
Family Applications (1)
| Application Number | Title | Priority Date | Filing Date |
|---|---|---|---|
| JP2008259780A Expired - Fee Related JP5036677B2 (ja) | 2008-05-01 | 2008-10-06 | 可変特性型信号変換装置および方法 |
Country Status (1)
| Country | Link |
|---|---|
| JP (1) | JP5036677B2 (ja) |
Citations (2)
| Publication number | Priority date | Publication date | Assignee | Title |
|---|---|---|---|---|
| JPH104358A (ja) * | 1996-06-14 | 1998-01-06 | Riso Kagaku Corp | 信号処理方法および装置 |
| JP2006050429A (ja) * | 2004-08-06 | 2006-02-16 | Japan Science & Technology Agency | 信号処理装置、方法およびプログラム |
-
2008
- 2008-10-06 JP JP2008259780A patent/JP5036677B2/ja not_active Expired - Fee Related
Patent Citations (2)
| Publication number | Priority date | Publication date | Assignee | Title |
|---|---|---|---|---|
| JPH104358A (ja) * | 1996-06-14 | 1998-01-06 | Riso Kagaku Corp | 信号処理方法および装置 |
| JP2006050429A (ja) * | 2004-08-06 | 2006-02-16 | Japan Science & Technology Agency | 信号処理装置、方法およびプログラム |
Also Published As
| Publication number | Publication date |
|---|---|
| JP5036677B2 (ja) | 2012-09-26 |
Similar Documents
| Publication | Publication Date | Title |
|---|---|---|
| CN101868984B (zh) | 一种确定高精度分量信号的装置和方法 | |
| CN107251009B (zh) | 用于可变采样速率的数字音频滤波器 | |
| Taylor | Digital filters: principles and applications with MATLAB | |
| JPH0562495A (ja) | サンプリング周波数変換器 | |
| WO2009133948A1 (ja) | 音響処理装置及び音響処理方法 | |
| US20110106547A1 (en) | Audio signal compression device, audio signal compression method, audio signal demodulation device, and audio signal demodulation method | |
| JP2019047478A (ja) | 音響信号処理装置、音響信号処理方法および音響信号処理プログラム | |
| GB2477713A (en) | Determining a configuration for an audio processing operation | |
| JPWO2010041381A1 (ja) | 信号処理回路 | |
| JP4021058B2 (ja) | データ補間方式 | |
| JP2009265470A (ja) | 共鳴音発生装置および電子楽器 | |
| JP5036677B2 (ja) | 可変特性型信号変換装置および方法 | |
| JP4907595B2 (ja) | 音響処理装置及び音響処理方法 | |
| JP2009175677A (ja) | 共鳴音付加装置および電子楽器 | |
| JP3888239B2 (ja) | デジタル音声処理方法及び装置、並びにコンピュータプログラム | |
| JP5014312B2 (ja) | 離散信号の実時間補間装置および方法 | |
| JP6935912B2 (ja) | データ補間装置、およびデータ補間方法 | |
| US6700521B2 (en) | Interpolating function generating apparatus and method, digital-analog converter, data interpolator, program, and record medium | |
| JP5556673B2 (ja) | 音声信号補正装置、音声信号補正方法及びプログラム | |
| JP4435452B2 (ja) | 信号処理装置、信号処理方法、プログラムおよび記録媒体 | |
| JP3974408B2 (ja) | 標本化信号生成装置及び標本化信号再生装置並びにその方法 | |
| JP4950119B2 (ja) | 音響処理装置及び音響処理方法 | |
| JP3409364B2 (ja) | 音像定位制御装置 | |
| WO2019026261A1 (ja) | 演奏評価装置および演奏評価方法 | |
| JP3256316B2 (ja) | デジタル電子楽器システム |
Legal Events
| Date | Code | Title | Description |
|---|---|---|---|
| A131 | Notification of reasons for refusal |
Free format text: JAPANESE INTERMEDIATE CODE: A131 Effective date: 20111206 |
|
| A521 | Request for written amendment filed |
Free format text: JAPANESE INTERMEDIATE CODE: A523 Effective date: 20111220 |
|
| TRDD | Decision of grant or rejection written | ||
| A01 | Written decision to grant a patent or to grant a registration (utility model) |
Free format text: JAPANESE INTERMEDIATE CODE: A01 Effective date: 20120703 |
|
| A01 | Written decision to grant a patent or to grant a registration (utility model) |
Free format text: JAPANESE INTERMEDIATE CODE: A01 |
|
| A61 | First payment of annual fees (during grant procedure) |
Free format text: JAPANESE INTERMEDIATE CODE: A61 Effective date: 20120703 |
|
| FPAY | Renewal fee payment (event date is renewal date of database) |
Free format text: PAYMENT UNTIL: 20150713 Year of fee payment: 3 |
|
| R150 | Certificate of patent or registration of utility model |
Free format text: JAPANESE INTERMEDIATE CODE: R150 |
|
| S533 | Written request for registration of change of name |
Free format text: JAPANESE INTERMEDIATE CODE: R313533 |
|
| R350 | Written notification of registration of transfer |
Free format text: JAPANESE INTERMEDIATE CODE: R350 |
|
| R250 | Receipt of annual fees |
Free format text: JAPANESE INTERMEDIATE CODE: R250 |
|
| R250 | Receipt of annual fees |
Free format text: JAPANESE INTERMEDIATE CODE: R250 |
|
| LAPS | Cancellation because of no payment of annual fees |
