JP2010091587A - 多自由度干渉計 - Google Patents

多自由度干渉計 Download PDF

Info

Publication number
JP2010091587A
JP2010091587A JP2010017768A JP2010017768A JP2010091587A JP 2010091587 A JP2010091587 A JP 2010091587A JP 2010017768 A JP2010017768 A JP 2010017768A JP 2010017768 A JP2010017768 A JP 2010017768A JP 2010091587 A JP2010091587 A JP 2010091587A
Authority
JP
Japan
Prior art keywords
measurement
path
measurement object
interferometer
along
Prior art date
Legal status (The legal status is an assumption and is not a legal conclusion. Google has not performed a legal analysis and makes no representation as to the accuracy of the status listed.)
Granted
Application number
JP2010017768A
Other languages
English (en)
Other versions
JP5350285B2 (ja
Inventor
Henry A Hill
エイ. ヒル、ヘンリー
Current Assignee (The listed assignees may be inaccurate. Google has not performed a legal analysis and makes no representation or warranty as to the accuracy of the list.)
Zygo Corp
Original Assignee
Zygo Corp
Priority date (The priority date is an assumption and is not a legal conclusion. Google has not performed a legal analysis and makes no representation as to the accuracy of the date listed.)
Filing date
Publication date
Application filed by Zygo Corp filed Critical Zygo Corp
Publication of JP2010091587A publication Critical patent/JP2010091587A/ja
Application granted granted Critical
Publication of JP5350285B2 publication Critical patent/JP5350285B2/ja
Anticipated expiration legal-status Critical
Expired - Lifetime legal-status Critical Current

Links

Images

Classifications

    • GPHYSICS
    • G01MEASURING; TESTING
    • G01BMEASURING LENGTH, THICKNESS OR SIMILAR LINEAR DIMENSIONS; MEASURING ANGLES; MEASURING AREAS; MEASURING IRREGULARITIES OF SURFACES OR CONTOURS
    • G01B9/00Measuring instruments characterised by the use of optical techniques
    • G01B9/02Interferometers
    • G01B9/02055Reduction or prevention of errors; Testing; Calibration
    • G01B9/02056Passive reduction of errors
    • G01B9/02059Reducing effect of parasitic reflections, e.g. cyclic errors
    • GPHYSICS
    • G01MEASURING; TESTING
    • G01BMEASURING LENGTH, THICKNESS OR SIMILAR LINEAR DIMENSIONS; MEASURING ANGLES; MEASURING AREAS; MEASURING IRREGULARITIES OF SURFACES OR CONTOURS
    • G01B9/00Measuring instruments characterised by the use of optical techniques
    • G01B9/02Interferometers
    • G01B9/02001Interferometers characterised by controlling or generating intrinsic radiation properties
    • G01B9/02002Interferometers characterised by controlling or generating intrinsic radiation properties using two or more frequencies
    • G01B9/02003Interferometers characterised by controlling or generating intrinsic radiation properties using two or more frequencies using beat frequencies
    • GPHYSICS
    • G01MEASURING; TESTING
    • G01BMEASURING LENGTH, THICKNESS OR SIMILAR LINEAR DIMENSIONS; MEASURING ANGLES; MEASURING AREAS; MEASURING IRREGULARITIES OF SURFACES OR CONTOURS
    • G01B9/00Measuring instruments characterised by the use of optical techniques
    • G01B9/02Interferometers
    • G01B9/02015Interferometers characterised by the beam path configuration
    • G01B9/02017Interferometers characterised by the beam path configuration with multiple interactions between the target object and light beams, e.g. beam reflections occurring from different locations
    • G01B9/02018Multipass interferometers, e.g. double-pass
    • GPHYSICS
    • G01MEASURING; TESTING
    • G01BMEASURING LENGTH, THICKNESS OR SIMILAR LINEAR DIMENSIONS; MEASURING ANGLES; MEASURING AREAS; MEASURING IRREGULARITIES OF SURFACES OR CONTOURS
    • G01B9/00Measuring instruments characterised by the use of optical techniques
    • G01B9/02Interferometers
    • G01B9/02015Interferometers characterised by the beam path configuration
    • G01B9/02017Interferometers characterised by the beam path configuration with multiple interactions between the target object and light beams, e.g. beam reflections occurring from different locations
    • G01B9/02019Interferometers characterised by the beam path configuration with multiple interactions between the target object and light beams, e.g. beam reflections occurring from different locations contacting different points on same face of object
    • GPHYSICS
    • G03PHOTOGRAPHY; CINEMATOGRAPHY; ANALOGOUS TECHNIQUES USING WAVES OTHER THAN OPTICAL WAVES; ELECTROGRAPHY; HOLOGRAPHY
    • G03FPHOTOMECHANICAL PRODUCTION OF TEXTURED OR PATTERNED SURFACES, e.g. FOR PRINTING, FOR PROCESSING OF SEMICONDUCTOR DEVICES; MATERIALS THEREFOR; ORIGINALS THEREFOR; APPARATUS SPECIALLY ADAPTED THEREFOR
    • G03F7/00Photomechanical, e.g. photolithographic, production of textured or patterned surfaces, e.g. printing surfaces; Materials therefor, e.g. comprising photoresists; Apparatus specially adapted therefor
    • G03F7/70Microphotolithographic exposure; Apparatus therefor
    • G03F7/70691Handling of masks or workpieces
    • G03F7/70775Position control, e.g. interferometers or encoders for determining the stage position
    • GPHYSICS
    • G01MEASURING; TESTING
    • G01BMEASURING LENGTH, THICKNESS OR SIMILAR LINEAR DIMENSIONS; MEASURING ANGLES; MEASURING AREAS; MEASURING IRREGULARITIES OF SURFACES OR CONTOURS
    • G01B2290/00Aspects of interferometers not specifically covered by any group under G01B9/02
    • G01B2290/70Using polarization in the interferometer

Landscapes

  • Physics & Mathematics (AREA)
  • General Physics & Mathematics (AREA)
  • Instruments For Measurement Of Length By Optical Means (AREA)
  • Length Measuring Devices By Optical Means (AREA)

Abstract

【課題】改良された多軸干渉計を提供すること。
【解決手段】装置は、複数の自由度に関する反射測定対象物の相対位置を測定する多軸干渉計を含み、この干渉計は、複数の自由度の内の異なる一つの自由度に関する測定対象物の相対位置についての情報を各々が含む複数の出力ビームを生成するように構成される。各出力ビームは測定対象物に共通経路に沿って少なくとも1回接触するビーム成分を含み、複数のビーム成分の内の少なくとも一つのビーム成分が、共通経路とは異なる第1経路に沿って測定対象物に対して少なくとも2回目の接触を更に行なう。
【選択図】 図2a

Description

本発明は、平面ミラー測定対象物の複数の自由度を測定する干渉計のような複数自由度測定干渉計を特徴とする。
(関連出願の相互参照)
本出願は、次の米国仮特許出願の優先権を主張するものである。Henry A. Hillによる「多自由度測定平面ミラー干渉計アセンブリ」と題する2002年1月28日出願(Z−391)の米国特許出願第60/352,341号、Henry A. Hillによる「多自由度高安定平面ミラー干渉計」と題する2002年4月11日出願(Z−408)の米国特許出願第60/371,872号、及びHenry A. Hillによる「多自由度高安定平面ミラー干渉計」と題する2002年5月13日出願(Z−422)の米国特許出願第60/379,987号。参照される上記仮特許出願の各々は、本明細書において参照により引用される。
変位測定干渉計は、光学的な干渉信号に基づいて、基準物体に対する測定対象物の位置の相対的な変化をモニタする。干渉計は、測定対象物から反射した測定ビームと、基準物体から反射した基準ビームとを重ね合わせ、干渉させることによって光学的な干渉信号を生成する。
多くの応用例では、測定および基準ビームの偏光は直交しており、周波数は異なっている。異なる周波数は、たとえば、レーザによるゼーマン分裂または音響光学変調によって、あるいは複屈折素子などを使用してレーザ内部で生成し得る。偏光が直交していることで、偏光ビーム・スプリッタにより測定および基準ビームがそれぞれ測定および基準物体に方向づけられ、反射した測定および基準ビームが合成されて、重なり合う射出測定および基準ビームが形成され得る。この重なり合う射出ビームが出力ビームを形成し、その後で偏光子を通過する。
偏光子は、測定および基準射出ビームの偏光を混合して、混合ビームを形成する。混合ビーム中の測定および基準射出ビームの成分は互いに干渉して、測定および基準射出ビームの相対位相に応じて、混合ビームの強度が変化する。検出器が、この混合ビームの時間依存性強度を測定し、この強度に比例した電気的な干渉信号を生成する。測定および基準ビームの周波数は異なるので、この電気的な干渉信号は、測定および基準射出ビームの周波数の差に等しいビート周波数を有する「ヘテロダイン」信号を含む。たとえば、測定対象物を含むステージを並進移動させることによって、測定および基準経路長が相互に変化する場合、ビート周波数の測定値は、2νnp/λに等しいドップラー・シフトを含む。ここで、νは、測定および基準物体の相対速度、λは、測定および基準ビームの波長、nは、光ビームが通過する空気または真空などの媒質の屈折率、pは、基準および測定物体まで通過した回数である。測定対象物の相対位置の変化は、干渉信号の測定値の位相変化に相当し、2πの位相変化が、ほぼλ/(np)の距離の変化Lに等しい。ここで、Lは、往復距離の変化、たとえば、測定対象物を含むステージに至り、それから戻るまでの距離の変化である。
残念ながら、この等式は、必ずしも正確ではない。更に、干渉信号測定値の振幅は、変化し得る。振幅が変化すると、後続の位相変化測定値の精度が、低くなり得る。多くの干渉計には、「周期誤差」として知られているような非線形性を含む。この周期誤差は、干渉信号測定値の位相および/または強度として表すことが可能であり、光路長pnLの変化に対する正弦波依存性を有する。具体的には、位相の第1高調波周期誤差は、(2πpnL)/λに対する正弦波依存性を有しており、位相の第2高調波周期誤差は、2×(2πpnL)/λに対する正弦波依存性を有する。より高次の高調波周期誤差が存在する可能性もある。
干渉計の基準ビーム成分及び測定ビーム成分が、波面誤差を含む場合、出力ビームの基準ビーム成分及び測定ビーム成分との間の横方向変位(すなわち「ビームずれ」)の変化により生じるような「非周期的非線形性」も存在する。この現象は、次のように説明できる。
干渉計光学系の不均質性は、基準ビーム及び測定ビームに波面誤差を生じさせる。基準ビーム及び測定ビームがこのような不均質性により互いに共線的に伝搬する場合、その結果として生じる波面誤差は同じとなり、干渉信号に対するこれらの寄与が互いに相殺し合う。しかしながらより一般的には、出力ビームの基準ビーム成分及び測定ビーム成分は横方向に互いに変位する、すなわちこれらの成分は相対ビームずれを有する。このようなビームずれによって波面誤差が生じて、誤差が出力ビームから生じる干渉信号に影響する。
また、多くの干渉計システムにおいて、ビームずれは、測定対象物の位置または角度配向(agnular orientation)が変わると変化する。例えば、相対ビームずれの変化が平面ミラー測定対象物の角度配向の変化により生じる。従って、測定対象物の角度配向の変化により、対応する誤差が干渉信号に生じる。
ビームずれ及び波面誤差の影響は、成分偏光状態に関連する出力ビームの成分を混合し、混合出力ビームを検出して、電気干渉信号を生成するために使用する手順に依存することになる。混合出力ビームは、例えば混合ビームを検出器に集光させることなく検出器により、混合出力ビームを検出器に集光するビームとして検出することにより、または混合出力ビームをシングルモードまたはマルチモード光ファイバの中に向けて射出し、光ファイバが搬送する混合出力ビームの一部を検出することにより検出することができる。ビームずれ及び波面誤差による影響はまた、仮にビームストップを混合出力ビームを検出する手順に使用するとした場合、ビームストップの性能にも依存することになる。一般的に、干渉信号の複数の誤差は、光ファイバを使用して混合出力ビームを検出器に送信するときに混合される。
測定干渉信号の振幅変動は、多数のメカニズムによる正味の結果である。一つのメカニズムは、出力ビームの基準成分及び測定成分の相対ビームずれであり、このビームずれは、例えば測定対象物の姿勢の変化の結果である。
分散測定の適用においては、光路長測定は複数の波長、例えば532nm及び1064nmで行なわれ、この測定を使用して距離測定干渉計の測定経路に在るガスの分散を測定する。分散測定は、距離測定干渉計で測定する光路長を物理長に変換する際に使用することができる。このような変換は、測定対象物までの物理距離は変化しない場合であっても測定光路長の変化がガス乱流により及び/又は測定アーム中のガスの平均密度の変化により生じるので重要となる。
上述の干渉計は多くの場合、リソグラフィに使用して半導体ウェハに集積回路を形成するためのスキャナシステム及びステッパシステムの不可欠な構成要素である。このようなリソグラフィシステムは、通常、ウェハを支持し、固定する移動可能なステージ、照射ビームをウェハ上に方向付けるために使用する集光光学系、ステージを露光ビームに対して移動させるスキャナまたはステッパシステム、及び一つ以上の干渉計を含む。各干渉計は、測定ビームをステージに取り付けた平面ミラーに方向付け、また反射測定ビームを平面ミラーから受光する。各干渉計は、その反射測定ビームを該当する基準ビームと干渉させ、全体として干渉計は照射ビームに対するステージの位置の変化を正確に測定する。干渉計によってリソグラフィシステムは、ウェハのどの領域が照射ビームに晒されるかについて正確に制御することができる。
多くのリソグラフィシステム及び他の用途において、測定対象物は、各干渉計からの測定ビームを反射する一つ以上の平面ミラーを含む。測定対象物の角度配向の小さな変化、例えばステージのピッチング及びヨーイングは、平面ミラーが反射する各測定ビームの方向を変えることができる。補償しないままにしておくと、これらの変化した測定ビームは、各該当する干渉計における射出測定ビーム及び射出基準ビームのオーバーラップを小さくしてしまう。また、これらの射出測定ビーム及び射出基準ビームは、互いに平行に伝搬しないか、または混合ビームを形成するときにそれらの波面が一致しない。その結果、射出測定ビームと射出基準ビームとの間の干渉が、混合ビームの進行方向に垂直な面内において変化するので、検出器が測定する光強度の中に符号化されている干渉情報が壊れる。
この問題に対処するために、多くの従来の干渉計は再帰性反射体を含み、この再帰性反射体は、測定ビームの向きを変えて平面ミラーに戻すので、測定ビームは、干渉計と測定対象物との間の経路を「2回通過する」。再帰性反射体を設けることにより射出測定ビームの方向が確実に測定対象物の角度配向の変化に対して鈍感になる。平面ミラー干渉計において実施する場合、この構成は、一般的に高安定性平面ミラー干渉計(HSPMI)と呼ばれるものになる。しかしながら、再帰性反射体を設けるとしても、射出測定ビームの横方向位置は、依然として測定対象物の角度配向の変化に敏感なままである。また、干渉計内の光学系を通過する測定ビームの経路も、依然として測定対象物の角度配向の変化に敏感なままである。
実際、干渉計システムを使用してウェハステージの位置を複数の測定軸に沿って測定する。例えば、ウェハステージがx−y平面に位置する直交座標系を定義すると、測定は、通常、ウェハステージがx−y平面に沿って移動するに従って、ステージのx及びy位置だけでなくz軸に対するステージの角度配向に関しても行なわれる。また、x−y平面の面外のウェハステージの傾きもモニターすることが望ましい。例えば、そのような傾きの正確な特徴づけはx及びy位置のアッべオフセットエラーを計算するために必要となる。従って、所望の用途に応じて、最大5つの測定すべき自由度が存在する。また、幾つかの用途では、z軸に対するウェハステージの位置もモニターして6つの自由度をモニターすることが望ましい。
各自由度を測定するために、干渉計を使用して距離変化を該当する測定軸に沿ってモニターする。例えば、ステージのx及びy位置だけでなくx,y及びz軸に対するステージの角度配向を測定するシステムでは、少なくとも3つの空間的に分離された測定ビームをウェハステージの一方のサイドで反射し、少なくとも2つの空間的に分離された測定ビームをウェハステージの他方のサイドで反射する。例えば、「5つの測定軸を使用して基板にマスクパターンを繰り返し結像する方法及び装置」と題する米国特許第5,801,832号を参照されたい。ここで、この文献の内容を参照により援用する。各測定ビームを基準ビームと再合成して該当する測定軸に沿った光路長変化をモニターする。異なる測定ビームがウェハステージに異なる位置で接触するので、ウェハステージの角度配向は光路長測定を適切に組み合わせることにより得ることができる。従って、各自由度をモニターするために、システムはウェハステージに接触する少なくとも一つの測定ビームを含む。また上述のように、各測定ビームがウェハステージを2回通過するのでウェハステージの角度配向の変化による干渉信号の劣化を防止することができる。測定ビームは、物理的に独立した干渉計または複数の測定ビームを生成する多軸干渉計により生成することができる。
例えば、複数の干渉計を単一の光学アセンブリに組み込むことができる。測定対象物位置の変化についての情報は複数の出力ビームから生成され、これらの出力ビームの各々は、測定対象物への1つの通路を共通測定ビーム経路に沿って形成する成分を含む。その結果、このような干渉計システムでは、測定される自由度の内の或る自由度に関する非周期誤差が小さくなり、この場合、非周期誤差は、種々の原因、例えば、該当する異なるコサインまたはコセカント補正係数の形で生じる複数の測定ビームの相対的なずれ、ビームずれ存在下での波面誤差、ビームずれ存在下でのガラス中の不均質性、及び温度勾配から生じる。また、平面ミラー測定対象物に接触する測定ビームの内の幾つかの空間的な間隔を、一つ以上の再帰性反射体の位置によって設定する必要はない。また干渉計システムは概して、少数の光学素子を含む。
干渉計システムは、測定される複数の自由度が平面ミラー測定対象物の角度変位及び/又は直線変位に基づくように構成される。
干渉計システムは、複数自由度測定干渉計への入力ビームの方向が一つ以上の動的ビーム操作素子によって制御されて平面ミラー測定対象物が傾いたときの干渉計内での、及び検出器でのビームずれを小さくする(例えば実質的に無くす)ので非周期誤差の一つの原因を無くすことができる。干渉計システムはまた、複数自由度測定干渉計に向かう入力ビーム、及び複数自由度測定干渉計からの出力ビームの方向の両方が一つ以上のビーム操作素子によって制御されて、平面ミラー測定対象物が傾いたときの検出器での出力ビームの入射角のビームずれ及び変化が小さくなる(例えば実質的に無くなる)ように構成することもできる。
多軸干渉計システムを半導体チップ製造用のリソグラフィシステムに組み込むことができる。多軸干渉計システムをビーム書込みシステムに組み込むこともできる。
次に、本発明の種々の態様及び特徴について要約する。
概括すると、一態様において、本発明は装置を特徴とし、この装置は、反射測定対象物の相対位置を複数の自由度に関して測定する多軸干渉計を備え、干渉計は、複数の自由度の内の異なる一つの自由度に関する測定対象物の相対位置についての情報を各々が含む複数の出力ビームを生成するように構成される。各出力ビームは、測定対象物に共通経路に沿って少なくとも1回接触するビーム成分を含み、複数のビーム成分の内の少なくとも一つのビーム成分が、共通経路とは異なる第1経路に沿って測定対象物に対して少なくとも2回目の接触を更に行なう。
装置の実施形態は、次の特徴のいずれかを含むことができる。
共通経路に沿って、かつ第1経路に沿って測定対象物に接触するビーム成分を含む出力ビームは、測定対象物に接触しない第2ビーム成分を更に含む。
複数の自由度の内の一つの自由度は、第1測定軸に沿った測定対象物までの距離とすることができる。例えば、第1測定軸に沿った測定対象物までの距離についての情報を含む出力ビームは、共通経路に沿って、かつ第1経路沿って測定対象物に接触するビーム成分を含む。このような実施形態では、第1測定軸は、共通経路及び第1経路により定義される。例えば、第1測定軸上の各ポイントは、共通経路及び第1経路の上の該当するポイントまでの距離が等しい。
また、第1測定軸に沿った距離測定に加えて、ビーム成分の内の別のビーム成分は、共通経路とは異なる第2経路に沿って測定対象物に少なくとも2回目の接触を更に行なう。共通経路に沿って、かつ第2経路に沿って測定対象物に接触するビーム成分を含む出力ビームは、共通経路及び第2経路によって定義される第2測定軸に沿った測定対象物までの距離についての情報を含み、第2測定軸は、第1測定軸とは異なる。また、ビーム成分の内の第3のビーム成分は、共通経路とは異なる第3経路に沿って測定対象物に少なくとも2回目の接触を更に行なう。共通経路及び第3経路に沿って測定対象物に接触するビーム成分を含む出力ビームは、共通経路及び第3経路によって定義される第3測定軸に沿った測定対象物までの距離についての情報を含み、第3測定軸は、第1及び第2測定軸とは異なる。例えば、第1及び第2測定軸によって第1平面が定義され、そして第2及び第3測定軸によって第1平面とは異なる第2平面が定義される。
第1測定軸に沿った距離測定に加えて、出力ビームの内の第2出力ビームは、第1回転軸に対する測定対象物の角度配向についての情報を含む。例えば、第2出力ビームは、共通経路に沿って測定対象物に接触する第1に記載したビーム成分、及び第1ビーム成分とは異なる別のビーム成分を含み、別のビーム成分は、共通経路とは異なる第2経路に沿って測定対象物に接触する。第1経路は、第2経路とは異なる、または第1経路は、共通経路と同じとすることができる。第1回転軸は、共通経路及び第2経路によって定義される平面に垂直である。また、出力ビームの内の第3出力ビームは、第1回転軸とは異なる第2回転軸に対する測定対象物の角度配向についての情報を含む。第3出力ビームは、共通経路に沿って測定対象物に接触する第1に記載したビーム成分、及び第1ビーム成分とは異なる別のビーム成分を含み、第3出力ビームの別のビーム成分は共通経路とは異なる第3経路に沿って測定対象物に接触する。例えば、第2回転軸は、第1回転軸に直交する。
多軸干渉計は、複数の自由度の内の異なる自由度についての情報を各々が含む少なくとも4つの出力ビームを生成する。また、多軸干渉計は少なくとも5自由度に関する、または少なくとも7自由度に関する情報を供給する。
測定対象物は、平面ミラーを含むことができる。
装置は、入力ビームを多軸干渉計に方向付けるように構成される光源を更に備え、入力ビームは、分離ヘテロダイン周波数を有する2つの成分を含む。共通経路に沿って測定対象物に接触する各出力ビームは、入力ビームの成分の内の一つの成分から生成され、各出力ビームは、入力ビームの成分の内の他の成分から生成される第2成分を含む。例えば、入力ビームの成分は直交偏光を有する。
装置は、出力ビームを受信し、かつ異なる自由度に関する測定対象物の相対位置についての情報を示す電気信号を生成するように構成される検出器を更に備える。また、装置は、各検出器の手前に配置され、出力ビームの各々に含まれる成分の内の中間偏光成分を通過させるように構成される偏光解析器を更に備える。また、装置は、各出力ビームが該当する偏光解析器を通過した後に、各出力ビームを該当する検出器に入力する光ファイバピックアップを更に備える。
干渉計は、入力ビームから生成される第1ビームを共通経路に沿って測定対象物に接触するように方向付け、測定対象物に接触した後に第1ビームを複数のサブビームに分離するように構成され、サブビームは、共通経路に沿って測定対象物に接触する出力ビームのビーム成分に対応する。また干渉計は、サブビームの内の少なくとも一つのサブビームを第1経路に沿って測定対象物に対して少なくとも2回目の接触を更に行うように方向付けて、共通経路に沿って、かつ第1経路に沿って測定対象物に接触するビーム成分を形成するように構成される。また、干渉計は、入力ビームから別のサブビームを生成し、測定対象物に少なくとも2回接触するサブビームを別のサブビームと合成して出力ビームの内の第1出力ビームを生成するように構成され、第1出力ビームは、共通経路及び第1経路によって定義される測定軸に沿った測定対象物までの距離についての情報を含む。
また干渉計は、共通経路及び第1経路とは異なる第2経路に沿って測定対象物に対して少なくとも2回目の接触を行うように、サブビームの内の少なくとも別のサブビームを方向付けるように構成される。例えば、干渉計は、入力ビームから別の組のサブビームを生成し、測定対象物に少なくとも2回接触するサブビームの各々を別の組のサブビームの内の該当するサブビームと合成して出力ビームの内の該当する出力ビームを生成するように構成される。
干渉計はまた、入力ビームから別の組のサブビームを生成し、測定対象物に少なくとも2回接触するサブビームを別の組のサブビームに含まれるサブビームの内の一つのサブビームと合成して出力ビームの内の一つの出力ビームを生成し、別の組のサブビームに含まれるサブビームの内の別のサブビームを共通経路とは異なる第2経路に沿って測定対象物に接触するように方向付け、共通経路に沿って測定対象物に接触するサブビームの内の別のサブビームを第2経路に沿って測定対象物に接触するサブビームと合成して出力ビームの内の別の出力ビームを生成するように構成される。
サブビームについて記載する実施形態のいずれかにおいて、干渉計は、(1)第1ビームが測定対象物に接触した後に第1ビームを主基準ビームと合成して中間ビームを形成し、(2)中間ビームを一組の副測定ビーム及び一組の副基準ビームに分離し、(3)副測定ビームの各々を測定対象物に接触するように方向付け、(4)各副測定ビームが測定対象物に接触した後に各副測定ビームを該当する副基準ビームの内の一つの副基準ビームと合成して出力ビームの内の該当する出力ビームを生成するように構成され、この場合サブビームの各々は副測定ビーム及び副基準ビームの内の異なるビームに対応する。
干渉計は、入力入射ビームから生成される主測定ビームを共通経路に沿って測定対象物に接触するように方向付けるべく配置された共通偏光ビームスプリッタと、主測定ビームを含む中間ビームを偏光ビームスプリッタから受信し、中間ビームを複数のビームに分離し、複数のビームを偏光ビームスプリッタに戻るように方向付けるべく構成される戻しビームアセンブリとを備える。偏光ビームスプリッタは、入力入射ビームから生成される主基準ビームを反射基準物体に接触するように方向付けるべく配置され、主測定ビーム及び主基準ビームは入力入射ビームの直交偏光成分に対応する。偏光ビームスプリッタは、主測定ビーム及び主基準ビームがそれぞれ測定対象物及び基準物体に接触した後に、主測定ビーム及び主基準ビームを再合成して中間ビームを形成するように配置される。
偏光ビームスプリッタは、(1)複数のビームを一組の副測定ビーム及び一組の副基準ビームに分離し、(2)副測定ビームの各々を測定対象物に接触するように方向付け、(3)副基準ビームの各々を基準物体に接触するように方向付け、(4)それらのビームがそれぞれ測定対象物及び基準物体に接触した後に、各副測定ビームを副基準ビームの内の該当する副基準ビームと再合成して出力ビームの内の該当する出力ビームを形成するように配置される。
このような実施形態では、各副測定ビームは、共通経路とは異なる経路に沿って測定対象物に接触する。また、干渉計は、基準物体を備える。別の構成として、基準物体は、差動平面ミラー干渉計における場合のように別の測定対象物に対応する。いずれの場合においても、基準物体は、平面ミラーを含む。
干渉計は、偏光ビームスプリッタと測定対象物との間に位置する測定用1/4位相差板を更に備え、また、偏光ビームスプリッタと基準物体との間に位置する基準用1/4位相差板を更に備える。
干渉計は、非偏光ビームスプリッタを含む入力ビーム光学アセンブリを更に備え、入力ビーム光学アセンブリは、入力入射ビームを、第1に記載の入力ビームと、第1入力ビームに平行に伝搬する第2入力ビームとに分離し、第1及び第2入力ビームを偏光ビームスプリッタに方向付けるように構成される。
戻しビームアセンブリは、少なくとも一組の折返し光学系と、中間ビームを複数のビームに分離するように配置される少なくとも一つの非偏光ビームスプリッタとを備える。例えば、一組の折返し光学系は、非偏光ビームスプリッタの内のいずれかの手前で中間ビームを受信するように配置される再帰性反射体を備える。戻しビームアセンブリは、少なくとも一つの非偏光ビームスプリッタを備えるビーム分離アセンブリを更に備え、ビーム分離アセンブリは、中間ビームを再帰性反射体から受信し、複数のビームを生成し、中間ビームの方向に平行な方向に沿って偏光ビームスプリッタに戻るように複数のビームを方向付ける。また、ビーム分離アセンブリは、複数の非偏光ビームスプリッタを備える。また、戻しビームアセンブリは、再帰性反射体とビーム分離アセンブリとの間に位置する位相差板を更に備え、位相差板は、再帰性反射体によって生じる中間ビームの偏光回転を小さくするように配向される。
他の実施形態では、一組の折返し光学系は、角度測定折返し光学系及び距離測定折返し光学系を含み、角度測定折返し光学系は、複数のビームの内の少なくとも一つのビームの偏光を回転させるように配置される1/2位相差板を備える。角度測定折返し光学系は、ペンタプリズムを更に備え、距離測定光学系は、再帰性反射体を備える。非偏光ビームスプリッタは、中間ビームを折返し光学系のいずれかの手前、または後ろで受信するように配置される。
概括すると、別の態様において、本発明は方法を特徴とし、この方法は、異なる自由度に関する測定対象物の相対位置についての情報を各々が含む複数の出力ビームを干渉法により生成することを含む。各出力ビームは、共通経路に沿って測定対象物に少なくとも1回接触するビーム成分を含む。また、ビーム成分の内の少なくとも一つのビーム成分は、共通経路とは異なる第1経路に沿って少なくとも測定対象物に対して2回目の接触を更に行なう。
この方法の実施形態は、装置に関して上記した特徴に対応する特徴の内のいずれかを更に含む。
概括すると、別の態様において、本発明は装置を特徴とし、この装置は、複数の自由度に関する反射測定対象物の相対位置を測定する多軸干渉計を備え、干渉計は、複数の自由度の内の異なる一つの自由度に関する測定対象物の相対位置についての情報を各々が含む複数の出力ビームを生成するように構成されている。各出力ビームは共通経路に沿って測定対象物に少なくとも1回接触するビーム成分を含む。出力ビームの内の少なくとも一つの出力ビームは、第1に記載したビーム成分とは異なる別のビーム成分を含む。別のビーム成分は、共通経路とは異なる第1経路に沿って測定対象物に少なくとも1回接触する。
第2に記載した装置の実施形態は、次の特徴の内のいずれかを含む。
共通経路に沿って測定対象物に接触する第1ビーム成分と第1経路に沿って測定対象物に接触する別のビーム成分とを含む出力ビームは、第1回転軸に対する測定対象物の角度配向についての情報を含む。例えば、第1回転軸は、共通経路及び第1経路によって定義される平面に垂直である。また、出力ビームの内の第2出力ビームは、第1回転軸とは異なる第2回転軸に対する測定対象物の角度配向についての情報を含み、第2出力ビームは、共通経路に沿って測定対象物に接触する第1に記載のビーム成分と、第1ビーム成分とは異なる別のビーム成分とを含み、第2出力ビームの別のビーム成分は、共通経路とは異なる第2経路に沿って測定対象物に接触する。例えば、第2回転軸は、第1回転軸に直交する。
第2に記載した装置の別の実施形態は、第1に記載した装置について上記した追加の特徴の内のいずれかを含む。
概括すると、別の態様において、本発明は方法を特徴とし、この方法は、各々が異なる自由度に関する測定対象物の相対位置についての情報を含む複数の出力ビームを干渉法により生成することを含み、各出力ビームは、共通経路に沿って測定対象物に少なくとも1回接触するビーム成分を含む。複数の出力ビームの内の少なくとも一つの出力ビームは、第1に記載したビーム成分とは異なる別のビーム成分を含む。別のビーム成分は、共通経路とは異なる第1経路に沿って測定対象物に少なくとも1回接触する。
第2に記載した方法の実施形態は、第1に記載し、そして第2に記載した装置について上記した特徴に対応する特徴の内のいずれかを更に含む。
別の態様において、本発明は、集積回路をウェハの上に製造する際に使用するリソグラフィシステムを特徴とする。このリソグラフィシステムは、ウェハを支持するステージと、空間的にパターン化された照射線をウェハの上に結像する照明システムと、結像した照射線に対するステージの位置を調整するポジショニングシステムと、結像した照射線に対するウェハの位置をモニターする上記の干渉計装置の内のいずれかとを備える。
別の態様において、本発明は、集積回路をウェハの上に製造する際に使用する別のリソグラフィシステムを特徴とする。このリソグラフィシステムは、ウェハを支持するステージと、照射源、マスク、ポジショニングシステム、レンズアセンブリ、及び上記の干渉計装置のいずれかを含む照明システムとを備える。動作状態において、照射源は、照射線をマスクを通して方向付けて空間的にパターン化された照射線を生成し、ポジショニングシステムは、照射源からの照射線に対するマスクの位置を調整し、レンズアセンブリは、空間的にパターン化された照射線をウェハの上に結像し、干渉計システムは、照射源からの照射線に対するマスクの位置をモニターする。
別の態様において、本発明は、リソグラフィマスクを製造する際に使用するビーム書込みシステムを特徴とする。このビーム書込みシステムは、書込みビームを照射して基板にパターンを形成する照射源と、基板を支持するステージと、書込みビームを基板に方向付けるビーム方向付けアセンブリと、ステージ及びビーム方向付けアセンブリを互いに対して配置するポジショニングシステムと、ビーム方向付けアセンブリに対するステージの位置をモニターする上記の干渉計装置の内のいずれかとを備える。
別の態様において、本発明は、集積回路をウェハの上に製造する際に使用するリソグラフィ法を特徴とする。このリソグラフィ法は、ウェハを移動可能なステージの上に支持すること、空間的にパターン化された照射線をウェハの上に結像すること、ステージの位置を調整すること、ステージの位置を上記の干渉法による方法の内のいずれかを使用してモニターすることを含む。
別の態様において、本発明は、集積回路の製造に使用する別のリソグラフィ法を特徴とする。このリソグラフィ法は、入力照射線をマスクを通して方向付けて空間的にパターン化された照射線を生成すること、マスクを入力照射線に対して位置決めすること、入力照射線に対するマスクの位置を上記の干渉法による方法の内のいずれかを使用してモニターすること、空間的にパターン化された照射線をウェハの上に結像することを含む。
別の態様において、本発明は集積回路をウェハの上に製造する第3のリソグラフィ法を特徴とし、このリソグラフィ法は、リソグラフィシステムの第1構成要素をリソグラフィシステムの第2構成要素に対して位置決めしてウェハを空間的にパターン化された照射線で露光すること、第2構成要素に対する第1構成要素の位置を上記の干渉法による方法の内のいずれかを使用してモニターすることを含む。
別の態様において、本発明は、上記のリソグラフィ法の内のいずれかを含む集積回路の製造方法を特徴とする。
別の態様において、本発明は、上記のリソグラフィシステムの内のいずれかを使用する操作を含む集積回路の製造方法を特徴とする。
別の態様において、本発明は、リソグラフィマスクの製造方法を特徴とし、この方法は、書込みビームを基板に方向付けて基板にパターンを形成すること、基板を書込みビームに対して位置決めすること、書込みビームに対する基板の位置を上記の干渉法による方法の内のいずれかを使用してモニターすることを含む。
特別に定義しない限り、本明細書に使用する全ての技術的及び科学的用語は本発明が属する技術分野の当業者が共通して理解するのと同じ意味を有するものとする。刊行物、特許出願、特許、及び本明細書において参照されることにより本発明の開示に組み入れられる上述の他の参考文献と相容れない事態が生じる場合には、定義を含む本明細書が優先する。
本発明の一つ以上の実施形態についての詳細は、添付の図面及び以下の記載に開示される。本発明の他の特徴、目的及び利点は記載及び図面から、そして請求項から明らかになるであろう。
なお、種々の図面における同様な参照符号は同様の素子を示す
干渉計システムの模式図である。 多軸干渉計の第1の実施形態の透視図である。 第1の実施形態における測定ビームの相対位置を示す。 多軸干渉計の第2の実施形態の斜視図である。 第2の実施形態における測定ビームの相対位置を示す。 多軸干渉計の第3の実施形態の斜視図である。 第3の実施形態における測定ビームの相対位置を示す。 多軸干渉計の第4の実施形態の斜視図である。 第4の実施形態における測定ビームの相対位置を示す。 入力ビームを干渉計に方向付けるように配置される動的ビーム操作素子を含む干渉計システムの模式図である。 入力ビームを干渉計に方向付け、かつ干渉計からの一つ以上の出力ビームを方向付けるように配置される動的ビーム操作素子を含む干渉計システムの模式図である。 集積回路の製造に使用するリソグラフィシステムの模式図である。 集積回路を製造するための工程を示すフローチャートである。 集積回路を製造するための工程を示すフローチャートである。 ビーム書込みシステムの模式図である。 図3aに示す第2の実施形態の変形の斜視図である。 図10における場合のように、2つの干渉計を一体化した干渉計の別の実施形態の斜視図である。 干渉計システムの別の実施形態の平面図でる。 干渉計システムの距離測定部分の平面図である。 干渉計システムの角度測定部分の平面図である。 平面ミラー測定対象物上のビームスポットの配置を示す図である。 干渉計システムの変形において使用することができる構成要素の模式図である。 更に別の実施形態の干渉計システムの第1平面の平面図である。 更に別の実施形態の干渉計システムの第2平面の平面図である。 更に別の実施形態の干渉計システムの側面図である。 更に別の実施形態の干渉計システムの平面ミラー測定対象物の上のビームスポットの配置を示す図である。 一つ以上の補償素子を含む干渉計システムの更に別の実施形態の平面図である。 一つ以上の補償素子を含む干渉計システムの更に別の実施形態の平面図である。 異なるタイプの補償素子の模式図である。 異なるタイプの補償素子の模式図である。 異なるタイプの補償素子の模式図である。 更に別の実施形態の干渉計システムの第1平面の平面図である。 更に別の実施形態の干渉計システムの側面図である。 更に別の実施形態の干渉計システムの別の側面図である。 更に別の実施形態の干渉計システムの平面ミラー測定対象物の上のビームスポットの配置を示す図である。
図1は、干渉計システムの概略図であり、このシステムにより、平面ミラー測定対象物92の直線変位及び角度変位を測定し、モニターする。図1に示すように、干渉計システムは、照射源10、多数の干渉計タイプの一つとして構成し、配置することができる干渉計14、検出器70、及びデータ処理を実行するために公知の方法でプログラムされた電子プロセッサ兼コンピュータ90を備える。各タイプにおいては、別個の実施形態として以下に詳述するように、干渉計ビームは、ミラー92に向かって、またはミラー92から、20として示す光路にほぼ沿う形で進み、出力ビームは、干渉計14から検出器70に向かって60で示す光路に沿って進む。出力ビームは、検出器70により検出されて電気干渉信号を生成し、これらの信号は電子プロセッサ兼コンピュータ90に信号80として送信される。通常、偏光子または偏光「解析器」(図示せず)を使用して検出器70による検出の前に、出力ビームの測定ビーム成分及び基準ビーム成分の偏光を混合する。幾つかの実施形態においても、光ファイバピックアップ(図示せず)を使用して偏光混合出力ビームをリモート検出器に入射させる。
入力ビーム12は、照射源10から供給される2成分ビームである。2つの成分は、異なる周波数を有し、直交する平面偏光である。異なる周波数は、照射源10で、例えばレーザゼーマン分裂、音響光学変調、または複屈折素子などを使用してレーザの内部により生成することができる。
干渉計14の第1の実施形態を図2aの斜視図に示すが、この実施形態は、符号114としてその全体を示された統合光学アセンブリ内に2つの平面ミラー干渉計を含む。干渉計114については、干渉計14の動作として記載することとする。測定ビーム122,124及び126の経路は、図1の符号20で示す経路に対応する。2つの平面ミラー干渉計は、平面ミラー測定対象物92への1つの通路を形成するための共通測定ビーム経路を有する。共通測定ビーム経路は、測定ビーム122の経路に対応する。
ビーム12は、偏光ビームスプリッタインターフェイス130に入射し、基準ビーム成分及び測定ビーム成分を含むビーム140としてビームスプリッタ130を出て行く。入力ビーム12の2つの成分の偏光面は、ビームスプリッタインターフェイス130でのビーム12の入射面に対してそれぞれ平行であり、直交する。ビーム140の測定ビーム成分は、ビームスプリッタ130及び平面ミラー92によって反射され、ビームスプリッタ130を透過し、1/4位相差板132を2回透過する。位相差板132を2回通過することにより、測定ビームの偏光面が、90度回転する。ビーム140の基準ビーム成分は、ビームスプリッタ130を透過し、平面ミラー194及びビームスプリッタ130によって反射され、1/4位相差板134を2回透過する。位相差板134を2回通過することにより、基準ビームの偏光面が90度回転する。
ビーム140の第1及び第2部分をそれぞれ2つの平面ミラー干渉計のビームとして使用し、この場合第1及び第2部分は、測定ビーム成分を有し、これらの測定ビーム成分は、平面ミラー測定対象物92への一つの通路を形成する共通測定ビーム経路を有する。ビーム140は、プリズム154を透過し、再帰性反射体150によってビーム142として反射される。ビーム140の第1部分に対応するビーム142の第1部分は、非偏光ビームスプリッタインターフェイス152をビーム144として透過し、ビーム140の第2部分に対応するビーム142の第2部分は、ビームスプリッタインターフェイス152及びプリズム154によってビーム146として反射される。
ビーム144は、ビームスプリッタインターフェイス130に入射し、基準ビーム成分及び測定ビーム成分を含むビーム160としてビームスプリッタインターフェイス130を出て行く。入力ビーム144の測定ビーム成分は、ビームスプリッタインターフェイス130を透過し、平面ミラー92及びビームスプリッタインターフェイス130によって反射され、1/4位相差板132を2回透過する。ビーム144の基準ビーム成分は、ビームスプリッタインターフェイス130及び平面ミラー194により反射され、ビームスプリッタインターフェイス130を透過し、1/4位相差板134を2回透過する。
ビーム146は、ビームスプリッタインターフェイス130に入射し、基準ビーム成分及び測定ビーム成分を含む出力ビーム162としてビームスプリッタインターフェイス130を出て行く。ビーム146の測定ビーム成分は、ビームスプリッタインターフェイス130を透過し、平面ミラー92及びビームスプリッタインターフェイス130によって反射され、1/4位相差板132を2回透過する。ビーム146の基準ビーム成分は、ビームスプリッタインターフェイス130及び平面ミラー94により反射され、ビームスプリッタインターフェイス130を透過し、1/4位相差板134を2回透過する。
出力ビーム160及び162は、検出器70により検出されて2つの電気干渉信号を含む信号80を生成する。検出器70は、出力ビーム160及び162の基準ビーム成分及び測定ビーム成分を混合する偏光子を備える。信号80の電気干渉信号は、電子プロセッサ兼コンピュータ90に送信され、それぞれ干渉計測定軸x1及びx10に沿ったミラー92の変位に関する情報について処理される。変位x1及びx10の変化の平均は、電子プロセッサ兼コンピュータ90によってミラー92の直線変位の変化として計算され、電子プロセッサ兼コンピュータ90が差(x10−x1)の変化を使用して、ミラー92の角度変位の変化をatan[(x1−x10)/b1]として計算する。この場合b1は2つの干渉計の測定軸の空間間隔である(図2b参照)。測定される角度配向の変化は、2つの測定軸が形成する平面内にある。
測定ビーム122,124及び126の相対位置を図2bに示す。図2bには、測定軸x1及びx10の相対位置及び測定軸間隔b1も示されている。
再帰性反射体150の位置は、ビーム140に対するビーム144の位置に影響するが、ビーム144及び146の空間間隔には影響しない。ビーム144及び146の空間間隔は、ビームスプリッタインターフェイス152及びプリズム154の反射面が形成する菱面体の特性により決まり、軸x10及びx1の間隔b1に対応する。該当する特性とは、菱面体の配置が測定軸x10とx1の間隔に影響しないことである。
再帰性反射体150を、固体キューブコーナー型再帰性反射体として図1に示す。キューブコーナー型再帰性反射体の場合、ビームのどの部分もキューブコーナーのセクタ境界と交差しないように使用されるビーム最大径または最大円形クリアアパーチャは、キューブコーナー型再帰性反射体の入力ビームと出力ビームの間隔の1/2である。しかしながら、他の光学素子、例えばビームスプリッタインターフェイス152、プリズム154及びビームスプリッタインターフェイス130の最大クリアアパーチャは、キューブコーナーの入力ビームと出力ビームとの間隔に等しくすることができる。この1/2という係数は、従来の高安定性平面ミラー干渉計、HSPMIを備えてなる干渉計システムに使用することができる最大径における係数2の損失を表す。これに較べて、第1の実施形態の干渉計114は、キューブコーナー型再帰性反射体を使用する際に第1の実施形態がこの損失係数を有さないように構成することができる。
ビーム144及び146に対するビーム140の位置は、軸x10及びx1の空間間隔に影響しない。この結果、キューブコーナー型再帰性反射体150のサイズは、間隔b1を変えることなく、干渉計のクリアアパーチャの直径を決める光学素子とは別に選択することができる。
再帰性反射体150を、図2aに固体キューブコーナー型再帰性反射体として示す。キューブコーナー型再帰性反射体150は、反射面を有し、この反射面は、信号80の電気干渉信号の周期誤差の発生を減らすようにコーティングが施されるが、この方法は、例えばHenry A. Hillによる「ヘテロダイン干渉計の再帰性反射体コーティング」と題する2002年4月11日出願(Z−410)の米国仮出願第60/371,868号に記載されており、この出願の内容が本明細書において参照により引用される。再帰性反射体150は、別の構成として、本発明の技術範囲及び技術思想から逸脱しない範囲で周期誤差の発生を減らす偏波面保存再帰性反射体を備えることができ、この構成は、例えばHenry A. Hillによる「偏光維持光学システム」と題する、同じ出願人が保有する米国特許出願第6,198,574B1号に記載されている。引用される米国特許の内容は、本明細書において参照により引用される。また、偏波面保存再帰性反射体によってキューブコーナー型再帰性反射体等の干渉計システムの有効クリアアパーチャが小さくなるということはない。
第1の実施形態の利点は、一つの再帰性反射体のみが測定対象物の2自由度を測定する2つのダブルパス(2回通過)干渉計に使用されることである。この特性は、更に強固でコンパクトな低コストの集積光学アセンブリに寄与する。
第1の実施形態の別の利点は、2つのダブルパス干渉計のビームに対応する再帰性反射体150の光路が同じであることである。この特性により、第1の実施形態の2つの干渉計の光路の差が小さくなるが、この構成を使用しない場合には、そのような差は、2つの別個の再帰性反射体を有する2つの従来のHSPMIを備える該当する干渉計システムにおいて生じることになる。光路の差は、ガラスの非均質性及び干渉計の温度勾配の結果として生じる。2つの別個の再帰性反射体を有する2つの平面ミラー干渉計、例えば従来のHSPMIを備える干渉計システムの場合、2つの別個の再帰性反射体を使用すると通常、非周期誤差が生じる。再帰性反射体の製造誤差が原因で生じる、2つのダブルパス干渉計の第2通過測定ビームの間の相対的なずれは、干渉計位相測定の変化を直線変位の変化に変換する際に、異なるコサインまたはコセカント補正係数の形で周期誤差を生じさせる。
2つのダブルパス干渉計のビームに対応する再帰性反射体150における光路が同じである結果として得られる第1の実施形態の別の利点は、平面ミラー測定対象物の姿勢の変化に起因するビームずれの存在下において波面誤差から生じる非周期誤差の該当部分が両方の電気干渉信号に共通であり、2つの直線変位の変化から角度変位の変化を計算する際に相殺されることである。波面誤差は、例えば光学素子の複屈折、及びビームが反射される、または透過する光学面の形状の結果として生じる。
第1の実施形態の別の利点は、再帰性反射体150の配置が2つのダブルパス干渉計の測定軸間の間隔に影響しないことである。従ってこの間隔は、集積光学アセンブリの組立て中の再帰性反射体の配置ではなく、単一光学素子の製造によって決まる。
第1の実施形態の別の利点は、ビームスプリッタインターフェイス152及び反射プリズム154の偏光インターフェイスが構成する菱面体の配置が2つのダブルパス干渉計の測定軸の間隔に影響しないことである。従ってこの間隔は、集積光学アセンブリの組立て中の菱面体の配置ではなく、単一光学素子、すなわち菱面体の製造によって決まる。
第1の実施形態の別の利点は、ビームスプリッタインターフェイス152及び反射プリズム154の偏光インターフェイスが構成する菱面体の配置が2つのダブルパス干渉計の電気干渉信号の振幅に影響しないことである。
第1の実施形態の別の利点は、測定対象物ミラーでの測定ビームが所定の最大間隔2b1を有する場合、ビームが再帰性反射体のセクタ境界を通過しないキューブコーナー型再帰性反射体を使用する従来のHSPMIのような2つの平面ミラー干渉計の場合に可能なクリアアパーチャよりも大きなクリアアパーチャを適応することができることである。
第1の実施形態の別の利点は、2つのダブルパス干渉計の変位の差から得られる角度変位は温度勾配に対して感度が低いことである。
第1の実施形態では、測定ビーム122は「第1」ビームまたは「主」測定ビームと考えることができ、このビームは平面ミラー測定対象物に到達するための第1通路を形成し、続いて、偏光ビームスプリッタインターフェイス130、並びに、再帰性反射体150、ビーム分離インターフェイス152及びミラー154を備える「戻しビームアセンブリ」によって複数の「サブビーム」に分離される。第1の実施形態では、これらのサブビームは測定ビーム124及び126に対応し、更に、これらのサブビームが測定ビーム122に対応する経路とは異なる経路に沿って平面ミラー測定対象物への第2通路を形成することから「副」測定ビームと考えることができる。従って第1の実施形態では、各サブビームは出力ビームの内の一つの成分に対応し、この成分は測定ビーム122(測定ビーム122の一部であるとき)が定義する共通経路に沿って測定対象物に対して第1の接触を行ない、共通経路とは異なる別の経路に沿って測定対象物に対して第2の接触を行なう。また、偏光ビームスプリッタインターフェイス130によって基準平面ミラー194に向けて反射される入力ビーム12の基準部分は「主」基準ビームと考えることができ、この主基準ビームは基準平面ミラーへの第1通路を形成し、続いて、(測定ビームが平面ミラー測定対象物への第1通路を形成した後に)測定ビーム122と再合成されて「中間」ビームを形成し、この中間ビームは続いて戻しビームアセンブリによってビーム144及び146に対応する「複数の」ビームに分離される。次に偏光ビームスプリッタインターフェイス130は、複数のビームを一連の副測定ビーム(測定ビーム124及び126に対応する)及び一連の副基準ビーム(平面ミラー基準物体194への第2通路を形成する基準ビームに対応する)に分離する。同様な用語を次に示す実施形態の各々に適用する。
干渉計14の第2の実施形態を図3aの斜視図に示すが、この第2の実施形態は、その全体を符号214として示す集積光学アセンブリに設けられた3つの平面ミラー干渉計を備える。干渉計214を干渉計14の動作として記載することとし、ミラー92の一方向の直線変位の変化及び2つの直交平面における角度配向の変化を測定し、モニターするように構成する。測定ビーム222,224,226及び228の経路は図1の符号20で示す経路に対応する。3つの平面ミラー干渉計は平面ミラー測定対象物92への一つの通路を形成する共通測定ビーム経路を有する。共通測定ビーム経路は測定ビーム222の経路に対応する。
第2の実施形態の多くの素子は第1の実施形態の素子と同じ機能を実行する。同じ機能を実行する第1及び第2の実施形態の素子は100だけ違う符号で示される。
ビーム12は、偏光ビームスプリッタインターフェイス230に入射し、基準ビーム成分及び測定ビーム成分を含むビーム240としてビームスプリッタ230を出て行く。入力ビーム12の2つの成分の偏光面は、ビームスプリッタインターフェイス230でのビーム12の入射面に対してそれぞれ平行であり、直交する。ビーム240の3つの部分をそれぞれ3つの平面ミラー干渉計のビームとして使用し、この場合これらの3つの部分は、平面ミラー測定対象物92への1つの通路を形成する共通測定ビーム経路を有する測定ビーム成分を有する。ビーム240に関する残りの記載は、第1の実施形態のビーム140に関して記載した該当する部分と同じである。
ビーム240の3つの部分の内の第1部分は、順次、プリズム254、再帰性反射体250及びビームスプリッタインターフェイス252をビーム244として透過する。3つの部分の内の第2部分は、ビームスプリッタインターフェイス252が反射するビーム240の第2部分の第1部分に対応し、プリズム254で反射された後にビームスプリッタインターフェイス1252をビーム246として透過する。3つの部分の内の第3部分は、ビームスプリッタインターフェイス252が反射するビーム240の第2部分の第2部分に対応し、プリズム256で反射された後にビームスプリッタインターフェイス1252によってビーム248として反射される。
ビーム244は、ビームスプリッタインターフェイス230に入射し、基準ビーム成分及び測定ビーム成分を含むビーム260としてビームスプリッタインターフェイス230を出て行く。出力ビーム260についての残りの記載は、第1の実施形態の出力ビーム160に関して記載した該当する部分と同じである。ビーム246は、ビームスプリッタインターフェイス230に入射し、基準ビーム成分及び測定ビーム成分を含むビーム262としてビームスプリッタインターフェイス230を出て行く。出力ビーム262についての残りの記載は、第1の実施形態の出力ビーム162に関して記載した該当する部分と同じである。ビーム248は、ビームスプリッタインターフェイス230に入射し、基準ビーム成分及び測定ビーム成分を含むビーム264としてビームスプリッタインターフェイス230を出て行く。ビーム248の測定ビーム成分及び基準ビーム成分が光学素子を通過して伝搬してビーム264を形成する様子についての記載は、ビーム144が伝搬して第1の実施形態のビーム160を形成する様子を記載した該当する部分と同じである。
経路20に沿って伝搬する測定ビーム224,226及び228はそれぞれ、出力ビーム260,262及び264に関連する。測定ビーム222及び224は、測定軸x2に関連し、測定ビーム222及び226は、測定軸x20に関連し、測定ビーム222及び228は、測定軸x200に関連する(図3b参照)。x20とx2の空間間隔はb2であり、x200と、x20及びx2のなす平面との空間間隔はb20である。
測定ビーム222,224,226及び228の相対位置を図3bに示す。図3bには、測定軸x2,x20及びx200の相対位置、並びに測定軸間隔b2及びb20も示す。
3つの測定直線変位、及びb2及びb20の測定特性を使用して電子プロセッサ兼コンピュータ90によってミラー92の3自由度の変化を計算する。
コンパクトで強固な光学アセンブリ、低コスト、クリアアパーチャ、再帰性反射体250の配置、間隔b2及びb20の設定、及び小さな非周期誤差の影響などに関する第2の実施形態の特徴及び利点は、本発明の第1の実施形態に関して記載した該当する特徴及び利点と同じである。
第2の実施形態の変形例を図10に示す。第2の実施形態の変形例は4軸平面ミラー干渉計であり、この干渉計は、インターフェイス230を備える同じサイズの偏光ビームスプリッタの場合、図3aに示す第2の実施形態の測定ビームクリアアパーチャよりも大きな測定ビームクリアアパーチャを有する。クリアアパーチャは、本明細書ではキューブコーナー再帰性反射体1250のセクタ境界のような光学面の境界により定義される。
第2の実施形態の変形例は通常、大きな測定ビームクリアアパーチャの結果として、波面誤差及びビームずれによって生じる小さな非周期的非線形誤差を示す。
別の構成として、波面誤差及びビームずれにより生じる非周期的非線形誤差が所定の大きさを有する場合に、第2の実施形態の変形例における干渉計のサイズを第2の実施形態の該当する干渉計のサイズよりも小さくすることができる。
第2の実施形態の変形例の最終使用用途において見られるアッベオフセット誤差を第2の実施形態の同じ最終使用用途において見られる該当するアッベオフセット誤差よりも小さくすることができる。
第2の実施形態の変形例の光学角度解像度を一平面内において、第2の実施形態の同じ最終使用用途における同じ平面内での光学角度解像度よりも高くすることができる。
同じ符号が付された第2の実施形態の変形例における素子及び第2の実施形態における素子は同様な機能を実行する。図10を参照すると、インターフェイス1256の2つのセクションは、コーティングが施されて、ビーム2244及び2246として反射されるビームの反射インターフェイスとして機能する。インターフェイス1256の中央セクションは、ビーム240を透過させるためにコーティングが施されず、この場合透過ビームは、続いて位相差板1232及びキューブコーナー再帰性反射体1250をビーム1242として透過する。ビーム1242は、ビームスプリッタインターフェイス2252に入射し、ビーム1242の第1部分は、透過し、ビーム1242の第2部分は、反射される。透過第1部分は、ビームスプリッタインターフェイス3252に入射し、透過第1部分の第1部分は、ビーム1244として透過し、透過第1部分の第2部分は、インターフェイス1256の反射セクションにより反射された後に反射されてビーム2244を形成する。ビームインターフェイス2252により反射された反射第2部分の一部分は、反射インターフェイス1254により反射された後にビームスプリッタインターフェイス3252を透過してビーム1246を形成し、ビームインターフェイス2252により反射された反射第2部分の別の部分は、インターフェイス1254、及びインターフェイス1256の反射セクションにより反射された後にビームスプリッタインターフェイス3252よって反射されてビーム2246を形成する。
ビーム1244は、ビームスプリッタインターフェイス230に入射し、基準ビーム成分及び測定ビーム成分を含む出力ビーム264としてビームスプリッタインターフェイス230を出て行く。出力ビーム1264についての残りの記載は、第2の実施形態の出力ビーム260に関して記載した該当する部分と同じである。ビーム1246は、ビームスプリッタインターフェイス230に入射し、基準ビーム成分及び測定ビーム成分を含む出力ビーム1266としてビームスプリッタインターフェイス230を出て行く。出力ビーム1266についての残りの記載は、第2の実施形態の出力ビーム260に関して記載した該当する部分と同じである。ビーム2244は、ビームスプリッタインターフェイス230に入射し、基準ビーム成分及び測定ビーム成分を含むビーム2264としてビームスプリッタインターフェイス230を出て行く。ビーム2244の測定ビーム成分及び基準ビーム成分が光学素子を通過して伝搬してビーム2264を形成する様子についての記載は、ビーム244が伝搬して第2の実施形態のビーム260を形成する様子を記載した該当する部分と同じである。ビーム2246は、ビームスプリッタインターフェイス230に入射し、基準ビーム成分及び測定ビーム成分を含む出力ビーム2266としてビームスプリッタインターフェイス230を出て行く。ビーム2246の測定ビーム成分及び基準ビーム成分が光学素子を通過して伝搬してビーム2266を形成する様子についての記載は、ビーム246が伝搬して第2の実施形態のビーム262を形成する様子を記載した該当する部分と同じである。
測定ビーム222は、ビーム222の個々の部分が4つの測定軸の各々に対応する測定対象物92に到達するための第1通過測定ビームとして機能するので、主測定ビームとして分類される。経路20に沿って伝搬する測定ビーム1224,2224,1226及び2266はそれぞれ出力ビーム1264,2264,1266及び2266に関連する。
図10に示すように、出力ビーム1242及びキューブコーナー再帰性反射体1250からの該当する入力ビームと、出力ビーム1242及び再帰性反射体1250に向かう該当する入力ビームによって定義される平面はそれぞれ、ビーム240の測定ビーム成分及び基準ビーム成分の偏光状態により定義される平面に対して約45度の角度を有する。その結果、キューブコーナー再帰性反射体1250への入力ビームの基準ビーム成分及び測定ビーム成分の偏光状態により定義される平面は、キューブコーナー再帰性反射体1250の速軸及び遅軸とされる軸には一致しない。キューブコーナー再帰性反射体1250への入力ビームの基準ビーム成分及び測定ビーム成分の偏光状態により定義される平面と、キューブコーナー再帰性反射体1250の速軸及び遅軸とされる軸との相対回転の影響を補償するために、位相差板1232をキューブコーナー再帰性反射体1250への入力ビームの経路に配置し、この場合位相差板1232の速軸は、キューブコーナー再帰性反射体1250の速軸に平行であるか、または直交する。
位相差板1232により生じる位相シフト差は、キューブコーナー再帰性反射体1250により生じる位相遅延を補償して周期誤差の発生が減り、かつ信号80の電気干渉信号の振幅損失が小さくなるように、選択される。
別の構成として、位相差板1232をキューブコーナー再帰性反射体1250からの出力ビーム1242の経路に配置することができる。別の構成として、位相遅延特性の補償は、キューブコーナー再帰性反射体1250の入力ビーム及び出力ビームの両方の経路に位相差板を配置することにより行なうことができる。
位相差板1232の特性は、キューブコーナー再帰性反射体1250の位相遅延特性に従って決定される。市販の干渉計に普通に見られる、銀でコーティングしたキューブコーナー再帰性反射体の場合、銀コーティングキューブコーナー再帰性反射体の速軸及び遅軸を、銀コーティングキューブコーナー再帰性反射体の入力ビーム及び出力ビームの方向により定義される平面に対して約3度回転させる。また、約180度の位相シフトを生じさせて(位相シフトの正弦値の大きさは約0.1である)、キューブコーナー再帰性反射体がほぼ1/2位相差板として動作するようにする。位相差板1232により生じる位相シフトは、キューブコーナー再帰性反射体1250の位相シフト特性を補償するように選択され、補償しなければ生じると考えられる周期誤差を減らす。
Henry A. Hillによる「ヘテロダイン干渉計の再帰性反射体コーティング」と題する本出願人が共通に保有する、前に引用した2002年4月11日出願の米国仮特許出願第60/371,868号に記載されているように、他のコーティングをキューブコーナー再帰性反射体1250に施すことができ、上記仮出願の内容が本明細書において参照により引用される。引用した仮出願に記載されたコーティングの場合、コーティングされたキューブコーナー再帰性反射体1250は、入力ビーム及び出力ビームの偏光状態の関係に関して高精度の1/2位相差板特性を有する。位相差板特性はこの場合、位相差板特性1232として使用する標準1/2位相差板により補償される。
第2の実施形態の変形例の利点は、第2の実施形態の変形例における測定ビームの有効クリアアパーチャが、第2の実施形態における測定ビームの有効クリアアパーチャに対して大きくなっていることである。この大きくなっていることは、主測定ビーム222が、測定ビーム2224と2226との間の途中の中央位置にシフトする結果の一部である。シフトする結果、ビーム2224及び2226の有効クリアアパーチャを等しくすることができ、これによってこの有効クリアアパーチャが測定ビーム226によって決まる第2の実施形態におけるビームの有効クリアアパーチャに対して大きくなっていることが示される。
第2の実施形態の変形例において有効クリアアパーチャが大きくなるのは、キューブコーナー再帰性反射体1250の速軸及び遅軸が、ビーム240の基準/測定ビーム成分の偏光面に対して約45度回転する結果の一部でもある。速軸及び遅軸がそのように回転する場合、キューブコーナー再帰性反射体1250のセクタ境界の対応する回転が、測定ビームの2つの直交する独立自由度の約15度以内であり、これに対して、従来の高安定性平面ミラー干渉計では30度及び60度である。従って、ビーム240の測定ビーム成分のビームずれが及ぶほぼ矩形の空間に対してキューブコーナー再帰性反射体1250のセクタ境界が約15度の角度で相対的に整合し、それに伴って有効クリアアパーチャが大きくなる。
主測定ビーム222を測定ビーム2224と2226との間の途中の中央位置にシフトさせることは、キューブコーナー再帰性反射体1250のクリアアパーチャを小さくすることなく、出力ビーム1242をキューブコーナー再帰性反射体1250への入力ビームに対して垂直方向及び水平方向の両方に変位させることにより行なわれる。
測定ビームのクリアアパーチャが大きくなると通常、第2の実施形態の変形例に別の利点を生じさせる基礎が形成される。所与のビームずれの大きさ及び光学面の表面形状仕様に対して、クリアアパーチャが大きくなると通常、該当する非周期的非線形誤差が小さくなる。
また、ビーム222から離れて基準物体294に向かう方向に位置する表面に対する第2の実施形態の変形例におけるアッベオフセットは、主ビーム222をインターフェイス230を有する偏光ビームスプリッタの該当するエッジに一層近接するように変位させることにより、小さくすることができる。該当するエッジに一層近接する変位は、第2の実施形態の変形における有効クリアアパーチャを小さくすることなく生じさせることができる。何故なら、主ビーム222が遭遇するビームずれは測定ビーム1224,2224,1226及び2226が遭遇するビームずれの2分の1であるからであり、この場合ビームずれは測定対象物92の姿勢の変化の結果として生じる。第2の実施形態の変形例におけるこの特徴は別の利点となる。
第2の実施形態の変形例の別の利点は、ビーム1226及び2226により定義される平面内の角度変位解像度が、主ビーム222をインターフェイス230を有する偏光ビームスプリッタの該当するエッジに一層近接するように変位させることにより高くなることである。
第2の実施形態の変形例の残りについての記載は、第2の実施形態について記載した該当する部分と同じである。
この技術分野の当業者であれば、本発明の技術範囲及び技術思想から逸脱することなく、反射面1254の位置をシフトさせることにより、測定ビーム1226の位置を、例えばビーム1224の方向に図10に示すビーム1226及び1224の位置の間の途中の位置にまで、かつ入力ビーム12に並ぶ形でシフトさせることができることは明らかであろう。
干渉計14の第3の実施形態を図4aの斜視図に示すが、この実施形態は、符号314によりその全体を示された集積光学アセンブリに設けられた3つの平面ミラー干渉計を備える。干渉計314を干渉計14の動作として記載することとし、ミラー92の一方向における直線変位の変化及び2つの直交平面における角度配向の変化を測定し、モニターするように構成する。測定ビーム322,324,326,1322及び1324の経路は図1の符号20で示す経路に対応する。3つの平面ミラー干渉計の内の2つは平面ミラー測定対象物92への一つの通路のための共通測定ビーム経路を有する。共通測定ビーム経路は測定ビーム322の経路に対応する。
第3の実施形態の多くの素子は第2の実施形態の素子と同じ機能を実行する。同じ機能を実行する第2及び第3の実施形態の素子は100だけ違う符号で示される。
ビーム12は、ビームスプリッタインターフェイス358に入射し、ビーム12の第1部分はプリズム359により反射された後、入力ビーム312として反射される。ビーム12の第2部分は、ビームスプリッタインターフェイス358を入力ビーム1312として透過する。入力ビーム312は、偏光ビームスプリッタインターフェイス330に入射し、干渉計314を出力ビーム360及び362として出て行く。出力ビーム360及び362に関連する測定ビームは、322,324及び326である。入力ビーム1312は、ビームスプリッタインターフェイス330に入射し、干渉計314を出力ビーム1364として出て行く。出力ビーム1364に関連する測定ビームは、1322及び1324である。
入力ビーム312が干渉計314を通って伝搬して測定ビーム322,324及び326、及び出力ビーム360及び362を形成する様子についての記載は、入力ビーム12が干渉計114を通って伝搬して測定ビーム122,124及び126、及び出力ビーム160及び162を形成する第1の実施形態の該当する記載と同じである。
再帰性反射体1350、並びに、測定ビーム1322及び1324及び出力ビーム1364に関連する偏光ビームスプリッタインターフェイス330を備える干渉計は従来のHSPMIである。従って、入力ビーム1312が干渉計314を通って伝搬して測定ビーム1322及び1324、及び出力ビーム1364を形成する様子についての記載は、ビームがHSPMIを通って伝搬する様子についての該当する記載と同じである。
測定ビーム322及び324は測定軸x3に関連し、測定ビーム322及び326は測定軸x30に関連し、測定ビーム1322及び1324は測定軸x300に関連する(図4b参照)。x30とx3との空間間隔はb3であり、x300とx30との空間間隔はb30である。
測定ビーム322,324,326,1322及び1324の相対位置を図4bに示す。図4bには、測定軸x3,x30及びx300の相対位置、並びに測定軸間隔b3及びb30も示す。
ミラー92の3自由度の変化を電子プロセッサ兼コンピュータ90によって3つの測定直線変位、並びにb3及びb30の測定特性を使用して計算する。
コンパクトで強固な集積光学アセンブリ、低コスト、クリアアパーチャ、再帰性反射体350の配置、間隔b3の設定、及び小さな非周期誤差による影響などに関する第3の実施形態の特徴及び利点は、本発明の第1の実施形態に関して記載した該当する特徴及び利点と同じである。
干渉計14の第4の実施形態を図5aの斜視図に示すが、この実施形態は、符号414によりその全体を示された集積光学アセンブリに設けられた4つの平面ミラー干渉計を備える。干渉計414を干渉計14の動作として記載することとし、ミラー92の一方向における直線変位の変化、2つの直交平面における角度配向の変化、及び平均傾斜の差を測定し、モニターするように構成する。測定ビーム422,424,426,1422及び1426の経路は図1の符号20で示す経路に対応する。4つの平面ミラー干渉計の内の2つは平面ミラー測定対象物92への一つの通路を形成する共通測定ビーム経路を有し、4つの平面ミラー干渉計の内の残りの2つはミラー92への一つの通路を形成する共通測定ビーム経路を有する。共通測定ビーム経路は測定ビーム322及び1322の経路に対応する。
第4の実施形態の多くの素子は第1の実施形態の素子と同じ機能を実行する。同じ機能を実行する第1及び第4の実施形態の素子は300または1300だけ違う符号で示される。
ビーム12は、ビームスプリッタインターフェイス458に入射し、ビーム12の第1部分は、プリズム459により反射された後、入力ビーム412として反射される。ビーム12の第2部分は、ビームスプリッタインターフェイス458を入力ビーム1412として透過する。入力ビーム412は、偏光ビームスプリッタインターフェイス430に入射し、干渉計414を出力ビーム460及び462として出て行く。出力ビーム460及び462に関連する測定ビームは、422,424及び426である。入力ビーム1412は、ビームスプリッタインターフェイス430に入射し、干渉計414を出力ビーム1460及び1462として出て行く。出力ビーム1460及び1462に関連する測定ビームは1422,1424及び1426である。
入力ビーム412が干渉計414を通って伝搬して測定ビーム422,424及び426、並びに出力ビーム460及び462を形成する様子についての記載は、入力ビーム12が干渉計114を通って伝搬して第1の実施形態の測定ビーム122,124及び126、並びに出力ビーム160及び162を形成する様子についての該当する記載と同じである。入力ビーム1412が干渉計414を通って伝搬して測定ビーム1422,1424及び1426、並びに出力ビーム1460及び1462を形成する様子についての記載は、入力ビーム12が干渉計114を通って伝搬して測定ビーム122,124及び126、並びに出力ビーム160及び162を形成する様子についての第1の実施形態の該当する記載と同じである。
測定ビーム422及び424は測定軸x4に関連し、測定ビーム422及び426は測定軸x40に関連し、測定ビーム1422及び1424は測定軸x400に関連し、測定ビーム1422及び1426は測定軸x4000に関連する(図5b参照)。x40とx4との空間間隔はb4であり、x4000とx400との空間間隔はb40であり、x4000とx40との空間間隔はb400である。
測定ビーム422,424,426,1422,1424及び1426の相対位置を図5bに示す。図5bには、測定軸x4,x40,x400及びx4000の相対位置、並びに測定軸間隔b4,b40及びb400も示す。
ミラー92の3自由度の変化及び平均傾斜の差を電子プロセッサ兼コンピュータ90によって4つの測定直線変位の測定変化、並びにb4及びb40の測定特性を使用して計算する。ここでは傾斜の平均傾斜の変化を、表面の2つの直線変位の変化の差から求まる表面の角度配向の変化として使用する。平均傾斜の変化は直線変位の2つの測定変化が含まれる平面に在る。第4の実施形態では、平均傾斜に関する2つの独立した測定は、atan[(x40−x4)/b4]及びatan[(x4000−x400)/b40]として得られる。差、atan[(x40−x4)/b4]−atan[(x4000−x400)/b40]により、距離b400に渡る平面からのミラー92表面の変位が測定される。平均傾斜の測定差は、例えばリソグラフィツールのステージに搭載された平面ミラー対象物の表面をマッピングする手順に使用されるが、このマッピング方法は、例えばHenry Allen Hill(Z−402)による「ステージミラーマッピング方法及び装置」と題する本出願人がこの出願と共通に保有する2002年4月9日出願の米国特許出願第60/371,172号に記載されており、上記出願の内容が本明細書において参照により引用される。
別の実施形態は、上述の干渉計システムのいずれかを互いに組み合わせて追加の測定軸を更に設ける。例えば、図10に示すものと同様な4軸及び3軸干渉計サブアセンブリを集積光学アセンブリ中に組み込んで図11に示すように7つの測定軸を設ける。図11の実施形態は、偏光ビームスプリッタインターフェイス230、測定1/4波長板232、基準1/4波長板234、基準平面ミラー294、位相差板1232、再帰性反射体1250、非偏光ビームスプリッタインターフェイス2252及び3252、並びにミラー1254及び1256を含む図10の実施形態と共通する多くの素子を含む。
図11を参照すると、(図1において照射源10が生成するような)入力ビーム1101は、非偏光ビーム分離インターフェイス1103を含む入力ビーム分離アセンブリ1102に入射する。入力ビーム分離アセンブリは入力ビームを2つの副入力ビーム1104及び1105に分離する。副入力ビーム1104は図10の実施形態における入力ビーム12に対応し、干渉計を通って伝搬して出力ビーム1264,1266,2264及び2266を図10の実施形態における場合と同様に生成する。副入力ビーム1105は、副入力ビーム1104に平行だが、その下方を伝搬する。副入力ビーム1105及びその成分は、副入力ビーム1104の伝搬と同様に干渉計内を伝搬して出力ビーム1266’,2264’及び2266’を生成する。このような出力ビームを生成するために、本実施形態は、ミラー1254’、非偏光ビーム分離インターフェイス2252’、及び第2再帰性反射体1250’を更に含む。本実施形態では、出力ビーム1264,1266,2264及び2266の測定ビーム成分は、出力ビーム1266’,2264’及び2266’に対応する測定ビーム成分が接触する平面ミラー測定対象物とは異なる平面ミラー測定対象物に接触する。また、本実施形態では、副入力ビーム1105から生成される第4出力ビームは必要ではなく、従ってビーム分離インターフェイス2252’の右側部分は単なるミラーである。
更に図11を参照すると、本実施形態は、バッキングプレート233を更に示しており、異なる素子を一緒に単一の干渉計アセンブリに組み込む際に、このバッキングプレートを使用して、インターフェイス230に対応する偏光ビームスプリッタ光学系に1/4波長板232を固定する。本実施形態は、偏光漏れフィルタ(polarization leakage filter)1107を更に示しており、この偏光漏れフィルタ1107は、一つが複屈折性を示すウェッジペアを備える。偏光漏れフィルタは副入力ビームの直交偏光成分間に伝搬方向の小さな差を生じさせるが、この差は最終的には出力ビームが偏光漏れフィルタを通過するときに補償される。偏光漏れフィルタは、偏光混合により生じる周期誤差及び干渉計光学系の不完全性により生じる他の影響を小さくする。偏光漏れフィルタの実施例については、Peter J. de Grootらによる「直交偏光入力ビーム成分の伝搬の角度差を利用する干渉計システム及び方法」と題する本出願人がこの出願と共通に保有する2002年6月17日出願の米国特許出願第10/174,149号に詳細に記載されており、上記出願の内容が本明細書において参照により引用される。
上述の実施形態では、各出力ビームは特定の測定軸に関する測定対象物までの距離の変化についての情報を含む。上述のように、測定対象物の角度配向の変化についての情報を2つの異なる測定軸に対応する距離測定から算出することができる。以下に示す別の実施形態において、多軸干渉計は、測定対象物の光学的方位の変化を直接測定する一つ以上の出力ビームを生成することができる。このような実施形態では、「角度測定」出力ビームは、互いに離間するポイントで測定対象物に接触する2つの成分を含む。結果として得られる干渉信号は光学的差異に対応し、この光学的差異は特定の回転軸に関する測定対象物の角度配向の変化を示す。これらの実施形態は、一つ以上の異なる回転軸に関する角度配向の変化を測定する干渉計を含む。また、このような干渉計は、一つ以上の測定軸に沿った測定対象物までの距離の変化を測定する出力ビームを更に含むことができる。
次に図12a〜eを参照すると多軸干渉計の実施形態が示されており、この干渉計は高安定性平面ミラー干渉計(HSPMI)及び角度変位干渉計を含む。HSPMI及び角度変位干渉計は幾つかの光学要素を共有する。HSPMIを図12bに模式図として示し、角度変位干渉計を図12cに模式図として示す。HSPMIは第1出力ビーム1272を生成し、このビーム1272は、第1測定軸に沿った平面ミラー測定対象物480までの距離の変化についての情報を含み、角度変位干渉計は「角度測定」出力ビーム1273を生成し、このビーム1273は、第1回転軸に対する平面ミラー測定対象物の角度配向の変化についての情報を含む。
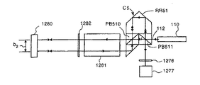
図12aを参照すると、照射源10が、入力ビーム12を生成し(図1を参照して説明したように)、ビーム12を方向付けて偏光ビームスプリッタ1281に到達させ、このスプリッタ1281は、ビーム12をビーム1291及び1292に分離する。ビーム1291は、「主」測定ビームと考えることができ、ビーム1292は、主基準ビームと考えることができる。主測定ビームは、偏光ビームスプリッタを透過し、平面ミラー測定対象物1280により反射され、次に1/4位相差板1282を2回通過した後に偏光ビームスプリッタに戻り、このプロセスによってビームの直線偏光が90度回転する。2回通過により、偏光ビームスプリッタは、主測定ビームを戻しビームアセンブリ1285に向けて反射することとなる。主基準ビームは、偏光ビームスプリッタにより反射され、平面ミラー基準物体1283により反射され、次に1/4位相差板1284を2回通過した後に偏光ビームスプリッタに戻り、このプロセスによってビームの直線偏光が90度回転する。2回通過により、偏光ビームスプリッタは主基準ビームを透過させることとなる。また、偏光ビームスプリッタは、主基準ビームを主測定ビームと再合成して中間ビーム1290を形成する。
戻しビームアセンブリ1285は、非偏光ビームスプリッタ1286を含み、このビームスプリッタ1286は、中間ビームを、ビーム1293及び1294を含む複数のビームに分離し、このビーム1293は、ビームスプリッタ1286を透過し、再帰性反射体1287によって方向付けられて偏光ビームスプリッタ1281に戻り、ビームスプリッタ1286により反射されるビーム1294は、ペンタプリズム1288によって偏光ビームスプリッタ1281に向かうように方向が変えられ、偏光ビームスプリッタに到達する前に1/2位相差板1289を透過する。1/2位相差板は、ビーム1294の測定成分及び基準成分の直線偏光を90度回転させる姿勢となるように配置される。
ビーム1293は、距離測定出力ビーム1272の前駆体となる入射ビームであり、偏光ビームスプリッタは、ビーム1293の第1部分を平面ミラー測定対象物に向かって反射して副測定ビーム1295を形成し、ビーム1293の第2部分を平面ミラー基準物体に向かって透過させて副基準ビーム1296を形成する。ビーム1295及び1296はそれぞれの平面ミラーによって反射され、これらのビームのそれぞれの1/4位相差板を2回通過し、次に偏光ビームスプリッタにより再合成されて距離測定出力ビーム1272を形成する。ここで注目すべきは、副測定ビーム1295が、主測定ビーム1291から生成され、副基準ビーム1296が主基準ビーム1292から生成される。従って、距離測定出力ビーム1272の測定ビーム成分は、測定対象物に2回接触し、1回目は主測定ビームによって定義される共通経路に沿い、2回目は副測定ビーム1295によって定義される異なる経路に沿っている。次に距離測定出力ビームの測定成分及び基準成分の直交偏光を偏光子1274が混合し、結果として得られるビームの強度を検出器1275が測定する。図12bはHSPMIを構成し、距離測定出力ビームを生成する干渉計の各部分を示している。
ビーム1294は、角度測定出力ビーム1273の前駆体となる入射ビームであり、偏光ビームスプリッタはビーム1294の第1部分を平面ミラー測定対象物に向かって反射して別の副測定ビーム1297を形成し、ビーム1294の第2部分を平面ミラー基準物体に向かって透過させて別の副基準ビーム1298を形成する。ビーム1297及び1298は、それぞれの平面ミラーによって反射され、これらのビームのそれぞれの1/4位相差板を2回通過し、次に偏光ビームスプリッタにより再合成されて角度測定出力ビーム1273を形成する。ここで注目すべきは、1/2位相差板1289によって偏光が回転するので、副測定ビーム1297が主基準ビーム1292から生成され、副基準ビーム1298が主測定ビーム1291から生成される。従って、角度測定出力ビーム1273の第1成分は、共通経路に沿って測定対象物に主測定ビームの一部として1回接触し、次に基準物体に副基準ビーム1298の一部として1回接触し、角度測定出力ビーム1273の第2成分は、基準物体に主基準ビームの一部として接触し、次に測定対象物に共通経路とは異なる経路に沿って副測定ビーム1297の一部として1回接触する。次に角度測定出力ビームの第1成分及び第2成分の直交偏光を偏光子1276が混合し、結果として得られるビームの強度を検出器1277が測定する。図12cは角度変位干渉計を構成し、角度測定出力ビームを生成する干渉計の各部分を示している。
角度変位干渉計は、図12a及び12cの平面内における平面ミラー測定対象物の角度配向の変化θ2に対応する、角度変位干渉計の出力ビーム1273の成分の間の相対位相シフトφ2を導入する。相対位相シフトφ2及び角度変化θ2は次式の関係を有する。
φ2=k222θ2(1)
上式において、b2は平面ミラーでの測定対象物上の基準ビームと測定ビームとの間隔(図12a及び12c参照)、入力ビーム112の波長λ2に対応する波数k2=2π/λ2、n2は基準ビーム経路及び測定ビーム経路におけるガスの屈折率である。
平面ミラー測定対象物1280上のビームスポットの配置を図12dに示す。これらのスポットは直線アレイを形成し、この場合、直線変位干渉計の測定軸は角度変位干渉計の基準ビームと測定ビームに平行な線から外れ、かつこれらのビームの間の中央に位置する。図12aの実施形態において非制限的な意味での例として模式的に示された干渉計アセンブリの場合、変位は平面ミラーでの直線変位干渉計の測定ビームの間隔の2分の1に等しいとされる。
ミラーとして動作する非偏光ビームスプリッタ1286と、ペンタプリズム1288との組合せ(図12cにおいてRとして示される)は、単一反射面の画像反転特性を示す。その結果、図12aに示す角度変位干渉計は、主測定ビーム及び副測定ビームが測定対象物に法線方向でない方向から接触する場合でも角度測定出力ビームの成分が互いに平行に伝搬するように構成される。また角度変位干渉計は、角度変位干渉計内の角度測定出力ビームの成分の間の検出器1294または光ファイバピックアップにおける相対ビームずれが小さくなるように構成される。相対ビームずれは2α22/n’2に等しく、ここでα2は図12aの平面内における平面ミラー測定対象物の角度配向の変化であり、l2は単一平面ミラーから偏光ビームスプリッタ1281に至る基準ビーム及び測定ビームの物理長の差であり、この場合角度変位干渉計でそれらが合成され、n’2は、干渉計におけるガラスの屈折率である。長さl2は平面ミラー測定対象物の直線変位には依存しない。また図12aに示す角度変位干渉計は、ガラス中の経路長が、異なる出力ビーム成分に関する経路長と同じになり、その場合に角度変位干渉計が角度変位干渉計の温度変化に鈍感になるように構成することができる。角度変位干渉計は更に、ガス中の経路長が、異なる出力ビーム成分に対して同じになり、その場合角度変位干渉計が該当するビーム経路におけるガス密度の環境変化に鈍感になるように構成することができる。
図12aの実施形態の利点は、角度変位の測定に使用するビームが平面ミラー測定対象物への単一通路(シングルパス)を形成することである。角度変位干渉計におけるシングルパス構成では、周期的非線形性の発生源の数が、マルチパス干渉計構成において考えられる発生源の数に比べて少ない。しかしながら、本発明において更に示す実施形態では角度変位干渉計は、角度変位干渉計に使用するビームが測定対象物に達するための複数通路(マルチパス)を形成するように構成することもできる。
図12aの実施形態の別の利点は、直線変位出力ビーム及び角度変位出力ビームは平面ミラー測定対象物への通路を形成するための共通測定ビーム経路を有することである。その経路は、主測定ビーム1291として偏光ビームスプリッタを透過する入力ビーム112の成分の経路に対応する。
図12aの実施形態の別の利点は、角度変位干渉計に使用する平面ミラー測定対象物上のビームの位置が、測定対象物の角度配向が変化してもずれないことである。これは、角度測定出力ビームの各成分がただ平面ミラー測定対象物に接触するだけであるということの結果として得られる。
ミラーとして動作する非偏光ビームスプリッタと図12cにRとして示すペンタプリズムとの組合せは、上述したように単一反射面の画像反転特性を示す。また、非偏光ビームスプリッタ及び図12cにRとして示すペンタプリズムによる反射を組み合わせることにより、図12eに示す多面反射板の画像反転特性を実現する。図12eに示す反射板は別の構成として反射板Rに替えて使用することができ、この場合図12eに示す反射板の一ファセットは非偏光ビームスプリッタの機能を果たす。
追加の実施形態は、戻しビームアセンブリにおける反射面の他の組合せを含むことにより上述の単一反射面の画像反転特性を実現する。一般的に、一連の反射面は、反射面の各々での入射ビームと反射ビームとがなす角度の合計値がゼロまたは360度の整数倍になるように中間ビームの角度測定部分を反射し、この場合、各角度は入射ビームから反射ビームの方向に測定し、反時計回りの方向に測定したときに正の値を、時計回りの方向に測定したときに負の値を示す。多くの実施形態において、一の共通平面に複数の法線を有する複数の表面による反射の数は奇数になる。
図13a,13b及び13cは本発明の干渉計の別の実施形態を模式的に示している。本実施形態は、直線変位干渉計(例えばHSPMI)及び角度変位干渉計を含む点で図12aの実施形態と同様である。しかしながら本実施形態では、直線変位干渉計の測定ビームの平面及び角度変位を測定する平面が直交する。図13a及び13bの平面は平行であり、図13cに示すように一方が他方に対して距離b3だけずれている。図13cは干渉計アセンブリを側面から見たときの図を模式的に示している。干渉計の素子の多くは図12aの実施形態の素子と同じであり、同じ符号が付されている。
図13a〜13cの実施形態の直線変位干渉計は、HSPMIであり、図12aの実施形態のそれと同じである。HSPMIの基準ビーム及び測定ビームによって定義される平面は、図13aの平面内に在る。
図13a〜13cの実施形態の角度変位干渉計の動作は、図12aの実施形態における中間ビーム1290の生成までの動作と同じである。中間ビーム生成後の操作において、非偏光ビームスプリッタ1386がビームスプリッタ1286に、ペンタプリズム1388がペンタプリズム1288に置き替わる。また、偏光ビームスプリッタ1381が偏光ビームスプリッタ1281に置き替わる。
次に図13a〜13cを参照すると、ビームスプリッタ1386は、中間ビーム1290を受信し、図13aの平面外で中間ビームの一部を反射し、この場合この中間ビームの一部は、ペンタプリズム1388によって偏光ビームスプリッタ1381に向けて図513の平面内で反射され、偏光ビームスプリッタにビーム1394として到達する前に1/2位相差板1389を通過する。図12aの実施形態における場合のように、1/2位相差板は、ビーム1394の成分の直線偏光を90度回転させる。
ビーム1394は、角度測定出力ビーム1373の前駆体となる入射ビームであり、偏光ビームスプリッタは、ビーム1394の第1部分を平面ミラー測定対象物に向かって反射して別の副測定ビーム1397を形成し、ビーム1394の第2部分を平面ミラー基準物体に向かって透過させて別の副基準ビーム1398を形成する。ビーム1397及び1398は、それぞれの平面ミラー1280及び1283によって反射され、これらのビームのそれぞれの1/4位相差板1282及び1284を2回通過し、次に偏光ビームスプリッタにより再合成されて角度測定出力ビーム1373を形成する。1/2位相差板1389によって偏光が回転するので、副測定ビーム1397が主基準ビーム1292から生成され、副基準ビーム1398が主測定ビーム1291から生成される。従って、角度測定出力ビーム1373の第1成分は、共通経路に沿って測定対象物に主測定ビームの一部として1回接触し、次に基準物体に副基準ビーム1398の一部として1回接触し、角度測定出力ビーム1373の第2成分は、基準物体に主基準ビームの一部として接触し、次に測定対象物に共通経路とは異なる経路に沿って副測定ビーム1397の一部として1回接触する。次に角度測定出力ビームの第1成分及び第2成分の直交偏光を偏光子1376が混合し、結果として得られるビームの強度を検出器1377が測定する。
角度変位干渉計は、図13bの平面に直交する平面における平面ミラー測定対象物の角度配向の変化θ3に対応する、角度測定出力ビーム1373の成分の間の相対位相シフトφ3を導入する。相対位相シフトφ3及び角度変化θ3は次式の関係を有する。
φ3=k333θ3(2)
上式において、b3は基準ビームと測定ビームの間隔(図13c参照)、入力ビーム112の波長λ3に対応する波数k3=2π/λ3、n3は基準ビーム経路及び測定ビーム経路におけるガスの屈折率である。
平面ミラー測定対象物上のビームスポットの配置を図13dに示す。図13a〜13cの実施形態は上述した利点と同様な利点を含む。
図14aは本発明の干渉計の別の実施形態を模式的に示している。本実施形態は、本実施形態が更に補償素子C1、及び補償素子C1の前に距離測定出力ビーム1272を受信するように位置する1/2位相差板1489を含む点を除き、図12aの実施形態と同じである。干渉計の素子の多くは図12aの実施形態の素子と同じであり、同じ符号が付されている。
素子C1の機能は、第2の実施形態において生じる、角度変位干渉計の出力ビームの基準ビーム成分及び測定ビーム成分の間の小さい相対ビームずれを更に小さくする、または無くすことである。角度変位干渉計の基準ビーム及び測定ビームのガラス中及びガス中の経路長は等しくなるように維持される。補償素子(群)は、角度測定出力ビームの2つの成分に対応するビームが、これらのビームが測定対象物に接触してから偏光ビームスプリッタにより合成されて角度測定出力ビームを生成するまでの間に等しい経路長を有するように作用する。この結果、測定対象物での角度測定ビームの法線方向から外れた反射によって生じる伝搬距離の変位は角度測定出力ビームの2つの成分に対して等しくなる。
素子C1の3つの実施形態を図14c、14d及び14eに示す。図14c、14d及び14eの平面は図14aの平面に直交する。角度変位干渉計の出力ビームの基準ビーム成分及び測定ビーム成分に対応する経路長の差はl2に等しく、素子C1のガラス屈折率はn’2と同じである。その結果、干渉計アセンブリ内または検出器或いは光ファイバピックアップ(FOP)のいずれかにおける角度変位干渉計の出力ビームの基準ビーム成分と測定ビーム成分との間の相対ずれが無くなる。
図14cは、再帰性反射体RR41と連動する2つの偏光ビームスプリッタPBS6及びPBS7を含む素子C1の実施形態を示している。
図14dは、偏光ビームスプリッタPBS8及び2つの再帰性反射体RR42及びRR43を含む素子C1の実施形態を示している。
図14eは、2つのミラーM1及びM2、及び1/4波長板QW1及びQW2と連動する偏光ビームスプリッタPBS9を含む素子C1の実施形態を示している。
出力ビームが角度変位干渉計から素子C1を通過することにより生じるガラス中の基準ビーム経路長及び測定ビーム経路長のアンバランスは、入力ビームの基準ビーム成分及び測定ビーム成分が素子C1を通過する際に遭遇する光路長の差によるずれである。図14aに示す1/2位相差板はそれぞれのビームの偏光を90度回転させて、入力ビーム及び出力ビームによる素子C1の通過を合成したときに出力ビームの該当する成分のガラス中の経路が等しくなるようにする。
ずれ差が補償素子C1により更に小さくなることに加えて、図14aの実施形態は上述した利点と同様な利点を含む。
更に別の実施形態においては、一つ以上の補償素子を図14aの補償素子とは異なる方法で展開することができる。例えば、補償素子C2及びC3を図14bに示すように展開することができる。更に別の実施形態においては、一つ以上の補償素子を同様な形で図13a〜13cに示す実施形態において展開して角度測定出力ビームの成分の間のずれ差を更に小さくする、または無くすことができる。
本発明の干渉計の別の実施形態を図15a〜15cに示すが、この実施形態では図13a〜13c及び図14aの実施形態の素子を組み合わせて距離測定出力ビーム1272及び2つの角度測定出力ビーム1273及び1373を生成する。2つの角度測定出力ビームによって、互いに直交する2つの回転軸に対する平面ミラー測定対象物の角度配向の変化を測定することができる。3つの出力ビームを生成するために、戻しビームアセンブリ1585は、非偏光ビームスプリッタ1286及び1386の両方と、ペンタプリズム1288及び1388の両方を含む。本実施形態はまた、補償素子C5を含むことにより角度測定出力ビーム1273及び1373の成分の間のずれ差を更に小さくする。
図15aは、距離測定出力ビーム1272、角度測定出力ビーム1273及びこれらの出力ビームを生成するために使用する成分ビームの平面における干渉計の模式図を示している。図15bは、ビーム1394を含む干渉計の側面図を示しており、このビーム1394は分離されて第2角度測定出力ビーム1373を生成するために使用する副ビームを生成する。図15cは、干渉計の別の側面図を示している。
ペンタプリズム1388のサイズに対するペンタプリズム1288のサイズは、ビームずれと、平面ミラー測定対象物の該当する角度変位との比が2つの角度変位干渉計の出力ビーム成分に対して同じになるように設計される。その結果、単一の補償板C5(図15c参照)を直線変位干渉計及び2つの角度変位干渉計に使用することができる。図15cに示す単一の補償板C5は、偏光ビームスプリッタPBS11及びPBS12、及び再帰性反射体RR51を含む。
平面ミラー測定対象物上のビームスポット配置を図15dに示す。補償素子C5によってずれ差が更に小さくなることに加えて、図15a〜15cに示す実施形態は、上述した利点と同様な利点を含む。
図6は、干渉計システムの概略図であり、このシステムにより平面ミラー測定対象物92の直線変位及び角度変位を測定し、モニターする。図6に示すように、干渉計システムは、本明細書に記載する干渉計のいずれかとして構成し、配列することができる干渉計14、及び干渉計14への入力ビーム12の方向を制御する動的ビーム操作素子を備える。
入力ビームの方向を変える目的は、干渉計14の出力ビームから生成される電気干渉信号の非周期誤差の影響を排除する、または十分に低減することにある。非周期誤差による影響の排除、または十分な低減は、干渉計14内の、及び検出器70でのビームずれを無くす、または十分に小さくすることにより達成される。
干渉計システムは更に、ビーム112を生成する照射源10、検出器70、サーボ制御装置94、変換器96及び電子プロセッサ兼コンピュータ90を備える。各干渉計タイプにおいて、干渉計ビームはミラー92に向かって、ミラー92から20で示される光路にほぼ沿って伝搬し、出力ビームは干渉計14から検出器70に向かって60で示される光路に沿って伝搬する。ビーム112についての記載は図1のビーム12についての記載と同じである。
ビーム操作素子98の姿勢を変換器96により制御して経路20に沿って伝搬する測定ビームがゼロ度の入射角でミラー92に入射するようにする。変換器96は、サーボ制御装置94からのサーボ制御信号86によって制御される。サーボ制御信号86は、電子プロセッサ兼コンピュータ90が生成するサーボ信号82から生成される。
動的素子98の制御は2つのモードの内の一つのモードで行われる。一つのモードはフィードバックモードであり、このモードでは、動的素子98の姿勢は、例えばミラー92での測定ビーム入射角のゼロ度からの測定変位に基づく誤差信号に従って制御される。第2のモードはフィードフォワードモードであり、このモードでは、制御信号82はミラー92の姿勢の測定変化に基づく。測定変化はその全体が、または一部が、例えば干渉計14によって測定されるミラー92の姿勢の変化に基づく。
干渉計への入力ビーム上に位置する動的ビーム操作素子を含む干渉計システムは、本出願人が本出願と共に保有する米国特許第6,252,667号、米国特許第6,313,918号、及び米国特許第6,271,923号に、PCT公開公報WO 00/66969号にも記載されており、上記文献の内容は全て、本明細書において参照により援用する。
経路20に在る測定ビームの方向を維持する/認識するべき精度は通常、ミラー92の角度配向の変化を維持する/認識するべき精度と同じではなく、数桁オーダーの大きさ異なる。干渉計システム14が測定する直線変位の変化は、ミラー92の反射面に直交するラインに沿ってビーム操作素子が定義するポイントからの距離の変化とされる。測定ビームの方向の直交ラインからの変位εにより生じる測定直線変位の部分誤差は(1−cos2ε)≒ε2となる。従って、例えば1ppb及び0.1ppbの部分誤差の場合、εの該当する値はそれぞれ、≦3.2×10-5及び≦1.0×10-5である必要がある。通常の値θの範囲は0.001ラジアンのオーダーであり、この場合θは、リソグラフィツール計測システムの固定基準枠に対するミラー92の反射面の傾きである。従って、認識する必要のあるθに対するεの精度はそれぞれ3.2%及び1.0%である。本発明のこの特徴によって、制御システムにおける動的ビーム操作素子に要求される性能要件が相当緩和される。これは特に、フィードフォワード制御システムにおいて重要である。
εに要求される精度が緩和される結果更に、フィードバックまたはフィードフォワード制御システムの精度を容易にその場で決定することができる。制御システムの校正手順の一例として、ミラー92の一連の固定姿勢に対してビーム操作素子の姿勢を細かく調査して、ミラー92の固定姿勢の各々に対してε=0となる位置を、ヘテロダイン信号または電気干渉信号の振幅をモニターすることにより検出する。
直交直線変位に関して測定される変化をリソグラフィツール計測システムの固定基準枠に変換するために使用する変換係数は、cos2θである。通常の値θの範囲は0.001ラジアンのオーダーである。従って、変換係数に1ppb及び0.1ppbの部分誤差がある場合、θ値の該当する誤差はそれぞれ、≦5×10-7及び≦5×10-7である必要がある。変換係数を適用する際に要求されるθに関する情報は、本発明においては、直線変位ペアに関して測定される変化から得られる。
図7は干渉計システムの概略図であり、このシステムにより平面ミラー測定対象物92の直線変位及び角度変位を測定し、モニターする。図7に示すように、干渉計システムは干渉計14及び動的ビーム操作素子を備え、干渉計14は本明細書に記載する干渉計のいずれかとして構成及び配置され、動的ビーム操作素子は、干渉計14への入力ビーム12の方向及び検出器70への出力ビーム60の方向を制御する。
入力ビーム12の方向及び出力ビーム60の方向を変える目的は、干渉計14の出力ビームから生成される電気干渉信号の非周期誤差の影響を排除する、または十分に低減することにある。非周期誤差による影響の排除、または十分な低減は、干渉計内の、及び検出器70でのビームずれを無くすこと、または実質的に小さくすること、検出器70でのビームの入射角の変化を無くすこと、または実質的に小さくすることにより達成される。
干渉計システムは更に、ビーム112を生成する照射源10、検出器70、サーボ制御装置94、変換器96及び電子プロセッサ兼コンピュータ90を備える。各干渉計タイプにおいて、干渉計ビームはミラー92に向かって、ミラー92から20で示される光路にほぼ沿って伝搬し、出力ビームは干渉計14から検出器70に向かって60で示される光路に沿って伝搬する。ビーム112についての記載は図1のビーム12についての記載と同じである。
ビーム操作素子98の姿勢を変換器96により制御して経路20に沿って伝搬する測定ビームがミラー92にゼロ度の入射角で入射するようにする。変換器96はサーボ制御装置94からのサーボ制御信号86によって制御される。サーボ制御信号86は電子プロセッサ兼コンピュータ90が生成するサーボ信号82から生成される。
誤差ε及び変換係数に関する図7に示す干渉計システム及び動的ビーム操作システムについての記載は、図6に示す干渉計システム及び動的ビーム操作システムについての記載の該当する箇所と同じである。
上述した干渉計システムのいずれにおいても、平面ミラー基準物体を干渉計アセンブリと一体化することができることに注目する。別の構成として、平面ミラー基準物体を、差動平面ミラー干渉計における場合のように第2測定対象物の一部とすることができる。このような実施形態では、干渉計は、ビームを第2測定対象物上の基準ミラーに連結する追加の光学系を含むことができる。
上述の干渉計システムは非常に高精度の測定を可能にする。このようなシステムはコンピュータチップなどのような大規模集積回路に使用するリソグラフィ用途において特に有用である。リソグラフィは半導体製造産業にとって非常に重要な技術推進要素である。重ね合わせにおける改良は、100nm線幅(設計ルール)以下の線幅を実現するための5つの最も困難な挑戦の内の一つであり、例えばSemiconductor Industry Roadmap, p82(1997)を参照されたい。
重ね合わせはウェハステージ及びレチクル(またはマスク)ステージの位置決めに使用する距離測定干渉計の性能、すなわち精度及び確度に直接依存する。リソグラフィツールにより年当り50〜100百万ドルの製品を生産することができるので、性能の改良された距離測定干渉計がもたらす経済効果は非常に大きい。リソグラフィツールによる歩留まりが1%上がる度に、年当り約百万ドルの経済効果が集積回路製造業者にもたらされ、リソグラフィツールベンダーにそれに匹敵する大きな利益がもたらされる。
リソグラフィツールの機能は、空間的にパターン化された照射線をフォトレジストに覆われたウェハに方向付けることである。このプロセスでは、ウェハのどの位置が照射線を受けるのかを決定し(位置合わせ)、その位置で照射線をフォトレジストに当てる(露光)。
ウェハを正しく位置させるために、ウェハは位置合わせマークをウェハ上に含み、これらの位置合わせマークは専用センサによって測定される。位置合わせマークの測定される位置によってウェハのツール内での位置を決定する。この情報を、ウェハ表面を所望の形状にパターニングするための仕様と一緒に用いて、ウェハを空間的にパターニングされた照射線に対して位置合わせする。このような情報に基づいて、フォトレジストに覆われたウェハを支持する移動可能なステージがウェハを移動させて照射線によってウェハの正しい位置が露光されるようにする。
露光の間、照射源はパターン化されたレチクルを照射し、このレチクルが照射線を散乱して空間的にパターン化された照射線を生成する。レチクルはマスクとも呼ばれ、これらの用語は以下において同じ意味で使用する。縮小リソグラフィの場合、縮小レンズが散乱照射線を収集してレチクルパターンの縮小画像を形成する。別の構成として、近接転写の場合、散乱照射線はウェハに達する前に短い距離(通常、マイクロメートルのオーダー)を伝搬してレチクルパターンの1:1画像を生成する。照射によってレジストの中で光−化学プロセスが始まり、このプロセスによって照射線パターンがレジスト内の潜像に変換される。
干渉計システムは、ウェハ及びレチクルの位置を制御し、レチクル画像をウェハに転写するポジショニング(位置決め)メカニズムの重要な要素である。このような干渉計システムが上述のような特徴を含む場合、距離測定に対する周期誤差の影響が最小化されるのに伴って、システムが測定する距離の精度が向上する。
一般的に、露光システムとも呼ばれるリソグラフィシステムは通常、照射システム及びウェハポジショニングシステムを含む。照射システムは紫外線、可視光線、x線、電子線またはイオン照射線のような照射線を供給する照射源、及び照射線にパターンを与えることにより空間的にパターン化された照射線を生成するレチクルまたはマスクを含む。また縮小リソグラフィの場合、照射システムは空間的にパターン化された照射線をウェハ上に結像させるレンズアセンブリを含むことができる。結像した照射線によってウェハ上のレジストが露光される。照射システムはまた、マスクを支持するマスクステージ、及びマスクを通して方向付けられる照射線に対するマスクステージの位置を調整するポジショニングシステムを含む。ウェハポジショニングシステムは、ウェハを支持するウェハステージ、及び結像した照射線に対するウェハステージの位置を調整するポジショニングシステムを含む。集積回路の製造は多くの露光工程を含む。リソグラフィについての一般的な参考文献として、例えばJ.R Sheats and B.W. SmithによるMicrolithography:Science and Technology(Marcel Dekker, Inc., New York, 1998)を参照されたい。この参考文献の内容は、本明細書において参照により援用する。
上述の干渉計システムを使用して、レンズアセンブリ、照射線源または支持構造のような露光システムの他の素子に対するウェハステージ及びマスクステージの位置を正確に測定することができる。このような場合、干渉計システムを固定構造に取り付け、測定対象物をマスクステージ及びウェハステージの内の一つのような可動素子に取り付けることができる。別の構成として、配置を逆にして、干渉計システムを可動対象物に取り付け、測定対象物を固定対象物に取り付けることができる。
一般的に、このような干渉計システムを使用して露光システムの他のいずれか素子に対する露光システムのいずれか一つの素子の位置をも測定することができ、この場合干渉計システムは、素子及び測定対象物の内の一方に取り付けられるか或いは支持されるか、または素子の内の他方に取り付けられるか或いは支持される。
干渉計システム826を使用するリソグラフィスキャナ800の一例を図8aに示す。干渉計システムを使用して露光システム内のウェハ(図示せず)の位置を正確に測定する。ここで、ステージ822を使用してウェハを露光ステーションに対して配置し、支持する。スキャナ800はフレーム802を含み、このフレームは他の支持構造、及びこれらの構造に搭載される種々の素子を搭載する。露光ベース804はその頂部にレンズハウジング806を搭載し、このハウジングの頂部にレチクルまたはマスクステージ816を搭載し、このステージを使用してレチクルまたはマスクを支持する。マスクを露光ステーションに対して位置決めするポジショニングシステムを素子817として模式的に示す。ポジショニングシステム817は、例えば圧電変換素子及び該当する制御電子機器を含むことができる。ここに記載する実施形態には含まれていないが、上述の干渉計システムの内の一つ以上を使用してマスクステージだけでなく、リソグラフィ構造の製造プロセスにおいてその位置を高精度にモニターする必要のある他の可動素子の位置を正確に測定することもできる(上のSheats及びSmithによるMicrolithography:Science and Technologyを参照されたし)。
露光ベース804の下方に延びているのは支持ベース813であり、この支持ベースはウェハステージ822を搭載する。ステージ822は平面ミラー828を含み、このミラーは、干渉計システム826によりステージに方向付けられる測定ビーム854を反射する。ステージ822を干渉計システム826に対して位置決めするポジショニングシステムを素子819として模式的に示す。ポジショニングシステム819は、例えば圧電変換素子及び該当する制御電子機器を含むことができる。測定ビームは反射されて露光ベース804に搭載される干渉計システムに戻る。干渉計システムは前に記載した実施形態のいずれかとすることができる。
動作状態において、照射ビーム810、例えばUVレーザ(図示せず)からの紫外線(UV)ビームはビーム成形光学アセンブリ812を通過し、ミラー814によって反射された後に下方に伝搬する。その後、照射ビームはマスクステージ816に搭載されるマスク(図示せず)を通過する。マスク(図示せず)は、レンズハウジング806に収容されるレンズアセンブリ808を通してウェハステージ822上のウェハ(図示せず)に結像される。ベース804及びそのベースが支持する種々の素子は、バネ820として示す振動減衰システムによって周囲の振動から分離される。
リソグラフィスキャナの他の実施形態では、前に記載した干渉計システムの内の一つ以上を使用して多軸に沿った距離を、例えばこれらに制限されないが、ウェハステージ及びレチクル(又はマスク)ステージに関する角度を測定することができる。また、UVレーザビームではなく他のビームを使用してウェハを露光することができ、これらのビームとしては、例えばx線ビーム、電子ビーム、イオンビーム及び可視光ビームなどが挙げられる。
幾つかの実施形態では、リソグラフィスキャナはこの技術分野でコラム基準(column reference)として知られるものを含むことができる。このような実施形態では、干渉計システム826は基準ビーム(図示せず)を外部基準経路に沿って方向付けて基準ミラー(図示せず)に接触させ、この基準ミラーは或る構造、例えばレンズハウジング806に取り付けられて照射ビームを方向付ける。基準ミラーは基準ビームを反射して干渉計システムに戻す。ステージ822により反射される測定ビーム854と、レンズハウジング1106に搭載された基準ミラーにより反射される基準ビームとを合成する際に干渉計システム1126が生成する干渉信号は、照射ビームに対するステージの位置の変化を示す。また、他の実施形態では、干渉計システム826を、スキャナシステムのレチクル(またはマスク)ステージ816または他の可動素子の位置の変化を測定するように配置することができる。最後に、干渉計システムは、スキャナに加えて、またはスキャナに代えてステッパを含むリソグラフィシステムと同様な態様で使用することができる。
公知のように、リソグラフィは、半導体装置を作成する製造方法の重要な一部である。たとえば、米国特許第5,483,343号にはそのような製造方法の工程が概述されている。これらの工程について、図8bおよび8cに関して以下で記述する。図8bは、半導体チップ(ICまたはLSIなど)、液晶パネル、またはCCDなど、半導体装置を製造する順序のフロー・チャートである。工程851は、半導体装置の回路を設計する設計過程である。工程852は、回路パターン設計に基づくマスクの製造過程である。工程853は、シリコンなどの材料を使用することによってウェハを製造する過程である。
工程854は、予備過程と呼ばれるウェハ過程であり、準備したマスクおよびウェハを使用することによって、リソグラフィにより、回路をウェハの上に形成する。十分な空間分解能でマスク上の回路パターンに対応する回路をウェハの上に形成するために、ウェハに対するリソグラフィ・ツールの干渉分光による位置決めが必要である。本明細書で記述する干渉分光法およびシステムは、ウェハ過程において使用されるリソグラフィの有効性を向上させるのに特に有用であり得る。
工程855は、工程854によって処理されたウェハが半導体チップに形成される事後過程と呼ばれる組立て工程である。この工程は、組立て(方形切断および結合)および実装(チップ封止)を含む。工程856は、検査工程であり、工程855によって作成された半導体装置の動作性の検査、耐久性の検査などが実施される。これらの過程により、半導体装置は完成し、出荷される(工程857)。
図8cは、ウェハ過程の詳細を示すフロー・チャートである。工程861は、ウェハの表面を酸化させる酸化過程である。工程862は、絶縁膜をウェハ表面の上に形成するCVD過程である。工程863は、蒸着によってウェハの上に電極を形成する電極形成過程である。工程864は、イオンをウェハに注入する注入過程である。工程865は、レジスト(感光材料)をウェハに加えるレジスト過程である。工程866は、露光(すなわちリソグラフィ)によって、上記で記述した露光装置により、マスクの回路パターンをウェハの上に印刷する露光過程である。再び、上記で記述したように、本明細書で記述する干渉計システムおよび方法を使用することにより、そのようなリソグラフィ工程の精度および分解能は向上する。
工程867は、露光ウェハを成長する成長過程である。工程868は、成長レジスト像以外の部分を除去するエッチング過程である。工程869は、エッチング過程を施された後にウェハ上に残留しているレジスト材料を分離するレジスト分離過程である。これらの過程を反復することによって、回路パターンがウェハの上に形成され、重ね合わされる。
上記した干渉計システムは、物体の相対位置を正確に測定する必要がある他の応用分野において使用することも可能である。たとえば、基板またはビームが移動する際に、レーザ、x線、イオン、または電子ビームなどの書込みビームが、基板の上にパターンをマーキングする応用分野では、干渉計システムを使用して、基板と書込みビームとの相対運動を測定することが可能である。
例として、ビーム書込みシステム900の図9に概略的に示されている。ソース910は、書込みビーム912を生成する。ビーム集束部品914は、放射ビームを、可動ステージ918によって支持された基板916に向ける。ステージの相対位置を決定するために、干渉計システム920は、基準ビーム922をビーム集束部品914の上に取り付けられたミラー924に向け、測定ビーム926をステージ918の上に取り付けられたミラー928に向ける。基準ビームはビーム収束部品上に搭載されたミラーと接触するので、ビーム書込みシステムは、コラム基準を用いるシステムの例である。干渉計システム920は、以前に説明した干渉計システムのいずれかとすることが可能である。干渉計システムによって測定された位置の変化は、基板916上における書込みビーム912の相対位置の変化に対応する。干渉計システム920は、基板916上における書込みビーム912の相対位置を表す測定信号932を制御装置930に送信する。制御装置930は、出力信号934を、ステージ918を支持し、かつ位置決めするベース936に送信する。更に、書込みビームが、基板の選択位置のみにおいて光物理的変化または光化学的変化が生じるのに十分な強度で基板916に接触するように、書込みビーム912の強度を変化させるために、または書込みビーム912を遮断するために、制御装置930は、信号938をソース910に送信する。
更に、いくつかの例では、制御装置930は、ビーム集束部品914に、たとえば信号944を使用して、基板の領域にわたって書込みビームを走査させることが可能である。その結果、制御装置930は、基板をパターン化するように、システムの他の要素を誘導する。パターン化は、通常、制御装置に記憶されている電子設計パターンに基づく。いくつかの応用例では、書込みビームは、基板の上に被覆されたレジストをパターン化し、他の応用例では、書込みビームは、基板をエッチングするなど、直接パターン化する。
そのようなシステムの重要な応用分野は、以前に記述したリソグラフィ方法において使用されるマスクおよびレチクルの製造である。たとえば、リソグラフィ・マスクを製作するために、電子ビームを使用して、クロミウム被覆ガラス基板をパターン化することが可能である。書込みビームが電子ビームであるような場合では、ビーム書込みシステムは、電子ビーム経路を真空に封入する。また、書込みビームが電子ビームまたはイオン・ビームである場合では、ビーム集束部品は、真空下において帯電粒子を基板上に集束させ、向けるための四重極レンズなどの電場生成装置を含む。書込みビームがx線、UV、または可視光線の放射などの放射ビームである他の場合では、ビーム集束部品は、放射を基板に集束させ、向けるための対応する光学機器を含む。
各種実施態様について、上記のように説明したが、各種の変更が本発明の技術思想及び範囲から逸脱することなく行われてもよい。従って、他の実施形態、特徴、及び利点も、本発明の範囲内にある。

Claims (22)

  1. 装置であって、
    反射測定対象物の相対位置を複数の自由度に関して測定する多軸干渉計を備え、前記干渉計は、前記複数の自由度の内の異なる一つの自由度に関する前記測定対象物の相対位置についての情報を各々が含む複数の出力ビームを生成するように構成され、
    各出力ビームは共通経路に沿って前記測定対象物に少なくとも1回接触するビーム成分を含み、
    複数のビーム成分の内の少なくとも一つのビーム成分が、前記共通経路とは異なる第1経路に沿って前記測定対象物に対して少なくとも2回目の接触を更に行なう、装置。
  2. 前記共通経路に沿って、かつ前記第1経路に沿って前記測定対象物に接触する前記ビーム成分を含む前記出力ビームは、前記測定対象物に接触しない第2ビーム成分を更に含む、請求項1記載の装置。
  3. 前記複数の自由度の内の一つの自由度は、第1測定軸に沿った前記測定対象物までの距離である、請求項1記載の装置。
  4. 前記第1測定軸に沿った前記測定対象物までの距離についての情報を含む前記出力ビームは、前記共通経路に沿って、かつ前記第1経路に沿って前記測定対象物に接触する前記ビーム成分を含む、請求項3記載の装置。
  5. 前記第1測定軸は、前記共通経路及び前記第1経路により定義される、請求項4記載の装置。
  6. 前記第1測定軸上の各ポイントは、前記共通経路及び前記第1経路の上の該当するポイントまでの距離が等しい、請求項5記載の装置。
  7. 前記ビーム成分の内の別のビーム成分は、前記共通経路とは異なる第2経路に沿って前記測定対象物に対して少なくとも2回目の接触を更に行なう、請求項4記載の装置。
  8. 前記共通経路に沿って、かつ前記第2経路に沿って前記測定対象物に接触する前記ビーム成分を含む前記出力ビームは、前記共通経路及び前記第2経路によって定義される第2測定軸に沿った前記測定対象物までの距離についての情報を含み、前記第2測定軸は、前記第1測定軸とは異なる、請求項7記載の装置。
  9. 複数のビーム成分の内の第3のビーム成分は、前記共通経路とは異なる第3経路に沿って前記測定対象物に対して少なくとも2回目の接触を更に行なう、請求項8記載の装置。
  10. 前記共通経路及び前記第3経路に沿って前記測定対象物に接触する前記ビーム成分を含む前記出力ビームは、前記共通経路及び前記第3経路によって定義される第3測定軸に沿った前記測定対象物までの距離についての情報を含み、前記第3測定軸は前記第1及び第2測定軸とは異なる、請求項9記載の装置。
  11. 前記第1及び第2測定軸によって第1平面が定義され、前記第2及び第3測定軸によって前記第1平面とは異なる第2平面が定義される、請求項10記載の装置。
  12. 入力ビームを前記多軸干渉計に方向付けるように構成された光源を更に備え、前記入力ビームは分離ヘテロダイン周波数を有する2つの成分を含み、
    前記共通経路に沿って前記測定対象物に接触する各出力ビームは、前記入力ビームの成分の内の一つの成分から生成され、
    各出力ビームは、前記入力ビームの成分の内の他の成分から生成される第2成分を更に含む、請求項1記載の装置。
  13. 前記干渉計は、入力ビームから生成される第1ビームを前記共通経路に沿って前記測定対象物に接触するように方向付け、前記測定対象物に接触した後に前記第1ビームを複数のサブビームに分離するように構成され、前記サブビームは、前記測定対象物に前記共通経路に沿って接触する出力ビームのビーム成分に対応する、請求項1記載の装置。
  14. 前記干渉計は、複数のサブビームの内の少なくとも一つのサブビームを前記第1経路に沿って前記測定対象物に対して少なくとも2回目の接触を更に行うように方向付け、前記共通経路に沿って、かつ前記第1経路に沿って前記測定対象物に接触するビーム成分を形成するように構成される、請求項13記載の装置。
  15. 前記干渉計は、前記共通経路とは異なり、かつ前記第1経路とは異なる第2経路に沿って前記測定対象物に対して少なくとも2回目の接触を行うように前記複数のサブビームの内の少なくとも別のサブビームを方向付けるように構成される、請求項14記載の装置。
  16. 方法であって、
    異なる自由度に関する測定対象物の相対位置についての情報を各々が含む複数の出力ビームを干渉法により生成することを備え、
    各出力ビームは、共通経路に沿って前記測定対象物に少なくとも1回接触するビーム成分を含み、
    複数のビーム成分の内の少なくとも一つのビーム成分は、前記共通経路とは異なる第1経路に沿って前記測定対象物に対して少なくとも2回目の接触を更に行なう、方法。
  17. 装置であって、
    複数の自由度に関する反射測定対象物の相対位置を測定する多軸干渉計を備え、前記干渉計は、前記複数の自由度の内の異なる一つの自由度に関する前記測定対象物の相対位置についての情報を各々が含む複数の出力ビームを生成するように構成され、
    各出力ビームは、共通経路に沿って前記測定対象物に1回のみ接触するビーム成分を含み、
    前記出力ビームの内の少なくとも一つの出力ビームは、前記共通経路に沿って前記測定対象物に接触しない別のビーム成分を含み、
    前記別のビーム成分は、前記共通経路とは異なる第1経路に沿って前記測定対象物に少なくとも1回接触する、装置。
  18. 方法であって、
    異なる自由度に関する測定対象物の相対位置についての情報を各々が含む複数の出力ビームを干渉法により生成することを備え、
    各出力ビームは、共通経路に沿って前記測定対象物に1回のみ接触するビーム成分を含み、
    前記複数の出力ビームの内の少なくとも一つの出力ビームは、前記共通経路に沿って前記測定対象物に少なくとも1回接触するビーム成分とは異なる別のビーム成分を含み、
    前記別のビーム成分は、前記共通経路とは異なる第1経路に沿って前記測定対象物に少なくとも1回接触する、方法。
  19. 集積回路をウェハの上に製造する際に使用するリソグラフィシステムであって、
    前記ウェハを支持するステージと、
    空間的にパターン化された照射線を前記ウェハの上に結像する照明システムと、
    結像した前記照射線に対する前記ステージの位置を調整するポジショニングシステムと、
    結像した前記照射線に対する前記ウェハの位置をモニターする請求項1または請求項17に記載の装置とを備える、リソグラフィシステム。
  20. 集積回路をウェハの上に製造する際に使用するリソグラフィシステムであって、
    前記ウェハを支持するステージと、
    照射源、マスク、ポジショニングシステム、レンズアセンブリ、及び請求項1または請求項17に記載の装置を含む照明システムと、を備え、
    動作状態において、前記照射源は照射線を前記マスクを通して方向付けて空間的にパターン化された照射線を生成し、前記ポジショニングシステムは前記照射源からの前記照射線に対する前記マスクの位置を調整し、前記レンズアセンブリは前記空間的にパターン化された照射線を前記ウェハの上に結像し、前記干渉計システムは前記照射源からの前記照射線に対する前記マスクの位置をモニターする、リソグラフィシステム。
  21. リソグラフィマスクを製造する際に使用するビーム書込みシステムであって、
    書込みビームを照射して基板にパターンを形成する照射源と、
    前記基板を支持するステージと、
    前記書込みビームを前記基板に方向付けるビーム方向付けアセンブリと、
    前記ステージ及びビーム方向付けアセンブリを互いに対して位置決めするポジショニングシステムと、
    前記ビーム方向付けアセンブリに対する前記ステージの位置をモニターする請求項1または請求項17に記載の装置とを備える、ビーム書込みシステム。
  22. 集積回路をウェハの上に製造する際に使用するリソグラフィ法であって、
    前記ウェハを移動可能なステージの上に支持すること、
    空間的にパターン化された照射線を前記ウェハの上に結像すること、
    前記ステージの位置を調整すること、
    前記ステージの位置を請求項16または請求項18に記載の方法を使用してモニターすることを備える、リソグラフィ法。
JP2010017768A 2002-01-28 2010-01-29 多自由度干渉計 Expired - Lifetime JP5350285B2 (ja)

Applications Claiming Priority (8)

Application Number Priority Date Filing Date Title
US35234102P 2002-01-28 2002-01-28
US60/352,341 2002-01-28
US37187202P 2002-04-11 2002-04-11
US60/371,872 2002-04-11
US37998702P 2002-05-13 2002-05-13
US60/379,987 2002-05-13
US10/351,707 US6757066B2 (en) 2002-01-28 2003-01-27 Multiple degree of freedom interferometer
US10/351,707 2003-01-27

Related Parent Applications (1)

Application Number Title Priority Date Filing Date
JP2003564527A Division JP4583759B2 (ja) 2002-01-28 2003-01-28 多自由度干渉計

Publications (2)

Publication Number Publication Date
JP2010091587A true JP2010091587A (ja) 2010-04-22
JP5350285B2 JP5350285B2 (ja) 2013-11-27

Family

ID=27808806

Family Applications (2)

Application Number Title Priority Date Filing Date
JP2003564527A Expired - Fee Related JP4583759B2 (ja) 2002-01-28 2003-01-28 多自由度干渉計
JP2010017768A Expired - Lifetime JP5350285B2 (ja) 2002-01-28 2010-01-29 多自由度干渉計

Family Applications Before (1)

Application Number Title Priority Date Filing Date
JP2003564527A Expired - Fee Related JP4583759B2 (ja) 2002-01-28 2003-01-28 多自由度干渉計

Country Status (4)

Country Link
US (1) US6757066B2 (ja)
JP (2) JP4583759B2 (ja)
AU (1) AU2003209400A1 (ja)
WO (1) WO2003064977A2 (ja)

Cited By (1)

* Cited by examiner, † Cited by third party
Publication number Priority date Publication date Assignee Title
JP2018529080A (ja) * 2015-08-04 2018-10-04 エーエスエムエル ネザーランズ ビー.ブイ. 位置測定システム、干渉計、及びリソグラフィ装置

Families Citing this family (55)

* Cited by examiner, † Cited by third party
Publication number Priority date Publication date Assignee Title
WO2001056007A1 (en) * 2000-01-28 2001-08-02 Intersense, Inc. Self-referenced tracking
JP2002134396A (ja) * 2000-10-25 2002-05-10 Sony Corp 半導体装置の製造方法および半導体パターン自動調節装置
JP2005531937A (ja) * 2001-09-27 2005-10-20 テラパルス, インコーポレイテッド 光伝送媒体における伝送ひずみのより高次の補償を行うための方法と装置
WO2003079054A2 (en) * 2002-03-15 2003-09-25 Terapulse, Inc. Athermal delay line
AU2003223559A1 (en) * 2002-04-10 2003-10-27 Terapulse, Inc. Optical signal-to-noise monitor having increased coherence
DE60319462T2 (de) * 2002-06-11 2009-03-12 Asml Netherlands B.V. Lithographischer Apparat und Verfahren zur Herstellung eines Artikels
US6992823B2 (en) * 2002-06-24 2006-01-31 Oplink Communications, Inc. Chromatic dispersion compensator
US7262860B2 (en) * 2002-07-29 2007-08-28 Zygo Corporation Compensation for errors in off-axis interferometric measurements
US7274462B2 (en) * 2002-09-09 2007-09-25 Zygo Corporation In SITU measurement and compensation of errors due to imperfections in interferometer optics in displacement measuring interferometry systems
US7224466B2 (en) * 2003-02-05 2007-05-29 Agilent Technologies, Inc. Compact multi-axis interferometer
US7286240B2 (en) * 2003-06-19 2007-10-23 Zygo Corporation Compensation for geometric effects of beam misalignments in plane mirror interferometer metrology systems
US7180603B2 (en) 2003-06-26 2007-02-20 Zygo Corporation Reduction of thermal non-cyclic error effects in interferometers
US7327466B2 (en) * 2003-11-03 2008-02-05 Zygo Corporation Multi-corner retroreflector
WO2005045529A2 (en) * 2003-11-04 2005-05-19 Zygo Corporation Characterization and compensation of errors in multi-axis interferometry system
US7443511B2 (en) * 2003-11-25 2008-10-28 Asml Netherlands B.V. Integrated plane mirror and differential plane mirror interferometer system
JP4790632B2 (ja) * 2004-01-06 2011-10-12 ザイゴ コーポレーション 多軸干渉計ならびに多軸干渉計を用いる方法およびシステム
JP2005249794A (ja) * 2004-03-03 2005-09-15 Zygo Corp 干渉計および干渉計を使用するシステム
US7280223B2 (en) 2004-04-22 2007-10-09 Zygo Corporation Interferometry systems and methods of using interferometry systems
JP2007537436A (ja) * 2004-05-11 2007-12-20 レニショウ パブリック リミテッド カンパニー 偏光漏れによって生じるエラービームの除去または分離機能付きの偏光干渉計
US20050264883A1 (en) * 2004-05-28 2005-12-01 Miao Zhu Polarization-maintaining retroreflector apparatus
US7298493B2 (en) 2004-06-30 2007-11-20 Zygo Corporation Interferometric optical assemblies and systems including interferometric optical assemblies
US7317539B2 (en) * 2004-08-23 2008-01-08 Asml Netherlands B.V. Polarizing beam splitter device, interferometer module, lithographic apparatus, and device manufacturing method
US7489407B2 (en) * 2004-10-06 2009-02-10 Zygo Corporation Error correction in interferometry systems
US7365857B2 (en) * 2004-10-22 2008-04-29 Zygo Corporation Precompensation of polarization errors in heterodyne interferometry
US7277180B2 (en) * 2004-11-09 2007-10-02 Zygo Corporation Optical connection for interferometry
US7433049B2 (en) * 2005-03-18 2008-10-07 Zygo Corporation Multi-axis interferometer with procedure and data processing for mirror mapping
US7528961B2 (en) * 2005-04-29 2009-05-05 Zygo Corporation Compensation of turbulent effects of gas in measurement paths of multi-axis interferometers
US7826063B2 (en) * 2005-04-29 2010-11-02 Zygo Corporation Compensation of effects of atmospheric perturbations in optical metrology
US7528962B2 (en) * 2005-06-29 2009-05-05 Zygo Corporation Apparatus and methods for reducing non-cyclic non-linear errors in interferometry
US7561278B2 (en) * 2005-10-18 2009-07-14 Zygo Corporation Interferometer using integrated retarders to reduce physical volume
KR100737177B1 (ko) * 2006-05-15 2007-07-10 경북대학교 산학협력단 수직 공진 표면광 레이저를 이용한 간섭계
US7812964B2 (en) * 2006-11-15 2010-10-12 Zygo Corporation Distance measuring interferometer and encoder metrology systems for use in lithography tools
US7894075B2 (en) * 2006-12-11 2011-02-22 Zygo Corporation Multiple-degree of freedom interferometer with compensation for gas effects
WO2008073454A2 (en) * 2006-12-11 2008-06-19 Zygo Corporation Multiple-degree of freedom interferometer with compensation for gas effects
US8715909B2 (en) * 2007-10-05 2014-05-06 Infineon Technologies Ag Lithography systems and methods of manufacturing using thereof
US7652771B2 (en) * 2007-10-31 2010-01-26 Agilent Technologies, Inc. Interferometer with Double Polarizing Beam Splitter
CN101650166B (zh) * 2008-08-15 2012-04-11 上海理工大学 用于测量微滚转角的激光干涉系统
US8223342B2 (en) * 2009-03-16 2012-07-17 Alliant Techsystems Inc. Methods and systems for measuring target movement with an interferometer
JPWO2011145289A1 (ja) * 2010-05-19 2013-07-22 コニカミノルタ株式会社 干渉光学系
JP5709543B2 (ja) 2011-01-17 2015-04-30 日本オクラロ株式会社 干渉計、復調器および送受信器
EP2691734B1 (en) 2011-03-30 2020-06-03 ASML Netherlands B.V. Alignment of an interferometer module for an exposure tool
JP6181189B2 (ja) * 2012-09-27 2017-08-16 マッパー・リソグラフィー・アイピー・ビー.ブイ. 多軸微分干渉計
CN103063156B (zh) * 2012-12-18 2016-01-20 清华大学 一种高温环境下双波长剪切干涉测量物体表面曲率的方法
DE102014011668A1 (de) 2014-08-05 2016-02-11 Friedrich-Schiller-Universität Jena Stabiles Interferometer mit hoher Étendue, insbesondere für bildgebende Fourier-Transformations-Spektroskopie ohne Objektabrasterung
EP2998776A1 (en) * 2014-09-22 2016-03-23 Nanolive SA Tomographic phase microscope
KR102288353B1 (ko) * 2015-02-27 2021-08-11 삼성디스플레이 주식회사 레이저 광학계 및 이를 포함하는 레이저 어닐링 장치
GB2551968A (en) * 2016-06-28 2018-01-10 Oclaro Tech Ltd Optical locker
TWI629475B (zh) 2017-04-18 2018-07-11 財團法人工業技術研究院 非接觸式雙平面定位方法與裝置
TWI641805B (zh) * 2018-04-02 2018-11-21 國立雲林科技大學 Laser interference calibrator
US11555977B2 (en) 2019-08-23 2023-01-17 Eagle Technology, Llc Optical system with adjustment stage and associated method
IT202100013949A1 (it) * 2021-05-28 2022-11-28 Univ Degli Studi Di Napoli Federico Ii Sistema fotonico per il rilevamento di spostamenti trasversali
US12040584B2 (en) 2021-12-08 2024-07-16 Eagle Technology, Llc Optical system for use with a vacuum chamber and associated method
CN114705137B (zh) * 2022-04-24 2024-08-16 合肥工业大学 一种二维共平面工作台六自由度实时测量系统
WO2023219862A1 (en) 2022-05-10 2023-11-16 Zygo Corporation Data age reduction
CN116878377B (zh) * 2023-08-02 2024-04-05 哈尔滨工业大学 一种多自由度微棱镜式干涉传感头的装配对准方法及装置

Citations (2)

* Cited by examiner, † Cited by third party
Publication number Priority date Publication date Assignee Title
JPH02290502A (ja) * 1989-02-23 1990-11-30 Hewlett Packard Co <Hp> 干渉計
JPH11241909A (ja) * 1998-12-07 1999-09-07 Nikon Corp アライメント方法および露光装置

Family Cites Families (11)

* Cited by examiner, † Cited by third party
Publication number Priority date Publication date Assignee Title
US4784490A (en) 1987-03-02 1988-11-15 Hewlett-Packard Company High thermal stability plane mirror interferometer
US4881815A (en) 1988-07-08 1989-11-21 Zygo, Corporation Linear and angular displacement measuring interferometer
US4881816A (en) * 1988-07-08 1989-11-21 Zygo, Corporation Linear and angular displacement measuring interferometer
US4883357A (en) 1989-03-01 1989-11-28 Zygo Corporation Dual high stability interferometer
NL9100215A (nl) 1991-02-07 1992-09-01 Asm Lithography Bv Inrichting voor het repeterend afbeelden van een maskerpatroon op een substraat.
US5394706A (en) 1993-05-20 1995-03-07 Waterworks International, Inc. Freeze crystallization for the removal of water from a solution of dissolved solids
JP3219349B2 (ja) 1993-06-30 2001-10-15 キヤノン株式会社 波長コンペンセータ、該波長コンペンセータを用いたレーザ干渉測定装置、該レーザ干渉測定装置を有するステージ装置、該ステージ装置を有する露光システム、および該露光システムを用いたデバイスの製造方法
JP4075966B2 (ja) * 1996-03-06 2008-04-16 エーエスエムエル ネザーランズ ビー.ブイ. 差分干渉計システム及びこのシステムを具えたリソグラフステップアンドスキャン装置
US6020964A (en) 1997-12-02 2000-02-01 Asm Lithography B.V. Interferometer system and lithograph apparatus including an interferometer system
US6271923B1 (en) 1999-05-05 2001-08-07 Zygo Corporation Interferometry system having a dynamic beam steering assembly for measuring angle and distance
WO2001088468A1 (en) 2000-05-17 2001-11-22 Zygo Corporation Interferometric apparatus and method

Patent Citations (2)

* Cited by examiner, † Cited by third party
Publication number Priority date Publication date Assignee Title
JPH02290502A (ja) * 1989-02-23 1990-11-30 Hewlett Packard Co <Hp> 干渉計
JPH11241909A (ja) * 1998-12-07 1999-09-07 Nikon Corp アライメント方法および露光装置

Cited By (1)

* Cited by examiner, † Cited by third party
Publication number Priority date Publication date Assignee Title
JP2018529080A (ja) * 2015-08-04 2018-10-04 エーエスエムエル ネザーランズ ビー.ブイ. 位置測定システム、干渉計、及びリソグラフィ装置

Also Published As

Publication number Publication date
US6757066B2 (en) 2004-06-29
JP2005525539A (ja) 2005-08-25
WO2003064977A3 (en) 2003-11-20
JP4583759B2 (ja) 2010-11-17
JP5350285B2 (ja) 2013-11-27
WO2003064977A2 (en) 2003-08-07
US20030164948A1 (en) 2003-09-04
AU2003209400A1 (en) 2003-09-02

Similar Documents

Publication Publication Date Title
JP5350285B2 (ja) 多自由度干渉計
JP4469608B2 (ja) 多軸干渉計
US6762845B2 (en) Multiple-pass interferometry
JP5255170B2 (ja) 角度および距離を測定するための動的ビーム・ステアリング・アセンブリを有する干渉計システム
JP4030960B2 (ja) 入力ビームの方向の動的干渉分光制御
US6847452B2 (en) Passive zero shear interferometers
JP4216728B2 (ja) 干渉計内のガスの時変光学的性質を補償するための方法および装置
US6912054B2 (en) Interferometric stage system
US6791693B2 (en) Multiple-pass interferometry
JP2005509147A (ja) 干渉周期誤差の補償
JP4469604B2 (ja) 光学干渉分光法
US7365857B2 (en) Precompensation of polarization errors in heterodyne interferometry
US7057739B2 (en) Separated beam multiple degree of freedom interferometer
US7009711B2 (en) Retroreflector coating for an interferometer
US7382466B2 (en) Coating for reflective optical components
US6856402B2 (en) Interferometer with dynamic beam steering element
US7532330B2 (en) Angle interferometers
US7046370B2 (en) Interferometer with reduced shear
JP4469609B2 (ja) マルチパス干渉計
JP4376624B2 (ja) 複数経路干渉分光法
WO2003012367A9 (en) Passive zero shear interferometers

Legal Events

Date Code Title Description
A621 Written request for application examination

Free format text: JAPANESE INTERMEDIATE CODE: A621

Effective date: 20100129

RD04 Notification of resignation of power of attorney

Free format text: JAPANESE INTERMEDIATE CODE: A7424

Effective date: 20120206

A131 Notification of reasons for refusal

Free format text: JAPANESE INTERMEDIATE CODE: A131

Effective date: 20121211

A601 Written request for extension of time

Free format text: JAPANESE INTERMEDIATE CODE: A601

Effective date: 20130304

A602 Written permission of extension of time

Free format text: JAPANESE INTERMEDIATE CODE: A602

Effective date: 20130307

A521 Request for written amendment filed

Free format text: JAPANESE INTERMEDIATE CODE: A523

Effective date: 20130410

TRDD Decision of grant or rejection written
A01 Written decision to grant a patent or to grant a registration (utility model)

Free format text: JAPANESE INTERMEDIATE CODE: A01

Effective date: 20130806

A61 First payment of annual fees (during grant procedure)

Free format text: JAPANESE INTERMEDIATE CODE: A61

Effective date: 20130821

R150 Certificate of patent or registration of utility model

Ref document number: 5350285

Country of ref document: JP

Free format text: JAPANESE INTERMEDIATE CODE: R150

R250 Receipt of annual fees

Free format text: JAPANESE INTERMEDIATE CODE: R250

R250 Receipt of annual fees

Free format text: JAPANESE INTERMEDIATE CODE: R250

R250 Receipt of annual fees

Free format text: JAPANESE INTERMEDIATE CODE: R250

R250 Receipt of annual fees

Free format text: JAPANESE INTERMEDIATE CODE: R250

R250 Receipt of annual fees

Free format text: JAPANESE INTERMEDIATE CODE: R250

R250 Receipt of annual fees

Free format text: JAPANESE INTERMEDIATE CODE: R250

R250 Receipt of annual fees

Free format text: JAPANESE INTERMEDIATE CODE: R250

EXPY Cancellation because of completion of term