JP2010091583A - 温度検出部を備えた分析装置 - Google Patents

温度検出部を備えた分析装置 Download PDF

Info

Publication number
JP2010091583A
JP2010091583A JP2010005529A JP2010005529A JP2010091583A JP 2010091583 A JP2010091583 A JP 2010091583A JP 2010005529 A JP2010005529 A JP 2010005529A JP 2010005529 A JP2010005529 A JP 2010005529A JP 2010091583 A JP2010091583 A JP 2010091583A
Authority
JP
Japan
Prior art keywords
unit
temperature
analyzer according
temperature detection
analyzer
Prior art date
Legal status (The legal status is an assumption and is not a legal conclusion. Google has not performed a legal analysis and makes no representation as to the accuracy of the status listed.)
Granted
Application number
JP2010005529A
Other languages
English (en)
Other versions
JP4901964B2 (ja
Inventor
Eisaku Oshima
栄作 大志万
Hiroaki Shiraki
裕章 白木
Current Assignee (The listed assignees may be inaccurate. Google has not performed a legal analysis and makes no representation or warranty as to the accuracy of the list.)
Arkray Inc
Original Assignee
Arkray Inc
Priority date (The priority date is an assumption and is not a legal conclusion. Google has not performed a legal analysis and makes no representation as to the accuracy of the date listed.)
Filing date
Publication date
Application filed by Arkray Inc filed Critical Arkray Inc
Priority to JP2010005529A priority Critical patent/JP4901964B2/ja
Publication of JP2010091583A publication Critical patent/JP2010091583A/ja
Application granted granted Critical
Publication of JP4901964B2 publication Critical patent/JP4901964B2/ja
Anticipated expiration legal-status Critical
Expired - Fee Related legal-status Critical Current

Links

Images

Classifications

    • GPHYSICS
    • G01MEASURING; TESTING
    • G01NINVESTIGATING OR ANALYSING MATERIALS BY DETERMINING THEIR CHEMICAL OR PHYSICAL PROPERTIES
    • G01N27/00Investigating or analysing materials by the use of electric, electrochemical, or magnetic means
    • G01N27/26Investigating or analysing materials by the use of electric, electrochemical, or magnetic means by investigating electrochemical variables; by using electrolysis or electrophoresis
    • G01N27/28Electrolytic cell components
    • G01N27/30Electrodes, e.g. test electrodes; Half-cells
    • G01N27/327Biochemical electrodes, e.g. electrical or mechanical details for in vitro measurements
    • G01N27/3271Amperometric enzyme electrodes for analytes in body fluids, e.g. glucose in blood
    • G01N27/3274Corrective measures, e.g. error detection, compensation for temperature or hematocrit, calibration
    • GPHYSICS
    • G01MEASURING; TESTING
    • G01KMEASURING TEMPERATURE; MEASURING QUANTITY OF HEAT; THERMALLY-SENSITIVE ELEMENTS NOT OTHERWISE PROVIDED FOR
    • G01K1/00Details of thermometers not specially adapted for particular types of thermometer
    • G01K1/16Special arrangements for conducting heat from the object to the sensitive element
    • GPHYSICS
    • G01MEASURING; TESTING
    • G01NINVESTIGATING OR ANALYSING MATERIALS BY DETERMINING THEIR CHEMICAL OR PHYSICAL PROPERTIES
    • G01N27/00Investigating or analysing materials by the use of electric, electrochemical, or magnetic means
    • G01N27/26Investigating or analysing materials by the use of electric, electrochemical, or magnetic means by investigating electrochemical variables; by using electrolysis or electrophoresis
    • G01N27/28Electrolytic cell components
    • G01N27/30Electrodes, e.g. test electrodes; Half-cells
    • G01N27/327Biochemical electrodes, e.g. electrical or mechanical details for in vitro measurements
    • G01N27/3271Amperometric enzyme electrodes for analytes in body fluids, e.g. glucose in blood
    • G01N27/3273Devices therefor, e.g. test element readers, circuitry

Landscapes

  • Health & Medical Sciences (AREA)
  • Chemical & Material Sciences (AREA)
  • Life Sciences & Earth Sciences (AREA)
  • General Physics & Mathematics (AREA)
  • Hematology (AREA)
  • Physics & Mathematics (AREA)
  • Electrochemistry (AREA)
  • Chemical Kinetics & Catalysis (AREA)
  • Molecular Biology (AREA)
  • Analytical Chemistry (AREA)
  • Biochemistry (AREA)
  • General Health & Medical Sciences (AREA)
  • Immunology (AREA)
  • Pathology (AREA)
  • Measuring Temperature Or Quantity Of Heat (AREA)
  • Automatic Analysis And Handling Materials Therefor (AREA)
  • Apparatus Associated With Microorganisms And Enzymes (AREA)
  • Investigating Or Analysing Biological Materials (AREA)

Abstract

【課題】 分析用具の構成を変更することなく適切に測定し、反応温度の影響を適切に考慮した濃度演算を行えるようにする。
【解決手段】 試薬部28を備えるとともに演算用の情報を出力可能な分析用具2を装着するための装着部10と、上記演算用の情報に基づいて、試料を分析するための演算を行う演算部と、上記試薬部の反応温度の温度情報を出力する温度検出部12と、を備えた分析装置X1であって、上記装着部10は、上記分析用具2を載置するためのテーブル部19を備えており、上記温度検出部12は、上記テーブル部19に配置されているとともに、上記装着部10に対して上記分析用具2を装着したときに、上記試薬部28の直下領域または直上領域に位置するように配置されている。
【選択図】図5

Description

本発明は、バイオセンサなどの分析用具を装着して使用し、この分析用具から出力される演算用の情報に基づいて、試料の分析を行うための分析装置に関する。
試料中の特定成分、たとえば血液中のグルコースの濃度を測定する一般的な方法としては、酸化還元酵素を触媒とする酸化還元反応を利用したものがある。その一方で、自宅や出先などで簡易に血糖値の測定が行えるように、手のひらに収まるようなサイズの簡易血糖値測定装置が汎用されている。この簡易血糖値測定装置では、たとえば酵素反応場を提供するとともに使い捨てとして構成されたバイオセンサを装着した上で、このバイオセンサに血液を供給することにより血糖値の測定が行われる(特許文献1)。
バイオセンサでは、酵素反応場において血液中のグルコース濃度に応じた量の還元体(あるいは酸化体)が生成される。このとき、酵素反応場に対して電極を介して電圧を印加すれば、還元体(あるいは酸化体)と電極との間で電子授受が行われる。その電子授受量は、酸化電流(あるいは還元電流)として簡易血糖値測定装置において測定され、そのときの電流値に基づいて血糖値が演算される。
酵素反応における反応速度は、温度依存性が比較的に大きいため、還元体(酸化体)の生成量は、血液中のグルコース濃度のみならず、反応温度による影響を受け易い。そのため、簡易血糖値測定装置としては、温度に対する補正を行った上で、最終的な測定結果を算出するように構成されたものもある。この場合の温度測定は、たとえば血糖値測定装置内に組み込んだ温度センサにおいて、血糖値濃度測定装置の内部温度を測定することにより行われる。一方、温度補正は、バイオセンサに対して温度センサを組み込んでおき、バイオセンサからの温度情報を血糖値測定装置に取り込むことにより行うこともできる。
しかしながら、血糖値測定装置内の温度を測定する方法は、バイオセンサの温度(反応温度)を測定しているわけではないので、必ずしも反応温度を反映しているとはいえない
。一方、バイオセンサに温度センサを設ける方法では、バイオセンサの温度を適切に把握できる反面、個々のバイオセンサ毎に温度センサを設ける必要があり、バイオセンサが高価なものとなってしまう。したがって、バイオセンサを使い捨てとして構成する場合には、バイオセンサに温度センサを設けることは実用的でない。そればかりか、バイオセンサばかりでなく、簡易血糖値測定装置の構成を変更する必要が生じる。たとえば、簡易血糖値測定装置には、バイオセンサからの温度情報を取り込むための入力部を設ける必要が生じる。
特公平8−10208号公報
本発明は、バイオセンサなどの分析用具の温度を、分析用具の構成を変更することなく適切に測定し、反応温度の影響を適切に考慮した濃度演算を行えるようにすることを目的としている。
本発明により提供される分析装置は、試薬部を備えるとともに演算用の情報を出力可能な分析用具を装着するための装着部と、上記演算用の情報に基づいて、試料を分析するための演算を行う演算部と、上記試薬部の反応温度の温度情報を出力する温度検出部と、を備えた分析装置であって、上記装着部は、上記分析用具を載置するためのテーブル部を備えており、上記温度検出部は、上記テーブル部に配置されているとともに、上記装着部に対して上記分析用具を装着したときに、上記試薬部の直下領域または直上領域に位置するように配置されている。
好ましくは、上記テーブル部は、当該分析装置の側方に向けて突出している。
好ましくは、上記装着部には、上記テーブル部に対して上記分析用具を押し付けるための押圧部が配置されている。
上記分析用具として、上記演算用の情報を出力するための出力部を備えたものを使用する場合において、上記押圧部は、好ましくは、上記出力部に接触させ、かつ上記演算用の情報を入力させるための機能を有するものとして構成されている。
好ましくは、上記押圧部は、導体により形成された板バネである。
好ましくは、上記温度情報に基づいて、上記演算部での演算結果を補正する温度補正部をさらに備えている。
好ましくは、上記温度検出部は、接触型の温度センサを有している。
好ましくは、上記温度検出部は、上記温度センサに接触し、かつ上記分析用具に接触させるための接触面を有する熱伝導部を備えている。
好ましくは、上記熱伝導部は、熱伝導率が0.10cal/(℃・cm・sec)よりも大きな材料により形成されている。さらに好ましくは、上記熱伝導部は、熱伝導率が0.15cal/(℃・cm・sec)よりも大きな材料により形成されている。
好ましくは、上記熱伝導部は、鉄、銅、アルミニウム、これらのうちの少なくとも1種を主成分とする合金、あるいはセラミックにより形成されている。
好ましくは、上記温度センサおよび上記熱伝導部は、樹脂パッケージにより封止された状態で上記装着部に配置されている。
好ましくは、上記温度検出部は、接触型の温度センサを有しており、かつ、この温度センサは、上記装着部に対して上記分析用具を装着したときに、上記分析用具に直接接触するように配置されている。
好ましくは、上記温度検出部は、非接触型の温度センサを有している。
好ましくは、上記試薬部は、酵素を含んでいる。この酵素は、好ましくは、グルコースの酸化反応に対する触媒作用を有するものである。
好ましくは、上記分析用具は、使い捨てとして構成されたものである。
本発明の第1の実施の形態に係る分析装置にバイオセンサを装着した状態を示す全体平面図である。 図1に示した分析装置の概略構成を示すブロック図である。 バイオセンサの一例を示す全体斜視図である。 図3に示したバイオセンサの分解斜視図である。 図1のV−V線に沿う断面図である。 補正係数の一覧表の一例を示した表である。 本発明の第2の実施の形態に係る分析装置にバイオセンサを装着した状態を示す要部断面図であって、図1のV−V線に沿う断面に相当するものである。 本発明の第3の実施の形態に係る分析装置にバイオセンサを装着した状態を示す要部断面図であって、図1のV−V線に沿う断面に相当するものである。 本発明の第4の実施の形態に係る分析装置にバイオセンサを装着した状態を示す要部断面図であって、図1のV−V線に沿う断面に相当するものである。
本発明を実施するための最良の形態について、図面を参照して具体的に説明する。
まず、図1ないし図6を参照し、本発明の第1の実施の形態を説明する。
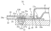
図1および図2に示したように、分析装置X1は、装着部10に対してバイオセンサ2を装着し、試料における特定成分の濃度を測定するものである。
バイオセンサ2は、図3ないし図5に示したように、カバー20、スペーサ21および基板22を有している。
カバー20には穴部23が設けられている。スペーサ21にはスリット24が設けられている。スリット24は、バイオセンサ2の流路25を規定するためのものであり、先端開放部24aを有し、かつ穴部23に連通している。そのため、流路25は、先端開放部24aおよび穴部23を介して外部と連通している。カバー20の先端開放部24aは試料導入口として機能し、穴部23は空気排出口として機能する。したがって、先端開放部(試料導入口)24aから試料が供給された場合には、穴部23を介して流路25の空気が外部に排出される一方、毛細管現象により、試料が穴部23に向けて流路25を進行する。
基板22の上面22aには、作用極26、対極27、および試薬部28が設けられている。
作用極26および対極27は、大部分が基板22の長手方向に延びているとともに、端部26a,27aが基板22の短手方向に延びている。したがって、作用極26および対極27は、全体としてL字状の形態とされている。作用極26および対極27の端部26b,27bは、図5に良く表れているように分析装置X1の端子17と接触させるためのものである。試薬部28は、たとえば固形状であり、図4および図5に良く表われているように作用極26および対極27の端部26a,27aどうしを繋いでいる。この試薬部28は、たとえば相対的に多量の電子伝達物質に対して相対的に少量の酸化還元酵素を分散させたものである。
電子伝達物質としては、たとえば鉄やRuの錯体が使用される。この場合に使用可能な鉄錯体としては、たとえばフェリシアン化カリウムが挙げられ、Ru錯体としては、たとえばNH3を配位子とするものが挙げられる。酸化還元酵素は、分析対象となる特定成分
の種類によって選択される。特定成分としては、たとえばグルコース、コレステロール、乳酸が挙げられる。このような特定成分に対する酸化還元酵素としては、グルコースデヒドロゲナーゼ、グルコースオキシダーゼ、ヘキソキナーゼ、コレステロールデヒドロゲナーゼ、コレステロールオキシダーゼ、乳酸デヒドロゲナーゼ、乳酸オキシダーゼなどが挙げられる。
図1、図2および図5を参照すれば分かるように、分析装置X1は、装着部10の他に、電流値測定部11、温度検出部12、演算部13、温度補正部14、表示部15、電源16、および一対の端子17(図5には1つの端子17が描かれている)を備えている。
図1および図5に示したように、装着部10は、バイオセンサ2を保持するためのもの
であり、挿入部18およびテーブル部19を有している。挿入部18は、バイオセンサ2の端部を挿入するためのものである。テーブル部19は、バイオセンサ2を載置するためのものであり、分析装置X1の側方に突出している。テーブル部19には、温度検出部12を収容するための凹部19aが設けられている。凹部19aは、装着部10にバイオセンサ2を装着したときに、バイオセンサ2における試薬部28の直下に位置するように設けられている。
電流値測定部11は、図面上には明確に表れていないが、一対の端子17と接続されており、一対の端子17の間に電圧を印加したときの応答電流値を測定するためのものである。
温度検出部12は、バイオセンサ2の温度を測定するためのものであり、図5によく表れているように、テーブル部19の凹部19aに収容されている。したがって、装着部10にバイオセンサ2を装着したときに、バイオセンサ2における試薬部28の直下に位置するように配置されている。この温度検出部12は、温度センサ12Aおよび熱伝導部12Bを有している。温度センサ12Aは、接触型として構成されている。熱伝導部12Bは、たとえば熱伝導率が0.10cal/(℃・cm・sec)よりも大きな材料、さらに好ましくは、熱伝導率が0.15cal/(℃・cm・sec)よりも大きな材料により形成されている。このような材料としては、たとえば鉄、銅、アルミニウム、これらのうちの少なくとも1種を主成分とする合金、あるいはセラミックが挙げられる。この熱伝導部12Bは、温度センサ12Aに接触した状態で温度センサ12Aを覆い、かつその表面12bがテーブル部19の表面と面一となるように配置されている。したがって、熱伝導部12Bは、装着部10にバイオセンサ2を装着したときに、バイオセンサ2の基板22に接触することができ、バイオセンサ2の温度が熱伝導部12Bを介して温度センサ12Aにおいて測定される。また、熱伝導部12Bは、温度センサ12Aを覆うようにして配置されているため、温度センサ12Aの表面が損傷し、あるいは埃などの異物が付着することが抑制されている。
図2に示した演算部13は、電流値測定部11における測定結果に基づいて、試料中の特定成分の濃度を演算するためのものである。濃度演算は、たとえば電流値と濃度との関係を示す検量線に対して、測定電流値を当てはめることにより行われる。検量線は、電圧値と濃度との関係として規定してもよく、この場合には、濃度演算は、測定電流値を一定の規則性をもって電圧値に換算した後に、検量線に対して電圧値を当てはめることにより行われる。
温度補正部14は、温度検出部12からの温度情報を考慮して、演算部13での演算結果を補正するものである。この温度補正部14は、たとえば補正係数の一覧表に関するデータを記憶している。一覧表の一例を図6に示したが、一覧表は、温度と演算濃度とをパラメータとし、これらの組み合わせから補正係数を算出できるように作成されたものである。図2に示した温度補正部14では、演算部13での演算結果に、選択された補正係数を掛け合わすことにより、反応温度を考慮した温度補正後の最終濃度が決定される。一覧表は、図6に示したものには限定されない。たとえば、温度や濃度の区分は変更可能であり、補正係数についても、図6に示した値には限定されない。
図2に示した演算部13および温度補正部14のそれぞれは、たとえばCPU、RAMおよびROMにより構成することができるが、1つのCPUに対して、RAMやROMなどの複数のメモリを接続することにより、演算部13および温度補正部14の双方を構築するようにしてもよい。
図1および図2に示した表示部15は、温度補正部14での演算結果の他、エラーなど
を表示するためのものであり、たとえばLCDにより構成されている。
図2に示した電源16は、各部11〜15に電力を供給し、あるいは一対の端子17の間に電圧を印加するためのものである。この電源16は、たとえば乾電池あるいは充電池などの直流電源により構成される。
図5に良く表れているように、各端子17は、バイオセンサ2の作用極26および対極27の間に電圧を印加し、あるいは作用極26と電子伝達物質との間の電子授受量を測定する際に利用されるものである。このため、各端子17は、装着部10にバイオセンサ2を装着したときに、先端部17aがバイオセンサ2の作用極26および対極27の端部26b,27bに接触するように配置されている。各端子17は、導体片を折り曲げた板バネとして構成されている。そのため、装着部10に対してバイオセンサ2を装着した場合には、端子17の先端部17aは、作用極26および対極27の端部26b,27bに押圧力を作用させた状態で、端部26b,27bに接触する。これにより、バイオセンサ2は、テーブル部19に、ひいては温度検出部12に密着した状態とされる。
次に、分析装置X1での濃度測定動作を説明する。
分析装置X1では、まずバイオセンサ2が装着されたか否かが判断される。バイオセンサ2を装着した場合には、図5に良く表れているように作用極26および対極27が端子17と接触し、電流値測定部11において電流の測定が可能となる。したがって、バイオセンサ2が装着されたか否かの判断は、たとえば電流値測定部11において測定される電流値に基づいて行うことができる。バイオセンサ2が装着されたか否かの判断は、光センサや圧力センサなどを用いて行ってもよい。
分析装置X1にバイオセンサ2が装着されたことが確認された場合には、試薬部28に対して試料が供給されたか否かが確認される。このような確認は、電流値測定部11において測定される電流値に基づいて行うことができる。より具体的には、電流値測定部11において測定される電流値が予め定められた閾値に達したか否かにより行うことができる。試薬部28は、試料の供給により溶解し、流路25には液相反応系が構築される。この液相反応系においては、試料中の特定成分が酸化(あるいは還元)される一方で、電子伝達物質が還元(あるいは酸化)される。このため、作用極26と対極27の間に所定値以上の電圧が印加されていれば、還元体化(酸化体化)されていた電子伝達物質が酸化(あるいは還元)されて、これに起因して酸化電流(あるいは還元電流)が生じる。したがって、電流値測定部11において酸化電流(あるいは還元電流)を測定することにより、液相反応系において適切な反応が生じていることが確認できる結果、試薬部28に試料が供給されたことを確認することができる。
試料の供給が確認された場合には、作用極26と対極27の間への電圧の印加を中止する。これにより、液相反応系(流路25)では、還元(もしくは酸化)された電子伝達物質が蓄積されていく。電圧の印加を中止してから所定時間経過した場合には、作用極26と対極27の間に再び電圧を印加する。これにより、電子伝達物質が酸化(もしくは還元)されるため、液相反応系と作用極26との間で電子授受が行われ電流値測定部11において応答電流が測定される。
試料の供給が確認されてから所定時間経過した場合には、その時点において電流値測定部11で測定された応答電流値を取得し、それを演算部13における演算の基礎とする。ただし、試薬部28に試料が供給されたことが確認された後においても作用極26と対極27の間への電圧の印加を継続し、試料の供給が確認されてから所定時間経過したときに電流値測定部11で測定された応答電流値を、演算部13における演算の基礎とする。
一方、温度補正部14では、温度検出部12からの温度情報と、演算部13からの演算結果に基づいて補正係数を決定し、この補正係数を演算部13での演算結果に掛け合わせ、最終的な濃度を決定する。
本実施の形態では、分析装置X1における装着部10に温度検出部12が設けられ、バイオセンサ2の温度を測定できるように構成されている。このため、バイオセンサ2の温度を測定するにあたって、バイオセンサ2に対して温度センサなどの温度検出機能を付与する必要はなく、バイオセンサ2の製造コスト的には有利である。また、温度検出部12が分析装置X1に設けられているものの、この温度検出部12は分析装置X1の内部の温度ではなく、バイオセンサ2の温度を測定するように構成されている。とくに、バイオセンサ2に対して近接して温度検出部12を配置すれば、この温度検出部12によって測定される温度がバイオセンサ2の温度により近づく。そして、試薬部28の直下領域もしくはその近傍領域に位置するように温度検出部12を設ければ、温度検出部12において測定される温度が反応温度により近づいて、反応温度を適切に把握することができるようになる。その結果、反応温度を考慮して、濃度演算を精度良く行えるようになる。
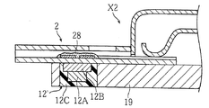
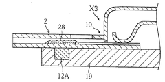
次に、本発明の第2ないし第4の実施の形態について、図7ないし図9を参照して説明する。ただし、図7ないし図9においては、先に説明した本発明の第1の実施の形態と同様な要素については同一の符号を付してあり、重複説明は省略するものとする。
図7に示したように、第2の実施の形態に係る分析装置X2は、先の実施の形態に係る分析装置X1(図5など参照)とは、温度検出部12′の構成が異なっている。温度検出部12′は、温度センサ12Aと熱伝導部12Bとが樹脂パッケージ12Cにより封止されてモジュール化され、モジュールとしてテーブル部19に嵌め込まれている。
図8に示したように、第3の実施の形態に係る分析装置X3は、温度検出部が温度センサ12Aのみによって構成されている。この温度センサ12Aは、表面がテーブル部19において露出するようにして配置されている。これにより、装着部10に対してバイオセンサ2を装着した場合には、温度センサ12Aがバイオセンサ2に直接的に接触する。
図9に示したように、第4の実施の形態に係る分析装置X4は、温度センサ12A″として非接触型のものを用いたものである。温度検出部12″はさらに、透明要素12D″を備えたものとして構成されている。これにより、温度センサ12A″の表面が損傷してしまうことが抑制され、また温度センサ12A″の表面に対する埃などの異物の付着が抑制されている。
本発明は上述した第1ないし第4の実施の形態には限定されず、種々に設計可能である。分析装置X1は、温度補正部14を備えていたが、この温度補正部14は必須の構成ではなく、省略することができる。たとえば、分析装置において温度検出部からの情報に基づいて、表示部においてバイオセンサの温度を表示する一方で、分析装置とは別に補正表(たとえば図6に示したもの)を予め準備しておき、表示された温度と補正表に基づいて、ユーザ自身が実測値を補正するようにすることもできる。
X1 分析装置
2 分析用具
10 装着部
12 温度検出部
13 演算部
14 温度補正部
18 挿入部
19 テーブル部
28 試薬部

Claims (17)

  1. 試薬部を備えるとともに演算用の情報を出力可能な分析用具を装着するための装着部と、上記演算用の情報に基づいて、試料を分析するための演算を行う演算部と、上記試薬部の反応温度の温度情報を出力する温度検出部と、を備えた分析装置であって、
    上記装着部は、上記分析用具を載置するためのテーブル部を備えており、
    上記温度検出部は、上記テーブル部に配置されているとともに、上記装着部に対して上記分析用具を装着したときに、上記試薬部の直下領域または直上領域に位置するように配置されている、温度検出部を備えた分析装置。
  2. 上記テーブル部は、当該分析装置の側方に向けて突出している、請求項1に記載の温度検出部を備えた分析装置。
  3. 上記装着部には、上記テーブル部に対して上記分析用具を押し付けるための押圧部が配置されている、請求項1または2に記載の温度検出部を備えた分析装置。
  4. 上記分析用具として、上記演算用の情報を出力するための出力部を備えたものを使用する場合において、
    上記押圧部は、上記出力部に接触させ、かつ上記演算用の情報を入力させるための機能を有するものとして構成されている、請求項3に記載の温度検出部を備えた分析装置。
  5. 上記押圧部は、導体により形成された板バネである、請求項4に記載の温度検出部を備えた分析装置。
  6. 上記温度情報に基づいて、上記演算部での演算結果を補正する温度補正部をさらに備えている、請求項1ないし5のいずれかに記載の温度検出部を備えた分析装置。
  7. 上記温度検出部は、接触型の温度センサを有している、請求項1ないし6のいずれかに記載の温度検出部を備えた分析装置。
  8. 上記温度検出部は、上記温度センサに接触し、かつ上記分析用具に接触させるための接触面を有する熱伝導部を備えている、請求項7に記載の温度検出部を備えた分析装置。
  9. 上記熱伝導部は、熱伝導率が0.10cal/(℃・cm・sec)よりも大きな材料により形成されている、請求項8に記載の温度検出部を備えた分析装置。
  10. 上記熱伝導部は、熱伝導率が0.15cal/(℃・cm・sec)よりも大きな材料により形成されている、請求項8に記載の温度検出部を備えた分析装置。
  11. 上記熱伝導部は、鉄、銅、アルミニウム、これらのうちの少なくとも1種を主成分とする合金、あるいはセラミックにより形成されている、請求項8に記載の温度検出部を備えた分析装置。
  12. 上記温度センサおよび上記熱伝導部は、樹脂パッケージにより封止された状態で上記装着部に配置されている、請求項8ないし11のいずれかに記載の温度検出部を備えた分析装置。
  13. 上記温度検出部は、接触型の温度センサを有しており、かつ、
    この温度センサは、上記装着部に対して上記分析用具を装着したときに、上記分析用具に直接接触するように配置されている、請求項7に記載の温度検出部を備えた分析装置。
  14. 上記温度検出部は、非接触型の温度センサを有している、請求項1ないし6のいずれかに記載の温度検出部を備えた分析装置。
  15. 上記試薬部は、酵素を含んでいる、請求項1ないし13のいずれかに記載の温度検出部を備えた分析装置。
  16. 上記酵素は、グルコースの酸化反応に対する触媒作用を有するものである、請求項15に記載の温度検出部を備えた分析装置。
  17. 上記分析用具は、使い捨てとして構成されたものである、請求項1ないし16のいずれかに記載の温度検出部を備えた分析装置。
JP2010005529A 2002-01-18 2010-01-14 温度検出部を備えた分析装置 Expired - Fee Related JP4901964B2 (ja)

Priority Applications (1)

Application Number Priority Date Filing Date Title
JP2010005529A JP4901964B2 (ja) 2002-01-18 2010-01-14 温度検出部を備えた分析装置

Applications Claiming Priority (3)

Application Number Priority Date Filing Date Title
JP2002009996 2002-01-18
JP2002009996 2002-01-18
JP2010005529A JP4901964B2 (ja) 2002-01-18 2010-01-14 温度検出部を備えた分析装置

Related Parent Applications (1)

Application Number Title Priority Date Filing Date
JP2003562626A Division JP4505837B2 (ja) 2002-01-18 2003-01-14 温度検出部を備えた分析装置

Publications (2)

Publication Number Publication Date
JP2010091583A true JP2010091583A (ja) 2010-04-22
JP4901964B2 JP4901964B2 (ja) 2012-03-21

Family

ID=27605984

Family Applications (2)

Application Number Title Priority Date Filing Date
JP2003562626A Expired - Lifetime JP4505837B2 (ja) 2002-01-18 2003-01-14 温度検出部を備えた分析装置
JP2010005529A Expired - Fee Related JP4901964B2 (ja) 2002-01-18 2010-01-14 温度検出部を備えた分析装置

Family Applications Before (1)

Application Number Title Priority Date Filing Date
JP2003562626A Expired - Lifetime JP4505837B2 (ja) 2002-01-18 2003-01-14 温度検出部を備えた分析装置

Country Status (5)

Country Link
US (1) US7655456B2 (ja)
EP (1) EP1467201B1 (ja)
JP (2) JP4505837B2 (ja)
CN (1) CN100344963C (ja)
WO (1) WO2003062812A1 (ja)

Cited By (1)

* Cited by examiner, † Cited by third party
Publication number Priority date Publication date Assignee Title
JP2012506536A (ja) * 2008-10-21 2012-03-15 ライフスキャン・インコーポレイテッド ストリップの赤外線温度測定

Families Citing this family (100)

* Cited by examiner, † Cited by third party
Publication number Priority date Publication date Assignee Title
US6036924A (en) 1997-12-04 2000-03-14 Hewlett-Packard Company Cassette of lancet cartridges for sampling blood
US6391005B1 (en) 1998-03-30 2002-05-21 Agilent Technologies, Inc. Apparatus and method for penetration with shaft having a sensor for sensing penetration depth
US8641644B2 (en) 2000-11-21 2014-02-04 Sanofi-Aventis Deutschland Gmbh Blood testing apparatus having a rotatable cartridge with multiple lancing elements and testing means
DE10057832C1 (de) * 2000-11-21 2002-02-21 Hartmann Paul Ag Blutanalysegerät
US8337419B2 (en) 2002-04-19 2012-12-25 Sanofi-Aventis Deutschland Gmbh Tissue penetration device
US7682318B2 (en) 2001-06-12 2010-03-23 Pelikan Technologies, Inc. Blood sampling apparatus and method
AU2002320094A1 (en) 2001-06-12 2002-12-23 Pelikan Technologies, Inc. Integrated blood sampling analysis system with multi-use sampling module
US7344507B2 (en) 2002-04-19 2008-03-18 Pelikan Technologies, Inc. Method and apparatus for lancet actuation
DE60238119D1 (de) 2001-06-12 2010-12-09 Pelikan Technologies Inc Elektrisches betätigungselement für eine lanzette
US20070100255A1 (en) * 2002-04-19 2007-05-03 Pelikan Technologies, Inc. Method and apparatus for body fluid sampling and analyte sensing
US9795747B2 (en) 2010-06-02 2017-10-24 Sanofi-Aventis Deutschland Gmbh Methods and apparatus for lancet actuation
US7981056B2 (en) 2002-04-19 2011-07-19 Pelikan Technologies, Inc. Methods and apparatus for lancet actuation
US7699791B2 (en) 2001-06-12 2010-04-20 Pelikan Technologies, Inc. Method and apparatus for improving success rate of blood yield from a fingerstick
AU2002348683A1 (en) * 2001-06-12 2002-12-23 Pelikan Technologies, Inc. Method and apparatus for lancet launching device integrated onto a blood-sampling cartridge
US9226699B2 (en) 2002-04-19 2016-01-05 Sanofi-Aventis Deutschland Gmbh Body fluid sampling module with a continuous compression tissue interface surface
US7025774B2 (en) * 2001-06-12 2006-04-11 Pelikan Technologies, Inc. Tissue penetration device
JP4209767B2 (ja) 2001-06-12 2009-01-14 ペリカン テクノロジーズ インコーポレイテッド 皮膚の性状の一時的変化に対する適応手段を備えた自動最適化形切開器具
US9427532B2 (en) 2001-06-12 2016-08-30 Sanofi-Aventis Deutschland Gmbh Tissue penetration device
US7344894B2 (en) 2001-10-16 2008-03-18 Agilent Technologies, Inc. Thermal regulation of fluidic samples within a diagnostic cartridge
US7655456B2 (en) * 2002-01-18 2010-02-02 Arkray, Inc. Analytical device having temperature detection unit
US7582099B2 (en) 2002-04-19 2009-09-01 Pelikan Technologies, Inc Method and apparatus for penetrating tissue
US8221334B2 (en) 2002-04-19 2012-07-17 Sanofi-Aventis Deutschland Gmbh Method and apparatus for penetrating tissue
US7291117B2 (en) * 2002-04-19 2007-11-06 Pelikan Technologies, Inc. Method and apparatus for penetrating tissue
US9314194B2 (en) 2002-04-19 2016-04-19 Sanofi-Aventis Deutschland Gmbh Tissue penetration device
US7297122B2 (en) * 2002-04-19 2007-11-20 Pelikan Technologies, Inc. Method and apparatus for penetrating tissue
US7713214B2 (en) 2002-04-19 2010-05-11 Pelikan Technologies, Inc. Method and apparatus for a multi-use body fluid sampling device with optical analyte sensing
US8579831B2 (en) 2002-04-19 2013-11-12 Sanofi-Aventis Deutschland Gmbh Method and apparatus for penetrating tissue
US7331931B2 (en) * 2002-04-19 2008-02-19 Pelikan Technologies, Inc. Method and apparatus for penetrating tissue
US7648468B2 (en) * 2002-04-19 2010-01-19 Pelikon Technologies, Inc. Method and apparatus for penetrating tissue
US7524293B2 (en) * 2002-04-19 2009-04-28 Pelikan Technologies, Inc. Method and apparatus for penetrating tissue
US7717863B2 (en) * 2002-04-19 2010-05-18 Pelikan Technologies, Inc. Method and apparatus for penetrating tissue
US7374544B2 (en) 2002-04-19 2008-05-20 Pelikan Technologies, Inc. Method and apparatus for penetrating tissue
US7244265B2 (en) * 2002-04-19 2007-07-17 Pelikan Technologies, Inc. Method and apparatus for penetrating tissue
US7491178B2 (en) 2002-04-19 2009-02-17 Pelikan Technologies, Inc. Method and apparatus for penetrating tissue
US8372016B2 (en) 2002-04-19 2013-02-12 Sanofi-Aventis Deutschland Gmbh Method and apparatus for body fluid sampling and analyte sensing
US7901362B2 (en) 2002-04-19 2011-03-08 Pelikan Technologies, Inc. Method and apparatus for penetrating tissue
US7371247B2 (en) 2002-04-19 2008-05-13 Pelikan Technologies, Inc Method and apparatus for penetrating tissue
US7976476B2 (en) 2002-04-19 2011-07-12 Pelikan Technologies, Inc. Device and method for variable speed lancet
US8702624B2 (en) 2006-09-29 2014-04-22 Sanofi-Aventis Deutschland Gmbh Analyte measurement device with a single shot actuator
US7485128B2 (en) 2002-04-19 2009-02-03 Pelikan Technologies, Inc. Method and apparatus for penetrating tissue
US7410468B2 (en) * 2002-04-19 2008-08-12 Pelikan Technologies, Inc. Method and apparatus for penetrating tissue
US7229458B2 (en) 2002-04-19 2007-06-12 Pelikan Technologies, Inc. Method and apparatus for penetrating tissue
US7563232B2 (en) 2002-04-19 2009-07-21 Pelikan Technologies, Inc. Method and apparatus for penetrating tissue
US7909778B2 (en) * 2002-04-19 2011-03-22 Pelikan Technologies, Inc. Method and apparatus for penetrating tissue
US9795334B2 (en) * 2002-04-19 2017-10-24 Sanofi-Aventis Deutschland Gmbh Method and apparatus for penetrating tissue
US7674232B2 (en) * 2002-04-19 2010-03-09 Pelikan Technologies, Inc. Method and apparatus for penetrating tissue
US7547287B2 (en) 2002-04-19 2009-06-16 Pelikan Technologies, Inc. Method and apparatus for penetrating tissue
AU2003231749A1 (en) 2002-04-19 2003-11-03 Pelikan Technologies, Inc. Device and method for variable speed lancet
US8267870B2 (en) 2002-04-19 2012-09-18 Sanofi-Aventis Deutschland Gmbh Method and apparatus for body fluid sampling with hybrid actuation
US8360992B2 (en) 2002-04-19 2013-01-29 Sanofi-Aventis Deutschland Gmbh Method and apparatus for penetrating tissue
US7141058B2 (en) 2002-04-19 2006-11-28 Pelikan Technologies, Inc. Method and apparatus for a body fluid sampling device using illumination
US7232451B2 (en) 2002-04-19 2007-06-19 Pelikan Technologies, Inc. Method and apparatus for penetrating tissue
US9248267B2 (en) 2002-04-19 2016-02-02 Sanofi-Aventis Deustchland Gmbh Tissue penetration device
US7892183B2 (en) 2002-04-19 2011-02-22 Pelikan Technologies, Inc. Method and apparatus for body fluid sampling and analyte sensing
US8784335B2 (en) * 2002-04-19 2014-07-22 Sanofi-Aventis Deutschland Gmbh Body fluid sampling device with a capacitive sensor
US7265881B2 (en) * 2002-12-20 2007-09-04 Hewlett-Packard Development Company, L.P. Method and apparatus for measuring assembly and alignment errors in sensor assemblies
US8574895B2 (en) 2002-12-30 2013-11-05 Sanofi-Aventis Deutschland Gmbh Method and apparatus using optical techniques to measure analyte levels
WO2004107975A2 (en) 2003-05-30 2004-12-16 Pelikan Technologies, Inc. Method and apparatus for fluid injection
EP1633235B1 (en) 2003-06-06 2014-05-21 Sanofi-Aventis Deutschland GmbH Apparatus for body fluid sampling and analyte sensing
WO2006001797A1 (en) 2004-06-14 2006-01-05 Pelikan Technologies, Inc. Low pain penetrating
EP1635700B1 (en) 2003-06-13 2016-03-09 Sanofi-Aventis Deutschland GmbH Apparatus for a point of care device
US8282576B2 (en) * 2003-09-29 2012-10-09 Sanofi-Aventis Deutschland Gmbh Method and apparatus for an improved sample capture device
US9351680B2 (en) 2003-10-14 2016-05-31 Sanofi-Aventis Deutschland Gmbh Method and apparatus for a variable user interface
US7822454B1 (en) 2005-01-03 2010-10-26 Pelikan Technologies, Inc. Fluid sampling device with improved analyte detecting member configuration
WO2005065414A2 (en) 2003-12-31 2005-07-21 Pelikan Technologies, Inc. Method and apparatus for improving fluidic flow and sample capture
EP1751546A2 (en) 2004-05-20 2007-02-14 Albatros Technologies GmbH & Co. KG Printable hydrogel for biosensors
WO2005120365A1 (en) 2004-06-03 2005-12-22 Pelikan Technologies, Inc. Method and apparatus for a fluid sampling device
US9775553B2 (en) * 2004-06-03 2017-10-03 Sanofi-Aventis Deutschland Gmbh Method and apparatus for a fluid sampling device
US8652831B2 (en) 2004-12-30 2014-02-18 Sanofi-Aventis Deutschland Gmbh Method and apparatus for analyte measurement test time
ES2516815T3 (es) 2006-01-27 2014-10-31 Isis Pharmaceuticals, Inc. Análogos de ácidos nucleicos bicíclicos modificados en la posición 6
WO2008004565A1 (en) * 2006-07-05 2008-01-10 Panasonic Corporation Method and apparatus for measuring liquid sample
US8088097B2 (en) 2007-11-21 2012-01-03 Glumetrics, Inc. Use of an equilibrium intravascular sensor to achieve tight glycemic control
US8344733B2 (en) 2008-03-27 2013-01-01 Panasonic Corporation Sample measurement device, sample measurement system and sample measurement method
EP2259038A4 (en) * 2008-03-27 2013-01-02 Panasonic Corp AMBIENT TEMPERATURE MEASURING METHOD, LIQUID SAMPLE MEASURING METHOD AND MEASURING DEVICE
JP2009250806A (ja) 2008-04-07 2009-10-29 Panasonic Corp バイオセンサシステム、センサチップおよび血液試料中の分析物濃度の測定方法
WO2009126900A1 (en) 2008-04-11 2009-10-15 Pelikan Technologies, Inc. Method and apparatus for analyte detecting device
JP5487467B2 (ja) * 2008-06-16 2014-05-07 パナソニックヘルスケア株式会社 分析対象物の測定方法、バイオセンサおよび測定器
CA2742149C (en) 2008-11-28 2016-07-05 Panasonic Corporation Sensor chip, biosensor system, method for measuring temperature of biological sample, method for measuring temperature of blood sample, and method for measuring concentration of analyte in blood sample
US20100187132A1 (en) * 2008-12-29 2010-07-29 Don Alden Determination of the real electrochemical surface areas of screen printed electrodes
EP2392921B1 (en) 2009-01-30 2018-11-14 PHC Holdings Corporation Method for measuring temperature of biological sample, method for measuring concentration of biological sample and biosensor system
US9375169B2 (en) 2009-01-30 2016-06-28 Sanofi-Aventis Deutschland Gmbh Cam drive for managing disposable penetrating member actions with a single motor and motor and control system
US20120116706A1 (en) * 2009-06-30 2012-05-10 Arkray, Inc. Analysis Device and Analysis Method
US8568575B2 (en) * 2009-09-02 2013-10-29 Invensys Systems, Inc. Adjustable, retractable probe insertion assembly
EP2473841A1 (en) * 2009-09-02 2012-07-11 Invensys Systems, Inc. Robust potentiometric sensor
JP2013506503A (ja) 2009-09-30 2013-02-28 グルメトリクス, インコーポレイテッド 抗血栓性コーティングを備えたセンサー
US8467843B2 (en) 2009-11-04 2013-06-18 Glumetrics, Inc. Optical sensor configuration for ratiometric correction of blood glucose measurement
US9588210B2 (en) * 2010-02-26 2017-03-07 Arkray, Inc. Analysis apparatus, analysis method and analysis system
JP5338729B2 (ja) * 2010-03-29 2013-11-13 パナソニック株式会社 血液検査装置
US8965476B2 (en) 2010-04-16 2015-02-24 Sanofi-Aventis Deutschland Gmbh Tissue penetration device
US20120053427A1 (en) * 2010-08-31 2012-03-01 Glumetrics, Inc. Optical sensor configuration and methods for monitoring glucose activity in interstitial fluid
JPWO2012127870A1 (ja) 2011-03-23 2014-07-24 パナソニックヘルスケア株式会社 生体情報測定装置
GB201116481D0 (en) * 2011-09-26 2011-11-09 Cellnovo Ltd Monitoring devices
US9823214B2 (en) * 2011-11-01 2017-11-21 Panasonic Healthcare Holdings Co., Ltd. Biological sample measuring apparatus
US9528941B2 (en) 2012-08-08 2016-12-27 Scanadu Incorporated Method and apparatus for determining analyte concentration by quantifying and interpreting color information captured in a continuous or periodic manner
US9171715B2 (en) * 2012-09-05 2015-10-27 Asm Ip Holding B.V. Atomic layer deposition of GeO2
WO2015134820A1 (en) * 2014-03-05 2015-09-11 Scanadu Incorporated Analyte concentration by quantifying and interpreting color
WO2015141510A1 (ja) * 2014-03-20 2015-09-24 パナソニックヘルスケアホールディングス株式会社 生体情報測定装置および生体情報測定装置の制御方法
US9689753B2 (en) * 2014-05-22 2017-06-27 Roche Diabetes Care, Inc. Handheld analyte meter with recharging control for improved analyte testing
JP7337256B2 (ja) * 2020-03-24 2023-09-01 三菱電機株式会社 温度検知装置及び該温度検知装置を備えた空気調和機の室内機
CN112461402A (zh) * 2020-12-08 2021-03-09 台达电子企业管理(上海)有限公司 温度检测系统以及车载充电机

Citations (4)

* Cited by examiner, † Cited by third party
Publication number Priority date Publication date Assignee Title
JPH0380353A (ja) * 1989-08-24 1991-04-05 Nippon Telegr & Teleph Corp <Ntt> 割り込み処理方法とデータチャネル装置
US6066243A (en) * 1997-07-22 2000-05-23 Diametrics Medical, Inc. Portable immediate response medical analyzer having multiple testing modules
JP2001235444A (ja) * 1999-12-23 2001-08-31 Roche Diagnostics Corp 熱伝導性センサー
JP4505837B2 (ja) * 2002-01-18 2010-07-21 アークレイ株式会社 温度検出部を備えた分析装置

Family Cites Families (19)

* Cited by examiner, † Cited by third party
Publication number Priority date Publication date Assignee Title
EP0163694A4 (en) 1983-11-10 1986-05-14 Sentech Medical Corp CLINICAL CHEMISTRY ANALYZER.
JP2510702Y2 (ja) * 1989-12-07 1996-09-18 株式会社エー・アンド・デイ 使い捨て型化学センサ
US5320732A (en) * 1990-07-20 1994-06-14 Matsushita Electric Industrial Co., Ltd. Biosensor and measuring apparatus using the same
JPH05126792A (ja) 1991-11-06 1993-05-21 Toto Ltd 濃度測定装置とバイオセンサ及び尿中成分測定方法
US5232667A (en) * 1992-05-21 1993-08-03 Diametrics Medical, Inc. Temperature control for portable diagnostic system using a non-contact temperature probe
US5405511A (en) * 1993-06-08 1995-04-11 Boehringer Mannheim Corporation Biosensing meter with ambient temperature estimation method and system
JPH0810208A (ja) 1994-06-30 1996-01-16 Toshiba Corp 食器洗浄機
CN1177740A (zh) * 1996-07-19 1998-04-01 泰里迪尼工业公司 温度补偿电化学气体探测器和跟踪气体温度变化的方法
FR2760533B1 (fr) * 1997-03-06 1999-05-28 Alpha Mos Sa Appareil et procede de caracterisation de liquides
US6103033A (en) * 1998-03-04 2000-08-15 Therasense, Inc. Process for producing an electrochemical biosensor
AU3849799A (en) 1998-05-20 1999-12-06 Arkray, Inc. Method and apparatus for electrochemical measurement using statistical technique
JP2000019146A (ja) * 1998-07-06 2000-01-21 Matsushita Electric Ind Co Ltd 基質の定量法並びにそれに用いるバイオセンサおよび測定装置
JP2001194334A (ja) 1999-10-28 2001-07-19 Nec Corp 生化学センサカートリッジ及びそれを備えた生化学センサ
DE19952215C2 (de) 1999-10-29 2001-10-31 Roche Diagnostics Gmbh Testelement-Analysesystem
DE10032015A1 (de) 2000-07-01 2002-01-10 Roche Diagnostics Gmbh Testelement-Analysegerät
JP2002050205A (ja) 2000-08-01 2002-02-15 Eidai Co Ltd 幅木装置
JP3709919B2 (ja) * 2000-08-01 2005-10-26 日本電気株式会社 液体試料中の成分の測定装置
JP2002048787A (ja) 2000-08-04 2002-02-15 Toto Ltd 排泄物測定装置の温度校正機構
US6766817B2 (en) * 2001-07-25 2004-07-27 Tubarc Technologies, Llc Fluid conduction utilizing a reversible unsaturated siphon with tubarc porosity action

Patent Citations (4)

* Cited by examiner, † Cited by third party
Publication number Priority date Publication date Assignee Title
JPH0380353A (ja) * 1989-08-24 1991-04-05 Nippon Telegr & Teleph Corp <Ntt> 割り込み処理方法とデータチャネル装置
US6066243A (en) * 1997-07-22 2000-05-23 Diametrics Medical, Inc. Portable immediate response medical analyzer having multiple testing modules
JP2001235444A (ja) * 1999-12-23 2001-08-31 Roche Diagnostics Corp 熱伝導性センサー
JP4505837B2 (ja) * 2002-01-18 2010-07-21 アークレイ株式会社 温度検出部を備えた分析装置

Cited By (1)

* Cited by examiner, † Cited by third party
Publication number Priority date Publication date Assignee Title
JP2012506536A (ja) * 2008-10-21 2012-03-15 ライフスキャン・インコーポレイテッド ストリップの赤外線温度測定

Also Published As

Publication number Publication date
WO2003062812A1 (fr) 2003-07-31
JP4505837B2 (ja) 2010-07-21
EP1467201A4 (en) 2008-12-24
US20050019219A1 (en) 2005-01-27
EP1467201B1 (en) 2018-10-31
JPWO2003062812A1 (ja) 2005-05-26
US7655456B2 (en) 2010-02-02
JP4901964B2 (ja) 2012-03-21
CN1618015A (zh) 2005-05-18
EP1467201A1 (en) 2004-10-13
CN100344963C (zh) 2007-10-24

Similar Documents

Publication Publication Date Title
JP4901964B2 (ja) 温度検出部を備えた分析装置
US7491310B2 (en) Concentration measuring method and concentration measuring apparatus
CN100516858C (zh) 分析装置
CN101755043B (zh) 电化学试条
CN103392129B (zh) 具有改进的响应的电化学分析中的电容检测
CN102918388B (zh) 电化学分析物测量方法和系统
EP2149792B1 (en) Sample analyzing method
KR101966611B1 (ko) 오류 검출을 갖는 포도당 전기화학 측정 방법
CN102770763B (zh) 电化学分析中的电容检测
KR101798836B1 (ko) 헤마토크릿 보상을 갖는 분석물 측정 방법 및 시스템
US8742773B2 (en) Capacitance detection in electrochemical assay with improved response
JP4352152B2 (ja) 分析用具
US20060042942A1 (en) Analyzing device
WO2011081211A1 (ja) バイオセンサを有する測定装置
JP2011137767A (ja) バイオセンサ、及び当該バイオセンサを有する測定装置
KR20190045462A (ko) 바이오 측정 장치
JP2009276276A (ja) 測定デバイス及びそれを用いた測定方法
HK1200529B (en) System and method for evaluating the condition of a test strip
TWM507430U (zh) 生化反應傳導電連接器
KR20140015386A (ko) 개선된 응답을 갖는 전기화학적 분석에서의 커패시턴스 검출

Legal Events

Date Code Title Description
A621 Written request for application examination

Free format text: JAPANESE INTERMEDIATE CODE: A621

Effective date: 20100212

A521 Request for written amendment filed

Free format text: JAPANESE INTERMEDIATE CODE: A523

Effective date: 20101216

A131 Notification of reasons for refusal

Free format text: JAPANESE INTERMEDIATE CODE: A131

Effective date: 20110405

A521 Request for written amendment filed

Free format text: JAPANESE INTERMEDIATE CODE: A523

Effective date: 20110602

A131 Notification of reasons for refusal

Free format text: JAPANESE INTERMEDIATE CODE: A132

Effective date: 20111004

A521 Request for written amendment filed

Free format text: JAPANESE INTERMEDIATE CODE: A523

Effective date: 20111205

TRDD Decision of grant or rejection written
A01 Written decision to grant a patent or to grant a registration (utility model)

Free format text: JAPANESE INTERMEDIATE CODE: A01

Effective date: 20111227

A01 Written decision to grant a patent or to grant a registration (utility model)

Free format text: JAPANESE INTERMEDIATE CODE: A01

A61 First payment of annual fees (during grant procedure)

Free format text: JAPANESE INTERMEDIATE CODE: A61

Effective date: 20111227

R150 Certificate of patent or registration of utility model

Ref document number: 4901964

Country of ref document: JP

Free format text: JAPANESE INTERMEDIATE CODE: R150

Free format text: JAPANESE INTERMEDIATE CODE: R150

FPAY Renewal fee payment (event date is renewal date of database)

Free format text: PAYMENT UNTIL: 20150113

Year of fee payment: 3

FPAY Renewal fee payment (event date is renewal date of database)

Free format text: PAYMENT UNTIL: 20150113

Year of fee payment: 3

R250 Receipt of annual fees

Free format text: JAPANESE INTERMEDIATE CODE: R250

R250 Receipt of annual fees

Free format text: JAPANESE INTERMEDIATE CODE: R250

R250 Receipt of annual fees

Free format text: JAPANESE INTERMEDIATE CODE: R250

R250 Receipt of annual fees

Free format text: JAPANESE INTERMEDIATE CODE: R250

R250 Receipt of annual fees

Free format text: JAPANESE INTERMEDIATE CODE: R250

R250 Receipt of annual fees

Free format text: JAPANESE INTERMEDIATE CODE: R250

R250 Receipt of annual fees

Free format text: JAPANESE INTERMEDIATE CODE: R250

R250 Receipt of annual fees

Free format text: JAPANESE INTERMEDIATE CODE: R250

LAPS Cancellation because of no payment of annual fees