JP2010091274A - 積載量計測装置及び積載量計測システム - Google Patents

積載量計測装置及び積載量計測システム Download PDF

Info

Publication number
JP2010091274A
JP2010091274A JP2008258251A JP2008258251A JP2010091274A JP 2010091274 A JP2010091274 A JP 2010091274A JP 2008258251 A JP2008258251 A JP 2008258251A JP 2008258251 A JP2008258251 A JP 2008258251A JP 2010091274 A JP2010091274 A JP 2010091274A
Authority
JP
Japan
Prior art keywords
load
change pattern
signal
section
amount
Prior art date
Legal status (The legal status is an assumption and is not a legal conclusion. Google has not performed a legal analysis and makes no representation as to the accuracy of the status listed.)
Granted
Application number
JP2008258251A
Other languages
English (en)
Other versions
JP5203119B2 (ja
Inventor
Tetsuji Takamori
徹示 高森
Masahiko Matsumiya
昌彦 松宮
Yuichi Kobayashi
裕一 小林
Current Assignee (The listed assignees may be inaccurate. Google has not performed a legal analysis and makes no representation or warranty as to the accuracy of the list.)
Yazaki Corp
Original Assignee
Yazaki Corp
Priority date (The priority date is an assumption and is not a legal conclusion. Google has not performed a legal analysis and makes no representation as to the accuracy of the date listed.)
Filing date
Publication date
Application filed by Yazaki Corp filed Critical Yazaki Corp
Priority to JP2008258251A priority Critical patent/JP5203119B2/ja
Publication of JP2010091274A publication Critical patent/JP2010091274A/ja
Application granted granted Critical
Publication of JP5203119B2 publication Critical patent/JP5203119B2/ja
Expired - Fee Related legal-status Critical Current
Anticipated expiration legal-status Critical

Links

Images

Landscapes

  • Force Measurement Appropriate To Specific Purposes (AREA)

Abstract

【課題】外乱等の影響を受けることなく、少量の積載量でも高感度で検出する。
【解決手段】荷重センサ7が出力する積載車両の車軸に加わる荷重に応じた荷重信号に基づいて、前記積載車両が停車してから走行開始するまでの間の計測区間に積載した区間積載量を計測する積載量計測装置10において、前記積載車両に対する積載に応じた前記荷重信号の積載変化パターンであるか否かを区別するための変化パターン情報を記憶する変化パターン情報記憶手段D1と、前記荷重センサ7が前記計測区間中に時系列的に出力した荷重信号と前記変化パターン情報との比較結果に基づいて、前記積載車両に対する積載に応じて変化した前記荷重信号の積載変化パターンを検出する積載変化パターン検出手段P1と、前記積載変化パターン検出手段P1が検出した積載変化パターンの前記荷重信号に基づいて前記区間積載量を計測する区間積載量計測手段P2と、を有する
【選択図】図1

Description

本発明は、荷重センサが出力する積載車両の車軸に加わる荷重に応じた荷重信号に基づいて、前記車両が停車してから走行開始するまでの計測区間に積載した区間積載量を計測する積載量計測装置及び積載量計測システムに関するものである。
車両の積載重量の計測は、主としてトラック等の大型車両を対象とし、例えば過積載による横転等の交通事故や車両劣化の促進を防ぐ目的で行われている。在来の車両の積載重量計測は、俗に看貫(かんかん)と呼ばれる台秤に計測対象の車両を載せて行っていたが、施設が大掛かりで広い設置スペースを必要とするため、設置できる台秤の台数が制限され多くの車両を計測することができない他、設置コストが嵩んでしまう。
そこで、車両自体に搭載して積載重量を計測する自重計(積載量計測装置)が提供されている。車両搭載型の従来の自重計では、例えば、フロント、リアの両アクスル(車軸)のに左右両端部に、例えばひずみ式ゲージセンサ等、重量測定用の荷重センサを取り付け、前後左右の各タイヤに掛る荷重に比例するそれら各荷重センサの出力の合計により積載重量を計測するようにしている。
本出願人は、特許文献1に示すように、センサ温度の上昇、車両停止直後の車軸の温度上昇等によって荷重センサと車軸との温度差に急激な変化が発生すると、温度による膨張量に差が生じてしまい、この差が荷重以外の歪みとしてセンサが検出してしまい、これが誤差となって荷重センサの出力に含まれてしまうために、その温度差による誤差を補正するセンサ信号補正装置を提案してきた。
特開2004−132871号公報
近年では、過積載防止、資源ごみ分別収集、ごみの料金課金、等の観点からパッカー車(機械式ごみ収集車)への自重計(荷重センサ)の搭載が望まれている。そして、パッカー車は、図9に示すように、停車した後、PTO(Power Take Off)スイッチがONされて、収集ごみを自動的に荷箱に押し込み圧縮する装置に動力が切り替えられると、作業者等によるごみの積み込み作業が開始される。その積み込み作業が終了すると、パッカー車は、PTOスイッチがOFFされることで、動力を車両側に切り替えて、次の集積場所に移動することになる。そして、パッカー車は集積場所に停車する毎に、上述した集積作業が繰り返される。
パッカー車等でごみ集積場所を1巡回回収(例えば、空荷〜最大積載2トン等)する場合、ごみ積載作業は数十回におよび、その際の作業内容として、1回あたりの積載量が5kg程度(最大積載量の約0.25%)と極端に少ない場合や、パッカー車を近づけられない集積場所については、停車後にごみをパッカー車まで集積場所から移動してきて積載作業を行うことが知られている。
しかしながら、荷重センサがパッカー車の車軸に直付けされている場合、停車前後の車軸の温度変化によっては積載量が変化していないにもかかわらず、荷重センサの出力がゆっくりと変化してしまう現象(温度によるドリフト等)が従来から知られている。そのため、パッカー車を停車した状態で作業し続けると、積載物をパッカー車に運び込んでいるうちに、積載量が変動してしまうという問題があった。また、計量は屋外における外乱(風によるゆらぎ等)の影響を受けながら作業を行うため、1回あたりの積載量が少ないパッカー車等の場合は、積載作業に応じた積載量の変化なのか、それとも外乱等による積載量の変化なのかを判断することが困難であった。そのため、パッカー車等に自重計を搭載するには、外乱等の影響を受けることなく、少量の積載量を高感度で検出することが望まれていたため、上述した問題点を解消できないと、パッカー車等の積載車両に自重計を普及させることが困難であった。
よって本発明は、上述した問題点に鑑み、外乱等の影響を受けることなく、少量の積載量でも高感度で検出することができる積載量計測装置及び積載量計測システムを提供することを課題としている。
上記課題を解決するため本発明によりなされた請求項1記載の積載量計測装置は、図1の基本構成図に示すように、荷重センサ7が出力する積載車両の車軸に加わる荷重に応じた荷重信号に基づいて、前記積載車両が停車してから走行開始するまでの間の計測区間に積載した区間積載量を計測する積載量計測装置10において、前記積載車両に対する積載に応じた前記荷重信号の積載変化パターンであるか否かを区別するための変化パターン情報を記憶する変化パターン情報記憶手段D1と、前記荷重センサ7が前記計測区間中に時系列的に出力した荷重信号と前記変化パターン情報との比較結果に基づいて、前記積載車両に対する積載に応じて変化した前記荷重信号の積載変化パターンを検出する積載変化パターン検出手段P1と、前記積載変化パターン検出手段P1が検出した積載変化パターンの前記荷重信号に基づいて前記区間積載量を計測する区間積載量計測手段P2と、を有することを特徴とする。
上記請求項1に記載した本発明の積載量計測装置によれば、変化パターン情報記憶手段D1には、予め行われた実験、シミュレーション等によって求められた変化パターン情報が記憶される。そして、積載車両が停車した後の計測区間中に、荷重センサ7が時系列的に出力した荷重信号の中から積載変化パターン検出手段P1によって積載変化パターンが変化パターン情報と荷重信号とに基づいて検出されると、区間積載量計測手段P2によって当該積載変化パターンに対応した荷重信号に基づいて区間積載量が計測される。
請求項2記載の発明は、図1の基本構成図に示すように、請求項1に記載の積載量計測装置において、前記荷重信号が、周波数信号であり、前記変化パターン情報が、前記荷重センサ7から時系列的に取得した荷重信号の振幅拡散を前記積載変化パターンとして区別するための情報であることを特徴とする。
上記請求項2に記載した本発明の積載量計測装置によれば、荷重センサ7が時系列的に出力した周波数信号である荷重信号が積載作業等によって変化して該荷重信号が振幅拡散すると、積載変化パターン検出手段P1によってその振幅拡散が積載変化パターンとして検出される。
請求項3記載の発明は、図1の基本構成図に示すように、請求項2に記載の積載量計測装置において、前記積載変化パターン検出手段P1が、前記荷重センサ7から時系列的に取得した荷重信号の振幅拡散とその振幅収束とに基づいて前記積載変化パターンを検出する手段であることを特徴とする。
上記請求項3に記載した本発明の積載量計測装置によれば、積載変化パターン検出手段P1によって荷重センサ7から時系列的に取得した荷重信号の振幅拡散とその振幅収束の組み合わせ等に基づいて積載変化パターンが検出される。
上記課題を解決するため本発明によりなされた請求項4記載の積載量計測システムは、図1の基本構成図に示すように、積載車両の車軸に加わる荷重に応じた荷重信号を出力する荷重センサ7と、請求項1〜3の何れか1項に記載の積載量計測装置10と、前記積載量計測装置10の区間積載量計測手段P2が計測した区間積載量を前記積載車両の乗員に対して出力する出力装置13と、を有することを特徴とする。
上記請求項4に記載した本発明の積載量計測システムによれば、荷重センサ7によって荷重信号を時系列的に出力している状態で積載車両が停車すると、積載量計測装置10は荷重信号から積載変化パターンを検出すると、該積載変化パターンに対応した荷重信号に基づいて区間積載量を計測する。そして、出力装置13は、その区間積載量を積載車両の乗員に対して出力する。
以上説明したように請求項1に記載した本発明の積載量計測装置によれば、荷重センサが時系列的に出力した荷重信号と変化パターン情報とに基づいて積載変化パターンを検出すると、当該積載変化パターンに対応した荷重信号に基づいて区間積載量を計測するようにしたことから、車軸の温度変化、外乱等による荷重信号の変化を排除して、積載変化パターンに対応した荷重信号のみに基づいた区間積載量を計測することができるため、測定精度の向上を図ることができる。従って、測定精度の向上によって荷重信号の少量の変化でも高感度で計測することができるため、積載車両への普及に貢献することができると共に、この区間積載量によって過積載防止、資源ごみ分別収集、ごみの料金課金、等を支援することができる。
請求項2に記載した本発明によれば、請求項1に記載の発明の効果に加え、荷重センサが時系列的に出力した荷重信号の振幅拡散に基づいて積載変化パターンを検出するようにしたことから、積載作業に応じた荷重信号の変化と温度変化等による荷重信号の変化とを正確に区別することができるため、測定精度のさらなる向上を図ることができる。
請求項3に記載した本発明によれば、請求項2に記載の発明の効果に加え、荷重センサから出力される荷重信号の振幅拡散とその振幅収束とに基づいて積載変化パターンを検出するようにしたことから、積載物の積載に荷重信号が大きく変動し、その後徐々に減衰するという積載作業時の特有の波形パターンを検出することができるため、パッカー車等の積載車両のように短時間で積載量が少量ずつ変化する場合でも、高精度且つ迅速な計測を行うことができる。
以上説明したように請求項4に記載した本発明の積載量計測システムによれば、積載量計測装置が荷重センサによって時系列的に出力された荷重信号と変化パターン情報とに基づいて積載変化パターンを検出すると、当該積載変化パターンに対応した荷重信号に基づいて区間積載量を計測し、該区間積載量を出力装置が積載車両の乗員に対して出力するようにしたことから、乗員は正確な区間積載量を確認しながら積載作業を行うことができるため、過積載防止、資源ごみ分別収集、ごみの料金課金、等を実現することができる。
以下、本発明に係る積載量計測装置を有する積載量計測システムの一実施形態を、図2〜図8の図面を参照して以下に説明する。
図2及び図3において、積載量計測装置10は、積載車両であるパッカー車1の運転席に表示内容が視認可能に搭載されている。積載量計測装置10は、パッカー車1が停車してから走行開始するまでの間に定められた計測区間、即ち1回の停車中に積載された区間積載量を計測する。
なお、本実施形態では、積載車両をパッカー車1とした場合について説明するが、本発明はこれに限定するものではなく、例えば、各種ゴミ収集車等の停車して直ぐに積み卸し作業が行われる特装車両が挙げられる。そして、パッカー車1は、キャブ1aと、荷箱1bと、テールゲート1cと、ACC(accessory)スイッチ2と、テールゲートセンサ3と、PTO(Power Take Off)スイッチ4と、シートスイッチ5と、を有している。
パッカー車1は、積載場所等に停車すると、テールゲート1cを閉じた状態で、作業員によってホッパーに収集されたごみを自動的に荷箱1bに押し込み圧縮する構成となっている。パッカー車1は、クリーンセンターなどの処理施設に収集したごみを搬入し、テールゲート1cを上げ、その開口に向けて押し出し板を移動させることで、荷箱1bの中のごみを全て押し出して排出する。
ACCスイッチ2は、車両における主に計器やラジオなどの電装品に電力を供給する電気系統であるACC系のスイッチであり、ON状態で計器の照明やオーディオ機器の作動が可能になる。テールゲートセンサ3は、テールゲート1cが開状態であるか閉状態であるかを示すテールゲート信号を出力する。PTOスイッチ4は、車両の動力を切り替えるスイッチであり、ONされると、収集ごみを自動的に荷箱1bに押し込み圧縮する装置に動力が切り替え、また、OFFされると、動力を車両側に切り替える。
シートスイッチ5は、メンブレンスイッチであり、パッカー車1のキャブ1a内の座席シートの各々に設けられて、乗員が乗車しているか降車しているかを示す乗降信号をMPU11に出力する。そして、CPU11aは、その乗降信号に基づいて乗員の乗降状態を検出する。
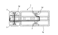
複数の荷重センサ7は、図4に示すように、パッカー車1の前後の車軸1dにおけるタイヤ寄りの左右に設けられた歪み式のセンシング素子となっている。荷重センサ7は、パッカー車1の荷箱1bにおける荷重に応じて変化する車軸1dの歪み量を示すパルス信号(周波数信号)を発生する。
図2において、積載量計測システム100は、上述した複数の荷重センサ7と、積載量計測装置10と、を有している。積載量計測装置10は、MPU11と、メモリ12と、表示部13と、インタフェース(I/F)部14と、を有して構成している。MPU11には、メモリ12と表示部13とI/F部14とが電気的に接続されている。
MPU11は、周知のように、予め定めたプログラムに従って各種の処理や制御などを行う中央演算処理装置(CPU)11a、CPU11aのためのプログラム等を格納した読み出し専用のメモリであるROM11b、各種のデータを格納するとともにCPU11aの処理作業に必要なエリアを有する読み出し書き込み自在のメモリであるRAM11c等を有して構成している。
ROM11bは、CPU11aを図1に示す請求項中の積載変化パターン検出手段P1及び区間積載量計測手段P2等の各種手段として機能させるための各種プログラムを記憶している。
メモリ12は、電力供給が断たれた場合でも、格納された各種データの保持が可能であり、CPU11aの処理作業に必要な各種格納エリアを有する電気的消去/書き換え可能なメモリ(EEPROM)等が用いられる。メモリ12は、サンプリングした荷重信号の値である荷重データを時系列的に複数記憶する記憶領域を有している。
さらに、メモリ12は、今回の作業でパッカー車1に搭乗する乗員の各々の体重を示す体重情報と、変化パターン情報と、を記憶している。そして、体重情報は、各乗員の体重データと、各乗員を識別するための識別データ等の各種データを有している。なお、本実施形態では、各乗員をシートスイッチのON/OFF状態によって検出するため、識別データはそのシートスイッチと乗員を関連付けるデータ構造となっている。
変化パターン情報は、パッカー車1に対する積載に応じた荷重信号の積載変化パターンであるか否かを区別するための情報となっている。例えば、荷重信号が周波数信号の場合、振幅拡散の単位時間当たりの増加量が、外乱等によるものか積載物の積載によるものなのかを区別するための閾値データ、判定範囲データ等を有する変化パターン情報として作成される。なお、変化パターン情報の設定方法の一例としては、パッカー車1に対して複数の異なる重量の積載物を積載した時の各々の荷重信号の波形パターンに基づいた判定条件(例えば、拡散及び収束の判定用閾値、継続時間、等)が、実験、シミュレーション、等によって定められる。
表示部13は、周知である液晶ディスプレイ、セグメント表示装置等の各種表示装置が用いられる。表示部13は、CPU11aの制御によって計測した積載重量等の各種情報を表示する。そして、I/F部14は、上述したACCスイッチ2、テールゲートセンサ3、PTOスイッチ4、複数の荷重センサ7、等が電気的に接続されており、それらから入力された信号を変換してMPU11に出力する。
I/F部14は、励磁電流の供給により各荷重センサ7を励磁させ、各荷重センサ7の励磁によって生じる交流電圧を検出して直流電圧に変換し、該直流電圧の電圧値に比例した周波数のパルス信号に変換してCPU11aに出力する。そして、CPU11aは、入力されるパルス信号に基づいて周波数を計測して時系列的にメモリ12等に記憶する。
また、I/F部14は、ACCスイッチ2、テールゲートセンサ3、PTOスイッチ4、シートスイッチ5のそれぞれの状態信号をCPU11aに出力する。そして、CPU11aは、各状態信号に基づいて、ACCスイッチ2、テールゲートセンサ3、PTOスイッチ4、シートスイッチ5の各状態を検出する。
次に、上述した構成の積載量計測装置10が用いる「指数平滑平均」と「MACD(Moving Average Convergence and Divergence)=移動平均収束拡散法」の概略を説明する。
指数平滑平均は、時系列データから将来値を予測する際に利用される代表的な時系列分析手法である。そして、指数平滑平均は、得られた過去データのうち、より新しいデータに大きなウェイトを置き、過去になるほど小さな(指数関数的に減少する)ウェイトを掛けて移動平均を算出する加重平均法の1つである。
本願発明に関する指数平滑平均の計算式(1次式)は、次の式1で表すことができる。
予測値=前回予測値+α*(実測値−前回予測値) ・・・ (式1)
なお、αは係数(平滑定数)を示し、0<α<1の範囲で設定される。そして、αは1に近いほど直前値を重視し、0に近いほど過去の経過を重視することになるため、一定期間内におけるデータ数nの移動平均を考える場合は、α=2/(n+1)と設定するのが一般的である。
また、MACDは、区間の異なる2つの指数平滑平均の差から、移動平均の変動を予測する時系列分析手法である。そして、本発明に係るMACDの計算式は次の式2で表すことができる。
MACD=(長期指数平滑平均)−(短期指数平滑平均) ・・・ (式2)
MACDは、移動平均曲線がトレンドに対してどれだけ乖離しているかを表す先行指標であり、急激な変動が発生した後に、それが収束に向かうポイントを時系列データの中で把握することができる。即ち、MACDの数値が順次小さくなっていけば収束、また、順次大きくなっていれば拡散にそれぞれ向かっていると推測することができる。よって、閾値等の判定条件を任意に定め、MACDの数値がそこに至る経過を監視すれば、変動の拡散及び収束をより迅速に推測することができる。
本実施形態では、積載量計測装置10が所定のサンプリング間隔で荷重信号を荷重データとしてサンプリングしている場合に、例えば、メモリ12に時系列的に記憶している複数の荷重データの中から直近の3つの荷重データに基づいて短期指数平滑平均を算出し、また、その3つの荷重データを含む直近の6つの荷重データに基づいて短期指数平滑平均を算出する場合について説明する。
よって、メモリ12は、荷重信号の振幅拡散及び振幅収束を検出するために、例えば図5に示すように、上述した変化パターン情報、短期指数平滑平均BMA1、長期指数平滑平均BMA2、MACD、拡散フラグ、荷重、等の各種データを記憶することになる。なお、荷重データd1〜d6は、4つの荷重センサ7の各々に対応して設けている。
次に、上述した構成の積載量計測装置10のCPU11aが実行する荷重信号のサンプリング処理の一例を、図6のフローチャートを参照して以下に説明する。なお、サンプリング処理は、積載量計測装置10の電源断、上位処理からの強制終了等に応じて処理を終了することを前提としている。そして、本実施形態では、説明を簡単化するために、CPU11aは荷重センサ7の個数分、サンプリング処理を実行することを前提に説明するが、本発明は1つのサンプリング処理によって複数の荷重センサ7からの各荷重信号をサンプリングする実施形態としても差し支えない。
CPU11aによってROM11bに予め記憶されたサンプリング処理プログラムが実行されることで、ステップS11において、メモリ12の荷重データd1〜d5が荷重データd2〜d6に移動されると共に、I/F部14を介して各荷重センサ7から入力されるパルス信号に基づいて周波数が計測され、それが荷重データd1としてメモリ12に記憶され、その後ステップS12に進む。
ステップS12において、メモリ12から前回の短期指数平滑平均BMA1及び長期指数平滑平均BMA2がRAM11cに読み込まれ、ステップS13において、今回の短期指数平滑平均BMA1及び長期指数平滑平均BMA2が算出されてRAM11cに記憶され、その後ステップS14に進む。
なお、短期指数平滑平均BMA1及び長期指数平滑平均BMA2の算出方法の一例としては、短期指数平滑平均BMA1=前回の短期指数平滑平均BMA1+2*(今回の荷重データd1−前回の短期指数平滑平均BMA1)/(n1+1)の算出式で算出する。そして、本実施形態では上述したように、n1=3(短期の場合に有効とするサンプル数)となっている。同様に、長期指数平滑平均BMA2=前回の長期指数平滑平均BMA2+2*(今回の荷重データd1−前回の長期指数平滑平均BMA2)/(n2+1)の算出式で算出する。なお、本実施形態では上述したように、n2=6(長期の場合に有効とするサンプル数)となっている。
ステップS14において、RAM11cに記憶している今回の長期指数平滑平均BMA2から今回の短期指数平滑平均BMA1が差し引かれることで、MACD(=BMA2−BMA1)が算出されてメモリ12に記憶され、ステップS15において、RAM11cに今回算出した短期指数平滑平均BMA1及び長期指数平滑平均BMA2がメモリ12に記憶され、その後ステップS11に戻り、予め定められたサンプリング時間毎に上述した一連の処理が繰り返される。
次に、上述した構成の積載量計測装置10のCPU11aが実行する区間積載量計測処理の一例を、図7のフローチャートを参照して以下に説明する。なお、区間積載量計測処理は、積載量計測装置10の電源断、上位処理からの強制終了等に応じて処理を終了することを前提としている。
CPU11aによってROM11bに予め記憶された区間積載量計測処理プログラムが実行されることで、ステップS31において、I/F部14を介してPTOスイッチ4の状態信号が取得され、該状態信号に基づいて停車中のパッカー車1のPTOスイッチ4がON状態(PTO−ON)であるか否かが判定される。PTO−ONではないと判定された場合(S31でN)、この判定処理を繰り返すことで、パッカー車1の積み込み作業開始を待つ。一方、PTO−ONであると判定された場合(S31でY)、積み込み作業が開始されたと見なして、ステップS32に進む。
ステップS32において、メモリ12に時系列的に記憶しているMACDと前記変化パターン情報との比較結果に基づいて、積載作業に応じた荷重信号の振幅拡散が生じているか否かが判定される。振幅拡散が生じていると判定された場合(S32でY)、ステップS33において、メモリ12の拡散フラグにONが設定され、その後ステップS38に進む。一方、振幅拡散が生じていないと判定された場合(S32でN)、ステップS34に進む。
ステップS34において、メモリ12の拡散フラグがONであるか否かが判定される。拡散フラグがONではないと判定された場合(S34でN)、ステップS38に進む。一方、拡散フラグがONであると判定された場合(S34でY)、ステップS35において、メモリ12に時系列的に記憶しているMACDと前記変化パターン情報との比較結果に基づいて、積載作業に応じた変化した荷重信号の振幅収束が生じているか否かが判定される。振幅収束が生じていないと判定された場合(S35でN)、ステップS38に進む。一方、振幅収束が生じていると判定された場合(S35でY)、ステップS36に進む。
ステップS36において、メモリ12に記憶されている最新の荷重データd1〜d6、重量換算係数、等に基づいて最新の積載重量が算出され、この積算重量がメモリ12の区間積載量に積算され、該区間積載量の表示(出力)が表示部13に要求されることで、表示部13に区間積載量が表示され、ステップS37において、メモリ12の拡散フラグにOFFが設定され、その後ステップS38に進む。
ステップS38において、I/F部14を介してPTOスイッチ4の状態信号が取得され、該状態信号に基づいて停車中のパッカー車1のPTOスイッチ4がOFF状態(PTO−OFF)であるか否かが判定される。PTO−OFFではないと判定された場合(S38でN)、積載作業中であると見なされ、ステップS32に戻り、一連の処理が繰り返される。一方、PTO−OFFであると判定された場合(S38でY)、ステップS39に進む。
ステップS39において、I/F部14を介してシートスイッチ5の状態信号が取得され、該状態信号に基づいてパッカー車1の乗降状態が検出され、ステップS40において、その乗降状態と予め定められた補正判定情報との比較結果に基づいて、補正する必要が無しか否かが判定される。補正無しと判定された場合(S40でY)、ステップS42に進む。一方、補正無しではない、つまり補正が必要であると判定された場合(S38でN)、ステップS41において、検出された乗降状態と前記補正判定情報に基づいて補正内容が特定され、該補正内容とメモリ12の体重情報とに基づいて補正すべき補正重量が算出され、該補正重量に基づいてメモリ12の区間積載量が補正され、その後ステップS42に進む。
ステップS42において、メモリ12の区間積載量が通算の積載量に加算されて記憶され、ステップS43において、メモリ12の区間積載量及び積載量の少なくとも一方の表示(出力)が表示部13に要求されることで、表示部13に区間積載量及び積載量の少なくとも一方が表示され、その後ステップS31に戻り、次の計測区間の作業開始を待つことになる。
以上の説明からも明らかなように、CPU11aが区間積載量計測処理プログラムを実行することで、図1に示す請求項中の積載変化パターン検出手段P1及び区間積載量計測手段P2として機能することになる。そして、積載量計測装置10の表示部13が図1に示す請求項中の出力装置として機能していることからも明らかなように、本実施形態では積載量計測装置10が前記出力装置を有している場合について説明するが、本発明はこれに限定するものではなく、例えば、積載量計測装置10が表示機能を有していない場合は外部の表示装置を出力装置として機能させるなど装置構成に応じて種々異なる実施形態とすることができる。
次に、上述した構成の積載量計測装置10の本発明に係る動作(作用)の一例を、図8等の図面を参照して以下に説明する。なお、図8において、縦軸は荷重信号の指示値変動(kg)、横軸はパッカー車1が停車してからの経過時間(秒)をそれぞれ示している。
積載量計測装置10は、ACCスイッチ2のON操作等によって起動されると、複数の荷重センサ7から入力される荷重信号を所定のサンプリング間隔でサンプリングすると共に、上述したMACDを算出してメモリ12に時系列的に記憶する。積載量計測装置10は、PTOスイッチ4のPTO−ONを検出すると、メモリ12のMACD等に基づいて荷重信号の振幅拡散を検出すると、該振幅拡散に対応した振幅収束を監視し、該振幅収束の検出に応じて積載作業による変化パターンを検出したと判定し、該変化パターンに対応した荷重信号に基づいて区間積載量を計測し、該区間積載量を表示部13に表示する。
また、パッカー車1は、図8に示すように、停車後の所定時間(図8中の0〜38秒等)にわたって停車による車軸1dの歪み量等によって荷重センサ7の荷重信号は徐々に拡散することになるため、メモリ12の変化パターン情報には積載以外の拡散と積載による拡散を区別するための各種データ(単位時間当たりの拡散量等)が設定されている。そして、荷重センサ7の荷重信号が安定した後(図8中の約1分10秒後)、5kg分のごみ(積載物)が積み込まれると、荷重センサ7の荷重信号は拡散することになる。
積載量計測装置10は、その拡散を荷重信号と変化パターン情報に基づいて検出することで、その荷重信号の変化パターンを積載作業によるものであると認識し、その荷重信号の収束を検出すると、図8に示す経過時間の1分10秒から1分30秒の間の荷重信号の波形が積載変化パターンであると区別し、該積載変化パターンに対応した荷重信号に基づいて区間積載量を計測する。即ち、積載による荷重信号の変化のみに基づいて区間積載量を計測し、積載以外による荷重信号の変化を排除している。なお、区間積載量の算出の詳細については、停車時から積載開始までの間に荷重信号が変化した重量分は、オフセット値として区間積載量の算出時に反映される。
乗員は積載作業が終了すると、PTOスイッチ4をOFFしてパッカー車1を次の集積場所等に移動させることになるが、積載量計測装置10は、PTO−OFFを検出すると、パッカー車1における乗員の乗降状態を検出し、その乗降状態に応じて積載作業の開始時と終了時との変化が生じている場合はメモリ12の区間積載量を補正し、区間積載量を表示部13に表示する。よって、乗員は積載量計測装置10の表示部13に表示された区間積載量及び通算の積載量の少なくとも一方を参照することで、今回の積載作業でどれだけ積載量が増加したかを正確に把握することができる。
以上説明した積載量計測装置10によれば、荷重センサ7が時系列的に出力した荷重信号と変化パターン情報とに基づいて積載変化パターンを検出すると、当該積載変化パターンに対応した荷重信号に基づいて区間積載量を計測するようにしたことから、車軸の温度変化、外乱等による荷重信号の変化を排除して、積載変化パターンに対応した荷重信号のみに基づいた区間積載量を計測することができるため、測定精度の向上を図ることができる。従って、測定精度の向上によって荷重信号の少量の変化でも高感度で計測することができるため、積載車両への普及に貢献することができると共に、この区間積載量によって過積載防止、資源ごみ分別収集、ごみの料金課金、等を支援することができる。
また、積載量計測装置10によれば、荷重センサ7が時系列的に出力した荷重信号の振幅拡散に基づいて積載変化パターンを検出するようにしたことから、積載作業に応じた荷重信号の変化と温度変化等による荷重信号の変化とを正確に区別することができるため、測定精度のさらなる向上を図ることができる。
さらに、積載量計測装置10によれば、荷重センサ7から出力される荷重信号の振幅拡散とその振幅収束とに基づいて積載変化パターンを検出するようにしたことから、積載物の積載に荷重信号が大きく変動し、その後徐々に減衰するという積載作業時の特有の波形パターンを検出することができるため、パッカー車等の積載車両のように短時間で積載量が少量ずつ変化する場合でも、高精度且つ迅速な計測を行うことができる。
以上説明した積載量計測システム100によれば、積載量計測装置10が荷重センサ7によって時系列的に出力された荷重信号と変化パターン情報とに基づいて積載変化パターンを検出すると、当該積載変化パターンに対応した荷重信号に基づいて区間積載量を計測し、該区間積載量を表示部(出力装置)13がパッカー車(積載車両)1の乗員に対して出力するようにしたことから、乗員は正確な区間積載量を確認しながら積載作業を行うことができるため、過積載防止、資源ごみ分別収集、ごみの料金課金、等を実現することができる。
なお、上述した本実施形態では、図6に示すサンプリング処理で設定したメモリ12のMACDの状態を参照して、荷重信号の振幅拡散及び振幅収束を判定する場合について説明したが、本発明はこれに限定するものではなく、例えば、時系列的に出力された各荷重信号の指示値に基づいて積載変化パターンを区別するなど種々異なる実施形態とすることもできるが、MACDを用いることによって計測時間の短縮を図ることができる。
また、上述した本実施形態では、荷重センサ7の周波数信号である荷重信号の積載変化パターンを区別する場合について説明したが、本発明はこれに限定するものではなく、例えば荷重信号の指示値の増加量と減少量との組み合わせに基づいて積載変化パターンを区別するなど種々異なる実施形態とすることができる。
さらに、上述した本実施形態では、積載変化パターンを荷重信号の振幅拡散及び振幅収束との組み合わせによって検出する場合について説明したが、例えば振幅拡散及び振幅収束の少なくとも一方に基づいて検出するなど種々異なる実施形態とすることができる。
このように上述した実施例は本発明の代表的な形態を示したに過ぎず、本発明は、実施形態に限定されるものではない。即ち、本発明の骨子を逸脱しない範囲で種々変形して実施することができる。
本発明の積載量計測装置及び積載量計測システムの基本構成を示す構成図である。 本発明に係る積載量計測システムの概略構成の一例を示す構成図である。 積載車両の概略構成の一例を示す構成図である。 図3の積載車両の底面における概略構成を説明するための図である。 本発明に係るメモリマップの一例を説明するための図である。 図2のCPUが実行するサンプリング処理の一例を示すフローチャートである。 図2のCPUが実行する区間積載量計測処理の一例を示すフローチャートである。 荷重信号の指示値変動と経過時間との関係を示すグラフである。 パッカー車を用いた積載作業の一例を説明するための図である。
符号の説明
1 積載車両(パッカー車)
4 PTOスイッチ
7 荷重センサ
10 積載量計測装置
13 出力装置(表示部)
D1 変化パターン情報記憶手段
P1 積載変化パターン検出手段
P2 区間積載量計測手段

Claims (4)

  1. 荷重センサが出力する積載車両の車軸に加わる荷重に応じた荷重信号に基づいて、前記積載車両が停車してから走行開始するまでの間の計測区間に積載した区間積載量を計測する積載量計測装置において、
    前記積載車両に対する積載に応じた前記荷重信号の積載変化パターンであるか否かを区別するための変化パターン情報を記憶する変化パターン情報記憶手段と、
    前記荷重センサが前記計測区間中に時系列的に出力した荷重信号と前記変化パターン情報との比較結果に基づいて、前記積載車両に対する積載に応じて変化した前記荷重信号の積載変化パターンを検出する積載変化パターン検出手段と、
    前記積載変化パターン検出手段が検出した積載変化パターンの前記荷重信号に基づいて前記区間積載量を計測する区間積載量計測手段と、
    を有することを特徴とする積載量計測装置。
  2. 前記荷重信号が、周波数信号であり、
    前記変化パターン情報が、前記荷重センサから時系列的に取得した荷重信号の振幅拡散を前記積載変化パターンとして区別するための情報であることを特徴とする請求項1に記載の積載量計測装置。
  3. 前記積載変化パターン検出手段が、前記荷重センサから時系列的に取得した荷重信号の振幅拡散とその振幅収束とに基づいて前記積載変化パターンを検出する手段であることを特徴とする請求項2に記載の積載量計測装置。
  4. 積載車両の車軸に加わる荷重に応じた荷重信号を出力する荷重センサと、
    請求項1〜3の何れか1項に記載の積載量計測装置と、
    前記積載量計測装置の区間積載量計測手段が計測した区間積載量を前記積載車両の乗員に対して出力する出力装置と、
    を有することを特徴とする積載量計測システム。
JP2008258251A 2008-10-03 2008-10-03 積載量計測装置及び積載量計測システム Expired - Fee Related JP5203119B2 (ja)

Priority Applications (1)

Application Number Priority Date Filing Date Title
JP2008258251A JP5203119B2 (ja) 2008-10-03 2008-10-03 積載量計測装置及び積載量計測システム

Applications Claiming Priority (1)

Application Number Priority Date Filing Date Title
JP2008258251A JP5203119B2 (ja) 2008-10-03 2008-10-03 積載量計測装置及び積載量計測システム

Publications (2)

Publication Number Publication Date
JP2010091274A true JP2010091274A (ja) 2010-04-22
JP5203119B2 JP5203119B2 (ja) 2013-06-05

Family

ID=42254152

Family Applications (1)

Application Number Title Priority Date Filing Date
JP2008258251A Expired - Fee Related JP5203119B2 (ja) 2008-10-03 2008-10-03 積載量計測装置及び積載量計測システム

Country Status (1)

Country Link
JP (1) JP5203119B2 (ja)

Cited By (3)

* Cited by examiner, † Cited by third party
Publication number Priority date Publication date Assignee Title
JP2012093272A (ja) * 2010-10-28 2012-05-17 Yamato Scale Co Ltd 車載重量測定装置
JP2013088290A (ja) * 2011-10-18 2013-05-13 Nanao Corp 動体判別装置、センサのゆらぎ検出装置、表示装置、動体判別方法及びセンサのゆらぎ検出方法
JP2022025662A (ja) * 2020-07-29 2022-02-10 矢崎エナジーシステム株式会社 積載重量計測装置及び車両管理システム

Citations (4)

* Cited by examiner, † Cited by third party
Publication number Priority date Publication date Assignee Title
JPH11160140A (ja) * 1997-12-01 1999-06-18 Mitsubishi Motors Corp 車両の積載荷重測定装置
JP2002037405A (ja) * 2000-07-26 2002-02-06 Sumitomo Metal Ind Ltd ごみ発生情報収集システムおよびごみ収集車
JP2005140765A (ja) * 2003-10-17 2005-06-02 Taiyo Nippon Sanso Corp 車両積載物供給量の測定方法
JP2010078555A (ja) * 2008-09-29 2010-04-08 Yazaki Corp 積載量計測装置及び積載量計測システム

Patent Citations (4)

* Cited by examiner, † Cited by third party
Publication number Priority date Publication date Assignee Title
JPH11160140A (ja) * 1997-12-01 1999-06-18 Mitsubishi Motors Corp 車両の積載荷重測定装置
JP2002037405A (ja) * 2000-07-26 2002-02-06 Sumitomo Metal Ind Ltd ごみ発生情報収集システムおよびごみ収集車
JP2005140765A (ja) * 2003-10-17 2005-06-02 Taiyo Nippon Sanso Corp 車両積載物供給量の測定方法
JP2010078555A (ja) * 2008-09-29 2010-04-08 Yazaki Corp 積載量計測装置及び積載量計測システム

Cited By (4)

* Cited by examiner, † Cited by third party
Publication number Priority date Publication date Assignee Title
JP2012093272A (ja) * 2010-10-28 2012-05-17 Yamato Scale Co Ltd 車載重量測定装置
JP2013088290A (ja) * 2011-10-18 2013-05-13 Nanao Corp 動体判別装置、センサのゆらぎ検出装置、表示装置、動体判別方法及びセンサのゆらぎ検出方法
JP2022025662A (ja) * 2020-07-29 2022-02-10 矢崎エナジーシステム株式会社 積載重量計測装置及び車両管理システム
JP7502106B2 (ja) 2020-07-29 2024-06-18 矢崎エナジーシステム株式会社 積載重量計測装置及び車両管理システム

Also Published As

Publication number Publication date
JP5203119B2 (ja) 2013-06-05

Similar Documents

Publication Publication Date Title
JP5115857B2 (ja) 積載量計測装置及び積載量計測システム
US10328842B2 (en) Cargo securing apparatus
JP5265440B2 (ja) 積載重量推定装置
CN110160615B (zh) 车载称重方法、装置及系统
CN107231798A (zh) 用于监控车辆制动系统运行的方法和装置
JP5203119B2 (ja) 積載量計測装置及び積載量計測システム
KR20190073024A (ko) 차량 현가장치의 과적 축중 경고 시스템 및 방법, 이를 이용한 차량의 현가장치 내구수명 예측 시스템 및 방법
JP6305827B2 (ja) 車両重量計
JP2005029130A (ja) タイヤ摩耗警告装置
JP2005114425A (ja) 車載計量装置
JP4295067B2 (ja) エレベーター秤装置特性測定システム
CN113865682A (zh) 货车轮胎载重确定方法、装置及存储介质
CN219706823U (zh) 车辆超载管理系统及具有其的车辆
JP4632733B2 (ja) 重量測定装置
JP5324873B2 (ja) 積載量計測システム
CN202885935U (zh) 一种测试客车运行轴荷的装置
CN117848740B (zh) 一种挂车底盘负载检测装置
JP2005061984A (ja) 建設機械の荷重計測装置
CN116923289B (zh) 一种货运车载重自检系统及自检方法
JP3983642B2 (ja) センサ信号補正装置及び積載重量計測装置
GB2549602A (en) Apparatus for use in determining the weight of a trailer and the goods located therein
JPH0643227A (ja) 電気車のバッテリ稼働残時間表示装置
RU2395062C1 (ru) Способ информационного обеспечения процесса загрузки транспортного средства и транспортное весовое устройство для его осуществления
CN222528760U (zh) 一种具有监控功能的地磅装置
CN117760534A (zh) 井下矿用金属矿石转运车及其称重系统和方法

Legal Events

Date Code Title Description
A621 Written request for application examination

Free format text: JAPANESE INTERMEDIATE CODE: A621

Effective date: 20110830

A711 Notification of change in applicant

Free format text: JAPANESE INTERMEDIATE CODE: A712

Effective date: 20120926

RD03 Notification of appointment of power of attorney

Free format text: JAPANESE INTERMEDIATE CODE: A7423

Effective date: 20120927

RD04 Notification of resignation of power of attorney

Free format text: JAPANESE INTERMEDIATE CODE: A7424

Effective date: 20121005

A977 Report on retrieval

Free format text: JAPANESE INTERMEDIATE CODE: A971007

Effective date: 20121031

A131 Notification of reasons for refusal

Free format text: JAPANESE INTERMEDIATE CODE: A131

Effective date: 20121106

A521 Request for written amendment filed

Free format text: JAPANESE INTERMEDIATE CODE: A523

Effective date: 20121218

TRDD Decision of grant or rejection written
A01 Written decision to grant a patent or to grant a registration (utility model)

Free format text: JAPANESE INTERMEDIATE CODE: A01

Effective date: 20130205

A61 First payment of annual fees (during grant procedure)

Free format text: JAPANESE INTERMEDIATE CODE: A61

Effective date: 20130213

R150 Certificate of patent or registration of utility model

Ref document number: 5203119

Country of ref document: JP

Free format text: JAPANESE INTERMEDIATE CODE: R150

Free format text: JAPANESE INTERMEDIATE CODE: R150

FPAY Renewal fee payment (event date is renewal date of database)

Free format text: PAYMENT UNTIL: 20160222

Year of fee payment: 3

R250 Receipt of annual fees

Free format text: JAPANESE INTERMEDIATE CODE: R250

R250 Receipt of annual fees

Free format text: JAPANESE INTERMEDIATE CODE: R250

R250 Receipt of annual fees

Free format text: JAPANESE INTERMEDIATE CODE: R250

R250 Receipt of annual fees

Free format text: JAPANESE INTERMEDIATE CODE: R250

R250 Receipt of annual fees

Free format text: JAPANESE INTERMEDIATE CODE: R250

R250 Receipt of annual fees

Free format text: JAPANESE INTERMEDIATE CODE: R250

R250 Receipt of annual fees

Free format text: JAPANESE INTERMEDIATE CODE: R250

R250 Receipt of annual fees

Free format text: JAPANESE INTERMEDIATE CODE: R250

S531 Written request for registration of change of domicile

Free format text: JAPANESE INTERMEDIATE CODE: R313531

R350 Written notification of registration of transfer

Free format text: JAPANESE INTERMEDIATE CODE: R350

R250 Receipt of annual fees

Free format text: JAPANESE INTERMEDIATE CODE: R250

LAPS Cancellation because of no payment of annual fees