JP2010091200A - 燃焼灰等の吸引・収集装置 - Google Patents

燃焼灰等の吸引・収集装置 Download PDF

Info

Publication number
JP2010091200A
JP2010091200A JP2008262333A JP2008262333A JP2010091200A JP 2010091200 A JP2010091200 A JP 2010091200A JP 2008262333 A JP2008262333 A JP 2008262333A JP 2008262333 A JP2008262333 A JP 2008262333A JP 2010091200 A JP2010091200 A JP 2010091200A
Authority
JP
Japan
Prior art keywords
ash
hopper
transfer pipe
suction
manhole
Prior art date
Legal status (The legal status is an assumption and is not a legal conclusion. Google has not performed a legal analysis and makes no representation as to the accuracy of the status listed.)
Granted
Application number
JP2008262333A
Other languages
English (en)
Other versions
JP5100598B2 (ja
Inventor
Satoshi Tanaka
諭 田中
Current Assignee (The listed assignees may be inaccurate. Google has not performed a legal analysis and makes no representation or warranty as to the accuracy of the list.)
Chugoku Electric Power Co Inc
Original Assignee
Chugoku Electric Power Co Inc
Priority date (The priority date is an assumption and is not a legal conclusion. Google has not performed a legal analysis and makes no representation as to the accuracy of the date listed.)
Filing date
Publication date
Application filed by Chugoku Electric Power Co Inc filed Critical Chugoku Electric Power Co Inc
Priority to JP2008262333A priority Critical patent/JP5100598B2/ja
Publication of JP2010091200A publication Critical patent/JP2010091200A/ja
Application granted granted Critical
Publication of JP5100598B2 publication Critical patent/JP5100598B2/ja
Expired - Fee Related legal-status Critical Current
Anticipated expiration legal-status Critical

Links

Images

Landscapes

  • Gasification And Melting Of Waste (AREA)

Abstract

【課題】ホッパマンホール等から掻き出して排出した燃焼灰等を直ちに灰移送管に吸引して燃焼灰の飛散をなくし、また燃焼灰等の処理のための作業の省力化を図る。
【解決手段】ホッパ(14)の漏斗部(14a)に詰まった燃焼灰や錆等の蓄積物(G)を開閉式のホッパマンホール(16)から外部に掻き出して排出した場合に、これを点検・清掃のために前記灰移送管に予め設けられた開閉式の灰移送管マンホール(26)に取り付けた吸引ホース(24)により、灰移送管の負圧を利用して吸引して灰処理装置に移送するように構成した、ことを特徴とする。
【選択図】図2

Description

本発明は、発電所等のボイラで発生しホッパに蓄積された燃焼灰やホッパ内面に付着・発生して剥離した錆等の粉状・粒状の蓄積物を、灰移送管を通じて灰処理装置に移送するための灰移送装置において、ホッパの漏斗部などに蓄積物の詰りが生じた際にホッパマンホール等から掻き出されて床面等に堆積した蓄積物を、簡易に収集して処理装置に移送するための吸引・収集装置に関する。
発電所等の大型施設のボイラ等で発生した燃焼灰は、燃焼排ガスとともに脱硝装置および空気予熱器を経て電気集塵器に導入され、電気集塵器でその大半が捕捉される。電気集塵器の底部には、漏斗形状(逆円錐形状)のホッパが複数個設置されており、捕捉された燃焼灰(EP灰)はホッパ内に蓄積される。また排ガスはブロワで引かれ煙突から排出される。
各ホッパ内に蓄積した燃焼灰は、灰移送管を通じて真空ポンプで引かれ灰処理装置に送られる(サイロに蓄積されてトラック等で搬出される場合も含む)。より詳細には、灰移送管の一端には大気吸込口が設けられており、この大気吸込口を開き真空ポンプを作動させると、灰移送管内にはサイロに向けた気流が生じるため、ホッパの下端の排出弁を開くとホッパ内の燃焼灰が灰移送管に吸引されて移送されるようになっている。複数のホッパからの燃焼灰の移送は、1基ずつ順次排出弁を開いて燃焼灰を吸引することによって行われる。
ホッパに蓄積した燃焼灰(焼却灰)を粉体の輸送用タンクへ搬出する発明としては、特許文献1の「粉体の搬出システム」など多くのものが発案されている。
特開2004−123228号公報
ここで排出弁を開くとホッパに蓄積された燃焼灰やホッパ内面に付着・発生して剥離した錆等の蓄積物が一気に灰移送管に落ちるため、灰移送管やホッパの漏斗部に詰まりが生じることが多い。そのため従来から灰移送管等の詰まりを防止するために、排出弁を開く前にはホッパの漏斗部に形成した開閉式のホッパマンホールから予め一定量の燃焼灰等を掻き出してフロア上に排出していた。また灰移送管に詰まりが生じた場合には、ホッパとの接続個所の灰移送管に形成した開閉式の灰移送管マンホールから燃焼灰等を掻き出してフロア上に排出していた。
ここでフロア上に排出した燃焼灰等は、人力によりスコップでこれをすくいドラム缶に集めて搬出していたが、かかる作業には非常に多くの労力を要するといった問題があった。またフロアに排出された燃焼灰等は、風等の影響により飛散し、作業環境や作業員の健康に影響を及ぼす虞があった。
本発明は上記問題を解決するために創案されたものであり、灰移送管が負圧となっていることに着目し、ホッパマンホール等から掻き出して排出した燃焼灰等を直ちに灰移送管に吸引して燃焼灰の飛散をなくし、また燃焼灰等の処理のための作業の省力化を図ることが可能な燃焼灰等の吸引・収集装置を提供することを目的とする。
上記目的を達成するための本発明の燃焼灰等の吸引・収集装置は、集塵機(12)で捕捉した燃焼灰を蓄積するホッパ(14)と、該ホッパの漏斗部(14a)に燃焼灰や錆等の蓄積物(G)が詰まった際にこれを掻き出すための開閉式のホッパマンホール(16)と、前記ホッパの下端に接続され、かつ、ホッパ内から蓄積物を吸引して灰処理装置(18)に移送するための灰移送管(22)と、を備えた灰移送装置(10)において、前記ホッパマンホールから外部に排出した蓄積物を、前記灰移送管に接続した吸引ホース(24)により、灰移送管の負圧を利用して吸引して前記灰処理装置に移送するように構成した、ことを特徴とする。
ここで、前記吸引ホース(24)は、点検・清掃のために前記灰移送管に予め設けられた開閉式の灰移送管マンホール(26)に取り付けられる、ことが好ましい。
例えば前記吸引ホース(24)の一端には鍔状に広がるフランジ金具(34)が取り付けられており、該フランジ金具には前記灰移送管マンホールの径方向両側から突起する2つのボルト脚(32a)に対応する位置にボルト穴(32b)が形成されている、ように構成することでその取り付けが行われる。
また、前記ホッパマンホール(16)から排出された蓄積物(G)を受け止めるためのバケット(36)を更に備え、該バケットの底部又はその近傍には前記吸引ホース(24)の一端が取り付けられている、ことも好ましい。
本発明では灰移送管の負圧を利用し、灰移送管に接続した吸引ホースによってホッパマンホール等から排出した燃焼灰等を直ちに吸引して灰処理装置に移送することで、燃焼灰等の飛散をなくし、また排出した燃焼灰等の処理のための作業の省力化を図ることできる。
ここで灰移送管への吸引ホースの取り付けを、灰移送管に予め設けられている灰移送管マンホールおよびボルト脚を利用し、ここに吸引ホースの一端に設けたフランジ金具を固定することで簡易かつ確実にその取り付けを行うことができ、また、接合部からの空気漏れもほとんどなくすことができる。
さらにホッパマンホールや灰移送管マンホールから排出した燃焼灰等をその下方で受け止めるバケットを備え、このバケットの底部に吸引ホースを取り付けてやることで、燃焼灰等のフロアへの落下や風等の影響による飛散をなくし、またフロアを汚さないようにすることで、より一層作業環境を改善し、作業員の健康に資することができる。
本発明の燃焼灰等の吸引・収集装置は、火力発電所等のホッパに蓄積された燃焼灰等を灰移送管を通じて灰処理装置に移送する既存の装置に簡易に取り付けることができる簡易な構造の燃焼灰等の吸引・収集装置を提供するものである。
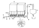
以下、まずホッパおよび灰移送管の構造について簡単に説明した後に本発明の燃焼灰等の吸引・収集装置について説明する。図1は火力発電所に備えられたホッパおよび灰移送管等からなる灰移送装置を説明するための概略図である。
ボイラの煙道に配置された電気集塵機12で捕捉した燃焼灰(EP灰等)を蓄積するホッパ14は、上端側が広く下端側が狭くなるように形成された漏斗形状をしており、その上部からホッパ内に粉末状の燃焼灰が投入されるようになっている。ホッパ14の下端近傍には、蓄積した燃焼灰やホッパ内面に付着・発生して剥離した錆等の蓄積物(燃焼灰等)Gの、後述する灰移送管22への吸引を許容するための排出弁41が設けられている。この排出弁41直上のホッパ14の漏斗部14aには、蝶番構造により開閉する開閉蓋43が取り付けられた内径30cm程度のホッパマンホール16が形成されている。
なおこのホッパ14は、電気集塵機12の下部に複数個(例えば16個)複数列に並べられ配置されている。
灰移送管22は、列をなして配置された複数のホッパ14の下端を連結する水平方向に伸長する内径30cm程度の配管であり、その一端は吸気弁45が設けられた大気吸入口47となっている。また灰移送管22の他端は灰処理装置18に接続されおり、ホッパ14と灰処理装置18とをつなぐ灰移送管の経路には、ホッパ内から燃焼灰等Gを吸引するための真空ポンプ49が設けられている。すなわち真空ポンプ49が作動すると灰移送管22には負圧が生じ、大気吸入口47からの空気の流入によって、ホッパ14内からは燃焼灰等Gが吸引される。吸引された燃焼灰等Gは、灰移送管22内を通って灰処理装置18に移送されるようになっている。
なおホッパ14との接続個所部分の灰移送管22には、その点検や清掃を行うため着脱自在な着脱蓋51が取り付けられた内径15cm程度の灰移送管マンホール26が形成されている。この着脱蓋51の固定は、灰移送管マンホール26の径方向両側から突起するように設けた2つのボルト脚32aおよびナット33と、ボルト脚32aを貫通させる切り欠きが両端部に形成された板棒状の押え板53を用い、灰移送管マンホールに勘合した着脱蓋を、2つのボルト脚間を架け渡すように配置した押え板によって押えてナットを締め付けることによって行われる。
図2に実施例1の燃焼灰等の吸引・収集装置を取り付けたホッパおよび灰移送管の概略図を示した。
この燃焼灰等の吸引・収集装置100は、上述した灰移送装置10のホッパ14の漏斗部14aなどに蓄積物Gの詰りが生じた際に、ホッパマンホール16等から掻き出されて床面等に堆積した蓄積物を、簡易に収集して処理装置に移送するものであり、灰移送管マンホール26に接続した吸引ホース24によって構成されている。
図3に拡大して示したように、この吸引ホース24は螺旋状に巻かれたワイヤを芯とする柔軟性に富んだ内径が15cm程度で長さが5m程度の樹脂製のフレキシブル管であり、その一端には鍔状に広がるフランジ金具34が取り付けられている。この吸引ホース24はフランジ金具34によって、点検・清掃のためにホッパ14との接続部の灰移送管22(破線)に予め形成されている灰移送管マンホール26(破線)に接続・固定される。そのためフランジ金具34には、灰移送管マンホール26の径方向両側から突起する2つのボルト脚32aに対応する位置に、ボルト穴32bが切り欠き状に形成された突起板35が5cm程度延出するようにロウ付けによって取り付けられている。
灰移送管マンホール26への吸引ホース24の取り付けは、押え板53を外すことで灰移送管マンホール26から着脱蓋51を取り外し、ここにまず吸引ホース24のフランジ金具34を嵌合させる。このときフランジ金具34の突起板35のボルト穴32bが、灰移送管22から突起するボルト脚32aを貫通するようにしてやる。そして、ナット33をボルト脚32aに締め付けることによって、吸引ホース24が空気漏れがない状態で灰移送管マンホール26に接続・固定される。
灰移送管22には真空ポンプ49によって負圧が生じているため、灰移送管マンホール26に接続・固定した吸引ホース24にも吸引力が生じることとなる。この吸引力は灰移送管22端部の大気吸入口47の吸気弁45の開度を調節することによってその強弱を調整することができる。
本実施例の燃焼灰等の吸引・収集装置100によれば、ホッパ14に蓄積された燃焼灰やホッパ内面に付着・発生して剥離した錆等の蓄積物Gがホッパの漏斗部14aに詰まり、これをホッパマンホール16等からフロア上に排出した場合にも、これを他のホッパと灰移送管22との接続部の灰移送管マンホール26に接続した吸引ホース24の吸引力によって直ちに吸引することができる。これにより、これまでフロア上の燃焼灰等を人力によってドラム缶に集めて搬出していた燃焼灰等の処理のための作業を省力化することができるとともに、燃焼灰等が風等の影響による飛散を抑制し、作業環境の改善に資することができる。なお吸引した燃焼灰等は、灰移送管22から灰処理装置18に移送されて処理される。
図4に実施例2の燃焼灰等の吸引・収集装置を取り付けたホッパおよび灰移送管の概略図を示した。この吸引・収集装置100は実施例1の装置に、ホッパマンホール16から排出された蓄積物Gを受け止めるためのバケット36を付加したものである。そのためバケット36と関連する以外の構成については実施例1と同様の符号を付することで重複した説明を省略する。
このバケット36は上部を開口したドラム缶などを利用した容器であって、その底部近傍の側面には、例えばボルト・ナットによって吸引ホース24の一端(先端)が取り付けられている。このバケット36は移動の便宜のために台車に載せられた状態で使用され、複数並んだホッパ14のホッパマンホール16の下方に適宜設置されて使用される。
本実施例の燃焼灰等の吸引・収集装置100では、ホッパマンホール16や灰移送管マンホール26から排出した燃焼灰等をその下方に設置したバケット36で受け止めることにより、燃焼灰等のフロアへの落下や風等の影響による飛散をなくし、フロアを汚さないようにすることでより一層作業環境を改善し、作業員の健康に資することができる。
以上本発明の燃焼灰等の吸引・収集装置の好ましい実施例について説明したが、本発明の燃焼灰等の吸引・収集装置はかかる構成に限られず、ホッパマンホール等から掻き出した燃焼灰等を直ちに吸引して灰処理装置に移送して処理するものであれば本発明の趣旨を逸脱しない範囲で適宜変更して用いることができることは勿論である。たとえば灰移送管マンホールへの吸引ホースの取り付けは上述した例に限られず、種々の構造を採用することができる。
以上に説明した本発明の燃焼灰等の吸引・収集装置では、灰移送管の負圧を利用し、これに吸引ホースを取り付けることで、ホッパマンホール等から掻き出して外部に排出した燃焼灰等を、多くの労力を要することなく直ちに吸引して灰処理装置に移送することができる。また吸引ホースの吸引力は大気吸入口の弁の開度を調節することで強弱の調整が可能であるため便宜である。
なおこの装置は既設の灰移送管マンホールを利用し、またボルト脚を利用してその取り付けを行うことができるため、ホッパや灰移送管に改変を加える必要がなく、簡易かつ低コストで導入することができるといった特徴もある。
火力発電所に備えられたホッパおよび灰移送管等からなる灰移送装置を説明するための概略図である。 実施例1の燃焼灰等の吸引・収集装置を取り付けたホッパおよび灰移送管の概略図である。 吸引ホースのフランジ金具部分の拡大斜視図である。 実施例2の燃焼灰等の吸引・収集装置を取り付けたホッパおよび灰移送管の概略図である。
符号の説明
10 灰移送装置
12 集塵機
14 ホッパ
14a 漏斗部
16 ホッパマンホール
18 灰処理装置
22 灰移送管
24 吸引ホース
26 灰移送管マンホール
32a ボルト脚
32b ボルト穴
33 ナット
34 フランジ金具
35 突起板
36 バケット
41 排出弁
43 開閉蓋
45 吸気弁
47 大気吸入口
49 真空ポンプ
51 着脱蓋
G 蓄積物

Claims (4)

  1. 集塵機(12)で捕捉した燃焼灰を蓄積するホッパ(14)と、該ホッパの漏斗部(14a)に燃焼灰や錆等の蓄積物(G)が詰まった際にこれを掻き出すための開閉式のホッパマンホール(16)と、前記ホッパの下端に接続され、かつ、ホッパ内から蓄積物を吸引して灰処理装置(18)に移送するための灰移送管(22)と、を備えた灰移送装置(10)において、
    前記ホッパマンホールから外部に排出した蓄積物を、前記灰移送管に接続した吸引ホース(24)により、灰移送管の負圧を利用して吸引して前記灰処理装置に移送するように構成した、ことを特徴とする燃焼灰等の吸引・収集装置。
  2. 前記吸引ホース(24)は、点検・清掃のために前記灰移送管に予め設けられた開閉式の灰移送管マンホール(26)に取り付けられる、ことを特徴とする請求項1に記載の燃焼灰等の吸引・収集装置。
  3. 前記吸引ホース(24)の一端には鍔状に広がるフランジ金具(34)が取り付けられており、該フランジ金具には前記灰移送管マンホールの径方向両側から突起する2つのボルト脚(32a)に対応する位置にボルト穴(32b)が形成されている、ことを特徴とする請求項2に記載の燃焼灰等の吸引・収集装置。
  4. 前記ホッパマンホール(16)から排出された蓄積物(G)を受け止めるためのバケット(36)を更に備え、該バケットの底部又はその近傍には前記吸引ホース(24)の一端が取り付けられている、ことを特徴とする請求項1乃至3のいずれか一項に記載の燃焼灰等の吸引・収集装置。
JP2008262333A 2008-10-09 2008-10-09 燃焼灰等の吸引・収集装置 Expired - Fee Related JP5100598B2 (ja)

Priority Applications (1)

Application Number Priority Date Filing Date Title
JP2008262333A JP5100598B2 (ja) 2008-10-09 2008-10-09 燃焼灰等の吸引・収集装置

Applications Claiming Priority (1)

Application Number Priority Date Filing Date Title
JP2008262333A JP5100598B2 (ja) 2008-10-09 2008-10-09 燃焼灰等の吸引・収集装置

Publications (2)

Publication Number Publication Date
JP2010091200A true JP2010091200A (ja) 2010-04-22
JP5100598B2 JP5100598B2 (ja) 2012-12-19

Family

ID=42254094

Family Applications (1)

Application Number Title Priority Date Filing Date
JP2008262333A Expired - Fee Related JP5100598B2 (ja) 2008-10-09 2008-10-09 燃焼灰等の吸引・収集装置

Country Status (1)

Country Link
JP (1) JP5100598B2 (ja)

Cited By (1)

* Cited by examiner, † Cited by third party
Publication number Priority date Publication date Assignee Title
KR101178454B1 (ko) 2010-10-07 2012-08-30 삼성중공업 주식회사 화물창 청소용 호스 연결구

Citations (3)

* Cited by examiner, † Cited by third party
Publication number Priority date Publication date Assignee Title
JPH04293511A (ja) * 1991-03-25 1992-10-19 Nippon Steel Corp 吸引ボックスによる連続吸引式集塵ダスト回収装置
JPH10277336A (ja) * 1997-04-02 1998-10-20 Chiyoda Maintenance:Kk 工場内の堆積粉塵ダストの清掃方法と該方法に用いる負圧発生装置
JP2003236483A (ja) * 2002-02-19 2003-08-26 Nippon Steel Corp ホッパー付着物除去装置及びホッパー付着物除去方法

Patent Citations (3)

* Cited by examiner, † Cited by third party
Publication number Priority date Publication date Assignee Title
JPH04293511A (ja) * 1991-03-25 1992-10-19 Nippon Steel Corp 吸引ボックスによる連続吸引式集塵ダスト回収装置
JPH10277336A (ja) * 1997-04-02 1998-10-20 Chiyoda Maintenance:Kk 工場内の堆積粉塵ダストの清掃方法と該方法に用いる負圧発生装置
JP2003236483A (ja) * 2002-02-19 2003-08-26 Nippon Steel Corp ホッパー付着物除去装置及びホッパー付着物除去方法

Cited By (1)

* Cited by examiner, † Cited by third party
Publication number Priority date Publication date Assignee Title
KR101178454B1 (ko) 2010-10-07 2012-08-30 삼성중공업 주식회사 화물창 청소용 호스 연결구

Also Published As

Publication number Publication date
JP5100598B2 (ja) 2012-12-19

Similar Documents

Publication Publication Date Title
CN103657274A (zh) 一种烟气输灰与过滤相结合的除尘系统
JP5100598B2 (ja) 燃焼灰等の吸引・収集装置
JP4858727B2 (ja) 排煙脱硝装置
CN103521017A (zh) 用于生石灰消化系统的除尘装置
JP2010143659A (ja) 燃焼灰等のホッパー灰詰り解消装置及びその灰詰り解消方法
CN202828726U (zh) 斗式提升机除尘装置
CN211225344U (zh) 具有积料收集作用的头部漏斗及带式输送机
JP2010101556A (ja) 燃焼灰等のホッパー灰詰り解消装置及びその灰詰り解消方法
CN209956759U (zh) 一种地铁盾构施工输料装置
JP4942492B2 (ja) 燃焼灰等の灰輸送管詰り防止装置
CN104474805A (zh) 搅拌场地除尘装置
JP2008184258A (ja) 吸引回収装置及びそれを備えた吸引回収車
CN216071879U (zh) 一种用于输送黏性垃圾大倾角皮带的清扫装置
JP2015059045A (ja) 粉粒体除去装置及び粉粒体除去方法
CN100376699C (zh) 用于除去四氯化钛中钒杂质的具有支撑装置的铜丝塔
CN220257539U (zh) 固废处理设备用的除尘装置
CN223291860U (zh) 一种干散料快速回收装置
CN219751302U (zh) 一种防止回灰管堵塞的除尘器及工程机械除尘系统
CN221771796U (zh) 一种渣仓卸碱性灰渣抑尘机构
CN219357235U (zh) 一种高处平台灰尘清扫收集转运排放装置
CN213965621U (zh) 一种环保型工业废气净化处理设备
CN221452051U (zh) 布袋除尘器下料清堵装置
CN208358113U (zh) 一种可平移式焊接除尘装置
CN210905656U (zh) 自动上料装置以及脱硝设备
CN211602118U (zh) 一种粉料称量排气设备

Legal Events

Date Code Title Description
A621 Written request for application examination

Free format text: JAPANESE INTERMEDIATE CODE: A621

Effective date: 20101108

RD02 Notification of acceptance of power of attorney

Free format text: JAPANESE INTERMEDIATE CODE: A7422

Effective date: 20120117

A977 Report on retrieval

Free format text: JAPANESE INTERMEDIATE CODE: A971007

Effective date: 20120914

TRDD Decision of grant or rejection written
A01 Written decision to grant a patent or to grant a registration (utility model)

Free format text: JAPANESE INTERMEDIATE CODE: A01

Effective date: 20120921

A01 Written decision to grant a patent or to grant a registration (utility model)

Free format text: JAPANESE INTERMEDIATE CODE: A01

A61 First payment of annual fees (during grant procedure)

Free format text: JAPANESE INTERMEDIATE CODE: A61

Effective date: 20120925

FPAY Renewal fee payment (event date is renewal date of database)

Free format text: PAYMENT UNTIL: 20151005

Year of fee payment: 3

R150 Certificate of patent or registration of utility model

Ref document number: 5100598

Country of ref document: JP

Free format text: JAPANESE INTERMEDIATE CODE: R150

Free format text: JAPANESE INTERMEDIATE CODE: R150

FPAY Renewal fee payment (event date is renewal date of database)

Free format text: PAYMENT UNTIL: 20151005

Year of fee payment: 3

R250 Receipt of annual fees

Free format text: JAPANESE INTERMEDIATE CODE: R250

R250 Receipt of annual fees

Free format text: JAPANESE INTERMEDIATE CODE: R250

R250 Receipt of annual fees

Free format text: JAPANESE INTERMEDIATE CODE: R250

R250 Receipt of annual fees

Free format text: JAPANESE INTERMEDIATE CODE: R250

LAPS Cancellation because of no payment of annual fees