JP2010089663A - 車輪用軸受装置 - Google Patents

車輪用軸受装置 Download PDF

Info

Publication number
JP2010089663A
JP2010089663A JP2008262344A JP2008262344A JP2010089663A JP 2010089663 A JP2010089663 A JP 2010089663A JP 2008262344 A JP2008262344 A JP 2008262344A JP 2008262344 A JP2008262344 A JP 2008262344A JP 2010089663 A JP2010089663 A JP 2010089663A
Authority
JP
Japan
Prior art keywords
retaining ring
wheel
bearing device
hub
ring groove
Prior art date
Legal status (The legal status is an assumption and is not a legal conclusion. Google has not performed a legal analysis and makes no representation as to the accuracy of the status listed.)
Granted
Application number
JP2008262344A
Other languages
English (en)
Other versions
JP5501595B2 (ja
Inventor
Takayuki Kowada
貴之 小和田
Current Assignee (The listed assignees may be inaccurate. Google has not performed a legal analysis and makes no representation or warranty as to the accuracy of the list.)
NTN Corp
Original Assignee
NTN Corp
NTN Toyo Bearing Co Ltd
Priority date (The priority date is an assumption and is not a legal conclusion. Google has not performed a legal analysis and makes no representation as to the accuracy of the date listed.)
Filing date
Publication date
Application filed by NTN Corp, NTN Toyo Bearing Co Ltd filed Critical NTN Corp
Priority to JP2008262344A priority Critical patent/JP5501595B2/ja
Publication of JP2010089663A publication Critical patent/JP2010089663A/ja
Application granted granted Critical
Publication of JP5501595B2 publication Critical patent/JP5501595B2/ja
Expired - Fee Related legal-status Critical Current
Anticipated expiration legal-status Critical

Links

Images

Classifications

    • FMECHANICAL ENGINEERING; LIGHTING; HEATING; WEAPONS; BLASTING
    • F16ENGINEERING ELEMENTS AND UNITS; GENERAL MEASURES FOR PRODUCING AND MAINTAINING EFFECTIVE FUNCTIONING OF MACHINES OR INSTALLATIONS; THERMAL INSULATION IN GENERAL
    • F16CSHAFTS; FLEXIBLE SHAFTS; ELEMENTS OR CRANKSHAFT MECHANISMS; ROTARY BODIES OTHER THAN GEARING ELEMENTS; BEARINGS
    • F16C43/00Assembling bearings
    • F16C43/04Assembling rolling-contact bearings
    • FMECHANICAL ENGINEERING; LIGHTING; HEATING; WEAPONS; BLASTING
    • F16ENGINEERING ELEMENTS AND UNITS; GENERAL MEASURES FOR PRODUCING AND MAINTAINING EFFECTIVE FUNCTIONING OF MACHINES OR INSTALLATIONS; THERMAL INSULATION IN GENERAL
    • F16CSHAFTS; FLEXIBLE SHAFTS; ELEMENTS OR CRANKSHAFT MECHANISMS; ROTARY BODIES OTHER THAN GEARING ELEMENTS; BEARINGS
    • F16C35/00Rigid support of bearing units; Housings, e.g. caps, covers
    • F16C35/04Rigid support of bearing units; Housings, e.g. caps, covers in the case of ball or roller bearings
    • F16C35/06Mounting or dismounting of ball or roller bearings; Fixing them onto shaft or in housing
    • F16C35/063Fixing them on the shaft
    • FMECHANICAL ENGINEERING; LIGHTING; HEATING; WEAPONS; BLASTING
    • F16ENGINEERING ELEMENTS AND UNITS; GENERAL MEASURES FOR PRODUCING AND MAINTAINING EFFECTIVE FUNCTIONING OF MACHINES OR INSTALLATIONS; THERMAL INSULATION IN GENERAL
    • F16CSHAFTS; FLEXIBLE SHAFTS; ELEMENTS OR CRANKSHAFT MECHANISMS; ROTARY BODIES OTHER THAN GEARING ELEMENTS; BEARINGS
    • F16C19/00Bearings with rolling contact, for exclusively rotary movement
    • F16C19/22Bearings with rolling contact, for exclusively rotary movement with bearing rollers essentially of the same size in one or more circular rows, e.g. needle bearings
    • F16C19/34Bearings with rolling contact, for exclusively rotary movement with bearing rollers essentially of the same size in one or more circular rows, e.g. needle bearings for both radial and axial load
    • F16C19/38Bearings with rolling contact, for exclusively rotary movement with bearing rollers essentially of the same size in one or more circular rows, e.g. needle bearings for both radial and axial load with two or more rows of rollers
    • F16C19/383Bearings with rolling contact, for exclusively rotary movement with bearing rollers essentially of the same size in one or more circular rows, e.g. needle bearings for both radial and axial load with two or more rows of rollers with tapered rollers, i.e. rollers having essentially the shape of a truncated cone
    • F16C19/385Bearings with rolling contact, for exclusively rotary movement with bearing rollers essentially of the same size in one or more circular rows, e.g. needle bearings for both radial and axial load with two or more rows of rollers with tapered rollers, i.e. rollers having essentially the shape of a truncated cone with two rows, i.e. double-row tapered roller bearings
    • F16C19/386Bearings with rolling contact, for exclusively rotary movement with bearing rollers essentially of the same size in one or more circular rows, e.g. needle bearings for both radial and axial load with two or more rows of rollers with tapered rollers, i.e. rollers having essentially the shape of a truncated cone with two rows, i.e. double-row tapered roller bearings in O-arrangement
    • FMECHANICAL ENGINEERING; LIGHTING; HEATING; WEAPONS; BLASTING
    • F16ENGINEERING ELEMENTS AND UNITS; GENERAL MEASURES FOR PRODUCING AND MAINTAINING EFFECTIVE FUNCTIONING OF MACHINES OR INSTALLATIONS; THERMAL INSULATION IN GENERAL
    • F16CSHAFTS; FLEXIBLE SHAFTS; ELEMENTS OR CRANKSHAFT MECHANISMS; ROTARY BODIES OTHER THAN GEARING ELEMENTS; BEARINGS
    • F16C2326/00Articles relating to transporting
    • F16C2326/01Parts of vehicles in general
    • F16C2326/02Wheel hubs or castors

Landscapes

  • Engineering & Computer Science (AREA)
  • General Engineering & Computer Science (AREA)
  • Mechanical Engineering (AREA)
  • Mounting Of Bearings Or Others (AREA)
  • Rolling Contact Bearings (AREA)

Abstract

【課題】内輪がハブ輪に加締固定され、このハブ輪の内周に軸受固定用の止め輪溝が形成されたセルフリテイン構造において、加締加工時に止め輪溝を起点に発生するクラックを防止し、加締部の強度を確保した車輪用軸受装置を提供する。
【解決手段】ハブ輪1の小径段部1bに圧入された内輪5が加締部8により固定されると共に、ハブ輪1の内周に止め輪13を介して転がり軸受12が位置決め固定された車輪用軸受装置において、加締加工前の小径段部1bの外周に環状溝14が形成され、この環状溝14が、内輪5の内径端部から大端面5dを越えて形成され、深さが0.5〜1.0mmの範囲に設定されると共に、加締部8の近傍に止め輪溝15が形成され、この止め輪溝15の少なくともアウター側の隅部が円弧面に形成され、この円弧面の曲率半径R1が、止め輪溝15の深さtの0.5〜1.5の範囲に設定されている。
【選択図】図2

Description

本発明は、自動車等の車輪を回転自在に支承する車輪用軸受装置、特に、内輪がハブ輪に加締固定されるセルフリテイン構造において、ハブ輪の内周に軸受固定用の止め輪溝が形成され、このハブ輪の加締部の強度・耐久性向上を図った車輪用軸受装置に関するものである。
従来から自動車等の車輪を支持する車輪用軸受装置は、車輪を取り付けるためのハブ輪を転がり軸受を介して回転自在に支承するもので、駆動輪用と従動輪用とがある。構造上の理由から、駆動輪用では内輪回転方式が、従動輪用では内輪回転と外輪回転の両方式が一般的に採用されている。この車輪用軸受装置には、懸架装置を構成するナックルとハブ輪との間に複列アンギュラ玉軸受等からなる車輪用軸受を嵌合させた第1世代と称される構造から、外方部材の外周に直接車体取付フランジまたは車輪取付フランジが形成された第2世代構造、また、ハブ輪の外周に一方の内側転走面が直接形成された第3世代構造、あるいは、ハブ輪と等速自在継手の外側継手部材の外周にそれぞれ内側転走面が直接形成された第4世代構造とに大別されている。
車輪は懸架装置に対して、複列の転がり軸受により回転自在に支承されるが、オフロードカーやトラック等、車体重量が嵩む車両には複列円錐ころ軸受から構成された車輪用軸受装置が使用されている。
なお、こうした車輪用軸受装置において、内輪回転タイプのものでは、ハブ輪に嵌合される内輪を軸方向に固定する方式として、ハブ輪のインナー側の端部を加締めて固定するもの、所謂セルフリテイン構造が採用されている。図7にこの代表的な一例を示す。この車輪用軸受装置は第2世代と称され、ハブ輪51と、このハブ輪51に圧入された車輪用軸受52とからなる。
ハブ輪51は、一端部に車輪(図示せず)を取り付けるための車輪取付フランジ53を一体に有し、外周にこの車輪取付フランジ53から肩部51aを介して軸方向に延びる円筒状の小径段部51bが形成され、内周にトルク伝達用のセレーション51cが形成されている。車輪取付フランジ53の周方向等配位置には車輪を固定するハブボルト53aが植設されている。
車輪用軸受52は、外周にナックル(図示せず)に取り付けられるための車体取付フランジ54bを一体に有し、内周に複列のテーパ状の外側転走面54a、54aが形成された外方部材54と、外周に複列の外側転走面54a、54aに対向するテーパ状の内側転走面55aが形成された一対の内輪55、55と、両転走面間に保持器56を介して転動自在に収容された複列の円錐ころ57、57とを備えている。内輪55の内側転走面55aの大径側には円錐ころ57を案内するための大鍔部55bが形成されると共に、小径側には円錐ころ57の脱落を防止するための小鍔部55cが形成され、一対の内輪55、55の小鍔部55c側の端面(正面側端面)が突き合された状態でセットされ、背面合せタイプの複列の円錐ころ軸受を構成している。
車輪用軸受52は、ハブ輪51の肩部51aにアウター側の内輪55の大端面55dが衝合するように小径段部51bに所定のシメシロを介して圧入されている。そして、小径段部51bの端部を径方向外方に塑性変形させて形成した加締部58によって軸方向に固定されている。また、外方部材54と一対の内輪55、55との間に形成される環状空間の開口部にはシール59、59が装着され、軸受内部に封入された潤滑グリースの外部への漏洩と、外部から雨水やダスト等が軸受内部に侵入するのを防止している。
ここで、車輪取付フランジ53の基部となる肩部51aから小径段部51bに亙って高周波焼入れによって表面硬さが50〜64HRCの範囲に所定の硬化層60が形成されている。なお、加締部58は鍛造後の表面硬さのままとされている。
この硬化層60は、図8に示すように、インナー側の端部位置Pが、内輪55における面取り部55eの縁部P0から大鍔部55bの高さ(大鍔部55bの根元部)aに対応する位置P1までの範囲に設定されている。これにより、内輪55、55の嵌合面におけるフレッティング摩耗が抑制されてハブ輪51の耐久性が向上すると共に、ハブ輪51における小径段部51bの端部の拡径量を小さくすることができ、加締加工に伴う内輪55の内側転走面55aおよび大鍔部55bの変形を抑制することができる。したがって、円錐ころ57との接触面圧を抑えてスムーズな案内を確保し、内輪55の耐久性の向上を図ることができる。
また、内輪55における面取り部55eの曲率半径rがR1.0〜2.5の範囲に設定されている。これにより、曲げモーメント荷重が装置に負荷された時、加締部58の根元部分に応力集中が起こるのを防止すると共に、加締加工による小径段部51bの拡径量が大きくなって内輪55の外径に過大なフープ応力が発生するのを防止することができ、内輪55の強度・耐久性を向上させることができる。
さらに、ハブ輪51における小径段部51bの端部には環状の凹所61が形成されている。この凹所61は、内輪55の大端面(インナー側の端面)55dからb(5mm以下)になるように形成されている。これにより、ハブ輪51の強度・剛性を維持しつつ所定の内輪固定力を確保できると共に、塑性変形を容易にし、内輪55に発生するフープ応力を抑制することができる。
特開2007−292184号公報
このような従来の車輪用軸受装置では、内輪55の嵌合面におけるフレッティング摩耗が抑制されてハブ輪51の耐久性が向上すると共に、ハブ輪51における小径段部51bの端部の拡径量を小さくすることができ、加締加工に伴う内輪55の内側転走面55aおよび大鍔部55bの変形を抑制することができる。然しながら、図9に示すような、ハブ輪51の内周面に転がり軸受62が嵌合されるような仕様では、加締部58の近傍に転がり軸受62を位置決め固定する止め輪63が装着されている。このような車輪用軸受装置は、2WD(2輪駆動)と4WD(4輪駆動)との切り換えが可能なパートタイム4WD車用とした仕様で、ハブ輪64の中心に駆動軸(図示せず)が挿入されている。駆動軸は、ハブ輪64の内周に嵌合された転がり軸受62によってハブ輪64に対して回転自在に支承される。そして、図示しないクラッチ機構を介して、駆動軸とハブ輪64とが断続自在に構成される。
この種のハブ輪64では、図10に示すように、小径段部64aの端部が、円筒部65として形成され、車輪用軸受52を組立後、加締用治具66によってハブ輪64の小径段部64aが揺動加締されるが、この場合、図11に示すように、内周面に形成された止め輪溝67を起点としてクラック68が発生する恐れがある。このクラック68は、目視検査では発見しずらい部位であると共に、微小なクラック68が運転中に成長し、加締部58が脱落して重大欠陥を誘発させることがあるため、止め輪溝67の加工や、加工後の検査には慎重、かつ、入念な配慮が必要であった。したがって、ハブ輪64の加工工程および加締工程に多大な時間を要し、工程能力が低下して製造コストが高騰するという問題があった。
本発明は、このような事情に鑑みてなされたもので、内輪がハブ輪に加締固定され、このハブ輪の内周に軸受固定用の止め輪溝が形成されたセルフリテイン構造において、加締加工時に止め輪溝を起点に発生するクラックを防止し、加締部の強度を確保した車輪用軸受装置を提供することを目的としている。
係る目的を達成すべく、本発明のうち請求項1記載の発明は、内周に複列の外側転走面が一体に形成された外方部材と、一端部に車輪を取り付けるための車輪取付フランジを一体に有し、外周に軸方向に延びる小径段部が形成されたハブ輪、およびこのハブ輪の小径段部に所定のシメシロを介して圧入された少なくとも一つの内輪からなり、外周に前記複列の外側転走面に対向する複列の内側転走面が形成された内方部材と、この内方部材と前記外方部材の両転走面間に保持器を介して転動自在に収容された複列の転動体と、前記外方部材と内方部材との間に形成される環状空間の開口部に装着されたシールとを備え、前記小径段部の端部を径方向外方に塑性変形させて形成した加締部により前記ハブ輪に対して前記内輪が固定されると共に、前記ハブ輪の内周に転がり軸受が嵌合され、この転がり軸受が止め輪によって位置決め固定された車輪用軸受装置において、前記加締部の近傍に前記止め輪を装着するための止め輪溝が形成されると共に、この止め輪溝の隅部のうち少なくともアウター側の隅部が円弧面に形成され、この円弧面の曲率半径が、当該止め輪溝の深さの0.5〜1.5の範囲に設定されている。
このように、ハブ輪の小径段部の端部を径方向外方に塑性変形させて形成した加締部によりハブ輪に対して内輪が固定されると共に、ハブ輪の内周に転がり軸受が嵌合され、この転がり軸受が止め輪によって位置決め固定された車輪用軸受装置において、加締部の近傍に止め輪を装着するための止め輪溝が形成されると共に、この止め輪溝の隅部のうち少なくともアウター側の隅部が円弧面に形成され、この円弧面の曲率半径が、当該止め輪溝の深さの0.5〜1.5の範囲に設定されているので、加締加工時に小径段部の端部が塑性変形され、止め輪溝の隅部に引張応力が生じても、ここを起点にクラックが発生するのを防止することができ、加締部の強度を確保した車輪用軸受装置を提供することができる。
また、請求項2に記載の発明のように、前記止め輪溝の両隅部が円弧面に形成され、これらの円弧面の曲率半径が、当該止め輪溝の深さと略同一に設定されていれば、止め輪溝の隅部に引張応力が生じても、ここを起点にクラックが発生するのを一層防止することができる。
また、請求項3に記載の発明のように、前記止め輪溝の隅部のうちインナー側の隅部に丸ヌスミが形成されていれば、止め輪溝の隅部の切欠き感度を抑えることができ、加締加工時に小径段部の端部が塑性変形された時、止め輪溝の隅部の応力集中を緩和し、ここを起点にクラックが発生するのを一層防止することができる。
また、請求項4に記載の発明のように、前記止め輪溝が加締加工後に形成されていれば、加締加工時、止め輪溝の隅部に引張応力が生じるのを防止し、ここを起点にクラックが発生するのを確実に防止することができる。
また、請求項5に記載の発明のように、前記小径段部の加締加工前の端部が先端に向って漸次薄肉となる円筒状に形成され、この外周に環状溝が形成されると共に、当該環状溝が、前記内輪におけるインナー側の内径端部から大端面を越えて形成され、深さが0.5〜1.0mmの範囲に形成されていれば、加締加工時に端部が変形し易くなり内輪の変形を抑えることができる。
好ましくは、請求項6に記載の発明のように、前記環状溝の両端部に所定の曲率半径Ri、Roからなる円弧面が形成され、インナー側の円弧面の曲率半径Riが、前記内輪の面取り部の曲率半径r1よりも大きく、アウター側の円弧面の曲率半径Roよりも小さく設定され(r1≦Ri≦Ro)、RiがR1〜10の範囲に設定されていれば、所望の内輪内輪固定力が得られる。
本発明に係る車輪用軸受装置は、内周に複列の外側転走面が一体に形成された外方部材と、一端部に車輪を取り付けるための車輪取付フランジを一体に有し、外周に軸方向に延びる小径段部が形成されたハブ輪、およびこのハブ輪の小径段部に所定のシメシロを介して圧入された少なくとも一つの内輪からなり、外周に前記複列の外側転走面に対向する複列の内側転走面が形成された内方部材と、この内方部材と前記外方部材の両転走面間に保持器を介して転動自在に収容された複列の転動体と、前記外方部材と内方部材との間に形成される環状空間の開口部に装着されたシールとを備え、前記小径段部の端部を径方向外方に塑性変形させて形成した加締部により前記ハブ輪に対して前記内輪が固定されると共に、前記ハブ輪の内周に転がり軸受が嵌合され、この転がり軸受が止め輪によって位置決め固定された車輪用軸受装置において、前記加締部の近傍に前記止め輪を装着するための止め輪溝が形成されると共に、この止め輪溝の隅部のうち少なくともアウター側の隅部が円弧面に形成され、この円弧面の曲率半径が、当該止め輪溝の深さの0.5〜1.5の範囲に設定されているので、加締加工時に小径段部の端部が塑性変形され、止め輪溝の隅部に引張応力が生じても、ここを起点にクラックが発生するのを防止することができ、加締部の強度を確保した車輪用軸受装置を提供することができる。
外周にナックルに取り付けられるための車体取付フランジを一体に有し、内周にそれぞれ外向きに開いたテーパ状の複列の外側転走面が一体に形成された外方部材と、一端部に車輪を取り付けるための車輪取付フランジを一体に有し、外周にこの車輪取付フランジから軸方向に延びる小径段部が形成されたハブ輪、およびこのハブ輪の小径段部に所定のシメシロを介して圧入され、外周に前記複列の外側転走面に対向するテーパ状の内側転走面と、この内側転走面の大径側に円錐ころを案内する大鍔部が形成された一対の内輪からなる内方部材と、前記両転走面間に保持器を介して転動自在に収容された複列の円錐ころと、前記外方部材と内方部材との間に形成される環状空間の開口部に装着されたシールとを備え、前記小径段部の端部を径方向外方に塑性変形させて形成した加締部により前記ハブ輪に対して前記内輪が固定されると共に、前記ハブ輪の内周に転がり軸受が嵌合され、この転がり軸受が止め輪によって位置決め固定された車輪用軸受装置において、前記小径段部の加締加工前の端部外周に環状溝が形成され、この環状溝が、前記内輪のインナー側の内径端部から大端面を越えて形成され、深さが0.5〜1.0mmの範囲に形成されると共に、前記加締部の近傍に前記止め輪を装着するための止め輪溝が形成され、この止め輪溝の隅部のうち少なくともアウター側の隅部が円弧面に形成され、この円弧面の曲率半径が、当該止め輪溝の深さの0.5〜1.5の範囲に設定されている。
以下、本発明の実施の形態を図面に基づいて詳細に説明する。
図1は、本発明に係る車輪用軸受装置の第1の実施形態を示す縦断面図、図2は、図1の加締部を示す要部拡大図、図3は、図2の止め輪溝の変形例を示す要部拡大図、図4は、図2の止め輪溝の他の変形例を示す要部拡大図、図5は、図2のさらに他の変形例を示す要部拡大図である。なお、以下の説明では、車両に組み付けた状態で車両の外側寄りとなる側をアウター側(図1の左側)、中央寄り側をインナー側(図1の右側)という。
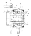
この車輪用軸受装置は駆動輪側の第2世代構造をなし、ハブ輪1と、このハブ輪1に圧入された車輪用軸受2とからなる。ハブ輪1は、アウター側の端部に車輪(図示せず)を取り付けるための車輪取付フランジ3を一体に有し、外周に肩部1aを介して軸方向に延びる円筒状の小径段部1bが形成され、内周にはトルク伝達用のセレーション(またはスプライン)1cが形成されている。また、車輪取付フランジ3の周方向等配位置に車輪を固定するハブボルト3aが植設されている。
車輪用軸受2は、外周にナックル(図示せず)に取り付けられるための車体取付フランジ4bを一体に有し、内周に複列のテーパ状の外側転走面4a、4aが一体に形成された外方部材4と、外周に複列の外側転走面4a、4aに対向するテーパ状の内側転走面5aが形成された一対の内輪5、5と、両転走面間に保持器6を介して転動自在に収容された複列の円錐ころ7、7とを備えている。内輪5の内側転走面5aの大径側には円錐ころ7を案内するための大鍔部5bが形成されると共に、小径側には円錐ころ7の脱落を防止するための小鍔部5cが形成され、一対の内輪5、5の小鍔部5c側の端面(正面側端面)が突き合された状態でセットされた背面合せタイプの複列の円錐ころ軸受を構成している。
外方部材4および内輪5、5はSUJ2等の高炭素クロム鋼で形成され、ズブ焼入れによって芯部まで58〜64HRCの範囲に硬化処理されている。なお、外方部材4は、高炭素クロム鋼に限らず、S53C等の炭素0.40〜0.80wt%を含む中高炭素鋼(JIS規格のSC系機械構造用炭素鋼)で形成し、複列の外側転走面4a、4aを高周波焼入れによって58〜64HRCの範囲に表面を硬化処理しても良い。
ハブ輪1はS53C等の炭素0.40〜0.80wt%を含む中高炭素鋼で形成され、車輪取付フランジ3の基部となる肩部1aから小径段部1bに亙って高周波焼入れによって表面硬さが50〜64HRCの範囲に硬化処理が施されている。なお、加締部8は鍛造後の表面硬さ25HRC以下の生のままとされている。
外方部材4と内輪5、5との間に形成される環状空間の開口部にはシール9、9が装着されている。これらシール9、9は、断面が略L字状に形成されて互いに対向配置された環状のシール板10とスリンガ11とからなる、所謂パックシールを構成し、軸受内部に封入された潤滑グリースの外部への漏洩と、外部から雨水やダスト等が軸受内部に侵入するのを防止している。
車輪用軸受2は、ハブ輪1の肩部1aにアウター側の内輪5の大端面5dが衝合するように小径段部1bに所定のシメシロを介して圧入されている。そして、小径段部1bの端部を径方向外方に塑性変形させて形成した加締部8によって所定の予圧が付与された状態で固定されている。これにより、従来のように、ナットの締付トルク等を調整して予圧を管理することなく、長期間に亘って安定した予圧を維持できるセルフリテイン構造を提供することができる。また、本実施形態では、ハブ輪1の内周面に深溝玉軸受からなる転がり軸受12が嵌合され、加締部8の近傍に転がり軸受12を位置決め固定する止め輪13が装着されている。なお、ここでは、転動体が円錐ころから複列円錐ころ軸受を例示したが、本発明に係る車輪用軸受装置はこれに限らず、例えば、図示はしないが、転動体にボールを用いた複列アンギュラ玉軸受であっても良い。
ここで、図2に示すように、加締加工前の小径段部1bの端部は先端に向って漸次薄肉となる円筒状に形成され、外周に環状溝14が形成されている。この環状溝14は、内輪5におけるインナー側の内径端部から大端面5dを越えて形成され、深さn=0.5〜1.0mmの範囲に形成されると共に、両端部に所定の曲率半径Ri、Roからなる円弧面14a、14bが形成されている。インナー側の円弧面14aの曲率半径Riは、内輪5の面取り部5dの曲率半径r1よりも大きく、アウター側の円弧面14bの曲率半径Roよりも小さく設定され(r1≦Ri≦Ro)、RiがR1〜10の範囲に設定されている。
このように、小径段部1bの端部外周に環状溝14を形成することにより、加締加工時に端部が変形し易くなり内輪5の変形を抑えることができる。ただし、環状溝14の深さnが0.5mmよりも小さいとその効果が薄れ、また、深さnが1.0mmを超えると、内輪押込み量(加締力)が不足して所望の内輪5の固定力が得られない。
また、小径段部1bの端部の内周に止め輪溝15が形成されている。この止め輪溝15は、断面が矩形状に形成されると共に、アウター側の隅部が円弧面に形成されている。この円弧面の曲率半径R1は、通常0.6mm以下に規制されているが、ここでは、止め輪溝15の深さt(2.0〜3.0mm)の0.5〜1.5(1.0〜4.5mm)の範囲に設定されている。これにより、加締加工時に小径段部1bの端部が塑性変形され(図中2点鎖線にて示す)、止め輪溝15の隅部に引張応力が生じても、ここを起点にクラックが発生するのを防止することができ、加締部8の強度を確保した車輪用軸受装置を提供することができる。
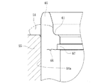
図3は、図2の止め輪溝の変形例を示している。なお、前述した実施形態と同一部品、同一部位あるいは同一機能を有する部品や部位には同じ符号を付して詳細な説明を省略する。この止め輪溝16は、断面が矩形状に形成されると共に、両隅部が円弧面に形成されている。この円弧面の曲率半径R2は、止め輪溝16の深さtと略同一に設定されている。これにより、加締加工時に小径段部1bの端部が塑性変形され(図中2点鎖線にて示す)、止め輪溝16の隅部に引張応力が生じても、ここを起点にクラックが発生するのを一層防止することができる。
図4は、図2の止め輪溝の他の変形例を示している。なお、前述した実施形態と同一部品、同一部位あるいは同一機能を有する部品や部位には同じ符号を付して詳細な説明を省略する。この止め輪溝17は、断面が矩形状に形成されると共に、アウター側の隅部が円弧面に形成されると共に、インナー側の隅部に丸ヌスミ17aが形成されている。これにより、止め輪溝17の隅部の切欠き感度(亀裂敏感性)を抑えることができ、加締加工時に小径段部1bの端部が塑性変形された時(図中2点鎖線にて示す)、止め輪溝17の隅部の応力集中を緩和し、ここを起点にクラックが発生するのを一層防止することができる。
図5は、図2の止め輪溝のさらに他の変形例を示している。なお、前述した実施形態と同一部品、同一部位あるいは同一機能を有する部品や部位には同じ符号を付して詳細な説明を省略する。この止め輪溝18は、断面が矩形状に形成されると共に、両隅部が円弧面に形成され、その曲率半径R3が通常の0.6mm以下に規制されている。ここでは、止め輪溝18が加締加工後に形成されている。これにより、加締加工時、止め輪溝18の隅部に引張応力が生じるのを防止し、ここを起点にクラックが発生するのを確実に防止することができる。
図6は、本発明に係る車輪用軸受装置の第2の実施形態を示す縦断面図である。なお、前述した実施形態と同一部品、同一部位あるいは同一機能を有する部品や部位には同じ符号を付して詳細な説明を省略する。
この車輪用軸受装置は駆動輪側の第3世代構造をなし、ハブ輪19と、このハブ輪1に圧入された内輪5とからなる内方部材20と、外周に車体取付フランジ4bを一体に有し、内周に複列のテーパ状の外側転走面4a、4aが一体に形成された外方部材4と、両転走面間に保持器6を介して転動自在に収容された複列の円錐ころ7、7とを備えている。
ハブ輪19は、アウター側の端部に車輪取付フランジ3を一体に有し、外周に複列の外側転走面4a、4aの一方(アウター側)に対向する内側転走面19aと、この内側転走面19aから軸方向に延びる円筒状の小径段部1bが形成され、内周にはトルク伝達用のセレーション(またはスプライン)1cが形成されている。そして、小径段部1bの端部を径方向外方に塑性変形させて形成した加締部8によって所定の軸受予圧が付与された状態で固定されている。
ハブ輪19はS53C等の炭素0.40〜0.80wt%を含む中高炭素鋼で形成され、内側転走面19aをはじめ、車輪取付フランジ3の基部から小径段部1bに亙って高周波焼入れによって表面硬さが58〜64HRCの範囲に硬化処理が施されている。
外方部材4と内方部材20との間に形成される環状空間の開口部にはシール9、9が装着され、軸受内部に封入された潤滑グリースの外部への漏洩と、外部から雨水やダスト等が軸受内部に侵入するのを防止している。
ここで、前述した実施形態と同様、加締加工前の小径段部1bの端部内周に止め輪溝15が形成されている。この止め輪溝15は、断面が矩形状に形成されると共に、両隅部が円弧面に形成され、少なくともアウター側の隅部の円弧面の曲率半径R1が、止め輪溝15の深さtの0.5〜1.5の範囲に設定されている。これにより、加締加工時に小径段部1bの端部が塑性変形され、止め輪溝15の隅部に引張応力が生じ、ここを起点にクラックが発生するのを防止することができ、加締部8の強度を確保した車輪用軸受装置を提供することができる。
以上、本発明の実施の形態について説明を行ったが、本発明はこうした実施の形態に何等限定されるものではなく、あくまで例示であって、本発明の要旨を逸脱しない範囲内において、さらに種々なる形態で実施し得ることは勿論のことであり、本発明の範囲は、特許請求の範囲の記載によって示され、さらに特許請求の範囲に記載の均等の意味、および範囲内のすべての変更を含む。
本発明に係る車輪用軸受装置は、ハブ輪とこのハブ輪に嵌合された内輪を備え、この内輪が揺動加締により固定された第1乃至第3世代構造の車輪用軸受装置に適用することができる。
本発明に係る車輪用軸受装置の第1の実施形態を示す縦断面図である。 図1の加締部を示す要部拡大図である。 図2の止め輪溝の変形例を示す要部拡大図である。 図2の止め輪溝の他の変形例を示す要部拡大図である。 図2のさらに他の変形例を示す要部拡大図である。 本発明に係る車輪用軸受装置の第2の実施形態を示す縦断面図である。 従来の車輪用軸受装置を示す縦断面図である。 図7の加締部を示す要部拡大図である。 他の従来の車輪用軸受装置を示す縦断面図である。 加締加工の工程を示す説明図である。 加締加工による不具合状態を示す模式図である。
符号の説明
1、19・・・・・・・・・ハブ輪
1a・・・・・・・・・・・肩部
1b・・・・・・・・・・・小径段部
1c・・・・・・・・・・・セレーション
2・・・・・・・・・・・・車輪用軸受
3・・・・・・・・・・・・車輪取付フランジ
3a・・・・・・・・・・・ハブボルト
4・・・・・・・・・・・・外方部材
4a・・・・・・・・・・・外側転走面
4b・・・・・・・・・・・車体取付フランジ
5・・・・・・・・・・・・内輪
5a、19a・・・・・・・内側転走面
5b・・・・・・・・・・・大鍔部
5c・・・・・・・・・・・小鍔部
5d・・・・・・・・・・・大端面
5e・・・・・・・・・・・面取り部
6・・・・・・・・・・・・保持器
7・・・・・・・・・・・・円錐ころ
8・・・・・・・・・・・・加締部
9・・・・・・・・・・・・シール
10・・・・・・・・・・・シール板
11・・・・・・・・・・・スリンガ
12・・・・・・・・・・・転がり軸受
13・・・・・・・・・・・止め輪
14・・・・・・・・・・・環状溝
14a、14b・・・・・・円弧面
15、16、17、18・・止め輪溝
17a・・・・・・・・・・丸ヌスミ
20・・・・・・・・・・・内方部材
51、64・・・・・・・・ハブ輪
51a・・・・・・・・・・肩部
51b、64a・・・・・・小径段部
51c・・・・・・・・・・セレーション
52・・・・・・・・・・・車輪用軸受
53・・・・・・・・・・・車輪取付フランジ
53a・・・・・・・・・・ハブボルト
54・・・・・・・・・・・外方部材
54a・・・・・・・・・・外側転走面
54b・・・・・・・・・・車体取付フランジ
55・・・・・・・・・・・内輪
55a・・・・・・・・・・内側転走面
55b・・・・・・・・・・大鍔部
55c・・・・・・・・・・小鍔部
55d・・・・・・・・・・大端面
55e・・・・・・・・・・面取り部
56・・・・・・・・・・・保持器
57・・・・・・・・・・・円錐ころ
58・・・・・・・・・・・加締部
59・・・・・・・・・・・シール
60・・・・・・・・・・・硬化層
61・・・・・・・・・・・凹所
62・・・・・・・・・・・転がり軸受
63・・・・・・・・・・・止め輪
65・・・・・・・・・・・円筒部
66・・・・・・・・・・・加締用治具
67・・・・・・・・・・・止め輪溝
a・・・・・・・・・・・・大鍔部の高さ
b・・・・・・・・・・・・小径段部の凹所の内輪大端面からの深さ
n・・・・・・・・・・・・環状溝の深さ
P・・・・・・・・・・・・硬化層のインナー側の端部位置
P0・・・・・・・・・・・内輪における面取り部の縁部
P1・・・・・・・・・・・大鍔部の高さに対応する位置
r、r1・・・・・・・・・内輪の面取り部の曲率半径
R1、R2、R3・・・・・止め輪溝の隅部の曲率半径
Ri、Ro・・・・・・・・環状溝の端部の曲率半径
t・・・・・・・・・・・・止め輪溝の深さ

Claims (6)

  1. 内周に複列の外側転走面が一体に形成された外方部材と、
    一端部に車輪を取り付けるための車輪取付フランジを一体に有し、外周に軸方向に延びる円筒状の小径段部が形成されたハブ輪、およびこのハブ輪の小径段部に所定のシメシロを介して圧入された少なくとも一つの内輪からなり、外周に前記複列の外側転走面に対向する複列の内側転走面が形成された内方部材と、
    この内方部材と前記外方部材の両転走面間に保持器を介して転動自在に収容された複列の転動体と、
    前記外方部材と内方部材との間に形成される環状空間の開口部に装着されたシールとを備え、
    前記小径段部の端部を径方向外方に塑性変形させて形成した加締部により前記ハブ輪に対して前記内輪が固定されると共に、前記ハブ輪の内周に転がり軸受が嵌合され、この転がり軸受が止め輪によって位置決め固定された車輪用軸受装置において、
    前記加締部の近傍に前記止め輪を装着するための止め輪溝が形成されると共に、この止め輪溝の隅部のうち少なくともアウター側の隅部が円弧面に形成され、この円弧面の曲率半径が、当該止め輪溝の深さの0.5〜1.5の範囲に設定されていることを特徴とする車輪用軸受装置。
  2. 前記止め輪溝の両隅部が円弧面に形成され、これらの円弧面の曲率半径が、当該止め輪溝の深さと略同一に設定されている請求項1に記載の車輪用軸受装置。
  3. 前記止め輪溝の隅部のうちインナー側の隅部に丸ヌスミが形成されている請求項1または2に記載の車輪用軸受装置。
  4. 前記止め輪溝が加締加工後に形成されている請求項1乃至3いずれかに記載の車輪用軸受装置。
  5. 前記小径段部の加締加工前の端部が先端に向って漸次薄肉となる円筒状に形成され、この外周に環状溝が形成されると共に、当該環状溝が、前記内輪におけるインナー側の内径端部から大端面を越えて形成され、深さが0.5〜1.0mmの範囲に形成されている請求項1乃至4いずれかに記載の車輪用軸受装置。
  6. 前記環状溝の両端部に所定の曲率半径Ri、Roからなる円弧面が形成され、インナー側の円弧面の曲率半径Riが、前記内輪の面取り部の曲率半径r1よりも大きく、アウター側の円弧面の曲率半径Roよりも小さく設定され(r1≦Ri≦Ro)、RiがR1〜10の範囲に設定されている請求項5に記載の車輪用軸受装置。
JP2008262344A 2008-10-09 2008-10-09 車輪用軸受装置 Expired - Fee Related JP5501595B2 (ja)

Priority Applications (1)

Application Number Priority Date Filing Date Title
JP2008262344A JP5501595B2 (ja) 2008-10-09 2008-10-09 車輪用軸受装置

Applications Claiming Priority (1)

Application Number Priority Date Filing Date Title
JP2008262344A JP5501595B2 (ja) 2008-10-09 2008-10-09 車輪用軸受装置

Publications (2)

Publication Number Publication Date
JP2010089663A true JP2010089663A (ja) 2010-04-22
JP5501595B2 JP5501595B2 (ja) 2014-05-21

Family

ID=42252812

Family Applications (1)

Application Number Title Priority Date Filing Date
JP2008262344A Expired - Fee Related JP5501595B2 (ja) 2008-10-09 2008-10-09 車輪用軸受装置

Country Status (1)

Country Link
JP (1) JP5501595B2 (ja)

Cited By (1)

* Cited by examiner, † Cited by third party
Publication number Priority date Publication date Assignee Title
CN116689498A (zh) * 2023-06-02 2023-09-05 首钢智新迁安电磁材料有限公司 一种轧机

Citations (5)

* Cited by examiner, † Cited by third party
Publication number Priority date Publication date Assignee Title
DE3418440A1 (de) * 1984-05-18 1985-11-21 FAG Kugelfischer Georg Schäfer KGaA, 8720 Schweinfurt Radlagereinheit mit formschluessiger verbindung zweier ineinander geschobener ringteile
JP2003028256A (ja) * 2001-07-19 2003-01-29 Nsk Ltd トロイダル型無段変速機
JP2004203213A (ja) * 2002-12-25 2004-07-22 Nsk Ltd 車輪支持用ハブユニットの雌スプライン加工方法
WO2007111316A1 (ja) * 2006-03-28 2007-10-04 Jtekt Corporation 車輪用軸受装置
JP2007327507A (ja) * 2006-06-06 2007-12-20 Ntn Corp 車輪用軸受装置

Patent Citations (5)

* Cited by examiner, † Cited by third party
Publication number Priority date Publication date Assignee Title
DE3418440A1 (de) * 1984-05-18 1985-11-21 FAG Kugelfischer Georg Schäfer KGaA, 8720 Schweinfurt Radlagereinheit mit formschluessiger verbindung zweier ineinander geschobener ringteile
JP2003028256A (ja) * 2001-07-19 2003-01-29 Nsk Ltd トロイダル型無段変速機
JP2004203213A (ja) * 2002-12-25 2004-07-22 Nsk Ltd 車輪支持用ハブユニットの雌スプライン加工方法
WO2007111316A1 (ja) * 2006-03-28 2007-10-04 Jtekt Corporation 車輪用軸受装置
JP2007327507A (ja) * 2006-06-06 2007-12-20 Ntn Corp 車輪用軸受装置

Cited By (1)

* Cited by examiner, † Cited by third party
Publication number Priority date Publication date Assignee Title
CN116689498A (zh) * 2023-06-02 2023-09-05 首钢智新迁安电磁材料有限公司 一种轧机

Also Published As

Publication number Publication date
JP5501595B2 (ja) 2014-05-21

Similar Documents

Publication Publication Date Title
JP5366665B2 (ja) 車輪用軸受装置
US20110188792A1 (en) Bearing Apparatus For A Wheel Of Vehicle
WO2007138740A1 (ja) 車輪用軸受装置
WO2007125646A1 (ja) 車輪用軸受装置
CN101379314A (zh) 用于车轮的轴承装置
JP2007085371A (ja) 車輪用軸受装置
JP5077909B2 (ja) 車輪用軸受装置
JP2008284960A (ja) 車輪用軸受装置
JP2006349059A (ja) 車輪用軸受装置
JP5501595B2 (ja) 車輪用軸受装置
JP4868891B2 (ja) 車輪用軸受装置
JP2006046401A (ja) 車輪用軸受装置
JP4998979B2 (ja) 車輪用軸受装置
JP4994717B2 (ja) 車輪用軸受装置
JP4936739B2 (ja) 車輪用軸受装置
JP2008121838A (ja) 車輪用軸受装置
JP4969899B2 (ja) 車輪用軸受装置
JP2006242257A (ja) 車輪用軸受装置
JP2010047092A (ja) 車輪用軸受装置
JP4998978B2 (ja) 車輪用軸受装置
JP2014206192A (ja) 車輪用軸受装置
JP4986115B2 (ja) 車輪用軸受装置
JP2007292184A (ja) 車輪用軸受装置
JP4986277B2 (ja) 車輪用軸受装置
JP2009204064A (ja) 車輪用軸受装置

Legal Events

Date Code Title Description
A621 Written request for application examination

Free format text: JAPANESE INTERMEDIATE CODE: A621

Effective date: 20110921

A977 Report on retrieval

Free format text: JAPANESE INTERMEDIATE CODE: A971007

Effective date: 20130214

A131 Notification of reasons for refusal

Free format text: JAPANESE INTERMEDIATE CODE: A131

Effective date: 20130315

A521 Written amendment

Free format text: JAPANESE INTERMEDIATE CODE: A523

Effective date: 20130514

A131 Notification of reasons for refusal

Free format text: JAPANESE INTERMEDIATE CODE: A131

Effective date: 20130625

A521 Written amendment

Free format text: JAPANESE INTERMEDIATE CODE: A523

Effective date: 20130806

TRDD Decision of grant or rejection written
A01 Written decision to grant a patent or to grant a registration (utility model)

Free format text: JAPANESE INTERMEDIATE CODE: A01

Effective date: 20140217

A61 First payment of annual fees (during grant procedure)

Free format text: JAPANESE INTERMEDIATE CODE: A61

Effective date: 20140312

R150 Certificate of patent or registration of utility model

Ref document number: 5501595

Country of ref document: JP

Free format text: JAPANESE INTERMEDIATE CODE: R150

LAPS Cancellation because of no payment of annual fees