JP2010089349A - 発泡樹脂成形品の接合構造 - Google Patents

発泡樹脂成形品の接合構造 Download PDF

Info

Publication number
JP2010089349A
JP2010089349A JP2008260684A JP2008260684A JP2010089349A JP 2010089349 A JP2010089349 A JP 2010089349A JP 2008260684 A JP2008260684 A JP 2008260684A JP 2008260684 A JP2008260684 A JP 2008260684A JP 2010089349 A JP2010089349 A JP 2010089349A
Authority
JP
Japan
Prior art keywords
trim
molded product
resin molded
foamed resin
rib
Prior art date
Legal status (The legal status is an assumption and is not a legal conclusion. Google has not performed a legal analysis and makes no representation as to the accuracy of the status listed.)
Granted
Application number
JP2008260684A
Other languages
English (en)
Other versions
JP5190952B2 (ja
Inventor
Masashi Fujii
将志 藤井
Current Assignee (The listed assignees may be inaccurate. Google has not performed a legal analysis and makes no representation or warranty as to the accuracy of the list.)
Kasai Kogyo Co Ltd
Original Assignee
Kasai Kogyo Co Ltd
Priority date (The priority date is an assumption and is not a legal conclusion. Google has not performed a legal analysis and makes no representation as to the accuracy of the date listed.)
Filing date
Publication date
Application filed by Kasai Kogyo Co Ltd filed Critical Kasai Kogyo Co Ltd
Priority to JP2008260684A priority Critical patent/JP5190952B2/ja
Publication of JP2010089349A publication Critical patent/JP2010089349A/ja
Application granted granted Critical
Publication of JP5190952B2 publication Critical patent/JP5190952B2/ja
Expired - Fee Related legal-status Critical Current
Anticipated expiration legal-status Critical

Links

Images

Landscapes

  • Lining Or Joining Of Plastics Or The Like (AREA)
  • Moulds For Moulding Plastics Or The Like (AREA)
  • Injection Moulding Of Plastics Or The Like (AREA)

Abstract

【課題】発泡樹脂成形品と樹脂成形品を接合一体化する際、樹脂成形品の転びによる合わせ部分のスキ発生、段差発生を防止するように両者を接合する際の寸法精度を高める。
【解決手段】トリムアッパー(発泡樹脂成形品)20とトリムロア(樹脂成形品)30とを接合一体化してラゲージサイドトリム10を組み付ける。トリムロア30の溶着用ボス31周りの補強リブ32を突き当てるトリムアッパー20の取付座面24には、補強リブ32の当接面以外の位置(補強リブ32との干渉を回避できる位置)で、かつ端末寄りにリブ26を形成することで、発泡樹脂材料Mの射出充填後における可動側金型50の後退操作において、リブ26のアンカー効果により、取付座面24の端末部分の板厚を確保することで、トリムアッパー20とトリムロア30との接合姿勢を良好に維持して、合わせ部分のスキ発生、段差発生を解消する。
【選択図】図10

Description

この発明は、発泡樹脂材料の射出充填工程と発泡成形工程とで成形金型の型クリアランスを可変させる成形工法を採用して成形した発泡樹脂成形品と相手側の樹脂成形品との接合構造に係り、特に、発泡樹脂成形品の成形時における発泡不足による欠肉不良を解消でき、発泡樹脂成形品と樹脂成形品との間で安定した接合姿勢を確保できる発泡樹脂成形品の接合構造に関する。
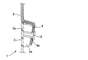
図15は車両のラゲージルームにおける側壁パネルの室内面側に装着されるラゲージサイドトリム1を示す正面図であり、ラゲージサイドトリム1は、トリムアッパー2とトリムロア3との上下二分割体を接合固定して構成されている。この従来例においては、トリムアッパー2は、軽量で耐衝撃性に優れた発泡樹脂成形品を採用し、トリムロア3は合成樹脂の射出成形体、あるいはモールドプレス成形体からなる樹脂成形品が採用されている。そして、トリムアッパー2とトリムロア3は、図16に示すように、トリムアッパー2の下縁とトリムロア3の上縁とを一部オーバーラップさせて、オーバーラップ部分におけるトリムアッパー2には接合用フランジ4を延設し、この接合用フランジ4の所定箇所に幅方向に沿って所定ピッチ間隔で取付孔4aを開設する。一方、トリムロア3は、上記トリムアッパー2の取付孔4aに対応して、溶着用ボス5が裏面側に向けて立設され、溶着用ボス5を取付孔4a内に挿入させた後、溶着用ボス5の先端に超音波溶着加工等を施すことにより、トリムアッパー2とトリムロア3とが強固に接合一体化される。そして、溶着用ボス5の周りに十字状の補強リブ5aが一体化されており、この補強リブ5aをトリムアッパー2の接合用フランジ4の取付座面に突き当てることで、両者の接合姿勢を良好に維持するようにしている。
次いで、上記トリムアッパー2の成形に使用する成形金型の構成について図17を基に説明する。図17に示すように、成形金型6は、可動側金型7と固定側金型8とから大略構成され、可動側金型7は、駆動シリンダ7aの駆動により、固定側金型8に対して型開き、型締めが行なわれる。また、可動側金型7と固定側金型8との間に画成されるキャビティC内に発泡樹脂材料Mを供給する供給系統としては、射出機8aが固定側金型8に連結され、この射出機8aから供給される発泡樹脂材料Mは、固定側金型8に設けられたホットランナ8b、バルブゲート8cを通じてキャビティC内に射出充填される。次いで、発泡樹脂材料Mの射出充填工程が完了すれば、可動側金型7を微小ストローク後退操作させて、型クリアランスを拡げた後、発泡樹脂材料Mの発泡成形を行なわせることで製品表面はスキン層2a、内部は発泡層2bの二層構造からなるトリムアッパー2の成形が完了する。尚、発泡樹脂材料Mの射出充填工程と、型クリアランスを大きく確保した発泡成形工程の二つの工程を採用した発泡樹脂成形品の製造方法の従来例としては、特許文献1に詳細に記載されている。
特開2002−120252号公報
このように、従来のラゲージサイドトリム1におけるトリムアッパー(発泡樹脂成形品)2の成形方法においては、可動側金型7と固定側金型8との間の型クリアランスを調整することで、精度の良い成形を行なっている。すなわち、発泡樹脂材料Mの射出充填時には、型クリアランスを小さくして、発泡を抑えた状態で発泡樹脂材料MをキャビティC内に供給するとともに、発泡反応時には、型クリアランスを大きく設定することで、最終製品形状にトリムアッパー2を精度良く成形することができる。
しかしながら、製品の端末側においては、例えば、トリムアッパー2の接合用フランジ4の端末部等は、発泡樹脂材料Mが最終的に到達する部位であり、図17中拡大して示すように、3点で金型の冷却面が発泡樹脂材料Mと接触するため、スキン層2aが早々と形成され、発泡不足による欠肉状態になるという不具合がある。従って、トリムアッパー2の端末側が欠肉した状態でトリムアッパー2とトリムロア3とを接合固定すれば、図18に示すように、トリムロア3が図中矢印方向に転ぶため、トリムアッパー2とトリムロア3の合わせ部分(図18中aで示す)にスキや段差等が発生し、外観見栄えを著しく低下させるという不具合がある。
この発明は、このような事情に鑑みてなされたもので、相互に型開き、型締め可能な可動側金型、固定側金型とからなる成形金型を使用し、発泡樹脂材料の射出充填工程と発泡成形工程とで成形金型の型クリアランスを調整した成形工法を採用して成形した発泡樹脂成形品を相手側の樹脂成形品と接合する発泡樹脂成形品の接合構造において、発泡樹脂成形品の端末側において発泡不足による欠肉不良が皆無となり、寸法精度に優れた発泡樹脂成形品が得られるとともに、両者の合わせ部にスキや段差が発生することがなく、外観見栄えに優れ、かつ安定した接合姿勢が得られる発泡樹脂成形品の接合構造を提供することを目的とする。
上記課題を解決するために、本発明は、可動側金型と固定側金型との間で画成されるキャビティ内に発泡樹脂材料を射出充填した後、可動側金型を後退操作することにより、発泡スペースを確保し、所要形状に発泡成形してなる発泡樹脂成形品と、所要形状に成形された樹脂成形品との接合構造であって、樹脂成形品の裏面に立設した溶着用ボスを発泡樹脂成形品の取付孔内に挿入し、取付孔周囲の取付座面に対して溶着用ボス周りの補強リブを突き合わせて発泡樹脂成形品と樹脂成形品とを接合させる発泡樹脂成形品の接合構造において、前記発泡樹脂成形品における取付座面には、樹脂成形品の補強リブとの干渉を回避できる位置で、かつ端末寄りにリブが一体化され、可動側金型の後退操作時、リブのアンカー効果により、取付座面の端末側における板厚が有効に確保され、取付座面と補強リブとの突き当て作用で樹脂成形品の転がり不良を抑えるようにしたことを特徴とする。
ここで、成形金型における可動側金型は、固定側金型に対して型開き、型締めできるように、シリンダ、あるいはプレスラム等により所定ストローク可動できるとともに、特に、発泡樹脂材料の射出充填工程における可動側金型と固定側金型との狭い型クリアランスを確保する第1の金型位置と、第1の金型位置から所定ストローク可動側金型を後退させて発泡スペースを確保する第2の金型位置とが位置決めできるように、可動側金型のストロークが設定される。一方、固定側金型には、発泡樹脂材料をキャビティ内に供給するために、ホットランナ、バルブゲート等の樹脂通路が設けられている。そして、可動側金型の型開き時に可動側金型と追従するように可動側金型のキャビティ外周に凹部を設け、凹部に相当するリブのアンカー効果により、発泡樹脂成形品の端末側において可動側金型に追従する。また、製品端末側に形成されるリブは、剛性を強化する機能を併せ持つ。
更に、発泡樹脂成形品と接合対象となる樹脂成形品の組み合わせとしては、例えば、ドアトリム、リヤサイドトリム、ラゲージサイドトリム等の車両の側壁パネルの室内面に装着される比較的大型の内装部品であって、トリムアッパーとトリムロアの上下二分割体、あるいはトリムアッパー、トリムセンター、トリムロアの上下三分割体等の各パーツを接合固定する構造に適用される。トリムアッパーとトリムロアの上下二分割体を例にとると、トリムアッパーを発泡樹脂成形品、トリムロアを樹脂成形品で構成し、トリムロアの裏面に突設した溶着用ボスをトリムアッパーの取付孔に挿入して、先端をカシメ加工等で締結操作することで両者が一体化される。
また、ドアトリム本体にポケットカバーを取り付ける構造にも適用できる。この場合、ドアトリム本体を発泡樹脂成形品、ポケットカバーを樹脂成形品で構成し、ポケットカバーのボスをドアトリム本体の取付孔に挿入して、ボスを締結加工することで、両者を組み付ければ良い。
そして、本発明に係る発泡樹脂成形品と樹脂成形品の接合構造によれば、樹脂成形品の取付座面となる発泡樹脂成形品の接合用フランジについては、その端部の板厚はリブのアンカー効果により充分確保されているため、樹脂成形品と発泡樹脂成形品とを安定した確実な接合姿勢で位置決めすることができ、樹脂成形品がグラツクことがなく、かつ両者の合わせ部分にスキ、あるいは段差等が発生することがないため、合わせ部分の外観見栄えが優れたものとなる。
以上説明した通り、本発明に係る発泡樹脂成形品の接合構造によれば、射出充填時の型クリアランスと発泡成形時の型クリアランスを可変させて、発泡樹脂成形品を成形する成形方法を採用し、特に、キャビティ外周における可動側金型に凹部を設け、可動側金型の後退時、この凹部内に充填された部分が可動側金型の動作に追従するため、従来、製品端末側に生じていた欠肉不良を解消でき、端末部分の板厚を充分確保できることから、発泡樹脂成形品の寸法精度、特に端末部分の寸法精度を高めることができる。従って、樹脂成形品との接合構造においては、接合姿勢を良好に維持でき、確実な位置合わせが期待できるため、合わせ部分にスキ、段差等が生じることがなく、合わせ部分の外観意匠性を高めることができるという効果を有する。
以下、本発明に係る発泡樹脂成形品の接合構造の実施例について、添付図面を参照しながら詳細に説明する。尚、念のため付言すれば、本発明の要旨は特許請求の範囲に記載した通りであり、以下に説明する実施例の内容は、本発明の一例を単に示すものに過ぎない。
図1乃至図14は本発明の一実施例を示すもので、図1は本発明に係る発泡樹脂成形品の接合構造を適用した上下二分割構造のラゲージサイドトリムを示す正面図、図2は同ラゲージサイドトリムにおけるトリムアッパーとトリムロアとの接合部分の構成を示す断面図、図3は同ラゲージサイドトリムにおけるトリムアッパーの取付座面近傍を示す斜視図、図4は同ラゲージサイドトリムにおけるトリムロアの溶着用ボス近傍部分の構成を示す説明図、図5は同ラゲージサイドトリムにおけるトリムアッパーを成形する際に使用する成形金型の概略構成を示す説明図、図6は成形金型におけるキャビティ外周形状を示す説明図、図7乃至図10は同ラゲージサイドトリムにおけるトリムアッパーの成形方法の各工程を示す説明図、図11乃至図14は本発明に係る発泡樹脂成形品の接合構造の変形例を示す各説明図である。
図1乃至図4において、ラゲージサイドトリム10は、車両のラゲージルームの側壁パネルの室内面側に取り付けられる内装部品であり、トリムアッパー20とトリムロア30の上下二分割体から構成されている。トリムアッパー20及びトリムロア30には、それぞれ各種機能部品、例えば、備品を吊り下げるための多機能型フックや、空調用のエアグリル、あるいはスピーカグリル等がトリムアッパー20、あるいはトリムロア30と別体、あるいは一体に設けられているが、本発明の要旨ではないため、ここではこれら機能部品やその取付構造については省略する。
ところで、上記トリムアッパー20は、発泡樹脂成形品が使用されており、この発泡樹脂成形品は、合成樹脂中に発泡剤が混入された素材を使用している。例えば、使用できる合成樹脂としては、ポリエチレン系樹脂、ポリプロピレン系樹脂、ポリスチレン系樹脂、ポリエチレンテレフタレート系樹脂、ポリビニルアルコール系樹脂、塩化ビニル系樹脂、ポリアミド系樹脂、ポリアセタール系樹脂、ポリカーボネート系樹脂、アイオノマー系樹脂、アクリロニトリル/ブタジエン/スチレン(ABS)樹脂等がある。尚、合成樹脂に対して混入される発泡剤としては、アゾジカルボンアミド等の有機発泡剤、あるいは重炭酸ナトリウム等の無機発泡剤が使用できる。更に、成形方法は後述するが、射出成形工法が採用されている。一方、トリムロア30は、射出成形工法を採用した通常の樹脂成形品が使用され、トリムアッパー20における発泡樹脂成形品の素材の発泡剤を省略した合成樹脂材料を射出成形することにより成形されている。
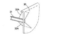
次に、図2乃至図4に基づいて、トリムアッパー20とトリムロア30との接合構造について説明する。まず、トリムアッパー20は、図2に示す断面図、図3に示す斜視図から明らかなように、表面のスキン層21と、その内部の発泡層22の二層構造体から構成されており、トリムロア30と一部オーバーラップさせるために、下縁には接合用フランジ23が形成され、特に、トリムロア30との固定部分は取付座面24が設定され、この取付座面24の略中央には、取付孔25が開設され、この取付孔25を囲むように取付座面24の4隅部に上下に長いリブ26が室内側に向けて突設形成されている。
これに対して、トリムロア30には、トリムアッパー20の取付孔25に挿入するための溶着用ボス31が突設形成されており、この溶着用ボス31の周りに十字状の補強リブ32が一体化されている。そして、この十字状の補強リブ32をトリムアッパー20の取付座面24に当接させることで、トリムアッパー20とトリムロア30とを堅固に突き合わせて、この状態で溶着用ボス31の先端を図2に示すように超音波溶着カシメ加工を施すことで、トリムアッパー20とトリムロア30とが強固に接合一体化されている。尚、リブ26は、補強リブ32との干渉を回避する位置で取付座面24の端末寄りに設定されている。
このように、本発明においては、トリムアッパー20における取付座面24の4隅部にリブ26が形成され、このリブ26により取付座面24の剛性が強化され、取付時の応力等によって容易に変形することがなく、初期形状を長期に亘り維持することができる。更に、このリブ26は、後述するように、トリムアッパー20の成形時に取付座面24の端末側における板厚を良好に確保できるように有効に機能している。そして、トリムアッパー20とトリムロア30とを接合した状態では、トリムアッパー20の取付座面24に対してトリムロア30の補強リブ32が確実に密着支持しており、両者の強固な接合姿勢が得られることから、トリムロア30の上端側が転ぶことがなく、トリムアッパー20とトリムロア30との合わせ部分にスキ、段差等が生じることがない。
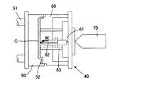
次いで、図5,図6は、ラゲージサイドトリム10におけるトリムアッパー20を成形する際に使用する成形金型40の概略構成を示すもので、この成形金型40は、可動側金型50と固定側金型60と射出機70とから大略構成されている。更に詳しくは、上記可動側金型50はプレスラム51の動作により、型開き位置、型締め位置に加えて発泡成形位置の3つのポジションをとるように駆動される。一方、固定側金型60は、射出機70から供給される発泡樹脂材料Mの樹脂通路となるホットランナ61、バルブゲート62を通じて型面に発泡樹脂材料Mが供給されるとともに、成形後の発泡樹脂成形品であるトリムアッパー20を突き出すためのエジェクタピン63が内装されている。
このように、可動側金型50と固定側金型60との間で画成されるキャビティC形状に沿ってトリムアッパー20が成形されるが、特に、図6に示すように、キャビティCの外周、例えば、取付座面24の端末部等に相当して、可動側金型50には凹部52が形成されている。この凹部52は、取付座面24の4隅部に形成されるリブ26の形状に合致するもので、この凹部52内に発泡樹脂材料Mが入り込んで、可動側金型50が後退する際に、この部分がアンカー効果により可動側金型50に追従して、トリムアッパー20の端末部については板厚を充分確保することができる。
次いで、図7乃至図10に基づいて、発泡樹脂成形品であるトリムアッパー20を精度良く成形できる成形方法について逐次説明する。まず、図7に示すように、プレスラム51により可動側金型50は固定側金型60に対して型締めされ、成形金型40が型締め位置にある時、射出機70からホットランナ61、バルブゲート62を通じてキャビティC内に発泡樹脂材料Mが射出充填される。この時、図示はしないが、外部からキャビティC内にエアを強制導入し、発泡樹脂材料Mが発泡反応を行なわないようにキャビティC内に樹脂を充填するカウンタープレッシャー工法を採用することもできる。
次いで、発泡樹脂材料Mの射出充填工程が完了すれば、図8に示すように、可動側金型50が型開き方向に微小ストローク後退する。この可動側金型50の後退動作では、キャビティC内には未発泡状態の半成形品Pが収容されており、可動側金型50の後退ストロークに対応する発泡スペースSが確保されることになる。更に、図9に示すように、未発泡状態の半成形品Pは発泡反応が誘起され、型クリアランスを大きく設定した発泡スペースS内でスキン層21と発泡層22とが所望の厚みを備えるように成形される。この時、図10に示すように、可動側金型50のキャビティC外周に沿って凹部52が形成されており、凹部52に相当するリブ26が形成されるが、このリブ26のアンカー効果により、半成形品Pは、可動側金型50の型面に追従して、端末部分の板厚を充分確保することができる。よって、トリムアッパー20を精度良く成形でき、トリムロア30に対する接合姿勢を長期に亘り良好に維持できる。
次に、図11乃至図14は、本発明の変形例を示すもので、図11に示すように、トリムアッパー20における取付座面24の4隅部には円筒状のリブ26Aが形成されている。この場合においても、形状が相違するだけで、剛性を強化する機能、並びに板厚を確保でき欠肉不良を解消できる機能は上述実施例と同一である。更に、図12乃至図14に示すように、トリムアッパー20における取付座面24の表面に形成するリブ26B,26Cは、上述実施例と配置を変更したもので、取付孔25の上方には中央の一箇所にリブ26B、取付孔25の下方には横方向に延びるリブ26Cが形成され、リブ26B,26Cと干渉しないように、トリムロア30における補強リブ32は、斜め上方向並びに斜め下方向にクロスする形状に設定されている。そして、この変形例についても、リブ26B,26Cにより剛性を補強でき、更に板厚を確保する機能は上述実施例と同一である。
以上説明した実施例は、上下二分割タイプのラゲージサイドトリム10であり、発泡樹脂成形品であるトリムアッパー20と樹脂成形品であるトリムロア30との接合構造に本発明を適用したが、本発明はこれに限定されることなく、発泡樹脂成形品と樹脂成形品との接合構造全般に適用できる。例えば、トリムアッパー20とトリムロア30とからなるラゲージサイドトリム10以外にも、ドアトリム、リヤサイドトリム等の分割構造を採用した内装トリムは勿論、発泡樹脂成形品からなるドアトリム本体に対して樹脂成形品からなるポケットカバーをボスの締結固定により接合一体化する構造に適用することもできる。更に、発泡樹脂材料Mの射出充填時、キャビティC内に圧空エアを供給するカウンタープレッシャー工法を採用することも可能である。
本発明に係る発泡樹脂成形品の接合構造を適用した上下二分割構造のラゲージサイドトリムを示す正面図である。 図1中II−II線断面図である。 図2に示すトリムアッパーとトリムロアの接合構造におけるトリムアッパーの取付座面の形状を示す説明図である。 図2に示すトリムアッパーとトリムロアの接合構造におけるトリムロアの溶着用ボスと補強リブを示す一部切欠斜視図である。 図1に示すラゲージサイドトリムにおけるトリムアッパーを成形する際に使用する成形金型の全体構成を示す概要図である。 図5に示す成形金型における取付座面近傍部分の構成を示す拡大断面図である。 図1に示すラゲージサイドトリムにおけるトリムアッパーの成形方法における発泡樹脂材料の射出充填工程を示す説明図である。 図1に示すラゲージサイドトリムにおけるトリムアッパーの成形方法における後退操作状態を示す説明図である。 図1に示すラゲージサイドトリムにおけるトリムアッパーの成形方法における発泡成形工程を示す説明図である。 図9に示すトリムアッパーの発泡成形工程における取付座面の成形状態を示す説明図である。 本発明構造を適用したトリムアッパーの取付座面の変形例を示す説明図である。 本発明構造を適用したトリムアッパーとトリムロアの接合構造の変形例を示す断面図である。 図12に示す接合構造の変形例におけるトリムアッパーの取付座面を示す斜視図である。 図12に示すトリムアッパーとトリムロアの接合構造の変形例におけるトリムロアの溶着用ボスを示す説明図である。 従来のラゲージサイドトリムを示す正面図である。 図15中XVI −XVI 線断面図である。 従来のラゲージサイドトリムにおけるトリムアッパーの成形に使用する成形金型の全体構成を示す説明図である。 従来のラゲージサイドトリムにおけるトリムアッパーの成形時の不具合と接合時の不具合を示す説明図である。
符号の説明
10 ラゲージサイドトリム
20 トリムアッパー(発泡樹脂成形品)
21 スキン層
22 発泡層
23 接合用フランジ
24 取付座面
25 取付孔
26 リブ
30 トリムロア(樹脂成形品)
31 溶着用ボス
32 補強リブ
40 成形金型
50 可動側金型
51 プレスラム
52 凹部
60 固定側金型
61 ホットランナ
62 バルブゲート
63 エジェクタピン
70 射出機
C キャビティ
M 発泡樹脂材料
P 半成形品
S 発泡スペース

Claims (1)

  1. 可動側金型(50)と固定側金型(60)との間で画成されるキャビティ(C)内に発泡樹脂材料(M)を射出充填した後、可動側金型(50)を後退操作することにより、発泡スペース(S)を確保し、所要形状に発泡成形してなる発泡樹脂成形品(20)と、所要形状に成形された樹脂成形品(30)との接合構造であって、樹脂成形品(30)の裏面に立設した溶着用ボス(31)を発泡樹脂成形品(20)の取付孔(25)内に挿入し、取付孔(25)周囲の取付座面(24)に対して溶着用ボス(31)周りの補強リブ(32)を突き合わせて発泡樹脂成形品(20)と樹脂成形品(30)とを接合させる発泡樹脂成形品(20)の接合構造において、
    前記発泡樹脂成形品(20)における取付座面(24)には、樹脂成形品(30)の補強リブ(32)との干渉を回避できる位置で、かつ端末寄りにリブ(26)が一体化され、可動側金型(50)の後退操作時、リブ(26)のアンカー効果により、取付座面(24)の端末側における板厚が有効に確保され、取付座面(24)と補強リブ(32)との突き当て作用で樹脂成形品(30)の転がり不良を抑えるようにしたことを特徴とする発泡樹脂成形品の接合構造。
JP2008260684A 2008-10-07 2008-10-07 発泡樹脂成形品の接合構造 Expired - Fee Related JP5190952B2 (ja)

Priority Applications (1)

Application Number Priority Date Filing Date Title
JP2008260684A JP5190952B2 (ja) 2008-10-07 2008-10-07 発泡樹脂成形品の接合構造

Applications Claiming Priority (1)

Application Number Priority Date Filing Date Title
JP2008260684A JP5190952B2 (ja) 2008-10-07 2008-10-07 発泡樹脂成形品の接合構造

Publications (2)

Publication Number Publication Date
JP2010089349A true JP2010089349A (ja) 2010-04-22
JP5190952B2 JP5190952B2 (ja) 2013-04-24

Family

ID=42252538

Family Applications (1)

Application Number Title Priority Date Filing Date
JP2008260684A Expired - Fee Related JP5190952B2 (ja) 2008-10-07 2008-10-07 発泡樹脂成形品の接合構造

Country Status (1)

Country Link
JP (1) JP5190952B2 (ja)

Citations (2)

* Cited by examiner, † Cited by third party
Publication number Priority date Publication date Assignee Title
JP2000202911A (ja) * 1999-01-18 2000-07-25 Kasai Kogyo Co Ltd 樹脂製部品の接合方法
JP2007130966A (ja) * 2005-11-14 2007-05-31 Kasai Kogyo Co Ltd 発泡樹脂成形品の成形方法及び成形金型

Patent Citations (2)

* Cited by examiner, † Cited by third party
Publication number Priority date Publication date Assignee Title
JP2000202911A (ja) * 1999-01-18 2000-07-25 Kasai Kogyo Co Ltd 樹脂製部品の接合方法
JP2007130966A (ja) * 2005-11-14 2007-05-31 Kasai Kogyo Co Ltd 発泡樹脂成形品の成形方法及び成形金型

Also Published As

Publication number Publication date
JP5190952B2 (ja) 2013-04-24

Similar Documents

Publication Publication Date Title
JP6206555B2 (ja) 樹脂製サンドイッチパネルおよび樹脂製サンドイッチパネルの製造方法
JP6015921B2 (ja) 樹脂製サンドイッチパネルおよび樹脂製サンドイッチパネルの製造方法
JP5971073B2 (ja) 樹脂製サンドイッチパネルおよび樹脂製サンドイッチパネルの製造方法
JP2012139967A (ja) 複層部材の製造方法
JP2009262499A (ja) 発泡樹脂成形品並びにその成形方法
JP5190952B2 (ja) 発泡樹脂成形品の接合構造
JP5164206B2 (ja) 発泡樹脂成形品並びにその成形方法
JP4251443B2 (ja) 自動車用内装部品の製造方法
JP4889119B2 (ja) 発泡樹脂成形品の成形方法並びに成形装置
JP4743860B2 (ja) 発泡樹脂成形品の成形方法及び成形金型
WO2014058059A1 (ja) 樹脂製サンドイッチパネルおよび樹脂製サンドイッチパネルの製造方法
JP2006130878A (ja) 発泡樹脂成形品の成形方法及び成形金型
JP2009262433A (ja) 発泡樹脂成形品の成形方法
JP2010089348A (ja) 発泡樹脂成形品の接合構造
JP2010234688A (ja) 発泡樹脂成形品の接合構造
JP5099827B2 (ja) 発泡樹脂成形品およびその成形金型
JP2008155395A (ja) 積層成形品の成形方法並びに成形装置
JP2005138797A (ja) 自動車用内装部品
JP4999471B2 (ja) 樹脂成形パネル
JP2014073796A (ja) シート用バックパッド及びその製造方法
JP4692456B2 (ja) 樹脂発泡成形体の製造方法
JP5393252B2 (ja) 発泡樹脂成形品の成形方法
JP5103199B2 (ja) 自動車用内装部品
JP2009248436A (ja) 発泡樹脂成形品の成形方法並びに成形金型
JP5013474B2 (ja) 発泡樹脂成形品

Legal Events

Date Code Title Description
A621 Written request for application examination

Free format text: JAPANESE INTERMEDIATE CODE: A621

Effective date: 20111007

A977 Report on retrieval

Free format text: JAPANESE INTERMEDIATE CODE: A971007

Effective date: 20130118

TRDD Decision of grant or rejection written
A01 Written decision to grant a patent or to grant a registration (utility model)

Free format text: JAPANESE INTERMEDIATE CODE: A01

Effective date: 20130124

A61 First payment of annual fees (during grant procedure)

Free format text: JAPANESE INTERMEDIATE CODE: A61

Effective date: 20130124

R150 Certificate of patent or registration of utility model

Free format text: JAPANESE INTERMEDIATE CODE: R150

FPAY Renewal fee payment (event date is renewal date of database)

Free format text: PAYMENT UNTIL: 20160208

Year of fee payment: 3

LAPS Cancellation because of no payment of annual fees