JP2010087236A - 真空処理装置 - Google Patents

真空処理装置 Download PDF

Info

Publication number
JP2010087236A
JP2010087236A JP2008254484A JP2008254484A JP2010087236A JP 2010087236 A JP2010087236 A JP 2010087236A JP 2008254484 A JP2008254484 A JP 2008254484A JP 2008254484 A JP2008254484 A JP 2008254484A JP 2010087236 A JP2010087236 A JP 2010087236A
Authority
JP
Japan
Prior art keywords
gas
vacuum
mounting table
processing space
container
Prior art date
Legal status (The legal status is an assumption and is not a legal conclusion. Google has not performed a legal analysis and makes no representation as to the accuracy of the status listed.)
Granted
Application number
JP2008254484A
Other languages
English (en)
Other versions
JP5088284B2 (ja
Inventor
Norihiko Tsuji
徳彦 辻
Masayuki Moroi
政幸 諸井
Jun Sawachi
淳 澤地
Susumu Kato
進 河東
Current Assignee (The listed assignees may be inaccurate. Google has not performed a legal analysis and makes no representation or warranty as to the accuracy of the list.)
Tokyo Electron Ltd
Original Assignee
Tokyo Electron Ltd
Priority date (The priority date is an assumption and is not a legal conclusion. Google has not performed a legal analysis and makes no representation as to the accuracy of the date listed.)
Filing date
Publication date
Application filed by Tokyo Electron Ltd filed Critical Tokyo Electron Ltd
Priority to JP2008254484A priority Critical patent/JP5088284B2/ja
Publication of JP2010087236A publication Critical patent/JP2010087236A/ja
Application granted granted Critical
Publication of JP5088284B2 publication Critical patent/JP5088284B2/ja
Expired - Fee Related legal-status Critical Current
Anticipated expiration legal-status Critical

Links

Images

Landscapes

  • Chemical Vapour Deposition (AREA)

Abstract

【課題】容易に真空容器内を開放してメンテナンスを行うことができる真空処理装置を提供すること。
【解決手段】真空容器の天井部及び側壁部を構成する容器本体と、この容器本体に対して着脱自在に設けられ、基板を載置する載置台を備えた真空容器の底板部と、前記真空容器の天井部に設けられ、前記載置台に載置された基板に前記処理ガスを供給するガス供給機構と、真空処理装置が設置される床面に前記容器本体を支持する支持体と、前記底板部を、容器本体に装着される上位置と、容器本体の下方側の下位置との間で昇降させる昇降部と、この昇降部を搭載し、前記床面に沿って移動可能な移動体と、を備えるように真空処理装置を構成し、天井部の真空容器からの取り外しによって必要になる管路の処理ガス及び液体原料の除去作業の手間を無くしてメンテナンスを容易にする。
【選択図】図25

Description

本発明は、真空容器内で処理ガスにより基板を処理する真空処理装置に関する。
半導体製造プロセスにおいては、真空容器内に形成された処理空間に設けられた載置台に基板である半導体ウエハ(以下ウエハという)を載置し、前記処理空間を排気しながら当該処理空間に処理ガスを供給する真空処理装置が用いられ、その真空処理の一例としては反応ガスを連続的に供給してウエハに成膜を行うCVD(Chemical Vapor Deposition)と呼ばれる手法が挙げられる。
また、半導体製造プロセスにおけるその他の真空処理装置を用いた成膜手法としては、基板である半導体ウエハ(以下「ウエハ」という)等の表面に真空雰囲気下で第1の反応ガスを吸着させた後、供給するガスを第2の反応ガスに切り替えて、両ガスの反応により1層あるいは複数層の原子層や分子層を形成し、このサイクルを多数回行うことにより、これらの層を積層して、基板上への成膜を行うプロセスが知られている。このプロセスは、例えばALD(Atomic Layer Deposition)やMLD(Molecular Layer Deposition)などと呼ばれており、サイクル数に応じて膜厚を高精度にコントロールすることができると共に、膜質の面内均一性も良好であり、半導体デバイスの薄膜化に対応できる有効な手法である。
前記ALDあるいはMLDが好適である例としては、例えばゲート酸化膜に用いられる高誘電体膜の成膜が挙げられる。一例を挙げると、シリコン酸化膜(SiO膜)を成膜する場合には、第1の反応ガス(原料ガス)として、例えばビスターシャルブチルアミノシラン(以下「BTBAS」という)ガス等が用いられ、第2の反応ガスとして酸素ガス等が用いられる。
ウエハに均一な成膜を行うために、これらCVD、ALDあるいはMLDを実施する真空処理装置については、通常は真空容器の天井部に例えばガスシャワーヘッドなどのガス供給部が設けられ、前記載置台に載置されたウエハの中央部に対向する位置から反応ガスを供給すると共に未反応の反応ガス及び反応副生成物を処理容器の底部から排気するように構成される。例えば特許文献1にはガスシャワーヘッドを備えたCVD装置について記載されている。
ところで成膜処理を継続すると、真空容器内において反応ガスに接触する部品にはこの反応ガスから生成した反応生成物が付着し、堆積する。そして、堆積した反応生成物をそのままにしておくと、当該反応生成物は成膜処理中に剥がれ落ちてウエハにパーティクルとして付着するので製品の歩留りが低下してしまう。このため、真空容器は例えばその側壁と天井部とが別々の部品として構成され、天井部を真空容器から取り外して、その内部を大気開放できるように構成されている。そして、装置のユーザは定期的にその天井部を取り外して、処理空間を構成する壁部、載置台及びその他の反応ガスに接触する部品を純水や有機溶剤などを用いて手拭洗浄したり、それらの部品を真空容器から取り外して専用の洗浄装置を用いて洗浄することによって、反応生成物を除去する必要がある。また、ユーザはこのような洗浄の他にも例えば不具合のある部品を交換、その取り付けを修正するなどの各種の装置のメンテナンスを行う必要がある。
ところで、この天井部には上記のようにウエハに反応ガスを供給するためのガス供給部が設けられており、このガス供給部にはガス供給源から引き回されたガス供給管やウエハに供給されるまでに気化して反応ガスを生成する液体原料の供給管が接続されている。成膜処理中においては、それらの供給管に介設されたバルブが開かれ、それらの管路を加圧された状態で反応ガスや液体原料が流通するので、上記の各部品の洗浄を含むメンテナンスを行うために前記バルブを閉じて成膜処理を停止したときには、バルブの上流側にはそのように加圧された反応ガスや液体原料が残留している。
そして、これら供給管の長さや硬度から、前記真空容器の天井部をその側壁の取り付け位置から外して移動させるときには、事前に天井部からこれら供給管を取り外しておくことが必要な場合がある。その場合は、そのまま供給管を外すと、当該供給管に外力が加わることで上記のように管路に加圧された状態で残留した反応ガス及び液体原料が、例えばその供給管の継手から噴出してしまう恐れがある。
これら反応ガスや液体原料としては人体に有害なものが用いられることがあるので、人体への影響を与えることを防ぐために、上記のように天井部から供給管を取り外す前に例えばポンプにより予め各管内を吸引する処理と不活性ガスによるパージ処理とを繰り返して反応ガスや液体原料を除去する処理が行われている。しかし、このように供給管からのガス及び液の除去処理を行うことは多大な手間と時間がかかるので、メンテナンスを効率よく行うことができる真空処理装置が求められていた。
特開2008−1923(図1)
本発明はこのような事情に基づいて行われたものであり、その目的は容易に真空容器内を開放してメンテナンスを行うことができる真空処理装置を提供することである。
本発明の真空処理装置は、真空容器内に形成された処理空間にて、基板に対して処理ガスを供給して処理を行う真空処理装置において、
前記真空容器の天井部及び側壁部を構成する容器本体と、
この容器本体に対して着脱自在に設けられ、基板を載置する載置台を備えた真空容器の底板部と、
前記真空容器の天井部に設けられ、前記載置台に載置された基板に前記処理ガスを供給するガス供給機構と、
前記真空処理装置が設置される床面に前記容器本体を支持する支持体と、
前記底板部を、容器本体に装着される上位置と、容器本体の下方側の下位置との間で昇降させる昇降部と、
この昇降部を搭載し、前記床面に沿って移動可能な移動体と、
を備えたことを特徴とする。
前記移動体は、例えば床面に沿って転動する転動体を備えており、前記昇降部は、前記底板部を位置合わせした状態で保持するための保持部を備えていてもよい。また、前記処理空間は載置台とその載置台上に当該載置台に対向して設けられる上部材により形成され、処理空間の周方向に沿って、当該処理空間内と処理空間の外部である前記真空容器内の雰囲気とを連通するための排気用開口部が形成されており、その場合例えば前記載置台と上部材との組は真空容器内に複数設けられている。
本発明の真空処理装置によれば、真空容器の天井部及び側壁部を構成する容器本体に対して着脱自在に設けられ、基板を載置する載置台を備えた真空容器の底板部と、この底板部を、容器本体に装着される上位置と、容器本体の下方側の下位置との間で昇降させる昇降部と、この昇降部を搭載した、床面に沿って移動可能な移動体と、を備えているので、容器本体から底板及び載置台を取り外し、これら容器本体、底板及び載置台の夫々のメンテナンスを実施可能な位置に移動させることができる。従って、従来のように真空容器の天井部を真空容器から取り外す必要が無くなるため、処理ガスや気化して処理ガスを生じる液体原料を、ガス供給機構や当該ガス供給機構にこれらガス及び液体を供給するための供給路から除去しておく必要が無くなる。その結果として、上記のメンテナンスを容易に行うことができる。
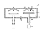
本発明の実施の形態に係る成膜装置は、図1(図2のI−I’線に沿った縦断面図)〜図3に示すように平面形状が概ね円形である扁平な真空容器1と、この真空容器1内に設けられ、当該の真空容器1の周方向に沿って配置された複数、例えば5つの載置台2と、これらの各載置台2に対向する位置に設けられ、当該載置台2との間に処理空間を形成するための上部材である天板部材22と、を備えている。載置台2は、この例では、基板の載置領域を有する下部材を成すものである。真空容器1は天板11及び底板14を側壁部12から分離できるように構成されており、天板11及び底板14は、封止部材例えばOリング13を介して側壁部12に、気密状態を維持しつつねじなどの不図示の留め具により固定されている。
側壁部12から天板11、底板14を分離するときには、天板11を図示しない駆動機構により持ち上げ、また底板14を後述の昇降機構により降下させることができるようになっている。
載置台2は、例えばアルミニウムやニッケルなどからなる円形状の板部材であり、当該載置台2の直径は、本成膜装置で処理される基板である例えば直径300mmのウエハWよりもひとまわり大きく形成されている。各載置台2の上面には凹部26が設けられていて、ウエハWを載置するための載置領域(載置面)となっている。また各載置台2には、載置面上のウエハWを加熱するための、例えばシート状の抵抗発熱体より構成される加熱手段を成すステージヒータ21が埋設されており、不図示の電源部より供給される電力によって載置台2上のウエハWを例えば300℃〜450℃程度に加熱することができる。なお必要に応じて載置台2内に図示しない静電チャックを設けて、載置台2上に載置されたウエハWを静電吸着して固定することができる。また図3には便宜上1個の載置台2だけにウエハWを描いてある。
各載置台2は、底面側の中央部を支持腕23によって支持されており、これら支持腕23の基端側は、底板14の中央部を垂直方向に貫通する支柱24の頂部に接続されている。本例では例えば5本の支持腕23が、載置台2を支持する先端側を真空容器1の径方向に向けてほぼ水平に伸び出しており、隣り合う支持腕23同士は周方向にほぼ等角度の間隔を空けて放射状に配置されている。この結果、図2、図3に示すように、支持腕23の先端部に支持された載置台2についても支柱24の周囲に、真空容器1の周方向に沿って等間隔に配置された状態となり、各載置台2の中心は支柱24を中心とする円の周上に位置することとなる。
底板14を貫通する支柱24の下端側は駆動部51と接続されており、支持腕23を介して当該支柱24に接続された全ての載置台2を同時に上下に昇降させることができる。即ち、本例においては支持腕23、支柱24、駆動部51は各載置台2の共通の昇降手段を構成している。また駆動部51は、支柱24を鉛直軸周りに例えば一回転させることができる回転手段としての役割も備えており、これにより支持腕23に支持された載置台2を当該鉛直軸周りに周方向に移動させることができる。また図1に示すスリーブ25は支柱24を収納して真空容器1の気密状態を維持する役割を果たし、磁気シール18は当該支柱24とスリーブ25で囲まれた空間内の雰囲気と、真空容器1内の雰囲気とを気密に区画する役割を果たす。
真空容器1の側壁部12には図2、図3に示すように外部の基板搬送手段である搬送アーム101と各載置台2との間でウエハWの受け渡しを行うための受け渡し口を成す搬送口15が形成されており、この搬送口15は図示しないゲートバルブにより開閉されるようになっている。各載置台2は、支柱24を回転させることにより真空容器1内を周方向に移動し、搬送口15に臨む位置にて順次停止してウエハWの受け渡しを行うことができる。当該受け渡し位置の下方側の底板14には、各載置台2に設けられた不図示の貫通孔を介して載置面から突没し、ウエハWを裏面側から持ち上げて搬送アーム101と各載置台2との間の受け渡しを行うための例えば3本の昇降ピン16が設けられている。昇降ピン16は、その底部を昇降板53に支持され、この昇降板53を駆動部52によって上下させることにより、昇降ピン16全体を昇降させることができる。ベローズ17は、昇降ピン16を覆って底板14の底面と昇降板53とに接続されており、真空容器1内の気密状態を維持する役割を果たす。
真空容器1の天板11の下面には、既述の載置台2と同様に、真空容器1の中心の周囲に周方向に並ぶように、載置台2と同数の例えば5つの天板部材22が固定されており、成膜を行う際には各天板部材22は夫々1つの載置台2に対向して処理空間20を形成し、5つの組(載置台2と天板部材22との組)を構成する。ここで既述のように載置台2は、支柱24を中心として周方向に移動可能に構成されていることから、これらの載置台2を予め定めた位置(以下、この位置を「処理位置」という)に停止させた場合に、天板部材22は各々対応する載置台2と対向することとなる。
図4に示すように各天板部材22は、上面に平坦面を有する円柱体の下面を、周縁から中心部に向かうにつれて連続的に深くなるように窪ませて、上部から下に向かうにつれて末広がりの円錐形状を成す凹状の面(ラッパ形状の凹部)を形成した本体部分22aと、この本体部分22aの外周に、これを密着して囲むようにして設けられていると共に、その下端面が平坦面を成し、前記本体部分の周縁の高さと同じ高さ寸法に形成されたスリーブ22bとを備えている。これらの本体部分22aとスリーブ22bとは例えばアルミニウムなどから構成されている。前記凹部は、例えば載置台2上に載置されるウエハWの全体を覆うように当該ウエハWよりも一回り大きな径を有する円形状に開口しており、天板部材22の下端から載置台2の上面までの距離は「h」となっている。スリーブ22bの底面は、この天板部材22の下端と同じ高さ位置となっているため、載置台2を天板部材22に対向させると、天板部材22の下縁と載置台2との間には、周方向に幅「h」の隙間が形成される。
このように凹部を備えた天板部材22と円盤状の載置台2とを対向させて配置することにより、各組の載置台2と天板部材22との間には、例えば本例では円錐状の空間が形成される。本実施の形態に係る成膜装置では、これらの空間は複数種類の反応ガスを切り替えて拡散させ、ウエハW表面にて吸着、反応させて成膜を行う処理空間20となっている。そして処理空間20内に供給された各種ガスは、当該処理空間20の周方向に沿って載置台2と天板部材22との間に形成された前述の隙間を介して真空容器1内へと流出することになる。本実施の形態に係る成膜装置において当該隙間は、処理空間20内と、当該処理空間20の外部である真空容器1内の雰囲気(後述の排気空間10に相当する)とを連通するための排気用開口部に相当する。
各天板部材22の円錐状に形成された凹部の頂部にはガス供給口221が形成されており、このガス供給口221より処理空間20内に反応ガス及び当該反応ガスをパージするパージガスが供給される。
天板11の中央部上には各処理空間20にガスを供給するためのマニホールド部3が設けられている。マニホールド部3は、ガス供給路32を形成する垂直な筒状の流路部材31aと、このガス供給路32の下流端が、その上面中央部に接続された大径の扁平な円筒部材31bとを備えている。そして、この円筒部材31bは、垂直なガス供給路32から導入されるガスを拡散して、5本のガス供給管34に供給するためのガス拡散室33を構成する。
ガス供給管34は各々同様に構成されており、大径の円筒部材31bの側壁から周方向に略等角度の間隔をおいて放射状に伸び出している。そして各ガス供給管34の下流端は前記ガス供給口221に接続されている。
流路部材31aには、気化して成膜を行うための原料ガスを生じる例えばBTBASなどの第1の反応ガスの原料となる液体原料を横方向からガス供給路32に供給するインジェクタ4が設けられている。原料ガスについては後に詳述する。このインジェクタ4には液体原料の供給配管713が接続されており、供給配管713の上流側は後述の制御部100によりその動作が制御されるポンプ711を介して、前記BTBASなどの液体原料が貯留された原料ガス供給源71に接続されている。この原料ガス供給源71としては例えばインジェクタ4の上方に配置され、原料ガス供給源71からインジェクタ4までの供給路が長くなることを抑えている。このような配置によって、液体原料の劣化即ち揮発や分解による液体原料中のBTBASの濃度が低下することを抑えて、装置の運転のコストの低下を図っている。このように液体原料の劣化を抑えるため、原料ガス供給源71からインジェクタ4間での供給配管の長さは例えば2m以下に構成されている。
このインジェクタ4としては従来公知のものが用いられ、その構成の要部を縦断面図である図6を参照しながら以下に簡単に説明する。インジェクタ4は本体部41を備え、本体部41には前記液体原料が供給される供給通路42が、その長さ方向に設けられている。図中の矢印は液体原料の流れを示しており、液体原料は前記ポンプ711により加圧された状態でこの供給通路42を流通する。
前記供給通路42の上流側には液体成膜原料を浄化するためのフィルタ44Aが設けられている。また供給通路42の下流側は縮径されて縮径部42Aを成し、その縮径部42Aの下流端にはニードルバルブ44によって開閉される吐出口45が形成されている。ニードルバルブ44はプランジャ46を介してリターンスプリング47により下流側へ向かって付勢されており、それによって前記縮径部42Aに当接し、吐出口45が塞がれている。また、プランジャ46を囲むように設けられたソレノイド48は電流供給部49に接続されており、電流が供給されることで電磁石として機能する。前記電流供給部49は、制御部100からの制御信号を受けて、ソレノイド48への電流の給断を制御する。
ソレノイド48に電流が供給されてその周囲に磁界が形成されると、プランジャ46が供給通路42の上流側へと引かれ、それと同時にニードルバルブ44が上流側に引かれて吐出口45が開放され、供給通路42に加圧された状態で貯留されていた液体原料が当該吐出口45からガス供給路32に吐出される。図中大きな点線の丸で囲った部分にはこのように吐出口45が開放され、この吐出口45から液体原料がガス供給路32に吐出されるときの状態を拡大して示している。
このようにインジェクタ4による液体原料の吐出が行われるときにガス供給路32は減圧されているので、液体原料は減圧沸騰してガスとなり、そのガスが下流へ流通する。ソレノイド48による磁界の形成が停止すると、リターンスプリング47によりプランジャ46が下流側へと押し戻され、ニードルバルブ44により吐出口45が塞がれる。ポンプ711の圧力と吐出口45の開口時間とにより、ガス供給路32で生成する第1の反応ガスの量が制御される。なお、このようにインジェクタ4より液体原料を減圧されたガス供給路32に供給して気化させる他に、供給配管713に気化器を設けて、当該気化器により液体原料を通流空間に供給する前に予め気化させて反応ガスを生成させ、その反応ガスを供給路32に供給してもよい。
マニホールド部3には、液体原料を供給する供給配管713の他に図7に示すように各種のガスをガス供給路32へ供給するためのガス供給配管723、733が上下に接続されており、これらの配管723、733は上流側で夫々各種のガス供給源72、73と夫々接続されている。この例ではガス供給配管723,733はインジェクタ4による液体原料の供給方向とは異なる方向から各ガスをガス供給路32に供給できるようにマニホールド部3に接続されている。
本実施の形態に係る成膜装置は、金属元素、例えば周期表の第3周期の元素であるAl、Siなど、周期表の第4周期の元素であるTi、Cr、Mn、Fe、Co、Ni、Cu、Zn、Geなど、周期表の第5周期の元素であるZr、Mo、Ru、Rh、Pd、Agなど、周期表の第6周期の元素であるBa、Hf、Ta、W、Re、lr、Ptなどの元素を含む薄膜を成膜することが可能であり、ウエハW表面に吸着させる金属原料としてはこれらの金属元素の有機金属化合物や無機金属化合物などを反応ガス(以下、原料ガスという)として用いる場合が挙げられる。金属原料の具体例としては、上述のBTBASの他に、例えばDCS[ジクロロシラン]、HCD[ヘキサジクロロシラン]、TMA[トリメチルアルミニウム]、3DMAS[トリスジメチルアミノシラン]などを挙げることができる。
またウエハW表面に吸着した原料ガスを反応させて、所望の膜を得る反応には、例えばO、O、HOなどを利用した酸化反応、H、HCOOH、CHCOOHなどの有機酸、CHOH、COHなどのアルコール類などを利用した還元反応、CH、C、C、Cなどを利用した炭化反応、NH、NHNH、Nなどを利用した窒化反応などの各種反応を利用することができる。本実施の形態では背景技術にて例示したBTBASガスを原料ガスとして、酸素ガスを用いて酸化反応によりSiO膜を成膜する例について説明する。
酸素ガス供給用の配管723は酸素ガス供給源72と接続され、またパージガス供給配管733はパージガス供給源73と接続され、夫々第2の反応ガスである酸素ガス及び、パージガスであるアルゴンガスを既述のガス供給路32へと供給することができる。ここでこれら酸素ガスやアルゴンガスをガス供給路32へと供給する供給配管723、733には、例えばダイヤフラム式の圧力調整弁721、731と、例えばディスク型のプランジャを採用した電磁弁からなる開閉弁722、732とが介設されており、一定圧力の各種ガスを大流量、且つ高い応答速度で供給することができるようになっている。
これら各ガス供給源71〜73に接続されたポンプ711、圧力調整弁721、731及び開閉弁722、732は、成膜装置のガス供給制御部7を構成しており、後述する制御部100からの指示に基づいて各種ガスの供給タイミングや等を制御することができる。
また本例では、以上に説明した各構成要素のうち、原料ガス供給源71、ポンプ711、原料ガス供給配管713、インジェクタ4、マニホールド部3及びガス供給管34は、第1の反応ガス供給部に相当し、酸素ガス供給源72、圧力調整弁721、開閉弁722、酸素ガス供給配管723、マニホールド部3及びガス供給管34は、第2の反応ガス供給部に相当し、またパージガス供給源73、圧力調整弁731、開閉弁732、パージガス供給配管733、マニホールド部3及びガス供給管34はパージガス供給部に相当している。
また、流路部材31aの上側には処理空間20内にプラズマガスを供給するためのリモートプラズマ供給部54が設けられている。装置のメンテナンスを行うにあたり、後述のように排気を行いながらNF3ガスを処理空間20に供給したときに、このリモートプラズマ供給部54によりそのNF3ガスをプラズマ化させて、プラズマを生成する。そして、このプラズマにより処理空間内20の付着物は処理空間20の壁面から除去され、処理空間20内に形成される排気流に乗って処理空間20から除去される。ところでリモートプラズマ供給部54の代わりにインジェクタ4を流路部材31aの上側に設けて、流路部材31aのガス供給路32の形成方向に沿ってインジェクタ4から液体原料を供給してもよい。
真空容器1の説明に戻ると、図1、図3に示すように例えば底板14には、支柱24を挟んで搬送口15とは反対側の位置にて、各反応ガス及びパージガスを排気するための共通の排気口61が設けられている。この排気口61は排気管62と接続されており、当該排気管62は、真空容器1内の圧力調整を行う圧力調整手段63を介して真空排気手段を成す真空ポンプ64に接続されている。ここで真空容器1内には、既述のように成膜が行われる処理空間20を構成する5組の載置台2、天板部材22が配置されており、これらの処理空間20から流出した各種ガスはこの真空容器1内を通って共通の排気口61へと排気されることから、当該真空容器1は反応ガスの排気空間10を構成していることになる。即ち本実施の形態に係る成膜装置では、共通の排気空間10内に複数の処理空間20が配置された構造となっているといえる。
以上に説明した構造を備える成膜装置は、既述のガス供給源71〜73からのガス供給動作、載置台2の回転及び昇降動作や真空ポンプ64による真空容器1の排気動作、各ステージヒータ21による加熱動作などを制御する制御部100を備えている。制御部100は例えば図示しないCPUと記憶部とを備えたコンピュータからなり、この記憶部には当該成膜装置によってウエハWへの成膜を行うのに必要な制御、例えばガス供給源71〜73からの各種ガス供給の給断タイミングや供給量調整に係る制御、真空容器1内の真空度を調節する制御、載置台2の昇降、回転動作制御や各ステージヒータ21の温度制御などについてのステップ(命令)群が組まれたプログラムが記録されている。このプログラムは、例えばハードディスク、コンパクトディスク、マグネットオプティカルディスク、メモリカードなどの記憶媒体に格納され、そこからコンピュータにインストールされる。
以下、本実施の形態に係る成膜装置の動作について説明する。先ず載置台2をウエハWの受け渡し位置に下降させた状態で図8に示すように、図示しないゲートバルブにより搬送口15を開き、外部の搬送アーム101を搬送口15より進入させて真空容器1内にウエハWを搬入する。このとき、真空容器1内の搬送口15に対向する位置(ウエハWの受け渡し位置)には、支柱24を回転させることにより、次にウエハWを載置する載置台2が待機している。そして不図示の貫通孔を介して昇降ピン16を載置台2から突出させ搬送アーム101から昇降ピン16にウエハWを受け渡し、搬送アーム101を真空容器1外に退避させてから昇降ピン16を載置台2の下方へと没入させることにより、載置面である凹部26内にウエハWが載置される。そしてウエハWは不図示の静電チャックにより吸着固定される。
このようにして5つの載置台2に順次ウエハWを載置する動作を繰り返してウエハWの搬入を完了したら、各載置台2を処理位置まで移動させて天板部材22に対向させた状態で停止する。このとき載置台2はステージヒータ21により予め例えば300℃〜450℃に加熱されており、ウエハWはこの載置台2に載置されることで加熱される。そして、ウエハWの搬入位置まで下降していた載置台2を上昇させ、例えば当該成膜のレシピにて選択された高さ位置にて停止させる。
ここで本実施の形態に係る成膜装置は、載置台2を停止させる高さ位置を調節することにより、載置台2と天板部材22との間に形成される隙間の幅(隙間の大きさ)を例えば「h=1mm〜6mm」の範囲で変化させることができる。例えば図9(a)には、前記隙間の幅を「h=4mm」とした場合を示し、図9(b)には前記隙間の幅を「h=2mm」とした場合を示している。
このようにして各載置台2を天板部材22に対向させ、隙間の幅を調節したら、搬送口15を閉じて真空容器1内を気密な状態とした後、真空ポンプ64を稼動させて真空容器1内を引き切りの状態とする。そして真空容器1内が所定の圧力、例えば13.3Pa(0.1Torr)まで真空排気され、さらにウエハWの温度を既述の温度範囲の例えば350℃まで昇温したら成膜を開始する。
本実施の形態に係る成膜装置を用いたいわゆるALDプロセスにおいては、成膜は例えば図10(a)、図10(b)に示すガス供給シーケンスに基づいて実行さる。図10(a)、図10(b)は夫々載置台2と天板部材22との間の隙間の幅が「h=4mm」(図9(a)に対応)の場合と、「h=2mm」(図9(b)に対応)の場合とにおけるガス供給シーケンスを示した模式図である。これらの図の横軸は時間を示し、縦軸は処理空間20内の圧力を示している。
例えば図10(a)(h=4mm)の場合を見てみると、まず原料(ガス第1の反応ガス:BTBAS)を各処理空間20内に供給し、載置台2上のウエハWに吸着させる工程を実行する(原料ガス吸着工程:以下、「吸着工程」と略記する。図10(a)中に「a工程」と記載してある)。このとき原料ガス供給源71に貯留されているBTBASの液体原料は、例えばインジェクタ4の吐出口45を例えば1ms間だけ開くことにより、減圧されたガス供給路32に吐出されて、減圧沸騰し、第1の反応ガスであるBTBASガスとなって図11に矢印で示すように下流側のガス拡散室33に供給される。そして、BTBASガスはガス拡散室33を拡散して、下流側へと向かう。
そして、気化された原料ガスは、ガス供給口221を介して各処理空間20へ導入され、これにより図10(a)中のa工程に示すように処理空間20内の圧力が例えば133.32Pa(1Torr)まで上昇する。一方、既述のように各処理空間20は排気空間10内に配置されていることから、処理空間20内に供給された原料ガスは処理空間20内よりも圧力の低い排気空間10に向けて流れ、載置台2と天板部材22との間の隙間を介して排気空間10へと流出する。
この結果、図12に示すように原料ガスは、円錐状の処理空間20の頂部、即ちウエハW中央部の上方に設けられたガス供給口221より処理空間20内に供給され、当該処理空間20内を広がりながらウエハWの表面を前記隙間へ向けて径方向に流れ、この間、当該ウエハWの表面に吸着してBTBASの分子層を形成する。そして間欠的に供給された原料ガスが処理空間20内から排気空間10へ向けて排気されるにつれて、図10(a)のa工程に示したように処理空間20内の圧力は低下していく。
次いで、例えば処理空間20の圧力が原料ガス導入前とほぼ同じ圧力となるタイミング、例えば原料ガスを供給してから予め決めた時間が経過したタイミングにて、処理空間20内に滞留している原料ガスをパージする工程に移る(図10(a)のb工程)。ここで例えばパージガス供給源73の下流に設けられた圧力調整弁731は出口側の二次圧を0.1MPaと一定にするように調整されており、開閉弁732は入口側にこの圧力がかかった状態で「閉」となっている。そしてb工程の開始タイミングにて例えば100ms間だけ開閉弁732を「開」とすると、当該開閉弁732前後の圧力バランス、及び開閉弁732の開放時間に応じた量のパージガスがマニホールド部3を介して処理空間20に供給される。
この結果、原料ガスの場合と同様に図12に示すように、パージガスは円錐状の各処理空間20を広がりながらウエハWの表面を流れ、処理空間20内に滞留している原料ガスと共に載置台2と天板部材22との間の隙間を介して排気空間10へ向けて排気される。この際、処理空間20内の圧力は図10(a)のb工程に示すように、開閉弁732の開閉動作によって供給されたパージガスの量に応じて例えば666.7Pa(5Torr)まで上昇し、このパージガスが排気空間10へ向けて排気されるにつれて低下する。
こうして処理空間20内に滞留している原料ガスがパージガスと共に排気されたタイミング、例えばパージガスを供給してから予め決めた時間経過したタイミングにて、ウエハWに吸着した原料ガスを酸化するために、処理空間20内に第2の反応ガスである酸素ガスを供給する工程を実行する(以下、「酸化工程」という。図10(a)のc工程)。例えば酸素ガス供給源72の下流に設けられた圧力調整弁721は、パージガスの圧力調整弁731と同様に出口側の二次圧を0.1MPaにするように調整されており、開閉弁722は入口側にこの圧力がかかった状態で「閉」となっている。そしてc工程の開始タイミングにて例えば100ms間だけ開閉弁722を「開」とすると、当該開閉弁722前後の圧力バランス、及びこれを開とした時間に応じた量の酸素ガスがマニホールド部3を介して処理空間20に供給される。
そしてこれまでのガス供給の場合と同様、図12に示すように酸素ガスは円錐形の処理空間20を広がりながらウエハWの表面を流れ、ウエハW表面に吸着している原料ガスを酸化することによりSiOの分子層が形成される。この際、処理空間20内の圧力は図10(a)のc工程に示すように、開閉弁722の開閉動作によって供給された酸素ガスの量に応じて666.7Pa(5Torr)まで上昇し、このパージガスが排気空間10へ向けて排気されるにつれて低下する。
引き続き、例えば処理空間20の圧力が酸素ガス導入前とほぼ同じ圧力となるタイミング、例えば酸素ガスを供給してから予め決めた時間が経過したタイミングにて、既述のb工程と同じ要領にてパージガスを供給し、処理空間20内に滞留している酸素ガスをパージする(b工程)。そして図10(a)に示すように、以上に説明した4つの工程を1サイクルとすると、当該サイクルを予め決められた回数、例えば125回繰り返してSiOの分子層を多層化し、たとえば10nmの膜厚を有する膜の成膜を完了する。なお、図10(a)及び後述の図10(b)は、説明の便宜上、各工程における処理空間20内の圧力パターンを模式的に表したものであり、当該処理空間20内の厳密な圧力を示しているものではない。
成膜を終えたらガスの供給を停止し、ウエハWの載置された載置台2を搬送口15まで降下させ、真空容器1内の圧力を真空排気前の状態に戻した後、搬入時とは逆の経路で外部の搬送アーム101によりウエハWを搬出し、一連の成膜動作を終える。
以上に説明した動作に基づき成膜を行う本実施の形態に係る成膜装置は、5つの処理空間20に共通のマニホールド部3から反応ガスの供給が行われ、また共通の排気空間10へ向けて各処理空間20からの反応ガスの排気が行われることになる。このため、5つの処理空間20の間で供給される反応ガスの量に若干の差を生じる場合も考えられる。しかしながら、本成膜装置はウエハW表面への反応ガスの吸着を利用するALDプロセスを採用していることから、各処理空間20への反応ガス供給量に多少の偏りなどがあったとしても、分子層を形成可能な十分な量の反応ガスをウエハW表面に供給することが可能であれば、膜厚などの膜質がウエハW面間で均一な膜を成膜することができる。
また本実施の形態に係る成膜装置は、既述のように載置台2と天板部材22との間の隙間を「h=1mm〜6mm」の範囲で変化させることができ、これまで説明した図10(a)は「h=4mm」(図9(a))の場合についてのガス供給シーケンスを示している。そこで、図9(b)に示すように、「h=2mm」として載置台2と天板部材22との間の隙間を狭くした場合の成膜装置の作用とガス供給シーケンスへの影響について以下に説明する。
今、例えば処理空間20内の圧力が一定(例えば圧力P1)となるようにインジェクタ4からの原料ガスの供給量を調節した後、載置台2−天板部材22間の隙間を狭くしていくと、この隙間をガスが通過する際の圧力損失が大きくなることから、処理空間20から排気空間10へのガスの排気速度は低下し、処理空間20内における反応ガスの滞留時間は長くなる。このときの処理空間20内の圧力変化の様子を模式的に表すと、図13(a)に示すように、隙間を狭くする前の処理空間20内の圧力は実線「S1」に示すように短時間で急峻に低下するのに対し、隙間を狭くした後の圧力は破線「S2」に示すようになだらかに低下する。ここで、図13(a)〜図13(c)の横軸Tは時間を示し、縦軸Pは処理空間20内の圧力を示している。
次に、処理空間内の圧力が前記圧力「P1」よりも低い圧力(例えば圧力P2)となるようにインジェクタ4からの原料ガスの供給量を調整して、同様に載置台2と天板部材22との間の隙間を変化させると、隙間を狭くする前後での処理空間内20内の圧力は、図13(b)に模式的に示すように、既述の図13(a)よりは全体の変化がなだらかになるものの、隙間を狭くする前は実線「S3」に示すように比較的短時間で圧力が低下し、隙間を狭くした後は破線「S4」に示すように比較的長い時間をかけて低下する。
このように、本実施の形態に係る成膜装置では、載置台2と天板部材22との間の隙間の幅「h」と、インジェクタ4からの原料ガスの供給量との双方を調節することにより、原料ガスの供給時間が短く、比較的多くの原料ガスを必要とする供給パターン(図13(c)中の実線「S1」に相当する)や、原料ガスの供給時間が長く、原料ガスの消費量が少なくて済む供給パターン(同図中の破線「S4」に相当する)など、処理空間20内の圧力、または当該処理空間20内における原料ガスの滞留時間の少なくとも一方を調整して、原料ガスの供給パターンを自在に変更することができる。
ここで図10(b)に示したガス供給シーケンスでは、前記隙間を「h=2mm」で固定し、原料ガスの供給量を変化させてa工程にて形成される時間対圧力の三角形の面積が図10(a)のa工程にて形成される同三角形の面積と等しくなるように原料ガスの供給量を決定している。
図10(a)と図10(b)との各図にて形成される三角形の面積が等しくなるように原料ガスの供給量を決定した理由は、ALDプロセスはウエハW表面への原料ガスの吸着を利用した成膜手法であることから、膜厚などの膜質はウエハW表面への原料ガス分子の衝突回数に依存すると考えられるからである。原料ガス分子のウエハW表面への衝突頻度は処理空間20内の圧力、即ち処理空間20に供給される原料ガス濃度に比例して大きくなり、成膜期間中の全衝突回数は当該衝突頻度を時間積分した値となるため、この積分値、即ち既述の三角形の面積を等しくすることにより、前記隙間の幅を変化させる前後での膜質を均一に保つことができると考えられる。図10(b)のガス供給シーケンスでは、c工程及びb、b工程についても同様の考え方に基づいて各ガスの供給量が決定されている。
ここで各ガスの供給量は、インジェクタ4及び各開閉弁722、732を「開」とする時間を増減することなどにより調節できる。また前記隙間の幅を変更する前のガス供給シーケンス(本例では「h=4mm」の場合の図10(a)に示すシーケンス)における前記三角形の面積等は、例えば予備実験などによって良好な膜質を得られるガス供給量などを予め把握しておくことにより決定される。なお、前記隙間の幅を変更する場合に、図10(b)に示したガス供給シーケンスを決定する手法は上述の手法に限定されるものではなく、前記隙間の幅を変化させて予備実験を行い、当該実験結果から各々の隙間の幅に最適なガス供給量を求めることにより各々の隙間の幅に合ったガス供給シーケンスを決定してもよい。
以上に例示した手法に基づいて前記隙間の幅を変化させた場合のガス供給シーケンスが決定されたら、例えば当該隙間の幅を変化させたことによる成膜時間の変化、即ちスループットの変化による収益への影響と、各種ガス消費量の変化によるコストへの影響とを比較し、例えばこれらの収支が最大となるように前記隙間の幅を決定するとよい。こうした載置台2と天板部材22との間の幅の決定は、例えば成膜装置の稼動開始時や原料ガスなどのプロセス条件の変更時に行われる。
本発明に係る成膜装置によれば以下の効果がある。原料ガス(第1の反応ガス)及び酸素ガス(第2の反応ガス)を交互にウエハWに供給していわゆるALD(あるいはMLD)により成膜を行う装置において、載置領域を含む載置台2と、天板部材22とを対向させてこの間に処理空間20を形成すると共に、これら載置台2及び天板部材22の複数の組を共通の真空容器1内に配置し、載置台2と天板部材22との間に形成される隙間を介して前記処理空間20を真空排気する構成となっている。このため、複数枚のウエハWを載置可能な大型の回転テーブルを用意して、当該回転テーブルの上面側に処理空間を設ける場合と比較して、処理空間20の容積を小さくすることができる。この結果、ウエハW同士の隙間など、成膜には関与しない領域に反応ガスを供給する必要がないことから、成膜処理に必要な反応ガスの供給量を削減することが可能となり、成膜に要するコストを低減することが可能となる一方、処理空間20の容積が小さいことから、当該空間への反応ガスの供給、排気時間も削減され、トータルの成膜時間が短くなって、成膜装置のスループットの向上にも貢献することができる。
さらに本成膜装置は、静止している状態のウエハWに対して反応ガスを供給する構成となっているため、複数のウエハWを載置した載置台を回転させるタイプの成膜装置のように、載置台の回転中心側と周縁側とでウエハWの移動速度が異なることに起因する不必要な反応ガス消費が発生しない。
次に処理空間20を形成する載置台2を昇降させる昇降機構(支持腕23、支柱24、駆動部51)を備えた本発明に係る成膜装置によれば、以下の効果がある。天板部材22の凹状の面と載置台2との間に形成される処理空間20内にウエハWを配置し、これらの部材2、22の間に形成される隙間の大きさを調整することにより、処理空間20内の圧力や、当該処理空間20内における各種反応ガスの滞留時間を調整することができる。このため、ウエハW表面に成膜を行うために必要な条件を狭小な処理空間20内に作り出すことができることから、例えば平坦なガス吐出面を有するガスシャワーヘッドを載置台に対して平行となるように真空容器内に配置して反応ガスを供給する方式の成膜装置と比較して、少ない反応ガスで成膜を行うことができる。
また、載置台2と天板部材22との間の隙間の幅を変化させることができることにより、当該隙間の幅を広くすることによる成膜時間の短縮、即ちスループットの向上の影響と、当該幅を狭くすることによる原料ガス消費量の削減の影響とを比較検討するなどして、そのプロセスに最も適した隙間の幅を選択することが可能となり、装置のフレキシビリティが向上する。
ここで、既述の実施の形態中では、図10(a)、図10(b)に示した各ガス供給シーケンスにおいては、吸着工程、パージ工程、酸化工程の各工程において載置台2と天板部材22との間の幅を一定としているが、本実施の形態に係る成膜装置の運用は当該例に限定されるものではない。例えば吸着工程と酸化工程において当該隙間の幅を変化させ、処理空間20内の圧力や反応ガスの滞留時間が各工程にて供給される反応ガスの種類に応じて変化させることにより、良質な膜を成膜するようにしてもよい。
なお、前記隙間の幅を変化させる手法は、上述の実施の形態中に示した載置台2を昇降させる手法に限定されるものではない。例えば天板部材22を真空容器1の天板から降下可能に構成し、この天板部材22を昇降させて前記隙間の幅を変化させてもよいし、載置台2と天板部材22との双方を昇降させてもよい。
次に本実施の形態のマニホールド部3に係る発明には、以下の効果がある。処理ガス供給機構であるインジェクタ4及びガス供給配管723、733から供給される各ガスが共通のガス供給路32を通り、ガス拡散室33を拡散し、ガス供給管34を介して各処理空間20に供給されるため、各処理空間20に対して個別に処理ガス供給機構を設ける場合よりも、部品の点数を少なくすることができるので、ガス供給系の構造が簡素化されるので装置の大型化及び煩雑化を防ぐことができる。それによって装置の製造コストを低減することができる。
また、各ガスが供給される処理空間20は、天板部材22と載置台2とから構成され、それらの間に形成される隙間を介して排気される。従って複数枚の基板を載置可能な大型の回転テーブルを用意して、当該回転テーブルの上面側に処理空間を設ける場合と比較して、処理空間20の容積を小さくすることができるので、基板同士の隙間など、成膜には関与しない領域に反応ガスを供給する必要がないことから、成膜処理に必要な反応ガスの供給量を削減することが可能となる。また、共通の各ガス供給源から共通のガス供給路32及びガス拡散室33を介して各ガスが処理空間20に供給されるので、各処理空間20に供給されるガス流量及びガス濃度にばらつきが生じることが抑えられる。従って、各処理空間20で処理されるウエハWの膜質や膜厚のばらつきが抑えられる。
さらに、ガス拡散室33はその処理空間20を収容する真空容器1の直上に設けられているので、当該ガス拡散室33から処理空間20までのガスの流路を短くすることができる。それによって処理空間に到達するまでのBTBASガスの再液化を抑えることができ、また、短時間で大量のガスを処理空間20に供給しやすいため、成膜時間を短くしてスループットを高めることができる。このガス拡散室33から各処理空間20までの流路の長さは例えば0.3m〜1.0mである。
ここで本発明に係る成膜装置は、図1〜図7に示したように、扁平な円筒状の真空容器1内に載置台2と天板部材22との組を周方向に配置する場合(真空容器1と中心を同じくする円の円周上に各載置台2の中心を位置させる場合)に限定されない。例えば図14(a)、図14(b)に示す成膜装置のように、細長い矩形状の載置台2上に横一列にウエハWの載置領域を設け、これらの載置領域に対向するように天板部材22を設け、これらの部材を共通の排気口61を備えた排気空間10を成す真空容器1内に格納してもよい。また図15に示す成膜装置のように互いに対向する載置台2と天板部材22との複数の組を上下方向に配置し、排気空間10を成す真空容器1内にこれらを格納した構成としてもよい。なお、当該例を含む以下に説明する成膜装置、載置台2などの各例においては、既述の図1〜図7に示した成膜措置と同じ役割を果たす構成要素には、これらの図に記載した符号と同じ符号を付してある。
また載置台2と天板部材22との間の隙間は、図4などを用いて説明した載置台2の上面と天板部材22の下端部との間に形成されるものに限定されない。例えば図16に示すように、ウエハWの載置領域を上方側へ突出させた載置台2を天板部材22の凹部内に嵌合させて処理空間20を形成し、天板部材22の内壁面と載置台2との間に形成される隙間を介して処理空間20内の各種ガスを排気する構成としてもよい。
さらに処理空間20内の反応ガス等を排気空間10へと排気する排気用開口部は既述の成膜装置のように載置台2と天板部材22との間の隙間に限定されない。例えば図17(a)、図17(b)に示すように天板部材22を下面が開放された扁平な円筒形状に構成し、例えば当該天板部材22の側周壁部分に開口部223を設け、処理空間20内の反応ガスなどをこの開口部223を介して排気空間10へと排気するようにしてもよい。また、図18(a)、図18(b)に示すように載置台のウエハWが載置される載置領域の周囲に開口部27を設け、ここから排気空間10へと反応ガスなどを排気するようにしてもよい。
ここで反応ガスは2種類である場合に限定されない。例えばチタン酸ストロンチウム(SrTiO)を成膜する場合のように3種類の反応ガス、例えばSr原料であるSr(THD)(ストロンチウムビステトラメチルヘプタンジオナト)と、Ti原料であるTi(OiPr)(THD)(チタニウムビスイソプロポキサイドビステトラメチルヘプタンジオナト)と、これらの酸化ガスであるオゾンガスとを用いてALDにより成膜を行うプロセスにも本成膜装置は適用することができる。この場合には、処理空間20に切り替えて供給される3種類の反応ガスのうち、引き続いて供給される2つの原料ガスの一方側を第1の反応ガス、他方側を第2の反応ガスと考えるとよい。即ち、Sr(THD)ガス→Ti(OiPr)(THD)ガス→オゾンガスの順に反応ガスが供給される場合には(パージガスの供給については省略してある)、Sr(THD)ガスとTi(OiPr)(THD)ガスとの関係においては前者が第1の反応ガス、後者が第2の反応ガスとなり、Ti(OiPr)(THD)ガスとオゾンガスとの関係においては、前者が第1の反応ガス、後者が第2の反応ガスとなる。そしてオゾンガスとSr(THD)ガスとの関係においては前者が第1の反応ガス、後者が第2の反応ガスとなると考えるとよい。4種類以上の反応ガスを用いて成膜する場合にも同様である。
また、載置台2と凹部を備えた天板部材22とを上下に対向させてウエハWの処理空間20を形成し、これらの部材2、22の隙間の幅を変えることにより処理空間20の圧力や当該処理空間20内における反応ガスの滞留時間を調整する既述の成膜装置は、いわゆるALDプロセス適用する場合のみに限定されない。例えば当該処理空間20内に反応ガスを連続的に供給してウエハW表面に成膜を行うCVD(Chemical Vapor Deposition)プロセスに対して本成膜装置を適用した場合にも、反応ガスの消費量を抑制するという効果は得ることができる。
この他、真空容器1内にて下部材である載置台2を上部材である天板部材22に対向させて処理空間20を形成し、例えば載置台2を昇降自在とすることにより、排気用開口部を成す載置台2と天板部材22との間の隙間の幅を調節可能とした構成の成膜装置は、真空容器1内に載置台2と天板部材22との複数の組を備え、前記の隙間を同じ幅に調節する場合に限定されない。例えば図19に示すように、真空容器1内に載置台2と天板部材22とを1組だけ備える成膜装置も本発明の技術的範囲に含まれる。また、真空容器1内にこれらの組を複数組備える成膜装置において、図20に示すように例えば各載置台2を独立して昇降可能な構成とし、各々の処理空間20における天板部材22との間の隙間の幅を異ならせることができるようにしてもよい。この場合には例えば処理空間20毎に前記の隙間の幅を異ならせて、例えば各種反応ガスの滞留時間や圧力を調節することにより膜質の異なる膜を成膜することができる。また、例えば処理空間20毎に異なる種類の反応ガスを供給し異なる種類の膜を成膜する際に、前記隙間が各々の反応ガスの種類に適した幅となるように載置台2を昇降させてもよい。
マニホールド部3の構成としては、図14(a)(b)に示したように横一列に配列された処理空間20にガスを供給するものであってもよく、図21(a)(b)はそのようなマニホールド部3の一例を示している。このマニホールド部3のガス拡散室33は、処理空間20の配列に対応して、当該処理空間20の配列方向に伸びるように形成されている。
ところでマニホールド部3によりガスが供給される各処理空間20の雰囲気は互いに気密に区画されてもよい。つまりマニホールド部3は、複数の真空容器内に夫々ガスを供給するように構成されていてもよい。また上記の各例ではマニホールド部3は成膜装置に設けられているが、例えばアッシング、エッチング、酸化処理、窒化処理装置などの真空雰囲気にてガス処理を行うガス処理装置に設けられ、そのガス処理に応じたガスを供給するようになっていてもよい。また、上述の成膜装置により処理される被処理基板は半導体ウエハWに限定されず、LCD(液晶ディスプレイ)用基板に代表されるFPD(フラットパネルディスプレイ)基板や、セラミックス基板等の他の基板であってもよい。
続いて大気雰囲気の工場内に据え付けられた状態の図1の成膜装置について、その外観構成を示した図22を参照しながら説明する。成膜装置はその真空容器1を構成する側壁部12及び天板11が支持部8によって平坦な床面8C上に支持されている。これ以降、このように支持部8に支持された成膜装置を成膜装置80と記載する。
支持部8は支持台81、支持脚82、横部材83及び固定部材84を備えている。前記真空容器1を構成する側壁部12の下端からは周方向に間隔をおいて外側方向に切片12aが突出しており、前記支持台81は真空容器1の周に沿って形成され、各切片12aの裏面を支持している。支持台81は真空容器1の底板14を後述のように下降させて側壁部12から分離するときに当該底板14と干渉しないように構成されている。
成膜装置80において搬送口15の開口方向を奥側とすると、支持台81の左右の縁部において手前側から奥側に向かって間隔をおいて複数本の支持脚82が設けられ、各支持脚82は下方に向かって伸びている。そして、真空容器1から見て左側、右側に夫々形成された支持脚82の下端は夫々手前側から奥側に向かう横部材83により互いに連結されており、横部材83の下側及び支持脚82の下側には床面8Cにこれら支持脚82及び横部材83を固定するための複数の固定部材84が互いに間隔をおいて設けられている。
奥側の左右に設けられた支持脚82は支持台81の上側に延長されるように伸び、その延長された部分は支柱85を構成しており、支柱85は支持板86、上板87を下からこの順に支持している。支持板86上には例えば成膜装置の電源ユニット等の機器類が配置されている。また、図示は省略しているが、成膜装置80は着脱自在の側板によりその外周を囲まれ、その側板は上板87と共に当該成膜装置80内にパーティクルが進入することを防いでいる。
各支持脚82及び横部材83により囲まれた、真空容器1の下方空間8Aには真空容器1の底板14の裏面を保持する保持部91が設けられている。
図23(a)は底板14の下側、図23(b)は保持部91の上側を夫々示している。図23(b)に示すように保持部91は開口部92を備え、前記スリーブ25及び駆動部51を囲むように筒状に形成されている。そして保持部91の上端には当該保持部91の周方向に沿って環状の突起93が形成されており、前記底板14の下方側には当該底板14中央部から下方に突出したスリーブ25及び駆動部51を囲むように前記突起93の形状に対応した溝94が形成されている。突起93と溝94とは互いに嵌合し、底板14に対して保持部91は位置決めされている。
保持部91の下方には昇降機構95が設けられている。昇降機構95は例えば保持部91を垂直に昇降させるための油圧シリンダを備えており、その保持部91の昇降に伴って真空容器1の底板14と、この底板14に支柱24を介して設けられた載置台2が昇降する。また、昇降機構95の下側には転動体であるキャスタ96を備えた台車部97が設けられている。移動体である前記台車部97により昇降機構95が床面8C上を移動できるようになっており、この昇降機構95の移動に伴って保持部91も床面8C上を移動する。つまり、昇降機構95、保持部91及び底板14は互いに位置合わせされた状態で床面8Cを移動できるように構成されている。
また、下方空間8Aには真空容器1の底板14に接続された排気管62が引き回されている。図中62aは排気管62の上流側と下流側とを接続する継手である。下方空間8Aの手前側には装置のユーザが乗り、装置の各部を操作するための踏み台8Bが配置されている。
続いて、既述の成膜装置80の真空容器1内を開放してメンテナンスを行う手順について説明する。処理空間20への各ガス供給及び処理空間20からの排気を停止させ、成膜処理を停止させた後、踏み台8Bを下方空間8Aの手前から、例えば左右いずれかに移動させて、下方空間8Aの手前側を開放する。そして、継手62aに接続された排気管62の上流側を当該継手62aから取り外す。そして、この継手62aと継手62aに接続された排気管62の下流側を、底板14を下降させるときに底板14と共に下降する排気管62の上流側に干渉しないように適切な位置に移動させておく。
その後、底板14と側壁部12とを接続するねじなどの不図示の留め具を取り外した後、図24に示すように昇降機構95によって保持部91を介して真空容器1の底板14を下降させ、底板14に接続された載置台2を、その上面の高さが側壁部12を支持する支持台81の下端よりも低くなるように位置させる。然る後、図25に示すように台車部97を利用して昇降機構95及び保持部91を真空容器1の下方空間8Aの手前側に引き出し、その昇降機構95及び支持部91の移動に伴って底板14、載置台2、支持腕23、支柱24及び排気管62の上流側が下方空間8Aから引き出される。
そして、このように下方空間8Aから取り出された底板14及びそれに付随する各部材をユーザは手拭洗浄したり、あるいは取り出された各部を分解して所定の洗浄装置により洗浄し、反応ガスによる付着物を除去する。また、このように底板14を真空容器1から取り外したときに、図26に示すように真空容器1の下側が下方空間8Aに開放されている。ユーザはこの下方空間8Aを介して、開放された真空容器1の下側から真空容器1内の各部を手拭洗浄したり、各部品を取り外して洗浄装置により洗浄して、前記付着物を除去する。また、ユーザはこのような洗浄を行う他に、不具合のある部品を交換するなどの各種のメンテナンス作業を行う。
メンテナンス終了後、上記のように真空容器1から底板14を取り出したときとは逆の手順で底板14を真空容器1の下部に取り付けて、成膜装置80をメンテナンスを開始する前の状態に戻す。
なお、この成膜装置の真空容器1は従来の成膜装置のように天板11を側壁12から取り外し、当該真空容器1の上側を開放することができる。また、天板11には各処理空間20に対応した位置に、この天板11から取り外し可能な蓋部材11aが設けられている。蓋部材11aの下方側は処理空間20を形成する天板部材22に接続されており、蓋部材11aと共に天板部材22を真空容器1から引き出すことができる。そしてこれら蓋部材11a及び天板部材22を取り外すことで、載置台2を露出させ、真空容器1の内部を上記のように洗浄してメンテナンスを行うことができる。このように天板11や蓋部材11aを取り外すときには、背景技術の欄で説明したように各供給管から液体原料及び反応ガスを除去し、各ガス供給管34を天板11から取り外しておく必要がある。そのように天板11や蓋部材11aを取り外してメンテナンスを行うのは例えば下方からの手拭洗浄では十分に生成物を除去しきれない場合や部材を交換する場合などが考えられる。
この真空処理装置の一実施形態である成膜装置80によれば、真空容器1の天板11及び側壁部12に対して着脱自在に設けられ、ウエハWを載置する載置台2を備えた真空容器1の底板14と、この底板14を昇降させる昇降機構95と、この昇降機構95を搭載し、床面8Cに沿って移動可能な台車部97と、を備えているので、側壁部12から底板14及び載置台2を取り外し、これら側壁部12、底板14及び載置台2の夫々のメンテナンスを実施可能な位置に移動させることができる。従って、天板11を真空容器1から取り外す必要が無いので、この取り外しによるマニホールド部3に夫々液体原料及び反応ガスを供給する各供給管からこれら液体原料及び反応ガスを除去する必要が無くなる。その結果として装置のメンテナンス作業を容易に行うことができる。
ところで、上記のように下方空間8Aの外内に移動される保持部91、昇降機構95、載置台2及び底板14を含むユニットを複数用意し、一のユニットのメンテナンス中には他のユニットを真空容器1に取り付けて成膜処理を行い、他のユニットのメンテナンス中には一のユニットを真空容器1に取り付けて成膜処理を行うことで、前記ユニットのメンテナンスにおける装置の稼働率の低下を抑えていてもよい。
続いて上記の成膜装置80を例えば4基含んだ半導体製造装置100Aの構成について図27を参照しながら説明する。半導体製造装置100Aは、ウエハWのロード、アンロードを行うローダモジュールを構成する第1の搬送室102と、ロードロック室103a、103bと、真空搬送室モジュールである第2の搬送室104と、を備えている。第1の搬送室102の正面にはキャリアCが載置されるロードポート105が設けられており、第1の搬送室102の正面壁には、前記ロードポート105に載置されたキャリアCが接続されて、当該キャリアCの蓋と一緒に開閉されるゲートドアGTが設けられている。そして第2の搬送室104には、上述の成膜装置80が気密に接続されている。
また、第1の搬送室102の側面には、ウエハWの向きや偏心の調整を行うアライメント室106が設けられている。ロードロック室103a、103bには、夫々図示しない真空ポンプとリーク弁とが設けられており、大気雰囲気と真空雰囲気とを切り替えられるように構成されている。つまり、第1の搬送室102及び第2の搬送室104の雰囲気がそれぞれ大気雰囲気及び真空雰囲気に保たれているため、ロードロック室103a、103bは、それぞれの搬送室間において、ウエハWを搬送する時に雰囲気を調整するためのものである。なお図中Gは、ロードロック室103a、103bと第1の搬送室102または第2の搬送室104との間、あるいは第2の搬送室104と前記成膜装置80の搬送口15との間を仕切るゲートバルブ(仕切り弁)である。
第1の搬送室102、第2の搬送室104には、夫々第1の搬送手段107、第2の搬送手段108a,108bが設けられている。第1の搬送手段107は、キャリアCとロードロック室103a,103bとの間及び第1の搬送室102とアライメント室106との間でウエハWの受け渡しを行うための搬送アームである。第2の搬送手段108a,108bは、ロードロック室103a,103bと成膜装置との間でウエハWの受け渡しを行うための搬送アームである。
キャリアCが半導体製造装置100Aに搬送されて、ロードポート105に載置され、第1の搬送室102に接続される。次いでゲートドアGTおよびキャリアCの蓋が同時に開かれて、キャリアC内のウエハWは第1の搬送手段107によって第1の搬送室102内に搬入され、次いでアライメント室106に搬送されて、その向きや偏心の調整が行われた後、ロードロック室103a(または103b)に搬送される。ロードロック室103a(または103b)内の圧力が調整された後、ウエハWは第2の搬送手段108aまたは搬送手段108bによってロードロック室103から第2の搬送室104に搬入される。続いて成膜装置80のゲートバルブGが開かれ、第2の搬送手段108a(または108b)はウエハWをその成膜装置80に搬送する。
成膜装置80により上述の成膜処理が終わると、その成膜装置80のゲートバルブGが開かれ、第2の搬送手段108a(108b)が当該成膜装置80の真空容器1内に進入する。既述の動作で処理の施されたウエハWが第2の搬送手段108a(108b)に受け渡され、然る後、第2の搬送手段108a(108b)は、ロードロック室103a(または103b)を介して第1の搬送手段107にウエハWを受け渡す。そして、第1の搬送手段107がキャリアCにウエハWを戻す。
実施の形態に係る成膜装置の縦断面図である。 上記成膜装置の内部の概略構成を示す斜視図である。 上記成膜装置の横断平面図である。 上記成膜装置における処理領域を示す縦断面図である。 上記処理領域を構成する天板部材を示す底面図である。 インジェクタの縦断面図である。 上記成膜装置のガス供給経路図である。 上記成膜装置の第1の作用図である。 上記成膜装置の第2の作用図である。 上記成膜装置による成膜処理のガス供給シーケンス図である。 ガスがマニホールド部から処理空間に向かう様子を示した説明図である。 上記成膜装置の第3の作用図である。 上記成膜装置の作用に係る説明図である。 上記成膜装置の変形例を示す横断平面図及び縦断側面図である。 上記成膜装置の他の変形例を示す縦断側面図である。 載置台及び天板部材の他の例を示す縦断側面図である。 天板部材のさらに他の例を示す説明図である。 載置台のさらに他の例を示す説明図である。 上記成膜装置のさらに他の例を示す縦断側面図である。 上記成膜装置のこの他の例を示す縦断側面図である。 マニホールド部の他の一例を示す説明図である。 支持部に支持された前記成膜装置の外観斜視図である。 底板の下面側斜視図及び保持部の上面側斜視図である。 前記成膜装置の真空容器の底板の下降動作を示した作用図である。 真空容器の下方空間から引き出された載置台及び底板を示した斜視図である。 底板が外れた真空容器の下側斜視図である。 前記成膜装置を含んだ真空処理装置である。
符号の説明
W ウエハ
1 真空容器
10 排気空間
14 底板
100 制御部
2 載置台
20 処理空間
21 ステージヒータ
22 天板部材
23 支持腕
24 支柱
3 マニホールド部
4 インジェクタ
64 真空ポンプ
7 ガス供給制御部
71 原料ガス供給源
72 酸素ガス供給源
73 パージガス供給源
721、731
圧力調整弁
712、722、732
開閉弁

Claims (5)

  1. 真空容器内に形成された処理空間にて、基板に対して処理ガスを供給して処理を行う真空処理装置において、
    前記真空容器の天井部及び側壁部を構成する容器本体と、
    この容器本体に対して着脱自在に設けられ、基板を載置する載置台を備えた真空容器の底板部と、
    前記真空容器の天井部に設けられ、前記載置台に載置された基板に前記処理ガスを供給するガス供給機構と、
    前記真空処理装置が設置される床面に前記容器本体を支持する支持体と、
    前記底板部を、容器本体に装着される上位置と、容器本体の下方側の下位置との間で昇降させる昇降部と、
    この昇降部を搭載し、前記床面に沿って移動可能な移動体と、
    を備えたことを特徴とする真空処理装置。
  2. 前記移動体は、床面に沿って転動する転動体を備えていることを特徴とする請求項1記載の真空処理装置。
  3. 前記昇降部は、前記底板部を位置合わせした状態で保持するための保持部を備えていることを特徴とする請求項1または2記載の真空処理装置。
  4. 前記処理空間は載置台とその載置台上に当該載置台に対向して設けられる上部材により形成され、処理空間の周方向に沿って、当該処理空間内と処理空間の外部である前記真空容器内の雰囲気とを連通するための排気用開口部が形成されることを特徴とする請求項1ないし3のいずれか一つに記載の
    真空処理装置。
  5. 前記載置台と上部材との組は真空容器内に複数設けられることを特徴とする請求項4記載の真空処理装置。
JP2008254484A 2008-09-30 2008-09-30 真空処理装置 Expired - Fee Related JP5088284B2 (ja)

Priority Applications (1)

Application Number Priority Date Filing Date Title
JP2008254484A JP5088284B2 (ja) 2008-09-30 2008-09-30 真空処理装置

Applications Claiming Priority (1)

Application Number Priority Date Filing Date Title
JP2008254484A JP5088284B2 (ja) 2008-09-30 2008-09-30 真空処理装置

Publications (2)

Publication Number Publication Date
JP2010087236A true JP2010087236A (ja) 2010-04-15
JP5088284B2 JP5088284B2 (ja) 2012-12-05

Family

ID=42250903

Family Applications (1)

Application Number Title Priority Date Filing Date
JP2008254484A Expired - Fee Related JP5088284B2 (ja) 2008-09-30 2008-09-30 真空処理装置

Country Status (1)

Country Link
JP (1) JP5088284B2 (ja)

Cited By (5)

* Cited by examiner, † Cited by third party
Publication number Priority date Publication date Assignee Title
WO2012093806A3 (ko) * 2011-01-04 2012-09-07 주식회사 원익아이피에스 박막 증착 방법 및 박막 증착 장치
CN103299398A (zh) * 2011-01-04 2013-09-11 圆益Ips股份有限公司 薄膜蒸镀方法及薄膜蒸镀装置
CN113439328A (zh) * 2019-02-27 2021-09-24 东京毅力科创株式会社 基板处理装置、基板处理系统以及对载置台进行对位的方法
JP2021525453A (ja) * 2018-05-24 2021-09-24 東京エレクトロン株式会社 気相ラジカルの制御のための複数ゾーンガス噴射
CN113459135A (zh) * 2021-07-08 2021-10-01 哈尔滨东安华孚机械制造有限公司 一种缸盖装配线用夹持装置及工作方法

Families Citing this family (9)

* Cited by examiner, † Cited by third party
Publication number Priority date Publication date Assignee Title
US10998209B2 (en) 2019-05-31 2021-05-04 Applied Materials, Inc. Substrate processing platforms including multiple processing chambers
US12080571B2 (en) 2020-07-08 2024-09-03 Applied Materials, Inc. Substrate processing module and method of moving a workpiece
US11817331B2 (en) 2020-07-27 2023-11-14 Applied Materials, Inc. Substrate holder replacement with protective disk during pasting process
US11749542B2 (en) 2020-07-27 2023-09-05 Applied Materials, Inc. Apparatus, system, and method for non-contact temperature monitoring of substrate supports
US11600507B2 (en) 2020-09-09 2023-03-07 Applied Materials, Inc. Pedestal assembly for a substrate processing chamber
US11610799B2 (en) 2020-09-18 2023-03-21 Applied Materials, Inc. Electrostatic chuck having a heating and chucking capabilities
US12195314B2 (en) 2021-02-02 2025-01-14 Applied Materials, Inc. Cathode exchange mechanism to improve preventative maintenance time for cluster system
US11674227B2 (en) 2021-02-03 2023-06-13 Applied Materials, Inc. Symmetric pump down mini-volume with laminar flow cavity gas injection for high and low pressure
US12002668B2 (en) 2021-06-25 2024-06-04 Applied Materials, Inc. Thermal management hardware for uniform temperature control for enhanced bake-out for cluster tool

Citations (3)

* Cited by examiner, † Cited by third party
Publication number Priority date Publication date Assignee Title
JPH08218172A (ja) * 1995-02-10 1996-08-27 Tokyo Electron Ltd ガス処理装置
JPH1098002A (ja) * 1996-09-19 1998-04-14 Kokusai Electric Co Ltd 縦型反応炉の石英管着脱装置
JP2006009144A (ja) * 2004-05-21 2006-01-12 Ulvac Japan Ltd 真空成膜装置

Patent Citations (3)

* Cited by examiner, † Cited by third party
Publication number Priority date Publication date Assignee Title
JPH08218172A (ja) * 1995-02-10 1996-08-27 Tokyo Electron Ltd ガス処理装置
JPH1098002A (ja) * 1996-09-19 1998-04-14 Kokusai Electric Co Ltd 縦型反応炉の石英管着脱装置
JP2006009144A (ja) * 2004-05-21 2006-01-12 Ulvac Japan Ltd 真空成膜装置

Cited By (10)

* Cited by examiner, † Cited by third party
Publication number Priority date Publication date Assignee Title
WO2012093806A3 (ko) * 2011-01-04 2012-09-07 주식회사 원익아이피에스 박막 증착 방법 및 박막 증착 장치
CN103299398A (zh) * 2011-01-04 2013-09-11 圆益Ips股份有限公司 薄膜蒸镀方法及薄膜蒸镀装置
US9506146B2 (en) 2011-01-04 2016-11-29 Wonik Ips Co., Ltd. Thin film vapor deposition method and thin film vapor deposition apparatus
KR101829669B1 (ko) 2011-01-04 2018-02-19 주식회사 원익아이피에스 박막 증착 방법 및 박막 증착 장치
JP2021525453A (ja) * 2018-05-24 2021-09-24 東京エレクトロン株式会社 気相ラジカルの制御のための複数ゾーンガス噴射
JP7205021B2 (ja) 2018-05-24 2023-01-17 東京エレクトロン株式会社 気相ラジカルの制御のための複数ゾーンガス噴射
CN113439328A (zh) * 2019-02-27 2021-09-24 东京毅力科创株式会社 基板处理装置、基板处理系统以及对载置台进行对位的方法
CN113439328B (zh) * 2019-02-27 2024-04-16 东京毅力科创株式会社 基板处理装置、基板处理系统以及对载置台进行对位的方法
CN113459135A (zh) * 2021-07-08 2021-10-01 哈尔滨东安华孚机械制造有限公司 一种缸盖装配线用夹持装置及工作方法
CN113459135B (zh) * 2021-07-08 2023-04-07 哈尔滨东安华孚机械制造有限公司 一种缸盖装配线用夹持装置及工作方法

Also Published As

Publication number Publication date
JP5088284B2 (ja) 2012-12-05

Similar Documents

Publication Publication Date Title
JP5544697B2 (ja) 成膜装置
JP5315898B2 (ja) 成膜装置
JP5088284B2 (ja) 真空処理装置
JP4803578B2 (ja) 成膜方法
JP6095825B2 (ja) 基板処理装置および半導体装置の製造方法
US10131984B2 (en) Substrate processing apparatus
JP5722595B2 (ja) 基板処理装置および半導体装置の製造方法
US8539908B2 (en) Film forming apparatus, film forming method and storage medium
JP5347294B2 (ja) 成膜装置、成膜方法及び記憶媒体
JP5284182B2 (ja) 基板処理装置および半導体装置の製造方法
TW202132605A (zh) 催化劑增強之無縫釕間隙填充
TW202015110A (zh) 金屬薄膜之催化沉積
JP2010199160A (ja) 基板処理装置
JP5083153B2 (ja) 真空処理装置
JP2016117933A (ja) 成膜装置
KR20190108479A (ko) 기판 처리 장치
JP2011238832A (ja) 基板処理装置
JP2008218555A (ja) SrTiO3膜の成膜方法およびコンピュータ読取可能な記憶媒体
JP5751754B2 (ja) 成膜方法および記憶媒体
JP6021977B2 (ja) 基板処理装置および半導体装置の製造方法
JP5095230B2 (ja) SrTiO3膜の成膜方法およびコンピュータ読取可能な記憶媒体
JP2016122691A (ja) 基板処理装置、ガス供給ノズル、および、半導体装置の製造方法
KR101512140B1 (ko) 원자층 증착 장치 및 방법
JP6108530B2 (ja) 半導体装置の製造方法、プログラムおよび基板処理装置

Legal Events

Date Code Title Description
A621 Written request for application examination

Free format text: JAPANESE INTERMEDIATE CODE: A621

Effective date: 20110808

A977 Report on retrieval

Free format text: JAPANESE INTERMEDIATE CODE: A971007

Effective date: 20120516

A131 Notification of reasons for refusal

Free format text: JAPANESE INTERMEDIATE CODE: A131

Effective date: 20120522

A521 Request for written amendment filed

Free format text: JAPANESE INTERMEDIATE CODE: A523

Effective date: 20120723

TRDD Decision of grant or rejection written
A01 Written decision to grant a patent or to grant a registration (utility model)

Free format text: JAPANESE INTERMEDIATE CODE: A01

Effective date: 20120814

A01 Written decision to grant a patent or to grant a registration (utility model)

Free format text: JAPANESE INTERMEDIATE CODE: A01

A61 First payment of annual fees (during grant procedure)

Free format text: JAPANESE INTERMEDIATE CODE: A61

Effective date: 20120827

FPAY Renewal fee payment (event date is renewal date of database)

Free format text: PAYMENT UNTIL: 20150921

Year of fee payment: 3

R150 Certificate of patent or registration of utility model

Ref document number: 5088284

Country of ref document: JP

Free format text: JAPANESE INTERMEDIATE CODE: R150

Free format text: JAPANESE INTERMEDIATE CODE: R150

R250 Receipt of annual fees

Free format text: JAPANESE INTERMEDIATE CODE: R250

R250 Receipt of annual fees

Free format text: JAPANESE INTERMEDIATE CODE: R250

R250 Receipt of annual fees

Free format text: JAPANESE INTERMEDIATE CODE: R250

R250 Receipt of annual fees

Free format text: JAPANESE INTERMEDIATE CODE: R250

R250 Receipt of annual fees

Free format text: JAPANESE INTERMEDIATE CODE: R250

R250 Receipt of annual fees

Free format text: JAPANESE INTERMEDIATE CODE: R250

R250 Receipt of annual fees

Free format text: JAPANESE INTERMEDIATE CODE: R250

LAPS Cancellation because of no payment of annual fees